JP2017503733A - クレーンサスペンション組立体を支柱に接続するためのシステム及び方法 - Google Patents

クレーンサスペンション組立体を支柱に接続するためのシステム及び方法 Download PDF

Info

Publication number
JP2017503733A
JP2017503733A JP2016547553A JP2016547553A JP2017503733A JP 2017503733 A JP2017503733 A JP 2017503733A JP 2016547553 A JP2016547553 A JP 2016547553A JP 2016547553 A JP2016547553 A JP 2016547553A JP 2017503733 A JP2017503733 A JP 2017503733A
Authority
JP
Japan
Prior art keywords
suspension
connection
pendant
strut
intermediate suspension
Prior art date
Legal status (The legal status is an assumption and is not a legal conclusion. Google has not performed a legal analysis and makes no representation as to the accuracy of the status listed.)
Granted
Application number
JP2016547553A
Other languages
English (en)
Other versions
JP6335314B2 (ja
Inventor
ティモシー, ジェイ. アルビンガー,
ティモシー, ジェイ. アルビンガー,
ジョゼフ, アール. ルチンスキー,
ジョゼフ, アール. ルチンスキー,
デリック, エル. ゲイザー,
デリック, エル. ゲイザー,
ライアン, エム. フィカウ,
ライアン, エム. フィカウ,
イアン, エム. ムーア,
イアン, エム. ムーア,
Current Assignee (The listed assignees may be inaccurate. Google has not performed a legal analysis and makes no representation or warranty as to the accuracy of the list.)
Manitowoc Crane Companies LLC
Original Assignee
Manitowoc Crane Companies LLC
Priority date (The priority date is an assumption and is not a legal conclusion. Google has not performed a legal analysis and makes no representation as to the accuracy of the date listed.)
Filing date
Publication date
Application filed by Manitowoc Crane Companies LLC filed Critical Manitowoc Crane Companies LLC
Publication of JP2017503733A publication Critical patent/JP2017503733A/ja
Application granted granted Critical
Publication of JP6335314B2 publication Critical patent/JP6335314B2/ja
Active legal-status Critical Current
Anticipated expiration legal-status Critical

Links

Images

Classifications

    • BPERFORMING OPERATIONS; TRANSPORTING
    • B66HOISTING; LIFTING; HAULING
    • B66CCRANES; LOAD-ENGAGING ELEMENTS OR DEVICES FOR CRANES, CAPSTANS, WINCHES, OR TACKLES
    • B66C23/00Cranes comprising essentially a beam, boom, or triangular structure acting as a cantilever and mounted for translatory of swinging movements in vertical or horizontal planes or a combination of such movements, e.g. jib-cranes, derricks, tower cranes
    • B66C23/62Constructional features or details
    • B66C23/64Jibs
    • B66C23/70Jibs constructed of sections adapted to be assembled to form jibs or various lengths
    • BPERFORMING OPERATIONS; TRANSPORTING
    • B66HOISTING; LIFTING; HAULING
    • B66CCRANES; LOAD-ENGAGING ELEMENTS OR DEVICES FOR CRANES, CAPSTANS, WINCHES, OR TACKLES
    • B66C23/00Cranes comprising essentially a beam, boom, or triangular structure acting as a cantilever and mounted for translatory of swinging movements in vertical or horizontal planes or a combination of such movements, e.g. jib-cranes, derricks, tower cranes
    • B66C23/62Constructional features or details
    • B66C23/82Luffing gear
    • B66C23/821Bracing equipment for booms
    • YGENERAL TAGGING OF NEW TECHNOLOGICAL DEVELOPMENTS; GENERAL TAGGING OF CROSS-SECTIONAL TECHNOLOGIES SPANNING OVER SEVERAL SECTIONS OF THE IPC; TECHNICAL SUBJECTS COVERED BY FORMER USPC CROSS-REFERENCE ART COLLECTIONS [XRACs] AND DIGESTS
    • Y10TECHNICAL SUBJECTS COVERED BY FORMER USPC
    • Y10TTECHNICAL SUBJECTS COVERED BY FORMER US CLASSIFICATION
    • Y10T29/00Metal working
    • Y10T29/49Method of mechanical manufacture
    • Y10T29/49826Assembling or joining

Landscapes

  • Engineering & Computer Science (AREA)
  • Mechanical Engineering (AREA)
  • Jib Cranes (AREA)

Abstract

サスペンションによって支持される支柱の組み立てに使用されるように設計された中間サスペンション接続支柱部分である。サスペンションは、第一の隣接する支柱部分に接続されるようにされた第一の接続部を有する第一の端部と、第一の端部の反対側に位置し、第二の隣接する支柱部分に接続されるようにされた第二の接続部を有する第二の端部と、第一の接続部と第二の接続部との間の中間サスペンション接続部を備える。中間サスペンション接続部はサスペンションと支柱との間で中間サスペンションを連結するようにされている。【選択図】図1

Description

本願は、35U.S.C第119条(e)の下に、発明の名称「クレーンサスペンション組立体を支柱に接続するためのシステム及び方法(SYSTEM AND METHOD FOR CONNECTING A CRANE SUSPENSION ASSEMBLY TO A SUPPORT COLUMN)」として2014年1月20日に出願された米国仮特許出願第61/929,366、及び発明の名称「クレーンサスペンション組立体を支柱に接続するためのシステム及び方法(SYSTEM AND METHOD FOR CONNECTING A CRANE SUSPENSION ASSEMBLY TO A SUPPORT COLUMN)」として2014年3月3日に出願された米国仮特許出願第61/947,303の恩典を主張し、その全体を参照として援用する。
本発明は、クレーンサスペンション組立体をクレーン上の支柱に接続するためのシステム及び方法に関する。より詳細には、本発明はペンダントをクレーンのブームの中間位置に接続するためのシステム及び方法に関する。
リフトクレーンは典型的には、車体;車体を地面から上昇させる地面係合部材;地面係合部材に対して回転できるように車体に回転可能に接続された回転床;及び吊り荷巻き上げラインがそこから延びている状態で回転床に枢動可能に取り付けられたブームを備える。移動式リフトクレーンにおいて、可動式の地面係合部材には種々の形態があり、中でも注目すべきはトラックに搭載されたクレーンにおけるタイヤや、無限軌道である。典型的には、移動式リフトクレーンはクレーンが吊り荷を持ち上げる際にクレーンのバランスをとるためのカウンタウエイトを備える。典型的なクレーンは、ブームの角度を変更して吊り荷巻き上げライン上の吊り荷によってブームにかかる力を相殺するように張力を与え、それによってブームがブームの長さを通して圧縮力だけが作用している支柱部材としてふるまうことができるようにするブームサスペンションを備える。
典型的なクレーンは、クレーンが取り扱うことのできる容量を最適化するように種々のブーム長さの構成が設定されるように設計されていて、設定されている特定の持ち上げ操作に対して必要となる長さのブームを単に使用するだけである。ブームの長さは種々の形態の間で変化するため、ブームサスペンションも種々のブームの長さに対応するように設計されていなければならない。典型的には、ブームサスペンションは、ブームバックステーストラップとも称される、互いに接続された複数の部分からなるサスペンション部材を備え、このサスペンション部材は、ブームの頂部と、ブームと固定されたマストとの間またはブームとライブマストとの間に吊り下げられたイコライザーとの間を接続する。サスペンション部材は、鋼鉄の棒のように剛性を有していてもよいし、合成繊維ロープのように可撓性を有していてもよい。比較的に長いブームを有するクレーンにおいては、サスペンションはブームの頂部より低い中間位置において、追加的にブームに接続されていてもよい。固定マストを備える典型的なクレーンにおいては、ブーム巻き上げ索具が、イコライザーとマストの頂部との間にはしる複数部分からなるラインを有し、これがブームの角度を制御するために用いられる。
クレーンは様々な場所で使用されるため、ある作業現場から次の現場に輸送できるように設計されている必要がある。これには通常、高速道路の輸送制限内でトラックによって輸送可能な大きさと重量の構成要素にクレーンが分解されることが要求される。クレーンが分解されて組み立て可能であることは、クレーンの使用におけるトータルコストに影響を与える。クレーンを組み立てるのに必要とされる工数が少なくなる範囲において、クレーンの所有者又は借り主には直接的な利点がある。
ブームストラップの部分及びブームの部分を有するジブバックステーストラップをある作業現場から次の現場に輸送することは便利である。なぜならば、必要とされるブームストラップ及びジブバックステーストラップの部分の数及び各部分の長さは、ブームの組立に使用されるブーム部分の数と長さに依存するからである。例えば、100フィートのブームは、1つの10フィートのブーム底部、1つの10フィートのブーム頂部、及び4つの20フィートのブーム挿入部から作ることができる。しかしながら、もしそのブームを120フィートの長さにしようとすると、5つの20フィートのブーム挿入部が必要となる。もしそのブームを130フィートの長さにしようとすると、5つの20フィートの挿入部と1つの10フィートの挿入部が必要となる。
典型的なブーム挿入部は、隣接するクレーン部分と接続するための接続部を両端に有する。接続部は、典型的にはピンを受け入れるための開口を有するタブである。ブーム挿入部は、ブーム挿入部の各端部に補助的な接続部を有していてもよい。例えば、ブーム挿入部の近い方の端部が開口を有する単一のタブを有していてもよい。ブーム挿入部の遠い方の端部は、第一の端部のタブの厚さ分だけ間隔をあけられたタブの組を使用してもよい。これにより、ブーム挿入部がその端部同士を接続して置かれたときに、第一の端部の単一のタブが第二の端部の2つのタブの間に、それらの開口が整列した状態で向けられるようにできる。次に開口を通してピンが挿入されて、ブーム挿入部同士が連結される。組立中のブーム挿入部の位置調整を補助するために、ブーム挿入部の上側のタブがブラケット及びピンによって置き換えられてもよい。ブーム挿入部の遠い方の端部は、ブラケットの開口が上を向く状態で上側にブラケットを有する。ブーム挿入部の近い方の端部は、ブラケットに対して相補的な水平なピンを有する。2つのブーム接続部は次に、ブーム挿入部が互いに対して角度をもった状態でブラケットとピンとを連結することにより組み立てられる。この後、ピンがブラケットの中にある状態で、ブーム挿入部は下方の部分のタブが整列するまで回転される。次にタブの開口内にピンが挿入されて、ブーム部分は互いに連結される。
サスペンションへの中間サスペンション接続部が必要とされるときには、ペンダント組立体のような中間サスペンション接続部が、サスペンションをブームに連結するために使用される。ペンダント組立体は隣接するブーム挿入部の間の接続部においてブームに接続される。典型的には、下方のピンがより長いピンに置き換えられる。ペンダント組立体は、その下側の端部においてブーム挿入部の外側のタブの幅だけ間隔をあけられたタブを有する。ブームを組み立てるときには、ペンダント組立体がブーム挿入部のタブの上に配置される点以外は、上述のようにしてブーム挿入部が互いに連結される。ペンダントのタブの開口がブーム挿入部のタブの開口と整列されて、より長いピンがペンダントのタブ及びブーム挿入部のタブを通して挿入される。より長いピンは、ペンダント組立体に沿ってブーム挿入部を互いに連結する。
ペンダント組立体をブームに取り付ける上述のシステムは、ペンダント組立体とより長いピン以外の特別な部品が必要とされない点において有利である。もしペンダント組立体が必要とされないのであれば、それはブーム部分の間には単に取り付けられない。しかしながら、クレーン部分の組立体は、ペンダント組立体との必要な追加の位置調整によって複雑化する。また、ペンダント組立体は分離した構成要素であるので、ブームを組み立てるときにペンダント組立体が無くなってしまったり利用できなくなってしまったりする可能性がある。ブームの組み立ては、ペンダントが所定の場所に配置されるまで完了させることができない。そのため、ブームの端部にペンダントを連結する必要がない方法でブームをサスペンションに取り付けることが可能であれば、それは大きな利点となりうる。また、ブーム挿入部の接続部を単純化することによって、ペンダントが要求される場合であっても、ブームを組み立てるのに要する時間を短くして遅延を減少させることができる。
本発明の実施形態は、サスペンションによって支持される支柱を組み立てる際に使用する中間サスペンション接続支柱部分に関する。該部分は、第一の隣接する支柱部分に接続されるようにされた第一の接続部を有する第一の端部と、第一の端部の反対側にあり第二の隣接する支柱部分に接続されるようにされた第二の接続部を有する第二の端部を備える第二の端部と、を備える。中間サスペンション接続部は、第一の接続部と第二の接続部との間において、中間サスペンションをサスペンションと支柱との間に連結するようにして配置されている。
本発明の別の実施形態においては、支柱組立体が互いに端部同士が連結された複数の支柱部分であり、その少なくとも一つの支柱部分が上述の中間サスペンション接続支柱部分となっている。サスペンションは支柱の頂部に隣接した支柱に取り付けられている。
本発明の別の実施形態においては、クレーンは、支柱組立体が互いに端部同士が連結された複数の支柱部分であって、その少なくとも一つの支柱部分が上述の中間サスペンション接続支柱部分となっている複数の支柱部分で形成された支柱を備える。支柱から横方向にマストが延び、支柱の端部において複数のサスペンション部材がマストに連結されている。中間サスペンション接続部と、複数のサスペンション部材のうちの少なくとも2つのサスペンション部材とに少なくとも一つのペンダントが接続される。
本発明の実施形態はさらにクレーンを組み立てるための方法も対象とする。この方法においては、少なくとも3つのブーム部分がその端部同士が接続されて組み立てられる。少なくとも一つのブーム部分が部分の端部の間に中間サスペンション接続部を有する。少なくとも一つのブーム部分は支柱組立体を形成するように端部同士が連結される。支柱組立体の第一の端部は枢動点に連結される。複数のサスペンション部材はサスペンションを形成するように端部同士が連結されて、支柱組立体の第二の端部をマストに接続する。中間接続部材は、中間サスペンション接続点と複数のサスペンション部材のうちの少なくとも2つのサスペンション部材とに連結される。サスペンション部材は次に、支柱組立体の第二の端部を持ち上げるために張力がかけられる。
ライブマストを備える移動式リフトクレーンの実施形態の側面図である。 固定マストを備える移動式リフトクレーンの実施形態の側面図である。 図1及び図2に示す移動式リフトクレーンの実施形態において使用するのに適したブーム挿入部の斜視図である。 図3のブーム挿入部の側面図であり、ブーム挿入部とサスペンション組立体部分とを接続するペンダントを示す図である。 図4のサスペンション組立体部分に接続されたペンダントの頂端部を示す図である。 図3のブーム挿入部に接続されたペンダントの底端部の詳細な斜視図である。 図3のブーム挿入部とサスペンション組立体部分との側面図であり、サスペンション組立体部分が持ち上げられた状態の図である。 別のペンダント組立体を有する図3のブーム部分の斜視図である。 図8のブーム挿入部の斜視図であって、ブーム挿入部とサスペンション組立体部分とを連結している別のペンダント組立体を示す図である。 サスペンション組立体部分が持ち上げられた状態の図8の別のペンダント組立体の斜視図である。 ブーム挿入部内にペンダントを格納するための箱を備える図3のブーム挿入部を示す図である。 別の実施形態の挿入部の上面図である。 図12aの挿入部の側面図である。 別の実施形態の挿入部の上面図である。 図13aの挿入部の側面図である。 別の実施形態の挿入部の上面図である。 図14aの挿入部の側面図である。 別の実施形態の挿入部の上面図である。 図15aの挿入部の側面図である。 別の実施形態の挿入部の側面図である。 図16の挿入部の端部の斜視図である。 図16の実施形態の詳細図であって、可撓性のペンダントの端部接続部を示す図である。 図16の実施形態の詳細図であって、可撓性のペンダントの接続部を示す図である。 図16の実施形態の詳細図であって、可撓性のペンダントの接続部の詳細な断面を示す図である。
本発明について更に説明する。以下において、本発明の種々の態様をより詳細に規定する。規定された各形態は、それに反することが明確に示唆されていない限り、他の如何なる形態とも組み合わせることが可能である。特に、好ましい又は有利であるとして示された如何なる特徴も、他の好ましい又は有利であるとして示された特徴と組み合わせることが可能である。
本願明細書および特許請求の範囲において使用されている以下に示す用語は、以下に定義されている意味を有する。
用語「クレーンサスペンション組立体部分」とは、互いに連結されてクレーンのためのサスペンション組立体を構成する部分をいう。クレーンサスペンション組立体部分の例としては、a)バックステーブーム頂部とイコライザー又はライブマストとの間の、ときにストラップ部分とも呼ばれる、部分、b)ブーム底部とジブストラットとの間のバックステーの部分、c)ジブストラットとジブ頂部との間のバックステーの部分、及びd)マスト頂部とカウンタウエイトとの間のカウンタウエイトストラップ部分がある。その両端部の頭部に貫通した開口を有する従来からある細長く固い金属部材であるストラップ部分に加えて、ときにワイヤーロープペンダント、カーボンファイバー張力部材、及び合成繊維ファイバ部材が、クレーンサスペンション組立体、ひいてクレーンサスペンション組立体部分の長手方向部分を構成するために使用される。該部分は複数の平行に細長く延びる部分から形成される。イコライザー及びブーム頂部はブームサスペンション組立体の部品であり、またブームバックステーストラップに接続されるので、用語「クレーンサスペンション組立体部分」には同様にイコライザー及びブーム頂部が含まれる。用語「クレーンサスペンション組立体部分」はまた、ブーム底部、マスト頂部、ジブ頂部、ジブストラット頂部及びライブマスト頂部、並びに中間サスペンション部材、のようなストラップ部分に取り付けられる他の部材を含む。
用語「ピン」は、貫通した開口を有する2つ以上の構造体の開口に嵌合されてこれら構造体間での枢動回転を可能とする、概して筒状の部材をいう。ピンは、ピンが開口を通して長手軸線の方向に滑るのを防止するために、一方又は両方の端部にコッタピンのような頭部または固定部を有していてもよい。本発明において使用されるほとんどのピンは滑らかな軸部を有しているが、ある場合にねじが切られた軸部を有するボルトがピンとして使用され、そのような使用はしたがって用語「ピン」の意味する範囲内でのものである。
用語「接続板」は、クレーンサスペンション組立体の細長い部分を組立体の他の部分に保持するために使用される構造体を意味する。典型的には接続部材は貫通した2つの開口を有し、接続部材は、ピンが各開口に通された状態で、クレーンサスペンション組立体における2つの隣接したストラップの間に取り付けられる。接続部材はただ一つのリンク板を有していても良い。より典型的には、接続部材は複数のリンク板から構成されていて、リンク板の間にストラップの頭部を挟み、接続部材/ストラップ部分の接続を通して曲げモーメントがない状態で2つのリンク板を介して張力荷重が均等に伝達されるようにされている。接続部材が取り付けられたストラップが複数の平行に細長く伸びる部材により構成されている場合、接続部材は細長い部材の数よりも多い多数のリンク板を備える。例えば、クレーンサスペンションシステムの部分が2つの細長い部材により構成されている場合、接続部材は3つのリンク板により構成されことになるであろう。
用語「タブ」は、構造体から延在している伸長部分をいう。タブは、締結、溶接、接着、又は他の接合のような一般に普及した技術により構造体に連結される分離した構成要素とすることもできる。「タブ対」とは共通の目的のために使用される一対のタブをいう。例えば、タブ対は、対となるタブの間の空間に構成要素を受け入れ、両方のタブが構成要素を固定するために使用されるようにできる。
本発明は、多くの型式のクレーンに対する適用性を有するが、ここからは、図1においてはライブマストを備える使用形態で示され、また図2においては固定マストを備える使用形態で示されている移動式リフトクレーン10に関連付けて説明している。移動式リフトクレーン10は、車体12とも称される下部作動部、及び無限軌道14の形態である可動の地面係合部材を備える。もちろん、タイヤのような他の形態の地面係合部材だけでなく、示されている以外の追加の無限軌道が使用されてもよい。
回転床20は、旋回リングを有する車体12に取り付けられていて、地面係合部材14に対する軸の周りで旋回可能とされている。回転床20は、回転床20の前方位置において枢動可能に取り付けられたブーム22、回転床20上に第一の端部が取り付けられたライブマスト28、ライブマスト28の第二の端部に隣接してライブマスト28に接続されたブーム巻き上げ索具30、及び可動のカウンタウエイトユニット34を支持している。カウンタウエイトユニット34は、支持部材上で個々のカウンタウエイト部材を複数積み重ねた形態となっている。
ライブマスト28の頂部と回転床との間のブーム巻き上げ索具30(以下で詳細に説明する)が、ライブマスト28の角度を制御するために使用される。ライブマスト28の頂部とブーム22との間のサスペンション組立体36がブーム22を支持している。ブーム22上のプーリに吊り荷巻き上げライン(図示しない)が掛けまわされて、第一の端部においてフック(図示しない)を支持する。吊り荷巻き上げラインは、その第二の端部において、回転床20に接続された第一の主要吊り荷巻き上げドラムに巻かれている。回転床20は、移動式リフトクレーン10において一般に設けられる他の要素、例えば操作者運転室やブーム巻き上げ索具30のための巻き上げドラムを備える。
ブーム巻き上げ索具30は、ブーム巻き上げドラムに巻き付けられ、ライブマスト28上の滑車を通されたワイヤーローブの形態のブーム巻き上げラインを有する。ライブマスト28は、ブーム巻き上げ索具30を介して回転床20に接続され、サスペンション組立体36を介してブーム22に接続されている。このような配置により、ブーム巻き上げドラムの回転がライブマスト28と回転床20との間のブーム巻き上げラインの長さを変更して、マストの角度を変更し、これによってサスペンション組立体36を介してブームの角度を変更するようにすることができる。
上述のように、ブーム22は複数のブーム部分を互いに接続することによって作られ、ブーム22はブームストラップ部分から作られたサスペンション組立体36によってクレーンの操作中は支持される。サスペンション組立体36の頂端部はブーム22の頂端部に接続され、サスペンション組立体36の中間位置はブーム22の中間位置にペンダント38を介して接続される。ブーム22は、ブーム22上のいくつかの異なる位置で複数のペンダント38を介してサスペンション組立体36に接続されてもよい。
図2は、ライブマスト28に加えて固定マスト60をさらに備える図1の移動式リフトクレーンを示している。固定マスト60は、サスペンション組立体62を介してブーム22に接続されている。サスペンション組立体62は、巻き上げ端と、ペンダント64を介した中間位置とにおいてブーム22に接続されている。固定マスト60は固定マスト60とイコライザー66との間を通して固定されたブーム巻き上げラインを有し、イコライザー66は、サスペンション組立体62に固定されて、固定マスト60とブーム22の巻き上げ端との間の距離を調節するようにされ、これによりブームの角度を調節するようにしている。サスペンション組立体62は、上述のブームストラップ部分から構成される。
図3は、ブーム挿入部300の形態の中間サスペンション接続支柱部分の実施形態を示している。中間サスペンション接続支柱部分は、ジブやマストのような他の支柱構造において使用されてもよく、実施形態はブームに限られない。複数の中間サスペンション接続支柱部分から支柱を形成して、サスペンション組立体が複数の位置において支柱に接続されるようにしてもよい。
ブーム挿入部300は、4つの長手方向の弦部材304、305、306、307に連結された構造要素302の格子により構成されている。弦部材を他の数としたり中間サスペンション接続支柱部分の構造を異なる形態としたりすることも可能であり、図3の実施形態は単に一例として示したものである。4つの弦部材304、305、306、307は方形パターンで配置され、各弦部材304、305、306、307の軸が方形パターンの頂点に配置されている。弦部材304、305、306、307は軸に沿って互いに平行とされ、全体として正方形の支柱を形成している。構造要素302は、ブーム挿入部300の側面に沿って、弦部材304と305との間、弦部材305と306との間、弦部材306と307との間、及び弦部材307と304との間で、斜めに配置されている。ブーム挿入部300の各端部において、水平構成要素308、310、312、314及び垂直構造要素316、318、320、322がブーム挿入部300の方形の端部を形成するようにロッドの間に配置されている。
ブーム挿入部300の第一の端部324は、ブーム挿入部300の下側の弦部材304、307から延びる第一のタブ326及び第二のタブ328を有する。各タブ326、328は、ピンを受け入れる大きさ及び形状にされた水平開口330を有する。第一のフック332及び第二のフック334は、ブーム挿入部300の第一の端部324の上側の弦部材305、306から延びている。第一のフック332及び第二のフック334は、上方に開口し、ピンを受け入れる大きさ及び形状にされている。
第一の端部324の反対側にあるブーム挿入部300の第二の端部336は4つのタブ対338を有し、各タブ対338は弦部材304、305、306、307から長手軸線の方向に延在した状態となっている。タブ対338はそれぞれ、第一の端部324上のタブ326、328の幅よりも僅かに大きい距離だけ間隔をあけられた第一のタブ340及び第二のタブ342を有する。タブ対338はそれぞれ、ピンを受け入れる大きさ及び形状とされた開口344を有する。
ブーム挿入部300の第一の端部324とブーム挿入部300の第二の端部336との間に下側の横材346が配置されている。下側の横材346は、第一の下側の弦部材304から水平方向に第二の下側の弦部材307にまで延びている。下側の横材346は、下側の横材346をブーム挿入部300に連結する追加的な構造的支持部材348を有している。下側の横材346の上側に第一の接続部材及び第二の接続部材が配置される。図3の実施形態においては、第一の接続部材及び第二の接続部材はタブ350であり、それぞれ貫通する開口を有する。開口はペンダントを下側の横材346に取り付けるための場所を提供する。
下側の横材346の上方にある上側の弦部材305、306に2つの上側の横材354、356が配置されている。上側の横材354、356はペンダントがその間を通過するのに十分な大きさの長手方向の空間を有する。2つの上側の横材354、356は、それらをブーム挿入部300に連結するための追加的な構造的支持部材を有していてもよい。
ペンダント要素358、359、360、361はブーム挿入部300の格子構造内に格納される。第一の一対のペンダント358、361は、第一のブーム長さでの動作のための第一の長さを有する。第二の一対のペンダント359、361は、第二のブーム長さでの動作のための第二の長さを有する。追加的なブーム長さのために追加的な対のペンダントも可能である。対のペンダントは、クランプ、ストラップ、又は締結のような従来手段によってブーム挿入部300内に固定されてもよい。
図11には、ブーム挿入部300の輸送中にペンダントを格納するための箱1100を備える図3のブーム挿入部300が示されている。箱1100は、その側面から延びている2つのタブ1104を有する。タブ1104の外側面の間の距離が下側の横材346上のタブ350の間の距離よりも小さくされており、箱1100のタブ1104が下側の横材346のタブ350に嵌合するように、ピンが下側の横材タブ350の開口内に挿入されるとともにさらに箱1100のタブ1104の開口に挿入されることにより、箱1100はブーム挿入部350に固定される。箱1100はペンダントを格納するための一連の区画1108に分割されている。ペンダントは、ぐるぐる巻きにして箱1100の区画1108内に配置できるように可撓性を有していてもよい。図11に示す箱1100は6つの区画1108を有しており、各区画1108は合計で6つの可能性のある異なる長さに対して一対のペンダントを収納できる。または、ある実施形態では、箱1100に3対のペンダントを格納するように、各区画1108が1つのペンダントを保持するようにしてもよい。区画1108を他の数とすることも可能であり、またペンダントの格納は、ある区画1108は1つのペンダントを保持し他の区画1108は2つ以上のペンダントを保持するというように、混成されてもよい。箱1100を覆うようにカバーを取り付けて、ペンダントを保持している区画1108を閉じるようにしてもよい。ブーム挿入部300の使用中は、箱1100はブーム挿入部300から取り外される。
ブーム挿入部300上にはサスペンション組立体部分362が格納されている。サスペンション組立体部分362は、第一のストラップ組立体363及び第二のストラップ組立体364を備える。ストラップ組立体363、364のそれぞれが、第一のストラップ部分365、第二のストラップ部分366、及び三方向接続部材367を備える。第一のストラップ部分365の第一の端部は三方向接続部材367に連結され、第二のストラップ部分366の第一の端部は三方向接続部材367に連結されている。第一のストラップ部分365の第二の端部は、隣接する構成要素に接続するための接続部材を有する。第二のストラップ部分366の第二の端部は、隣接する構成要素に接続するための接続部材を有する。ストラップ部分365、366の第二の端部は、隣接するストラップに直接接続するようにされてもよいし、隣接するストラップに接続板を介して接続するようにしてもよい。ストラップ組立体363、364は、クランプ、ストラップ、又は締結具のような一般に使用可能な技術を使って輸送や保管のためにブーム部分300に固定されてもよい。
図5には、三方向接続部材367に接続されたストラップ部分363、364の詳細図が示されている。各ストラップ部分363、364の第一の端部は、ピンを受け入れる大きさ及び形状とされた開口を有している。三方向接続部材367は、ストラップ部分363、364の厚さと同様な厚さを有している。三方向接続部材367には3つの開口が設けられ、それぞれがピンを受け入れる大きさ及び形状とされている。ストラップ部分363の第一の端部の周囲には一対の接続板368、370が配置されており、接続板368、370の開口372はストラップ部分363の開口と整列している。接続板368、370の開口372とストラップ部分363の第一の端部の開口とにピンが挿入されて、ストラップ部分363を接続板368、370に連結している。接続板368、370は三方向接続部材367の各側部に配置され、接続板の第二の開口374が三方向接続部材367の開口に整列している。接続板368、370の開口374と三方向接続部材367の開口とにピンが挿入されて、接続板368、370を三方向接続部材367に連結している。2つのストラップ部分363、364が三方向接続部材367に連結されるように、残りのストラップ部分364に対しても同様な工程が繰り返される。ストラップ部分363、364が三方向接続部材367に連結されて、ストラップ組立体363はサスペンション組立体36及びサスペンション組立体62のようなサスペンション組立体において使用されるように準備される。
図4には、下側の横材346とストラップ組立体364とに連結されたペンダント360を有する図3のブーム挿入部300の実施形態の側面図が示されている。図5にはペンダント360と三方向接続部材367との接続部の詳細図が示され、図6には下側の横材346のタブ350に接続されたペンダント360の詳細図が示されている。この実施形態においては、ペンダント360は可撓性のあるロープ張力部材376である。可撓性のロープ張力部材376は、ワイヤーロープ、カーボンファイバーロープ、又は他の合成繊維ファイバ−ロープであってもよい。可撓性のロープ張力部材376は、その各端部において、開口382を有する平行なタブ対380を備える接続部材378を有する。平行なタブ対380は、下側の横材346上のタブ350の幅及び三方向接続部材367の幅よりも大きな距離の間隔があけられている。
図6に示すように、タブ対380の開口が下側の横材346のタブ350の開口と整列するようにタブ対380が下側の横材346のタブ350を覆って配置されて、ペンダント360の下端部における接続部材378が下側の横材346に連結される。次に開口にピンが挿入されて、ペンダント360は下側の横材346に連結される。
図5に示すように、タブ対384の開口が三方向接続部材367の使用可能な開口と整列するように上側の接続部材386のタブ対384が三方向接続部材367を覆って配置されて、ペンダント360の上端部が三方向接続部材367に連結される。次に開口にピンが挿入されて、ペンダント360は三方向接続部材367に連結される。
図7には、ペンダント360を介してブーム挿入部300に連結されたサスペンション組立体部分362を備える図4のブーム挿入部300が示されている。サスペンション組立体部分362はブーム挿入部300の上にまで上昇し、ペンダント360はサスペンション組立体部分362とブーム挿入部300との間で伸びている。サスペンション組立体部分362は、移動式クレーンがブームを持ち上げるときに、図7に示されるようにブーム挿入部300から持ち上げられる。サスペンション組立体部分362は、移動式クレーンがブームを持ち上げるにつれて、ペンダント360を介してブーム挿入部300を持ち上げる。サスペンション組立体部分362がブーム挿入部300を持ち上げる前にブーム挿入部300の上に上がる高さを調節ために、ペンダントを別の長さとすることもできる。典型的には、ブーム挿入部300がブームの巻き上げ端の近くで使用されるときには、ブームの巻き上げ端からより遠くにおいて使用されるブーム挿入部300に比べて、より短いペンダントが使用される。
図8には別のペンダント組立体800を備える図3のブーム挿入部300が示されている。ペンダント組立体800は、筋交い806によって連結された2つの垂直柱802、804を有する。各垂直柱802、804の下端部には、ブーム挿入部300の下側の横材346に連結するための接続部材806が設けられている。接続部材806は、少なくとも下側の横材346のタブ350の厚さ分だけ間隔があけられているタブ対808である。タブ対808は、ピンを受け入れる大きさ及び形状とされた開口810を有する。図9に示すように、タブ対808の開口810が下側の横材346のタブ350の開口と整列するように、タブ対810は下側の横材346のタブ350を覆って配置される。開口810にピンが挿入されて、ペンダント組立体800はブーム挿入部300に連結される。
垂直柱802、804はそれぞれ、柱の上端部に配置された長手方向の空洞を有する。長手方向の空洞は、柱挿入部812を摺動接続部内に受け入れる大きさ及び形状とされている。柱挿入部812は長手方向の空洞内に配置される。柱挿入部812は保持機構によって長手方向の空洞内に保持される。このようにして柱挿入部812は長手方向の空洞内で垂直方向に移動可能となっているが、柱挿入部812が長手方向の空洞から完全に外れることが保持機構によって阻止されている。保持機構は、柱挿入部812における垂直方向長穴814と、垂直柱802から垂直方向長穴814内に延びる対応するピン816とである。他の実施形態においては、保持機構は柱挿入部812の拡大した下端部分と柱の空洞の縮小した上端部分とされて機械的な干渉により柱挿入部812が柱の空洞から逃げるのを防止するようにしてもよいし、または他の如何なる保持機構としてもよい。
柱挿入部812は、ストラップ組立体に連結するための締結具を備える上端部を有する。ある実施形態においては、上端部が可撓性のペンダントの上側の接続部材384に関して上述したように機能するタブ対を有していてもよい。そのような実施形態においては、上側の接続部材384は三方向接続部材367に連結される。他の実施形態においては、柱挿入部812の上端部が柱挿入部812から延びている2つのタブ818、820であり、各タブ818、820がピンを受け入れる大きさ及び形状とされた開口822、824を有しているようにしてもよい。そのような実施形態においては、三方向接続部材は必ずしも必要ではなく、接続板368、370の開口と柱挿入部812上のタブ818、820の開口822、824とにピンを挿入することによって、接続板368、370はペンダント組立体800に直接接続される。
図10には図8及び図9のペンダント組立体を備えた図3のブーム挿入部が示されている。サスペンション組立体部分362はブーム挿入部300の上にまで上昇し、ペンダント組立体800はサスペンション組立体部分362とブーム挿入部300との間で延びている。サスペンション組立体部分362は、移動式クレーンがブームを持ち上げるときに、図10に示されるようにブーム挿入部300から持ち上げられる。サスペンション組立体部分362は、移動式クレーンがブームを持ち上げるにつれて、ペンダント組立体800を介してブーム挿入部300を持ち上げる。サスペンション組立体部分362がブーム挿入部300を持ち上げる前にブーム挿入部300の上に上がる高さを調節ために、ペンダントを別の長さとすることもできる。他の実施形態においては、保持機構は柱挿入部802、804がブーム挿入部300の上に上がる長さを制御するために調節可能とすることができる。例えば、保持機構が柱挿入部802、804の長穴814とこの長穴814内に延びるピン816とであるときには、ピン816はサスペンション組立体部分362が上昇する高さを調節するように異なる位置で挿入されるようにしてもよい。
図12a及び図12bには、挿入部1201の第一の端部1205と第二の端部1206との間に配置された中間サスペンション接続部を有する挿入部1201の別の実施形態が示されている。挿入部1201は、各端部1205、1206に配置された取付機構を有している。取付機構は、図3に関連して上述したように、タブ及び開口を有する。フック、ボルト、クランプ、又は他の同様なもののような他の形式の接続とすることも可能である。挿入部1201は図3の実施形態と類似の構造を有しており、同様な構成要素については繰り返して説明はしない。
挿入部1201は、第一の下側の弦部材1208と第二の下側の弦部材1209とに連結された横材1207を有する。横材1207は、それに取り付けられた第一の滑車1210と第二の滑車1211とを有する。第一の滑車1210と第二の滑車1211とは横材1207の周りで回転する。ペンダント組立体1212は、横断ペンダント1215によって接続された第一の可撓性のペンダント1213と第二の可撓性のペンダント1214とを有する。第一のペンダント1213は第一の中間サスペンション接続部1203において第一の下側の弦部材1208に接続され、第二のペンダント1214は第二の中間サスペンション接続部1204において第一の下側の弦部材1209に接続されている。各下側の弦部材は、中間サスペンション接続部1216及び中間サスペンション接続部1217のような追加の中間サスペンション接続部を有していてもよい。第一のペンダント1213及び第二のペンダント1214はいずれかの中間サスペンション接続部に連結されるようになっている。ペンダントが接続される中間サスペンション接続部を変えることによって、ペンダントの有効長さが変更される。
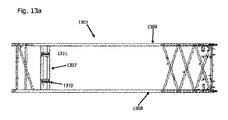
図13a及び図13bには、挿入部1301の第一の端部1305と第二の端部1306との間に配置されたドラムの形態とされた中間サスペンション接続部を有する、挿入部1301の別の実施形態が示されている。挿入部1301は、隣接する挿入部に取り付けるための各端部1305、1306上に配置された取付機構を有する。取付機構は、図3に関連して上述したようなタブ及び開口を有する。フック、ボルト、クランプ、又は他の同様なもののような他の形式の接続とすることも可能である。挿入部1301は図3の実施形態と類似の構造を有しており、同様な構成要素については繰り返して説明はしない。
挿入部1301は第一の下側の弦部材1308と第二の下側の弦部材1309とに連結された横材組立体1307を有する。横材組立体1307は、第一のドラム1310及び第二のドラム1311を有する。各ドラム1310、1311は、ドラム1310、1311の周りに巻かれてドラム1310、1311に連結された付随した可撓性のペンダント1312を有する。可撓性のペンダント1312の自由端1313は、ドラム1310、1311から離れるように延びてサスペンション組立体に接続されるようになっている。ドラム1310、1311は、ドラム1310、1311から延びている可撓性のペンダント1312の長さを調節するために回転される。ある実施形態においては、ドラム1310、1311は手動で回転され、可撓性のペンダント1312が所望の長さだけ延ばされたときにドラム1310、1311を適切な位置で保持するためのブレーキを備えている。他の実施形態においては、ドラム1310、1311は、モータのような電気アクチュエータ、油圧駆動装置のような油圧アクチュエータ、又は機械的接続、によって回転される動力ドラムとすることもできる。
ある実施形態においては、動力ドラムは可撓性のペンダント1312の長さを自動的に調節することができる。例えば、可撓性のペンダント1312は、可撓性のペンダント1312の張力を測定する張力センサを有していてもよい。動力ドラムは、可撓性のペンダント1312が設定値に一致するまで、可撓性のペンダント1312の長さを調節するようにしてもよい。別の実施形態においては、挿入部の弦部材の応力を測定して、応力が所定の範囲内に維持されるように可撓性のペンダント1312の長さを調節するようにしてもよい。他の形態のセンサや可撓性のペンダント1312の長さの変更も可能であり、実施形態は可撓性のペンダント1312の張力や弦の応力に限定される必要はない。
図14a及び図14bには、挿入部1401の第一の端部1405と第二の端部1406との間に配置された中間サスペンション接続部を有する、挿入部1401の別の実施形態が示されている。挿入部1401は、隣接する挿入部に取り付けるための各端部1405、1406上に配置された取付機構を有する。取付機構は、図3に関連して上述したようなタブ及び開口を有する。フック、ボルト、クランプ、又は他の同様なもののような他の形式の接続とすることも可能である。挿入部1401は図3の実施形態と類似の構造を有しており、同様な構成要素については繰り返して説明はしない
挿入部1401は、第一の下側の弦部材1408と第二の下側の弦部材1409とに連結された横材組立体1407を有する。横材組立体1407は筒状の巻上げ機1410を有し、筒状の巻上げ機1410はその周りに巻かれた第一の可撓性のペンダント1411及び第二の可撓性のペンダント1412を有する。可撓性のペンダント1411、1412の第一の自由端1413は巻上げ機1410から離れるように延びていて、サスペンション組立体に接続するための端部接続部を有する。可撓性のペンダント1411、1412の第二の自由端1414は、巻上げ機から離れるように挿入部の下側の面に沿って延びて、第一の下側の弦部材1408と第二の下側の弦部材1409とのうちの何れかに連結される。下側の弦部材1408、1408はそれぞれ、可撓性のペンダント1411、1412の第二の端部が取り付けられる複数の接続部1415、1416、1417を有していてもよい。可撓性のペンダント1411、1412の第二の自由端1414が下側の弦部材1408、1409に取り付けられる位置を調節することによって、第一の自由端1413の延在長さが調節される。また、可撓性のペンダント1411、1412の第一の自由端1413の長さは、巻上げ機1410の周りでの可撓性のペンダント1411、1412の巻き数を変更することによって調節できる。
図15a及び図15bには、挿入部1501の第一の端部1505と第二の端部1506との間に配置された中間サスペンション接続部を有する、挿入部1501の別の実施形態が示されている。挿入部1501は、隣接する挿入部に取り付けるための各端部1505、1506上に配置された取付機構を有する。取付機構は、図3に関連して上述したようなタブ及び開口を有する。フック、ボルト、クランプ、又は他の同様なもののような他の形式の接続とすることも可能である。挿入部1501は図3の実施形態と類似の構造を有しており、同様な構成要素については繰り返して説明はしない。
挿入部1501は第一の下側の弦部材1508と第二の下側の弦部材1509とに連結された横材組立体1507を有する。横材組立体1507は筒状の巻上げ機1510を有し、筒状の巻上げ機1510はその周りに巻かれた第一の可撓性のペンダント1511及び第二の可撓性のペンダント1512を有する。可撓性のペンダント1511、1512の自由端1513は、巻上げ機1510から離れるように延びていて、サスペンション組立体に接続するための端部接続部を有する。可撓性のペンダント1511、1512の反対側の端部は、巻上げ機1510に連結されている。ペンダント1511、1512の自由端1513の長さは、巻上げ機1510の周りに巻かれる可撓性のペンダント1511、1512の巻き数を変更することによって調節できる。
図16には、挿入部1601の第一の端部1605と第二の端部1606との間に配置された中間サスペンション接続部を有する、別の実施形態の挿入部1601が示されている。挿入部1601は、隣接する挿入部に取り付けるための各端部1605、1606上に配置された取付機構を有する。取付機構は、図3に関連して上述したようなタブ及び開口を有する。フック、ボルト、クランプ、又は他の同様なもののような他の形式の接続とすることも可能である。挿入部1601は図3の実施形態と類似の構造を有しており、同様な構成要素については繰り返して説明はしない。
挿入部1601は第一の下側の弦部材1608と第二の下側の弦部材1650とに連結された横材1607を有する。可撓性のペンダント1609、1651は横材1607に接続されていて、横材1607から離れるようにサスペンション組立体に向かって延びる自由端1610、1652を有する。可撓性のペンダント1609、1651は、複数の取付部品1611、1612、1613、又はボタンとも称される拡径断面部分を有している。取付部品1611、1612、1613は、後述するように、横材1607上の接続部内に固定される。取付部品1611、1612、1613は固定長さに設定され、可撓性のペンダント1609、1651を固定するために使用される特定の取付部品に応じて、可撓性のペンダント1609、1651の有効長さが調節される。
図17は、可撓性のペンダント1609、1651を示している図16の挿入部1601の第二の端部1606の斜視図である。図18は、第一の弦部材1608に沿って配置され第一の弦部材1608に取り付けられた自由端1653を有する、可撓性のペンダント1609の詳細図である。第一の弦部材1608は、可撓性のペンダント1609の長さに応じて自由端1653が取り付けられる複数の場所を有する。
図19は、図16の接続部及び、可撓性のペンダント1609の取付部品1611、1612、1613との相互関係を示す詳細図である。図20は図16の接続部の詳細な断面図である。接続部は、溶接のような従来手段によって横材1607に連結されるタブ対1614を有する。タブ対1614は、ピン1616が挿入される開口1615を有する。ピン1616は、挿入されたときにタブ対1614の両面から延びるように、タブ対1614の外面幅よりも大きい長さを有する。タブ対1614の開口1615内のピン1616には第一のコッタピン1617及び第二のコッタピン1618が固定される。別の実施形態においては、ピン1616は、ねじが切られた端部を有し、開口1615又はタブ対1614の外側のナット内にねじ締めされてもよい。
スリーブ1619は、タブ対1614の開口1615と同様な開口1621を備える2つの脚1620を有する。使用中は、脚1620はタブ対1614の各タブの間の空間に配置されて、タブ対1614の開口1615と脚1620の開口1621とが整列するようにされる。次に開口1615、1621にピン1616が挿入されて、スリーブ1619をタブ対1614に固定する。他の実施形態においては、脚1620は、使用中にタブ対1614の脚1620の間に嵌合するように、タブ対1614又は単一のタブの外側幅よりも広い内部空間を有していてもよい。
図20のスリーブ1619は、取付部品1622とスリーブ1619との相互作用が見えるように切断して示されている。スリーブ1619は、取付部品1622の外径よりも大きい内径を有する空洞1623を有する。空洞1623の一端に、可撓性のペンダント1609の外径よりは大きいが、取付部品1623の外径よりは小さい、縮径した直径を有する部分1624が設けられている。可撓性のペンダント1609よりは広いが取付部品1623よりは狭い長穴1625が、スリーブ1619の一側面に沿って切られている。このようにして、可撓性のペンダント1609の取付部品の間の部分は長穴1625を通して空洞1623に挿入される。可撓性のペンダント1609は次に、取付部品1622が空洞1623内に摺動するように動かされる。取付部品1622は、空洞の縮径部分1624に到達するまで空洞1623内を摺動する。開口1626は取付部品1622の長さをちょうどすぎた位置において空洞1623を横断してスリーブ1619を貫通しており、取付部品1622が空洞1623内に配置されているときに第二のピン1627が開口1626に挿入されて取付部品1622が空洞1623内に固定されるようになっている。
取付部品1622は、可撓性のペンダント1609にかしめられたスリーブ、スペルターソケット、又は他の実施形態においては可撓性のペンダント1609の編みや織り方の変更部分のような別の拡径部分とすることができる。拡径部分は、好ましくは、可撓性のペンダント1609の強度を低下させるかもしれない可撓性のペンダント1609をループにすることなしに、形成される。
かしめ工程において、スリーブは可撓性のペンダント1609を覆うようにして所望の場所にまで通される。スリーブは次に、可撓性のペンダント1609の周りで変形されて可撓性のペンダント1609を適切な位置に固定する。追加のスリーブが複数の取付部品を形成する可撓性のペンダント1609にかしめられてもよい。
ある実施形態においては、取付部品1622はケーブルの端部に形成されたスペルターソケットとすることができる。そのような実施形態においては、可撓性のペンダントはケーブルの複数の部分から形成されてもよい。第一の部分は第一の端部においてサスペンション組立体に連結されるようにされ、反対側の端部に第一のスペルターソケットを有する。スペルターソケットは、ケーブルのほうき状の端部を受け入れて、溶融した亜鉛のような充填剤で満たされる。溶融した亜鉛はケーブルのほうき状の形状を維持したまま所定位置で固まって、スペルターソケット内にケーブルを保持する。ケーブルの第二の部分の第一の端部は、第一のスペルターソケットに連結された第二のスペルターソケット内に挿入される。第二の部分の第一の端部はほうき状に開き、第二の部分を所定位置で保持しているスペルターソケット内に充填剤が注がれる。第三のスペルターソケットの形態の終端部は第二の部分の反対側の端部に配置されてもよいし、または第三のスペルターソケットがケーブルの別の部分を受け入れるためにそれに連結された第四のスペルターソケットを有していてもよい。所望の数の取付部品が得られるまでこの工程を使ってケーブルの複数の部分を連結してもよい。
取付部品1622は、第二のピン1627を取り外して取付部品1622を空洞1623から摺動させることによって空洞1623から取り外される。可撓性のペンダント1609は、スリーブの長穴1625の外に摺動させることによって取り外される。可撓性のペンダント1609の有効な長さは、別の取付部品を空洞1623内に挿入することによって調節される。
本発明の実施形態はさらに、上述の中間サスペンション接続支柱部分を使用してクレーンを組み立てるための方法も対象とする。この方法においては、少なくとも3つのブーム部分であって、そのうちの少なくとも一つのブーム部分がブーム部分の端部の間に中間サスペンション接続部を有している少なくとも3つのブーム部分が、それらの端部同士が接続されて組み立てられる。少なくとも3つのブーム部分は次に、サスペンション支柱を形成するように端部同士が連結される。組み立てられたサスペンション支柱の第一の端部は次に、回転床の枢動点またはブームの端部の枢動点のようなヒンジ枢動点に連結される。複数のサスペンション部材は次に、サスペンションを形成するように端部同士が連結され、サスペンション支柱の第二の端部をマストに接続する。サスペンション要素は次に、中間サスペンション接続部とサスペンションとの間に連結される。サスペンションは次に、ブームの第二の端部を持ち上げるために張力がかけられる。マストは、車体に近接したマストを回転することによってサスペンション部材に張力をかけるライブマストであってもよいし、またはマストとサスペンションとの間の距離を短くすることによってサスペンションに張力をかける固定マストであってもよい。
ここに説明した好ましい実施形態に対して様々な変更や改良をすることは当業者にとって明らかであることが理解されるべきである。例えば、2つの分離した柱挿入部を使用する代わりに、2つの柱に渡される単一の柱挿入部を使用することもできる。または可撓性のペンダントを伸長しない単一の剛体のペンダントに置き換えることもできる。さらに、サスペンション接続部は、ブーム挿入部の2つの端部の間に配置される限りにおいては、下側の横材以外の場所に取り付けてもよい。

Claims (21)

  1. サスペンションによって支持される支柱の組み立てにおいて使用される中間サスペンション接続支柱部分であって、
    a)第一の隣接する支柱部分に接続されるようにされた第一の接続部を有する第一の端部と、
    b)該第一の端部の反対側の第二の端部であって、第二の隣接する支柱部分に接続されるようにされた第二の接続部を有する第二の端部と、
    c)該第一の接続部と該第二の接続部との間の中間サスペンション接続部であって、該サスペンションと当該中間サスペンション接続支柱部分との間にペンダントを連結するようにされた中間サスペンション接続部と、を備える中間サスペンション接続支柱部分。
  2. 当該中間サスペンション接続支柱部分が4つの弦部材を備え、該第一の接続部が2つの第一の支柱接続部材と2つの第二の支柱接続部材とを備え、該第二の接続部が2つの第三の支柱接続部材と2つの第四の支柱接続部材とを備える、請求項1に記載の中間サスペンション接続支柱部分。
  3. 該第一の端部と該第二の端部との間に配置された滑車を更に備える、請求項1に記載の中間サスペンション接続支柱部分。
  4. 該ペンダントが可撓性のペンダントであり、該可撓性のペンダントが、該中間サスペンション接続部に連結され、該滑車を介して送り出されるようにされた、請求項3に記載の中間サスペンション接続支柱部分。
  5. 該サスペンションが、第一のサスペンション部材と第二のサスペンション部材とを備え、該第一のサスペンション部材、該第二のサスペンション部材、及び該可撓性のペンダントが互いに連結されている、請求項4に記載の中間サスペンション接続支柱部分。
  6. 該ペンダントが可撓性のペンダントであり、該中間サスペンション接続部が該可撓性のペンダントに連結されたドラムを備える、請求項1に記載の中間サスペンション接続支柱部分。
  7. 巻上げ機をさらに備え、該ペンダントが、該中間サスペンション接続部に連結され、該巻上げ機の周りに巻かれている、請求項1に記載の中間サスペンション接続支柱部分。
  8. 該中間サスペンション接続部が第一の中間サスペンション接続部と第二の中間サスペンション接続部とを備え、該第二の中間サスペンション接続部が該第一の中間サスペンション接続部から長手軸線の方向でずれている、請求項7に記載の中間サスペンション接続支柱部分。
  9. 該中間サスペンション接続部が開口を有するタブを備え、該ペンダントが複数の取付部品を備えており、該複数の取付部品のそれぞれが、該開口の内径よりも大きい外径を有する、請求項1に記載の中間サスペンション接続支柱。
  10. 該サスペンションが、第一のサスペンション部材、第二のサスペンション部材、該中間サスペンション接続部に連結されたペンダント、及び該第一のサスペンション部材と該第二のサスペンション部材と該ペンダントとを連結するリンク部材を備える、請求項1に記載の中間サスペンション接続支柱部分。
  11. 当該中間サスペンション接続支柱部分内に配置された少なくとも一つのペンダント格納組立体をさらに備える、請求項1に記載の中間サスペンション接続支柱部分。
  12. 該少なくとも一つのペンダント格納組立体が、該中間サスペンション接続部に連結された箱を備える、請求項11に記載の中間サスペンション接続支柱部分。
  13. 当該中間サスペンション接続支柱部分の上面に格納されたサスペンション部材と、該中間サスペンション接続支柱部分内に格納されたペンダントとをさらに備える、請求項1に記載の中間サスペンション接続支柱部分。
  14. 当該中間サスペンション接続支柱部分が格子構造を有し、該中間サスペンション接続部が当該中間サスペンション接続支柱部分の下面に配置されている、請求項1に記載の中間サスペンション接続支柱部分。
  15. 該ペンダントが、第一の高さから第二の高さにまで伸長可能な構成のストラットを有する、請求項1に記載の中間サスペンション接続支柱部分。
  16. 該ペンダントが第一の部分と第二の部分とを備え、該第一の部分が、摺動接続部において該第二の部分を受け入れる大きさ及び形状とされた空洞を備える、請求項1に記載の中間サスペンション接続支柱部分。
  17. 第一の部分と第二の部分とを有する第二のペンダントを更に備え、該第一のペンダントの該第一の部分と該第二のペンダントの該第一の部分とが横材によって連結されている、請求項16に記載の中間サスペンション接続支柱部分。
  18. 端部同士が互いに連結された複数の支柱部分であって、少なくとも一つの支柱部分が請求項1に記載の支柱部分である複数の支柱部分と、該支柱の頂部に隣接して取り付けられたサスペンションであって、該請求項1に記載の支柱部分のうちの少なくとも一つの支柱部分に中間サスペンションを介して連結されたサスペンションと、を備える支柱組立体。
  19. 該サスペンションがその端部同士が接続された複数のサスペンション部材を備え、該中間サスペンションがペンダントを備え、該ペンダントは該中間サスペンション接続部と該複数のサスペンション部材のうちの少なくとも2つのサスペンション部材とに連結されている、請求項18に記載の支柱組立体。
  20. 端部同士が連結された複数の支柱部分から形成され、少なくとも一つの支柱部分が請求項1に記載の支柱部分である支柱と、該支柱から横方向に延びるマストと、該マストを該支柱の端部に連結しているサスペンションと、該中間サスペンション接続部と該サスペンションとに接続された少なくとも一つの中間サスペンションと、を備えるクレーン。
  21. クレーンを組み立てる方法であって、:
    a)少なくとも3つの支柱部分であって、該支柱部分のうちの少なくとも一つが該部分の端部の間に中間サスペンション接続部を有している少なくとも3つの支柱部分をその端部同士を接続して組み立てるステップと、
    b)支柱組立体を構成するように該少なくとも3つの支柱部分の端部同士を連結するステップと、
    c)該支柱組立体の第一の端部を該クレーンの回転床上の枢動点に連結するステップと、
    d)該支柱組立体の第二の端部と該クレーンの該回転床との間を接続するサスペンションを構成するように複数のサスペンション部材の端部同士を連結するステップと、
    e)該中間サスペンション接続部と該サスペンションとの間に中間サスペンションを連結するステップと、
    f)該支柱組立体の該第二の端部を持ち上げるように該サスペンション部材に張力をかけるステップと、を含む方法。

JP2016547553A 2014-01-20 2015-01-20 クレーンサスペンション組立体を支柱に接続するためのシステム及び方法 Active JP6335314B2 (ja)

Applications Claiming Priority (5)

Application Number Priority Date Filing Date Title
US201461929366P 2014-01-20 2014-01-20
US61/929,366 2014-01-20
US201461947303P 2014-03-03 2014-03-03
US61/947,303 2014-03-03
PCT/US2015/011969 WO2015109294A1 (en) 2014-01-20 2015-01-20 System and method for connecting a crane suspension assembly to a support column

Publications (2)

Publication Number Publication Date
JP2017503733A true JP2017503733A (ja) 2017-02-02
JP6335314B2 JP6335314B2 (ja) 2018-05-30

Family

ID=53543537

Family Applications (1)

Application Number Title Priority Date Filing Date
JP2016547553A Active JP6335314B2 (ja) 2014-01-20 2015-01-20 クレーンサスペンション組立体を支柱に接続するためのシステム及び方法

Country Status (5)

Country Link
US (2) US10053340B2 (ja)
EP (1) EP3097046B1 (ja)
JP (1) JP6335314B2 (ja)
CN (1) CN106103332B (ja)
WO (1) WO2015109294A1 (ja)

Cited By (3)

* Cited by examiner, † Cited by third party
Publication number Priority date Publication date Assignee Title
WO2019111642A1 (ja) * 2017-12-06 2019-06-13 コベルコ建機株式会社 建設機械の中間支持用ホルダ
JP2019119542A (ja) * 2017-12-28 2019-07-22 コベルコ建機株式会社 ガイライン保持ブラケット
JP2021169370A (ja) * 2020-04-16 2021-10-28 タダノ デマグ ゲーエムベーハーTadano Demag GmbH 車両クレーン及びそのジブへの荷重を低減する方法

Families Citing this family (10)

* Cited by examiner, † Cited by third party
Publication number Priority date Publication date Assignee Title
DE102013006259B4 (de) * 2013-04-11 2024-09-12 Liebherr-Werk Ehingen Gmbh Teleskopausleger und Kran
JP6335314B2 (ja) * 2014-01-20 2018-05-30 マニタウォック クレイン カンパニーズ, エルエルシーManitowoc Crane Companies, Llc クレーンサスペンション組立体を支柱に接続するためのシステム及び方法
US10479657B2 (en) 2014-03-03 2019-11-19 Manitowoc Crane Companies, Llc Adjustable length tensioning member
DE102014016607A1 (de) * 2014-11-10 2016-05-12 Liebherr-Werk Biberach Gmbh Verfahren zum Versetzen eines Turmdrehkranes
JP6531448B2 (ja) * 2015-03-20 2019-06-19 株式会社タダノ ジブ連結構造
DE102015003982A1 (de) * 2015-03-26 2016-09-29 Liebherr-Werk Biberach Gmbh Kranturm
US10815102B2 (en) * 2017-10-05 2020-10-27 Mark C. Dodd Moisture proof sleeve block
JP7013192B2 (ja) * 2017-10-06 2022-01-31 住友重機械建機クレーン株式会社 クレーン、ジブ組立て方法
US10894553B2 (en) * 2018-11-13 2021-01-19 Toyota Motor Engineering & Manufacturing North America, Inc. Dolly tongue manipulation mechanism
DE102022113589A1 (de) * 2022-05-30 2023-11-30 Schwing Gmbh Aufnahmevorrichtung zur Ablage eines Anschlagmittels auf einem Verteilermast und Verteilermast

Citations (5)

* Cited by examiner, † Cited by third party
Publication number Priority date Publication date Assignee Title
JPS6265491U (ja) * 1985-10-16 1987-04-23
JPH11236188A (ja) * 1998-02-23 1999-08-31 Tadano Ltd ラフィングジブ付き移動式クレーン
JP2000272881A (ja) * 1999-03-24 2000-10-03 Tadano Ltd ラフィングジブ付き移動式クレーン
US20110132860A1 (en) * 2009-06-03 2011-06-09 Liebherr-Werk Ehingen Gmbh Derrick crane
CN103112786A (zh) * 2013-02-06 2013-05-22 徐工集团工程机械股份有限公司 用于承载臂架的腰绳连接装置

Family Cites Families (47)

* Cited by examiner, † Cited by third party
Publication number Priority date Publication date Assignee Title
US3125227A (en) * 1964-03-17 Boom construction
US2975910A (en) * 1958-06-06 1961-03-21 Clark Equipment Co Crane boom
DE1428788A1 (de) 1962-10-26 1970-01-08 Walther C Fa Abzugseinrichtung fuer automatische Feuerwaffen
IT1073562B (it) * 1976-03-19 1985-04-17 Fmc Corp Perfezionamento nelle gru a torre
US4053058A (en) * 1976-05-27 1977-10-11 Fmc Corporation Suspended extensible boom
US4431109A (en) * 1981-02-25 1984-02-14 Fmc Corporation Boom extension stowage system
US4421241A (en) * 1981-04-24 1983-12-20 Fmc Corporation Removable live mast and hoist unit
JPS57187919A (en) 1981-05-14 1982-11-18 Mitsubishi Electric Corp Resin mold current transformer
US4557391A (en) * 1982-06-30 1985-12-10 Fmc Corporation Method of controlling the angle of a pivotal boom with extensible sections
US4492312A (en) * 1982-06-30 1985-01-08 Fmc Corporation External pendant pay-out system with anti-droop control
CA1215149A (en) 1984-05-31 1986-12-09 William Nattel Conduit connector wedge type
US4585132A (en) * 1984-09-10 1986-04-29 Fmc Corporation Extensible boom with manual section stored in base
JPS61266814A (ja) 1985-05-20 1986-11-26 Nissan Shatai Co Ltd ケ−ブル連結具
CN85205821U (zh) 1985-12-28 1986-08-06 原式溶 家用手摇起重机
US4850161A (en) 1987-11-30 1989-07-25 Mcginnis Henry J Extensible mast support system
US4858890A (en) * 1988-02-26 1989-08-22 Brand Scaffold Services, Ltd. Method and apparatus for lifting objects inside a limited access vessel
EP0334187B1 (de) * 1988-03-23 1991-10-16 Liebherr-Werk Ehingen GmbH Fahrzeugkran mit Teleskopausleger
US4982853A (en) * 1989-02-09 1991-01-08 Hikoma Seisakusho Co., Ltd. Reinforcement mechanism for multi-stage telescopic boom
DE19606109A1 (de) * 1995-12-12 1997-06-19 Liebherr Werk Ehingen Fahrzeugkran
US5803279A (en) * 1996-09-13 1998-09-08 Pioneer Engineering Automatically deployable load-line receiving mast structure for limiting deflection of proportionally extendable boom section crane
JPH10236188A (ja) 1997-02-27 1998-09-08 Araco Corp 自動車用シート装置
US6065621A (en) * 1997-10-03 2000-05-23 Fatemi; Ray Portable and towable lift mechanism
DE10022658B4 (de) * 1999-06-28 2007-10-04 Terex-Demag Gmbh & Co. Kg Teleskopkran
DE10128986A1 (de) * 2001-06-11 2002-12-19 Demag Mobile Cranes Gmbh Fahrzeugkran mit teleskopierbarem Hauptausleger
ATE353849T1 (de) 2002-06-05 2007-03-15 Liebherr Werk Ehingen Teleskopausleger eines krans
DE20219126U1 (de) 2002-12-10 2004-04-15 Liebherr-Werk Ehingen Gmbh Teleskopausleger
NL1022902C2 (nl) * 2003-03-12 2004-09-14 Tech Handelsbedrijf Woltman B Giekkraan.
DE202004008084U1 (de) 2004-05-19 2005-09-29 Liebherr-Werk Ehingen Gmbh Kran
DE202004009782U1 (de) * 2004-06-22 2005-11-03 Liebherr-Werk Ehingen Gmbh Kran-Gitterausleger und Kran
US8690517B1 (en) * 2008-09-11 2014-04-08 Mcelroy Manufacturing, Inc. Rack type pipe feeder for a pipe fusion machine
JP4225344B2 (ja) * 2006-11-20 2009-02-18 コベルコクレーン株式会社 クレーン
CN201047419Y (zh) 2007-06-08 2008-04-16 徐州重型机械有限公司 新型钢丝绳绳头固定装置
DE202008001272U1 (de) * 2008-01-29 2009-06-04 Daas, Kamal Gittertragwerk
US8839966B2 (en) * 2009-03-31 2014-09-23 Manitowoc Crane Companies, Llc Folding jib main strut and transportable reeved strut caps
EP2253575B1 (en) * 2009-05-20 2013-01-16 Manitowoc Crane Companies, LLC Crane backstay spreader
US9278834B2 (en) * 2009-08-06 2016-03-08 Manitowoc Crane Group, LLC Lift crane with moveable counterweight
CN101746675B (zh) * 2009-12-31 2012-05-02 三一汽车制造有限公司 起重机超起装置及其控制系统和控制方法
CN102001590A (zh) * 2010-12-03 2011-04-06 徐州重型机械有限公司 一种轮式起重机及其变幅副臂
EP2476642B1 (en) * 2011-01-12 2013-07-24 Manitowoc Crane Companies, LLC Method of connecting crane suspension assembly sections together and frame mounted assembly used therefore
JP5295417B1 (ja) * 2012-08-27 2013-09-18 Ihi建機株式会社 クレーン
US9815674B2 (en) * 2013-02-21 2017-11-14 Manitowoc Crane Companies, Llc Pin puller for crane connections
DE102013004820B4 (de) * 2013-03-20 2021-09-23 Liebherr-Werk Nenzing Gmbh Halterungsvorrichtung zum Lagern von Haltestangen an einem Kran
JP6335314B2 (ja) * 2014-01-20 2018-05-30 マニタウォック クレイン カンパニーズ, エルエルシーManitowoc Crane Companies, Llc クレーンサスペンション組立体を支柱に接続するためのシステム及び方法
US10183848B2 (en) * 2014-01-27 2019-01-22 Manitowoc Crane Companies, Llc Height adjustment mechanism for an auxiliary member on a crane
US10179722B2 (en) * 2014-01-27 2019-01-15 Manitowoc Crane Companies, Llc Lift crane with improved movable counterweight
US10479657B2 (en) * 2014-03-03 2019-11-19 Manitowoc Crane Companies, Llc Adjustable length tensioning member
US9790696B2 (en) * 2015-03-02 2017-10-17 Odin, Llc Deck with a slidable platform

Patent Citations (5)

* Cited by examiner, † Cited by third party
Publication number Priority date Publication date Assignee Title
JPS6265491U (ja) * 1985-10-16 1987-04-23
JPH11236188A (ja) * 1998-02-23 1999-08-31 Tadano Ltd ラフィングジブ付き移動式クレーン
JP2000272881A (ja) * 1999-03-24 2000-10-03 Tadano Ltd ラフィングジブ付き移動式クレーン
US20110132860A1 (en) * 2009-06-03 2011-06-09 Liebherr-Werk Ehingen Gmbh Derrick crane
CN103112786A (zh) * 2013-02-06 2013-05-22 徐工集团工程机械股份有限公司 用于承载臂架的腰绳连接装置

Cited By (6)

* Cited by examiner, † Cited by third party
Publication number Priority date Publication date Assignee Title
WO2019111642A1 (ja) * 2017-12-06 2019-06-13 コベルコ建機株式会社 建設機械の中間支持用ホルダ
JP2019099352A (ja) * 2017-12-06 2019-06-24 コベルコ建機株式会社 中間支持ブラケット
US11319196B2 (en) 2017-12-06 2022-05-03 Kobelco Construction Machinery Co., Ltd. Intermediate support holder for construction machinery
JP2019119542A (ja) * 2017-12-28 2019-07-22 コベルコ建機株式会社 ガイライン保持ブラケット
JP7081150B2 (ja) 2017-12-28 2022-06-07 コベルコ建機株式会社 ガイライン保持ブラケット
JP2021169370A (ja) * 2020-04-16 2021-10-28 タダノ デマグ ゲーエムベーハーTadano Demag GmbH 車両クレーン及びそのジブへの荷重を低減する方法

Also Published As

Publication number Publication date
CN106103332B (zh) 2018-05-29
JP6335314B2 (ja) 2018-05-30
EP3097046B1 (en) 2022-12-14
EP3097046A1 (en) 2016-11-30
US10053340B2 (en) 2018-08-21
US20180319636A1 (en) 2018-11-08
US10280049B2 (en) 2019-05-07
US20150203338A1 (en) 2015-07-23
CN106103332A (zh) 2016-11-09
WO2015109294A1 (en) 2015-07-23
EP3097046A4 (en) 2017-10-25

Similar Documents

Publication Publication Date Title
JP6335314B2 (ja) クレーンサスペンション組立体を支柱に接続するためのシステム及び方法
JP5999902B2 (ja) クレーン吊り下げアセンブリの構成部分同士を連結する方法、及び該方法のために使用されるフレーム取り付けアセンブリ
JP5693031B2 (ja) 移動式リフトクレーンの組立て方法
US10717633B2 (en) Adjustable length tensioning member
JP5687828B2 (ja) ブームホイスト輸送システムおよびそれを用いたクレーン
US8608134B2 (en) Crane hook block
RU2532204C2 (ru) Расширитель оттяжек для подъемного крана, содержащий его кран и способ его наладки
BRPI0905403A2 (pt) sistema de estrutura de tambor para guindastes
JP6638434B2 (ja) クレーンのブーム取付方法
JP2019182568A (ja) クレーンおよびクレーンの組立方法
JP2016113292A (ja) ブーム取付装置およびクレーン
WO2022264497A1 (ja) バックストップ
JP2019177969A (ja) クレーンおよびクレーンの組立方法

Legal Events

Date Code Title Description
A621 Written request for application examination

Free format text: JAPANESE INTERMEDIATE CODE: A621

Effective date: 20160829

A977 Report on retrieval

Free format text: JAPANESE INTERMEDIATE CODE: A971007

Effective date: 20170616

A131 Notification of reasons for refusal

Free format text: JAPANESE INTERMEDIATE CODE: A131

Effective date: 20170627

A601 Written request for extension of time

Free format text: JAPANESE INTERMEDIATE CODE: A601

Effective date: 20170927

A521 Request for written amendment filed

Free format text: JAPANESE INTERMEDIATE CODE: A523

Effective date: 20171124

TRDD Decision of grant or rejection written
A01 Written decision to grant a patent or to grant a registration (utility model)

Free format text: JAPANESE INTERMEDIATE CODE: A01

Effective date: 20180403

A61 First payment of annual fees (during grant procedure)

Free format text: JAPANESE INTERMEDIATE CODE: A61

Effective date: 20180427

R150 Certificate of patent or registration of utility model

Ref document number: 6335314

Country of ref document: JP

Free format text: JAPANESE INTERMEDIATE CODE: R150

R250 Receipt of annual fees

Free format text: JAPANESE INTERMEDIATE CODE: R250

R250 Receipt of annual fees

Free format text: JAPANESE INTERMEDIATE CODE: R250

R250 Receipt of annual fees

Free format text: JAPANESE INTERMEDIATE CODE: R250

R250 Receipt of annual fees

Free format text: JAPANESE INTERMEDIATE CODE: R250

R250 Receipt of annual fees

Free format text: JAPANESE INTERMEDIATE CODE: R250