JP2017189459A - 中敷き、及び履物 - Google Patents

中敷き、及び履物 Download PDF

Info

Publication number
JP2017189459A
JP2017189459A JP2016081316A JP2016081316A JP2017189459A JP 2017189459 A JP2017189459 A JP 2017189459A JP 2016081316 A JP2016081316 A JP 2016081316A JP 2016081316 A JP2016081316 A JP 2016081316A JP 2017189459 A JP2017189459 A JP 2017189459A
Authority
JP
Japan
Prior art keywords
insole
finger
foot
end side
raised portion
Prior art date
Legal status (The legal status is an assumption and is not a legal conclusion. Google has not performed a legal analysis and makes no representation as to the accuracy of the status listed.)
Granted
Application number
JP2016081316A
Other languages
English (en)
Other versions
JP6721232B2 (ja
Inventor
忠和 山田
Tadakazu Yamada
忠和 山田
俊一 横江
Shunichi Yokoe
俊一 横江
Current Assignee (The listed assignees may be inaccurate. Google has not performed a legal analysis and makes no representation or warranty as to the accuracy of the list.)
AMAZE-PLUS CO Ltd
Original Assignee
AMAZE-PLUS CO Ltd
Priority date (The priority date is an assumption and is not a legal conclusion. Google has not performed a legal analysis and makes no representation as to the accuracy of the date listed.)
Filing date
Publication date
Application filed by AMAZE-PLUS CO Ltd filed Critical AMAZE-PLUS CO Ltd
Priority to JP2016081316A priority Critical patent/JP6721232B2/ja
Publication of JP2017189459A publication Critical patent/JP2017189459A/ja
Application granted granted Critical
Publication of JP6721232B2 publication Critical patent/JP6721232B2/ja
Active legal-status Critical Current
Anticipated expiration legal-status Critical

Links

Images

Landscapes

  • Footwear And Its Accessory, Manufacturing Method And Apparatuses (AREA)

Abstract

【課題】スムーズな重心移動が可能な中敷きを提供する。
【解決手段】履物の中に挿入され、前端側の表面で足の前側を支持し、後端側の表面で足の踵側を支持して用いられる中敷き10であって、前端側の外側の表面に形成され、足の第5指を支持する第1隆起部30と、前端側の内側の表面に形成され、足の拇指球を支持する陥没部20と、を備える。第1隆起部30は、その内側の周囲よりも隆起して形成され、陥没部20は、周囲よりも陥没して形成されている。使用時に、左右方向の重心は、第1隆起部30により支持される第5指側から、陥没部20により支持される拇指球側へと自然に移動する。加えて、陥没部20を周囲よりも陥没して形成しているため、前後方向の重心は、足の踵側から爪先側へと自然に移動する。したがって、前後左右方向の重心は拇指球へとスムーズに移動することとなり、拇指球へ体重を乗せた自然な歩行が可能となる。
【選択図】 図1

Description

本発明は、履物の中に敷かれて使用される中敷き、及び履物に関する。
履物の中に敷かれて使用される中敷きは、歩く動作を補助することを目的として作られており、より軽い負荷での歩行が可能な形状とされている。このような中敷きとして、特許文献1に記載の中敷きがある。
特許文献1に記載の中敷きでは、土踏まずから足指に至る中間部に、第1指側から第5指側へと至る段部を備えている。この段部について、第1指側を第5指側よりも低くすることで、歩行時には重心が親指側へと移動しやすくなっている。そして、その結果として、重心移動を容易なものとしている。
特開2012−152536号公報
特許文献1に記載の中敷きでは、左右方向の重心移動に関しては第5指側から第1指側へと行われる。一方、足の指先側に段部が形成されていることから、各足指が上方へと浮き上がる。これにより、前後方向の重心移動は段部によって阻害され、重心は爪先側までスムーズに移動しづらい。歩行では、爪先で地面を蹴ることで前方への推進力を得るため、重心が爪先側までスムーズに移動しづらいことにより、歩行が不安定となるおそれも生ずる。
本発明は、上記課題を解決するためになされたものであり、その主たる目的は、スムーズな重心移動が可能な中敷き及び履物を提供することにある。
本発明は、履物の中に挿入され、前端側の表面で足の前側を支持し、後端側の表面で足の踵側を支持して用いられる中敷きであって、前端側の外側の表面に形成され、足の第5指を支持する第1隆起部と、前端側の内側の表面に形成され、足の拇指球を支持する陥没部と、を備え、前記第1隆起部は、その内側の周囲よりも隆起して形成され、前記陥没部は、前記周囲よりも陥没して形成されている。
上記構成では、歩行時に重心が第5指に乗ったとしても、第5指を支持する第1隆起部はその内側の周囲よりも隆起して形成されているため、第1隆起部から内側の周囲へと移動する。さらに、陥没部が第1隆起部の周囲よりも陥没して形成されているため、重心はさらに陥没部へと移動する。すなわち、左右方向の重心は、第1隆起部により支持される第5指側から、陥没部により支持される拇指球側へと自然に移動する。加えて、陥没部を周囲よりも陥没して形成しているため、前後方向の重心は、足の踵側から爪先側へと自然に移動する。したがって、前後左右方向の重心は拇指球へとスムーズに移動することとなり、拇指球へ体重を乗せた自然な歩行を可能とすることができる。
第1実施形態に係る中敷きの平面図である。 第1実施形態に係る中敷きの右側面図である。 第1実施形態に係る中敷きの底面図である。 第1実施形態に係る中敷きの左側面図である。 第1実施形態に係る中敷きの背面図である。 第1実施形態に係る中敷きの正面図である。 第1実施形態に係る中敷きのA−A断面図である。 第1実施形態に係る中敷きのA−A端面図である。 第1実施形態に係る中敷きのB−B断面図である。 第1実施形態に係る中敷きのC−C断面図である。 第1実施形態に係る中敷きの使用方法を示す図である。 第2実施形態に係る中敷きの平面図である。
以下、各実施形態を図面に基づいて説明する。なお、以下の各実施形態相互において、互いに同一もしくは均等である部分には、図中、同一符号を付しており、同一符号の部分についてはその説明を援用する。
<第1実施形態>
本実施形態に係る中敷き10を図1〜10を用いて説明する。中敷き10は、22.5〜24.5cmの大人の女性用の靴に適用されるものであり、その靴の内部に挿入されて使用され、靴の内部で人間の足を支持するものである。図1〜10では、左足用の中敷き10を示している。右足用の中敷き10の形状は左足用の中敷き10と左右対称の形状であるため、図示及び詳細な説明を省略する。
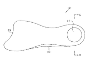
本明細書では、使用時の人間の足の前後方向を中敷き10の前後方向と定義する。すなわち、足の爪先側を中敷き10の前端側と定義し、足の踵側を中敷き10の後端側と定義する。使用時に人間の足に接する面を表面とし、その反対側、すなわち靴の中底に接する側の面を底面とする。このとき、表面側から底面側への向きについて、厚み方向と称するものとする。また、人間の足の外側を中敷き10の外側と定義し、人間の足の内側を中敷き10の内側と定義する。図1〜8において、左足用の中敷き10を示しているため、中敷き10の外側は、左側面側であり、中敷き10の内側は、右側面側である。
中敷き10は、弾性を有する合成樹脂である熱可塑性エラストマにより一体成型されている。中敷き10の底面側は、略平坦に形成されている。なお、中敷き10の厚みは3.0mmを基本に形成されており、左右方向の幅は最大である箇所で75.0mmであり、前後方向の長さは最大である箇所で198.0mmである。
中敷き10の前端側の表面において、中敷き10の基本的な厚みである境界部11よりも内側には、陥没部20が形成されている。陥没部20は、境界部11よりも陥没して形成されている。すなわち、陥没部20の厚みは、境界部11よりも薄く形成されており、且つ、その厚みは略均一である。陥没部20と境界部11との境界には、厚みが相違している段差を滑らかな曲面でつなぐ曲面部21が設けられている。曲面部21の厚みは境界部11から陥没部20に向けて漸減している。陥没部20は、表面側から見て、前端側の曲率が後端側の曲率よりも大きく形成されている。また、前後方向の長さは、左右方向の幅よりも大きい。すなわち、陥没部20は、表面側から見て、略卵型であると言うことができる。なお、陥没部20の厚みは2.0mmであり、陥没部20の幅は、最も広い箇所で25.0mmであり、陥没部20の前後方向の長さは、55.0mmである。
中敷き10の前端側の表面において、境界部11よりも外側には、第1隆起部30が形成されている。第1隆起部30は、境界部11よりも隆起している。より具体的には、境界部11から第1隆起部30の外側端部31に向けて、連続する傾斜が設けられることにより第1隆起部30が形成されている。すなわち、第1隆起部30の厚みは、境界部11側から漸増するように形成されている。第1隆起部30の境界部11側を除く外側の端部は、厚み方向について、略垂直に切れ落ちている。また、第1隆起部30の境界部11側を除く外側の端部は、面取りがなされている。なお、第1隆起部30の厚みは、最大である箇所で7.0mmであり、前後方向の幅は、最大である箇所で40.0mmであり、左右方向の幅は、最大である箇所で50.0mmである。
第1隆起部30の前端部32は、表面側から見て後端側へ凹んだ形状となっている。一方、第1隆起部30の後端部33は、表面側から見て前端側へと凹んだ形状となっている。第1隆起部30の前端部32及び後端部33がこのように形成されているため、第1隆起部30の前後方向の幅は、表面側から見て、内側から外側に向けて徐々に広くなり、外側の端部近傍で最も広くなる。
第1隆起部30の外側端部31、及び前端部32の周囲には、境界部11と厚みが連続する鍔部34が設けられている。この鍔部34の幅は、第1隆起部30の周囲において、略均一に形成されている。すなわち、鍔部34の前端部35の形状は、第1隆起部30の前端部32に沿う形状である。なお、鍔部34の幅は、3.0mmである。
中敷き10の前後方向の中央近傍の内側端部、すなわち、使用時に土踏まずと当接する箇所には、境界部11よりも厚い第2隆起部40が形成されている。第2隆起部40は、外側から内側に向けて、厚みが漸増するように形成されている。また、前端側から中央近傍に向けて厚みが漸増し、その中央近傍から後端側へ向けて厚みが漸減するように形成されている。第2隆起部40の厚みがこのように形成されているため、第2隆起部40の幅は、上面から見て、前端側から中央近傍に向けて漸増し、中央近傍から後端側へ向けて漸減する。なお、第2隆起部40の厚みは、最大である箇所で16.0mmである。
中敷き10の後端側には、踵支持部41が形成されている。踵支持部41は中央から内側端部、外側端部及び後側端部へのそれぞれに向けて、厚みが漸増する形状である。したがって、踵支持部41の断面は円弧状となっている。踵支持部41の底面側には、表面方向へと陥没した底面凹部42が設けられている。底面凹部42は、底面側から見て円形に形成されており、その深さは、略均一となっている。なお、踵支持部41及び底面凹部42がこのように形成されているため、厚みは、最も薄い箇所、すなわち後端側の中央で2.0mmであり、内側端部及び外側端部で7.0mmであり、後側端部で8.0mmである。
中敷き10の表面側において、陥没部20、第1隆起部30、及び踵支持部41を除いた領域には、半球形の突起12が設けられている。この突起12の高さは、1.3mmである。
以上のように構成される中敷き10に足を載せた場合の、足の各骨の位置と中敷き10の各部位との対応関係を、図11を参照して説明する。
第1指において、第1指中足骨51と第1指基節骨52との間の第1指中足指節間接53、すなわち拇指球は、陥没部20に支持される。また、第1指末節骨54は、陥没部20よりも前端側に突出し、中敷き10によって支持されない。これにより、第1指の先端は、中敷き10の前端から突出することとなる。
第2指において、第2指中足骨61と第2指基節骨62との間の第2指中足指節間接63は、境界部11に支持される。また、第2指中節骨64及び第2指末節骨65は、前端部35から前方へと突出することとなる。
第3指において、第3指中足骨71と第3指基節骨72との間の第3指中足指節間接73は、第1隆起部30に支持される。第4指及び第5指においても同様に、第4指中足骨81と第4指基節骨82との間の第4指中足指節間接83、及び第5指中足骨91と第5指基節骨92との間の第5指中足指節間接93は、第1隆起部30に支持される。第1隆起部30の後端部33は、表面側から見て前端側へ凹んだ形状であるため、第3,第4,第5指中足指節間接73,83,93は、第1隆起部30の後端部33に沿って支持される。
第1隆起部30の前後方向の幅は、表面側から見て、外側に向けて広くなるように形成されているため、第5指において、第5指中足指節間接93、第5指中節骨94及び第5指末節骨95が、第1隆起部30に支持される。一方、第1隆起部30の前端部32は、表面側から見て後端側へ凹んだ形状であるため、第3指末節骨75及び、第4指末節骨85は、第1隆起部30に支持されない。また、第3指中節骨74及び第4指中節骨84については、一部又は全部が、第1隆起部30に支持されない。これにより、第3指及び第4指は、第1隆起部30の前端部32よりも前方へ突出することとなる。
なお、図9で示す足の各骨の位置と中敷き10の各部位との対応関係については、あくまで一例である。足全体の大きさや、各骨の大きさには個人差があるため、中敷き10の各部位との対応関係については、必ずしも図9のようになるとは限られない。例えば、足の大きさや第5指の長さによっては、第5指の先端が第1隆起部30の前端部32よりも前方へ突出することとなる。
上記構成により、本実施形態に係る中敷き10は、以下の効果を奏する。
・歩行時に重心が第5指に乗ったとしても、第5指を支持する第1隆起部30はその内側の周囲よりも隆起して形成されているため、第1隆起部30から内側の周囲へと移動する。さらに、陥没部20が第1隆起部30の周囲よりも陥没して形成されているため、重心はさらに陥没部20へと移動する。すなわち、左右方向の重心は、第1隆起部30により支持される第5指側から、陥没部20により支持される拇指球側へと自然に移動する。加えて、陥没部20を周囲よりも陥没して形成しているため、前後方向の重心は、足の後端側から前端側へと自然に移動する。したがって、前後左右方向の重心は拇指球へとスムーズに移動することとなり、拇指球へ体重を乗せた自然な歩行を可能とすることができる。
・第1隆起部30を、外側に向けて高さが漸増するように設けているため、歩行時に第5指側にかけられた体重は、自然に親指側へと移動する。これにより、より自然に拇指球へと重心を移動させることができる。
・第1隆起部30について、内側から外側に向けて傾斜を設け、段差を設けないものとしている。これにより、第3〜第5指が段差の角に当接することがなくなり、歩行時の違和感を抑制することができる。
・第1隆起部30の後端部33を、前端側に凹んだ形状としているため、第3指、第4指、及び第5指の中足指節間接は、第1隆起部30の後端部33に沿うことになる。これにより、ひとつの指の中足指節間接に過剰な負荷がかかる事態を抑制することができ、より快適な歩行を可能とすることができる。
・第1隆起部30の形状を、表面側から見て後端側へ凹んだ形状としている。この形状により、第5指は概ね第5指末節骨95まで第1隆起部30により支持される。これにより、歩行時に第5指に力を加えることができ、より自然で安定した歩行を行うことができる。
・第1隆起部30の形状を、表面側から見て後端側へ凹んだ形状としている。この形状により、第3指、及び第4指について、第3指末節骨75、及び第4指末節骨85が、第1隆起部30の前端部32よりも前端側へと突出する。これにより、第3指及び第4指の爪先部分は、中敷き10により支持されず、指の動きの自由度が増す。したがって、歩行時に第3指及び第4指を動かして地面を掴む動作が可能となり、より自然で安定した歩行を行うことができる。
・陥没部20及び第1隆起部30を前端側の端部に設けている。これにより、第1〜第4指の爪先は中敷き10によって支持されず、指の動きの自由度が増す。したがって、歩行時に第1〜第4指で地面を掴む動作が可能となり、より自然で安定した歩行を行うことができる。
・陥没部20及び第1隆起部30を前端側の端部に設けている。これにより、第1〜第4指の爪先は中敷き10によって支持されず、第1〜第4指の爪先は、中敷き10よりも低い部分に位置することとなる。したがって、歩行時に陥没部20へと移動した重心を、さらに爪先側へと自然に移動させることができ、より自然な重心移動を可能とすることができる。
・陥没部20及び第1隆起部30が前端側の端部に設けられており、爪先を支持する部分は設けられていない。これにより、1つのサイズの中敷き10を複数のサイズの靴に対して用いることができる。
・陥没部20について、前後方向の長さを左右方向の幅よりも大きくしている。これにより、拇指球の前後方向の位置の個人差を吸収することができる。
・内側の端部に土踏まずを支持する第2隆起部40が設けられているため、その第2隆起部40が設けられている中央近傍において、重心は外側へと流れる。これにより、歩行時に最初に踵部に乗った体重は、中央近傍において外側へと流れた後に、陥没部20へと移動する。したがって、第2隆起部40よって重心の流れを形成することができ、歩行時に、効果的に重心を移動させることができる。このとき、重心が左右方向に移動しているため、使用者には、左右方向のバランスをとる必要が生ずる。この左右方向のバランスをとる動きにより、内転筋、大腿直筋、大臀筋、中臀筋、半腱様筋といった、臀部から大腿部にかけての筋肉を使用することとなる。したがって、本実施形態に係る中敷き10を使用することにより、使用しない場合よりも筋肉を使用した歩行が可能となる。
・踵支持部41の底面側に、表面側へと凹んだ底面凹部42を形成している。これにより、踵支持部41の底面側において、靴の中底と中敷き10の底面との間に空間が形成される。歩行時に踵が着地した際には、底面凹部42により形成された空間が弾性変形し、これにより踵支持部41は底面側へと弾性変形する。このとき、底面凹部42により形成された空間が弾性変形することにより、着地時の衝撃が吸収される。したがって、着地時に踵に対して生じる衝撃を踵支持部41で吸収することができ、歩行時の足への負担を軽減することができる。
<第2実施形態>
本実施形態に係る中敷き100は、前端側の形状が第1実施形態と異なっている。
本実施形態に係る中敷き100について、図12を参照して説明する。中敷き100は、前端側の端部に爪先支持部110を備えている。爪先支持部110の前端の外形は、前端側へ突出した形状であり、概ね、人の足の前端の形状に沿ったものとされている。なお、爪先支持部110の厚みは、境界部11と連続した厚みであり、3.0mmである。
上記構成により、本実施形態に係る中敷き100は、第1実施形態に係る中敷き10に準ずる効果を奏する。
<変形例>
・実施形態では、陥没部20と第1隆起部30との間に厚みが均一な境界部11を設けるものとした。この点、陥没部20の内側の端部から第1隆起部30の外側の端部に向けて、厚みが漸増するものとしてもよい。この場合においても、境界部11に相当する部分、すなわち、中敷き10全体と厚みが共通する部分が形成される。したがって、陥没部20については、外側の周囲に形成される境界部11に相当する部分よりも陥没しているということができ、第1隆起部30については、内側の周囲に形成される境界部11に相当する部分よりも隆起しているということができる。
・実施形態では、陥没部20について、厚みを略均一とした。この点、陥没部20の厚みを、内側に向けて漸減するものとしてもよい。こうすれば、重心がより内側へと移動しやすくなる。また、陥没部20の中央近傍の厚みを、その周囲よりも薄くしてもよい。こうすることで、拇指球は陥没部20の中央近傍に収まりやすくない、フィット感を向上させることができる。
・実施形態では、第1隆起部30の前端部32の形状を、表面側から見て後端側へと凹んだ形状とした。この点、第1隆起部30の前端部32の形状を、表面側から見て、外側から内側に向けて略直線的な形状としてもよい。また、第1隆起部30の前端部32の形状を、表面側から見て前端側へと突出した形状としてもよい。
・実施形態では、第1隆起部30の後端部33の形状を前端側へと凹んだ形状とした。この点、第1隆起部30の後端部33の形状を、表面側から見て、外側から内側に向けて略直線的な形状としてもよい。また、第1隆起部30の後端部33の形状を、表面側から見て後端側へと突出した形状としてもよい。
・実施形態では、第1隆起部30を境界部11から傾斜して設けられるものとした。この点、第1隆起部30の境界部11側について、外側端部31、前端部32、後端部33と同様に、底面方向へと切れ落ちた形状としてもよい。この場合、第1隆起部30について、第1実施形態と同様に外側端部31に向けて傾斜する形状、すなわち、厚みが漸増する形状としてもよいし、外側端部31に向けて傾斜を設けず、厚みを略均一なものとしてもよい。
・実施形態では、第1隆起部30について、外側端部31に向けて傾斜するものとした。この点、外側端部31に向けて高くなる階段状の形状としてもよい。この場合には、第3指が載る段、第4指が載る段、及び第5指が載る段を設けるものとすればよい。
・第1実施形態における陥没部20について、第1隆起部30のごとく、鍔部を設けるものとしてもよい。この場合、鍔部の厚みは陥没部20よりも厚いものとなる。
・第1実施形態では、第1隆起部30の周囲に鍔部34を設けるものとしたが、鍔部34は設けなくてもよい。
・第2実施形態において、爪先支持部110の厚みを境界部11と等しくしたが、陥没部20と等しくしてもよい。
・実施形態では、中敷き10を熱可塑性エラストマにより一体成型するものとした。この点、中敷き10の材料は熱可塑性エラストマに限られず、その他の種々の樹脂で形成してもよいし、繊維等で形成してもよい。また、中敷き10を一体成型せず、複数の部材を成型したうえでそれらを一体に組み合わせるものとしてもよい。この場合には、各部材を同じ材料としてもよいし、異なる材料としてもよい。
・実施形態では、中敷き10について、22.5〜24.5cmの大人の女性用の靴に適用されるものとしたが、適用対象となる靴のサイズは上記のものに限られない。女性用の他のサイズの靴や、男性用の靴に対しても適用可能であり、その場合には、前後方向の長さ等を変更すればよい。また、実施形態では中敷き10の各部位の寸法を記載しているが、各寸法は変更可能である。
・実施形態では、靴等の履物の内部に挿入して使用する中敷き10の表面に、陥没部20や第1隆起部30等を形成するものとした。この点、履物の中底表面に、中敷き10が備えるものと同等の形状である陥没部20や第1隆起部30等を形成するものとしてもよい。この場合、履物は靴に限られず、サンダルやスリッパ等に対して適用することもできる。
10…中敷き、20…陥没部、30…第1隆起部、32…前端部、40…第2隆起部、100…中敷き。

Claims (10)

  1. 履物の中に挿入され、前端側の表面で足の前側を支持し、後端側の表面で足の踵側を支持して用いられる中敷きであって、
    前端側の外側の表面に形成され、足の第5指側を支持する第1隆起部と、
    前端側の内側の表面に形成され、足の拇指球を支持する陥没部と、を備え、
    前記第1隆起部は、その内側の周囲よりも隆起して形成され、
    前記陥没部は、前記周囲よりも陥没して形成されている、中敷き。
  2. 前記第1隆起部は、内側から外側に向けて高さが漸増する、請求項1に記載の中敷き。
  3. 前記第1隆起部の後端側は、表面側から見て前端側に凹んだ形状である、請求項1又は2記載の中敷き。
  4. 前記第1隆起部の前端側は、表面側から見て後端側へ凹んだ形状である、請求項1〜3のいずれか1項に記載の中敷き。
  5. 前記陥没部及び前記第1隆起部が、前端側の端部に形成されている、請求項1〜4のいずれか1項に記載の中敷き。
  6. 前記陥没部の前端側の端部が、中敷きの前端側の端部を形成している、請求項5に記載の中敷き。
  7. 内側の端部に、土踏まずを支持する第2隆起部が形成されている、請求項1〜6のいずれか1項に記載の中敷き。
  8. 後端側の底面に、表面側へと凹んだ底面凹部が形成されている、請求項1〜7のいずれか1項に記載の中敷き。
  9. 請求項1〜8のいずれか1項に記載の中敷きを備える履物。
  10. 前端側の中底表面で足の前側を支持し、後端側の中底表面で足の踵側を支持して用いられる靴であって、
    前端側の外側の中底表面に形成され、足の第5指側を支持する隆起部と、
    前端側の内側の中底表面に形成され、足の拇指球を支持する陥没部と、を備え、
    前記隆起部は、その内側の周囲よりも隆起して形成され、
    前記陥没部は、前記周囲よりも陥没して形成されている、履物。
JP2016081316A 2016-04-14 2016-04-14 中敷き、及び履物 Active JP6721232B2 (ja)

Priority Applications (1)

Application Number Priority Date Filing Date Title
JP2016081316A JP6721232B2 (ja) 2016-04-14 2016-04-14 中敷き、及び履物

Applications Claiming Priority (1)

Application Number Priority Date Filing Date Title
JP2016081316A JP6721232B2 (ja) 2016-04-14 2016-04-14 中敷き、及び履物

Publications (2)

Publication Number Publication Date
JP2017189459A true JP2017189459A (ja) 2017-10-19
JP6721232B2 JP6721232B2 (ja) 2020-07-08

Family

ID=60085485

Family Applications (1)

Application Number Title Priority Date Filing Date
JP2016081316A Active JP6721232B2 (ja) 2016-04-14 2016-04-14 中敷き、及び履物

Country Status (1)

Country Link
JP (1) JP6721232B2 (ja)

Citations (4)

* Cited by examiner, † Cited by third party
Publication number Priority date Publication date Assignee Title
JP2008061960A (ja) * 2006-09-11 2008-03-21 泰朗 高本 履物
JP2008161635A (ja) * 2006-12-28 2008-07-17 Akira Yanagisawa 靴及び靴中敷
JP2010115291A (ja) * 2008-11-12 2010-05-27 Brace Fit Kk インソール及びハーフインソール
JP2012152536A (ja) * 2011-01-27 2012-08-16 Uchida Hanbai System:Kk 履物及び履物用中敷き

Patent Citations (4)

* Cited by examiner, † Cited by third party
Publication number Priority date Publication date Assignee Title
JP2008061960A (ja) * 2006-09-11 2008-03-21 泰朗 高本 履物
JP2008161635A (ja) * 2006-12-28 2008-07-17 Akira Yanagisawa 靴及び靴中敷
JP2010115291A (ja) * 2008-11-12 2010-05-27 Brace Fit Kk インソール及びハーフインソール
JP2012152536A (ja) * 2011-01-27 2012-08-16 Uchida Hanbai System:Kk 履物及び履物用中敷き

Also Published As

Publication number Publication date
JP6721232B2 (ja) 2020-07-08

Similar Documents

Publication Publication Date Title
US8127467B2 (en) Sole, and footwear provided with the same
JPWO2014017581A1 (ja) 履物シート及び履物
JP2020044267A (ja) ソール構造
JP7355450B1 (ja) 履物
JP3195071U (ja) 靴べら機能付き靴
JP2010264037A (ja) 履物および履物用中敷
JP3167047U (ja) 中敷および履物底
JP5364797B2 (ja) ハイヒール用中敷
JP3177013U (ja) ハイヒール用インソール及び同インソールを具備したハイヒール
JP5374765B2 (ja) 靴底
JP5815172B2 (ja) 履物用中底又はインソールおよびこれを用いる歩行用履物又はスニーカー
JP7142345B2 (ja) 軽登山用のインソール
JP6721232B2 (ja) 中敷き、及び履物
JP2006198101A (ja) 履物の本底及び履物
KR102280329B1 (ko) 건강한 스탠딩 및 전족 주행을 위한 신발 물품
JP2018192026A (ja) 履物用中敷およびそれを備えた履物
JP4933150B2 (ja) 高さのあるヒールを備えた婦人靴の中底体
JP2016214809A (ja) 外反拇趾用中敷き及び履物
JP2019000237A (ja) 履物用中敷
JP7648258B1 (ja) 履物
JP2005081030A (ja) 歩行矯正用履物、および該歩行矯正用履物を構成する装着底部材セット
JP3211541U (ja) 履物
JP3142602U (ja) 履物の中敷
JP5832021B2 (ja) 靴底及び靴
JP3167656U (ja) 履物

Legal Events

Date Code Title Description
A80 Written request to apply exceptions to lack of novelty of invention

Free format text: JAPANESE INTERMEDIATE CODE: A80

Effective date: 20160513

A621 Written request for application examination

Free format text: JAPANESE INTERMEDIATE CODE: A621

Effective date: 20190410

A131 Notification of reasons for refusal

Free format text: JAPANESE INTERMEDIATE CODE: A131

Effective date: 20200225

A977 Report on retrieval

Free format text: JAPANESE INTERMEDIATE CODE: A971007

Effective date: 20200228

TRDD Decision of grant or rejection written
A01 Written decision to grant a patent or to grant a registration (utility model)

Free format text: JAPANESE INTERMEDIATE CODE: A01

Effective date: 20200602

A61 First payment of annual fees (during grant procedure)

Free format text: JAPANESE INTERMEDIATE CODE: A61

Effective date: 20200615

R150 Certificate of patent or registration of utility model

Ref document number: 6721232

Country of ref document: JP

Free format text: JAPANESE INTERMEDIATE CODE: R150

R250 Receipt of annual fees

Free format text: JAPANESE INTERMEDIATE CODE: R250