JP2017172119A - 水洗大便器 - Google Patents

水洗大便器 Download PDF

Info

Publication number
JP2017172119A
JP2017172119A JP2016056125A JP2016056125A JP2017172119A JP 2017172119 A JP2017172119 A JP 2017172119A JP 2016056125 A JP2016056125 A JP 2016056125A JP 2016056125 A JP2016056125 A JP 2016056125A JP 2017172119 A JP2017172119 A JP 2017172119A
Authority
JP
Japan
Prior art keywords
receiving surface
water
tip
filth
bowl
Prior art date
Legal status (The legal status is an assumption and is not a legal conclusion. Google has not performed a legal analysis and makes no representation as to the accuracy of the status listed.)
Pending
Application number
JP2016056125A
Other languages
English (en)
Inventor
伸一 浦田
Shinichi Urata
伸一 浦田
剛 小関
Takeshi Koseki
剛 小関
友成 弘志
Hiroshi Tomonari
弘志 友成
Current Assignee (The listed assignees may be inaccurate. Google has not performed a legal analysis and makes no representation or warranty as to the accuracy of the list.)
Toto Ltd
Original Assignee
Toto Ltd
Priority date (The priority date is an assumption and is not a legal conclusion. Google has not performed a legal analysis and makes no representation as to the accuracy of the date listed.)
Filing date
Publication date
Application filed by Toto Ltd filed Critical Toto Ltd
Priority to JP2016056125A priority Critical patent/JP2017172119A/ja
Priority to CN201710111395.6A priority patent/CN107201776B/zh
Priority to US15/452,866 priority patent/US10072407B2/en
Priority to EP17160233.7A priority patent/EP3219861B1/en
Publication of JP2017172119A publication Critical patent/JP2017172119A/ja
Pending legal-status Critical Current

Links

Images

Classifications

    • EFIXED CONSTRUCTIONS
    • E03WATER SUPPLY; SEWERAGE
    • E03DWATER-CLOSETS OR URINALS WITH FLUSHING DEVICES; FLUSHING VALVES THEREFOR
    • E03D11/00Other component parts of water-closets, e.g. noise-reducing means in the flushing system, flushing pipes mounted in the bowl, seals for the bowl outlet, devices preventing overflow of the bowl contents; devices forming a water seal in the bowl after flushing, devices eliminating obstructions in the bowl outlet or preventing backflow of water and excrements from the waterpipe
    • E03D11/02Water-closet bowls ; Bowls with a double odour seal optionally with provisions for a good siphonic action; siphons as part of the bowl
    • E03D11/08Bowls with means producing a flushing water swirl
    • EFIXED CONSTRUCTIONS
    • E03WATER SUPPLY; SEWERAGE
    • E03DWATER-CLOSETS OR URINALS WITH FLUSHING DEVICES; FLUSHING VALVES THEREFOR
    • E03D1/00Water flushing devices with cisterns ; Setting up a range of flushing devices or water-closets; Combinations of several flushing devices
    • EFIXED CONSTRUCTIONS
    • E03WATER SUPPLY; SEWERAGE
    • E03DWATER-CLOSETS OR URINALS WITH FLUSHING DEVICES; FLUSHING VALVES THEREFOR
    • E03D2201/00Details and methods of use for water closets and urinals not otherwise provided for
    • E03D2201/40Devices for distribution of flush water inside the bowl

Landscapes

  • Health & Medical Sciences (AREA)
  • Life Sciences & Earth Sciences (AREA)
  • Engineering & Computer Science (AREA)
  • Hydrology & Water Resources (AREA)
  • Public Health (AREA)
  • Water Supply & Treatment (AREA)
  • Sanitary Device For Flush Toilet (AREA)

Abstract

【課題】汚物受け面上を旋回する洗浄水を、溜水部から拡がるように形成された扇形の凹部により溜水部の先端に向かって集め、それにより、溜水部内に汚物を押し込む比較的強い押し込み流を発生させることができ、汚物排出性能を向上させることができる水洗大便器を提供する。【解決手段】本発明の水洗大便器1は、ボウル形状の汚物受け面20と、この汚物受け面の上部に形成されたリム部22と、汚物受け面の下方に形成された溜水部26と、を備えるボウル部14と、溜水部にその入口が接続され汚物を排出する排水路18と、ボウル部に洗浄水を吐水して汚物受け面上に旋回流を形成する吐水口部28、30と、を備え、ボウル部の汚物受け面は、汚物受け面20の先端部20aと、溜水部26の先端部26aとの間において、溜水部から拡がるように形成された扇形の凹部36を形成している。【選択図】図2

Description

本発明は、水洗大便器に係り、特に洗浄水源から供給される洗浄水により便器を洗浄して汚物を排出する水洗大便器に関する。
従来から、例えば特許文献1乃至3に示されたように、製造コストを抑制するためにゼット吐水口のない水洗大便器が知られている。このような水洗大便器においては、両側方領域において横方向に沿った凸面が形成され、上方汚物受け面上の前方領域及び後方領域においては、前後方向に沿った凸面又は凹面が形成されることが開示されている。
特開2015−68126号公報 特開2015−68125号公報 特開2015−68127号公報
しかしながら、このような特許文献1乃至3に記載された水洗大便器では、汚物受け面上を旋回する洗浄水が徐々に流下する場合に、洗浄水が汚物受け面上で依然として分散されてしまい、溜水部内に汚物を押し込む押し込み流による溜水部内の洗浄水の上下方向の攪拌が不足して、汚物が十分に排出されないという問題があった。
このような問題は、近年の節水化の要請に伴って洗浄水量を低減した場合には、汚物受け面上を旋回する洗浄水がより減少するため、溜水部内に汚物を押し込む押し込み流による溜水部内の洗浄水の上下方向の攪拌が不足して、汚物が十分に排出されないという問題がより顕著となる。
そこで、本発明は、従来技術の問題点を解決するためになされたものであり、汚物受け面上を旋回する洗浄水を、溜水部から拡がるように形成された扇形の凹部により溜水部の先端に向かって集め、それにより、溜水部内に汚物を押し込む比較的強い押し込み流を発生させることができ、汚物排出性能を向上させることができる水洗大便器を提供することを目的としている。
上記の目的を達成するために、本発明は、洗浄水源から供給される洗浄水により便器を洗浄して汚物を排出する水洗大便器であって、ボウル形状の汚物受け面と、この汚物受け面の上部に形成されたリム部と、汚物受け面の下方に形成された溜水部と、を備えるボウル部と、溜水部にその入口が接続され汚物を排出する排水路と、ボウル部に洗浄水を吐水して汚物受け面上に旋回流を形成する吐水口部と、を備え、ボウル部の汚物受け面は、汚物受け面の先端部と、溜水部の先端部との間において、溜水部から拡がるように形成された扇形の凹部を形成していることを特徴としている。
このように構成された本発明においては、汚物受け面上を旋回する洗浄水を、溜水部から拡がるように形成された扇形の凹部により比較的広い領域から溜水部に向かって導きやすくすることができ、扇形の凹部によって導かれる洗浄水が溜水部の先端に向かって集められ、それにより、溜水部内に汚物を押し込む比較的強い押し込み流を発生させることができ、汚物排出性能を向上させることができる。
本発明において、好ましくは、ボウル部の汚物受け面の凹部は、左右方向の断面における凹部の中央底面の曲率半径が、汚物受け面の先端部から溜水部の先端部に向かって減少するように形成されている。
このように構成された本発明においては、凹部の中央底面の曲率半径が、汚物受け面の先端部から溜水部の先端部に向かって減少するように形成されているので、扇形の凹部のうち汚物受け面の先端部側の領域においては、凹部の中央底面の曲率半径が比較的大きく、洗浄水の旋回流を比較的維持させやすくすることができ、且つ扇形の凹部のうち溜水部の先端部側の領域においては、凹部の中央底面の曲率半径が比較的小さく、洗浄水の旋回流を溜水部に向かってより導きやすくすることができる。従って、凹部の汚物受け面の先端部側の領域において旋回流を維持させると共に、溜水部の先端部側の領域においては旋回流の比較的少ない周回数のうちに洗浄水を溜水部方向に向かう流れとして集め且つ溜水部方向に向かうまとめた流れを形成することができる。また、凹部内において溜水部方向に向けられた洗浄水の流れが、溜水部の先端部近傍の領域において、最も減少された曲率半径を有する中央底面に沿って溜水部の先端部に向かって集められる。従って、溜水部内に汚物を押し込むより強い押し込み流を発生させることができ、汚物排出性能をより向上させることができる。
本発明において、好ましくは、ボウル部の汚物受け面の凹部は、30度〜120度の範囲の中心角により形成される扇形として形成されている。
このように構成された本発明においては、凹部は、30度〜120度の範囲の中心角により形成される扇形として形成されているので、汚物受け面上を旋回する洗浄水を、30度〜120度の範囲の中心角により形成された扇形の凹部により比較的広い領域から溜水部に向かって導きやすくすることができ、凹部によって導かれる洗浄水が溜水部の先端に向かって集められ、それにより、溜水部内に汚物を押し込むより強い押し込み流を発生させることができ、汚物排出性能を向上させることができる。
本発明において、好ましくは、ボウル部の汚物受け面の凹部は、溜水部の先端部近傍の左右方向の断面における凹部の中央底面の曲率半径が、10〜120の範囲に形成されている。
このように構成された本発明においては、汚物受け面上を旋回する洗浄水のうち、溜水部の先端近傍の旋回流の洗浄水を、中央底面の曲率半径が、10〜120の範囲に形成されている凹部により溜水部に向かって導きやすくすることができ、さらに、凹部内において溜水部方向に向けられた洗浄水の流れが、溜水部の先端部近傍の領域において、10〜20の範囲の曲率半径を有する中央底面に沿って溜水部の先端部に向かってより確実に集められる。従って、溜水部内に汚物を押し込むより強い押し込み流を発生させることができ、汚物排出性能を向上させることができる。
本発明において、好ましくは、ボウル部の汚物受け面の凹部は、凹部の中央底面から、汚物受け面の上端部に設けられた棚部までの高さが、汚物受け面の先端部から溜水部の先端部に向かって増大するように形成されている。
このように構成された本発明においては、凹部は、中央底面から、汚物受け面の上端部に設けられた棚部までの高さが、汚物受け面の先端部から溜水部の先端部に向かって増大するように形成されているので、扇形の凹部のうち汚物受け面の先端部側の領域においては、凹部の中央底面から棚部までの高さが比較的小さく、洗浄水の旋回流を比較的維持させやすくすることができ、且つ扇形の凹部のうち溜水部の先端部側の領域においては、凹部の中央底面から棚部までの高さが比較的大きく、洗浄水の旋回流を溜水部に向かってより導きやすくすることができる。従って、凹部の汚物受け面の先端部側の領域において旋回流を維持させると共に、溜水部の先端部側の領域においては旋回流の比較的少ない周回数のうちに洗浄水を溜水部方向に向かう流れとして集め且つ溜水部方向に向かうまとめた流れを形成することができる。従って、溜水部内に汚物を押し込むより強い押し込み流を発生させることができ、汚物排出性能をより向上させることができる。
本発明の水洗大便器によれば、汚物受け面上を旋回する洗浄水を、溜水部から拡がるように形成された扇形の凹部により溜水部の先端に向かって集め、それにより、溜水部内に汚物を押し込む比較的強い押し込み流を発生させることができ、汚物排出性能を向上させることができる。
本発明の一実施形態による水洗大便器を示す全体概略図である。 本発明の一実施形態による水洗大便器の便器本体を示す平面図である。 図2のIII−III線に沿って見た水洗大便器の断面図である。 本発明の一実施形態による水洗大便器のボウル部の凹部を、便器本体の左側後方から見た概略斜視図である。 図2のV−V線に沿って見た水洗大便器のボウル部の断面図である。 図2のVI−VI線に沿って見た水洗大便器のボウル部の断面図である。 図2のVII−VII線に沿って見た水洗大便器のボウル部の断面図である。 図2のVIII−VIII線に沿って見た水洗大便器のボウル部の断面図である。 図2のIX−IX線に沿って見た水洗大便器のボウル部の断面図である。 図2のX−X線に沿って見た水洗大便器のボウル部の断面図である。 本発明の一実施形態による水洗大便器の汚物受け面の凹部に関し、VI−VI線に沿って見た断面、VII−VII線に沿って見た断面、VIII−VIII線に沿って見た断面及びIX−IX線に沿って見た断面のそれぞれについて、凹部の中央底面から棚部までの高さ、及び凹部の曲率半径Rを示す図である。 本発明の一実施形態による水洗大便器の便器本体上の洗浄水の流れを示す平面図である。
以下、添付図面を参照して、本発明の実施形態による水洗大便器について説明する。図1は、本発明の一実施形態による水洗大便器を示す全体概要図である。以下、本発明の実施形態における説明において、便器本体2を前方から見て右側を右側とし、前方から見て左側を左側として説明している。中心線Cは、便器本体2を左右方向に二等分する中心線である。
本発明の実施形態による水洗大便器は、ボウル部内の水の落差による流水作用により汚物を押し流す洗い落とし式水洗大便器(ウォッシュダウン式水洗大便器)である。なお、本実施形態は洗い落とし式水洗大便器以外のサイホン式水洗大便器等にも適用可能である。
図1に示すように、本発明の実施形態による水洗大便器1は、壁面3の表面に取り付けられた便器本体2と、壁面3の上方の裏面に取り付けられた洗浄水源である洗浄水を貯水する貯水タンク6とを備えている。また、壁面3の表面には、操作スイッチ8が取り付けられている。貯水タンク6と便器本体2は、接続管10により接続され、操作スイッチ8がON操作されると、貯水タンク6内の洗浄水が接続管10を通って便器本体2に供給されるようになっている。本実施形態においては、便器本体2は陶器により形成されているが、樹脂を使用して形成されていてもよい。
さらに壁面3の裏面には、汚物を排出するための排水管12が取り付けられ、この排水管12は、便器本体2と接続されており、便器本体2内の汚物が排出されるようになっている。
また、本実施形態の水洗大便器1においては、貯水タンク6から供給される洗浄水量が3リットル乃至6.5リットルの範囲である節水タイプの水洗大便器、より好ましくは3.8リットル乃至6.5リットルの範囲である節水タイプの水洗大便器、さらにより好ましくは4.8リットル乃至6リットルの範囲である節水タイプの水洗大便器に使用することができる。貯水タンク6により示される給水装置は、密結タンクや便器と一体化した陶器内蔵タンクなどの貯水タンクの他、規定の洗浄水量を供給できる、フラッシュバルブ等の他の給水装置であってもよい。
次に、図2及び図3により、本発明の実施形態による水洗大便器の便器本体の構造について説明する。図2は本発明の一実施形態による水洗大便器の便器本体を示す平面図であり、図3は図2のIII−III線に沿って見た水洗大便器の断面図である。
図2及び図3に示すように、本発明の実施形態による水洗大便器1の便器本体2は、その前方にはボウル部14が形成され、その後方上部には貯水タンク6からの洗浄水をボウル部14に供給する共通導水路16が形成され、さらに、後方下部には汚物を排出するための排水トラップ管路18(排水路)が形成されている。
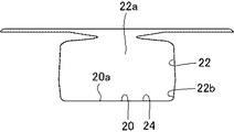
ボウル部14は、ボウル形状の汚物受け面20と、この汚物受け面20の上部に形成されたリム部22と、汚物受け面20の下方に形成され溜水を貯溜する窪み部分を形成する溜水部26を備えている。
汚物受け面20は、その上端部に平坦面を形成する棚部24を備えている。棚部24は、ほぼ水平に形成され洗浄水を旋回させるためのものであり、汚物受け面20の上端部をほぼ一周している。リム部22には、棚部24の外側端から鉛直方向に延びる内周面22aが形成されている。
本実施形態における棚部24の高さは全周にわたってほぼ一定の高さに形成されているが、棚部24の高さは前方側に向かって下降するように形成されていてもよく、又は他の方法により異なる傾斜部分を有するように形成されていてもよい。また、本実施形態における棚部24は、後述するような中心線Cに直交する左右方向の各断面においては、右側の棚部24と、左側の棚部24とがほぼ同じ高さに形成されている。
さらに、ボウル部14のリム部22の内周面22aの前方から見て左側の中央部の少し後方側に、第1吐水口28(吐水口部)が形成され、前方から見て右側のボウル部14の後方側には、第2吐水口30(吐水口部)が形成されている。第1吐水口28は洗浄水を棚部24上にボウル部14の前方に向かって洗浄水を吐水する。第2吐水口30はボウル部14の後方に向けて洗浄水を吐水し、第1吐水口28及び第2吐水口30により、反時計回りの同一方向の旋回流を汚物受け面20上に形成するようになっている。
ここで、本実施形態による水洗大便器1は、ボウル部14の溜水部26や後述する排水トラップ管路18の入口18aに直接洗浄水を噴射して供給するジェット吐水口を備えていないタイプの水洗大便器である。
共通導水路16は、便器前方に向かって、第1導水路32及び第2導水路34に分岐している。この第1導水路32により洗浄水が第1吐水口28に供給され、第2導水路34により洗浄水が第2吐水口30に供給されるようになっている。
なお、本実施形態による水洗大便器1においては、第1吐水口28を含む第1導水路32及び第2吐水口28を含む第2導水路34は、陶器製の便器本体2と一体に形成されているが、本発明はこのような水洗大便器に限らず、第1導水路及び第2導水路を、便器本体とは別体のディストリビュータ等により形成してもよい。
また、本実施形態による水洗大便器1においては、共通導水路16は、第1導水路32及び第2導水路34に分岐され、第1導水路32により洗浄水が第1吐水口28に供給され、第2導水路34により洗浄水が第2吐水口30に供給されるようになっているが、本発明はこのような水洗大便器に限らず、第2導水路34及び第2吐水口30を省略し、共通導水路16は、第1導水路32のみに接続され、この第1導水路32により洗浄水が第1吐水口28のみに供給されるように形成してもよい。また、本実施形態による水洗大便器1における場合における第1吐水口28及び第2吐水口30の位置、他の実施形態による水洗大便器において第1吐水口28のみを備えている場合における第1吐水口28の位置、はリム部22の内周のいずれの位置にも変更することができる。
上述したボウル部14の溜水部26は、上面視でほぼ三角形状であり、前方側は先細り形状であり、後方側は円弧形状となっている。溜水部26の先端部26aは、中心線C上において溜水部26の最も先端の部分を形成し、後述する汚物受け面20の凹部36と接続されている。
上述した排水トラップ管路18は、溜水部26の底部に開口した入口18aから斜め上方に延び最高点18bを通った後に後方に延び、排水管12に接続されている。
ここで、水洗大便器1の溜水部の溜水水位Lは、排水トラップ管路18の最高点18bの高さにより決定される。
次に、図4乃至図11を用いて、上述したボウル部14の汚物受け面20ついて詳細に説明する。図4は本発明の一実施形態による水洗大便器のボウル部の凹部を、便器本体の左側後方から見た概略斜視図であり、図5は図2のV−V線に沿って見た水洗大便器のボウル部の断面図であり、図6は図2のVI−VI線に沿って見た水洗大便器のボウル部の断面図であり、図7は図2のVII−VII線に沿って見た水洗大便器のボウル部の断面図であり、図8は図2のVIII−VIII線に沿って見た水洗大便器のボウル部の断面図であり、図9は図2のIX−IX線に沿って見た水洗大便器のボウル部の断面図であり、図10は図2のX−X線に沿って見た水洗大便器のボウル部の断面図であり、図11は本発明の一実施形態による水洗大便器の汚物受け面の凹部に関し、VI−VI線に沿って見た断面、VII−VII線に沿って見た断面、VIII−VIII線に沿って見た断面及びIX−IX線に沿って見た断面のそれぞれについて、凹部の中央底面から棚部までの高さ、及び凹部の曲率半径Rを示す図である。
図4及び図6乃至図9において、凹部36が傾斜している様子を分かりやすく示すために、それぞれの図において、図2のV−V線に沿って切った場合のボウル部14の断面の位置を示す仮想線S5(図5により示されるボウル部14の断面の輪郭に対応する)により示し、図2のVI−VI線に沿って切った場合のボウル部14の断面の位置を示す仮想線S6(図6により示されるボウル部14の断面の輪郭に対応する)により示し、図2のVII−VII線に沿って切った場合のボウル部14の断面の位置を示す仮想線S7(図7により示されるボウル部14の断面の輪郭に対応する)により示し、図2のVIII−VIII線に沿って切った場合のボウル部14の断面の位置を示す仮想線S8(図8により示されるボウル部14の断面の輪郭に対応する)により示し、図2のIX−IX線に沿って切った場合のボウル部14の断面の位置を示す仮想線S9(図9により示されるボウル部14の断面の輪郭に対応する)により示している。
ここで、V−V断面の断面図、VI−VI断面の断面図、VII−VII断面の断面図、VIII−VIII断面の断面図、及びIX−IX断面の断面図は、汚物受け面20の汚物受け面先端部20a(汚物受け面の先端部)の棚部24から溜水部26の先端部26aまでの長さを4等分するような位置における各断面図である。より具体的には、上述の各断面図は、中心線Cにおいて汚物受け面20の汚物受け面先端部20aの棚部24に対応する位置から溜水部26の先端部26aに対応する位置までの長さを4等分するような位置における各断面図である。
従って、中心線Cにおいて、汚物受け面20の汚物受け面先端部20aの棚部24に対応する位置を0とし、溜水部26の先端部26aに対応する位置を100とした全体割合のうち各断面の位置の割合は、V−V断面の位置は0となり、VI−VI断面の位置は25となり、VII−VII断面の位置は50となり、VIII−VIII断面の位置は75となり、及びIX−IX断面の断面図位置は100として示される。
ボウル部14の汚物受け面20は、汚物受け面20の汚物受け面先端部20aと、溜水部26の先端部26aとの間において、溜水部26から拡がるように扇形に形成された凹部36を形成している。汚物受け面20の凹部36は、汚物受け面20の前部且つ溜水部26の前方側に形成されている。扇形の凹部36は、溜水部26の先端部26aを中心部として前方側に向かって放射状に広がるように形成されている。他の言い方によれば、凹部36は、漏斗形状を形成している。凹部36は、汚物受け面先端部20aの棚部24から溜水部26の先端部26aに向かって左右方向の幅が徐々に小さくなるように形成されている。凹部36は、汚物受け面20の平坦面又は斜面から下方に凹むように形成されている。凹部36は、汚物受け面20上から一段窪んだ面を形成することとなるため、凹部36内に流入した洗浄水は凹部36内に留まりやすくなる。凹部36内に留められた洗浄水は、後述するように溜水部26に向かって導かれる。
図10に示すように、中心線Cに対して直交する左右方向の各断面において、凹部36の上端部36aの接線t1と、凹部36の上端部36aと接続する汚物受け面20の接続部20bの接線t2と、が交わる変曲点p1(両接線の交点)がもとめられる。この断面ごとに規定された変曲点p1を、前後方向に結んだ仮想線Bが、溜水部26の先端部26aを中心部として前方側に向かって広がる扇形の領域の両端を示している(図2、図4及び図10参照)。よって、扇形の凹部36は、仮想線Bの間に形成されることとなる。凹部36は、中心線Cを中心として左右対称に形成されている。凹部36は、中心線C上の位置に凹部36の最深部を形成する中央底面36bが形成されている。凹部36は、下述する左右方向の各断面において、中央底面36bを形成する曲率半径によるほぼ単一の円弧の形状を有していてもよい。
図2に示すような凹部36の扇形の領域の両端を規定する2つの仮想線Bの間の中心角αは、30度〜120度の範囲に規定されている。従って、凹部36は、30度〜120度、好ましくは30度〜90度の範囲の中心角により形成される扇形として形成されている。例えば、凹部36は、62度の中心角を有する扇形として形成されている。
図4に示すように、中心線Cに直交する左右方向の各断面において、汚物受け面20の凹部36は、凹部36の中央の中央底面36bから、汚物受け面20の上端部に設けられた棚部24までの高さが、汚物受け面先端部20aの棚部24から溜水部26の先端部26aに向かって増大するように形成されている。図4においては、棚部24の高さ位置を分かりやすく示すため、便器本体2の左右の棚部24を結んだ基準線Dを示している。なお、本実施形態においては、図4に示す4箇所の基準線Dの高さはほぼ同じ高さであるが、それぞれの基準線Dの高さは、わずかに変化した高さであってもよい。この場合においても、中央底面36bから、棚部24(基準線D)までの高さが、汚物受け面先端部20aから先端部26aに向かって増大する関係が満たされる。
なお、棚部24は、リム部22の下端部22bとほぼ同じ高さに設けられているので、上述のような各断面において、汚物受け面20の凹部36は、凹部36の中央の中央底面36bから、リム部22の下端部22bまでの高さも、汚物受け面20の汚物受け面先端部20aの棚部24から溜水部26の先端部26aに向かって増大するように形成されている。
凹部36の中央底面36bは、汚物受け面20の汚物受け面先端部20aの棚部24から溜水部26の先端部26aに向かって、中心線Cに沿って、徐々に下降するように形成されている。
図4及び図5に示すような、V−V断面(V−V線に沿って見た断面、以下同様)の位置においては、凹部36の中央底面36bは、棚部24と一致するようになっている。図4及び図6に示すような、VI−VI断面においては、凹部36の中央底面36bから棚部24までの高さh1が、約20mmに形成されている(図11参照)。図4及び図7に示すような、VII−VII断面においては、凹部36の中央底面36bから棚部24までの高さh2が、約38mmに形成されている(図11参照)。図4及び図8に示すような、VIII−VIII断面においては、凹部36の中央底面36bから棚部24までの高さh3が、約52mmに形成されている(図11参照)。図4及び図9に示すような、IX−IX断面においては、凹部36の中央底面36bから棚部24までの高さh4が、約68mmに形成されている(図11参照)。中央底面36bから棚部24までの高さは、上述のh1<h2<h3<h4の関係に示されるように、汚物受け面20の汚物受け面先端部20aから溜水部26の先端部26aに向かって徐々に増大されている。
図9に示すように、V−V線に沿って切った位置の仮想線S5上の凹部36の中央底面36bの位置、VI−VI線に沿って切った位置の仮想線S6上の凹部36の中央底面36bの位置、VII−VII線に沿って切った位置の仮想線S7上の凹部36の中央底面36bの位置、VIII−VIII線に沿って切った位置の仮想線S8上の凹部36の中央底面36bの位置、が順に下降した位置に配置されており、IX−IX線に沿って切った位置の仮想線S9上の凹部36の中央底面36bの位置がこれらの位置に比べて最も低い位置に配置されている。
汚物受け面20の凹部36は、左右方向の断面における凹部36の中央底面36bの曲率半径が、汚物受け面20の汚物受け面先端部20aから溜水部26の先端部26aに向かって減少するように形成されている。凹部36は、左右方向の各断面において、逆三角形の窪み形状を形成するようになっている。
図4及び図5に示すような、V−V断面においては、凹部36の中央底面36bは、棚部24と一致するようなほぼ平坦面として形成されている。
図6及び図11に示すように、VI−VI断面においては、凹部36の中央底面36bの曲率半径R1は、約115Rに形成されている。対応する曲率を規定する半径は約115mmである。
図7及び図11に示すように、VII−VII断面においては、凹部36の中央底面36bの曲率半径R2は、約85Rに形成されている。対応する曲率を規定する半径は約85mmである。
図8及び図11に示すように、VIII−VIII断面においては、凹部36の中央底面36bの曲率半径R3は、約64Rに形成されている。対応する曲率を規定する半径は約64mmである。
図9及び図11に示すように、IX−IX断面においては、凹部36の中央底面36bの曲率半径R4は、約15Rに形成されている。対応する曲率を規定する半径は約15mmである。凹部36の中央底面36bの曲率半径は、上述のR1>R2>R3>R4の関係に示されるように、汚物受け面20の汚物受け面先端部20aから溜水部26の先端部26aに向かって徐々に減少されている。さらに、図6乃至図9に示すように、凹部36の中央底面36bにおいてR1>R2>R3>R4の関係を有するので、中央底面36bの最下部36cから所定の高さの位置における左右方向の流路の幅が、汚物受け面先端部20aから溜水部26の先端部26aに向かって徐々に減少されている。図9に示すように、凹部36は、溜水部26の先端部26a近傍の左右方向の断面(IX−IX断面)における凹部36の中央底面36bの曲率半径が、10〜20の範囲に形成されている
次に、主に図12を用いて本発明の実施形態による水洗大便器の動作について説明する。図12は本発明の一実施形態による水洗大便器の便器本体上の洗浄水の流れを示す平面図である。
使用者が操作スイッチ8(図1参照)をON操作すると、貯水タンク6内の洗浄水が接続管10を経て共通導水路16に流入し、この共通導水路16から分岐した第1導水路32及び第2導水路34に到達し、第1吐水口28及び第2吐水口30のそれぞれから洗浄水が吐水される。
第1吐水口28から吐水された洗浄水は、汚物受け面20上に形成された棚部24上に吐水され、主に、矢印F1に示すように、棚部24を旋回する旋回流を形成する。
第2吐水口30から吐水された洗浄水は、汚物受け面20上に形成された棚部24上に吐水され、主に、矢印F2に示すように、棚部24を旋回する旋回流を形成する。
このとき、汚物受け面20上の棚部24から徐々に流下する洗浄水は、矢印F3、F4、F5、F6、F7及びF8に示すように、汚物受け面20上の棚部24より下方側において旋回流を形成する。
このとき、汚物受け面20上に扇形の凹部36が形成されているので、F9、F10、F11及びF12に示すように、扇形の凹部36の両端近傍から凹部36の中心方向(中心線Cの方向)及び溜水部26の先端部26aの方向に向かう流れが形成されやすくなる。また、扇形の凹部36の左右両端部において変曲点p1(及び変曲点p1を結ぶ仮想線B)が存在していることから、変曲点p1上を通過する洗浄水の流れに流速及び流れ方向の変化、例えば流速の減少及び溜水部26向きの流れ成分の増加等の変化、を与えるきっかけが生じ、凹部36内において底面の傾きに従って、中央底面36bの方向及び/又は溜水部26の方向に集められる流れが形成される。
凹部36は、30度〜120度の範囲の中心角αにより形成される扇形として形成されているので、汚物受け面20上を旋回する洗浄水を、矢印F9、F10、F11及びF12に示すように、30度〜120度の範囲の中心角により放射状に広がる比較的広い領域から集め、溜水部26に向かって導く流れを形成する。
また、汚物受け面20上の凹部36は、左右方向の断面における凹部36の中央底面36bの曲率半径が、汚物受け面先端部20aから溜水部26の先端部26aに向かって減少するように形成されているので、扇形の凹部36のうち汚物受け面先端部20a側の領域においては、中央底面36bの曲率半径R1が比較的大きく、凹部36内に流入した洗浄水が曲率半径R1に沿って一旦中央底面36bまで流下した後滑らかに再び上昇して流出しやすいため、洗浄水の旋回流が比較的維持された状態の流れを形成することができる。さらに、扇形の凹部36のうち溜水部26の先端部26a側の領域においては、例えば中央底面36bの曲率半径R4(他の例としては曲率半径R2、R3)が比較的小さく、凹部36内に流入した洗浄水が中央底面36bまで流下した後、曲率半径R4に沿って急激に方向を変えて再び上昇して流出しにくくなるため、洗浄水が凹部36内において留められ且つ流れの向きが溜水部26方向に変えられることとなり、洗浄水の旋回流を溜水部26に向かってより導きやすくされる。従って、凹部36の汚物受け面先端部20a側の領域において旋回流を維持させると共に、汚物受け面先端部20a側よりも溜水部26の先端部26a側の領域においては旋回流の比較的少ない周回数のうちに洗浄水を溜水部26方向に向かう流れとして集めることが可能となり且つ溜水部26方向に向かうまとめた流れを形成する。
また、凹部36内において溜水部26方向に向けられた洗浄水の流れが、先端部26a近傍の領域において、最も減少された曲率半径R4、例えば、10〜20の範囲の曲率半径を有する中央底面36bに沿って中心線C近傍に集中され、先端部26aに向かって集中して流下する。
また、汚物受け面20上の凹部36は、中央底面36bから、汚物受け面20の上端部に設けられた棚部24までの高さが、汚物受け面先端部20aから溜水部26の先端部26aに向かって増大するように形成されているので、扇形の凹部36のうち汚物受け面先端部20a側の領域においては、凹部36の中央底面36bから棚部24までの高さが比較的小さく、凹部36に流入した洗浄水が一旦中央底面36bまで流下した後再び上昇して流出しやすいため、洗浄水の旋回流が比較的維持された状態の流れを形成することができる。さらに、扇形の凹部36のうち溜水部26の先端部26a側の領域においては、凹部36の中央底面36bから棚部24までの高さが比較的大きく、凹部36に流入した洗浄水が一旦中央底面36bまで流下した後再び上昇して流出しにくくなるため、洗浄水が凹部36内において留められ且つ流れの向きが溜水部26方向に変えられることとなり、洗浄水の旋回流を溜水部26に向かってより導くこととなる。
従って、凹部36の汚物受け面先端部20a側の領域において旋回流を維持させると共に、汚物受け面先端部20a側よりも溜水部26の先端部26a側の領域においては旋回流の比較的少ない周回数のうちに洗浄水を溜水部26方向に向かう流れとして集めることが可能となり且つ溜水部26方向に向かうまとめた流れを形成する。
また、凹部36は、その中央底面36bが溜水部26の先端部26aに向かって下降するように形成される(下り傾斜が形成される)こととなるため、その中央底面36b上に集められた流れを溜水部26の先端部26aに向かって加速させて流し込む流れを形成する。
よって、汚物受け面20上の扇形の凹部36を通過しようとする洗浄水の旋回流のうち、凹部36において溜水部26方向に向けられる洗浄水の流れの割合を増大させて、洗浄水を凹部36から溜水部26に集めて流すことができる。
具体的には、洗浄水は、汚物受け面20上を旋回しようとする流れから、凹部36内において溜水部26の方向且つ中央底面36bの方向に向きを変えた後は、矢印F13、F14に示すように、凹部36内の中央底面36b上に沿って集められ、矢印F15に示すように(図12及び図3参照)、凹部36の中央底面36bの下端から溜水部26の先端部26aに集中的に流れ込む流れを形成する。凹部36の中央底面36bの曲率半径が、汚物受け面先端部20aから溜水部26の先端部26aに向かって徐々に減少されているので、洗浄水が減少する曲率半径に沿って中央底面36b上に集められる。基本的に、凹部36において溜水部26方向に向けられる洗浄水の流れは、中央底面36b上で一つの主流にまとめられることとなるため、溜水部26の先端部26aに流れ込む主流の水勢及び流量が流れが周囲に分散されている場合と比べて増加される。
図3において、矢印F16に示すように、凹部36から溜水部26の先端部26aに集中的に流れ込む流れが、縦方向の押し込み流を形成し、溜水部26上の汚物を下方向(縦方向)に押し込む力を強く生じさせるため、溜水部26内の洗浄水及び汚物(例えば浮遊系汚物)を上下方向に攪拌する力を生じさせ、例えば矢印F17に示すような上下方向の攪拌流を形成させ、便器本体2の汚物受け面20の側部に吐水口(ゼット口)が設けられていない水洗大便器であっても、汚物を排水トラップ管路18に効率よく押し込み、効率よく排出させることができる。
また、近年の節水化の要請により洗浄水量が少なくされる場合においても、汚物受け面20の凹部36上を流れる洗浄水を、旋回の2周目(例えば、第1吐水口28等から吐水された洗浄水が1周目に主に棚部24上を旋回した後の旋回となる2周目)の比較的早い周回数のタイミングで集め、洗浄水を凹部36から溜水部26に集めて流すことにより、洗浄水が汚物受け面20上で旋回を継続してしまうことにより洗浄水が分散され、溜水部26に押し込む力が弱まることを抑制し、汚物受け面20上の洗浄能力を維持するとともに溜水部26の洗浄水の押し込み力も確保することができる。
上述した本実施形態による水洗大便器1によれば、汚物受け面20上を旋回する洗浄水を、溜水部26から拡がるように形成された扇形の凹部36により汚物受け面20上の比較的広い領域から溜水部26に向かって導きやすくすることができ、扇形の凹部36によって導かれる洗浄水が溜水部26の先端に向かって集められ、それにより、溜水部26内に汚物を押し込む比較的強い押し込み流を発生させることができ、汚物排出性能を向上させることができる。
なお、本実施形態による水洗大便器1は、凹部36の中央底面36bの曲率半径が、汚物受け面20の汚物受け面先端部20aから溜水部26の先端部26aに向かって減少するように形成されているので、扇形の凹部36のうち汚物受け面20の汚物受け面先端部20a側の領域においては、凹部36の中央底面36bの曲率半径が比較的大きく、洗浄水の旋回流を比較的維持させやすくすることができ、且つ扇形の凹部36のうち溜水部26の先端部26a側の領域においては、凹部36の中央底面36bの曲率半径が比較的小さく、洗浄水の旋回流を溜水部26に向かってより導きやすくすることができる。従って、凹部36の汚物受け面20の汚物受け面先端部20a側の領域において旋回流を維持させると共に、溜水部26の先端部26a側の領域においては旋回流の比較的少ない周回数のうちに洗浄水を溜水部26方向に向かう流れとして集め且つ溜水部26方向に向かうまとめた流れを形成することができる。
また、凹部36内において溜水部方向に向けられた洗浄水の流れが、溜水部26の先端部26a近傍の領域において、最も減少された曲率半径を有する中央底面36bに沿って溜水部26の先端部26aに向かって集められる。従って、溜水部26内に汚物を押し込むより強い押し込み流を発生させることができ、汚物排出性能をより向上させることができる。
本実施形態による水洗大便器1によれば、凹部36は、30度〜120度の範囲の中心角αにより形成される扇形として形成されているので、汚物受け面20上を旋回する洗浄水を、30度〜120度の範囲の中心角αにより形成された扇形の凹部36により比較的広い領域から溜水部26に向かって導きやすくすることができ、凹部36によって導かれる洗浄水が溜水部26の先端に向かって集められ、それにより、溜水部26内に汚物を押し込むより強い押し込み流を発生させることができ、汚物排出性能を向上させることができる。
本実施形態による水洗大便器1によれば、汚物受け面20上を旋回する洗浄水のうち、溜水部26の先端近傍の旋回流の洗浄水を、中央底面36bの曲率半径が、10〜120(10R〜120R)の範囲に形成されている凹部36により溜水部26に向かって導きやすくすることができ、さらに、凹部36内において溜水部方向に向けられた洗浄水の流れが、溜水部26の先端部26a近傍の領域において、10〜20(10R〜20R)の範囲の曲率半径を有する中央底面36bに沿って溜水部26の先端部26aに向かってより確実に集められる。従って、溜水部26内に汚物を押し込むより強い押し込み流を発生させることができ、汚物排出性能を向上させることができる。
本実施形態による水洗大便器1によれば、凹部36は、中央底面36bから、汚物受け面20の上端部に設けられた棚部24までの高さが、汚物受け面20の汚物受け面先端部20aから溜水部26の先端部26aに向かって増大するように形成されているので、扇形の凹部36のうち汚物受け面20の汚物受け面先端部20a側の領域においては、凹部36の中央底面36bから棚部24までの高さが比較的小さく、洗浄水の旋回流を比較的維持させやすくすることができ、且つ扇形の凹部36のうち溜水部26の先端部26a側の領域においては、凹部36の中央底面36bから棚部24までの高さが比較的大きく、洗浄水の旋回流を溜水部26に向かってより導きやすくすることができる。従って、凹部36の汚物受け面20の汚物受け面先端部20a側の領域において旋回流を維持させると共に、溜水部26の先端部26a側の領域においては旋回流の比較的少ない周回数のうちに洗浄水を溜水部26方向に向かう流れとして集め且つ溜水部方向に向かうまとめた流れを形成することができる。従って、溜水部26内に汚物を押し込むより強い押し込み流を発生させることができ、汚物排出性能をより向上させることができる。
1 水洗大便器
2 便器本体
14 ボウル部
18 排水トラップ管路
20 汚物受け面
20a 汚物受け面先端部
22 リム部
24 棚部
26 溜水部
26a 先端部
28 第1吐水口
30 第2吐水口
36 凹部
α 中心角

Claims (5)

  1. 洗浄水源から供給される洗浄水により便器を洗浄して汚物を排出する水洗大便器であって、
    ボウル形状の汚物受け面と、この汚物受け面の上部に形成されたリム部と、汚物受け面の下方に形成された溜水部と、を備えるボウル部と、
    上記溜水部にその入口が接続され汚物を排出する排水路と、
    上記ボウル部に洗浄水を吐水して上記汚物受け面上に旋回流を形成する吐水口部と、を備え、
    上記ボウル部の上記汚物受け面は、上記汚物受け面の先端部と、上記溜水部の先端部との間において、上記溜水部から拡がるように形成された扇形の凹部を形成していることを特徴とする水洗大便器。
  2. 上記ボウル部の上記汚物受け面の上記凹部は、左右方向の断面における上記凹部の中央底面の曲率半径が、上記汚物受け面の先端部から上記溜水部の先端部に向かって減少するように形成されている請求項1に記載の水洗大便器。
  3. 上記ボウル部の上記汚物受け面の上記凹部は、30度〜120度の範囲の中心角により形成される扇形として形成されている請求項1又は2に記載の水洗大便器。
  4. 上記ボウル部の上記汚物受け面の上記凹部は、上記溜水部の先端部近傍の左右方向の断面における上記凹部の中央底面の曲率半径が、10〜120の範囲に形成されている請求項1乃至3の何れか1項に記載の水洗大便器。
  5. 上記ボウル部の上記汚物受け面の上記凹部は、上記凹部の上記中央底面から、上記汚物受け面の上端部に設けられた棚部までの高さが、上記汚物受け面の先端部から上記溜水部の先端部に向かって増大するように形成されている請求項1乃至4の何れか1項に記載の水洗大便器。
JP2016056125A 2016-03-18 2016-03-18 水洗大便器 Pending JP2017172119A (ja)

Priority Applications (4)

Application Number Priority Date Filing Date Title
JP2016056125A JP2017172119A (ja) 2016-03-18 2016-03-18 水洗大便器
CN201710111395.6A CN107201776B (zh) 2016-03-18 2017-02-28 冲水大便器
US15/452,866 US10072407B2 (en) 2016-03-18 2017-03-08 Flush toilet
EP17160233.7A EP3219861B1 (en) 2016-03-18 2017-03-10 Flush toilet

Applications Claiming Priority (1)

Application Number Priority Date Filing Date Title
JP2016056125A JP2017172119A (ja) 2016-03-18 2016-03-18 水洗大便器

Related Child Applications (1)

Application Number Title Priority Date Filing Date
JP2020125158A Division JP6880470B2 (ja) 2020-07-22 2020-07-22 水洗大便器

Publications (1)

Publication Number Publication Date
JP2017172119A true JP2017172119A (ja) 2017-09-28

Family

ID=58266465

Family Applications (1)

Application Number Title Priority Date Filing Date
JP2016056125A Pending JP2017172119A (ja) 2016-03-18 2016-03-18 水洗大便器

Country Status (4)

Country Link
US (1) US10072407B2 (ja)
EP (1) EP3219861B1 (ja)
JP (1) JP2017172119A (ja)
CN (1) CN107201776B (ja)

Cited By (6)

* Cited by examiner, † Cited by third party
Publication number Priority date Publication date Assignee Title
JP2019105122A (ja) * 2017-12-14 2019-06-27 Toto株式会社 水洗大便器
JP2019173324A (ja) * 2018-03-27 2019-10-10 Toto株式会社 水洗大便器
JP2021055443A (ja) * 2019-09-30 2021-04-08 Toto株式会社 水洗大便器
US11326333B2 (en) 2019-09-30 2022-05-10 Toto Ltd. Flush toilet
JP2022130976A (ja) * 2021-02-26 2022-09-07 Toto株式会社 水洗大便器
JP2023125546A (ja) * 2022-02-28 2023-09-07 Toto株式会社 水洗大便器

Families Citing this family (1)

* Cited by examiner, † Cited by third party
Publication number Priority date Publication date Assignee Title
CN115822048B (zh) * 2022-12-14 2025-07-25 江西兴原星科技有限公司 一种智能马桶无线按钮遥控冲水装置及其实施方法

Citations (4)

* Cited by examiner, † Cited by third party
Publication number Priority date Publication date Assignee Title
US4987616A (en) * 1988-10-13 1991-01-29 Eljer Manufacturing, Inc. Water saver water closet
JP2011174363A (ja) * 2010-02-01 2011-09-08 Lixil Corp 水洗式便器
JP2014047561A (ja) * 2012-08-31 2014-03-17 Toto Ltd 水洗大便器
JP2015151845A (ja) * 2014-02-19 2015-08-24 Toto株式会社 水洗大便器

Family Cites Families (8)

* Cited by examiner, † Cited by third party
Publication number Priority date Publication date Assignee Title
JPH111954A (ja) * 1997-06-11 1999-01-06 Inax Corp 水洗式便器
US20120284911A1 (en) 2010-02-01 2012-11-15 Lixil Corporation Drainage channel of flush toilet
KR101290733B1 (ko) * 2011-09-21 2013-07-29 대림비앤코주식회사 림 노즐과 단턱이 구비된 일체형 양변기
US9359753B2 (en) * 2013-03-29 2016-06-07 Toto Ltd. Flush toilet
JP5553188B1 (ja) * 2013-09-26 2014-07-16 Toto株式会社 水洗大便器
JP6341359B2 (ja) 2013-09-30 2018-06-13 Toto株式会社 水洗大便器
JP6344543B2 (ja) 2013-09-30 2018-06-20 Toto株式会社 水洗大便器
JP5787110B2 (ja) 2013-09-30 2015-09-30 Toto株式会社 水洗大便器

Patent Citations (4)

* Cited by examiner, † Cited by third party
Publication number Priority date Publication date Assignee Title
US4987616A (en) * 1988-10-13 1991-01-29 Eljer Manufacturing, Inc. Water saver water closet
JP2011174363A (ja) * 2010-02-01 2011-09-08 Lixil Corp 水洗式便器
JP2014047561A (ja) * 2012-08-31 2014-03-17 Toto Ltd 水洗大便器
JP2015151845A (ja) * 2014-02-19 2015-08-24 Toto株式会社 水洗大便器

Cited By (12)

* Cited by examiner, † Cited by third party
Publication number Priority date Publication date Assignee Title
JP2019105122A (ja) * 2017-12-14 2019-06-27 Toto株式会社 水洗大便器
JP7082312B2 (ja) 2017-12-14 2022-06-08 Toto株式会社 水洗大便器
JP2019173324A (ja) * 2018-03-27 2019-10-10 Toto株式会社 水洗大便器
JP7158650B2 (ja) 2018-03-27 2022-10-24 Toto株式会社 水洗大便器
JP2021055443A (ja) * 2019-09-30 2021-04-08 Toto株式会社 水洗大便器
US11326333B2 (en) 2019-09-30 2022-05-10 Toto Ltd. Flush toilet
JP7092100B2 (ja) 2019-09-30 2022-06-28 Toto株式会社 水洗大便器
JP2022130976A (ja) * 2021-02-26 2022-09-07 Toto株式会社 水洗大便器
JP7559611B2 (ja) 2021-02-26 2024-10-02 Toto株式会社 水洗大便器
JP2023125546A (ja) * 2022-02-28 2023-09-07 Toto株式会社 水洗大便器
JP7409410B2 (ja) 2022-02-28 2024-01-09 Toto株式会社 水洗大便器
JP2024019623A (ja) * 2022-02-28 2024-02-09 Toto株式会社 水洗大便器

Also Published As

Publication number Publication date
US10072407B2 (en) 2018-09-11
US20170268214A1 (en) 2017-09-21
CN107201776B (zh) 2020-09-04
EP3219861A1 (en) 2017-09-20
CN107201776A (zh) 2017-09-26
EP3219861B1 (en) 2021-12-22

Similar Documents

Publication Publication Date Title
JP2017172119A (ja) 水洗大便器
JP6573066B2 (ja) 水洗大便器
JP5553188B1 (ja) 水洗大便器
JP6472591B2 (ja) 水洗大便器
JP6344543B2 (ja) 水洗大便器
JP5753662B2 (ja) 水洗式便器
JP2015190245A (ja) 水洗大便器
JP2015196959A (ja) 水洗大便器
JP6238011B2 (ja) 水洗大便器
JP2013170396A (ja) 水洗大便器
JP2017166315A (ja) 水洗式大便器
JP2015068165A (ja) 水洗大便器
JP2020007908A (ja) 水洗大便器
JP7205797B2 (ja) 水洗大便器
JP2017145631A (ja) 水洗大便器
JP6341359B2 (ja) 水洗大便器
JP5787110B2 (ja) 水洗大便器
JP7402421B2 (ja) 水洗大便器
JP2020051052A (ja) 水洗大便器
JP6351064B2 (ja) 水洗式便器
JP2018119400A (ja) 水洗大便器
JP7093507B2 (ja) 水洗大便器
JP6079967B2 (ja) 水洗大便器
JP2013238048A (ja) 水洗大便器
JP7082312B2 (ja) 水洗大便器

Legal Events

Date Code Title Description
RD04 Notification of resignation of power of attorney

Free format text: JAPANESE INTERMEDIATE CODE: A7424

Effective date: 20170427

A621 Written request for application examination

Free format text: JAPANESE INTERMEDIATE CODE: A621

Effective date: 20181220

A977 Report on retrieval

Free format text: JAPANESE INTERMEDIATE CODE: A971007

Effective date: 20191015

A131 Notification of reasons for refusal

Free format text: JAPANESE INTERMEDIATE CODE: A131

Effective date: 20191031

A521 Request for written amendment filed

Free format text: JAPANESE INTERMEDIATE CODE: A523

Effective date: 20191226

A02 Decision of refusal

Free format text: JAPANESE INTERMEDIATE CODE: A02

Effective date: 20200422