JP2017128968A - Structural material - Google Patents

Structural material Download PDF

Info

Publication number
JP2017128968A
JP2017128968A JP2016010217A JP2016010217A JP2017128968A JP 2017128968 A JP2017128968 A JP 2017128968A JP 2016010217 A JP2016010217 A JP 2016010217A JP 2016010217 A JP2016010217 A JP 2016010217A JP 2017128968 A JP2017128968 A JP 2017128968A
Authority
JP
Japan
Prior art keywords
structural material
phase
protrusion
protrusions
length
Prior art date
Legal status (The legal status is an assumption and is not a legal conclusion. Google has not performed a legal analysis and makes no representation as to the accuracy of the status listed.)
Granted
Application number
JP2016010217A
Other languages
Japanese (ja)
Other versions
JP6605339B2 (en
Inventor
高柳 博
Hiroshi Takayanagi
博 高柳
Current Assignee (The listed assignees may be inaccurate. Google has not performed a legal analysis and makes no representation or warranty as to the accuracy of the list.)
HOKUSEI SHOJI KK
Original Assignee
HOKUSEI SHOJI KK
Priority date (The priority date is an assumption and is not a legal conclusion. Google has not performed a legal analysis and makes no representation as to the accuracy of the date listed.)
Filing date
Publication date
Application filed by HOKUSEI SHOJI KK filed Critical HOKUSEI SHOJI KK
Priority to JP2016010217A priority Critical patent/JP6605339B2/en
Publication of JP2017128968A publication Critical patent/JP2017128968A/en
Application granted granted Critical
Publication of JP6605339B2 publication Critical patent/JP6605339B2/en
Active legal-status Critical Current
Anticipated expiration legal-status Critical

Links

Images

Landscapes

  • Veneer Processing And Manufacture Of Plywood (AREA)
  • Joining Of Building Structures In Genera (AREA)
  • Rod-Shaped Construction Members (AREA)

Abstract

PROBLEM TO BE SOLVED: To improve connection efficiency while ensuring sufficient strength in a structure.SOLUTION: The structural material comprises a half-lap joint part 6 at one end part side. The half-lap joint part 6 comprises a first half-lap joint surface 61 and a second half-lap joint surface 62. On a first region 61a of the first half-lap joint surface 61, 3 first projecting parts P1 are arranged. On a second region 61b of the first half-lap joint surface 61, 2 second projecting parts P2 are arranged. On the second half-lap joint surface 62, 3 third projecting parts P3 and 3 fourth projecting parts P4 are arranged. On a tip surface 5, 3 fifth projecting parts P5 and 2 sixth projecting parts P6 are arranged. A gap G1 on one structural material 1 is engaged with the second projecting part P2 of another structural material 1. A gap G3 of one structural material 1 is engaged with the fifth projecting part P5 of another structural material 1. Gaps G4, G5 on one structural material 1 are engaged with the sixth projecting part P6 of another structural material 1. A gap G6 on one structural material 1 is engaged with an extending part of the first projecting part P1 on another structural material 1 so that each of half-lap joint parts 6 on each of the structural materials 1 is jointed.SELECTED DRAWING: Figure 2

Description

本発明は、断面が矩形に形成されて一端部側に相欠き部を有する構造材料に関するものである。   The present invention relates to a structural material having a rectangular cross section and having a phase cutout at one end.

この種の構造材料として、下記特許文献1に開示された建築材料ユニットが知られている。この建築材料ユニットは、建築構造物を建築する際に用いる建築材料ユニットであって、3枚の板材を重ね合わせて構成されている。この場合、この建築材料ユニットでは、各板材のうちの外側の2枚の板材における各々の両端部を揃え、中央の板材を外側の2枚の板材に対して長さ方向にずらした状態で重ね合わせることで、一端部において、中央の板材が外側の2枚の板材から引っ込んだ凹凸部が形成され、他端部において、中央の板材が外側の2枚の板材から突出する凹凸部が形成されている。この凹凸部は、継手部として機能し、1つの建築材料ユニットの凹凸部を他の建築材料ユニットの凹凸部に差し込んで嵌合させた後に嵌合部分(継手部)に釘を打って接合することで、2つの建築材料ユニットを連結することが可能となっている。   As this type of structural material, a building material unit disclosed in Patent Document 1 below is known. This building material unit is a building material unit used when building a building structure, and is configured by superimposing three plates. In this case, in this building material unit, both end portions of the outer two plate members of the respective plate members are aligned, and the central plate member is overlapped in the length direction with respect to the outer two plate members. By combining, at one end, an uneven portion is formed in which the central plate is retracted from the two outer plates, and at the other end, an uneven portion is formed where the central plate protrudes from the two outer plates. ing. This concavo-convex part functions as a joint part, and after inserting and fitting the concavo-convex part of one building material unit into the concavo-convex part of another building material unit, the nail is struck into the fitting part (joint part) and joined. Thus, it is possible to connect two building material units.

特開2006−316454号公報(第6−10頁、第2,8−16図)JP 2006-316454 A (page 6-10, FIGS. 2, 8-16)

ところが、上記した従来の建築材料ユニットには、以下の問題点がある。すなわち、この建築材料ユニットでは、凹凸部を他の建築材料ユニットの凹凸部に差し込んで嵌合させ、嵌合させた部分に釘を打って接合することで、2つの建築材料ユニットを連結している。しかしながら、凹凸部を他の凹凸部に差し込んで嵌合させただけでは、長さ方向に直交する方向の荷重等の外力が建築材料ユニットに作用したときには、継手部自体がこれらの外力に対抗する(外力を支える)ことができず、この部分に打った釘の剛性だけでこれらの外力に対抗する(外力を支える)こととなる。したがって、この建築材料ユニットには、この建築材料ユニットを用いて建築した建築構造物の十分な強度を確保することが困難であるという問題点が存在する。また、この建築材料ユニットには、凹凸部同士を嵌合させた後に釘を打つ必要があるため、建築効率が悪いという問題点も存在する。   However, the above-described conventional building material unit has the following problems. In other words, in this building material unit, the concavo-convex part is inserted into and fitted into the concavo-convex part of another building material unit, and the two building material units are joined by hitting and joining the fitted part. Yes. However, the joint part itself counters these external forces when an external force such as a load in a direction perpendicular to the length direction acts on the building material unit simply by inserting the uneven part into another uneven part and fitting. (External force cannot be supported), and only the rigidity of the nail struck in this portion will counter these external forces (support external force). Therefore, this building material unit has a problem that it is difficult to ensure sufficient strength of a building structure built using this building material unit. Further, this building material unit also has a problem that the building efficiency is poor because it is necessary to hit the nail after fitting the concavo-convex portions.

本発明は、かかる問題点に鑑みてなされたものであり、構造体の十分な強度を確保しつつ連結効率を向上し得る構造材料を提供することを主目的とする。   The present invention has been made in view of such problems, and a main object of the present invention is to provide a structural material that can improve the connection efficiency while ensuring sufficient strength of the structure.

上記目的を達成すべく請求項1記載の構造材料は、断面が矩形に形成されて一端部側に相欠き部を備えた構造材料であって、前記相欠き部は、当該構造材料の1つの側面に対向する第1相欠き面と、当該構造材料の先端面よりも当該構造材料の他端部側に位置して当該先端面に平行でかつ前記第1相欠き面と交差する第2相欠き面とを有し、前記第1相欠き面における前記先端面側と前記第2相欠き面側との中間位置よりも当該先端面側の領域には、当該第1相欠き面から第1の長さだけ突出すると共に当該第1相欠き面の長さ方向である第1方向に沿って延在しかつ前記先端面から第2の長さだけ当該第1方向に沿って延出部分が延出するリブ状のm個(mは、3以上の任意の正の奇数であるnを2で除した値以上の整数のうちの最小の整数)の第1突起部が当該第1相欠き面の幅方向である第2方向に互いに離間する状態で設けられ、前記第1相欠き面における前記中間位置よりも前記第2相欠き面側の領域には、隣接する前記各第1突起部の間の第1の隙間における前記第2方向の中心を通って前記第1方向に沿った第1直線上に延在すると共に対応する当該各第1の隙間の幅とそれぞれ同じ幅でかつ当該第1相欠き面から前記第1の長さだけそれぞれ突出するリブ状のk個(kは、n−m)の第2突起部が設けられ、前記第2相欠き面には、前記第1相欠き面における前記各第1突起部の前記第2方向の中心を通って前記第1方向に沿った第2直線と当該第2相欠き面との各交点を通って前記1つの側面に直交する第3方向に沿った各第3直線上における当該第1相欠き面から第3の長さだけ離間した位置にそれぞれ配置されて対応する当該第1突起部の幅とそれぞれ同じ幅でかつ当該第2相欠き面から前記第2の長さだけそれぞれ突出するm個の第3突起部と、前記各第3直線上における前記各第3突起部から第4の長さだけ離間した位置にそれぞれ配置されて当該配置された各々の当該第3直線上に位置する当該第3突起部の幅とそれぞれ同じ幅でかつ当該第2相欠き面から前記第2の長さだけそれぞれ突出するm個の第4突起部とが設けられ、前記先端面には、前記各第2直線と当該先端面との各交点を通って前記第3方向に沿った各第4直線上における前記各第1突起部から前記第3突起部の長さだけ離間した位置にそれぞれ配置されて対応する当該第1突起部とそれぞれ同じ幅で前記第4の長さと同じ長さを有しかつ当該先端面から前記第2の長さだけそれぞれ突出するm個の第5突起部と、当該各第5突起部の間の各第2の隙間における前記第2方向の中心を通って前記第3方向に沿った各第5直線に沿ってそれぞれ延在すると共に対応する当該各第2の隙間の幅とそれぞれ同じ幅でかつ当該先端面から前記第2の長さだけそれぞれ突出するリブ状のk個(kは、n−m)の第6突起部とが設けられ、1つの当該構造材料における前記第1の隙間に他の1つの当該構造材料における前記第2突起部が嵌合し、前記1つの構造材料における前記第3突起部と前記第4突起部との間の第3の隙間に前記他の1つの構造材料における前記第5突起部が嵌合し、前記1つの構造材料における隣接する前記各第3突起部の間の第4の隙間および隣接する前記各第4突起部の間の第5の隙間に前記他の1つの構造材料における前記第6突起部が嵌合し、前記1つの構造材料における前記第1相欠き面と前記第3突起部との間の第6の隙間に前記他の1つの構造材料における前記第1突起部の前記延出部分が嵌合して、前記1つの構造材料における前記相欠き部と前記他の1つの構造材料における前記相欠き部とが係合し、当該各相欠き部の係合によって前記1つの構造材料と前記他の1つの構造材料とが連結される。   In order to achieve the above object, the structural material according to claim 1 is a structural material having a rectangular cross section and having a phase notch portion on one end side, wherein the phase missing portion is one of the structural materials. A first phase notch surface facing the side surface, and a second phase that is located on the other end side of the structural material with respect to the front end surface of the structural material and is parallel to the front end surface and intersects the first phase notch surface The first phase notch surface has a first surface from the first phase notch surface in a region closer to the tip surface side than an intermediate position between the tip surface side and the second phase notch surface side of the first phase notch surface. And a portion extending along the first direction by a second length from the front end surface and extending along the first direction which is the length direction of the first phase-out surface. Rib-shaped m pieces (m is an arbitrary positive odd number greater than or equal to 3 and n is the smallest integer among integers equal to or greater than 2 divided by 2 ) Are provided in a state of being separated from each other in the second direction, which is the width direction of the first phase-notch surface, and closer to the second phase-less surface side than the intermediate position in the first phase-missing surface. The region extends through a center in the second direction in the first gap between the adjacent first protrusions and extends on the first straight line along the first direction and corresponds to each of the corresponding first regions. Rib-shaped k pieces (k is nm) of second protrusions each having the same width as the width of the gap 1 and protruding from the first phase cut surface by the first length are provided, The second phase notch surface includes a second straight line extending along the first direction through the center of the first projection on the first phase notch surface and the second phase notch surface. The first phase-missing surface on each third straight line along a third direction orthogonal to the one side surface through each intersection The m pieces are arranged at positions separated by a third length and have the same width as that of the corresponding first protrusions and protrude from the second phased surface by the second length. The third protrusions and the third protrusions positioned on the third straight lines are arranged at positions spaced apart by a fourth length from the third protrusions on the third straight lines, respectively. M fourth protrusions each having the same width as the three protrusions and projecting from the second phased surface by the second length are provided, and each of the second protrusions is provided on the tip surface. Corresponding by being arranged at a position spaced apart from the first protrusions by the length of the third protrusions on the fourth straight lines along the third direction through the intersections of the straight lines and the tip surfaces. The same length as the fourth length with the same width as the first protrusion M number of fifth protrusions that protrude from the tip surface by the second length and the center in the second direction in each second gap between the fifth protrusions. Each extending along each fifth straight line along the third direction and having the same width as the corresponding second gap and projecting from the tip surface by the second length. The rib-shaped k (k is nm) sixth projections are provided, and the second projections in the other structural material are in the first gaps in the structural material. And the fifth protrusion in the other structural material is fitted in the third gap between the third protrusion and the fourth protrusion in the one structural material, A fourth gap between adjacent third protrusions and adjacent in one structural material The sixth projecting portion of the other structural material fits into the fifth gap between the fourth projecting portions, and the first phase-notch surface and the third projecting portion of the one structural material. The extension portion of the first protrusion in the one other structural material is fitted into a sixth gap between the phase gap portion and the other one structure in the one structural material The phase notch portions of the material are engaged with each other, and the one structural material and the other one structural material are connected by the engagement of the phase notch portions.

また、請求項2記載の構造材料は、請求項1記載の構造材料において、1枚の板材で形成された板状部材、および複数枚の板材を積層して形成された板状部材のいずれかの板状部材を前記第2方向に沿って複数重ね合わせて構成されている。   The structural material according to claim 2 is any one of the plate-like member formed of one plate material and the plate-like member formed by laminating a plurality of plate materials in the structural material according to claim 1. A plurality of the plate-like members are superposed along the second direction.

また、請求項3記載の構造材料は、請求項1または2記載の構造材料において、前記第2相欠き面には、前記第1直線と当該第2相欠き面との各交点を通って前記第3方向に沿った各第6直線上における当該第1相欠き面から第5の長さだけ離間した位置に配置されて前記第4の隙間および前記第5の隙間の幅と同じ幅でかつ当該第2相欠き面から前記第2の長さだけ突出するk個の第7突起部が設けられ、前記第6突起部には、前記第7突起部との嵌合が可能な切り欠きが形成されている。   The structural material according to claim 3 is the structural material according to claim 1 or 2, wherein the second phase notch surface passes through the intersections of the first straight line and the second phase notch surface. It is arranged at a position spaced by a fifth length from the first phase-notch surface on each sixth line along the third direction, and has the same width as the fourth gap and the fifth gap. K number of seventh protrusions projecting from the second phase notch surface by the second length are provided, and the sixth protrusion has a notch capable of fitting with the seventh protrusion. Is formed.

また、請求項4記載の構造材料は、請求項1から3のいずれかに記載の構造材料において、前記1つの側面に直交する側面を平面視した状態において前記第1突起部と前記第2突起部との間に前記第1方向に沿って第7の隙間が生じるように当該第1突起部および当該第2突起部が設けられている。   The structural material according to claim 4 is the structural material according to any one of claims 1 to 3, wherein the first protrusion and the second protrusion in a state in which a side surface orthogonal to the one side surface is viewed in plan view. The first projection and the second projection are provided so that a seventh gap is formed along the first direction between the first projection and the second projection.

また、請求項5記載の構造材料は、請求項1から4のいずれかに記載の構造材料において、当該構造材料の前記一端部および前記他端部の双方に前記相欠き部を備えている。   A structural material according to a fifth aspect is the structural material according to any one of the first to fourth aspects, wherein both the one end portion and the other end portion of the structural material are provided with the phase-out portions.

請求項1記載の構造材料によれば、相欠き部における第1相欠き面の第1領域にリブ状のm個の第1突起部を設け、第1相欠き面の第2領域にk個の第2突起部を設け、相欠き部における第2相欠き面にm個の第3突起部およびm個の第4突起部を設け、構造材料の先端面にm個の第5突起部およびk個の第6突起部を設けたことにより、2つの構造材料の各相欠き部同士を係合させるだけで、釘打ちを行うことなく、連結した各構造材料の長さ方向に直交する方向(第2方向および第3方向)への各構造材料の相対的な移動を確実に規制することができる。このため、この構造材料によれば、構造材料の長さ方向に直交する方向に外力が作用したとしても、その外力に対抗して各相欠き部同士の係合状態を確実に維持することができるため、構造材料を用いて構成する構造体の十分な強度を確保することができる。また、この構造材料によれば、釘打ちを行う必要がないため、連結効率を十分に向上させることができる。   According to the structural material of the first aspect, the rib-shaped m first protrusions are provided in the first region of the first phase notch surface in the phase notch, and k pieces are provided in the second region of the first phase notch surface. The second protrusions are provided, m third protrusions and m fourth protrusions are provided on the second phase notch surface of the phase notch, and the m fifth protrusions are provided on the front end surface of the structural material. By providing k sixth projecting portions, the direction perpendicular to the length direction of each connected structural material can be obtained by simply engaging the phased portions of the two structural materials without nailing. The relative movement of each structural material in the (second direction and third direction) can be reliably restricted. For this reason, according to this structural material, even if an external force acts in a direction orthogonal to the length direction of the structural material, it is possible to reliably maintain the engagement state between the phase-separated portions against the external force. Therefore, sufficient strength of the structure formed using the structural material can be ensured. Moreover, according to this structural material, since it is not necessary to nail, connection efficiency can fully be improved.

また、請求項2記載の構造材料によれば、板状部材を第2方向に沿って複数重ね合わせて構成したことにより、各板状部材に各突起部を形成することで、数多くの突起部を入り組んだ状態で配置した複雑な形状の相欠き部を容易に作成することができる。   In addition, according to the structural material of claim 2, since a plurality of plate-like members are overlapped along the second direction, a plurality of protrusions are formed by forming each protrusion on each plate-like member. It is possible to easily create a notch portion having a complicated shape arranged in a complicated state.

また、請求項3記載の構造材料によれば、第2相欠き面に第7突起部を設け、第7突起部との嵌合が可能な切り欠きを第6突起部に形成したことにより、2つの構造材料の相欠き部同士を係合させたときに、相欠き部における各部の嵌合に加えて、第7突起部と切り欠きとが嵌合するため、構造材料の長さ方向に直交する方向への各構造材料の相対的な移動をより確実に規制することができるため、構造材料を用いて構成する構造体の強度をさらに高めることができる。   Further, according to the structural material of claim 3, by providing the seventh projection on the second phase notch surface, and forming the notch capable of fitting with the seventh projection on the sixth projection, When the notch portions of the two structural materials are engaged with each other, in addition to the fitting of each portion in the notch portion, the seventh projecting portion and the notch are fitted, so in the length direction of the structural material Since the relative movement of each structural material in the orthogonal direction can be more reliably regulated, the strength of the structure configured using the structural material can be further increased.

また、請求項4記載の構造材料によれば、1つの側面に直交する側面を平面視した状態において第1突起部と第2突起部との間に第1方向に沿って第7の隙間が生じるように第1突起部および第2突起部を設けたことにより、2つの構造材料の各相欠き部同士を係合させたときに、第7の隙間によって挿通孔を形成することができるため、この挿通孔に杭を挿入することで、各構造材料同士の長さ方向への移動(離反)を確実に規制して各構造材料を強固に連結させることができる。   Moreover, according to the structural material of Claim 4, in the state which planarly viewed the side surface orthogonal to one side surface, the 7th clearance gap is formed along the 1st direction between the 1st projection part and the 2nd projection part. By providing the first protrusion and the second protrusion so as to occur, the insertion hole can be formed by the seventh gap when the phase notches of the two structural materials are engaged with each other. By inserting a pile into the insertion hole, it is possible to securely restrict the movement (separation) of the structural materials in the length direction and firmly connect the structural materials.

また、請求項5記載の構造材料によれば、構造材料の一端部および他端部の双方に相欠き部を備えたことにより、各相欠き部と他の構造材料の相欠き部とを係合させることで、3つ以上の構造材料を連結させることができる。このため、この構造材料を用いることで、長尺の構造体を十分な強度を確保しつつ容易に構成することができる。   Further, according to the structural material of the fifth aspect, the phase missing portions are provided at both the one end and the other end of the structural material, so that each phase missing portion is associated with the phase missing portion of the other structural material. By combining them, three or more structural materials can be connected. For this reason, by using this structural material, it is possible to easily construct a long structure while ensuring sufficient strength.

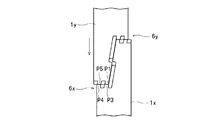
構造材料1の斜視図である。1 is a perspective view of a structural material 1. FIG. 構造材料1における相欠き部6の斜視図である。FIG. 3 is a perspective view of a phase notch portion 6 in the structural material 1. 構造材料1における相欠き部6の側面図である。FIG. 3 is a side view of a phase notch portion 6 in the structural material 1. 構造材料1における相欠き部6の正面図である。2 is a front view of a phase notch portion 6 in the structural material 1. FIG. 構造材料1における相欠き部6の分解斜視図である。FIG. 3 is an exploded perspective view of a phase notch portion 6 in the structural material 1. 構造材料1の連結方法を説明する第1の説明図である。FIG. 3 is a first explanatory view for explaining a connecting method of the structural material 1. 構造材料1の連結方法を説明する第2の説明図である。It is the 2nd explanatory view explaining the connection method of structural material 1. 構造材料1の連結方法を説明する第3の説明図である。It is the 3rd explanatory view explaining the connection method of structural material 1. 構造材料1の連結方法を説明する第4の説明図である。It is the 4th explanatory view explaining the connection method of structural material. 構造材料1の連結方法を説明する第5の説明図である。It is a 5th explanatory view explaining the connection method of structural material. 構造材料1Aにおける相欠き部6Aの斜視図である。It is a perspective view of phase notch part 6A in structural material 1A. 構造材料1Aにおける相欠き部6Aの分解斜視図である。It is a disassembled perspective view of the phase missing part 6A in the structural material 1A. 構造材料1Bの側面図である。It is a side view of structural material 1B. 第1板状部材11Bの平面図である。It is a top view of the 1st plate-shaped member 11B. 第2板状部材12Bの平面図である。It is a top view of the 2nd plate-shaped member 12B. 構造材料1Bの連結方法を説明する説明図である。It is explanatory drawing explaining the connection method of structural material 1B. 構造材料1Cの側面図である。It is a side view of structural material 1C. 構造材料1Cの連結方法を説明する説明図である。It is explanatory drawing explaining the connection method of 1C of structural materials.

以下、構造材料の実施の形態について、添付図面を参照して説明する。   Hereinafter, embodiments of structural materials will be described with reference to the accompanying drawings.

最初に、図1に示す構造材料の一例としての構造材料1の構成について説明する。構造材料1は、構造体(一例として、建築物の駆体)を構成するための構造材料であって、断面が矩形に形成されると共に、一端部2側に相欠き部6を備えて構成されている。   First, the structure of the structural material 1 as an example of the structural material shown in FIG. 1 will be described. The structural material 1 is a structural material for constituting a structural body (as an example, a building body). The structural material 1 has a rectangular cross section and includes a phase cutout 6 on one end 2 side. Has been.

また、構造材料1は、複数の板状部材を重ね合わせて構成されている。具体的には、構造材料1は、図5に示すように、3枚(後述する「m」と同じ数)の第1板状部材11と、2枚(後述する「k」と同じ数)の第2板状部材12(以下、第1板状部材11と第2板状部材12とを区別しないときには「板状部材11,12」ともいう)とを重ね合わせて、各板状部材11,12を接着剤で接着して構成されている。この場合、この構造材料1では、1枚の板材(一例として、厚みが24mmの合板)で形成された板状部材11,12を用いているが、2枚以上の板材を積層して形成された板状部材11,12を用いることもできる。また、この例では、木材で形成された板材を用いているが、木材に限定されず、金属、樹脂(発泡樹脂および無発泡樹脂)、ゴム、コンクリート、石材などで形成された板材を用いることもできる。   Moreover, the structural material 1 is configured by overlapping a plurality of plate-like members. Specifically, as shown in FIG. 5, the structural material 1 includes three (the same number as “m” described later) first plate-like members 11 and two (the same number as “k” described later). The second plate-like members 12 (hereinafter also referred to as “plate-like members 11 and 12” when the first plate-like member 11 and the second plate-like member 12 are not distinguished from each other) are superposed on each other. , 12 are bonded with an adhesive. In this case, the structural material 1 uses the plate-like members 11 and 12 formed of one plate material (for example, a plywood having a thickness of 24 mm), but is formed by laminating two or more plate materials. The plate-like members 11 and 12 can also be used. In this example, a plate made of wood is used. However, the plate is not limited to wood, and a plate made of metal, resin (foamed resin and non-foamed resin), rubber, concrete, stone, or the like is used. You can also.

一方、相欠き部6は、2つの構造材料1の各相欠き部6同士を係合させることによって各構造材料1を連結する継ぎ手として機能する。具体的には、相欠き部6は、図2に示すように、構造材料1における4つの側面4a〜4dのうちの側面4c(「1つの側面」に相当する)に対向する第1相欠き面61と、構造材料1の先端面5よりも構造材料1の他端部3(図1参照)側に位置して先端面5に平行でかつ第1相欠き面61と交差する第2相欠き面62とを有している。この場合、相欠き部6は、図3に示すように、第1相欠き面61が先端面5および第2相欠き面62に対して一例として80°をなすように(傾斜するように)構成されている。また、相欠き部6は、先端面5と第2相欠き面62とが同じ形状となるように構成されている。   On the other hand, the phase missing portion 6 functions as a joint for connecting the structural materials 1 by engaging the phase missing portions 6 of the two structural materials 1 with each other. Specifically, as shown in FIG. 2, the phase missing portion 6 is a first phase missing facing the side surface 4 c (corresponding to “one side surface”) of the four side surfaces 4 a to 4 d in the structural material 1. A second phase that is positioned on the other end 3 (see FIG. 1) side of the structural material 1 with respect to the surface 61 and the front end surface 5 of the structural material 1 and is parallel to the front end surface 5 and intersects the first phase cut surface 61. And a notch surface 62. In this case, as shown in FIG. 3, the phase notch portion 6 is formed so that the first phase notch surface 61 forms an angle of 80 ° with respect to the tip surface 5 and the second phase notch surface 62 (so as to incline). It is configured. The phase notch portion 6 is configured such that the tip surface 5 and the second phase notch surface 62 have the same shape.

また、図2に示すように、第1相欠き面61における先端面5側と第2相欠き面62側との中間位置61cよりも先端面5側の第1領域61aには、3個(3以上の任意の正の奇数であるn(この例では5)を2で除した値以上の整数のうちの最小の整数としてのm個の一例)の第1突起部P1が設けられている。   In addition, as shown in FIG. 2, the first phase 61 has three (1) first regions 61 a closer to the distal end surface 5 than the intermediate position 61 c between the distal end surface 5 side and the second phase missing surface 62 side. There are provided first protrusions P1 of n (an example of m as the smallest integer among integers greater than or equal to a value obtained by dividing n by 5 which is an arbitrary positive odd number of 3 or more by 2). .

この場合、各第1突起部P1は、図3に示すように、第1相欠き面61に対して垂直な方向に沿って第1相欠き面61から長さL1(「第1の長さ」に相当し、一例として30mm)だけ突出すると共に、第1相欠き面61の長さ方向である第1方向D1に沿って延在し、かつ先端面5から第1方向D1に沿って長さL2(「第2の長さ」に相当し、一例として30mm)だけ延出する(以下、延出する部分を「延出部分」ともいう)リブ状に形成されている。また、各第1突起部P1は、図2,4に示すように、第1相欠き面61の幅方向である第2方向D2に互いに離間する状態で設けられている。具体的には、3個の第1突起部P1のうちの2個の第1突起部P1が第1領域61aにおける第2方向D2の両端部にそれぞれ配置され、3個の第1突起部P1のうちの他の1個の第1突起部P1が第2方向D2の中央部に配置されている。つまり、各第1突起部P1は、第2方向D2に等間隔で配置されている。   In this case, as shown in FIG. 3, each first protrusion P <b> 1 has a length L <b> 1 (“first length” from the first phase notch surface 61 along a direction perpendicular to the first phase notch surface 61. And 30 mm as an example, and extends along the first direction D1 that is the length direction of the first phase-out surface 61, and extends from the tip surface 5 along the first direction D1. It is formed in a rib shape extending by a length L2 (corresponding to “second length”, 30 mm as an example) (hereinafter, the extending portion is also referred to as “extending portion”). Further, as shown in FIGS. 2 and 4, the first protrusions P <b> 1 are provided in a state of being separated from each other in the second direction D <b> 2 that is the width direction of the first phase-out surface 61. Specifically, two first protrusions P1 of the three first protrusions P1 are disposed at both ends in the second direction D2 in the first region 61a, respectively, and the three first protrusions P1. The other 1st projection part P1 of these is arrange | positioned in the center part of the 2nd direction D2. That is, the first protrusions P1 are arranged at equal intervals in the second direction D2.

また、図2に示すように、第1相欠き面61における中間位置61cよりも第2相欠き面62側の第2領域61bには、2個(n−mとしてのk個の一例(この例では、nが5、mが3))の第2突起部P2が設けられている。   In addition, as shown in FIG. 2, in the second region 61b on the second phase notch surface 62 side from the intermediate position 61c on the first phase notch surface 61, there are two examples (k examples as nm) (this example In the example, a second protrusion P2 having n of 5 and m of 3)) is provided.

この場合、各第2突起部P2は、図4に示すように、隣接する各第1突起部P1の間の隙間G1(「第1の隙間」に相当する)における第2方向D2(幅方向)の中心を通って第1方向D1に沿った第1直線S1上に延在すると共に、対応する各隙間G1(延在する第1直線S1上に位置する隙間G1)の幅W1とそれぞれ同じ幅で、かつ第1相欠き面61に対して垂直な方向に沿って第1相欠き面61から長さL1(図3参照:この例では、30mm)だけそれぞれ突出するリブ状に形成されている。   In this case, as shown in FIG. 4, each second protrusion P2 has a second direction D2 (width direction) in a gap G1 (corresponding to a “first gap”) between adjacent first protrusions P1. ) Through the center of the first straight line S1 along the first direction D1 and the same width W1 as the corresponding gap G1 (gap G1 located on the extending first straight line S1). Each rib is formed in a rib shape that protrudes from the first phase notch surface 61 by a length L1 (see FIG. 3; in this example, 30 mm) along the direction perpendicular to the first phase notch surface 61. Yes.

また、この構造材料1では、各第1突起部P1と各第2突起部P2とが同じ長さに形成されている。また、この構造材料1では、図3に示すように、側面4b(「1つの側面に直交する側面」に相当する)を平面視した状態において第1突起部P1と第2突起部P2との間に第1方向D1に沿った隙間G7が生じるように構成されている。この隙間G7は、図10に示すように、2つの構造材料1(同図における構造材料1x,1y)の各相欠き部6(同図における相欠き部6x,6y)同士を係合させたときに、各構造材料1の長さ方向D4への離反を規制するための図外の杭を挿入可能な挿通孔Hを形成する。   Moreover, in this structural material 1, each 1st projection part P1 and each 2nd projection part P2 are formed in the same length. Moreover, in this structural material 1, as shown in FIG. 3, in the state which planarly viewed the side surface 4b (equivalent to "the side surface orthogonal to one side surface"), it is the 1st projection part P1 and the 2nd projection part P2. A gap G7 along the first direction D1 is formed therebetween. As shown in FIG. 10, the gap G <b> 7 engages the phase notches 6 (phase notches 6 x and 6 y in FIG. 10) of the two structural materials 1 (structure materials 1 x and 1 y in FIG. 10). Sometimes, an insertion hole H into which a pile (not shown) for restricting the separation of each structural material 1 in the length direction D4 can be inserted is formed.

また、図2に示すように、第2相欠き面62には、3個(m個)の第3突起部P3と、3個(m個)の第4突起部P4とが設けられている。   As shown in FIG. 2, the second phase-notch surface 62 is provided with three (m) third protrusions P3 and three (m) fourth protrusions P4. .

この場合、各第3突起部P3は、図3に示すように、第1相欠き面61における各第1突起部P1の第2方向D2(幅方向:図4参照)の中心を通って第1方向D1に沿った第2直線S2と第2相欠き面62との各交点I1を通って構造材料1の側面4cに直交する第3方向D3に沿った各第3直線S3上における第1相欠き面61から長さL3(第3の長さに相当する)だけ離間した位置にそれぞれ配置されている。つまり、第1相欠き面61と第3突起部P3との間には、図3に示すように、長さL3の隙間G6(図2も参照)が生じている。また、各第3突起部P3は、図4に示すように、対応する第1突起部P1(第3突起部P3が配置される第3直線S3に繋がる第2直線S2上に位置する第1突起部P1)の幅W2とそれぞれ同じ幅で、かつ図3に示すように、第2相欠き面62から第1方向D1に沿って長さL2(この例では、30mm)だけそれぞれ突出するように形成されている。なお、図4に示すように、隣接する各第3突起部P3の間の隙間G4(第4の隙間に相当する)の幅は、上記した隙間G1の幅W1と同じ幅となっている。   In this case, as shown in FIG. 3, each third protrusion P3 passes through the center in the second direction D2 (width direction: see FIG. 4) of each first protrusion P1 on the first phase-out surface 61. The first on each third straight line S3 along the third direction D3 passing through each intersection point I1 between the second straight line S2 along the first direction D1 and the second phased surface 62 and orthogonal to the side surface 4c of the structural material 1 They are arranged at positions separated from the phased surface 61 by a length L3 (corresponding to the third length). That is, as shown in FIG. 3, a gap G6 having a length L3 (see also FIG. 2) is generated between the first phase cut surface 61 and the third protrusion P3. Further, as shown in FIG. 4, each of the third protrusions P3 is a first protrusion located on a corresponding first protrusion P1 (a second straight line S2 connected to a third straight line S3 on which the third protrusion P3 is disposed). As shown in FIG. 3, each of the protrusions P1) has a width W2 that protrudes from the second phased surface 62 by a length L2 (30 mm in this example) along the first direction D1. Is formed. As shown in FIG. 4, the width of the gap G4 (corresponding to the fourth gap) between the adjacent third protrusions P3 is the same as the width W1 of the gap G1 described above.

また、各第4突起部P4は、図3に示すように、各第3直線S3上における各第3突起部P3から長さL4(「第4の長さ」に相当し、一例として30mm)だけ離間した位置に配置されている。つまり、第3突起部P3と第4突起部P4との間には、長さL4の隙間G3(図2も参照)が生じている。また、各第4突起部P4は、図4に示すように、対応する第3突起部P3(第4突起部P4が配置された各々の第3直線S3上に位置する第3突起部P3)の幅W2とそれぞれ同じ幅で、かつ図3に示すように、第2相欠き面62から第1方向D1に沿って長さL2(この例では、30mm)だけそれぞれ突出するように形成されている。なお、図4に示すように、隣接する各第4突起部P4の間の隙間G5(第5の隙間に相当する)の幅は、各第3突起部P3の間の隙間G4の幅(つまり、隙間G1の幅W1)と同じ幅となっている。   Further, as shown in FIG. 3, each fourth protrusion P4 has a length L4 from the third protrusion P3 on each third straight line S3 (corresponding to a “fourth length”, for example, 30 mm). It is arrange | positioned in the position only spaced apart. That is, a gap G3 having a length L4 (see also FIG. 2) is generated between the third protrusion P3 and the fourth protrusion P4. Further, as shown in FIG. 4, each fourth protrusion P4 corresponds to a corresponding third protrusion P3 (a third protrusion P3 located on each third straight line S3 on which the fourth protrusion P4 is disposed). The width W2 is the same as the width W2, and as shown in FIG. 3, the length L2 (30 mm in this example) is protruded from the second phase-notch surface 62 along the first direction D1. Yes. As shown in FIG. 4, the width of the gap G5 (corresponding to the fifth gap) between the adjacent fourth protrusions P4 is equal to the width of the gap G4 between the third protrusions P3 (that is, The width is the same as the width W1) of the gap G1.

また、図2に示すように、先端面5には、3個(m個)の第5突起部P5と、2個(k個)の第6突起部P6とが設けられている。   As shown in FIG. 2, the tip surface 5 is provided with three (m) fifth protrusions P5 and two (k) sixth protrusions P6.

この場合、各第5突起部P5は、図3に示すように、各第2直線S2と先端面5との各交点I2を通って第3方向D3に沿った各第4直線S4上における各第1突起部P1から第3方向D3に沿った第3突起部P3の長さ(以下「長さLa」ともいう)だけ離間した位置に配置されている。また、各第5突起部P5は、図4に示すように、対応する第1突起部P1(第5突起部P5が配置される第4直線S4に繋がる第2直線S2上に位置する第1突起部P1)の幅W2とそれぞれ同じ幅で、図3に示すように、上記した長さL4(第3突起部P3と第4突起部P4との離間距離であって、この例では30mm)と同じ長さを有し、かつ先端面5から第1方向D1に沿って長さL2(この例では、30mm)だけそれぞれ突出するように形成されている。なお、上記したように先端面5と第2相欠き面62とが同じ形状であるため(つまり、第3方向D3に沿った両面5,62の長さが同じであるため)、図3に示すように、各第5突起部P5の側面4c側(同図における右側)の端部から先端面5における側面4c側の縁部までの距離と、第3方向D3に沿った第4突起部P4の長さ(以下「長さLb」ともいう)とが同じ長さとなっている。   In this case, as shown in FIG. 3, each fifth protrusion P5 passes through each intersection I2 between each second straight line S2 and the tip surface 5, and each fourth projection S5 on each fourth straight line S4 along the third direction D3. The first protrusion P1 is disposed at a position separated from the first protrusion P1 by the length of the third protrusion P3 (hereinafter also referred to as “length La”) along the third direction D3. Further, as shown in FIG. 4, each of the fifth protrusions P5 is a corresponding first protrusion P1 (a first line located on a second straight line S2 connected to a fourth straight line S4 on which the fifth protrusion P5 is arranged). As shown in FIG. 3, the length L4 (the distance between the third protrusion P3 and the fourth protrusion P4, which is 30 mm in this example) is the same width as the width W2 of the protrusion P1). Are formed so as to protrude from the front end surface 5 by a length L2 (30 mm in this example) along the first direction D1. As described above, since the tip surface 5 and the second phased surface 62 have the same shape (that is, the lengths of both surfaces 5, 62 along the third direction D3 are the same), FIG. As shown, the distance from the end of each fifth protrusion P5 on the side surface 4c side (the right side in the figure) to the edge on the side surface 4c side of the tip surface 5 and the fourth protrusion along the third direction D3 The length of P4 (hereinafter also referred to as “length Lb”) is the same length.

また、各第6突起部P6は、各第5突起部P5の間の各隙間G2(「第2の隙間」に相当する:図2,4参照)における第2方向D2の各中心を通って第3方向D3に沿った各第5直線S5(図3参照)に沿ってそれぞれ延在すると共に、対応する各隙間G2(6突起部P6が延在する第5直線S5上に位置する隙間G2)の幅W3(図4参照)とそれぞれ同じ幅でかつ先端面5から第1方向D1に沿って長さL2(図3参照:この例では、30mm)だけ突出するリブ状にそれぞれ形成されている。   Each sixth protrusion P6 passes through each center in the second direction D2 in each gap G2 (corresponding to “second gap”: see FIGS. 2 and 4) between the fifth protrusions P5. Each extends along each fifth straight line S5 (see FIG. 3) along the third direction D3, and each corresponding gap G2 (gap G2 located on the fifth straight line S5 from which the six protrusions P6 extend). ) Having the same width as the width W3 (see FIG. 4) and a length L2 (see FIG. 3; in this example, 30 mm) protruding from the front end surface 5 along the first direction D1, respectively. Yes.

ここで、構造材料1は、上記したように、3枚の第1板状部材11と、2枚の第2板状部材12とを重ね合わせて構成されており、図5に示すように、第1突起部P1、第3突起部P3、第4突起部P4および第5突起部P5が各第1板状部材11にそれぞれ形成され、第2突起部P2および第6突起部P6が各第2板状部材12にそれぞれ形成されている。   Here, as described above, the structural material 1 is configured by superimposing the three first plate-like members 11 and the two second plate-like members 12, and as shown in FIG. The first protrusion P1, the third protrusion P3, the fourth protrusion P4, and the fifth protrusion P5 are formed on the first plate-like members 11, respectively, and the second protrusion P2 and the sixth protrusion P6 are The two plate-like members 12 are respectively formed.

上記のように構成された2つの構造材料1を連結する際には、図6〜図10に示すように、一方の構造材料1(以下、「構造材料1x」ともいう)の相欠き部6(以下、「相欠き部6x」ともいう)と他方の構造材料1(以下、「構造材料1y」ともいう)の相欠き部6(以下、「相欠き部6y」ともいう)とを係合させる。   When connecting the two structural materials 1 configured as described above, as shown in FIGS. 6 to 10, the phase missing portion 6 of one structural material 1 (hereinafter also referred to as “structural material 1x”). (Hereinafter also referred to as “phase missing portion 6x”) and the phase missing portion 6 (hereinafter also referred to as “phase missing portion 6y”) of the other structural material 1 (hereinafter also referred to as “structural material 1y”). Let

具体的には、まず、図6に示すように、相欠き部6xを上向きにした状態で構造材料1xを配置し、相欠き部6yを下向きにした状態の構造材料1yを構造材料1xの上方に位置させる。次いで、図7に示すように、相欠き部6yにおける各第1突起部P1および各第5突起部P5の各一端部と、相欠き部6xにおける各第3突起部P3および各第4突起部P4の各一端部とが当接する位置まで構造材料1yを下向きに移動させる(構造材料1yを構造材料1xに近付ける)。   Specifically, first, as shown in FIG. 6, the structural material 1x is arranged with the phase missing portion 6x facing upward, and the structural material 1y with the phase missing portion 6y facing downward is placed above the structural material 1x. To be located. Next, as shown in FIG. 7, each one end of each first protrusion P1 and each fifth protrusion P5 in the phase notch 6y, and each third protrusion P3 and each fourth protrusion in the phase notch 6x. The structural material 1y is moved downward to a position where each one end portion of P4 contacts (the structural material 1y is brought close to the structural material 1x).

続いて、図8に示すように、相欠き部6xにおける第1突起部P1および第2突起部P2の各一端部が相欠き部6yの第1相欠き面61に当接し、相欠き部6yにおける第1突起部P1および第2突起部P2の各一端部が相欠き部6xの第1相欠き面61に当接する位置まで、構造材料1yを横方向(同図における右向き)に移動させる(構造材料1yを構造材料1xに近付ける)。   Subsequently, as shown in FIG. 8, each one end of the first protrusion P1 and the second protrusion P2 in the phase notch 6x abuts on the first phase notch surface 61 of the phase notch 6y, and the phase notch 6y. The structural material 1y is moved in the lateral direction (to the right in the figure) to a position where one end of each of the first protrusion P1 and the second protrusion P2 contacts the first phase notch surface 61 of the phase notch 6x ( The structural material 1y is brought close to the structural material 1x).

次いで、図9に示すように、構造材料1yを下向きに移動させる。この際に、図10に示すように、相欠き部6xの隙間G1(図4参照)に相欠き部6yの第2突起部P2が嵌合し、相欠き部6xにおける第3突起部P3と第4突起部P4との間の隙間G3に相欠き部6yの第5突起部P5が嵌合する。また、相欠き部6xにおける隣接する各第3突起部P3の間の隙間G4(図2,4参照)および隣接する各第4突起部P4の間の隙間G5(図2,4参照)に相欠き部6yの第6突起部P6が嵌合し、相欠き部6xにおける第1相欠き面61と第3突起部P3との間の隙間G6(第6の隙間)に相欠き部6yの第1突起部P1における先端面5からの延出部分が嵌合する。また、上記した相欠き部6xの各部と相欠き部6yの各部とを逆転した関係で各部が嵌合する。これにより、相欠き部6x,6yが係合して、各構造材料1が連結される。   Next, as shown in FIG. 9, the structural material 1y is moved downward. At this time, as shown in FIG. 10, the second projecting portion P2 of the phase missing portion 6y is fitted into the gap G1 (see FIG. 4) of the phase missing portion 6x, and the third projecting portion P3 in the phase missing portion 6x and The fifth protrusion P5 of the phase missing portion 6y is fitted into the gap G3 between the fourth protrusion P4. Further, the gap G4 (see FIGS. 2 and 4) between the adjacent third protrusions P3 and the gap G5 (see FIGS. 2 and 4) between the adjacent fourth protrusions P4 in the phase notch portion 6x. The sixth protrusion P6 of the notch 6y is fitted, and the gap G6 (sixth gap) between the first phase notch surface 61 and the third protrusion P3 in the phase notch 6x is the second of the phase notch 6y. The extension part from the front end surface 5 in 1 protrusion part P1 fits. Further, the respective parts are fitted in a relationship in which the respective parts of the phase missing part 6x and the respective parts of the phase missing part 6y are reversed. Thereby, the phase missing portions 6x and 6y are engaged, and the respective structural materials 1 are connected.

次いで、図10に示すように、相欠き部6x,6yの係合によって係合部分の中心部に形成された挿通孔Hに図外の杭を挿入する。これにより、各構造材料1同士の長さ方向への移動(離反)が確実に規制されて、各構造材料1がより強固に連結される。   Next, as shown in FIG. 10, a pile (not shown) is inserted into the insertion hole H formed in the center portion of the engaging portion by the engagement of the phase missing portions 6x and 6y. Thereby, the movement (separation) of the structural materials 1 in the length direction is reliably regulated, and the structural materials 1 are more firmly connected.

この場合、構造材料1x,1yの相欠き部6x,6y同士が係合した状態では、相欠き部6xの隙間G1への相欠き部6yの第2突起部P2の嵌合、および相欠き部6xの隙間G4および隙間G5への相欠き部6yの第6突起部P6の嵌合によって第2方向D2(図4における左右方向)への構造材料1x,1yの相対的な移動が規制される。また、相欠き部6xの隙間G3への相欠き部6yの第5突起部P5の嵌合、および相欠き部6xの隙間G6への相欠き部6yにおける第1突起部P1の延出部分の嵌合によって第3方向D3(図3における左右方向)への構造材料1x,1yの相対的な移動が規制される。   In this case, in a state where the phase lacking portions 6x and 6y of the structural materials 1x and 1y are engaged with each other, the fitting of the second projecting portion P2 of the phase missing portion 6y to the gap G1 of the phase missing portion 6x and the phase missing portion. The relative movement of the structural materials 1x and 1y in the second direction D2 (left and right direction in FIG. 4) is restricted by the fitting of the sixth protrusion P6 of the phase notch 6y to the gap G4 and the gap G5. . Further, the fitting of the fifth projection P5 of the phase missing portion 6y into the gap G3 of the phase missing portion 6x, and the extension portion of the first projection P1 in the phase missing portion 6y to the gap G6 of the phase missing portion 6x. The relative movement of the structural materials 1x and 1y in the third direction D3 (left and right direction in FIG. 3) is restricted by the fitting.

つまり、この構造材料1では、2つの構造材料1の各相欠き部6同士を係合させるだけで(釘打ちを行うことなく)、連結した各構造材料1の長さ方向D4(図10参照)に直交する方向(第2方向D2および第3方向D3)に外力が作用したとしても、その外力に対抗して各相欠き部6同士の係合状態(各構造材料1の連結状態)を確実に維持することが可能となっている。また、この構造材料1では、釘打ちの必要がないため、構造材料1を連結する作業の効率、ひいては連結効率を十分に向上させることが可能となっている。   That is, in this structural material 1, the length direction D4 of each connected structural material 1 (see FIG. 10) can be obtained by simply engaging the phase notches 6 of the two structural materials 1 with each other (without nailing). ) Even if an external force is applied in a direction orthogonal to the second direction D2 and the third direction D3, the engagement state between the phase notch portions 6 (the connection state of the structural materials 1) is opposed to the external force. It can be reliably maintained. In addition, since the structural material 1 does not require nailing, it is possible to sufficiently improve the efficiency of the operation of connecting the structural material 1 and, consequently, the connection efficiency.

このように、この構造材料1によれば、相欠き部6における第1相欠き面61の第1領域61aにリブ状の3個(m個)の第1突起部P1を設け、第1相欠き面61の第2領域61bに2個(k個)の第2突起部P2を設け、相欠き部6における第2相欠き面62に3個(m個)の第3突起部P3および3個(m個)の第4突起部P4を設け、構造材料1の先端面5に3個(m個)の第5突起部P5および2個(k個)の第6突起部P6を設けたことにより、2つの構造材料1の各相欠き部6同士を係合させるだけで、釘打ちを行うことなく、連結した各構造材料1の長さ方向D4に直交する方向(第2方向D2および第3方向D3)への各構造材料1の相対的な移動を確実に規制することができる。このため、この構造材料1によれば、構造材料1の長さ方向に直交する方向に外力が作用したとしても、その外力に対抗して各相欠き部6同士の係合状態を確実に維持することができるため、構造材料1を用いて構成する構造体(建築物の駆体等)の十分な強度を確保することができる。また、この構造材料1によれば、釘打ちを行う必要がないため、連結効率を十分に向上させることができる。   As described above, according to the structural material 1, the rib-shaped three (m) first protrusions P1 are provided in the first region 61a of the first phase notch surface 61 in the phase notch 6, and the first phase Two (k) second protrusions P2 are provided in the second region 61b of the notch surface 61, and three (m) third protrusions P3 and 3 are provided on the second phase notch surface 62 of the phase notch 6. (M) fourth protrusions P4 are provided, and three (m) fifth protrusions P5 and two (k) sixth protrusions P6 are provided on the distal end surface 5 of the structural material 1. By simply engaging the phase notches 6 of the two structural materials 1 with each other without nailing, the direction perpendicular to the length direction D4 of the connected structural materials 1 (second direction D2 and The relative movement of each structural material 1 in the third direction D3) can be reliably restricted. For this reason, according to this structural material 1, even if an external force acts in a direction orthogonal to the length direction of the structural material 1, the engagement state between the phase notches 6 is reliably maintained against the external force. Therefore, sufficient strength of a structure (such as a building body) configured using the structural material 1 can be ensured. Moreover, according to this structural material 1, since it is not necessary to nail, connection efficiency can fully be improved.

また、この構造材料1によれば、複数の第1板状部材11および第2板状部材12を重ね合わせて構成したことにより、各板状部材に各突起部P1〜P6を形成することで、数多くの突起部P1〜P6を入り組んだ状態で配置した複雑な形状の相欠き部6を容易に作成することができる。   Moreover, according to this structural material 1, by forming the plurality of first plate-like members 11 and second plate-like members 12 so as to overlap each other, it is possible to form the protrusions P1 to P6 on each plate-like member. Further, it is possible to easily create the phased portion 6 having a complicated shape in which a large number of protrusions P1 to P6 are arranged in a complicated state.

また、この構造材料1によれば、側面4bを平面視した状態において第1突起部P1と第2突起部P2との間に第1方向D1に沿って隙間G7が生じるように第1突起部P1および第2突起部P2を設けたことにより、2つの構造材料1の各相欠き部6同士を係合させたときに、隙間G7によって挿通孔Hを形成することができるため、この挿通孔Hに杭を挿入することで、各構造材料1同士の長さ方向への移動(離反)を確実に規制して各構造材料1を強固に連結させることができる。   Further, according to the structural material 1, the first protrusion is formed such that the gap G7 is generated along the first direction D1 between the first protrusion P1 and the second protrusion P2 in a state where the side surface 4b is viewed in plan. By providing the P1 and the second projecting portion P2, the insertion hole H can be formed by the gap G7 when the phase notches 6 of the two structural materials 1 are engaged with each other. By inserting a pile into H, the movement (separation) of the structural materials 1 in the length direction can be reliably regulated and the structural materials 1 can be firmly connected.

なお、構造材料は、上記した構成に限定されない。例えば、上記した相欠き部6に代えて、図11に示す相欠き部6Aを備えた構造材料1Aを採用することもできる。なお、以下の説明において、上記した構造材料1と同じ構成要素については、同じ符号を付して、重複する説明を省略する。   Note that the structural material is not limited to the above-described configuration. For example, instead of the phase notch portion 6 described above, a structural material 1A provided with a phase notch portion 6A shown in FIG. 11 may be employed. In addition, in the following description, about the same component as the above-mentioned structural material 1, the same code | symbol is attached | subjected and the overlapping description is abbreviate | omitted.

この構造材料1Aの相欠き部6Aでは、図11に示すように、第2相欠き面62に、2個(k個)の第7突起部P7が設けられている。この場合、各第7突起部P7は、上記した第1直線S1と第2相欠き面62との各交点I3を通って第3方向D3に沿った直線である各第6直線S6上における第1相欠き面61から長さL5(第5の長さに相当する:一例として70mm)だけ離間した位置にそれぞれ配置されている。また、各第7突起部P7は、隙間G4(隣接する第3突起部P3間の隙間)および隙間G5(隣接する第4突起部P4間の隙間)の幅とそれぞれ同じ幅で、かつ第2相欠き面62から第1方向D1に沿って長さL2(図12参照)だけそれぞれ突出するように形成されている。また、この相欠き部6Aでは、第6突起部P6に、第7突起部P7との嵌合が可能な切り欠きCが形成されている。   In the phase cutout portion 6A of the structural material 1A, as shown in FIG. 11, two (k) seventh protrusions P7 are provided on the second phase cutout surface 62. In this case, each of the seventh protrusions P7 passes through each intersection point I3 between the first straight line S1 and the second phased surface 62, and the sixth protrusion P7 on the sixth straight line S6 that is a straight line along the third direction D3. They are arranged at positions separated from the one-phase notch surface 61 by a length L5 (corresponding to the fifth length: 70 mm as an example). Each of the seventh protrusions P7 has the same width as the gap G4 (the gap between adjacent third protrusions P3) and the gap G5 (the gap between adjacent fourth protrusions P4), and the second width. They are formed so as to protrude from the phased surface 62 by a length L2 (see FIG. 12) along the first direction D1. In the phase cutout portion 6A, a cutout C that can be fitted to the seventh projection P7 is formed in the sixth projection P6.

また、この構造材料1Aは、図11に示すように、3枚(m枚)の第1板状部材11と、2枚(k枚)の第2板状部材12Aとを重ね合わせて、各板状部材11,12Aを接着剤で接着して構成されている。また、この構造材料1Aでは、第1突起部P1、第3突起部P3、第4突起部P4および第5突起部P5が各第1板状部材11にそれぞれ形成され、第2突起部P2、第6突起部P6および第7突起部P7が各第2板状部材12Aにそれぞれ形成されている。   In addition, as shown in FIG. 11, the structural material 1A includes three (m) first plate-like members 11 and two (k) second plate-like members 12A. The plate-shaped members 11 and 12A are bonded with an adhesive. Further, in this structural material 1A, the first protrusion P1, the third protrusion P3, the fourth protrusion P4, and the fifth protrusion P5 are respectively formed on the first plate-like members 11, and the second protrusion P2, A sixth projection P6 and a seventh projection P7 are formed on each second plate-like member 12A.

この構造材料1Aでは、第2相欠き面62に第7突起部P7を設け、第7突起部P7との嵌合が可能な切り欠きCを第6突起部P6に形成したことにより、2つの構造材料1Aの相欠き部6A同士を係合させたときに、上記した相欠き部6における各部の嵌合に加えて、第7突起部P7と切り欠きCとが嵌合するため、構造材料1Aの長さ方向に直交する方向への各構造材料1Aの相対的な移動をより確実に規制することができるため、構造材料1Aを用いて構成する構造体の強度をさらに高めることができる。   In this structural material 1A, the second projecting surface 62 is provided with the seventh projecting portion P7, and the notch C that can be fitted to the seventh projecting portion P7 is formed in the sixth projecting portion P6. When the phase notches 6A of the structural material 1A are engaged with each other, in addition to the fitting of the respective portions in the phase notch 6 described above, the seventh protrusion P7 and the notch C are fitted, so that the structural material Since the relative movement of each structural material 1A in the direction orthogonal to the length direction of 1A can be more reliably regulated, the strength of the structure formed using the structural material 1A can be further increased.

また、nを5に規定し、それぞれm個としての3個の第1突起部P1、第3突起部P3、第4突起部P4および第5突起部P5と、それぞれk個としての2個の第2突起部P2、第6突起部P6および第7突起部P7を設けた例について上記したが、これらの各突起部の数としてのm個およびk個は、「mは、3以上の任意の正の奇数であるnを2で除した値以上の整数のうちの最小の整数」との条件、および「kは、n−m」との条件を満たす限り任意に規定することができる。例えば、nを最低値としての3に規定したときには、m個を2、k個を1個に規定することができる。また、nを7に規定したときにはm個を4、k個を3個に規定することができる。この場合、構造材料1,1Aを構成する第1板状部材11や第2板状部材12,12Aの数も各突起部の数に応じて変更することができる。具体的には、第1板状部材11の枚数を、第1突起部P1、第3突起部P3、第4突起部P4および第5突起部P5の数であるm枚とし、第2板状部材12,12Aの枚数を、第2突起部P2、第6突起部P6および第7突起部P7の数であるk枚とすることができる。   In addition, n is defined as 5, and each of the three first protrusions P1, the third protrusions P3, the fourth protrusions P4, and the fifth protrusions P5 as m pieces, and each of k pieces as two pieces. The example in which the second projecting portion P2, the sixth projecting portion P6, and the seventh projecting portion P7 are provided has been described above, but m and k as the number of these projecting portions are “m is an arbitrary number of 3 or more. Can be arbitrarily defined as long as the condition “the smallest integer among integers equal to or greater than the value obtained by dividing n, which is a positive odd number,” by 2, and the condition “k is nm” are satisfied. For example, when n is defined as 3 as the lowest value, m can be defined as 2 and k can be defined as 1. When n is defined as 7, m can be defined as 4, and k can be defined as 3. In this case, the number of the first plate-like members 11 and the second plate-like members 12 and 12A constituting the structural materials 1 and 1A can also be changed according to the number of protrusions. Specifically, the number of the first plate-like members 11 is m, which is the number of the first protrusions P1, the third protrusions P3, the fourth protrusions P4, and the fifth protrusions P5. The number of the members 12, 12A can be k, which is the number of the second protrusions P2, the sixth protrusions P6, and the seventh protrusions P7.

また、厚みが24mmの1枚の板材で第1板状部材11および第2板状部材12,12Aをそれぞれ形成した例について上記したが、各板状部材の11,12,12Aの厚みは任意に変更することができる。この場合、第1板状部材11と第2板状部材12,12Aとで厚みを異ならせてもよい。また、複数の第1板状部材11を互いに異なる厚みに形成してもよいし、第2板状部材12,12Aが複数枚存在するときには、各第2板状部材12,12Aを互いに異なる厚みに形成してもよい。   In addition, the example in which the first plate-like member 11 and the second plate-like members 12 and 12A are respectively formed with one plate material having a thickness of 24 mm is described above, but the thicknesses of the plate-like members 11, 12, and 12A are arbitrary. Can be changed. In this case, the first plate-like member 11 and the second plate-like members 12, 12A may have different thicknesses. Moreover, you may form the some 1st plate-shaped member 11 in mutually different thickness, and when the 2nd plate-shaped members 12 and 12A exist in multiple numbers, each 2nd plate-shaped member 12 and 12A differs in thickness mutually. You may form in.

また、複数の板状部材の11,12,12Aを重ね合わせた構成に代えて、単一の材料(例えば、金属、樹脂(発泡樹脂および無発泡樹脂)、ゴム、コンクリート、石材等)で構成した構造材料を採用することもできる。この場合、単一の材料を用いる構成では、一端部を切削して相欠き部6,6Aを形成する方法や、相欠き部6,6Aをかたどった型枠に樹脂やコンクリートを充填して相欠き部6,6Aを形成する方法を採用することができる。   Moreover, it replaces with the structure which piled up several plate-shaped member 11,12,12A, and comprised with a single material (for example, metal, resin (foamed resin and non-foamed resin), rubber, concrete, stone, etc.). It is also possible to adopt the structured material. In this case, in the configuration using a single material, one end portion is cut to form the phase missing portions 6 and 6A, or a mold having a shape that represents the phase missing portions 6 and 6A is filled with resin or concrete. A method of forming the notches 6 and 6A can be employed.

また、第1相欠き面61が先端面5および第2相欠き面62に対して80°をなして傾斜するように構成した例について上記したが、第1相欠き面61の傾斜角度は任意に変更することができる。また、第1相欠き面61が先端面5および第2相欠き面62に対して90°をなすように(傾斜しないように)相欠き部6を構成することもできる。   In addition, the example in which the first phase notch surface 61 is configured to be inclined with respect to the tip surface 5 and the second phase notch surface 62 is described above, but the inclination angle of the first phase notch surface 61 is arbitrary. Can be changed. The phase notch portion 6 can also be configured such that the first phase notch surface 61 forms 90 ° with respect to the tip surface 5 and the second phase notch surface 62 (so as not to be inclined).

また、2つの構造材料1の各相欠き部6同士を係合させたときに杭を挿入可能な挿通孔Hを形成するため、側面4bを平面視した状態において第1突起部P1と第2突起部P2との間に隙間G7が生じるように構成した例について上記したが、隙間G7を設けない構成(挿通孔Hを形成しない構成)を採用することもできる。   Further, in order to form the insertion hole H into which the pile can be inserted when the phase notches 6 of the two structural materials 1 are engaged with each other, the first protrusion P1 and the second protrusion 2 in the state in which the side surface 4b is viewed in plan view. Although an example in which the gap G7 is formed between the protrusion P2 and the protrusion P2 is described above, a configuration in which the gap G7 is not provided (a configuration in which the insertion hole H is not formed) may be employed.

また、図13に示す構造材料1Bを採用することもできる。なお、以下の説明において、上記した構造材料1,1Aと同じ構成要素については、同じ符号を付して、重複する説明を省略する。この構造材料1Bは、図13に示すように、両端部(一端部および他端部)に相欠き部6Bをそれぞれ備えて構成されている。また、構造材料1Bは、3枚(m枚)の第1板状部材11B(図14参照)と、2枚(k枚)の第2板状部材12B(図15参照)とを重ね合わせて構成されている。   Moreover, the structural material 1B shown in FIG. 13 can also be employ | adopted. In the following description, the same components as those of the structural materials 1 and 1A described above are denoted by the same reference numerals, and redundant description is omitted. As shown in FIG. 13, the structural material 1 </ b> B is configured so as to include phase missing portions 6 </ b> B at both end portions (one end portion and the other end portion). The structural material 1B is formed by superposing three (m) first plate-like members 11B (see FIG. 14) and two (k) second plate-like members 12B (see FIG. 15). It is configured.

相欠き部6Bは、図13に示すように、上記した構造材料1Aの相欠き部6Aに設けられている第1突起部P1〜第7突起部P7を備えると共に、これらに加えて、3個(m個)の第8突起部P8、2個(k個)の第9突起部P9、3個(m個)の第10突起部P10、および2個(k個)の第11突起部P11を備えて構成されている。   As shown in FIG. 13, the phase missing portion 6B includes the first projecting portion P1 to the seventh projecting portion P7 provided on the phase missing portion 6A of the structural material 1A described above, and in addition to these, three pieces are provided. (M) eighth protrusions P8, two (k) ninth protrusions P9, three (m) tenth protrusions P10, and two (k) eleventh protrusions P11. It is configured with.

第8突起部P8は、図14に示すように、第1板状部材11Bにおける上記した第3直線S3上の第4突起部P4から上記した長さL4だけ離間した位置に形成されている。また、第8突起部P8の幅および突出長は、第4突起部P4の幅および突出長とそれぞれ同じ長さに規定されている。   As shown in FIG. 14, the eighth protrusion P8 is formed at a position spaced apart from the fourth protrusion P4 on the third straight line S3 in the first plate-like member 11B by the length L4. Moreover, the width | variety and protrusion length of the 8th protrusion part P8 are respectively prescribed | regulated to the length same as the width | variety and protrusion length of the 4th protrusion part P4.

第9突起部P9は、図15に示すように、第2板状部材12Bにおける上記した第6直線S6上の第7突起部P7から長さL4だけ離間した位置に形成されている。また、第9突起部P9の幅および突出長は、第7突起部P7の幅および突出長とそれぞれ同じ長さに規定されている。   As shown in FIG. 15, the ninth protrusion P9 is formed at a position spaced apart from the seventh protrusion P7 on the sixth straight line S6 by a length L4 in the second plate-like member 12B. Moreover, the width | variety and protrusion length of the 9th projection part P9 are prescribed | regulated to the same length as the width | variety and protrusion length of the 7th protrusion part P7, respectively.

第10突起部P10は、図14に示すように、第1板状部材11Bにおける上記した第4直線S4上の第5突起部P5から上記した長さL4だけ離間した位置に形成されている。また、第10突起部P10の幅および突出長は、第5突起部P5の幅および突出長とそれぞれ同じ長さに規定されている。   As shown in FIG. 14, the tenth projecting portion P10 is formed at a position spaced apart from the fifth projecting portion P5 on the fourth straight line S4 in the first plate-like member 11B by the length L4. Moreover, the width | variety and protrusion length of the 10th projection part P10 are prescribed | regulated by the same length as the width | variety and protrusion length of the 5th protrusion part P5, respectively.

第11突起部P11は、図15に示すように、第2板状部材12Bにおける上記した第5直線S5上の第6突起部P6から上記した長さLbだけ離間した位置に形成されている。また、第11突起部P11の幅および突出長は、第6突起部P6の幅および突出長とそれぞれ同じ長さに規定されている。   As shown in FIG. 15, the eleventh protrusion P11 is formed at a position spaced apart from the sixth protrusion P6 on the fifth straight line S5 in the second plate-like member 12B by the length Lb. Moreover, the width | variety and protrusion length of the 11th projection part P11 are prescribed | regulated by the same length as the width | variety and protrusion length of the 6th projection part P6, respectively.

この構造材料1Bでは、両端部に相欠き部6Bが設けられるため、図16に示すように、各相欠き部6B同士を係合させることで、3つ以上の構造材料1Bを連結させることができる。このため、この構造材料1Bを用いることで、長尺の構造体を十分な強度を確保しつつ容易に構成することができる。   In this structural material 1B, since the phase missing portions 6B are provided at both ends, as shown in FIG. 16, it is possible to connect three or more structural materials 1B by engaging the phase missing portions 6B with each other. it can. For this reason, by using this structural material 1B, it is possible to easily construct a long structure while ensuring sufficient strength.

なお、上記したように、この構造材料1Bの相欠き部6Bでは、相欠き部6の各第1突起部P1〜第7突起部P7に加えて、第8突起部P8〜第11突起部P11を設けているが、各第3直線S3〜各第6直線S6上にさらに多くの突起部を設ける構成を採用することもできる。   As described above, in the phase missing portion 6B of the structural material 1B, in addition to the first projection P1 to the seventh projection P7 of the phase missing portion 6, the eighth projection P8 to the eleventh projection P11. However, it is also possible to adopt a configuration in which more protrusions are provided on each third straight line S3 to each sixth straight line S6.

また、図17に示す構造材料1Cを採用することもできる。なお、以下の説明において、上記した構造材料1,1A,1Bと同じ構成要素については、同じ符号を付して、重複する説明を省略する。この構造材料1Cは、同図に示すように、両端部にそれぞれ2つの相欠き部6Cを備えて構成されている。具体的には、この構造材料1Cでは、一端部(同図における上端部)における互いに対向する部位に対称の形状となるように2つの相欠き部6Cが設けられ、他端部(同図における下端部)における互いに対向する部位に対称の形状となるように2つの相欠き部6Cが設けられている。つまり、同図に示すように、構造材料1Cを側面視した状態における四隅に相欠き部6Cが設けられている。この場合、各相欠き部6Cは、上記した構造材料1Bの相欠き部6Bと同じ形状、または相欠き部6Bと対称の形状に形成されている。   Moreover, the structural material 1C shown in FIG. 17 can also be employed. In addition, in the following description, the same code | symbol is attached | subjected about the same component as above-described structural material 1,1A, 1B, and the overlapping description is abbreviate | omitted. As shown in the figure, the structural material 1C is configured to include two phase-out portions 6C at both ends. Specifically, in this structural material 1C, two phase-out portions 6C are provided so as to have a symmetrical shape at opposite portions in one end portion (upper end portion in the figure), and the other end portion (in the same figure in the figure). Two phase-out portions 6 </ b> C are provided so as to have a symmetric shape at mutually opposing portions in the lower end portion). That is, as shown in the figure, the phase missing portions 6C are provided at the four corners when the structural material 1C is viewed from the side. In this case, each phase notch portion 6C is formed in the same shape as the phase notch portion 6B of the structural material 1B described above or a shape symmetrical to the phase notch portion 6B.

この構造材料1Cでは、両端部にそれぞれ2つの相欠き部6Cが形成されているため、図18に示すように、各相欠き部6C同士を係合させることで、複数の構造材料1Cを縦方向(上下方向)だけではなく、横方向(左右方向)にも連結させることができる。このため、この構造材料1Cを用いることで、長尺の構造体だけではなく、壁状の構造体も十分な強度を確保しつつ容易に構成することができる。   In this structural material 1C, two phase notches 6C are formed at both ends, respectively. Therefore, as shown in FIG. Not only the direction (up and down direction) but also the horizontal direction (left and right direction) can be connected. For this reason, by using this structural material 1C, not only a long structure but also a wall-like structure can be easily configured while ensuring sufficient strength.

なお、構造材料1,1B,1Cを用いて構造体の一例としての建築物の駆体を構成する例について上記したが、構造体は、建築物の駆体に限定されず、様々なものが含まれる。例えば、土木用の柱状体(棒状体)および壁状体等の構造体はもとより、家庭用品やスポーツ用品に用いる柱状体(棒状体)および壁状体等の構造体に構造材料1,1B,1Cを用いることができる。   In addition, although it described above about the example which comprises the building body as an example of a structure using structural material 1,1B, 1C, a structure is not limited to a building body, and various things are included. included. For example, structural materials 1, 1B, not only structures such as pillars (bars) and walls for civil engineering, but also structures such as pillars (bars) and walls used for household and sports goods 1C can be used.

1,1A,1B,1C 構造材料
2 一端部
3 他端部
4a〜4d 側面
5 先端面
6,6A,6B,6C 相欠き部
11 第1板状部材
12,12A 第2板状部材
61 第1相欠き面
61a 第1領域
61b 第2領域
61c 中間位置
62 第2相欠き面
D1 第1方向
D2 第2方向
D3 第3方向
G1〜G7 隙間
I1,I2 交点
L1〜L5 長さ
P1 第1突起部
P2 第2突起部
P3 第3突起部
P4 第4突起部
P5 第5突起部
P6 第6突起部
P7 第7突起部
S1 第1直線
S2 第2直線
S3 第3直線
S4 第4直線
S5 第5直線
S6 第6直線
W1〜W3 幅
C 切り欠き
1, 1A, 1B, 1C Structural material 2 One end part 3 Other end part 4a-4d Side face 5 Front end face 6, 6A, 6B, 6C Phase missing part 11 1st plate member 12, 12A 2nd plate member 61 1st Phase notch surface 61a First region 61b Second region 61c Intermediate position 62 Second phase notch surface D1 First direction D2 Second direction D3 Third direction G1 to G7 Gap I1, I2 Intersection L1 to L5 Length P1 First protrusion P2 2nd protrusion P3 3rd protrusion P4 4th protrusion P5 5th protrusion P6 6th protrusion P7 7th protrusion S1 1st straight line S2 2nd straight line S3 3rd straight line S4 4th straight line S5 5th straight line S6 6th straight line W1-W3 Width C Notch

Claims (5)

断面が矩形に形成されて一端部側に相欠き部を備え、複数を連結して構造体を構成する構造材料であって、
前記相欠き部は、当該構造材料の1つの側面に対向する第1相欠き面と、当該構造材料の先端面よりも当該構造材料の他端部側に位置して当該先端面に平行でかつ前記第1相欠き面と交差する第2相欠き面とを有し、
前記第1相欠き面における前記先端面側と前記第2相欠き面側との中間位置よりも当該先端面側の領域には、当該第1相欠き面から第1の長さだけ突出すると共に当該第1相欠き面の長さ方向である第1方向に沿って延在しかつ前記先端面から第2の長さだけ当該第1方向に沿って延出部分が延出するリブ状のm個(mは、3以上の任意の正の奇数であるnを2で除した値以上の整数のうちの最小の整数)の第1突起部が当該第1相欠き面の幅方向である第2方向に互いに離間する状態で設けられ、
前記第1相欠き面における前記中間位置よりも前記第2相欠き面側の領域には、隣接する前記各第1突起部の間の第1の隙間における前記第2方向の中心を通って前記第1方向に沿った第1直線上に延在すると共に対応する当該各第1の隙間の幅とそれぞれ同じ幅でかつ当該第1相欠き面から前記第1の長さだけそれぞれ突出するリブ状のk個(kは、n−m)の第2突起部が設けられ、
前記第2相欠き面には、前記第1相欠き面における前記各第1突起部の前記第2方向の中心を通って前記第1方向に沿った第2直線と当該第2相欠き面との各交点を通って前記1つの側面に直交する第3方向に沿った各第3直線上における当該第1相欠き面から第3の長さだけ離間した位置にそれぞれ配置されて対応する当該第1突起部の幅とそれぞれ同じ幅でかつ当該第2相欠き面から前記第2の長さだけそれぞれ突出するm個の第3突起部と、前記各第3直線上における前記各第3突起部から第4の長さだけ離間した位置にそれぞれ配置されて当該配置された各々の当該第3直線上に位置する当該第3突起部の幅とそれぞれ同じ幅でかつ当該第2相欠き面から前記第2の長さだけそれぞれ突出するm個の第4突起部とが設けられ、
前記先端面には、前記各第2直線と当該先端面との各交点を通って前記第3方向に沿った各第4直線上における前記各第1突起部から前記第3突起部の長さだけ離間した位置にそれぞれ配置されて対応する当該第1突起部とそれぞれ同じ幅で前記第4の長さと同じ長さを有しかつ当該先端面から前記第2の長さだけそれぞれ突出するm個の第5突起部と、当該各第5突起部の間の各第2の隙間における前記第2方向の中心を通って前記第3方向に沿った各第5直線に沿ってそれぞれ延在すると共に対応する当該各第2の隙間の幅とそれぞれ同じ幅でかつ当該先端面から前記第2の長さだけそれぞれ突出するリブ状のk個(kは、n−m)の第6突起部とが設けられ、
1つの当該構造材料における前記第1の隙間に他の1つの当該構造材料における前記第2突起部が嵌合し、前記1つの構造材料における前記第3突起部と前記第4突起部との間の第3の隙間に前記他の1つの構造材料における前記第5突起部が嵌合し、前記1つの構造材料における隣接する前記各第3突起部の間の第4の隙間および隣接する前記各第4突起部の間の第5の隙間に前記他の1つの構造材料における前記第6突起部が嵌合し、前記1つの構造材料における前記第1相欠き面と前記第3突起部との間の第6の隙間に前記他の1つの構造材料における前記第1突起部の前記延出部分が嵌合して、前記1つの構造材料における前記相欠き部と前記他の1つの構造材料における前記相欠き部とが係合し、当該各相欠き部の係合によって前記1つの構造材料と前記他の1つの構造材料とが連結される構造材料。
A cross section is formed in a rectangular shape, and is provided with a phased portion on one end side, and is a structural material that connects a plurality to constitute a structure,
The phase lacking portion is positioned on the other end side of the structural material with respect to the first phase lacking surface facing one side surface of the structural material and on the other end side of the structural material. A second phased surface intersecting the first phased surface,
The first phase notch surface protrudes from the first phase notch surface by a first length into a region closer to the tip surface side than the intermediate position between the tip phase side and the second phase notch side. A rib-shaped m extending along the first direction, which is the length direction of the first phase-notch surface, and extending from the tip surface along the first direction by a second length. First projections (m is the smallest integer among integers greater than or equal to n which is an arbitrary positive odd number of 3 or more divided by 2) are in the width direction of the first phased surface. Provided in two directions apart from each other,
In the region closer to the second phase notch surface than the intermediate position on the first phase notch surface, the center passes in the second direction in the first gap between the adjacent first protrusions. A rib shape extending on the first straight line along the first direction and having the same width as each corresponding first gap and projecting from the first phased surface by the first length. K (k is nm) second protrusions are provided,
The second phase notch surface includes a second straight line extending along the first direction through the center of the first projection on the first phase notch surface and the second phase notch surface. The corresponding first and second positions respectively spaced apart by a third length from the first phase-defect surface on each third line along a third direction orthogonal to the one side surface through each intersection of M third protrusions each having the same width as the one protrusion and projecting from the second phased surface by the second length, and the third protrusions on the third straight lines. Are arranged at positions separated from each other by a fourth length and have the same width as the third protrusions located on each of the arranged third straight lines and from the second phased surface. M number of fourth protrusions each protruding by a second length are provided,
The tip surface has a length of the third protrusion from the first protrusion on the fourth straight line along the third direction through each intersection of the second straight line and the tip surface. M pieces that are arranged at positions spaced apart from each other, have the same width as the corresponding first protrusions, the same length as the fourth length, and protrude from the tip surface by the second length. Each of the fifth protrusions and the second gaps between the fifth protrusions through the center of the second direction and along the fifth straight line along the third direction. There are k rib (k is nm) sixth protrusions each having the same width as the corresponding second gap and projecting from the tip surface by the second length. Provided,
The second protrusion of the other structural material fits into the first gap of the one structural material, and the gap between the third protrusion and the fourth protrusion of the one structural material. The third protrusion of the other structural material is fitted into the third gap of the fourth gap, and the fourth gap between the adjacent third protrusions of the one structural material and the adjacent each of the third protrusions. The sixth protrusion in the one other structural material is fitted into a fifth gap between the fourth protrusions, and the first phase-out surface and the third protrusion in the one structural material The extension portion of the first protrusion in the one other structural material is fitted into the sixth gap between the phase gap and the other structural material in the one structural material. The phase notches engage with each other, and the front of each phase notch is engaged. Construction materials and one structural material and the other one structural material is connected.
1枚の板材で形成された板状部材、および複数枚の板材を積層して形成された板状部材のいずれかの板状部材を前記第2方向に沿って複数重ね合わせて構成されている請求項1記載の構造材料。   A plurality of plate-like members of a plate-like member formed of one plate member and a plate-like member formed by laminating a plurality of plate members are overlapped along the second direction. The structural material according to claim 1. 前記第2相欠き面には、前記第1直線と当該第2相欠き面との各交点を通って前記第3方向に沿った各第6直線上における当該第1相欠き面から第5の長さだけ離間した位置に配置されて前記第4の隙間および前記第5の隙間の幅と同じ幅でかつ当該第2相欠き面から前記第2の長さだけ突出するk個の第7突起部が設けられ、
前記第6突起部には、前記第7突起部との嵌合が可能な切り欠きが形成されている請求項1または2記載の構造材料。
The second phase notch surface has a fifth phase from the first phase notch surface on each sixth line along the third direction through each intersection of the first line and the second phase notch surface. K seventh protrusions arranged at positions spaced apart by a length and having the same width as the fourth gap and the fifth gap and projecting from the second phased surface by the second length Part is provided,
The structural material according to claim 1, wherein the sixth protrusion has a notch that can be fitted with the seventh protrusion.
前記1つの側面に直交する側面を平面視した状態において前記第1突起部と前記第2突起部との間に前記第1方向に沿って第7の隙間が生じるように当該第1突起部および当該第2突起部が設けられている請求項1から3のいずれかに記載の構造材料。   The first protrusion and the first protrusion so that a seventh gap is formed along the first direction between the first protrusion and the second protrusion in a state in which the side surface orthogonal to the one side surface is viewed in plan view. The structural material according to claim 1, wherein the second protrusion is provided. 当該構造材料の前記一端部および前記他端部の双方に前記相欠き部を備えている請求項1から4のいずれかに記載の構造材料。   The structural material according to any one of claims 1 to 4, wherein the phase missing portion is provided on both the one end portion and the other end portion of the structural material.
JP2016010217A 2016-01-22 2016-01-22 Structural material Active JP6605339B2 (en)

Priority Applications (1)

Application Number Priority Date Filing Date Title
JP2016010217A JP6605339B2 (en) 2016-01-22 2016-01-22 Structural material

Applications Claiming Priority (1)

Application Number Priority Date Filing Date Title
JP2016010217A JP6605339B2 (en) 2016-01-22 2016-01-22 Structural material

Publications (2)

Publication Number Publication Date
JP2017128968A true JP2017128968A (en) 2017-07-27
JP6605339B2 JP6605339B2 (en) 2019-11-13

Family

ID=59394575

Family Applications (1)

Application Number Title Priority Date Filing Date
JP2016010217A Active JP6605339B2 (en) 2016-01-22 2016-01-22 Structural material

Country Status (1)

Country Link
JP (1) JP6605339B2 (en)

Cited By (1)

* Cited by examiner, † Cited by third party
Publication number Priority date Publication date Assignee Title
EP3804761A1 (en) 2017-06-30 2021-04-14 ONO Pharmaceutical Co., Ltd. Inhibitor of postoperative cancer recurrence and/or metastasis

Citations (7)

* Cited by examiner, † Cited by third party
Publication number Priority date Publication date Assignee Title
JPS61274031A (en) * 1985-05-29 1986-12-04 加藤 昭二 Method for connecting wooden material
JPS6227922U (en) * 1985-08-05 1987-02-20
JPH08170370A (en) * 1994-12-20 1996-07-02 Sumitomo Forestry Co Ltd Joint construction between horizontal members
JPH10140711A (en) * 1996-11-15 1998-05-26 Asahi Chem Ind Co Ltd Structural plane unit, half structural plane unit, structural plane unit for corner and structure of structural plane and structuring method
JPH1181524A (en) * 1997-09-04 1999-03-26 Asahi Chem Ind Co Ltd Wall-constituting member and wall structure by use teereof
JPH11129220A (en) * 1997-11-04 1999-05-18 Ichijyo Home Building Co Ltd Laminated lumber
JP2006316454A (en) * 2005-05-11 2006-11-24 Nippon System Sekkei:Kk Construction material unit

Patent Citations (7)

* Cited by examiner, † Cited by third party
Publication number Priority date Publication date Assignee Title
JPS61274031A (en) * 1985-05-29 1986-12-04 加藤 昭二 Method for connecting wooden material
JPS6227922U (en) * 1985-08-05 1987-02-20
JPH08170370A (en) * 1994-12-20 1996-07-02 Sumitomo Forestry Co Ltd Joint construction between horizontal members
JPH10140711A (en) * 1996-11-15 1998-05-26 Asahi Chem Ind Co Ltd Structural plane unit, half structural plane unit, structural plane unit for corner and structure of structural plane and structuring method
JPH1181524A (en) * 1997-09-04 1999-03-26 Asahi Chem Ind Co Ltd Wall-constituting member and wall structure by use teereof
JPH11129220A (en) * 1997-11-04 1999-05-18 Ichijyo Home Building Co Ltd Laminated lumber
JP2006316454A (en) * 2005-05-11 2006-11-24 Nippon System Sekkei:Kk Construction material unit

Cited By (1)

* Cited by examiner, † Cited by third party
Publication number Priority date Publication date Assignee Title
EP3804761A1 (en) 2017-06-30 2021-04-14 ONO Pharmaceutical Co., Ltd. Inhibitor of postoperative cancer recurrence and/or metastasis

Also Published As

Publication number Publication date
JP6605339B2 (en) 2019-11-13

Similar Documents

Publication Publication Date Title
US20120071061A1 (en) Toy building block
JP2016516925A (en) Architectural element consisting of two panels containing bonding strips
JP6220581B2 (en) Wall body, wall construction method
JP6605339B2 (en) Structural material
JP6382263B2 (en) Concrete block
KR20180098847A (en) Structural material
JP6946032B2 (en) Outer corner structure
JP6813979B2 (en) Structural members
KR102047837B1 (en) Block and construction method using the same
JP3768896B2 (en) Building blocks
JP2017115328A (en) Outer wall structure and construction method of outer wall
JP2023081794A (en) Welding-type aseismic m frame for smart method
JP7178245B2 (en) Concrete member joining structure and concrete member joining method using the same
JP4129210B2 (en) Brick assembling structures such as bricks and concrete blocks, bricks such as bricks and concrete blocks, and engaging pins.
JP6043638B2 (en) Floor parting, floor structure
JP2008156912A (en) Assembly member and assembly using the same.
JP5841087B2 (en) Corrugated cardboard structure
JP6449079B2 (en) Building
JP6468733B2 (en) Seismic wall structure
JP7342344B2 (en) Precast beam joint structure
JP6644367B1 (en) Earthquake-resistant wall
JP7365818B2 (en) Joint structure of precast members and concrete members
JP7370558B2 (en) separator
JP7214546B2 (en) Shear failure prevention structure for diaphragm wall
JP2019190067A (en) Wood floor material, fixing structure for wood floor material, and method for manufacturing wood floor material

Legal Events

Date Code Title Description
A621 Written request for application examination

Free format text: JAPANESE INTERMEDIATE CODE: A621

Effective date: 20181121

A977 Report on retrieval

Free format text: JAPANESE INTERMEDIATE CODE: A971007

Effective date: 20190917

TRDD Decision of grant or rejection written
A01 Written decision to grant a patent or to grant a registration (utility model)

Free format text: JAPANESE INTERMEDIATE CODE: A01

Effective date: 20190924

A61 First payment of annual fees (during grant procedure)

Free format text: JAPANESE INTERMEDIATE CODE: A61

Effective date: 20191016

R150 Certificate of patent or registration of utility model

Ref document number: 6605339

Country of ref document: JP

Free format text: JAPANESE INTERMEDIATE CODE: R150

R250 Receipt of annual fees

Free format text: JAPANESE INTERMEDIATE CODE: R250

R250 Receipt of annual fees

Free format text: JAPANESE INTERMEDIATE CODE: R250

R250 Receipt of annual fees

Free format text: JAPANESE INTERMEDIATE CODE: R250