JP2017118979A - ゲーム装置及びプログラム - Google Patents

ゲーム装置及びプログラム Download PDF

Info

Publication number
JP2017118979A
JP2017118979A JP2015256991A JP2015256991A JP2017118979A JP 2017118979 A JP2017118979 A JP 2017118979A JP 2015256991 A JP2015256991 A JP 2015256991A JP 2015256991 A JP2015256991 A JP 2015256991A JP 2017118979 A JP2017118979 A JP 2017118979A
Authority
JP
Japan
Prior art keywords
character
game
control
player
operation instruction
Prior art date
Legal status (The legal status is an assumption and is not a legal conclusion. Google has not performed a legal analysis and makes no representation as to the accuracy of the status listed.)
Granted
Application number
JP2015256991A
Other languages
English (en)
Other versions
JP6725248B2 (ja
Inventor
高弘 柿沢
Takahiro Kakizawa
高弘 柿沢
恩田 明生
Akio Onda
明生 恩田
Current Assignee (The listed assignees may be inaccurate. Google has not performed a legal analysis and makes no representation or warranty as to the accuracy of the list.)
Bandai Namco Entertainment Inc
Bandai Namco Studios Inc
Original Assignee
Bandai Namco Entertainment Inc
Bandai Namco Studios Inc
Priority date (The priority date is an assumption and is not a legal conclusion. Google has not performed a legal analysis and makes no representation as to the accuracy of the date listed.)
Filing date
Publication date
Application filed by Bandai Namco Entertainment Inc, Bandai Namco Studios Inc filed Critical Bandai Namco Entertainment Inc
Priority to JP2015256991A priority Critical patent/JP6725248B2/ja
Publication of JP2017118979A publication Critical patent/JP2017118979A/ja
Application granted granted Critical
Publication of JP6725248B2 publication Critical patent/JP6725248B2/ja
Active legal-status Critical Current
Anticipated expiration legal-status Critical

Links

Images

Abstract

【課題】プレーヤの操作能力のみならず、キャラクタの設定やその変化といったキャラクタの状況を加味して移動体の制御を実行することによって、ゲーム展開のバリエーションを広げてゲーム自体の興趣性を向上させること、及び、魅力のあるゲームを提供することが可能なプログラム及びゲーム装置などを提供すること。
【解決手段】ゲーム端末装置20は、プレーヤからの操作指示を受け付けた場合に、当該操作指示に基づく移動体制御対象オブジェクトの操縦内容と、プレーヤキャラクタの成長パラメータを含むキャラクタ情報と、に基づいて、当該移動体制御対象オブジェクトの制御に関する制御内容を決定し、決定した移動体制御対象オブジェクトの制御内容に基づいてゲーム上の移動体制御対象オブジェクトの制御を含むゲーム処理を実行する、構成を有している。
【選択図】図4

Description

本発明は、ゲーム装置及びプログラムなどに関する。
一般的に、対戦ゲームやロールプレイングゲームなどのゲームにおいては、プレーヤが選択したキャラクタを用いてゲームを進行させるようになっており、プレーヤによって各キャラクタに対する操作指示を受け付けると、当該受け付けた操作指示に基づいてゲームを進行させるようになっている。
近年、プレーヤによって複数のキャラクタが選択され、当該選択された複数のキャラクタをそれぞれコントロールすることによって戦闘ゲームやロールプレイングゲームなどのゲームをダイナミックに進行させ、かつ、様々なキャラクタの組み合わせによってゲーム進行のバリエーションを増やしてプレーヤの興趣性を高め、又は、その維持を図るものが知られている。
特に、最近では、例えば、複数のキャラクタをコントロールすることによるゲームに対する興趣性を維持させつつ、操作入力を行うプレーヤに対する操作の煩雑性を解消するゲーム装置も登場してきている(例えば、特許文献1)。
特開2010−240460号公報
しかしながら、現実世界では、飛行機や戦車など乗り物の制御を実行する場合に、指揮者の指示の下に、複数の操作者が各自の操作を行うことで乗り物の移動制御を実行するが、上記特許文献1を含め従来のキャラクタを用いたゲーム装置にあっては、プレーヤによってこれらの乗り物を操縦することを重視し、現実には複数の操作者によって操縦するような乗り物であっても、一人のプレーヤで操作することが多く、現実の乗り物の操縦を体感させることができていない。
本発明は、上記課題を解決するためになされたものであり、その目的は、複数の操作者での乗り物などの移動体の操縦を体感させつつ、ゲーム性を持たせるとともに、プレーヤの操作能力のみならず、キャラクタの設定やその変化といったキャラクタの状況を加味させることによってゲーム展開のバリエーションを広げてゲーム自体の興趣性を向上させること、及び、魅力のあるゲームを提供することが可能なプログラム及びゲーム装置などを提供することにある。
(1)上記課題を解決するため、本発明は、
移動体の制御を伴うゲームを実行するプログラムであって、
プレーヤから前記ゲーム上のキャラクタを操作するための操作指示であって当該キャラクタが前記移動体を操縦するための操作指示を受け付ける受付手段、
前記キャラクタの前記ゲーム内における成長に応じて変化する成長パラメータが記憶される記憶手段を管理する管理手段、
前記操作指示を受け付けた場合に、当該操作指示に基づく移動体の操縦内容と、前記キ
ャラクタの成長パラメータを含むキャラクタ情報と、に基づいて、前記移動体の制御に関する制御内容を決定する決定手段、及び
前記決定された移動体の制御内容に基づいて前記ゲーム上の前記移動体の制御を含むゲーム処理を実行するゲーム処理手段、
としてコンピュータを機能させる構成を有している。
この構成により、本発明は、プレーヤの操作指示によって戦闘用車両、艦船、ロボット、戦艦、列車(運転手と車掌)などの乗り物である移動体を直接制御させることなく、当該プレーヤが操作可能なキャラクタの操縦に従って当該移動体を制御させることができるので、複数の操作者での乗り物などの移動体の操縦を体感させつつ、ゲーム性を持たせることができる。
したがって、本発明は、例えば、移動体を用いたゲームにおいてキャラクタの成長などのゲーム進行によって変化するゲーム要素、又は、キャラクタの属性や移動体を制御する場合における複数のキャラクタの組み合わせ(相性や属性の組み合わせ)などのゲームの実行環境によって定まるゲーム要素を用いて移動体の制御を行うことができる。
この結果、本発明は、プレーヤの操作能力のみならず、キャラクタの設定やその変化といったキャラクタの状況を加味して移動体の制御を行うことができるので、ゲーム展開のバリエーションを広げてゲーム自体の興趣性を向上させことができるとともに、魅力のあるゲームを提供することができる。
なお、「操作指示に基づく移動体の操縦内容」とは、例えば、所定の方向への攻撃、所定の移動スピードによって所定の方向への移動など、キャラクタの操作によって操縦される移動体の制御内容を示す。
また、キャラクタ情報は、成長パラメータから構成されていてもよいし、当該成長パラメータの他にキャラクタの属性情報や他のキャラクタの関係性を示す関係性パラメータを含んでもよい。
特に、成長パラメータは、プレーヤのゲームに対するレベル(ゲームレベル)、又は、キャラクタ毎に設定されるレベルや個々のパラメータであり、例えば、クリアしたステージ数やそのレベル、対戦勝利数や倒した敵の数、ゲーム中に獲得したポイント(移動体やプレーヤの経験値やヒットポイント又はプレーヤ有する仮想通貨)、ゲーム開始からの経過時間、移動体が装備するアイテム、及び、移動体を操縦する複数のキャラクタにおける組み合わせなどゲームの進行や環境によって変化する特性を有している。
例えば、成長パラメータには、
(1)操作指示を理解する理解度を示す理解度パラメータ、
(2)操作指示を受け付けたキャラクタの操作指示に対するスキル能力を示すスキルパラメータ
(3)操作指示を受け付けてから当該操作指示に対応する移動体の制御を実行するまでなどの応答速度を示す応答速度パラメータ、及び、
(4)操作指示を補正する能力を示す補正能力パラメータ、
が含まれる。
さらに、「移動体の制御に関する制御内容」には、当該移動体の移動に対する制御、又は、当該移動体の戦闘(敵への攻撃)に対する制御の内容が含まれる。
例えば、制御内容には、
(1)移動体の前進、後退や方向転換、又は、敵の移動体への攻撃や当該敵から移動体への攻撃の防御などの移動体の操縦内容に基づく当該移動体における操縦制御の実行の可否、
(2)操作指示が「右45度微速前進」とした場合に、操縦内容が「右微速前進」又は「右30度微速前進」となるなど、操作指示の一部の抜けや正確性の欠落に対する操縦内容の一致度を示す操縦内容に基づく移動体における操縦制御の正確度の決定、
(3)操作指示の内容に加えて所定の方向への方向転換に対する方角の調整やスピード、又は、移動体の移動スピードなどの移動体がゲーム上有利になるような操縦内容を補正した補正内容に基づく移動体の操縦制御、及び、
(4)プレーヤキャラクタの受け付けた操作指示に反応するまでの速度や当該操作指示に基づく移動体の制御を実現するまでの対応速度など、移動体の操縦内容に基づく操縦制御を行う場合に、当該移動体制御対象オブジェクトにおける反応速度の制御、
を含む。
また、「補正内容」には、
(2A)操作指示対象キャラクタに対する操作指示に基づく操縦内容(以下、「オリジナル操縦内容」という。)に追加される内容であって、当該操作指示対象キャラクタとは異なる他のプレーヤキャラクタ、又は、当該操作指示対象キャラクタに対するオリジナル操縦内容に関連する操縦内容(以下、「追加操縦内容」という。)、
(2B)操作指示対象キャラクタに対する操作指示に基づく操縦内容よりも詳細な操縦内容(オリジナル操縦内容には含まれていない詳細な内容)であって、当該操作指示対象キャラクタに対する操縦内容(以下、「詳細度の高い操縦内容」という。)、及び、
(2C)操作指示対象キャラクタに対する操作指示に基づく操縦内容とは異なる制御内容であって、当該操作指示対象キャラクタに対するオリジナル操縦内容とは異なる操縦内容(以下、「代替え操縦内容」という。)、
が含まれる。
上記に加えて、「ゲーム処理」には、例えば、移動体の移動に対する制御又は戦闘に対する制御及びこれらに伴うゲームを進行させるための処理の他に、敵の移動体又は他の移動体の制御、戦闘やその結果における演算、及び、これらに基づく他のゲーム装置との通信、プレーヤ操作するゲーム装置へ表示する際の画像処理又は当該ゲーム装置に音を出力する際の音処理が含まれる。
(2)また、本発明は、
前記制御内容には、
前記操縦内容に基づく前記移動体における操縦制御の実行の可否、
前記操縦内容に基づく前記移動体における操縦制御の正確度の決定、
前記操縦内容を補正した補正内容に基づく前記移動体の操縦制御の実行、及び、
前記操縦内容に基づく前記移動体の制御を行う場合に、当該移動体における操縦制御に関する速度の決定、
の少なくともいずれか1つが含まれる、構成を有している。
この構成により、本発明は、移動体の移動に対する制御や当該移動体の戦闘に対する制御などの移動体の制御に関する制御内容を決定し、決定された移動体の制御内容に基づいてゲーム上の移動体の制御を実行するゲーム処理を実行することができる。
特に、本発明は、補正内容としては、成長パラメータに基づいて、追加操縦内容、詳細度の高い操縦内容及び代替え操縦内などの操作指示に対応するオリジナル制御内容とは異なる操縦内容によって移動体を制御することができる。
したがって、本発明は、移動体を用いたゲームにおいて、プレーヤの操作能力のみならず、キャラクタの成長やキャラクタの設定といったキャラクタの状況を加味し移動体の制御を行うことができるので、ゲーム展開のバリエーションを広げ、ユーザにおけるゲームへの興趣性を向上させることができる。
(3)また、本発明は、
前記記憶手段には、前記キャラクタのゲーム上の属性を示す属性情報が記憶されており、
前記決定手段が、
前記成長パラメータとともに前記操作指示を受け付けたキャラクタの属性情報を含む前記キャラクタ情報に基づいて、前記移動体の制御に関する制御内容を決定する、構成を有している。
この構成により、本発明は、キャラクタの属性情報を含むキャラクタ情報に基づいて移動体の移動に対する制御や当該移動体の戦闘に対する制御などの移動体の制御に関する制御内容を決定し、決定された移動体の制御内容に基づいてゲーム上の移動体の制御を実行するゲーム処理を実行することができる。
したがって、本発明は、移動体を用いたゲームにおいて、プレーヤの操作能力のみならず、キャラクタの成長やキャラクタの設定といったキャラクタの状況を加味し移動体の制御を行うことができるので、ゲーム展開のバリエーションを広げ、ユーザにおけるゲームへの興趣性を向上させることができる。
(4)また、本発明は、
前記受付手段が、
前記移動体を協同して操縦するための複数の前記キャラクタへの操作指示を受け付けるとともに、
前記ゲーム処理手段が、
前記受け付けた操作指示及び前記キャラクタ情報に基づいて、前記移動体に対して前記複数のキャラクタにおける協同操縦制御を実行する、構成を有している。
この構成により、本発明は、プレーヤの操作指示によって、戦闘用車両、艦船、ロボット、戦艦、列車(運転手と車掌)などの乗り物である移動体を直接制御させることなく、当該プレーヤが操作可能なキャラクタの操縦に従って当該移動体を制御させることができるので、複数の操作者での乗り物などの移動体の操縦を体感させつつ、ゲーム性を持たせることができる。
(5)また、本発明は、
前記記憶手段には、前記キャラクタ毎に他のキャラクタとの関係性を示す関係性パラメータが記憶されており、
前記決定手段が、
前記成長パラメータとともに前記操作指示を受け付けたキャラクタと協同操縦を実行するキャラクタとの関係性パラメータを含む前記キャラクタ情報に基づいて、前記移動体の制御に関する制御内容を決定する、構成を有している。
この構成により、本発明は、操作指示の対象となるキャラクタにおける他のキャラクタのとの関係性を示す関係性パラメータを含むキャラクタ情報に基づいて移動体の移動に対する制御や当該移動体の戦闘に対する制御などの移動体の制御に関する制御内容を決定し、決定された移動体の制御内容に基づいてゲーム上の移動体の制御を実行するゲーム処理を実行することができる。
したがって、本発明は、移動体を用いたゲームにおいて、プレーヤの操作能力のみならず、キャラクタの成長やキャラクタの設定といったキャラクタの状況を加味し移動体の制御を行うことができるので、ゲーム展開のバリエーションを広げ、ユーザにおけるゲームへの興趣性を向上させることができる。
(6)また、本発明は、
前記受付手段が、
前記プレーヤの音声を取得して認識する認識処理を実行し、
前記認識処理によって得られた結果に基づいて前記操作指示を受け付ける、構成を有している。
この構成により、本発明は、操作指示としてプレーヤの音声を用いることができるので、例えば、プレーヤがゲーム空間内で移動体を制御するキャラクタへ直接指示を行うことができる。
したがって、本発明は、臨場感のあるゲームを提供することができるので、魅力のあるゲームを提供することができる。
(7)また、本発明は、
前記受付手段が、
実空間に形成されたコントローラ又はデバイスを介して入力された操作に基づいて前記操作指示を受け付ける、構成を有している。
この構成により、本発明は、操作指示として、十字キー、ジョイスティック、キーボード若しくはタッチパネルなどの操作指示の入力を行う実空間に形成されたコントローラ、又は、レバー、ハンドル、ボタン若しくはカードと当該カードの位置や種別を認識するフィールド盤などの実空間に形成されたデバイスを用いることができるので、例えば、プレーヤがゲーム空間内で移動体を制御するキャラクタへ実空間に形成されたものを用いて直接指示を行うことができる。
したがって、本発明は、臨場感のあるゲームを提供することができるので、魅力のあるゲームを提供することができる。
(8)また、本発明は、
前記ゲームに基づく画像を前記プレーヤの頭部に装着された表示手段に表示させる表示制御手段として前記コンピュータを更に機能させ、
前記受付手段が、
前記表示手段に形成されたデバイスであって、前記プレーヤの眼球の動きを検出することによって前記操作指示を受け付ける、構成を有している。
この構成により、本発明は、例えば、HMD(ヘッドマウントディスプレイ)などのプレーヤの視界が妨げられる場合など、操作指示を行うデバイスやコントローラの目視ができない場合、又は、映像酔い(仮想現実に起因する酔い(仮想現実酔い))などによって実空間に設定されているデバイスやコントローラによる操作入力を適切に行う事ができない場合であっても、プレーヤの視線を用いて的確な操作指示を受け付けることができる。
(9)上記課題を解決するため、本発明は、
複数のプレーヤキャラクタによって移動体を制御させることによって敵キャラクタとの対戦する対戦ゲームを実行するプログラムであって、
前記プレーヤキャラクタにおける前記移動体の移動制御を行う移動操縦キャラクタ、及び、当該プレーヤキャラクタにおける移動体の前記敵キャラクタへの攻撃制御を行う攻撃操縦キャラクタに対するプレーヤからの操作指示を受け付ける受付手段、
各プレーヤキャラクタの前記対戦ゲーム内における成長に応じて変化する成長パラメータが記憶される記憶手段を管理する管理手段、
前記操作指示を受け付けた場合に、当該操作指示に基づく移動体の移動に対する操縦内容又は当該移動体の攻撃に対する操縦内容と、該当するプレーヤキャラクタの成長パラメータを含むキャラクタ情報と、に基づいて、前記移動体の移動又は攻撃に関する制御内容を決定する決定手段、及び
前記決定された移動体の制御内容に基づいて前記ゲーム上の前記移動体の制御を含むゲーム処理を実行するゲーム処理手段、
としてコンピュータを機能させる、構成を有している。
この構成により、本発明は、プレーヤの操作指示によって戦闘用車両、艦船、ロボット、戦艦、列車(運転手と車掌)などの乗り物である移動体を直接制御させることなく、当該プレーヤが操作可能なキャラクタの操縦に従って当該移動体を制御させることができるので、複数の操作者での乗り物などの移動体の操縦を体感させつつ、ゲーム性を持たせることができる。
したがって、本発明は、例えば、移動体を用いたゲームにおいてキャラクタの成長などのゲーム進行によって変化するゲーム要素、又は、キャラクタの属性や移動体を制御する場合における複数のキャラクタの組み合わせ(相性や属性の組み合わせ)などのゲームの実行環境によって定まるゲーム要素を用いて移動体の制御を行うことができる。
この結果、本発明は、プレーヤの操作能力のみならず、キャラクタの設定やその変化といったキャラクタの状況を加味して移動体の制御を行うことができるので、ゲーム展開のバリエーションを広げてゲーム自体の興趣性を向上させことができるとともに、魅力のあるゲームを提供することができる。
(10)また、本発明は、
前記ゲーム処理手段が、
前記決定された移動体の制御内容とともに当該移動体に設定された移動体パラメータに基づいて前記ゲーム上の前記移動体の制御を含む前記ゲーム処理を実行する、構成を有している。
この構成により、本発明は、移動体自体のパラメータを用いて当該移動体の制御を行うことができるので、移動体自体のレベルを上げ、又は、プレーヤキャラクタの組み合わせ、移動体のゲーム上の経験値又はゲームの進行によって変化するパラメータなどのパラメータによって難敵のキャラクタを撃破することができるなどのゲーム性を提供することができるとともに、末永くゲームに対する興趣性を維持させることができる。
なお、移動体に設定された移動体パラメータには、例えば、ゲームが進行するに従って得られる経験値、クリアしたステージの数やレベル、デッキに設定された複数のプレーヤキャラクタのパラメータ、プレーヤのゲームレベル、又は、これらの2以上の組み合わせが含まれる。
(11)また、本発明は、
前記受け付けた操作指示の内容と、前記決定された移動体の制御に関する制御内容と、が合致する場合には、当該合致した旨を、通知手段を介して前記プレーヤに通知する通知制御手段として前記コンピュータを更に機能させる、構成を有している、
この構成により、本発明は、プレーヤの操作指示と移動体における操縦内容が合致しているか否かをプレーヤに通知することができるので、ゲーム状況をプレーヤに把握させることができる。
(12)また、本発明は、
前記受け付けた操作指示の内容と、前記決定された移動体の制御に関する制御内容と、の一致する割合を一致度として特定する特定手段、及び、
前記一致度に応じて前記プレーヤに通知を変化させる通知制御手段、
として前記コンピュータを更に機能させる、構成を有している。
この構成により、本発明は、例えば、受け付けた操作指示の内容が実行できないと制御内容として決定した場合には、又は、前進指示が後退指示になるなど、移動体の制御に関する制御内容が完全に一致していない場合には、操作指示が通ってないと判定し、操作指示対象のキャラクタからプレーヤに対して操作指示を聞き返す通知を実行することによって、例えば、操作指示の一部が決定された制御内容と一致しない場合(一致する内容が半分以下)、又は、当該操作指示の半分が前記決定された制御内容とを実行できない場合には、操作指示対象のキャラクタからプレーヤに対して曖昧な返事を通知することによって、ゲーム状況をプレーヤに的確に把握させることができる。
(13)また、本発明は、
前記ゲーム処理手段が、
前記ゲーム中に所定の条件に応じて前記成長パラメータを低下させる、構成を有している。
この構成により、本発明は、例えば、ライフエネルギーが無くなった場合に、対戦ゲームの開始から所定の時間経過した場合、又は、所定のアイテムを喪失した場合などゲーム中に所定の条件に応じて前記成長パラメータを低下させることができるので、キャラクタを成長させること自体に対してゲーム性を持たせることができるとともに、末永くゲームに対する興趣性を維持させることができる。
(14)また、本発明は、
前記ゲーム処理手段が、
前記操作指示を受け付けたキャラクタ、又は、前記移動体の操縦に関する処理に関わっているキャラクタを他のキャラクタより強調して表示手段に表示させる、構成を有している。
この構成により、本発明は、操作指示を受け付けたキャラクタ、又は、移動体の操縦に関する処理に関わっているキャラクタを他のキャラクタより強調して表示手段に表示させることができるので、プレーヤの操作性やゲームの状況把握性を向上させることができる。
(15)上記課題を解決するため、本発明は、
移動体の制御を伴うゲームを実行するゲーム装置であって、
プレーヤから前記ゲーム上のキャラクタを操作するための操作指示であって当該キャラクタが前記移動体を操縦するための操作指示を受け付ける受付手段と、
前記キャラクタの前記ゲーム内における成長に応じて変化する成長パラメータが記憶される記憶手段を管理する管理手段と、
前記操作指示を受け付けた場合に、当該操作指示に基づく移動体の操縦内容と、前記キャラクタの成長パラメータを含むキャラクタ情報と、に基づいて、前記移動体の制御に関
する制御内容を決定する決定手段と、
前記決定された移動体の制御内容に基づいて前記ゲーム上の前記移動体の制御を含むゲーム処理を実行するゲーム処理手段と、
を備える構成を有している。
この構成により、本発明は、プレーヤの操作指示によって戦闘用車両、艦船、ロボット、戦艦、列車(運転手と車掌)などの乗り物である移動体を直接制御させることなく、当該プレーヤが操作可能なキャラクタの操縦に従って当該移動体を制御させることができる。
したがって、本発明は、例えば、移動体を用いたゲームにおいてキャラクタの成長などのゲーム進行によって変化するゲーム要素、又は、キャラクタの属性や移動体を制御する場合における複数のキャラクタの組み合わせ(相性や属性の組み合わせ)などのゲームの実行環境によって定まるゲーム要素を用いて移動体の制御を行うことができる。
この結果、本発明は、プレーヤの操作能力のみならず、キャラクタの設定やその変化といったキャラクタの状況を加味して移動体の制御を行うことができるので、ゲーム展開のバリエーションを広げてゲーム自体の興趣性を向上させことができるとともに、魅力のあるゲームを提供することができる。
(16)上記課題を解決するため、本発明は、
複数のプレーヤキャラクタによって移動体を制御させることによって敵キャラクタとの対戦する対戦ゲームを実行するゲーム装置であって、
前記プレーヤキャラクタにおける前記移動体の移動制御を行う移動操縦キャラクタ、及び、当該プレーヤキャラクタにおける移動体の前記敵キャラクタへの攻撃制御を行う攻撃操縦キャラクタに対するプレーヤからの操作指示を受け付ける受付手段と、
各プレーヤキャラクタの前記他イズ年ゲーム内における成長に応じて変化する成長パラメータが記憶される記憶手段を管理する管理手段と、
前記操作指示を受け付けた場合に、当該操作指示に基づく移動体の移動に対する操縦内容又は当該移動体の攻撃に対する操縦内容と、該当するプレーヤキャラクタの成長パラメータを含むキャラクタ情報と、に基づいて、前記移動体の移動又は攻撃に関する制御内容を決定する決定手段と、
前記決定された移動体の制御内容に基づいて前記ゲーム上の前記移動体の制御を含むゲーム処理を実行するゲーム処理手段と、
を備える、構成を有している。
この構成により、本発明は、プレーヤの操作指示によって戦闘用車両、艦船、ロボット、戦艦、列車(運転手と車掌)などの乗り物である移動体を直接制御させることなく、当該プレーヤが操作可能なキャラクタの操縦に従って当該移動体を制御させることができるので、複数の操作者での乗り物などの移動体の操縦を体感させつつ、ゲーム性を持たせることができる。
したがって、本発明は、例えば、移動体を用いたゲームにおいてキャラクタの成長などのゲーム進行によって変化するゲーム要素、又は、キャラクタの属性や移動体を制御する場合における複数のキャラクタの組み合わせ(相性や属性の組み合わせ)などのゲームの実行環境によって定まるゲーム要素を用いて移動体の制御を行うことができる。
この結果、本発明は、プレーヤの操作能力のみならず、キャラクタの設定やその変化といったキャラクタの状況を加味して移動体の制御を行うことができるので、ゲーム展開のバリエーションを広げてゲーム自体の興趣性を向上させことができるとともに、魅力のあ
るゲームを提供することができる。
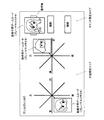
一実施形態のゲームシステムの構成を示すシステム構成の一例を示す図である。 一実施形態におけるゲーム端末装置の構成を示す機能ブロック図の一例である。 一実施形態におけるゲーム端末装置によって実行されるゲーム画面の一例である。 一実施形態における移動体制御対象オブジェクトの制御を説明するための図である。 一実施形態における操縦解析処理部において実行される操縦解析処理を説明するための図(その1)である。 一実施形態における操縦解析処理部において実行される操縦解析処理を説明するための図(その2)である。 一実施形態における操縦解析処理部において実行される操縦解析処理を説明するための図(その3)である。 一実施形態において操作指示を入力するためのゲーム盤を説明するための図である。 一実施形態のゲーム端末装置によって実行される操作検出処理を含む操縦解析処理の動作を示すフローチャートである。
以下、本実施形態について説明する。なお、以下に説明する本実施形態は、特許請求の範囲に記載された本発明の内容を不当に限定するものではない。また本実施形態で説明される構成の全てが、本発明の必須構成要件であるとは限らない。
[1]ゲームシステム
まず、図1を用いて本実施形態のゲームシステム1の概要及び概要構成について説明する。なお、図1は、本実施形態のゲームシステム1の構成を示すシステム構成の一例を示す図である。
本実施形態のゲームシステム1は、図1に示すように、システム全体を管理するサーバ装置10と、プレーヤの指示の下、移動体を用いた対戦ゲーム又はその他のゲームを実行するゲーム端末装置20(例えば、ゲーム端末装置20A、20B、20C)と、を備え、インターネット(ネットワークの一例)に接続可能に構成されている。
ユーザは、ゲーム端末装置20を操作することによってゲームをプレーすることができる。さらに、ユーザはゲーム端末装置20からサーバ装置10にアクセスすることにより、他のユーザとの間でコミュニケーションを図ることができるようになっている。
サーバ装置10は、各ゲーム端末装置20を管理する管理サーバ装置として機能し、各ゲーム端末装置20において実行される対戦ゲームの管理及び稼働状態の管理、並びに、各ゲーム端末装置20において他のゲーム端末装置20と対戦ゲームを実行する際のゲームデータの通信管理を実行するように構成されている。
なお、サーバ装置10は、インターネットを介して通信接続されたゲーム端末装置20を用いて、ユーザにゲームをプレーさせるサービスを提供するようにしてもよいし、コミュニケーション型のサービスを提供するSNSサーバとして機能してもよい。ここで、SNSサーバとは、複数のユーザ間でコミュニケーションを提供することが可能なサービス
を提供する情報処理装置であってもよい。
一方、サーバ装置10は、1つの(装置、プロセッサ)で構成されていてもよいし、複数の(装置、プロセッサ)で構成されていてもよい。
そして、サーバ装置10の記憶領域に記憶される課金情報、ゲーム情報等の情報を、ネットワーク(イントラネット又はインターネット)を介して接続されたデータベース(広義には記憶装置、メモリ)に記憶するようにしてもよいし、SNSサーバとして機能する場合には、記憶領域に記憶されるユーザ情報等の情報を、ネットワーク(イントラネット又はインターネット)を介して接続されたデータベース(広義には記憶装置、メモリ)に記憶するようにしてもよい。
各ゲーム端末装置20は、各プレーヤが単独で対戦ゲームのゲーム処理を、または、他のプレーヤと協力して他のゲーム端末装置20のプレーヤによって操作される敵オブジェクト若しくはコンピュータとの対戦ゲームのゲーム処理を実行するように構成されている。
[2]ゲーム端末装置
次に、図4を用いて本実施形態のゲーム端末装置20について説明する。なお、図4は、本実施形態におけるゲーム端末装置20の構成を示す機能ブロック図の一例である。また、本実施形態のゲーム端末装置20は図4の構成要素(各部)の一部を省略した構成としてもよい。
入力部260は、プレーヤがキャラクタを操作するための操作指示を入力するためのものであり、その機能は、十字キー、ジョイスティック、ステアリング、キーボード若しくはタッチパネルなどの操作指示の入力を行う実空間に形成されたコントローラ、又は、レバー、ハンドル、ボタン若しくはカードと当該カードの位置や種別を認識するフィールド盤などの実空間に形成されたデバイスを用いることができる。
また、入力部260は、プレーヤの音声指示を認識するため当該プレーヤの音声を集音するためのマイク261を有している。
さらに、入力部260は、上記の他に、加速度センサや視線検出センサなどを備えていてもよい。特に、後述するように、表示部290がHMDによって構成されている場合には、入力部260は、表示部290と連動しつつ、プレーヤの頭の向きや視線方向などを検出し、表示部290にプレーヤからの視点に基づくゲーム空間の画像を表示させる処理に用いられる。
記憶部270は、処理部200や通信部296などのワーク領域となるもので、その機能はRAM(VRAM)などにより実現できる。そして、本実施形態の記憶部270は、ワーク領域として使用される主記憶部271と、最終的な表示画像等が記憶される画像バッファ272と、提供するゲームに関しプレーヤとしてのユーザに関する情報を示すユーザ情報273と、テーブルデータなどのゲームを実行する上で必要な各種のデータを記憶するゲームデータ記憶部274と、を含む。
なお、これらの一部を省略する構成としてもよいし、サーバ装置10の記憶部がその一部を構成してもよい。また、例えば、記憶部270は、本発明の記憶手段を構成する。
情報記憶媒体280(コンピュータにより読み取り可能な媒体)は、プログラムやデータなどを格納するものであり、その機能は、光ディスク(CD、DVD)、光磁気ディス
ク(MO)、磁気ディスク、ハードディスク、磁気テープ、或いはメモリ(ROM)などにより実現できる。
また、情報記憶媒体280には、本実施形態の各部としてコンピュータを機能させるためのプログラム(各部の処理をコンピュータに実行させるためのプログラム)を記憶することができる。なお、処理部200は、後述するように、情報記憶媒体280に格納されるプログラム(データ)に基づいて本実施形態の種々の処理を行う。
表示部290は、本実施形態により生成された画像を出力するものであり、その機能は、CRT、LCD、タッチパネル型ディスプレイ、或いはHMD(ヘッドマウントディスプレイ)などにより実現できる。
特に、本実施形態において、プレーヤに仮想現実空間としてのゲーム空間を提供するために、例えばHMDによって表示部290を構成する。また、この場合には、表示部290は、加速度センサ、視線検出センサ及び実空間上に形成されたデバイスなどの入力部260と連動して、プレーヤからの視点に基づくゲーム空間の画像が表示される。なお、例えば、本実施形態の表示部290は、本発明の表示手段を構成する。
音出力部292は、本実施形態により生成された音を出力するものであり、その機能は、スピーカ、或いはヘッドフォンなどにより実現できる。
通信部296は、外部(例えばホスト装置や他の端末装置)との間で通信を行うための各種制御を行うものであり、その機能は、各種プロセッサ又は通信用ASICなどのハードウェアや、プログラムなどにより実現できる。
なお、ゲーム端末装置20は、サーバ装置10が有する情報記憶媒体や記憶部270に記憶されている本実施形態の各部としてコンピュータを機能させるためのプログラムやデータを、ネットワークを介して受信し、受信したプログラムやデータを情報記憶媒体280や記憶部270に記憶してもよい。このようにプログラムやデータを受信してゲーム端末装置20を機能させる場合も本発明の範囲内に含めることができる。
処理部200(プロセッサ)は、入力部260からの入力データやプログラムなどに基づいて、サーバ装置10と連動して、ゲーム処理、画像生成処理、或いは音生成処理などの処理を行う。
特に、本実施形態においては、ゲーム処理としては、ゲーム開始条件が満たされた場合にゲームを開始する処理、ゲームを進行させる処理、プレーヤによって操作されるキャラクタなどのプレーヤオブジェクト、キャラクタによって操縦される移動体オブジェクト、対戦相手となる敵オブジェクトなどのオブジェクトを配置する処理、オブジェクトを表示する処理、ゲーム結果を演算する処理、或いはゲーム終了条件が満たされた場合にゲームを終了する処理などが含まれる。
また、処理部200は、記憶部270をワーク領域として各種処理を行う。処理部200の機能は各種プロセッサ(CPU、DSP等)、ASIC(ゲートアレイ等)などのハードウェアや、プログラムにより実現できる。
特に、本実施形態の処理部200は、オブジェクト空間設定部210と、操作検出処理部211と、表示制御部212と、操縦解析処理部213と、移動処理部214と、ゲーム演算部215と、仮想カメラ制御部216と、ゲーム管理部217と、描画部220と、音処理部230とを含む。また、これらの一部を省略する構成としてもよい。
なお、例えば、本実施形態の操作検出処理部211は、本発明の受付手段を構成し、表示制御部212は、本発明の表示制御手段及び通知制御手段を構成する。また、例えば、本実施形態の操縦解析処理部213は、本発明の決定手段及び特定手段を構成し、ゲーム演算部215は、本発明のゲーム処理手段を構成する。さらに、例えば、本実施形態のゲーム管理部217は、本発明の管理手段を構成し、音処理部230は、本発明の通知制御手段を構成する。
オブジェクト空間設定部210は、オブジェクト(プレーヤオブジェクト、移動体、敵オブジェクト)、移動経路、建物、樹木、柱、壁、マップ(地形)などの表示物を表す各種オブジェクト(スプライト、ビルボード、ポリゴン、自由曲面又はサブディビジョンサーフェスなどのプリミティブ面で構成されるオブジェクト)をオブジェクト空間に配置設定する処理を行う。
具体的にはオブジェクト空間設定部210は、オブジェクト(モデルオブジェクト)の位置や回転角度(向き、方向と同義)を決定し、その位置(X、Y)或いは(X、Y、Z)にその回転角度(X、Y軸回りでの回転角度)或いは(X、Y、Z軸回りでの回転角度)でオブジェクトを配置する。
ここで、オブジェクト空間とは、いわゆる仮想2次元空間、仮想3次元空間の両方を含む。2次元空間とは、例えば2次元座標(X,Y)においてオブジェクトが配置される空間であり、3次元空間とは、例えば3次元座標(X,Y,Z)においてオブジェクトが配置される空間である。
そしてオブジェクト空間を2次元空間とした場合には、複数のオブジェクトそれぞれについて設定された優先順位に基づいてオブジェクトを配置する。例えば、奥側にあるように見せたいオブジェクト(スプライト)から順にオブジェクトを配置し、手前側にあるように見せたいオブジェクトを重ねて配置する処理を行うことができる。
また、描画サイズが大きなオブジェクトを画像の下方に配置し、描画サイズが小さなオブジェクトを画像の上方に配置すれば、画面の上方に対応するオブジェクト空間が奥側にあるように見せることができ、画面の下方に対応するオブジェクト空間が手前側にあるように見せることができる。
また、オブジェクト空間を3次元空間とした場合には、ワールド座標系にオブジェクトを配置する。
操作検出処理部211は、プレーヤが入力部260から入力された入力情報の認識処理を行う。具体的には、本実施形態の操作検出処理部211は、入力部260によって入力されたプレーヤの各キャラクタに対する指示を受け付ける。
特に、操作検出処理部211は、プレーヤにおける音声に基づいて操作指示を行う場合には、音声認識処理を実行し、当該認識した操作指示を受け付ける操作検出処理を実行する。また、操作検出処理部211は、表示部290がHMDによって構成される場合には、プレーヤの眼球の動きを検出することによって操作指示を受け付ける操作検出処理を実行する。そして、操作検出処理部211は、プレーヤの音声とコントローラや所定のデバイスとの複合的な入力情報の場合には、これらの入力情報を連動させて操作指示を受け付ける操作検出処理を実行する。
表示制御部212は、表示部290にプレーヤの指示に基づいて実行されるゲームに関
するコンテンツを表示する。特に、本実施形態においては、表示部290がHMDによって構成されている場合には、入力部260と連動しつつ、プレーヤの頭の向きや視線などの検出した情報に基づいて、三次元のゲーム空間を表示部290に表示する。
また、表示制御部212は、ゲーム開始時、ゲーム中及びゲーム終了時に、ゲームに関する所与の設定を行うメニューなどの各種のコンテンツを表示部290に表示させる。
操縦解析処理部213は、操作検出処理部211によって認識された入力情報に基づいてプレーヤによって予め選択されたキャラクタ(すなわち、プレーヤキャラクタ)を制御しつつ、対戦ゲームに用いる車、ロボット、戦闘機、又は、戦車などの制御対象となる移動体オブジェクト(以下、「移動体制御対象オブジェクト」という。)の操縦内容を決定する操縦解析処理を実行する。
特に、プレーヤによって選択された1以上のキャラクタによって移動体オブジェクトを操縦し、敵キャラクタ(例えば、敵キャラクタの移動体オブジェクト)と対戦するなどの各種のゲームを進行させる場合において、プレーヤからのプレーヤキャラクタに対する操作指示を受け付けた場合には、当該プレーヤキャラクタのゲーム内における成長に応じて変化する成長パラメータを含むキャラクタ情報と、当該操作指示に基づく移動体の操縦内容と、に基づいて、移動体の制御に関する制御内容を決定する。
なお、成長パラメータは、ゲームの進行や環境によって変化するパラメータである。そして、当該成長パラメータには、プレーヤのゲームに対するレベル(ゲームレベル)、クリアしたステージ、対戦勝利数や倒した敵の数、獲得ポイント(経験値、ヒットポイント又は仮想通貨)、ゲーム開始からの経過時間、装備するアイテムによって規定されるパラメータ、及び、複数のキャラクタにおける組み合わせによって規定されるパラメータが含まれる。
移動処理部214は、オブジェクト空間内におけるオブジェクト(特に、キャラクタオブジェクト、移動体オブジェクト等の操作対象オブジェクト)の移動演算を行う。すなわち、移動処理部214は、入力部260によりプレーヤが入力した入力データ又はプログラム(移動アルゴリズム)や各種データ(モーションデータ)などに基づいて、移動体オブジェクトをオブジェクト空間内で移動させ、又は、移動体オブジェクトの動作(モーション、アニメーション)を制御するための処理を行う。
具体的には、本実施形態の移動処理部214は、オブジェクトの移動情報(移動方向、移動量、移動速度、位置、回転角度、或いは加速度)や動作情報(各パーツオブジェクトの位置、或いは回転角度)を、1フレーム毎に順次求めるシミュレーション処理を行う。ここでフレームとは、オブジェクトの移動処理、動作処理(シミュレーション処理)や画像生成処理を行う時間の単位である。そして、本実施形態では、フレームレートは、固定としてもよいし、処理負荷に応じて可変としてもよい。
なお、移動処理部214は、3次元のオブジェクト空間において入力方向に基づいてオブジェクトを移動させる処理を行ってもよい。例えば、予め、入力方向毎に移動方向を対応づけ、入力方向に対応する移動方向にオブジェクトを移動させる。
ゲーム演算部215は、種々のゲーム演算処理を行う。例えば、ゲーム演算部215は、プレーヤの指示に基づいてゲームに使用される複数のプレーヤキャラクタがデッキに設定されると、当該デッキに設定された各プレーヤキャラクタを用いてゲームを進行させるための各処理を実行する。
特に、ゲーム演算部215は、マップに基づくオブジェクト空間の形成、RPGの場合には、ユーザの操作に応じて予め設定されたシナリオに基づくゲームの進行、移動体制御対象オブジェクトと敵オブジェクトやその他のオブジェクト(すなわち、操作非対象オブジェクト)との対戦、及び、当該対戦時のパラメータ管理などのゲームを実行する上で必要な演算処理を行う。
例えば、ゲーム演算部215は、プレーヤによって選択された1以上のキャラクタによって移動体制御対象オブジェクトを操縦し、敵キャラクタ(例えば、敵キャラクタの移動体オブジェクト)と対戦する対戦ゲームの場合には、操縦解析処理部213によって決定された移動体制御対象オブジェクトの制御内容に基づいてゲーム上の移動体制御対象オブジェクトの制御(移動や攻撃)を実行する。
特に、デッキに設定された複数のプレーヤキャラクタによって戦車などの対戦型の移動体制御対象オブジェクトを用いてゲームを実行する場合には、ゲーム演算部215は、操縦解析処理部213によって決定された操縦内容において敵オブジェクトに攻撃を実行した場合に、又は、ゲーム中に敵オブジェクトから攻撃を受けた場合に、プレーヤレベル、各プレーヤキャラクタのキャラクタレベルや属性情報のプレーヤ側のパラメータと、攻撃手段(使用された弾)におけるパラメータと、敵オブジェクトの各種のパラメータと、に基づいて、プレーヤ及び敵オブジェクトの攻撃値、防御値及びヒットポイントを演算するなど対戦を進行させる各演算を実行する。
なお、ゲーム演算部215は、サーバ装置10と連動して実行するが、その一部又は全部がサーバ装置10に形成されていてもよい。
仮想カメラ制御部216は、所与の視点から見える画像であって、奥行きがあるように見える画像を生成する。この場合に、仮想カメラ制御部216が、オブジェクト空間内の所与(任意)の視点から見える画像を生成するための仮想カメラ(視点)の制御処理を行う。具体的には、仮想カメラの位置(X、Y、Z)又は回転角度(X、Y、Z軸回りでの回転角度)を制御する処理(視点位置や視線方向を制御する処理)を行う。
特に、本実施形態においては、仮想カメラ制御部216は、プレーヤがゲーム空間にいることを想定した当該プレーヤ目線における位置からの仮想カメラの制御処理を実行する。ただし、ゲーム上の演出やその他によって各種のオブジェクト(例えば、キャラクタ、ボール、車)を後方から撮影する場合には、オブジェクトの位置又は回転の変化に仮想カメラが追従するように、仮想カメラの位置又は回転角度(仮想カメラの向き)を制御してもよい。
この場合には、移動処理部214で得られたオブジェクトの位置、回転角度又は速度などの情報に基づいて、仮想カメラを制御できる。或いは、仮想カメラを、予め決められた回転角度で回転させたり、予め決められた移動経路で移動させる制御を行ってもよい。また、この場合には、仮想カメラの位置(移動経路)又は回転角度を特定するための仮想カメラデータに基づいて仮想カメラを制御する。
なお、例えば、プレーヤ目線の他に各プレーヤキャラクタの正面からの映像など、仮想カメラ(視点)が複数存在する場合には、それぞれの仮想カメラについて上記の制御処理が行われる。
ゲーム管理部217は、入力部260を介して入力されたプレーヤの操作に基づいて、各プレーヤにおいて対戦ゲーム等のゲームに使用するプレーヤキャラクタ及び各種のアイテムを設定し、ユーザ情報273に登録する。
特に、ゲーム管理部217は、デッキを用いてゲームを実行する場合には、設定されたプレーヤキャラクタ及び各種のアイテムをデッキデータとしてユーザ情報273に登録する。また、ゲーム管理部217は、プレーヤの操作対象となる各プレーヤキャラクタの各成長パラメータをユーザ情報273に登録する。
描画部220は、処理部200で行われる種々の処理(ゲーム処理)の結果に基づいて描画処理を行い、これにより画像を生成し、表示部(ディスプレイ)290に出力する。描画部220が生成する画像は、いわゆる2次元画像であってもよいし、いわゆる3次元画像であってもよい。特に、描画部220は、オブジェクト空間における仮想カメラから見える画像であって、画面上に表示する画像を生成する。
ここで2次元画像を生成する場合には、描画部220は、設定された優先度が低いオブジェクトから順に描画して、オブジェクト同士が重なる場合には、優先度の高いオブジェクトを上書きして描画する。
また、3次元画像を生成する場合には、本実施形態の描画部220は、まずオブジェクト(モデル)の各頂点の頂点データ(頂点の位置座標、テクスチャ座標、色データ、法線ベクトル或いはα値等)を含むオブジェクトデータ(モデルデータ)が入力され、入力されたオブジェクトデータに含まれる頂点データに基づいて、頂点処理が行われる。なお、頂点処理を行うに際して、必要に応じてポリゴンを再分割するための頂点生成処理(テッセレーション、曲面分割、ポリゴン分割)を行うようにしてもよい。
また、頂点処理では、頂点の移動処理や、座標変換(ワールド座標変換、カメラ座標変換)、クリッピング処理、透視変換、あるいは光源処理等のジオメトリ処理が行われ、その処理結果に基づいて、オブジェクトを構成する頂点群について与えられた頂点データを変更(更新、調整)する。そして、頂点処理後の頂点データに基づいてラスタライズ(走査変換)が行われ、ポリゴン(プリミティブ)の面とピクセルとが対応づけられる。そしてラスタライズに続いて、画像を構成するピクセル(表示画面を構成するフラグメント)を描画するピクセル処理(フラグメント処理)が行われる。
ピクセル処理では、テクスチャの読出し(テクスチャマッピング)、色データの設定/変更、半透明合成、アンチエイリアス等の各種処理を行って、画像を構成するピクセルの最終的な描画色を決定し、透視変換されたオブジェクトの描画色を画像バッファ272(フレームバッファ、ピクセル単位で画像情報を記憶できるバッファ。VRAM、レンダリングターゲット)に出力(描画)する。すなわち、ピクセル処理では、画像情報(色、法線、輝度、α値等)をピクセル単位で設定あるいは変更するパーピクセル処理を行う。
これにより、オブジェクト空間内に設定された仮想カメラ(所与の視点)から見える画像が生成される。なお、仮想カメラ(視点)が複数存在する場合には、それぞれの仮想カメラから見える画像を分割画像として1画面に表示できるように画像を生成することができる。
なお、描画部220が行う頂点処理やピクセル処理は、シェーディング言語によって記述されたシェーダプログラムによって、ポリゴン(プリミティブ)の描画処理をプログラム可能にするハードウェア、いわゆるプログラマブルシェーダ(頂点シェーダやピクセルシェーダ)により実現されてもよい。プログラマブルシェーダでは、頂点単位の処理やピクセル単位の処理がプログラム可能になることで描画処理内容の自由度が高く、ハードウェアによる固定的な描画処理に比べて表現力を大幅に向上させることができる。
そして、描画部220は、オブジェクトを描画する際に、ジオメトリ処理、テクスチャマッピング、隠面消去処理、αブレンディング等を行う。
ジオメトリ処理では、オブジェクトに対して、座標変換、クリッピング処理、透視投影変換、或いは光源計算等の処理を行う。そして、ジオメトリ処理後(透視投影変換後)のオブジェクトデータ(オブジェクトの頂点の位置座標、テクスチャ座標、色データ(輝度データ)、法線ベクトル、或いはα値等)を記憶部270に記憶する。
テクスチャマッピングでは、記憶部270のテクスチャ記憶部に記憶されるテクスチャ(テクセル値)をオブジェクトにマッピングする処理を行う。具体的には、オブジェクトの頂点に設定(付与)されるテクスチャ座標等を用いて記憶部270のテクスチャ記憶部からテクスチャ(色(RGB)、α値などの表面プロパティ)を読み出し、2次元の画像であるテクスチャをオブジェクトにマッピングする。この場合に、ピクセルとテクセルとを対応づける処理や、テクセルの補間としてバイリニア補間などを行う。
なお、本実施形態では、オブジェクトを描画する際に、所与のテクスチャをマッピングする処理を行うようにしてもよい。この場合には、マッピングされるテクスチャの色分布(テクセルパターン)を動的に変化させることができる。
また、この場合において、色分布(ピクセルパターン)が異なるテクスチャを動的に生成してもよいし、複数の色分布が異なるテクスチャを予め用意しておき、使用するテクスチャを動的に切り替えるようにしてもよい。またオブジェクト単位でテクスチャの色分布を変化させてもよい。
隠面消去処理では、描画ピクセルのZ値(奥行き情報)が格納されるZバッファ(奥行きバッファ)を用いたZバッファ法(奥行き比較法、Zテスト)による隠面消去処理を行う。すなわち、オブジェクトのプリミティブに対応する描画ピクセルを描画する際に、Zバッファに格納されるZ値を参照するとともに、当該参照されたZバッファのZ値と、プリミティブの描画ピクセルでのZ値とを比較し、描画ピクセルでのZ値が、仮想カメラから見て手前側となるZ値(例えば小さなZ値)である場合には、その描画ピクセルの描画処理を行うとともにZバッファのZ値を新たなZ値に更新する。
αブレンディング(α合成)では、描画部220は、α値(A値)に基づく半透明合成処理(通常αブレンディング、加算αブレンディング又は減算αブレンディング等)を行う。なお、α値は、各ピクセル(テクセル、ドット)に関連づけて記憶できる情報であり、例えば色情報以外のプラスアルファの情報である。α値は、マスク情報、半透明度(透明度、不透明度と等価)、バンプ情報などとして使用できる。
特に、本実施形態での描画部220は、接触検出領域に対応する表示領域に表示させる画像を生成してもよい。表示領域に表示させる画像とは、例えばオブジェクトを含む画像でもよい。
音処理部230は、処理部200で行われる種々の処理の結果に基づいて音処理を行い、BGM、効果音、又は音声などのゲーム音を生成し、音出力部292に出力する。
なお、本実施形態のゲーム端末装置20は、1人のプレーヤのみがプレーできるシングルプレーヤモード専用のシステムにしてもよいし、複数のプレーヤがプレーできるマルチプレーヤモードも備えるシステムにしてもよい。
また、複数のプレーヤがプレーする場合に、これらの複数のプレーヤに提供するゲーム
画像やゲーム音を、1つのゲーム端末装置20を用いて生成してもよいし、ネットワーク(伝送ライン、通信回線)などで接続された複数のゲーム端末装置20又はサーバ装置10を用いて分散処理により生成してもよい。
[4]本実施形態の手法
[4.1]概要
次に、図3及び図4を用いて本実施形態の手法(移動体制御対象オブジェクトの制御)の概要について説明する。なお、図3は、本実施形態におけるゲーム端末装置20によって実行されるゲーム画面の一例であり、図4は、本実施形態の手法(移動体制御対象オブジェクトの制御)を説明するための図である。
本実施形態のゲーム端末装置20は、例えば、ゲームに基づく画像をプレーヤの頭部に装着させたHMDなどの表示部290よってプレーヤに、仮想現実空間としてのゲーム空間を表示させつつ、プレーヤの動作(すなわち、頭の向きや視線なども含めた動作)と連動させ、あたかもプレーヤがゲーム空間内で操作しているように画像を提供しつつ、対戦ゲームなどのゲームを実行させる構成を有している。
また、ゲーム端末装置20は、例えば、図3に示すように、1以上のプレーヤキャラクタをプレーヤ(例えば、操縦士、装填手及び砲手(ただし図3には、操縦士及び装填手のみ表示))における操作対象とし、プレーヤキャラクタによって車、ロボット、戦闘機、又は、戦車などの移動体オブジェクト(例えば、図3においては戦車で、以下、「移動体制御対象オブジェクト」という。)を操縦させて対戦ゲームやRPGなどのゲームを進行させる構成を有している。
例えば、戦車によって敵キャラクタと対戦を行う対戦ゲームの場合には、本実施形態のゲーム端末装置20は、図4に示すように、車長(車指揮官)としてのプレーヤから、砲手(射撃手)、操縦手(運転手)及び装填手(弾込め手)の各プレーヤキャラクタに操作指示を受け付けるとともに、受け付けた操作指示に基づいて、各プレーヤキャラクタに戦車の移動体制御対象オブジェクトを操縦させてゲームを実行させる構成を有している。
特に、ゲーム端末装置20は、
(1)プレーヤからプレーヤキャラクタを操作するための操作指示であって当該プレーヤキャラクタが移動体制御対象オブジェクトを操縦するための操作指示を受け付け、
(2)プレーヤキャラクタのゲーム内における成長に応じて変化する当該各プレーヤキャラクタの成長パラメータを管理し、
(3)プレーヤからの操作指示を受け付けた場合に、当該操作指示に基づく移動体制御対象オブジェクトの操縦内容と、プレーヤキャラクタの成長パラメータを含むキャラクタ情報と、に基づいて、当該移動体制御対象オブジェクトの制御に関する制御内容を決定し、(4)決定した移動体制御対象オブジェクトの制御内容に基づいてゲーム上の移動体制御対象オブジェクトの制御を含むゲーム処理を実行する、
構成を有している。
すなわち、ゲーム端末装置20は、プレーヤにおける操作指示に基づいて、少なくとも成長パラメータを考慮しつつ、各プレーヤキャラクタを操作するとともに、当該プレーヤキャラクタの操作を介して移動体制御対象オブジェクトの操縦を制御してゲームを実行する構成を有している。
そして、ゲーム端末装置20は、移動体制御対象オブジェクトを協同して操縦するための複数のプレーヤキャラクタへの操作指示を受け付けるとともに、受け付けた操作指示及びキャラクタ情報に基づいて、移動体制御対象オブジェクトに対して複数の各プレーヤキ
ャラクタにおける協同操縦制御を実行するようになっている。
具体的には、ゲーム端末装置20は、複数のプレーヤキャラクタによって移動体制御対象オブジェクトを制御させることによって敵キャラクタとの対戦する対戦ゲームを実行するゲーム装置であって、
(1A)プレーヤキャラクタにおける移動体制御対象オブジェクトの移動制御を行う移動操縦キャラクタ(例えば戦車の場合には操縦手)、及び、当該プレーヤキャラクタにおける移動体制御対象オブジェクトの敵キャラクタへの攻撃制御を行う攻撃操縦キャラクタ(例えば戦車の場合には、装填手及び砲手)に対する操作指示を受け付け、
(2A)各プレーヤキャラクタの対戦ゲーム内における成長に応じて変化する成長パラメータを管理し、
(3A)操作指示を受け付けた場合に、当該操作指示に基づく移動体制御対象オブジェクトの移動に対する操縦内容又は当該移動体の攻撃に対する操縦内容と、該当するプレーヤキャラクタの成長パラメータを含むキャラクタ情報と、に基づいて、移動体制御対象オブジェクトの移動又は攻撃に関する制御内容を決定し、
(4A)決定した移動体制御対象オブジェクトの制御内容に基づいて対戦ゲーム上の移動体制御対象オブジェクトの制御を含むゲーム処理を実行する。
構成を有している。
そして、本実施形態のゲーム端末装置20は、プレーヤから同一のプレーヤキャラクタに対する同一の操作指示であっても、プレーヤキャラクタのキャラクタレベルが低い場合には、操作指示通りに移動体制御対象オブジェクトを制御しない一方、プレーヤキャラクタのキャラクタレベルが高い場合には、操作指示にプラスして当該指示に基づく移動体制御対象オブジェクトの制御に対してさらに有効となる制御を実行する構成を有している。
すなわち、本実施形態のゲーム端末装置20は、成長パラメータやプレーヤキャラクタの属性などのプレーヤキャラクタの成長などのゲーム進行によって変化するゲーム要素、又は、プレーヤキャラクタの属性(操縦手や砲手に適している属性)や移動体制御対象オブジェクトを制御する場合におけるプレーヤキャラクタの組み合わせなどのゲームの実行環境によって定まるゲーム要素を用いて移動体制御対象オブジェクトの制御を行うことができるようになっている。
例えば、図4に示すように、操作指示にない「微速」のコマンドがプレーヤによって操作指示されていない場合であっても、装填手及び砲手などの操作対象キャラクタにおける操作指示されていない場合であっても、ゲーム端末装置20は、成長パラメータに基づいて、「微速前進」、「徹甲弾の装填」又は「装填済みの弾の発射」など移動体制御対象オブジェクトを制御させることができるようになっている。
その一方、ゲーム端末装置20は、受け付けたコマンドであっても、成長パラメータによっては、当該コマンドの取り消し、又は、代替え案による制御などによって当該コマンドに基づく移動体制御対象オブジェクトの操縦をしない制御を実行することもできるようになっている。
このような構成を有することによって、本実施形態のゲーム端末装置20においては、プレーヤから同一のプレーヤキャラクタに対する同一の操作指示(移動体制御対象オブジェクトにおける操縦内容を示す指示)を受け付けた場合であっても、プレーヤキャラクタの成長パラメータなどのキャラクタ情報に基づいて、移動体制御対象オブジェクトにおける制御内容が変化するようになっており、ゲームの興趣性を向上させることができるようになっている。
したがって、ゲーム端末装置20は、プレーヤの操作能力のみならず、プレーヤキャラクタの設定やその変化といったプレーヤキャラクタの状況を加味して移動体制御対象オブジェクトの制御を行うことができるので、ゲーム展開のバリエーションを広げてゲーム自体の興趣性を向上させことができるとともに、魅力のあるゲームを提供することができるようになっている。
[4.2]移動体制御対象オブジェクトの制御
[4.2.1]キャラクタ情報
次に、本実施形態における移動体制御対象オブジェクトの制御に用いるキャラクタ情報について説明する。
本実施形態は、移動体制御対象オブジェクトの制御内容を決定する操縦解析処理において、デッキに設定されたプレーヤキャラクタ、すなわち、移動体制御対象オブジェクトに搭乗している各プレーヤキャラクタのキャラクタ情報を用いるようになっている。
また、各プレーヤキャラクタのキャラクタ情報は、プレーヤキャラクタ毎に、主記憶部271に記憶されており、ゲームの進行や環境によってゲーム管理部217によって管理される。
具体的には、本実施形態においては、キャラクタ情報には、
(A)ゲームの進行や環境によって変化し、移動体制御対象オブジェクトの制御内容を決定する際に用いる成長パラメータ、
(B)ゲーム上の属性を示す属性情報、及び、
(C)他のプレーヤキャラクタとの関係性を示す関係性パラメータ
が含まれる。
特に、本実施形態の成長パラメータは、プレーヤのゲームに対するレベル(ゲームレベル)、又は、キャラクタ毎に設定されるレベル(以下、「キャラクタレベル」という。)や個々のパラメータであり、例えば、クリアしたステージ数やそのレベル、対戦勝利数や倒した敵の数、ゲーム中に獲得したポイント(移動体やプレーヤの経験値やヒットポイント又はプレーヤ有する仮想通貨)、ゲーム開始からの経過時間、移動体が装備するアイテムによって規定されるパラメータ、及び、移動体を操縦する複数のキャラクタにおける組み合わせによって規定されるパラメータなどゲームの進行や環境によって変化する特性を有している。
そして、ゲーム管理部217は、例えば、クリアしたステージ数やそのレベルなどゲームの進行や環境に応じてプレーヤキャラクタ毎に可変に管理している。
また、ゲーム管理部217は、プレーヤにおける操作指示の内容に従って実行される移動体制御対象オブジェクトの操縦結果に応じて成長パラメータの増減を制御してもよい。例えば、ゲーム管理部217は、プレーヤにおける操作指示の内容に従って移動体制御対象オブジェクトを正しく操縦できた場合には、すなわち、当該操作指示の内容と制御内容とが完全一致した場合に、成長パラメータを増加するための管理を実行してもよい。
さらに、ゲーム管理部217は、プレーヤにおける操作指示の内容に従って移動体制御対象オブジェクトを操縦できなかった場合(例えば、後述の正確度0%)の場合又はその他の度合いに応じて、該当するプレーヤキャラクタの成長パラメータを低下させてもよい。
なお、本実施形態においては、プレーヤキャラクタ毎に設定されたキャラクタレベルが
成長パラメータであるとして説明する。
また、属性情報には、
(B1)「砲手」や「操縦手」としての能力が高い又は「装填手」としての能力が低いなどのゲーム上において移動体制御対象オブジェクトを操縦する際の役割における能力値を示す操縦適性パラメータ、及び
(B2)移動体制御対象オブジェクトを操作する際の俊敏性、攻撃能力又は防御能力を示す能力パラメータ、
が含まれる。
例えば、本実施形態の操縦適性パラメータは、プレーヤキャラクタが移動体制御対象オブジェクトにおける該当する部分を操縦する際の操作反応や制御内容に影響を与える。また、例えば、本実施形態の能力パラメータは、対戦ゲームなどの敵オブジェクトに対して攻撃を実行する際に、ヒットポイントの演算などのゲーム処理を実行する際に用いられる。そして、例えば、各プレーヤキャラクタの合計値などによって移動体制御対象オブジェクトの俊敏性、攻撃能力又は防御能力などの当該移動体制御対象オブジェクト全体の能力に影響を与えるようになっている。
さらに、関係性パラメータとは、移動体制御対象オブジェクトについて協同操縦する場合(すなわち、同じ移動体制御対象オブジェクトに搭乗して操縦の役割を分担している場合)に、協同する他のプレーヤキャラクタとの組み合わせ(すなわち、デッキに構成されるプレーヤキャラクタとの相性)によって変動するマッチング特性パラメータである。
例えば、関係性パラメータは、相性がよい場合には、各プレーヤキャラクタのキャラクタレベル又は各種のパラメータの合計値に対してボーナス加算処理を実行する際に用いられ、相性が悪い場合には、当該合計値から一定の値を減算する減算処理を実行する際に用いられる。
すなわち、関係性パラメータは、後述するように、操作指示対象キャラクタにおける移動体制御対象オブジェクトの操作内容を決定する際に影響を与えるとともに、プレーヤキャラクタが操縦する移動体制御対象オブジェクトの俊敏性、攻撃能力又は防御能力などの当該移動体制御対象オブジェクト全体の能力に影響を与えるようになっている。
なお、属性情報及び関係性パラメータ、プレーヤによってゲームに用いるプレーヤキャラとして設定された際に、当該プレーヤに対応付けてゲーム管理部217によって管理される。
[4.2.2]操作検出処理
次に、本実施形態における操作検出処理について説明する。
操作検出処理部211は、入力部260を介してプレーヤによって入力された各キャラクタに対する操作指示を入力情報として受け付けると、当該入力情報に対して所定の認識処理を実行し、操作指示の対象となるプレーヤキャラクタ(以下、「操作指示対象キャラクタ」という。)と、当該操作指示対象キャラクタに対する操作指示(すなわち、コマンド)と、を特定する操作検出処理を実行する。
特に、操作検出処理部211は、プレーヤの音声によって操作指示(以下、「音声指示」ともいう。)を受け付けると、当該プレーヤの音声指示の情報(以下、「音声情報」ともいう。)を入力情報として音声認識処理を実行し、認識結果に基づいて、操作指示対象キャラクタ及び当該操作指示対象キャラクタに対するコマンドを特定する。
例えば、プレーヤが車長であって、砲手、操縦手及び装填手のプレーヤキャラクタとともに、移動体制御対象オブジェクトとして戦車によって敵キャラクタと対戦を行う対戦ゲームの場合であって、音声情報が「右方向前進」という音声指示の場合には、操作検出処理部211は、操作指示対象キャラクタとして「操縦手」のプレーヤキャラクタを特定し、かつ、コマンドとして「右方向」に「戦車を前進する」を特定する。
また、このような戦車によって敵キャラクタと対戦を行う対戦ゲームの場合であって、音声情報が「右方向の敵の戦車に対して徹甲弾による攻撃開始」という音声指示の場合には、操作検出処理部211は、操作指示対象キャラクタとして「装填手」のプレーヤキャラクタを特定し、かつ、コマンドとして「徹甲弾」を「砲台に装填する」コマンドを特定するとともに、操作指示対象キャラクタとして「砲手」のプレーヤキャラクタを特定し、かつ、コマンドとして「砲台」を「右方向の席の戦車に向ける」コマンドを特定する。
なお、特定されるプレーヤキャラクタ及びコマンドは、音声認識処理における認識結果として取得されるテキストに対応付けて予め主記憶部271にデータベース化されており、操作検出処理部211は、音声認識処理によって認識された音声に含まれるテキストと一致する操作指示対象キャラクタ及びコマンドを検出し、検出した操作指示対象キャラクタ及びコマンドを特定する。
また、操作指示対象キャラクタの特定に関しては、音声認識処理に基づいて、操作指示対象キャラクタとして特定してもよいし、コントローラやデバイスなど音声とは異なる他の入力装置によって取得したされた入力情報によって特定されたされもよい。
一方、操作検出処理部211は、入力部260がHMDによって構成されている場合には、音声認識処理などの他の入力情報の取得に変えて、または、当該他の入力情報とともに、プレーヤの眼球の動き(すなわち、視線方向)の情報を入力部260から受け付けると、受け付けた情報に基づいて、操作指示対象キャラクタ及び当該操作指示対象キャラクタに対するコマンドを特定してもよい。
通常、プレーヤが、入力部260としてHMDを用いてゲームを実行している場合には、プレーヤの視界が当該HMDによって遮られてしまうので、実空間に配置された操作指示を入力するためのデバイス又はコントローラを、目視することが難しく、かつ、操作が煩雑になること、及び、容易に的確に操作指示を入力させることが難しくなる場合も多い。そのため、当該プレーヤの操作指示の入力に関して容易にかつ的確に実行することができない場合も多く、かつ、HMDに基づく酔い(すなわち、仮想現実酔い)が発生する場合もある。
そこで、本実施形態においては、操作検出処理部211は、HMDで操作を行う場合には、プレーヤの視線方向を検出することによって操作対象キャラクタの特定及びコマンドの特定を実行するようになっている。
具体的には、操作検出処理部211は、表示制御部212と連動し、表示部290にプレーヤキャラクタ(例えば、デッキに設定された複数のプレーヤキャラクタ)又はコマンドに重畳させて視線方向を特定するためのマーカ(例えばアイコン)を表示部290に表示させつつ、HMDに形成された入力部260によって一定時間注視されることによって検出された視線方向(すなわち、表示部290内の位置座標)の情報を取得する。
そして、操作検出処理部211は、当該取得された視線方向の情報とその際にマーカによってマーキングされているプレーヤキャラクタ又はコマンドを、プレーヤによって操作
指示された操作対象キャラクタ及びコマンドとして検出する。
特に、本実施形態の操作検出処理部211は、表示部290に表示されている複数のプレーヤキャラクタのうち、操作対象に設定すべき特定のプレーヤキャラクタの注視を検出すると、表示制御部212と連動して当該特定のプレーヤキャラクタによって入力可能なコマンドを表示部290に表示させる。
そして、操作検出処理部211は、当該特定のプレーヤキャラクタの注視を検出すると、表示制御部212と連動してタイマ表示させつつ、当該タイマのカウントを開始し、当該特定のプレーヤキャラクタにおけるプレーヤの注視状態が当該タイマにおける所定期間維持された場合に、当該注視対象のプレーヤキャラクタとして特定し、かつ、表示部290に表示されたコマンドをプレーヤにおける操作指示のコマンドとして特定する。
[4.2.3]操縦解析処理
[4.2.3A]基本原理
次に、図5〜図8を用いて、本実施形態における操縦解析処理部213において実行される操縦解析処理の基本原理について説明する。なお、図5〜図7は、本実施形態における操縦解析処理部213において実行される操縦解析処理を説明するための図であり、図8は、本実施形態において操作指示を入力するためのゲーム盤を説明するための図である。
操縦解析処理部213は、上述のように、検出した操作指示対象キャラクタ及びコマンドが特定されると、当該コマンド(すなわち、プレーヤの操作指示に基づく移動体制御対象オブジェクトの操縦内容)と、特定された操作指示対象キャラクタ(すなわち、該当するプレーヤキャラクタ)の成長パラメータ(本実施形態においてはキャラクタレベル)を含むキャラクタ情報と、に基づいて、当該移動体制御対象オブジェクトの制御に関する制御内容を決定する。
具体的には、操縦解析処理部213は、制御内容としては、
(1)コマンド(操縦内容)に基づく当該移動体制御対象オブジェクトにおける操縦制御の実行の可否、
(2)コマンド(操縦内容)と移動体制御対象オブジェクトの制御内容の一致度を示す操縦制御の正確度の決定及び当該決定された正確度に基づく当該移動体制御対象オブジェクトの制御、
(3)コマンド(操縦内容)を補正した補正内容に基づく移動体制御対象オブジェクトの制御、及び、
(4)コマンド(操縦内容)に基づく制御を行う場合に、操作指示を受け付けてからプレーヤキャラクタが反応するまでの反応速度又は当該操作指示を受け付けてから制御内容を実現するまでの対応速度など移動体制御対象オブジェクトにおける操縦制御に関するキャラクタの反応速度の制御、
を決定する。
なお、ゲーム演算部215は、ゲーム中に所定の条件に応じて成長パラメータを低下させる構成を有していてもよい。例えば、所定の条件とは、ゲーム中におけるアイテムやプレーヤキャラクタを喪失した場合、敵オブジェクトからの所定のダメージを受けた場合などにおける所定のパラメータが所定の値より少なくなった場合、又は、ミニゲームで負けた場合などが含まれる。
(操縦制御の実行の可否)
操縦解析処理部213は、検出した操作指示対象キャラクタ及びコマンドが特定される
と、当該操作指示対象キャラクタのキャラクタレベルを主記憶部271から読み出しつつ、当該読み出したキャラクタレベルに応じて当該操作指示対象キャラクタにおけるコマンドの実行の可否を決定する。
具体的には、操縦解析処理部213は、検出した操作指示対象キャラクタ及びコマンドが特定されると、ユーザ情報273に記憶された当該操作指示対象キャラクタの現状のキャラクタレベルと、主記憶部271に記憶された操縦制御の実行可否を判断するための判定基準(以下、「第1判定基準」という。)と、を読み出す。
そして、操縦解析処理部213は、読み出した操作指示対象キャラクタの現状のキャラクタレベルが第1判定基準の条件を満たしていない場合には、当該操作指示対象キャラクタにおけるコマンドの実行を取り消し、読み出した操作指示対象キャラクタの現状のキャラクタレベルが当該第1判定基準を満たしている場合には、当該操作指示対象キャラクタにおけるコマンドを実行させる。
例えば、本実施形態おいては、コマンド毎に設定された最低のキャラクタレベル(以下、「コマンド最低レベル」という。)を第1判定基準として用いるとともに、操縦手に対する「微速前進」のコマンドが特定され、当該「微速前進」のコマンドのコマンド最低レベルが「2」の場合を想定する。
この場合においては、操縦解析処理部213は、読み出した操作指示対象キャラクタの現状のキャラクタレベルが「1」の場合には、第1判定基準を満たさないため、「微速前進」のコマンドの実行を取り消すとともに、読み出した操作指示対象キャラクタの現状のキャラクタレベルが「3」の場合には、当該第1判定基準を満たすため、「微速前進」のコマンドを実行させる。
そして、ゲーム演算部215は、「微速前進」のコマンドの実行が制御内容として決定されると、該当する操作指示対象キャラクタによって移動体制御対象オブジェクトが微速前進するための各種の演算処理を含むゲーム処理を実行する。
なお、各プレーヤキャラクタの現状のキャラクタレベルは、ユーザ情報273に記憶されており、上述のように第1判定基準がコマンド毎に実施可能な最低のキャラクタレベルである場合には、当該第1判定基準は、各コマンドに対応付けて主記憶部271に設定されている。
また、第1判定基準は、コマンド毎に設定された最低のキャラクタレベルの他に、プレーヤ毎、予め定められた複数のコマンドから構成されるコマンドグループ毎、プレーヤ実行しているステージ毎、又は、対戦する敵キャラクタ毎など、現状のキャラクタレベルと比較することによって条件の具備を判定することができれば、如何なる判定基準であってもよい。
(正確度に基づく当該移動体制御対象オブジェクトの制御)
操縦解析処理部213は、検出した操作指示対象キャラクタ及びコマンドが特定されると、当該操作指示対象キャラクタのキャラクタレベルを主記憶部271から読み出しつつ、当該読み出したキャラクタレベルに応じて当該操作指示対象キャラクタにおけるコマンドの正確性の度合いを決定する。
具体的には、操縦解析処理部213は、検出した操作指示対象キャラクタ及びコマンドが特定されると、特定されたコマンドにおけるユーザ情報273に記憶された当該操作指示対象キャラクタの現状のキャラクタレベルと、主記憶部271に記憶された正確度を判
定する基準(以下、「正確度判定基準」という。)と、を読み出す。
そして、操縦解析処理部213は、読み出した操作指示対象キャラクタの現状のキャラクタレベルに応じて正確度を決定する。特に、操縦解析処理部213は、0%、25%、50%、75%及び100%において規定されるキャラクタレベルを、正確度判定基準キャラクタレベルとして、読み出し、当該基準キャラクタレベルと検出した操作指示対象キャラクタのキャラクタレベルとを比較することによって、正確度を決定する。
また、操縦解析処理部213は、決定された正確度に応じて当該操作指示対象キャラクタにおけるコマンドの実行を補正し、補正した制御内容によって当該操作指示対象キャラクタにおけるコマンドを実行させる。
例えば、本実施形態おいては、特定されたコマンドに対して正確度判定基準キャラクタレベルが、「レベル1」の場合に、正確度「0」%、「レベル2」の場合に、正確度「50%」、「レベル3以上」の場合に、正確度「100%」が規定されている場合を想定する。
この場合においては、操縦解析処理部213は、特定したコマンドにおいて、
(1)読み出した操作指示対象キャラクタの現状のキャラクタレベルが「1」の場合には、コマンドを正確に実行できないので、当該コマンドにおける実行の中止し、
(2)読み出した操作指示対象キャラクタの現状のキャラクタレベルが「2」の場合には、「右方向(第1のコマンド)に微速前進(第2のコマンド)」など2つの組み合わせのコマンドについては、いずれか一方のコマンドのみ実行して他のコマンドを不実行にし、(3)読み出した操作指示対象キャラクタの現状のキャラクタレベルが「3」以上の場合には、操作指示のコマンドをそのまま制御内容として実行する。
そして、ゲーム演算部215は、コマンドの実行が制御内容として決定されると、該当する操作指示対象キャラクタによって移動体制御対象オブジェクトが微速前進するための各種の演算処理を含むゲーム処理を実行する。
なお、正確度判定基準は、コマンド毎に特定されていてもよいし、複数のコマンドからなるグループ毎に特定されていてもよい。また、当該正確度判定基準は、コマンドを受け付けた際に抽選処理その他の処理を実行してランダムに決定してもよい。
(補正内容に基づく移動体制御対象オブジェクトの制御)
操縦解析処理部213は、操作指示対象キャラクタにおけるコマンドの実行を決定すると、さらにキャラクタレベルに応じて、
(1)コマンド(操縦内容)に沿った移動体制御対象オブジェクトの制御(以下、「オリジナル制御」という。)を実行するか、又は、当該コマンドを補正した補正内容に基づく移動体制御対象オブジェクトの制御(以下、「補正制御」という。)を実行するかの判定、及び、
(2)(1)で補正制御を実行すると判定した場合には、補正制御の制御内容の決定、
を実行する。
すなわち、本実施形態においては、操縦制御の実行の可否及び補正内容(補正制御の制御内容)の決定が実行されることによって、該当する操作指示対象キャラクタにおける移動体制御対象オブジェクトにおけるコマンドの内容が決定される。
特に、操縦解析処理部213は、(1)の補正制御の可否を判定に関しては、当該判定を行うための判定基準(以下、「第2判定基準」という。)と、操作指示対象キャラクタ
のキャラクタレベルと、に基づいて、該当する操作対象キャラクタにおける移動体制御対象オブジェクトの操縦制御を、オリジナル制御によって実行するか、補正制御によって実行するかを判定する。
そして、操縦解析処理部213は、オリジナル制御を実行する場合には、ゲーム演算部215に、操作指示対象キャラクタにおけるコマンド(すなわち、操作指示)に基づく制御内容を実行させ、補正制御を実行する場合には、ゲーム演算部215、に各種の補正制御の内容に応じて操作指示対象キャラクタにおけるコマンド(すなわち、操作指示)に基づく制御内容を実行させる。
なお、第1判定基準と同様に、第2判定基準は、各コマンドに対応付けて主記憶部271に設定されている。
一方、操縦解析処理部213は、補正制御を実行する場合に、キャラクタレベルに応じて、
(A)操作指示対象キャラクタに対する操作指示に基づく操縦内容(以下、「オリジナル操縦内容」という。)に追加される内容であって、当該操作指示対象キャラクタとは異なる他のプレーヤキャラクタ、又は、当該操作指示対象キャラクタに対するオリジナル操縦内容に関連する操縦内容(以下、「追加操縦内容」という。)、
(B)操作指示対象キャラクタに対する操作指示に基づく操縦内容よりも詳細な操縦内容(オリジナル操縦内容には含まれていない詳細な内容)であって、当該操作指示対象キャラクタに対する操縦内容(以下、「詳細度の高い操縦内容」という。)、
(C)操作指示対象キャラクタに対する操作指示に基づく操縦内容とは異なる制御内容であって、当該操作指示対象キャラクタに対するオリジナル操縦内容とは異なる操縦内容(以下、「代替え操縦内容」という。)、及び、
(D)(A)〜(C)の2以上の組み合わせ
のうちいずれかの操縦内容をコマンドの補正制御の内容(すなわち、補正内容)として決定する。
なお、追加操縦内容には、操作指示対象キャラクタにおけるオリジナル操縦内容(例えば、前進などの移動)と、当該オリジナル操縦内容に追加されて他のプレーヤキャラクタにおける追加操縦内容(砲撃開始などの攻撃)と、が含まれる。
他方、本実施形態においては、追加操縦内容、詳細度の高い操縦内容、及び、代替え操縦内容は、キャラクタレベルに対応付けて、かつ、オリジナル操縦内容となる操縦内容に対応付けて主記憶部271に記憶されている。
そして、操縦解析処理部213は、原則的に、オリジナル操縦内容とキャラクタレベルとに応じて、補正制御内容を決定し、また、必要に応じて進行中のゲーム環境を用いてオリジナル操縦内容とキャラクタレベルとに応じて、補正制御内容を決定し、決定した補正制御内容によって移動体制御対象オブジェクトを制御する。
(操縦解析処理の例)
例えば、補正制御として詳細度の高い操縦内容によって補正制御を実行する場合において、オリジナル制御内容が「操縦手」に対する「移動体制御対象オブジェクトの右方向への移動」である場合であって、キャラクタレベルが5段階で第1判定基準が「2以上」及び第2判定基準が「3以上」の場合を想定する。
また、詳細度が3段階に分かれており、キャラクタレベル低(例えば、キャラクタレベル「3」)の場合「詳細な方向(例えば、2時方向)」、キャラクタレベル中(例えば、
キャラクタレベル「4」)の場合「移動方向(例えば、前進)」及び、キャラクタレベル高(例えば、キャラクタレベル「5」)の場合「全速」又は「微速」の場合を想定する。
この場合において、キャラクタレベルが「5」段階中「1」の場合には、第1判定基準よりキャラクタレベルが低いので、操縦解析処理部213は、図5に示すように、操縦手に対するオリジナル制御内容の実行を取り消し、当該オリジナル制御内容における移動体制御対象オブジェクトの制御を実行しない。
また、キャラクタレベルが「5」段階中「2」の場合には、第1判定基準よりキャラクタレベルが高いが第2判定基準よりも低いので、操縦解析処理部213は、図6に示すように、操縦手に対してオリジナル制御内容「移動体制御対象オブジェクトを右方向に旋回させて前進(又は後進)」を実行して当該オリジナル制御内容に応じて移動体制御対象オブジェクトの制御を実行する。
なお、この場合において、操縦解析処理部213は、当該オリジナル制御を実行するにあたり、当該操作指示によって規定されていない制御内容以外の内容については、ゲーム環境に基づいて、又は、ランダムに決定し、当該決定した制御内容も含めてオリジナル制御内容に対する操縦制御を実行する。
すなわち、操縦解析処理部213は、「前進」するか「後進」するか、又は、旋回する方向などはゲーム環境に基づいて、又は、ランダムに決定する。ただし、操縦解析処理部213は、オリジナル制御内容を逸脱しない範囲で適宜その他の制御内容を決定する。
さらに、キャラクタレベルが「5」段階中「3」以上の場合には、操縦解析処理部213は、操縦手に対してオリジナル制御内容について詳細な内容を有する補正内容を実行して当該補正内容に応じて移動体制御対象オブジェクトの制御を実行する。
特に、操縦解析処理部213は、図7に示すようにキャラクタレベルが「5」段階中「3」の場合には、補正制御内容として「右方向に前進」を決定し、キャラクタレベルが「5」段階中「4」の場合には、補正制御内容として「右方向で2時の方向に前進」を決定し、キャラクタレベルが「5」段階中「5」の場合には、補正制御内容として「右方向で2時の方向に微速前進」を決定し、決定した補正内容に応じて移動体制御対象オブジェクトの制御を実行する。
なお、キャラクタレベル「4」又は「5」における「2時の方向」又は「微速前進」などのコマンドは、ゲーム環境に応じて最適なコマンドとなるように決定される。例えば、操作指示が受け付けられた時点で、対戦相手の敵オブジェクトが2時の方向から攻めてきている場合には、操縦解析処理部213は、2時の方向に微速前進と決定し、敵オブジェクトが左後方(8時の方向)から攻めてきている場合には、2時の方向に全速後進と決定する。
一方、オリジナル制御内容が「操縦手」に対する「移動体制御対象オブジェクトの移動目標(敵キャラクタ)への移動」である場合であって、上述のように、各判定基準、及び、詳細度が「特定の敵キャラクタの方向」、「移動方向(例えば、前進)」及び「全速又は微速」の場合を想定する。
この場合において、操縦解析処理部213は、キャラクタレベルが「5」段階中「1」の場合には、上述と同様に、操縦手に対するオリジナル制御内容の実行を取り消し、キャラクタレベルが「5」段階中「2」の場合には、操縦手に対してオリジナル制御内容「移動体制御対象オブジェクトの移動目標への移動」を実行する。
また、操縦解析処理部213は、キャラクタレベルが「5」段階中「3」以上の場合には、操縦手に対してオリジナル制御内容について詳細な内容を有する補正内容、すなわち、「特定の敵キャラクタの方向」、「移動方向(例えば、前進)」及び「全速又は微速」の補正内容を決定し、当該補正内容に応じて移動体制御対象オブジェクトの制御を実行する。
他方、オリジナル制御内容が「砲手」に対する「移動体制御対象オブジェクトの右方向又は移動目標(敵キャラクタ)方向への攻撃移動」である場合であって、上述のように、各判定基準、及び、詳細度が「右方向、又は、敵方向」、「右方向で2時方向、又は、特定の敵キャラクタの方向」、「攻撃種類(例えば、徹甲弾又は榴弾)」及び「単発又は連射」の場合を想定する。
この場合においては、操縦解析処理部213は、キャラクタレベルが「5」段階中「1」の場合には、上述と同様に、砲手に対するオリジナル制御内容の実行を取り消し、キャラクタレベルが「5」段階中「2」の場合には、砲手に対してオリジナル制御内容「移動体制御対象オブジェクトの右方向又は移動目標(敵キャラクタ)方向への攻撃移動」を実行する。
また、操縦解析処理部213は、キャラクタレベルが「5」段階中「3」以上の場合には、砲手に対してオリジナル制御内容について詳細な内容を有する補正内容、すなわち、「2時の方向、又は、特定の敵キャラクタの方向」、「攻撃の種類(例えば、徹甲弾又は榴弾)」及び「単発又は連射」の補正内容を決定し、当該補正内容に応じて移動体制御対象オブジェクトの制御を実行する。
なお、操縦解析処理部213は、オリジナル制御内容などによって移動体制御対象オブジェクトの制御を実行する場合に、オリジナル制御内容によって定まっていない制御については、ゲーム環境などの他のゲーム要素に応じてランダムに、又は、予め定められたプログラムに従って決定し、決定された制御内容に基づいて移動体制御対象オブジェクトを制御する。
また、上述の例は、補正制御として詳細度の高い操縦内容によって補正制御を実行する場合について説明したが、追加操縦内容、代替え操縦内容、又は、これらの組み合わせにおいても同様な処理が実行される。
例えば、オリジナル制御内容が操縦手に対する操作指示であっても、装填手や砲手における操縦内容を追加操縦内容として決定してもよいし、操縦手に対する操作指示であっても、操縦手の操作指示を取り消して装填手の操縦内容を決定してもよい。
さらに、上記の例においては、キャラクタレベルに応じて各種の判定(操縦内容の可否や補正内容の実行など)を実行しているが、例えば、クリアしたステージ数やそのレベル、対戦勝利数や倒した敵の数、ゲーム中に獲得したポイント(移動体やプレーヤの経験値やヒットポイント又はプレーヤ有する仮想通貨)、ゲーム開始からの経過時間、移動体が装備するアイテム、及び、移動体を操縦する複数のキャラクタにおける組み合わせなどゲームの進行や環境によって変化するパラメータであればよい。
[4.2.3B]属性情報
次に、本実施形態における操縦解析処理部213において実行される操縦解析処理の属性情報を使用した場合について説明する。
本実施形態の操縦解析処理部213は、属性情報に応じてキャラクタレベルを変化させることによって操縦解析処理を実行する。
特に、本実施形態の操縦解析処理部213は、上述のように関係性パラメータによって加算処理された操縦適性パラメータの値に基づいて、その時点で設定されているキャラクタレベルついて所定の演算(例えば、加算又は乗算)を実行し、算出したキャラクタレベル(以下、「補正キャラクタレベル」という。)を操縦解析処理に用いる構成を有している。
具体的には、操縦解析処理部213は、プレーヤキャラクタの各プレーヤキャラクタの属性情報において、デッキ上の役割(例えば、移動体制御対象オブジェクトが戦車の場合には、プレーヤが実際に設定した操縦手、砲手又は装填手の役割)と一致する役割に規定された能力値(すなわち、関係性パラメータが加算された操縦適性パラメータ)に応じて操縦解析処理に用いるキャラクタレベルを設定する。
例えば、操縦解析処理部213は、各プレーヤキャラクタがその時点で所有するキャラクタレベル「2」に、該当するプレーヤキャラクタの属性情報においてデッキ上の役割(操縦手)と一致する役割の操縦適性パラメータ(例えば、関係性パラメータが加算されることによって規定されたパラメータ「3」)を加算し、加算した値を操縦解析処理に用いるキャラクタレベル(例えば、「5」)を設定する。
なお、プレーヤキャラクタによっては、該当するプレーヤキャラクタの属性情報においてデッキ上の役割(操縦手)と一致する役割の能力値が「マイナス」の値であってもよい。
[4.2.3C]その他
次に、本実施形態における操縦解析処理部213において実行される操縦解析処理の変形例について説明する。
(反応速度)
本実施形態においては、操縦解析処理部213は、キャラクタレベルなどの成長パラメータに基づいて、移動体制御対象オブジェクトにおける操縦内容を変化させているが、当該成長パラメータに基づいて、操作指示を受け付けてからプレーヤキャラクタが反応するまで(操縦を開始・終了するまで又は代替え案を提案するまで)などの反応速度を制御してもよい。
例えば、操縦解析処理部213は、キャラクタレベルに応じて操作指示を受け付けてからプレーヤキャラクタが反応するまでの時間を設定し、プレーヤから操作指示を受け付けた際に、操作指示対象キャラクタにおけるキャラクタベルに応じて当該操作指示に基づく移動体制御対象オブジェクトの操縦を開始するまでの時間に応じて当該移動体制御対象オブジェクトの操縦制御を操縦解析処理の一部として実行する。
なお、操縦解析処理部213は、上述の操縦解析処理に代えて、又は、加えてプレーヤキャラクタにおける反応速度制御を実行してもよい。
(特殊パラメータ)
本実施形態においては、プレーヤキャラクタのキャラクタレベルを成長パラメータとして説明したが、理解度、応答速度(反応速度)、補正能力及びスキル能力などの1以上の特殊パラメータをプレーヤキャラクタ毎に設定し、当該設定されたパラメータによって具体的に、又は、複合的に制御内容を決定するようにしてもよい。
(移動体パラメータ)
本実施形態においては、移動体制御対象オブジェクトに設定されたパラメータ(以下、「移動体パラメータ」という。)に基づいてゲーム上の移動体の制御を含むゲーム処理が実行される。特に、本実施形態の移動体パラメータは、例えば、ゲームが進行するに従って得られる経験値、クリアしたステージの数やレベル、デッキに設定された複数のプレーヤキャラクタのパラメータ、プレーヤのゲームレベル、又は、これらの2以上の組み合わせによって設定される。
また、操縦解析処理部213は、又は、ゲーム演算部215は、操作対象キャラクタにおける各種のパラメータ及び移動体パラメータの値に基づいて、俊敏性や最高速度などの移動体制御対象オブジェクトにおける操縦制御を行う際の移動能力、又は、敵オブジェクトとの対戦時における攻撃力、防御力及びライフエネルギーなどの対戦ゲームに関する攻撃能力を決定してゲーム処理を実行する。
したがって、本実施形態においては、移動体制御対象オブジェクト自体のレベルを上げ、又は、他のプレーヤキャラクタの組み合わせ、移動体のゲーム上の経験値又はゲームの進行によって変化するパラメータによって難敵のキャラクタを撃破することができるなどのゲーム性を提供することができるとともに、末永くゲームに対する興趣性を維持させることができるようになっている。
なお、移動体パラメータには、例えば、ゲームが進行するに従って得られる移動体制御対象オブジェクトにおける経験値、クリアしたステージの数やレベル、操縦制御を実行するプレーヤキャラクタの成長パラメータやその他のパラメータ、デッキに設定された複数のプレーヤキャラクタのパラメータの組み合わせ、プレーヤのゲームレベル、又は、これらの2以上の組み合わせが含まれる。
(カードを利用したゲーム盤に基づく操作入力)
本実施形態においては、プレーヤの音声、コントローラ、デバイス又はこれらの組み合わせによってプレーヤの操作指示を受け付けるようになっているが、プレーヤの操作及び当該プレーヤによって使用されるゲームカードを、操作入力を実行するためのデバイスとして用いるとともに、当該ゲームカードの所定のフィールド情報位置や当該フィールド上での動きに応じてプレーヤの操作指示を受け付けるようにしてもよい。
特に、このような入力装置は、プレーヤキャラクタが設定されたゲームカード(デジタルカードも含む)がプレーヤによって載置されるゲームフィールドを有し、当該ゲームフィールド上に載置されたゲームカードの種別、位置及び枚数の少なくともいずれかを認識する。
そして、操作検出処理部211は、当該認識したゲームカードの種別、位置又は枚数によって操作指示を特定する。
具体的には、入力装置は、ゲームカードが載置され、ゲームフィールドを構成するフィールド面を有するフィールド盤と、フィールド面に表示面が形成され、フィールド盤下に配設された所定の画像を表示させるモニタ(以下、「フィールドモニタ」という。)と、フィールド面の下方に形成され、当該フィールド面に載置されたカードを認識する認識ユニットと、フィールドモニタの表示に基づいてプレーヤの操作入力を光学的に検出する検出ユニットと、を備えている。
そして、プレーヤキャラクタが、図、絵又は写真によって描画されている表面と、認識
ユニットによって各ゲームカードを識別するための情報が形成された裏面と、から構成されているゲームカードがフィールド面に載置されると、操作検出処理部211は、入力装置と連動し、当該認識ユニットによってフィールド面に載置されたゲームカードの種別、位置又は枚数を認識しつつ、プレーヤの操作入力を光学的に検出し、当該プレーヤの移動体制御対象オブジェクトを操縦制御するための操作指示を特定する。
例えば、操縦士に対する操作指示を入力する際には、図8に示すように、ゲームフィールド上における操縦手用の方位規定エリアにおいて、移動体制御対象オブジェクトの移動方向に対応付けられるとともに、ゲームフィールドの中心からのゲームカードが載置された位置までの距離や当該ゲームカードをプレーヤが移動させる速さによって移動速度を特定される。
また、図8に示すように、ゲームフィールドを装填手において選択可能な弾の種類(徹甲弾、榴弾及び機銃)によって複数のエリアに区分けしたコマンド規定エリアを設け、ゲームカードが載置された位置に対応する弾の種類を特定させる。
なお、図8には、例えば、操縦手に対して南東の方向に移動体制御対象オブジェクト(戦車)を移動させる操作指示が入力される場合を示すとともに、砲手に対して北西の方向に砲台を移動させる操作指示が入力された場合を示し、装填手に対して徹甲弾を装填させる操作指示が入力された場合を示す。
このように、ゲームカードと当該ゲームカードの種別、位置又は枚数を認識可能なゲームフィールドを用いることによって直感的な操作指示の入力を行うようにしてもよい。
(通知制御)
本実施形態の表示制御部212又は音処理部230は、操作検出処理部211によって受け付けた操作指示の内容と、操縦解析処理部213によって解析された操作指示と、が合致する場合には、当該合致した旨を、表示部290又は音出力部292を介してプレーヤに通知する。
具体的には、表示制御部212は、通知としては、表示部290に合致した旨を表示させる構成を有し、例えば、全速前進の操作指示が入力された場合であって、移動体制御対象オブジェクトの操縦内容も「全速前進」で完全一致する場合には、図4に示すような表示「全速前進了解!」を表示部290に表示させる。
また、音処理部230は、通知としては、音出力部292に合致した旨を示す音声を出力させ、例えば、全速前進の操作指示が入力された場合であって、移動体制御対象オブジェクトの操縦内容も「全速前進」で完全一致する場合には、図4に表示されたテキストの音声「全速前進了解!」を、操作対象のプレーヤキャラクタによる音声によって出力させる。
一方、本実施形態の操縦解析処理部213においては、受け付けた操作指示の内容と、決定された移動体の制御に関する制御内容と、の一致する割合を一致度として特定し、表示制御部212又は音処理部230と連動しつつ、当該特定した一致度に応じて前記プレーヤに通知を変化させる構成を有していてもよい。
具体的には、操縦解析処理部213は、上述のように特定された操縦制御の正確度の値を一致度として用いるとともに、当該一致度(例えば、0%、25%、50%、75%及び100%など)に基づいて、表示部290又は音出力部292を介してプレーヤに所与の通知を変化させて実行する。
例えば、表示制御部212又は音処理部230は、操縦解析処理部213の制御の下、一致度が0%の場合には、表示部290又は音出力部292に指示内容を聞き返す通知を実行させ、当該一致度が25%又は50%の場合には、実行できなかった操縦内容部分のみを表示部290又は音出力部292に指示内容を聞き返す通知を実行させる。例えば、表示制御部212は、上述の全速前進の操作指示が入力された場合には、「前進了解。ただし、速度は制御できません!」又は「速度はどうしますか?」などの通知を表示部290に表示する。
また、表示制御部212又は音処理部230は、操縦解析処理部213の制御の下、一致度が75%の場合には、表示部290又は音出力部292にほぼ指示内容を実行する旨(例えば、「一部の指示を完了できません!」など)の通知を実行させ、100%の場合には、表示部290又は音出力部292に、上述の操作指示の内容と操縦解析処理部213によって解析された操作指示とが合致する場合の通知(上述の場合には、「全速前進了解!」)を実行させる。
なお、表示制御部212は、操作指示を受け付けた操作対象キャラクタ、又は、操作指示を直接受け付けてはいないが当該操作指示に応じて移動体制御対象オブジェクトに対する操縦に関する処理に関わっているプレーヤキャラクタを他のプレーヤキャラクタより強調して表示部290に表示させる強調表示を実行してもよい。
[5]本実施形態における動作
次に、図9を用いて本実施形態のゲーム端末装置20によって実行される操作検出処理を含む操縦解析処理の動作について説明する。なお、図9は、本実施形態のゲーム端末装置20によって実行される操作検出処理を含む操縦解析処理の動作を示すフローチャートである。
本動作においては、既にデッキに複数のプレーヤキャラクタが設定されており、それぞれのキャラクタレベルが主記憶部271に記憶されているものとする。
また、本動作は、移動体制御対象オブジェクトとして戦車を用いてプレーヤが車長となり、敵キャラクタとの対戦を行う対戦ゲームを実行するものとし、入力部260を介して入力されたプレーヤの音声によって操作指示を受け付ける場合を用いて説明する。
まず、操作検出処理部211は、入力部260を介してプレーヤの音声入力を検出すると(ステップS101)、音声認識処理を含む、当該認識した操作指示を受け付ける操作検出処理を実行する(ステップS102)。特に、操作検出処理部211は、音声認識処理における認識結果に基づいて、操作指示対象キャラクタ及び当該操作指示対象キャラクタに対するコマンドを特定する。
なお、操作検出処理部211は、音声認識処理によってプレーヤの音声をテキスト化するとともに、テキスト化された音声指示に基づいて、各テキストに対応付けて予め主記憶部271にデータベース化されたコマンドを検出し、当該コマンドを検出することによって、操作指示対象キャラクタ及び当該操作指示対象キャラクタに対するコマンドを特定する。
また、操作指示対象キャラクタについては、プレーヤが有する指示棒的なコントローラやタッチパネルなどによって物理的に特定されてもよい。
次いで、操縦解析処理部213は、特定された操作指示対象キャラクタのキャラクタレ
レベルと、当該操作指示対象キャラクタにおける属性情報及び関係性パラメータと、を読み出しつつ(ステップS103)、当該操作指示対象キャラクタにおけるキャラクタレベルを補正する(ステップS104)。
次いで、操縦解析処理部213は、補正されたキャラクタレベルに応じて特定されたコマンドの実行の可否を判定する(ステップS105)。
このとき、操縦解析処理部213は、特定されたコマンドの不実行を判定した場合には、当該コマンドの不実行の通知、及び、それに対するゲーム処理の実行など当該コマンドの不実行に関する処理を実行して(ステップS106)本動作を終了させる。
また、操縦解析処理部213は、コマンドの実行を判定した場合には、当該キャラクタレベルに応じて操作制御対象オブジェクトにおけるオリジナル制御を実行するか補正制御を実行するかを判定する(ステップS107)。
このとき、操縦解析処理部213は、キャラクタレベルに応じて操作制御対象オブジェクトにおけるオリジナル制御を実行すると判定すると、特定されたコマンドに応じて操作制御対象オブジェクトを操縦制御させて(ステップS108)本動作を終了させる。
一方、操縦解析処理部213は、キャラクタレベルに応じて操作制御対象オブジェクトにおける補正制御を実行すると判定すると、さらにキャラクタレベルに応じて補正制御における補正内容を決定する(ステップS109)。
なお、補正内容としては、
(A)操作指示対象キャラクタとは異なる他のプレーヤキャラクタ、又は、当該操作指示対象キャラクタに対するオリジナル操縦内容に関連する追加操縦内容、
(B)操作指示対象キャラクタに対する詳細度の高い操縦内容、
(C)操作指示対象キャラクタに対するオリジナル操縦内容とは異なる代替え操縦内容、及び、
(D)(A)〜(C)の2以上の組み合わせ
が含まれる。
次いで、操縦解析処理部213は、決定された補正内容に応じて操作制御対象オブジェクトを操縦制御させて(ステップS110)本動作を終了させる。
[6]その他
本発明は、上記実施形態で説明したものに限らず、種々の変形実施が可能である。例えば、明細書又は図面中の記載において広義や同義な用語として引用された用語は、明細書又は図面中の他の記載においても広義や同義な用語に置き換えることができる。
本実施形態では、RPGのゲームの操作入力として説明しているが、対戦型ゲーム又はシミュレーションゲームなどの他のゲームにおいても用いることがきる。
また、本実施形態は、一のサーバ装置10によって各ゲームをゲーム端末装置20に提供してもよいし、複数のサーバ装置10を連動させてサーバシステムを構築し、各ゲームをゲーム端末装置20に提供してもよい。
さらに、本実施形態においては、サーバ装置10によって提供されたゲームをゲーム端末装置20によって実行されているが、操作検出処理部211を除き、上記のゲーム端末装置20の処理部200の各機能及びゲームプログラムの実行をサーバ装置10で実行し
、当該ゲーム端末装置20は、操作入力とストリーミングによる画像表示を実行することによって、上記のゲームを実現してもよい。
また、本実施形態においては、ゲーム装置に本発明の端末装置を適用しているが、ゲーム装置に限らず、スマートフォン、タブレット型情報端末装置、パーソナルコンピュータ,モニター又はテレビなどのタッチパネルを用いて操作入力を実行可能な端末装置であれば、本発明の端末装置を提供することができる。
本発明は、実施形態で説明した構成と実質的に同一の構成(例えば、機能、方法及び結果が同一の構成、あるいは目的及び効果が同一の構成)を含む。また、本発明は、実施形態で説明した構成の本質的でない部分を置き換えた構成を含む。また、本発明は、実施形態で説明した構成と同一の作用効果を奏する構成又は同一の目的を達成することができる構成を含む。また、本発明は、実施形態で説明した構成に公知技術を付加した構成を含む。
上記のように、本発明の実施形態について詳細に説明したが、本発明の新規事項及び効果から実体的に逸脱しない多くの変形が可能であることは当業者には容易に理解できるであろう。したがって、このような変形例はすべて本発明の範囲に含まれるものとする。
10 … サーバ装置
20 … 端末装置
200 … 処理部
200 … 処理部
210 … オブジェクト空間設定部
211 … 操作検出処理部
212 … 表示制御部
213 … 操縦解析部
214 … 移動処理部
215 … ゲーム演算部
216 … 仮想カメラ制御部
217 … ゲーム管理部
220 … 描画部
230 … 音処理部
270 … 記憶部
271 … 主記憶部
272 … 画像バッファ
273 … ユーザ情報
260 … 入力部
261 … マイク
262 … 検出部
280 … 情報記憶媒体
290 … 表示部
292 … 音出力部

Claims (16)

  1. 移動体の制御を伴うゲームを実行するプログラムであって、
    プレーヤから前記ゲーム上のキャラクタを操作するための操作指示であって当該キャラクタが前記移動体を操縦するための操作指示を受け付ける受付手段、
    前記キャラクタの前記ゲーム内における成長に応じて変化する成長パラメータが記憶される記憶手段を管理する管理手段、
    前記操作指示を受け付けた場合に、当該操作指示に基づく移動体の操縦内容と、前記キャラクタの成長パラメータを含むキャラクタ情報と、に基づいて、前記移動体の制御に関する制御内容を決定する決定手段、及び
    前記決定された移動体の制御内容に基づいて前記ゲーム上の前記移動体の制御を含むゲーム処理を実行するゲーム処理手段、
    としてコンピュータを機能させることを特徴とするプログラム。
  2. 請求項1に記載のプログラムにおいて、
    前記制御内容には、
    前記操縦内容に基づく前記移動体における操縦制御の実行の可否、
    前記操縦内容に基づく前記移動体における操縦制御の正確度の決定、
    前記操縦内容を補正した補正内容に基づく前記移動体の操縦制御の実行、及び、
    前記操縦内容に基づく前記移動体の制御を行う場合に、当該移動体における操縦制御に関する速度の決定、及び、
    の少なくともいずれか1つが含まれる、プログラム。
  3. 請求項1又は2に記載のプログラムにおいて、
    前記記憶手段には、前記キャラクタのゲーム上の属性を示す属性情報が記憶されており、
    前記決定手段が、
    前記成長パラメータとともに前記操作指示を受け付けたキャラクタの属性情報を含む前記キャラクタ情報に基づいて、前記移動体の制御に関する制御内容を決定する、プログラム。
  4. 請求項1〜3のいずれか1項に記載のプログラムにおいて、
    前記受付手段が、
    前記移動体を協同して操縦するための複数の前記キャラクタへの操作指示を受け付けるとともに、
    前記ゲーム処理手段が、
    前記受け付けた操作指示及び前記キャラクタ情報に基づいて、前記移動体に対して前記複数のキャラクタにおける協同操縦制御を実行する、プログラム。
  5. 請求項4に記載のプログラムにおいて、
    前記記憶手段には、前記キャラクタ毎に他のキャラクタとの関係性を示す関係性パラメータが記憶されており、
    前記決定手段が、
    前記成長パラメータとともに前記操作指示を受け付けたキャラクタと協同操縦を実行するキャラクタとの関係性パラメータを含む前記キャラクタ情報に基づいて、前記移動体の制御に関する制御内容を決定する、プログラム。
  6. 請求項1〜5のいずれか1項に記載のプログラムにおいて、
    前記受付手段が、
    前記プレーヤの音声を取得して認識する認識処理を実行し、
    前記認識処理によって得られた結果に基づいて前記操作指示を受け付ける、プログラム。
  7. 請求項1〜5のいずれか1項に記載のプログラムにおいて、
    前記受付手段が、
    実空間に形成されたコントローラ又はデバイスを介して入力された操作に基づいて前記操作指示を受け付ける、プログラム。
  8. 請求項7に記載のプログラムにおいて、
    前記ゲームに基づく画像を前記プレーヤの頭部に装着された表示手段に表示させる表示制御手段として前記コンピュータを更に機能させ、
    前記受付手段が、
    前記表示手段に形成されたデバイスであって、前記プレーヤの眼球の動きを検出することによって前記操作指示を受け付ける、プログラム。
  9. 複数のプレーヤキャラクタによって移動体を制御させることによって敵キャラクタとの対戦する対戦ゲームを実行するプログラムであって、
    前記プレーヤキャラクタにおける前記移動体の移動制御を行う移動操縦キャラクタ、及び、当該プレーヤキャラクタにおける移動体の前記敵キャラクタへの攻撃制御を行う攻撃操縦キャラクタに対するプレーヤからの操作指示を受け付ける受付手段、
    各プレーヤキャラクタの前記対戦ゲーム内における成長に応じて変化する成長パラメータが記憶される記憶手段を管理する管理手段、
    前記操作指示を受け付けた場合に、当該操作指示に基づく移動体の移動に対する操縦内容又は当該移動体の攻撃に対する操縦内容と、該当するプレーヤキャラクタの成長パラメータを含むキャラクタ情報と、に基づいて、前記移動体の移動又は攻撃に関する制御内容を決定する決定手段、及び
    前記決定された移動体の制御内容に基づいて前記ゲーム上の前記移動体の制御を含むゲーム処理を実行するゲーム処理手段、
    としてコンピュータを機能させることを特徴とするプログラム。
  10. 請求項1〜9のいずれか1項に記載のプログラムにおいて、
    前記ゲーム処理手段が、
    前記決定された移動体の制御内容とともに当該移動体に設定された移動体パラメータに基づいて前記ゲーム上の前記移動体の制御を含む前記ゲーム処理を実行する、プログラム。
  11. 請求項1〜10のいずれか1項に記載のプログラムにおいて、
    前記受け付けた操作指示の内容と、前記決定された移動体の制御に関する制御内容と、が合致する場合には、当該合致した旨を、通知手段を介して前記プレーヤに通知する通知制御手段として前記コンピュータを更に機能させる、プログラム。
  12. 請求項1〜10のいずれか1項に記載のプログラムにおいて、
    前記受け付けた操作指示の内容と、前記決定された移動体の制御に関する制御内容と、の一致する割合を一致度として特定する特定手段、及び、
    前記一致度に応じて前記プレーヤに通知を変化させる通知制御手段、
    として前記コンピュータを更に機能させる、プログラム。
  13. 請求項1〜12のいずれか1項に記載のプログラムにおいて、
    前記ゲーム処理手段が、
    前記ゲーム中に所定の条件に応じて前記成長パラメータを低下させる、プログラム。
  14. 請求項1〜13のいずれか1項に記載のプログラムにおいて、
    前記ゲーム処理手段が、
    前記操作指示を受け付けたキャラクタ、又は、前記移動体の操縦に関する処理に関わっているキャラクタを他のキャラクタより強調して表示手段に表示させるプログラム。
  15. 移動体の制御を伴うゲームを実行するゲーム装置であって、
    プレーヤから前記ゲーム上のキャラクタを操作するための操作指示であって当該キャラクタが前記移動体を操縦するための操作指示を受け付ける受付手段と、
    前記キャラクタの前記ゲーム内における成長に応じて変化する成長パラメータが記憶される記憶手段を管理する管理手段と、
    前記操作指示を受け付けた場合に、当該操作指示に基づく移動体の操縦内容と、前記キャラクタの成長パラメータを含むキャラクタ情報と、に基づいて、前記移動体の制御に関する制御内容を決定する決定手段と、
    前記決定された移動体の制御内容に基づいて前記ゲーム上の前記移動体の制御を含むゲーム処理を実行するゲーム処理手段と、
    を備えることを特徴とするゲーム装置。
  16. 複数のプレーヤキャラクタによって移動体を制御させることによって敵キャラクタとの対戦する対戦ゲームを実行するゲーム装置であって、
    前記プレーヤキャラクタにおける前記移動体の移動制御を行う移動操縦キャラクタ、及び、当該プレーヤキャラクタにおける移動体の前記敵キャラクタへの攻撃制御を行う攻撃操縦キャラクタに対するプレーヤからの操作指示を受け付ける受付手段と、
    各プレーヤキャラクタの前記対戦ゲーム内における成長に応じて変化する成長パラメータが記憶される記憶手段を管理する管理手段と、
    前記操作指示を受け付けた場合に、当該操作指示に基づく移動体の移動に対する操縦内容又は当該移動体の攻撃に対する操縦内容と、該当するプレーヤキャラクタの成長パラメータを含むキャラクタ情報と、に基づいて、前記移動体の移動又は攻撃に関する制御内容を決定する決定手段と、
    前記決定された移動体の制御内容に基づいて前記ゲーム上の前記移動体の制御を含むゲーム処理を実行するゲーム処理手段と、
    を備えることを特徴とするゲーム装置。
JP2015256991A 2015-12-28 2015-12-28 ゲーム装置及びプログラム Active JP6725248B2 (ja)

Priority Applications (1)

Application Number Priority Date Filing Date Title
JP2015256991A JP6725248B2 (ja) 2015-12-28 2015-12-28 ゲーム装置及びプログラム

Applications Claiming Priority (1)

Application Number Priority Date Filing Date Title
JP2015256991A JP6725248B2 (ja) 2015-12-28 2015-12-28 ゲーム装置及びプログラム

Publications (2)

Publication Number Publication Date
JP2017118979A true JP2017118979A (ja) 2017-07-06
JP6725248B2 JP6725248B2 (ja) 2020-07-15

Family

ID=59271311

Family Applications (1)

Application Number Title Priority Date Filing Date
JP2015256991A Active JP6725248B2 (ja) 2015-12-28 2015-12-28 ゲーム装置及びプログラム

Country Status (1)

Country Link
JP (1) JP6725248B2 (ja)

Cited By (7)

* Cited by examiner, † Cited by third party
Publication number Priority date Publication date Assignee Title
KR20190027563A (ko) * 2017-09-07 2019-03-15 주식회사 엔씨소프트 사용자 음성 정보 기반 온라인 게임 내 캐릭터 동작 제어 방법 및 장치
CN110334027A (zh) * 2019-07-04 2019-10-15 深圳市腾讯网域计算机网络有限公司 游戏画面测试方法和装置
JP2020107251A (ja) * 2018-12-28 2020-07-09 株式会社バンダイナムコエンターテインメント 画像生成システム及びプログラム
JP2020107252A (ja) * 2018-12-28 2020-07-09 株式会社バンダイナムコエンターテインメント 画像生成システム及びプログラム
JP2021040852A (ja) * 2019-09-10 2021-03-18 株式会社コーエーテクモゲームス ゲームプログラム、ゲーム処理方法及び情報処理装置
JPWO2021220769A1 (ja) * 2020-04-27 2021-11-04
CN116585701A (zh) * 2023-06-09 2023-08-15 网易(杭州)网络有限公司 一种游戏控制方法、装置、计算机设备及存储介质

Citations (3)

* Cited by examiner, † Cited by third party
Publication number Priority date Publication date Assignee Title
JP2013208301A (ja) * 2012-03-30 2013-10-10 Konami Digital Entertainment Co Ltd ゲームシステム、ゲーム制御方法、ならびに、プログラム
WO2014197231A2 (en) * 2013-06-07 2014-12-11 Sony Computer Entertainment Inc. Switching mode of operation in a head mounted display
JP2015112354A (ja) * 2013-12-12 2015-06-22 株式会社コナミデジタルエンタテインメント ゲーム装置、ゲームシステム及びプログラム

Patent Citations (3)

* Cited by examiner, † Cited by third party
Publication number Priority date Publication date Assignee Title
JP2013208301A (ja) * 2012-03-30 2013-10-10 Konami Digital Entertainment Co Ltd ゲームシステム、ゲーム制御方法、ならびに、プログラム
WO2014197231A2 (en) * 2013-06-07 2014-12-11 Sony Computer Entertainment Inc. Switching mode of operation in a head mounted display
JP2015112354A (ja) * 2013-12-12 2015-06-22 株式会社コナミデジタルエンタテインメント ゲーム装置、ゲームシステム及びプログラム

Non-Patent Citations (2)

* Cited by examiner, † Cited by third party
Title
佐藤カフジ: ""「World of Tanks」短期集中連載「突撃!戦車道」[第3回]"", GAME WATCH, JPN6019042415, 11 October 2013 (2013-10-11), JP, pages 全文,全図, ISSN: 0004149719 *
徳岡正肇: ""登録アカウント数6000万を誇る大人気無料戦車ゲームを、徹底指南 World of Tanks"", 4GAMER.NET, JPN6020017290, 6 July 2013 (2013-07-06), JP, pages 1 - 25, ISSN: 0004270261 *

Cited By (13)

* Cited by examiner, † Cited by third party
Publication number Priority date Publication date Assignee Title
KR20190027563A (ko) * 2017-09-07 2019-03-15 주식회사 엔씨소프트 사용자 음성 정보 기반 온라인 게임 내 캐릭터 동작 제어 방법 및 장치
KR102367489B1 (ko) * 2017-09-07 2022-02-24 주식회사 엔씨소프트 사용자 음성 정보 기반 온라인 게임 내 캐릭터 동작 제어 방법 및 장치
JP2020107252A (ja) * 2018-12-28 2020-07-09 株式会社バンダイナムコエンターテインメント 画像生成システム及びプログラム
JP2020107251A (ja) * 2018-12-28 2020-07-09 株式会社バンダイナムコエンターテインメント 画像生成システム及びプログラム
JP7335695B2 (ja) 2018-12-28 2023-08-30 株式会社バンダイナムコエンターテインメント 画像生成システム及びプログラム
JP7418956B2 (ja) 2018-12-28 2024-01-22 株式会社バンダイナムコエンターテインメント 画像生成システム及びプログラム
CN110334027A (zh) * 2019-07-04 2019-10-15 深圳市腾讯网域计算机网络有限公司 游戏画面测试方法和装置
CN110334027B (zh) * 2019-07-04 2024-04-12 深圳市腾讯网域计算机网络有限公司 游戏画面测试方法和装置
JP2021040852A (ja) * 2019-09-10 2021-03-18 株式会社コーエーテクモゲームス ゲームプログラム、ゲーム処理方法及び情報処理装置
JP7357491B2 (ja) 2019-09-10 2023-10-06 株式会社コーエーテクモゲームス ゲームプログラム、ゲーム処理方法及び情報処理装置
JPWO2021220769A1 (ja) * 2020-04-27 2021-11-04
JP7677328B2 (ja) 2020-04-27 2025-05-15 ソニーグループ株式会社 情報処理装置及び情報処理方法
CN116585701A (zh) * 2023-06-09 2023-08-15 网易(杭州)网络有限公司 一种游戏控制方法、装置、计算机设备及存储介质

Also Published As

Publication number Publication date
JP6725248B2 (ja) 2020-07-15

Similar Documents

Publication Publication Date Title
JP7753300B2 (ja) ゲームシステム、ゲーム提供方法及びプログラム
JP6725248B2 (ja) ゲーム装置及びプログラム
US8556695B2 (en) Information storage medium, image generation device, and image generation method
JP7207911B2 (ja) プログラム、ゲームシステム、サーバシステム及びゲーム提供方法
JP7736278B2 (ja) プログラム、ゲーム装置、サーバ装置及びゲームシステム
US20100069152A1 (en) Method of generating image using virtual camera, storage medium, and computer device
JP7250463B2 (ja) ゲームシステム、ゲーム提供方法及びプログラム
JP7426462B2 (ja) プログラム、ゲーム装置、サーバ装置及びゲームシステム
JP5443129B2 (ja) プログラム及びネットワークシステム
JP5628488B2 (ja) プログラム、情報記憶媒体、及び、ゲーム装置
JP2023115237A (ja) ゲームシステム、プログラム及びゲーム提供方法
JP2012215934A (ja) プログラム、情報記憶媒体、端末、及びサーバ
US11992754B2 (en) Information storage medium, game device, and game system
JP2018029829A (ja) サーバシステム及びプログラム
JP3747050B1 (ja) プログラム、情報記憶媒体、及び画像生成システム
JP2017055999A (ja) ゲーム装置及びプログラム
JP2011096017A (ja) プログラム、情報記憶媒体、及び端末
JP2012252659A (ja) プログラム、情報記憶媒体、及びサーバ
US12458888B2 (en) Game system, server system, method of performing a game and method of providing information on a game
JP2011255114A (ja) プログラム、情報記憶媒体及び画像生成システム
JP4662271B2 (ja) プログラム、情報記憶媒体、及び画像生成システム
JP2005319108A (ja) プログラム、情報記憶媒体および画像生成システム
JP2008067853A (ja) プログラム、情報記憶媒体、及び画像生成システム
JP2017056000A (ja) ゲーム装置及びプログラム
JP7581452B2 (ja) ゲームシステム及びプログラム

Legal Events

Date Code Title Description
A621 Written request for application examination

Free format text: JAPANESE INTERMEDIATE CODE: A621

Effective date: 20181220

A977 Report on retrieval

Free format text: JAPANESE INTERMEDIATE CODE: A971007

Effective date: 20191016

A131 Notification of reasons for refusal

Free format text: JAPANESE INTERMEDIATE CODE: A131

Effective date: 20191112

A521 Request for written amendment filed

Free format text: JAPANESE INTERMEDIATE CODE: A523

Effective date: 20200114

TRDD Decision of grant or rejection written
A01 Written decision to grant a patent or to grant a registration (utility model)

Free format text: JAPANESE INTERMEDIATE CODE: A01

Effective date: 20200602

A61 First payment of annual fees (during grant procedure)

Free format text: JAPANESE INTERMEDIATE CODE: A61

Effective date: 20200625

R150 Certificate of patent or registration of utility model

Ref document number: 6725248

Country of ref document: JP

Free format text: JAPANESE INTERMEDIATE CODE: R150

S111 Request for change of ownership or part of ownership

Free format text: JAPANESE INTERMEDIATE CODE: R313117

R350 Written notification of registration of transfer

Free format text: JAPANESE INTERMEDIATE CODE: R350

R250 Receipt of annual fees

Free format text: JAPANESE INTERMEDIATE CODE: R250

R250 Receipt of annual fees

Free format text: JAPANESE INTERMEDIATE CODE: R250

R250 Receipt of annual fees

Free format text: JAPANESE INTERMEDIATE CODE: R250