JP2017072281A - Fluid channel restricting device and air conditioning system - Google Patents

Fluid channel restricting device and air conditioning system Download PDF

Info

Publication number
JP2017072281A
JP2017072281A JP2015198385A JP2015198385A JP2017072281A JP 2017072281 A JP2017072281 A JP 2017072281A JP 2015198385 A JP2015198385 A JP 2015198385A JP 2015198385 A JP2015198385 A JP 2015198385A JP 2017072281 A JP2017072281 A JP 2017072281A
Authority
JP
Japan
Prior art keywords
air
flow path
air conditioner
conditioning system
sheet
Prior art date
Legal status (The legal status is an assumption and is not a legal conclusion. Google has not performed a legal analysis and makes no representation as to the accuracy of the status listed.)
Pending
Application number
JP2015198385A
Other languages
Japanese (ja)
Inventor
慶明 田中
Yoshiaki Tanaka
慶明 田中
陽平 長谷川
Yohei Hasegawa
陽平 長谷川
明彦 山下
Akihiko Yamashita
明彦 山下
Current Assignee (The listed assignees may be inaccurate. Google has not performed a legal analysis and makes no representation or warranty as to the accuracy of the list.)
AIR CYCLE HOUSING CO Ltd
Original Assignee
AIR CYCLE HOUSING CO Ltd
Priority date (The priority date is an assumption and is not a legal conclusion. Google has not performed a legal analysis and makes no representation as to the accuracy of the date listed.)
Filing date
Publication date
Application filed by AIR CYCLE HOUSING CO Ltd filed Critical AIR CYCLE HOUSING CO Ltd
Priority to JP2015198385A priority Critical patent/JP2017072281A/en
Publication of JP2017072281A publication Critical patent/JP2017072281A/en
Pending legal-status Critical Current

Links

Images

Landscapes

  • Air Filters, Heat-Exchange Apparatuses, And Housings Of Air-Conditioning Units (AREA)
  • Air-Flow Control Members (AREA)

Abstract

PROBLEM TO BE SOLVED: To provide a fluid channel restricting device capable of efficiently guiding air fed out of an air conditioner to a target position and provide an air conditioning system.SOLUTION: A fluid channel restriction device 1 restricts an air flow channel at a prescribed room in a dwelling of a building so as to cause air fed out of an air conditioner 2 to flow along at least one of a ceiling 110, a wall 120 and a floor 130. The fluid channel restriction device 1 comprises: a roll screen 4; a prescribed number of fixing parts 51 so as to fix the roll screen 4; and a prescribed number of supporting parts 61 having annular parts. The roll screen 4 includes a casing 41; a sheet 42 stored in the casing 41 under a state in which it is wound around a core material not shown; a core member 45 arranged at the extremity end part of the sheet 42; a prescribed number of wires 43 arranged at the core member 45; and a hook 44 arranged at the extremity end of each of the wires 43.SELECTED DRAWING: Figure 1

Description

本発明は、流路規制装置および空調システムに関するものである。   The present invention relates to a flow path regulating device and an air conditioning system.

住宅(建築物)の所定の部屋には、エアコンの室内機が設置されている(例えば、特許文献1参照)。このエアコンの室内機は、通常、部屋の壁の鉛直方向上方に設置されている。   An indoor unit of an air conditioner is installed in a predetermined room of a house (building) (for example, see Patent Document 1). The indoor unit of this air conditioner is usually installed vertically above the wall of the room.

しかしながら、夏季において、エアコンを冷房運転し、室内を冷やす場合は、エアコンから送出された冷風が人に直接当たり、寒く感じることがある。   However, in the summer, when the air conditioner is cooled and the room is cooled, the cold air sent from the air conditioner may directly hit a person and feel cold.

また、冬季において、エアコンを暖房運転し、室内を暖める場合は、足元が寒く感じることがある。   In winter, when the air conditioner is heated and the room is warmed, the feet may feel cold.

特開2000−310437号公報JP 2000-310437 A

本発明の目的は、空調装置から送出された空気を目的の位置に効率良く導くことができる流路規制装置および空調システムを提供することにある。   An object of the present invention is to provide a flow path regulating device and an air conditioning system that can efficiently guide air sent from an air conditioning device to a target position.

このような目的は、下記(1)〜(13)の本発明により達成される。
(1) 空調装置から送出された空気が建築物の天井、壁および床のうちの少なくとも1つに沿って流れるように前記空気の流路を規制する規制部材を備えることを特徴とする流路規制装置。
Such an object is achieved by the present inventions (1) to (13) below.
(1) A flow path provided with a regulating member that regulates the flow path of the air so that air sent from the air conditioner flows along at least one of a ceiling, a wall, and a floor of the building. Regulatory device.

(2) 前記規制部材は、板状またはシート状をなす部分を有する上記(1)に記載の流路規制装置。   (2) The flow regulating device according to (1), wherein the regulating member has a plate-like or sheet-like portion.

(3) 前記規制部材は、シート状をなす部分を有し、
前記シート状をなす部分は、巻き付けられた第1の状態と、延びた第2の状態とを採り得る上記(1)に記載の流路規制装置。
(3) The restriction member has a sheet-shaped portion,
The part which makes the said sheet shape is a flow-path control apparatus as described in said (1) which can take the wound 1st state and the extended 2nd state.

(4) 前記規制部材は、複数の孔を有する上記(1)ないし(3)のいずれかに記載の流路規制装置。   (4) The flow regulating device according to any one of (1) to (3), wherein the regulating member has a plurality of holes.

(5) 前記規制部材の少なくとも一部は、光透過性を有する上記(1)ないし(4)のいずれかに記載の流路規制装置。   (5) The flow path regulating device according to any one of (1) to (4), wherein at least a part of the regulating member has light permeability.

(6) 前記空気の流路の少なくとも途中または末端部に蓄熱部を有する上記(1)ないし(5)のいずれかに記載の流路規制装置。   (6) The flow path regulating device according to any one of (1) to (5), wherein a heat storage section is provided at least in the middle or at the end of the air flow path.

(7) 前記蓄熱部は、前記規制部材に設けられている上記(6)に記載の流路規制装置。   (7) The flow path regulation device according to (6), wherein the heat storage unit is provided in the regulation member.

(8) 前記空調装置は、鉛直方向上方に配置されており、
前記規制部材は、前記空気が前記天井に沿って流れるように前記空気の流路を規制する上記(1)ないし(7)のいずれかに記載の流路規制装置。
(8) The air conditioner is arranged vertically above,
The flow restriction device according to any one of (1) to (7), wherein the restriction member restricts a flow path of the air so that the air flows along the ceiling.

(9) 前記空調装置は、鉛直方向上方に配置されており、
前記規制部材は、前記空気が前記壁に沿って流れるように前記空気の流路を規制する上記(1)ないし(7)のいずれかに記載の流路規制装置。
(9) The air conditioner is disposed vertically above,
The flow regulating device according to any one of (1) to (7), wherein the regulating member regulates the flow channel of the air so that the air flows along the wall.

(10) 前記空調装置は、鉛直方向下方に配置されており、
前記規制部材は、前記空気が前記床に沿って流れるように前記空気の流路を規制する上記(1)ないし(7)のいずれかに記載の流路規制装置。
(10) The air conditioner is disposed vertically below,
The flow restriction device according to any one of (1) to (7), wherein the restriction member restricts a flow path of the air so that the air flows along the floor.

(11) 前記空気が沿う対象物として、前記天井、前記壁および前記床のうちの少なくとも1つを選択する選択機構を有する上記(1)ないし(10)のいずれかに記載の流路規制装置。   (11) The flow path regulating device according to any one of (1) to (10), further including a selection mechanism that selects at least one of the ceiling, the wall, and the floor as the object along which the air passes. .

(12) 前記空気を送気する送気装置を有する上記(1)ないし(11)のいずれかに記載の流路規制装置。   (12) The flow path regulating device according to any one of (1) to (11), further including an air supply device that supplies the air.

(13) 上記(1)ないし(12)のいずれかに記載の流路規制装置と、
前記空調装置とを有することを特徴とする空調システム。
(13) The flow path regulating device according to any one of (1) to (12),
An air conditioning system comprising the air conditioning device.

本発明によれば、規制部材により、空調装置から送出された空気の流路が規制されるので、前記空気を目的の位置に効率良く導くことができる。   According to the present invention, since the flow path of the air sent from the air conditioner is restricted by the restriction member, the air can be efficiently guided to the target position.

例えば、夏季において、空調装置により室内を冷やす場合は、空調装置から送出された冷風を天井に沿って流すことにより、空調装置から送出された冷風が人に直接当たることを防止することができ、これにより、人に不快感を与えることを防止し、室内を心地よく冷やすことができる。   For example, in the summer, when the room is cooled by an air conditioner, the cold air sent from the air conditioner can be prevented from directly hitting a person by flowing the cold air sent from the air conditioner along the ceiling. Thereby, it is possible to prevent the person from feeling uncomfortable and cool the room comfortably.

また、冬季において、空調装置により室内を暖める場合は、空調装置から送出された温風を壁や床に沿って流すことにより、床や床の近傍を心地よく暖めることができる。   In addition, in the winter season, when the room is warmed by the air conditioner, the vicinity of the floor or the floor can be comfortably warmed by flowing warm air sent from the air conditioner along the wall or floor.

本発明の空調システムの第1実施形態を示す側面図である。It is a side view showing a 1st embodiment of an air-conditioning system of the present invention. 本発明の空調システムの第1実施形態を示す側面図である。It is a side view showing a 1st embodiment of an air-conditioning system of the present invention. 本発明の空調システムの第2実施形態を示す側面図である。It is a side view which shows 2nd Embodiment of the air conditioning system of this invention. 本発明の空調システムの第2実施形態を示す側面図である。It is a side view which shows 2nd Embodiment of the air conditioning system of this invention. 本発明の空調システムの第3実施形態を示す側面図である。It is a side view which shows 3rd Embodiment of the air conditioning system of this invention. 本発明の空調システムの第3実施形態を示す側面図である。It is a side view which shows 3rd Embodiment of the air conditioning system of this invention. 本発明の空調システムの第4実施形態を示す側面図である。It is a side view which shows 4th Embodiment of the air conditioning system of this invention. 本発明の空調システムの第4実施形態を示す側面図である。It is a side view which shows 4th Embodiment of the air conditioning system of this invention. 本発明の空調システムの第5実施形態を示す側面図である。It is a side view which shows 5th Embodiment of the air conditioning system of this invention. 本発明の空調システムの第5実施形態を示す平面図である。It is a top view which shows 5th Embodiment of the air conditioning system of this invention. 本発明の空調システムの第6実施形態を示す側面図である。It is a side view which shows 6th Embodiment of the air conditioning system of this invention. 本発明の空調システムの第6実施形態を示す平面図である。It is a top view which shows 6th Embodiment of the air conditioning system of this invention. 本発明の空調システムの第7実施形態を示す側面図である。It is a side view which shows 7th Embodiment of the air conditioning system of this invention. 本発明の空調システムの第7実施形態を示す平面図である。It is a top view which shows 7th Embodiment of the air conditioning system of this invention. 本発明の空調システムの第8実施形態を示す側面図である。It is a side view which shows 8th Embodiment of the air conditioning system of this invention. 本発明の空調システムの第9実施形態を示す側面図である。It is a side view which shows 9th Embodiment of the air conditioning system of this invention. 本発明の空調システムの第10実施形態を示す側面図である。It is a side view which shows 10th Embodiment of the air conditioning system of this invention.

以下、本発明の流路規制装置および空調システムを添付図面に示す実施形態に基づいて詳細に説明する。   DESCRIPTION OF EMBODIMENTS Hereinafter, a flow path regulating device and an air conditioning system of the present invention will be described in detail based on embodiments shown in the accompanying drawings.

<第1実施形態>
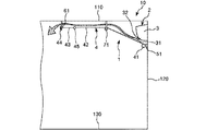
図1および図2は、それぞれ、本発明の空調システムの第1実施形態を示す側面図である。
<First Embodiment>
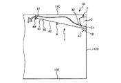
1 and 2 are side views showing a first embodiment of the air conditioning system of the present invention, respectively.

なお、以下では、説明の都合上、図1および図2中の上側を「上」または「上方」、下側を「下」または「下方」、右側を「右」、左側を「左」と言う(図3〜図9、図11、図13、図15〜図17についても同様)。また、図1および図2中の上下方向が鉛直方向である(図3〜図9、図11、図13、図15〜図17についても同様)。   In the following, for convenience of explanation, the upper side in FIGS. 1 and 2 is “upper” or “upper”, the lower side is “lower” or “lower”, the right side is “right”, and the left side is “left”. (The same applies to FIGS. 3 to 9, 11, 13, and 15 to 17). Moreover, the up-down direction in FIGS. 1 and 2 is the vertical direction (the same applies to FIGS. 3 to 9, 11, 13, and 15 to 17).

図1および図2に示すように、空調システム10は、エアコン(空調装置)2と、エアコン2から送出された空気の流路(流れ)を規制する流路規制装置1とを備えている。   As shown in FIGS. 1 and 2, the air conditioning system 10 includes an air conditioner (air conditioner) 2 and a flow path regulating device 1 that regulates a flow path (flow) of air sent from the air conditioner 2.

流路規制装置1は、建築物(建造物)としての住宅(家屋)の所定の部屋(室)において、エアコン2から送出された空気が天井110、壁120および床130のうちの少なくとも1つに沿って流れるように前記空気の流路を規制する。なお、本実施形態では、流路規制装置1は、エアコン2から送出された空気が天井110または壁120に沿って流れるように前記空気の流路を規制するように構成されている。以下、空調システム10の各部を順次説明する。   The flow path regulating device 1 is configured such that air sent from the air conditioner 2 is at least one of the ceiling 110, the wall 120, and the floor 130 in a predetermined room (room) of a house (house) as a building (building). The flow path of the air is regulated so as to flow along. In the present embodiment, the flow path regulating device 1 is configured to regulate the air flow path so that the air sent from the air conditioner 2 flows along the ceiling 110 or the wall 120. Hereinafter, each part of the air conditioning system 10 will be described sequentially.

エアコン2は、室内機(屋内機)3と、図示しない室外機(屋外機)とを備えており、室内機3は、部屋(室内)の壁120の鉛直方向上方、すなわち、天井110の近傍に設置されている。また、エアコン2は、冷暖房両用の機種であり、冷房として使用する冷房運転と、暖房として使用する暖房運転との両方を行うことができるように構成されている。なお、エアコン2としては、前記の構成(構造)のものに限定されず、例えば、室内機と室外機とに分かれていないもの、冷房専用、暖房専用等、他の種々の構成のものを用いることができる。   The air conditioner 2 includes an indoor unit (indoor unit) 3 and an outdoor unit (outdoor unit) (not shown). The indoor unit 3 is vertically above the wall 120 of the room (indoor), that is, near the ceiling 110. Is installed. The air conditioner 2 is a model for both air conditioning and heating, and is configured to perform both a cooling operation used as cooling and a heating operation used as heating. The air conditioner 2 is not limited to the one having the above-described configuration (structure). For example, air conditioners that are not divided into indoor units and outdoor units, those having various other configurations such as cooling only and heating only are used. be able to.

流路規制装置1は、ロールスクリーン(規制部材)4と、ロールスクリーン4の後述するケーシング41を取り付ける所定数の取付部51および52と、環状部を有する所定数の支持部61および62とを備えている。   The flow path regulating device 1 includes a roll screen (regulating member) 4, a predetermined number of attachment parts 51 and 52 to which a casing 41 described later of the roll screen 4 is attached, and a predetermined number of support parts 61 and 62 having an annular part. I have.

ロールスクリーン4は、ケーシング41と、ケーシング41内に図示しない芯材に巻き付けられた状態で収納されたシート(スクリーン)42と、シート42の先端部に設けられた芯材45と、芯材45に設けられた所定数の線材43と、各線材43の先端に設けられたフック44とを有している。なお、前記シート42が芯材に巻き付けられ、ケーシング41内に収納された状態が第1の状態である。   The roll screen 4 includes a casing 41, a sheet (screen) 42 accommodated in the casing 41 in a state of being wound around a core material (not shown), a core material 45 provided at the tip of the sheet 42, and a core material 45. And a hook 44 provided at the tip of each wire 43. The state in which the sheet 42 is wound around the core material and stored in the casing 41 is the first state.

シート42の寸法は、特に限定されず、諸条件に応じて適宜設定されるものであるが、シート42の幅(図1中の紙面に対して垂直な方向の長さ)は、室内機3の吹出口32の幅以上であることが好ましく、吹出口32の幅よりも長いことがより好ましい。   The dimensions of the sheet 42 are not particularly limited and are appropriately set according to various conditions. The width of the sheet 42 (the length in the direction perpendicular to the paper surface in FIG. 1) is the indoor unit 3. The width of the air outlet 32 is preferably equal to or greater than the width of the air outlet 32, and more preferably longer than the width of the air outlet 32.

このロールスクリーン4は、線材43を引っ張ると、ケーシング41からシート42が引き出され、前記引っ張る動作を停止すると、ケーシング41からシート42が引き出された状態が保持された保持状態となる。なお、前記シート42の延びた状態が第2の状態である。また、前記保持状態において、線材43を引っ張り、ケーシング41からシート42を所定長、引き出した後、線材43を放すと、シート42は、ケーシング41内に収納される。   When the wire 43 is pulled, the roll screen 4 is pulled out from the casing 41, and when the pulling operation is stopped, the state in which the sheet 42 is pulled out from the casing 41 is held. The extended state of the sheet 42 is the second state. In the holding state, when the wire 43 is pulled and the sheet 42 is pulled out from the casing 41 by a predetermined length and then the wire 43 is released, the sheet 42 is accommodated in the casing 41.

また、シート42の構成材料は、特に限定されず、例えば、各種の樹脂、紙、織布、不織布等が挙げられる。   Moreover, the constituent material of the sheet | seat 42 is not specifically limited, For example, various resin, paper, a woven fabric, a nonwoven fabric etc. are mentioned.

なお、ロールスクリーン4としては、前記の構成のものに限定されず、他の種々の構成のものを用いることができる。また、空気の流路を規制する規制部材としては、シート42(ロールスクリーン4)に限定されず、例えば、板状の部材(板)等が挙げられる。   The roll screen 4 is not limited to the one having the above-described configuration, and various other configurations can be used. Further, the regulating member that regulates the air flow path is not limited to the sheet 42 (roll screen 4), and examples thereof include a plate-like member (plate).

この流路規制装置1は、エアコン2について、冷房運転を行う場合(冷房として使用する場合)と、暖房運転を行う場合(暖房として使用する場合)とで、異なる流路を形成すること、すなわち、流路を切り替える(選択する)ことができるように構成されている。また、流路規制装置1は、さらに、ロールスクリーン4のシート42をケーシング41内に収納した第1の状態とし、他の流路を形成することも選択可能に構成されている。   The flow path regulating device 1 forms different flow paths for the air conditioner 2 when performing a cooling operation (when used as cooling) and when performing a heating operation (when used as heating), that is, The flow path can be switched (selected). The flow path regulating device 1 is further configured to be in a first state in which the sheet 42 of the roll screen 4 is housed in the casing 41 and to form another flow path.

まずは、冷房運転を行う場合について説明する。
冷房運転を行う場合は、図1に示すように、ロールスクリーン4のケーシング41は、壁120の鉛直方向上方、すなわち、エアコン2の室内機3の下方で、室内機3の近傍に設けられた取付部51に取り付けられる。これにより、ケーシング41は、室内機3の下方で、室内機3の近傍に設置される。
First, the case where the cooling operation is performed will be described.
When performing the cooling operation, as shown in FIG. 1, the casing 41 of the roll screen 4 is provided in the vicinity of the indoor unit 3 above the wall 120, that is, below the indoor unit 3 of the air conditioner 2. It is attached to the attachment part 51. Accordingly, the casing 41 is installed in the vicinity of the indoor unit 3 below the indoor unit 3.

また、支持部61は、天井110の壁120から図1中左側に所定距離離間した位置に設けられている。そして、ロールスクリーン4のケーシング41からシート42が引き出され、第2の状態で、フック44が、支持部61に引っ掛けられる。   Further, the support portion 61 is provided at a position spaced a predetermined distance from the wall 120 of the ceiling 110 on the left side in FIG. And the sheet | seat 42 is pulled out from the casing 41 of the roll screen 4, and the hook 44 is hooked on the support part 61 in a 2nd state.

このようにして、室内機3の下方の位置と、壁120から図1中左側に所定距離離間した位置との間に、天井110に沿って、かつ、天井110から所定距離離間するようにシート42が配置される。   In this way, the seat is located along the ceiling 110 and at a predetermined distance from the ceiling 110 between a position below the indoor unit 3 and a position spaced a predetermined distance from the wall 120 on the left side in FIG. 42 is arranged.

夏季においては、このように流路規制装置1を設置し、エアコン2を作動させる。また、エアコン2のルーバー31は、上側に向ける。   In the summer, the flow path restriction device 1 is installed in this way and the air conditioner 2 is operated. Further, the louver 31 of the air conditioner 2 is directed upward.

エアコン2の吹出口32から送出された冷風(空気)は、シート42により案内され、天井110に沿って、図1中左側に流れ、シート42の左側の端部から放出される。これにより、エアコン2から送出された冷風が人に直接当たることを防止することができ、室内を心地よく冷やすことができる。   Cold air (air) sent from the air outlet 32 of the air conditioner 2 is guided by the seat 42, flows to the left side in FIG. 1 along the ceiling 110, and is discharged from the left end portion of the seat 42. Thereby, it can prevent that the cold wind sent from the air conditioner 2 hits a person directly, and can cool the room comfortably.

次には、暖房運転を行う場合について説明する。
暖房運転を行う場合は、図2に示すように、ロールスクリーン4のケーシング41は、天井110のエアコン2の室内機3の左側で、室内機3の近傍に設けられた取付部52に取り付けられる。これにより、ケーシング41は、室内機3の左側で、室内機3の近傍に設置される。
Next, the case where a heating operation is performed will be described.
When performing the heating operation, as shown in FIG. 2, the casing 41 of the roll screen 4 is attached to a mounting portion 52 provided in the vicinity of the indoor unit 3 on the left side of the indoor unit 3 of the air conditioner 2 on the ceiling 110. . Thus, the casing 41 is installed in the vicinity of the indoor unit 3 on the left side of the indoor unit 3.

また、支持部62は、床130の壁120から図2中左側に所定距離離間した位置、すなわち、取付部52の鉛直方向の直下の位置に設けられている。そして、ロールスクリーン4のケーシング41からシート42が引き出され、第2の状態で、フック44が、支持部62に引っ掛けられる。   Further, the support part 62 is provided at a position spaced a predetermined distance from the wall 120 of the floor 130 on the left side in FIG. 2, that is, a position directly below the mounting part 52 in the vertical direction. And the sheet | seat 42 is pulled out from the casing 41 of the roll screen 4, and the hook 44 is hooked on the support part 62 in a 2nd state.

このようにして、室内機3の左側の位置と、その位置の鉛直方向の直下の床130の近傍の位置との間に、壁120に沿って、かつ、壁120から所定距離離間するようにシート42が配置される。   In this way, between the position on the left side of the indoor unit 3 and the position in the vicinity of the floor 130 immediately below the position in the vertical direction, along the wall 120 and at a predetermined distance from the wall 120. A sheet 42 is disposed.

冬季においては、このように流路規制装置1を設置し、エアコン2を作動させる。また、エアコン2のルーバー31は、下側に向ける。   In winter, the flow path regulating device 1 is installed in this way and the air conditioner 2 is operated. Further, the louver 31 of the air conditioner 2 is directed downward.

エアコン2の吹出口32から送出された温風(空気)は、シート42により案内され、壁120に沿って、図2中下側に流れ、シート42の下側の端部から放出される。これにより、床130や床130の近傍を心地よく暖めることができる。   Warm air (air) delivered from the air outlet 32 of the air conditioner 2 is guided by the sheet 42, flows downward along the wall 120 in FIG. 2, and is discharged from the lower end of the sheet 42. Thereby, the floor 130 and the vicinity of the floor 130 can be comfortably warmed.

ここで、例えば、取付部51、52、支持部61および62は、それぞれ、事前に設置しておく。そして、エアコン2の冷房運転を行う場合と暖房運転を行う場合とで、ロールスクリーン4の取付位置を変更する。これにより、容易に、規制する空気の流路の切り替えを行うことができる。   Here, for example, the attachment parts 51 and 52 and the support parts 61 and 62 are installed in advance, respectively. And the attachment position of the roll screen 4 is changed with the case where the cooling operation of the air-conditioner 2 is performed, and the case where the heating operation is performed. Thereby, switching of the flow path of the air to regulate can be performed easily.

なお、取付部51、52、支持部61および62により、エアコン2から送出された空気が沿う対象物として、天井110、壁120および床130のうちの少なくとも1つを選択する選択機構の主要部が構成される。
また、シート42の構成例として、下記の構成1および2が挙げられる。
The main part of the selection mechanism that selects at least one of the ceiling 110, the wall 120, and the floor 130 as an object along which the air sent from the air conditioner 2 is aligned by the mounting parts 51 and 52 and the support parts 61 and 62. Is configured.
In addition, examples of the configuration of the sheet 42 include the following configurations 1 and 2.

(構成1)
シート42は、複数の孔を有している。この孔は、貫通孔であり、通気可能で、かつ光を透過し得るものである。
(Configuration 1)
The sheet 42 has a plurality of holes. This hole is a through-hole, can be ventilated, and can transmit light.

これにより、シート42により案内される空気の一部を、前記孔から放出させることができる。   Thereby, a part of the air guided by the sheet 42 can be discharged from the hole.

また、エアコン2のリモコン操作において、赤外線や光をエアコン2に送信することが可能である。   In addition, infrared or light can be transmitted to the air conditioner 2 in the remote control operation of the air conditioner 2.

(構成2)
シート42の一部または全部が、光透過性を有している。
(Configuration 2)
Part or all of the sheet 42 is light transmissive.

これにより、エアコン2のリモコン操作において、赤外線や光をエアコン2に送信することが可能である。
なお、前記構成1および構成2の両方であってもよい。
Thereby, infrared rays and light can be transmitted to the air conditioner 2 in remote control operation of the air conditioner 2.
In addition, both the said structure 1 and the structure 2 may be sufficient.

以上説明したように、この空調システム10によれば、冷房運転を行う場合は、エアコン2から送出された冷風が人に直接当たることを防止することができ、これにより、人に不快感を与えることを防止し、室内を心地よく冷やすことができる。また、暖房運転を行う場合は、床130や床130の近傍を心地よく暖めることができる。   As described above, according to the air conditioning system 10, when performing the cooling operation, it is possible to prevent the cold air sent from the air conditioner 2 from directly hitting a person, thereby making the person uncomfortable. It is possible to cool the room comfortably. Moreover, when performing heating operation, the floor 130 and the vicinity of the floor 130 can be warmed comfortably.

また、ロールスクリーン4によりエアコン2の室内機3を隠すことができ、これにより、室内の美観を向上させることができる。   Moreover, the indoor unit 3 of the air conditioner 2 can be concealed by the roll screen 4, thereby improving the aesthetics of the room.

<第2実施形態>
図3および図4は、それぞれ、本発明の空調システムの第2実施形態を示す側面図である。
Second Embodiment
3 and 4 are side views showing a second embodiment of the air conditioning system of the present invention, respectively.

以下、第2実施形態について説明するが、前述した第1実施形態との相違点を中心に説明し、同様の事項はその説明を省略する。   Hereinafter, although the second embodiment will be described, the description will focus on the differences from the first embodiment described above, and the description of the same matters will be omitted.

第2実施形態の空調システム10では、流路規制装置1は、エアコン2から送出された空気を送気するファン(送気装置)81、82および83を有し、また、前記空気の流路の途中に蓄熱部(蓄熱体)91および92を有している。なお、蓄熱部91および92は、それぞれ、流路の途中に限らず、例えば、流路の末端部に配置されていてもよく、また、流路の全体に配置されていてもよい。以下、冷房運転を行う場合と、暖房運転を行う場合とに分けて説明する。   In the air conditioning system 10 of 2nd Embodiment, the flow-path control apparatus 1 has the fan (air supply apparatus) 81, 82, and 83 which supplies the air sent out from the air conditioner 2, and also the flow path of the said air Are provided with heat storage portions (heat storage bodies) 91 and 92. In addition, each of the heat storage units 91 and 92 is not limited to the middle of the flow path, and may be disposed, for example, at the end of the flow path or may be disposed in the entire flow path. Hereinafter, a case where the cooling operation is performed and a case where the heating operation is performed will be described separately.

図3に示すように、冷房運転用に設置された流路規制装置1は、天井110に設置されたファン81および蓄熱部91を有している。   As shown in FIG. 3, the flow path restriction device 1 installed for cooling operation has a fan 81 and a heat storage unit 91 installed on the ceiling 110.

ファン81は、エアコン2から送出された冷風を、天井110に沿って、図3中の右側から左側に流すように配置されている。ファン81の位置は特に限定されないが、ファン81は、図示の構成では、シート42の図3中の左右方向の途中に配置されている。このファン81により、エアコン2から送出された冷風は、天井110に沿って、左側に円滑に流れる。   The fan 81 is arranged so that the cool air sent from the air conditioner 2 flows along the ceiling 110 from the right side to the left side in FIG. The position of the fan 81 is not particularly limited, but the fan 81 is arranged in the middle of the seat 42 in the left-right direction in FIG. 3 in the illustrated configuration. The fan 81 causes the cool air sent from the air conditioner 2 to flow smoothly to the left along the ceiling 110.

また、蓄熱部91は、図示の構成では、シート42の図3中の左側の端部の左側に配置されている。   Moreover, the heat storage part 91 is arrange | positioned at the left side of the edge part of the left side in FIG.

蓄熱部91は、潜熱蓄熱材(潜熱蓄熱体)を有しており、例えば、容器と、容器内に収納された潜熱蓄熱材とで構成することができる。   The heat storage unit 91 includes a latent heat storage material (latent heat storage body), and can be configured of, for example, a container and a latent heat storage material housed in the container.

また、潜熱蓄熱材としては、特に限定されないが、例えば、塩化カルシウム水和物、硫酸ナトリウム水和物、チオ硫酸ナトリウム水和物、酢酸ナトリウム水和物のような無機水和物(無機水和塩)、C1838、C2042、C2246のようなパラフィン、エリスリトール(エリトリトール)のような糖アルコール等が挙げられる。 In addition, the latent heat storage material is not particularly limited. For example, inorganic hydrates such as calcium chloride hydrate, sodium sulfate hydrate, sodium thiosulfate hydrate, sodium acetate hydrate (inorganic hydration). Salt), paraffin such as C 18 H 38 , C 20 H 42 , C 22 H 46 , sugar alcohol such as erythritol (erythritol), and the like.

エアコン2が作動しているときは、エアコン2から送出された冷風により蓄熱部91が冷却される。そして、エアコン2を停止すると、その蓄熱部91により室内の熱が吸熱され、これによって、室内を冷やすことができる。   When the air conditioner 2 is operating, the heat storage unit 91 is cooled by the cold air sent from the air conditioner 2. Then, when the air conditioner 2 is stopped, the heat stored in the room is absorbed by the heat storage unit 91, thereby cooling the room.

また、図4に示すように、暖房運転用に設置された流路規制装置1は、壁120に設置されたファン82と、床130に設置された蓄熱部92およびファン83とを有している。   As shown in FIG. 4, the flow path restriction device 1 installed for heating operation includes a fan 82 installed on the wall 120, and a heat storage unit 92 and a fan 83 installed on the floor 130. Yes.

ファン82は、エアコン2から送出された温風を、壁120に沿って、図4中の上側から下側に流すように配置されている。ファン82の位置は特に限定されないが、ファン82は、図示の構成では、シート42の図4中の上下方向の途中に配置されている。このファン82により、エアコン2から送出された温風は、壁120に沿って、下方に円滑に流れる。   The fan 82 is arranged so that the warm air sent from the air conditioner 2 flows along the wall 120 from the upper side to the lower side in FIG. The position of the fan 82 is not particularly limited, but the fan 82 is disposed in the middle of the seat 42 in the vertical direction in FIG. 4 in the illustrated configuration. The fan 82 causes the warm air sent from the air conditioner 2 to flow smoothly downward along the wall 120.

また、ファン83は、エアコン2から送出された温風を、床130に沿って、図4中の右側から左側に流すように配置されている。ファン83の位置は特に限定されないが、ファン83は、図示の構成では、壁120の近傍に配置されている。このファン83により、エアコン2から送出され、壁120に沿って流れる温風は、ファン83の方に引き込まれ、床130に沿って、左側に円滑に流れる。   Moreover, the fan 83 is arrange | positioned so that the warm air sent out from the air conditioner 2 may flow along the floor 130 from the right side in FIG. The position of the fan 83 is not particularly limited, but the fan 83 is disposed in the vicinity of the wall 120 in the illustrated configuration. The warm air sent from the air conditioner 2 and flowing along the wall 120 by the fan 83 is drawn toward the fan 83 and smoothly flows to the left along the floor 130.

また、蓄熱部92は、図示の構成では、シート42の図4中の左側の端部の左側に配置されている。蓄熱部92としては、前記蓄熱部91と同様の構成のものを用いることができる。   Moreover, the heat storage part 92 is arrange | positioned on the left side of the edge part of the left side in FIG. As the heat storage part 92, the thing of the structure similar to the said heat storage part 91 can be used.

エアコン2が作動しているときは、エアコン2から送出された温風により蓄熱部92が暖められる。そして、エアコン2を停止すると、その蓄熱部92から熱が放熱され、これによって、室内を暖めることができる。   When the air conditioner 2 is operating, the heat storage unit 92 is warmed by the warm air sent from the air conditioner 2. Then, when the air conditioner 2 is stopped, heat is radiated from the heat storage unit 92, thereby warming the room.

以上のような第2実施形態によっても、前述した第1実施形態と同様の効果を発揮することができる。   According to the second embodiment as described above, the same effect as that of the first embodiment described above can be exhibited.

なお、ファン82とファン83とのいずれか一方を省略してもよい。
また、第2実施形態は、第3実施形態以降の各実施形態にも適用することができる。
Note that either one of the fan 82 and the fan 83 may be omitted.
The second embodiment can also be applied to the third and subsequent embodiments.

<第3実施形態>
図5および図6は、それぞれ、本発明の空調システムの第3実施形態を示す側面図である。
<Third Embodiment>
5 and 6 are side views showing a third embodiment of the air conditioning system of the present invention, respectively.

以下、第3実施形態について説明するが、前述した第1実施形態との相違点を中心に説明し、同様の事項はその説明を省略する。   In the following, the third embodiment will be described. The description will focus on the differences from the first embodiment described above, and the description of the same matters will be omitted.

図5および図6に示すように、第3実施形態の空調システム10では、流路規制装置1は、ロールスクリーン4のシート42をガイドするガイドローラー(ガイド部)71および72を有している。以下、冷房運転を行う場合と、暖房運転を行う場合とに分けて説明する。   As shown in FIGS. 5 and 6, in the air conditioning system 10 of the third embodiment, the flow path restriction device 1 has guide rollers (guide portions) 71 and 72 that guide the sheet 42 of the roll screen 4. . Hereinafter, a case where the cooling operation is performed and a case where the heating operation is performed will be described separately.

図5に示すように、冷房運転用に設置された流路規制装置1は、天井110に設置され、シート42をガイドするガイドローラー71を有している。   As shown in FIG. 5, the flow path restriction device 1 installed for cooling operation has a guide roller 71 that is installed on the ceiling 110 and guides the sheet 42.

また、図6に示すように、暖房運転用に設置された流路規制装置1は、壁120に設置され、シート42をガイドするガイドローラー72を有している。   Further, as shown in FIG. 6, the flow path restriction device 1 installed for heating operation has a guide roller 72 that is installed on the wall 120 and guides the sheet 42.

ロールスクリーン4を設置する場合は、このガイドローラー71によりシート42がガイドされ、容易に、その設置作業を行うことができる。また、シート42の各部の位置をより正確に位置決めすることができる。   When the roll screen 4 is installed, the sheet 42 is guided by the guide roller 71, and the installation work can be easily performed. Moreover, the position of each part of the sheet | seat 42 can be positioned more correctly.

以上のような第3実施形態によっても、前述した第1実施形態と同様の効果を発揮することができる。
なお、第3実施形態は、第4実施形態以降の各実施形態にも適用することができる。
According to the third embodiment as described above, the same effects as those of the first embodiment described above can be exhibited.
Note that the third embodiment can also be applied to the fourth and subsequent embodiments.

<第4実施形態>
図7および図8は、それぞれ、本発明の空調システムの第4実施形態を示す側面図である。
<Fourth embodiment>
7 and 8 are side views showing a fourth embodiment of the air conditioning system of the present invention, respectively.

以下、第4実施形態について説明するが、前述した第1実施形態との相違点を中心に説明し、同様の事項はその説明を省略する。   Hereinafter, although the fourth embodiment will be described, the description will focus on the differences from the first embodiment described above, and the description of the same matters will be omitted.

図7および図8に示すように、第4実施形態の空調システム10では、流路規制装置1は、2つのロールスクリーン4と、所定数の取付部51、52、53および54と、環状部を有する所定数の支持部61、62、63および64とを備えている。以下、冷房運転を行う場合と、暖房運転を行う場合とに分けて説明する。   As shown in FIGS. 7 and 8, in the air conditioning system 10 of the fourth embodiment, the flow path restriction device 1 includes two roll screens 4, a predetermined number of attachment portions 51, 52, 53 and 54, and an annular portion. And a predetermined number of support portions 61, 62, 63 and 64. Hereinafter, a case where the cooling operation is performed and a case where the heating operation is performed will be described separately.

図7に示すように、冷房運転用に設置された流路規制装置1は、2つのロールスクリーン4と、ロールスクリーン4のケーシング41を取り付ける所定数の取付部51および53と、所定数の支持部61および63とを備えている。   As shown in FIG. 7, the flow path restriction device 1 installed for cooling operation includes two roll screens 4, a predetermined number of mounting portions 51 and 53 for mounting a casing 41 of the roll screen 4, and a predetermined number of supports. Parts 61 and 63.

一方のロールスクリーン4のケーシング41は、壁120の鉛直方向上方、すなわち、エアコン2の室内機3の下方で、室内機3の近傍に設けられた取付部51に取り付けられる。これにより、ケーシング41は、室内機3の下方で、室内機3の近傍に設置される。   The casing 41 of one roll screen 4 is attached to a mounting portion 51 provided in the vicinity of the indoor unit 3 above the wall 120 in the vertical direction, that is, below the indoor unit 3 of the air conditioner 2. Accordingly, the casing 41 is installed in the vicinity of the indoor unit 3 below the indoor unit 3.

また、支持部61は、天井110の壁120から図7中左側に所定距離離間した位置に設けられている。そして、ロールスクリーン4のケーシング41からシート42が引き出され、第2の状態で、フック44が、支持部61に引っ掛けられる。   Moreover, the support part 61 is provided in the position spaced apart from the wall 120 of the ceiling 110 on the left side in FIG. And the sheet | seat 42 is pulled out from the casing 41 of the roll screen 4, and the hook 44 is hooked on the support part 61 in a 2nd state.

このようにして、室内機3の下方の位置と、壁120から図7中左側に所定距離離間した位置との間に、天井110に沿って、シート42が配置される。   In this way, the seat 42 is disposed along the ceiling 110 between a position below the indoor unit 3 and a position spaced a predetermined distance from the wall 120 on the left side in FIG.

また、他方のロールスクリーン4のケーシング41は、天井110の支持部61の近傍に設けられた取付部53に取り付けられる。   Further, the casing 41 of the other roll screen 4 is attached to an attachment portion 53 provided in the vicinity of the support portion 61 of the ceiling 110.

また、支持部63は、天井110の取付部53から図7中左側に所定距離離間した位置に設けられている。そして、ロールスクリーン4のケーシング41からシート42が引き出され、第2の状態で、フック44が、支持部63に引っ掛けられる。   Moreover, the support part 63 is provided in the position spaced apart from the attachment part 53 of the ceiling 110 on the left side in FIG. And the sheet | seat 42 is pulled out from the casing 41 of the roll screen 4, and the hook 44 is hooked on the support part 63 in a 2nd state.

また、図8に示すように、暖房運転用に設置された流路規制装置1は、2つのロールスクリーン4と、ロールスクリーン4のケーシング41を取り付ける所定数の取付部52および54と、所定数の支持部62および64とを備えている。   As shown in FIG. 8, the flow path restriction device 1 installed for heating operation includes two roll screens 4, a predetermined number of mounting portions 52 and 54 for mounting the casing 41 of the roll screen 4, and a predetermined number. The support portions 62 and 64 are provided.

一方のロールスクリーン4のケーシング41は、天井110のエアコン2の室内機3の左側で、室内機3の近傍に設けられた取付部52に取り付けられる。これにより、ケーシング41は、室内機3の左側で、室内機3の近傍に設置される。   The casing 41 of one roll screen 4 is attached to a mounting portion 52 provided near the indoor unit 3 on the left side of the indoor unit 3 of the air conditioner 2 on the ceiling 110. Thus, the casing 41 is installed in the vicinity of the indoor unit 3 on the left side of the indoor unit 3.

また、支持部62は、壁120の天井110から図8中下側に所定距離離間した位置に設けられている。そして、ロールスクリーン4のケーシング41からシート42が引き出され、第2の状態で、フック44が、支持部62に引っ掛けられる。   Moreover, the support part 62 is provided in the position spaced apart from the ceiling 110 of the wall 120 to the lower side in FIG. And the sheet | seat 42 is pulled out from the casing 41 of the roll screen 4, and the hook 44 is hooked on the support part 62 in a 2nd state.

また、他方のロールスクリーン4のケーシング41は、壁120の支持部62の近傍に設けられた取付部54に取り付けられる。   The casing 41 of the other roll screen 4 is attached to an attachment portion 54 provided in the vicinity of the support portion 62 of the wall 120.

また、支持部64は、床130の壁120から図8中左側に所定距離離間した位置、すなわち、取付部54の鉛直方向の直下の位置に設けられている。そして、ロールスクリーン4のケーシング41からシート42が引き出され、第2の状態で、フック44が、支持部64に引っ掛けられる。   Further, the support portion 64 is provided at a position separated from the wall 120 of the floor 130 by a predetermined distance on the left side in FIG. 8, that is, at a position directly below the mounting portion 54 in the vertical direction. And the sheet | seat 42 is pulled out from the casing 41 of the roll screen 4, and the hook 44 is hooked on the support part 64 in a 2nd state.

以上のような第4実施形態によっても、前述した第1実施形態と同様の効果を発揮することができる。
また、本実施形態では、流路の形状の設計の自由度を向上させることができる。
According to the fourth embodiment as described above, the same effects as those of the first embodiment described above can be exhibited.
Moreover, in this embodiment, the freedom degree of design of the shape of a flow path can be improved.

なお、本実施形態では、ロールスクリーン4の数は、2つであるが、これに限らず、3つ以上でもよい。
また、第4実施形態は、第5実施形態以降の各実施形態にも適用することができる。
In the present embodiment, the number of roll screens 4 is two, but is not limited to this, and may be three or more.
The fourth embodiment can also be applied to each of the fifth and subsequent embodiments.

<第5実施形態>
図9は、本発明の空調システムの第5実施形態を示す側面図である。図10は、本発明の空調システムの第5実施形態を示す平面図である。
<Fifth Embodiment>
FIG. 9 is a side view showing a fifth embodiment of the air conditioning system of the present invention. FIG. 10 is a plan view showing a fifth embodiment of the air conditioning system of the present invention.

以下、第5実施形態について説明するが、前述した第1実施形態との相違点を中心に説明し、同様の事項はその説明を省略する。   Hereinafter, the fifth embodiment will be described. The description will focus on the differences from the first embodiment described above, and the description of the same matters will be omitted.

第5実施形態の空調システム10は、冷房運転を行う場合の構成である。
図9および図10に示すように、流路規制装置1は、板(規制部材)121および122と、板121を回動可能(変位可能)に支持する支持部131と、板122を取り付ける取付部141、142、143および144とを備えている。
The air conditioning system 10 of 5th Embodiment is a structure in the case of performing air_conditionaing | cooling operation.
As shown in FIGS. 9 and 10, the flow path regulating device 1 includes plates (regulating members) 121 and 122, a support portion 131 that supports the plate 121 so as to be rotatable (displaceable), and an attachment for attaching the plate 122. Parts 141, 142, 143, and 144.

板121は、壁120のエアコン2の室内機3の下方で、室内機3の近傍に設けられた支持部131により回動可能に支持されている。また、板122は、室内機3の図9中左側において、天井110に設けられた取付部141〜144に固定されている。   The plate 121 is rotatably supported by a support part 131 provided in the vicinity of the indoor unit 3 below the indoor unit 3 of the air conditioner 2 on the wall 120. Moreover, the board 122 is being fixed to the attaching parts 141-144 provided in the ceiling 110 in the left side in FIG.

また、板121は、回動することにより、図9中の実線で示す第1の姿勢と、二点鎖線で示す第2の姿勢とを採り得るように構成されている。なお、流路規制装置1は、板121を第1の姿勢に保持する図示しない保持機構を有している。   Further, the plate 121 is configured to be able to adopt a first posture indicated by a solid line in FIG. 9 and a second posture indicated by a two-dot chain line by rotating. The flow path regulating device 1 has a holding mechanism (not shown) that holds the plate 121 in the first posture.

また、板121および板122には、それぞれ、第2実施形態で述べた蓄熱部を設けることが好ましい。   Moreover, it is preferable to provide the thermal storage part described in 2nd Embodiment in the board 121 and the board 122, respectively.

冷房運転を行う場合は、板121は、前記第1の姿勢に設定される。そして、エアコン2の吹出口32から送出された冷風は、板121および122により案内され、天井110に沿って、図9中左側に流れ、板122の図9中の左側の端部から放出されるとともに、板122の側方、すなわち、図10中の左側および右側からも放出される。   When performing the cooling operation, the plate 121 is set to the first posture. Then, the cool air sent from the air outlet 32 of the air conditioner 2 is guided by the plates 121 and 122, flows along the ceiling 110 to the left side in FIG. 9, and is discharged from the left end of the plate 122 in FIG. At the same time, it is discharged from the side of the plate 122, that is, from the left side and the right side in FIG.

また、室内機3の清掃やメンテナンス等を行う場合は、板121を回動させ、前記第2の姿勢にする。   When cleaning or maintenance of the indoor unit 3 is performed, the plate 121 is rotated to the second posture.

以上のような第5実施形態によっても、前述した第1実施形態と同様の効果を発揮することができる。   According to the fifth embodiment as described above, the same effect as that of the first embodiment described above can be exhibited.

<第6実施形態>
図11は、本発明の空調システムの第6実施形態を示す側面図である。図12は、本発明の空調システムの第6実施形態を示す平面図である。
<Sixth Embodiment>
FIG. 11 is a side view showing a sixth embodiment of the air conditioning system of the present invention. FIG. 12 is a plan view showing a sixth embodiment of the air conditioning system of the present invention.

以下、第6実施形態について説明するが、前述した第5実施形態との相違点を中心に説明し、同様の事項はその説明を省略する。   Hereinafter, the sixth embodiment will be described. The description will focus on the differences from the above-described fifth embodiment, and the description of the same matters will be omitted.

図11および図12に示すように、第6実施形態の空調システム10では、流路規制装置1の板122は、図11中左側の端部に、鉛直方向上側に突出した壁板部1221を有している。壁板部1221の上端部は、天井110に接触している。   As shown in FIGS. 11 and 12, in the air conditioning system 10 of the sixth embodiment, the plate 122 of the flow path regulating device 1 has a wall plate portion 1221 protruding upward in the vertical direction at the left end in FIG. Have. The upper end portion of the wall plate portion 1221 is in contact with the ceiling 110.

これにより、エアコン2の吹出口32から送出された冷風が、板122の図11中左側の端部から放出されることが阻止される。   This prevents the cool air sent from the air outlet 32 of the air conditioner 2 from being released from the left end of the plate 122 in FIG.

以上のような第6実施形態によっても、前述した第5実施形態と同様の効果を発揮することができる。   According to the sixth embodiment as described above, the same effect as that of the fifth embodiment described above can be exhibited.

<第7実施形態>
図13は、本発明の空調システムの第7実施形態を示す側面図である。図14は、本発明の空調システムの第7実施形態を示す平面図である。
<Seventh embodiment>
FIG. 13 is a side view showing a seventh embodiment of the air conditioning system of the present invention. FIG. 14 is a plan view showing a seventh embodiment of the air conditioning system of the present invention.

以下、第7実施形態について説明するが、前述した第5実施形態との相違点を中心に説明し、同様の事項はその説明を省略する。   Hereinafter, although the seventh embodiment will be described, the description will focus on differences from the above-described fifth embodiment, and description of similar matters will be omitted.

図13および図14に示すように、第7実施形態の空調システム10では、流路規制装置1の板122は、一方の側部、すなわち、図14中左側の端部に、鉛直方向上側に突出した壁板部1222を有し、他方の側部、すなわち、図14中右側の端部に、鉛直方向上側に突出した壁板部1223を有している。壁板部1222および1223の上端部は、それぞれ、天井110に接触している。   As shown in FIGS. 13 and 14, in the air conditioning system 10 of the seventh embodiment, the plate 122 of the flow path regulating device 1 is on one side, that is, on the left end in FIG. It has a protruding wall plate part 1222, and has a wall plate part 1223 protruding upward in the vertical direction on the other side, that is, on the right end in FIG. The upper end portions of the wall plate portions 1222 and 1223 are in contact with the ceiling 110, respectively.

これにより、エアコン2の吹出口32から送出された冷風が、板122の図14中左側の端部および右側の端部から放出されることが阻止される。   Accordingly, the cool air sent from the air outlet 32 of the air conditioner 2 is prevented from being discharged from the left end and the right end of the plate 122 in FIG.

以上のような第7実施形態によっても、前述した第1実施形態と同様の効果を発揮することができる。   According to the seventh embodiment as described above, the same effect as that of the first embodiment described above can be exhibited.

<第8実施形態>
図15は、本発明の空調システムの第8実施形態を示す側面図である。
<Eighth Embodiment>
FIG. 15 is a side view showing an eighth embodiment of the air conditioning system of the present invention.

以下、第8実施形態について説明するが、前述した第1実施形態および第2実施形態との相違点を中心に説明し、同様の事項はその説明を省略する。   Hereinafter, although the eighth embodiment will be described, the description will focus on the differences from the first embodiment and the second embodiment described above, and the description of the same matters will be omitted.

第8実施形態の空調システム10は、暖房運転を行う場合の構成である。
図15に示すように、エアコン2の室内機3は、壁120の鉛直方向下方、すなわち、床130の近傍に設置されている。
The air conditioning system 10 of 8th Embodiment is a structure in the case of performing heating operation.
As shown in FIG. 15, the indoor unit 3 of the air conditioner 2 is installed vertically below the wall 120, that is, near the floor 130.

また、流路規制装置1は、板(規制部材)151、152および153と、板152を板151に対して回動可能に支持する支持部161と、エアコン2から送出された空気を送気するファン(送気装置)84とを備えている。   Further, the flow path restriction device 1 supplies plates (restricting members) 151, 152, and 153, a support portion 161 that rotatably supports the plate 152 with respect to the plate 151, and air sent from the air conditioner 2. Fan (air supply device) 84.

板151は、壁120のエアコン2の室内機3の上方で、室内機3の近傍に固定されている。また、板152は、支持部161により板151に回動可能に支持されている。また、板153は、室内機3の図15中左側の床130の上方に、床130から所定距離離間するように設置されている。   The plate 151 is fixed near the indoor unit 3 above the indoor unit 3 of the air conditioner 2 on the wall 120. Further, the plate 152 is rotatably supported on the plate 151 by the support portion 161. In addition, the plate 153 is installed above the floor 130 on the left side of the indoor unit 3 in FIG. 15 so as to be separated from the floor 130 by a predetermined distance.

また、板153は、室内機3の図15中左側の床130の全面を覆うように配置されている。このため、板153は、事実上、床として機能する。なお、板153は、前記床130の全面に限らず、例えば、一部を覆うように配置されていてもよい。   Further, the plate 153 is arranged so as to cover the entire surface of the floor 130 on the left side of the indoor unit 3 in FIG. For this reason, the plate 153 effectively functions as a floor. The plate 153 is not limited to the entire surface of the floor 130, and may be disposed so as to partially cover the floor 153, for example.

また、板152は、回動することにより、図15中の実線で示す第1の姿勢と、二点鎖線で示す第2の姿勢とを採り得るように構成されている。   Further, the plate 152 is configured to be able to adopt a first posture indicated by a solid line in FIG. 15 and a second posture indicated by a two-dot chain line by rotating.

また、板151〜153には、それぞれ、第2実施形態で述べた蓄熱部を設けることが好ましい。   Moreover, it is preferable to provide the thermal storage part described in 2nd Embodiment in the plates 151-153, respectively.

また、ファン84は、エアコン2から送出された温風を、床130に沿って、図15中の右側から左側に流すように配置されている。ファン84の位置は特に限定されないが、ファン84は、図示の構成では、室内機3から図15中左側に所定距離離間した位置に配置されている。このファン84により、エアコン2から送出された温風は、床130に沿って、左側に円滑に流れる。   Moreover, the fan 84 is arrange | positioned so that the warm air sent out from the air conditioner 2 may flow along the floor 130 from the right side in FIG. Although the position of the fan 84 is not particularly limited, in the illustrated configuration, the fan 84 is disposed at a position spaced apart from the indoor unit 3 by a predetermined distance on the left side in FIG. The fan 84 causes the warm air sent from the air conditioner 2 to flow smoothly to the left along the floor 130.

暖房運転を行う場合は、板152は、前記第1の姿勢に設定される。そして、エアコン2の吹出口32から送出された温風は、板151〜153により案内され、床130に沿って、図15中左側に流れる。   When performing the heating operation, the plate 152 is set to the first posture. And the warm air sent from the blower outlet 32 of the air conditioner 2 is guided by the plates 151 to 153 and flows along the floor 130 to the left side in FIG.

また、室内機3の清掃やメンテナンス等を行う場合は、板152を回動させ、前記第2の姿勢にする。   When cleaning or maintenance of the indoor unit 3 is performed, the plate 152 is rotated to the second posture.

以上のような第8実施形態によっても、前述した第1実施形態と同様の効果を発揮することができる。   Also according to the eighth embodiment as described above, the same effects as those of the first embodiment described above can be exhibited.

なお、室内機3の1対の側面に対向するように(図15の紙面の表側および裏側に)、図示しない1対の板が設けられていてもよい。この1対の板は、板151および第1の姿勢のときの板152の側方(図15の紙面の表側および裏側)に配置され、前記1対の板と、板151と、第1の姿勢のときの板152とで、室内機3の上方、前方および両方の側方を囲む。この場合は、板151と、板152と、前記1対の板とのうちの少なくとも1つの板に、給気口が設けられる。   A pair of plates (not shown) may be provided so as to face the pair of side surfaces of the indoor unit 3 (on the front side and the back side of the paper surface of FIG. 15). The pair of plates are arranged on the side of the plate 151 and the plate 152 in the first posture (the front side and the back side of the paper surface of FIG. 15), and the pair of plates, the plate 151, and the first plate The board 152 in the posture surrounds the upper side, the front side, and both sides of the indoor unit 3. In this case, an air supply port is provided in at least one of the plate 151, the plate 152, and the pair of plates.

<第9実施形態>
図16は、本発明の空調システムの第9実施形態を示す側面図である。
<Ninth Embodiment>
FIG. 16 is a side view showing a ninth embodiment of the air conditioning system of the present invention.

以下、第9実施形態について説明するが、前述した第8実施形態との相違点を中心に説明し、同様の事項はその説明を省略する。   Hereinafter, the ninth embodiment will be described. The description will focus on differences from the above-described eighth embodiment, and description of similar matters will be omitted.

図16に示すように、第9実施形態の空調システム10では、板152は、支持部161により板153に回動可能に支持されている。   As shown in FIG. 16, in the air conditioning system 10 of the ninth embodiment, the plate 152 is rotatably supported on the plate 153 by the support portion 161.

以上のような第9実施形態によっても、前述した第8実施形態と同様の効果を発揮することができる。   Also in the ninth embodiment as described above, the same effect as in the eighth embodiment described above can be exhibited.

<第10実施形態>
図17は、本発明の空調システムの第10実施形態を示す側面図である。
<Tenth Embodiment>
FIG. 17 is a side view showing a tenth embodiment of the air conditioning system of the present invention.

以下、第10実施形態について説明するが、前述した第1実施形態および第5実施形態との相違点を中心に説明し、同様の事項はその説明を省略する。   Hereinafter, the tenth embodiment will be described, but the description will focus on the differences from the first embodiment and the fifth embodiment described above, and the description of the same matters will be omitted.

第10実施形態の空調システム10は、暖房運転を行う場合の構成である。
図17に示すように、流路規制装置1は、板(規制部材)121および122と、板121を回動可能(変位可能)に支持する支持部131と、板122を取り付ける取付部141および142を含む4つの取付部(残りの2つは、取付部141および142の裏側に位置している)とを備えている。
The air conditioning system 10 of 10th Embodiment is a structure in the case of performing heating operation.
As shown in FIG. 17, the flow path regulating device 1 includes plates (regulating members) 121 and 122, a support portion 131 that supports the plate 121 so as to be rotatable (displaceable), a mounting portion 141 that attaches the plate 122, and 142 (including the other two are located behind the mounting portions 141 and 142).

板121は、天井110のエアコン2の室内機3の左側で、室内機3の近傍に設けられた支持部131により回動可能に支持されている。また、板122は、室内機3の図17中下側において、壁120に設けられた取付部141および142を含む4つの取付部に固定されている。   The plate 121 is rotatably supported by a support part 131 provided near the indoor unit 3 on the left side of the indoor unit 3 of the air conditioner 2 on the ceiling 110. Further, the plate 122 is fixed to four attachment portions including attachment portions 141 and 142 provided on the wall 120 on the lower side in FIG. 17 of the indoor unit 3.

また、板121は、回動することにより、図17中の実線で示す第1の姿勢と、二点鎖線で示す第2の姿勢とを採り得るように構成されている。なお、流路規制装置1は、板121を第1の姿勢に保持する図示しない保持機構を有している。   Further, the plate 121 is configured to be able to adopt a first posture indicated by a solid line in FIG. 17 and a second posture indicated by a two-dot chain line by rotating. The flow path regulating device 1 has a holding mechanism (not shown) that holds the plate 121 in the first posture.

また、板121および板122には、それぞれ、第2実施形態で述べた蓄熱部を設けることが好ましい。   Moreover, it is preferable to provide the thermal storage part described in 2nd Embodiment in the board 121 and the board 122, respectively.

暖房運転を行う場合は、板121は、前記第1の姿勢に設定される。そして、エアコン2の吹出口32から送出された温風は、板121および122により案内され、壁120に沿って、図17中下側に流れ、板122の図17中の下側の端部から放出されるとともに、板122の側方からも放出される。   When performing the heating operation, the plate 121 is set to the first posture. And the warm air sent out from the blower outlet 32 of the air conditioner 2 is guided by the plates 121 and 122, flows along the wall 120 to the lower side in FIG. And is also released from the side of the plate 122.

また、室内機3の清掃やメンテナンス等を行う場合は、板121を回動させ、前記第2の姿勢にする。   When cleaning or maintenance of the indoor unit 3 is performed, the plate 121 is rotated to the second posture.

以上のような第10実施形態によっても、前述した第1実施形態と同様の効果を発揮することができる。   Also according to the tenth embodiment as described above, the same effects as those of the first embodiment described above can be exhibited.

以上、本発明の流路規制装置および空調システムを図示の実施形態に基づいて説明したが、本発明は、これに限定されるものではなく、各部は、同様の機能を発揮し得る任意の構成のものと置換することができる。また、任意の構成物が付加されていてもよい。   As mentioned above, although the flow-path control apparatus and air-conditioning system of this invention were demonstrated based on embodiment of illustration, this invention is not limited to this, Each part can show the arbitrary functions which can exhibit the same function. Can be substituted. Moreover, arbitrary components may be added.

また、本発明は、前記各実施形態のうちの、任意の2以上の構成(特徴)を組み合わせたものであってもよい。   Further, the present invention may be a combination of any two or more configurations (features) of the above embodiments.

なお、本発明では、建築物(建造物)は、住宅に限定されるものではなく、例えば、ビル等の他の建築物であってもよい。   In addition, in this invention, a building (building) is not limited to a house, For example, other buildings, such as a building, may be sufficient.

1 流路規制装置
10 空調システム
2 エアコン
3 室内機
31 ルーバー
32 吹出口
4 ロールスクリーン
41 ケーシング
42 シート
43 線材
44 フック
45 芯材
51〜54 取付部
61〜64 支持部
71、72 ガイドローラー
81〜84 ファン
91、92 蓄熱部
121、122 板
1221〜1223 壁板部
131 支持部
141〜144 取付部
151〜153 板
161 支持部
110 天井
120 壁
130 床
DESCRIPTION OF SYMBOLS 1 Flow path control apparatus 10 Air conditioning system 2 Air conditioner 3 Indoor unit 31 Louver 32 Outlet 4 Roll screen 41 Casing 42 Sheet 43 Wire 44 Hook 45 Core material 51-54 Attachment part 61-64 Support part 71, 72 Guide roller 81-84 Fan 91, 92 Heat storage unit 121, 122 Plate 1221-1223 Wall plate 131 Support unit 141-144 Mounting unit 151-153 Plate 161 Support unit 110 Ceiling 120 Wall 130 Floor

Claims (13)

空調装置から送出された空気が建築物の天井、壁および床のうちの少なくとも1つに沿って流れるように前記空気の流路を規制する規制部材を備えることを特徴とする流路規制装置。   A flow path regulating device comprising a regulating member that regulates the air flow path so that air sent from an air conditioner flows along at least one of a ceiling, a wall, and a floor of a building. 前記規制部材は、板状またはシート状をなす部分を有する請求項1に記載の流路規制装置。   The flow regulating device according to claim 1, wherein the regulating member has a plate-like or sheet-like portion. 前記規制部材は、シート状をなす部分を有し、
前記シート状をなす部分は、巻き付けられた第1の状態と、延びた第2の状態とを採り得る請求項1に記載の流路規制装置。
The regulating member has a sheet-shaped part,
The flow path regulating device according to claim 1, wherein the sheet-shaped portion can take a wound first state and an extended second state.
前記規制部材は、複数の孔を有する請求項1ないし3のいずれか1項に記載の流路規制装置。   The flow path regulating device according to claim 1, wherein the regulating member has a plurality of holes. 前記規制部材の少なくとも一部は、光透過性を有する請求項1ないし4のいずれか1項に記載の流路規制装置。   5. The flow path regulating device according to claim 1, wherein at least a part of the regulating member has light permeability. 前記空気の流路の少なくとも途中または末端部に蓄熱部を有する請求項1ないし5のいずれか1項に記載の流路規制装置。   The flow path regulating device according to claim 1, further comprising a heat storage section at least in the middle or at the end of the air flow path. 前記蓄熱部は、前記規制部材に設けられている請求項6に記載の流路規制装置。   The flow path regulating device according to claim 6, wherein the heat storage unit is provided on the regulating member. 前記空調装置は、鉛直方向上方に配置されており、
前記規制部材は、前記空気が前記天井に沿って流れるように前記空気の流路を規制する請求項1ないし7のいずれか1項に記載の流路規制装置。
The air conditioner is arranged vertically above,
The flow restricting device according to claim 1, wherein the restricting member restricts a flow path of the air so that the air flows along the ceiling.
前記空調装置は、鉛直方向上方に配置されており、
前記規制部材は、前記空気が前記壁に沿って流れるように前記空気の流路を規制する請求項1ないし7のいずれか1項に記載の流路規制装置。
The air conditioner is arranged vertically above,
The flow restricting device according to claim 1, wherein the restricting member restricts a flow path of the air so that the air flows along the wall.
前記空調装置は、鉛直方向下方に配置されており、
前記規制部材は、前記空気が前記床に沿って流れるように前記空気の流路を規制する請求項1ないし7のいずれか1項に記載の流路規制装置。
The air conditioner is arranged vertically downward,
The flow regulating device according to any one of claims 1 to 7, wherein the regulating member regulates a flow channel of the air so that the air flows along the floor.
前記空気が沿う対象物として、前記天井、前記壁および前記床のうちの少なくとも1つを選択する選択機構を有する請求項1ないし10のいずれか1項に記載の流路規制装置。   11. The flow path regulating device according to claim 1, further comprising a selection mechanism that selects at least one of the ceiling, the wall, and the floor as the object along which the air passes. 前記空気を送気する送気装置を有する請求項1ないし11のいずれか1項に記載の流路規制装置。   The flow path restriction device according to claim 1, further comprising an air supply device that supplies the air. 請求項1ないし12のいずれか1項に記載の流路規制装置と、
前記空調装置とを有することを特徴とする空調システム。
A flow path regulating device according to any one of claims 1 to 12,
An air conditioning system comprising the air conditioning device.
JP2015198385A 2015-10-06 2015-10-06 Fluid channel restricting device and air conditioning system Pending JP2017072281A (en)

Priority Applications (1)

Application Number Priority Date Filing Date Title
JP2015198385A JP2017072281A (en) 2015-10-06 2015-10-06 Fluid channel restricting device and air conditioning system

Applications Claiming Priority (1)

Application Number Priority Date Filing Date Title
JP2015198385A JP2017072281A (en) 2015-10-06 2015-10-06 Fluid channel restricting device and air conditioning system

Publications (1)

Publication Number Publication Date
JP2017072281A true JP2017072281A (en) 2017-04-13

Family

ID=58537189

Family Applications (1)

Application Number Title Priority Date Filing Date
JP2015198385A Pending JP2017072281A (en) 2015-10-06 2015-10-06 Fluid channel restricting device and air conditioning system

Country Status (1)

Country Link
JP (1) JP2017072281A (en)

Cited By (3)

* Cited by examiner, † Cited by third party
Publication number Priority date Publication date Assignee Title
JP2020143816A (en) * 2019-03-05 2020-09-10 ダイキン工業株式会社 Partition structure of air conditioner test room
CN109654693B (en) * 2018-12-29 2021-01-29 青岛海尔空调器有限总公司 Control method and device for direct-blowing-preventing air conditioner, storage medium and computer equipment
CN115682119A (en) * 2021-07-26 2023-02-03 云米互联科技(广东)有限公司 Air outlet control method

Cited By (3)

* Cited by examiner, † Cited by third party
Publication number Priority date Publication date Assignee Title
CN109654693B (en) * 2018-12-29 2021-01-29 青岛海尔空调器有限总公司 Control method and device for direct-blowing-preventing air conditioner, storage medium and computer equipment
JP2020143816A (en) * 2019-03-05 2020-09-10 ダイキン工業株式会社 Partition structure of air conditioner test room
CN115682119A (en) * 2021-07-26 2023-02-03 云米互联科技(广东)有限公司 Air outlet control method

Similar Documents

Publication Publication Date Title
JP2008304096A (en) Air conditioning system
JP6231441B2 (en) Radiant air conditioning system
JP6512658B2 (en) Radiant air conditioning system
JP2016196974A (en) Radiation air-conditioning system
JP2017072281A (en) Fluid channel restricting device and air conditioning system
JP6288427B2 (en) Large space cooling system
JP5913151B2 (en) Air conditioning and ventilation system
JP4648462B2 (en) Ventilation air conditioning system and unit building
JP6208194B2 (en) Air conditioning ventilation system
JP6825900B2 (en) Air conditioning system
CN103883059B (en) Hidden dress functional module Integral ceiling
WO2018037471A1 (en) Radiation panel and air conditioning system
US20090124188A1 (en) Personal distribution terminal
JP7015645B2 (en) Air conditioning system
JP2016205719A (en) Desk with air conditioner
JP6825875B2 (en) Air conditioning system
JP3715015B2 (en) Membrane ceiling panel and ceiling air conditioner
JP6221134B2 (en) Air conditioning equipment
WO2015063578A1 (en) Climate ceiling
JP4698204B2 (en) Indoor air conditioning system for buildings
JP7043717B2 (en) Air conditioning system
JP4774271B2 (en) Underfloor heating system
KR101429572B1 (en) Grill for air conditioner of cooling-heating or for ventilation
JP7391423B1 (en) Radiant air conditioner and radiant air conditioning system
JP6789330B2 (en) Radiant air conditioning system