JP2017039677A - ダニ用忌避剤及びダニの忌避方法 - Google Patents
ダニ用忌避剤及びダニの忌避方法 Download PDFInfo
- Publication number
- JP2017039677A JP2017039677A JP2015163489A JP2015163489A JP2017039677A JP 2017039677 A JP2017039677 A JP 2017039677A JP 2015163489 A JP2015163489 A JP 2015163489A JP 2015163489 A JP2015163489 A JP 2015163489A JP 2017039677 A JP2017039677 A JP 2017039677A
- Authority
- JP
- Japan
- Prior art keywords
- repellent
- distillate
- genus
- mites
- plant belonging
- Prior art date
- Legal status (The legal status is an assumption and is not a legal conclusion. Google has not performed a legal analysis and makes no representation as to the accuracy of the status listed.)
- Granted
Links
- 230000002940 repellent Effects 0.000 title claims abstract description 84
- 239000005871 repellent Substances 0.000 title claims abstract description 84
- 238000000034 method Methods 0.000 title claims description 17
- 230000001846 repelling effect Effects 0.000 title claims description 13
- 241000196324 Embryophyta Species 0.000 claims abstract description 26
- 239000004480 active ingredient Substances 0.000 claims abstract description 17
- 239000000284 extract Substances 0.000 claims abstract description 14
- 241000218641 Pinaceae Species 0.000 claims abstract description 6
- 235000011613 Pinus brutia Nutrition 0.000 claims abstract description 6
- 241000238876 Acari Species 0.000 claims description 37
- 238000004821 distillation Methods 0.000 claims description 25
- 238000010438 heat treatment Methods 0.000 claims description 21
- 230000005068 transpiration Effects 0.000 claims description 12
- 238000005507 spraying Methods 0.000 claims description 7
- 238000003958 fumigation Methods 0.000 claims description 4
- 230000000694 effects Effects 0.000 abstract description 14
- 239000007788 liquid Substances 0.000 abstract description 14
- 241000218642 Abies Species 0.000 abstract 1
- 239000000341 volatile oil Substances 0.000 description 23
- 239000003795 chemical substances by application Substances 0.000 description 20
- LFQSCWFLJHTTHZ-UHFFFAOYSA-N Ethanol Chemical compound CCO LFQSCWFLJHTTHZ-UHFFFAOYSA-N 0.000 description 17
- -1 for example Substances 0.000 description 17
- 238000012360 testing method Methods 0.000 description 16
- 238000004519 manufacturing process Methods 0.000 description 14
- 239000002609 medium Substances 0.000 description 13
- 239000002904 solvent Substances 0.000 description 13
- XLYOFNOQVPJJNP-UHFFFAOYSA-N water Substances O XLYOFNOQVPJJNP-UHFFFAOYSA-N 0.000 description 12
- LYCAIKOWRPUZTN-UHFFFAOYSA-N Ethylene glycol Chemical compound OCCO LYCAIKOWRPUZTN-UHFFFAOYSA-N 0.000 description 11
- 239000000123 paper Substances 0.000 description 10
- DNIAPMSPPWPWGF-UHFFFAOYSA-N Propylene glycol Chemical compound CC(O)CO DNIAPMSPPWPWGF-UHFFFAOYSA-N 0.000 description 9
- 239000000203 mixture Substances 0.000 description 9
- 239000000443 aerosol Substances 0.000 description 8
- 239000002994 raw material Substances 0.000 description 8
- 239000007787 solid Substances 0.000 description 8
- KFZMGEQAYNKOFK-UHFFFAOYSA-N Isopropanol Chemical compound CC(C)O KFZMGEQAYNKOFK-UHFFFAOYSA-N 0.000 description 7
- LRHPLDYGYMQRHN-UHFFFAOYSA-N N-Butanol Chemical compound CCCCO LRHPLDYGYMQRHN-UHFFFAOYSA-N 0.000 description 7
- 150000001875 compounds Chemical class 0.000 description 7
- CSCPPACGZOOCGX-UHFFFAOYSA-N Acetone Chemical compound CC(C)=O CSCPPACGZOOCGX-UHFFFAOYSA-N 0.000 description 6
- RTZKZFJDLAIYFH-UHFFFAOYSA-N Diethyl ether Chemical compound CCOCC RTZKZFJDLAIYFH-UHFFFAOYSA-N 0.000 description 6
- OKKJLVBELUTLKV-UHFFFAOYSA-N Methanol Chemical compound OC OKKJLVBELUTLKV-UHFFFAOYSA-N 0.000 description 6
- 239000004033 plastic Substances 0.000 description 6
- 229920003023 plastic Polymers 0.000 description 6
- 241000607479 Yersinia pestis Species 0.000 description 5
- 238000009472 formulation Methods 0.000 description 5
- 239000002674 ointment Substances 0.000 description 5
- BDERNNFJNOPAEC-UHFFFAOYSA-N propan-1-ol Chemical compound CCCO BDERNNFJNOPAEC-UHFFFAOYSA-N 0.000 description 5
- 239000007921 spray Substances 0.000 description 5
- 238000001256 steam distillation Methods 0.000 description 5
- 238000003860 storage Methods 0.000 description 5
- 239000000126 substance Substances 0.000 description 5
- 241000218645 Cedrus Species 0.000 description 4
- 238000009835 boiling Methods 0.000 description 4
- 239000003814 drug Substances 0.000 description 4
- 238000001704 evaporation Methods 0.000 description 4
- 235000011389 fruit/vegetable juice Nutrition 0.000 description 4
- 239000007789 gas Substances 0.000 description 4
- 239000000499 gel Substances 0.000 description 4
- 239000011521 glass Substances 0.000 description 4
- QWTDNUCVQCZILF-UHFFFAOYSA-N isopentane Chemical compound CCC(C)C QWTDNUCVQCZILF-UHFFFAOYSA-N 0.000 description 4
- 239000003921 oil Substances 0.000 description 4
- 235000019198 oils Nutrition 0.000 description 4
- 239000002728 pyrethroid Substances 0.000 description 4
- 238000003756 stirring Methods 0.000 description 4
- 239000004094 surface-active agent Substances 0.000 description 4
- QTBSBXVTEAMEQO-UHFFFAOYSA-N Acetic acid Chemical compound CC(O)=O QTBSBXVTEAMEQO-UHFFFAOYSA-N 0.000 description 3
- IJGRMHOSHXDMSA-UHFFFAOYSA-N Atomic nitrogen Chemical compound N#N IJGRMHOSHXDMSA-UHFFFAOYSA-N 0.000 description 3
- WVDDGKGOMKODPV-UHFFFAOYSA-N Benzyl alcohol Chemical compound OCC1=CC=CC=C1 WVDDGKGOMKODPV-UHFFFAOYSA-N 0.000 description 3
- XEKOWRVHYACXOJ-UHFFFAOYSA-N Ethyl acetate Chemical compound CCOC(C)=O XEKOWRVHYACXOJ-UHFFFAOYSA-N 0.000 description 3
- 239000004743 Polypropylene Substances 0.000 description 3
- VYPSYNLAJGMNEJ-UHFFFAOYSA-N Silicium dioxide Chemical compound O=[Si]=O VYPSYNLAJGMNEJ-UHFFFAOYSA-N 0.000 description 3
- 238000009395 breeding Methods 0.000 description 3
- 230000001488 breeding effect Effects 0.000 description 3
- BTANRVKWQNVYAZ-UHFFFAOYSA-N butan-2-ol Chemical compound CCC(C)O BTANRVKWQNVYAZ-UHFFFAOYSA-N 0.000 description 3
- 238000007796 conventional method Methods 0.000 description 3
- 238000001816 cooling Methods 0.000 description 3
- 229910001873 dinitrogen Inorganic materials 0.000 description 3
- 238000012423 maintenance Methods 0.000 description 3
- VLKZOEOYAKHREP-UHFFFAOYSA-N n-Hexane Chemical compound CCCCCC VLKZOEOYAKHREP-UHFFFAOYSA-N 0.000 description 3
- 239000008188 pellet Substances 0.000 description 3
- 229920001155 polypropylene Polymers 0.000 description 3
- 239000003380 propellant Substances 0.000 description 3
- 238000005292 vacuum distillation Methods 0.000 description 3
- AGMMRUPNXPWLGF-AATRIKPKSA-N (2,3,5,6-tetrafluoro-4-methylphenyl)methyl 2,2-dimethyl-3-[(e)-prop-1-enyl]cyclopropane-1-carboxylate Chemical compound CC1(C)C(/C=C/C)C1C(=O)OCC1=C(F)C(F)=C(C)C(F)=C1F AGMMRUPNXPWLGF-AATRIKPKSA-N 0.000 description 2
- KBPLFHHGFOOTCA-UHFFFAOYSA-N 1-Octanol Chemical compound CCCCCCCCO KBPLFHHGFOOTCA-UHFFFAOYSA-N 0.000 description 2
- BBMCTIGTTCKYKF-UHFFFAOYSA-N 1-heptanol Chemical compound CCCCCCCO BBMCTIGTTCKYKF-UHFFFAOYSA-N 0.000 description 2
- 235000004507 Abies alba Nutrition 0.000 description 2
- 244000101408 Abies amabilis Species 0.000 description 2
- 235000014081 Abies amabilis Nutrition 0.000 description 2
- 235000017894 Abies grandis Nutrition 0.000 description 2
- XKRFYHLGVUSROY-UHFFFAOYSA-N Argon Chemical compound [Ar] XKRFYHLGVUSROY-UHFFFAOYSA-N 0.000 description 2
- 239000004156 Azodicarbonamide Substances 0.000 description 2
- OKTJSMMVPCPJKN-UHFFFAOYSA-N Carbon Chemical compound [C] OKTJSMMVPCPJKN-UHFFFAOYSA-N 0.000 description 2
- CURLTUGMZLYLDI-UHFFFAOYSA-N Carbon dioxide Chemical compound O=C=O CURLTUGMZLYLDI-UHFFFAOYSA-N 0.000 description 2
- HEDRZPFGACZZDS-UHFFFAOYSA-N Chloroform Chemical compound ClC(Cl)Cl HEDRZPFGACZZDS-UHFFFAOYSA-N 0.000 description 2
- NIQCNGHVCWTJSM-UHFFFAOYSA-N Dimethyl phthalate Chemical compound COC(=O)C1=CC=CC=C1C(=O)OC NIQCNGHVCWTJSM-UHFFFAOYSA-N 0.000 description 2
- PEDCQBHIVMGVHV-UHFFFAOYSA-N Glycerine Chemical compound OCC(O)CO PEDCQBHIVMGVHV-UHFFFAOYSA-N 0.000 description 2
- MMOXZBCLCQITDF-UHFFFAOYSA-N N,N-diethyl-m-toluamide Chemical compound CCN(CC)C(=O)C1=CC=CC(C)=C1 MMOXZBCLCQITDF-UHFFFAOYSA-N 0.000 description 2
- AMQJEAYHLZJPGS-UHFFFAOYSA-N N-Pentanol Chemical compound CCCCCO AMQJEAYHLZJPGS-UHFFFAOYSA-N 0.000 description 2
- 241000282373 Panthera pardus Species 0.000 description 2
- 239000004698 Polyethylene Substances 0.000 description 2
- FAPWRFPIFSIZLT-UHFFFAOYSA-M Sodium chloride Chemical class [Na+].[Cl-] FAPWRFPIFSIZLT-UHFFFAOYSA-M 0.000 description 2
- 241000736892 Thujopsis dolabrata Species 0.000 description 2
- 241000611866 Tyrophagus putrescentiae Species 0.000 description 2
- XXROGKLTLUQVRX-UHFFFAOYSA-N allyl alcohol Chemical compound OCC=C XXROGKLTLUQVRX-UHFFFAOYSA-N 0.000 description 2
- XOZUGNYVDXMRKW-AATRIKPKSA-N azodicarbonamide Chemical compound NC(=O)\N=N\C(N)=O XOZUGNYVDXMRKW-AATRIKPKSA-N 0.000 description 2
- 235000019399 azodicarbonamide Nutrition 0.000 description 2
- 238000007664 blowing Methods 0.000 description 2
- 239000001913 cellulose Substances 0.000 description 2
- 229920002678 cellulose Polymers 0.000 description 2
- 235000010980 cellulose Nutrition 0.000 description 2
- NEHNMFOYXAPHSD-UHFFFAOYSA-N citronellal Chemical compound O=CCC(C)CCC=C(C)C NEHNMFOYXAPHSD-UHFFFAOYSA-N 0.000 description 2
- MWKFXSUHUHTGQN-UHFFFAOYSA-N decan-1-ol Chemical compound CCCCCCCCCCO MWKFXSUHUHTGQN-UHFFFAOYSA-N 0.000 description 2
- VAROLYSFQDGFMV-UHFFFAOYSA-K di(octanoyloxy)alumanyl octanoate Chemical compound [Al+3].CCCCCCCC([O-])=O.CCCCCCCC([O-])=O.CCCCCCCC([O-])=O VAROLYSFQDGFMV-UHFFFAOYSA-K 0.000 description 2
- DOIRQSBPFJWKBE-UHFFFAOYSA-N dibutyl phthalate Chemical compound CCCCOC(=O)C1=CC=CC=C1C(=O)OCCCC DOIRQSBPFJWKBE-UHFFFAOYSA-N 0.000 description 2
- MTHSVFCYNBDYFN-UHFFFAOYSA-N diethylene glycol Chemical compound OCCOCCO MTHSVFCYNBDYFN-UHFFFAOYSA-N 0.000 description 2
- AFABGHUZZDYHJO-UHFFFAOYSA-N dimethyl butane Natural products CCCC(C)C AFABGHUZZDYHJO-UHFFFAOYSA-N 0.000 description 2
- 229940079593 drug Drugs 0.000 description 2
- RRAFCDWBNXTKKO-UHFFFAOYSA-N eugenol Chemical compound COC1=CC(CC=C)=CC=C1O RRAFCDWBNXTKKO-UHFFFAOYSA-N 0.000 description 2
- 238000000605 extraction Methods 0.000 description 2
- 239000004088 foaming agent Substances 0.000 description 2
- 238000009920 food preservation Methods 0.000 description 2
- 239000003205 fragrance Substances 0.000 description 2
- 239000002316 fumigant Substances 0.000 description 2
- 230000012447 hatching Effects 0.000 description 2
- ZSIAUFGUXNUGDI-UHFFFAOYSA-N hexan-1-ol Chemical compound CCCCCCO ZSIAUFGUXNUGDI-UHFFFAOYSA-N 0.000 description 2
- 239000011261 inert gas Substances 0.000 description 2
- 239000004615 ingredient Substances 0.000 description 2
- 230000000749 insecticidal effect Effects 0.000 description 2
- 238000009434 installation Methods 0.000 description 2
- ZXEKIIBDNHEJCQ-UHFFFAOYSA-N isobutanol Chemical compound CC(C)CO ZXEKIIBDNHEJCQ-UHFFFAOYSA-N 0.000 description 2
- XMGQYMWWDOXHJM-UHFFFAOYSA-N limonene Chemical compound CC(=C)C1CCC(C)=CC1 XMGQYMWWDOXHJM-UHFFFAOYSA-N 0.000 description 2
- CDOSHBSSFJOMGT-UHFFFAOYSA-N linalool Chemical compound CC(C)=CCCC(C)(O)C=C CDOSHBSSFJOMGT-UHFFFAOYSA-N 0.000 description 2
- 229910052751 metal Inorganic materials 0.000 description 2
- 239000002184 metal Substances 0.000 description 2
- ZWRUINPWMLAQRD-UHFFFAOYSA-N nonan-1-ol Chemical compound CCCCCCCCCO ZWRUINPWMLAQRD-UHFFFAOYSA-N 0.000 description 2
- 230000035699 permeability Effects 0.000 description 2
- 229920000573 polyethylene Polymers 0.000 description 2
- 238000013138 pruning Methods 0.000 description 2
- 230000001105 regulatory effect Effects 0.000 description 2
- 239000011347 resin Substances 0.000 description 2
- 229920005989 resin Polymers 0.000 description 2
- 239000000454 talc Substances 0.000 description 2
- 229910052623 talc Inorganic materials 0.000 description 2
- 239000002023 wood Substances 0.000 description 2
- NOOLISFMXDJSKH-UTLUCORTSA-N (+)-Neomenthol Chemical compound CC(C)[C@@H]1CC[C@@H](C)C[C@@H]1O NOOLISFMXDJSKH-UTLUCORTSA-N 0.000 description 1
- ZCVAOQKBXKSDMS-AQYZNVCMSA-N (+)-trans-allethrin Chemical compound CC1(C)[C@H](C=C(C)C)[C@H]1C(=O)OC1C(C)=C(CC=C)C(=O)C1 ZCVAOQKBXKSDMS-AQYZNVCMSA-N 0.000 description 1
- WTARULDDTDQWMU-RKDXNWHRSA-N (+)-β-pinene Chemical compound C1[C@H]2C(C)(C)[C@@H]1CCC2=C WTARULDDTDQWMU-RKDXNWHRSA-N 0.000 description 1
- WTARULDDTDQWMU-IUCAKERBSA-N (-)-Nopinene Natural products C1[C@@H]2C(C)(C)[C@H]1CCC2=C WTARULDDTDQWMU-IUCAKERBSA-N 0.000 description 1
- SBNFWQZLDJGRLK-RTWAWAEBSA-N (1R)-trans-phenothrin Chemical compound CC1(C)[C@H](C=C(C)C)[C@H]1C(=O)OCC1=CC=CC(OC=2C=CC=CC=2)=C1 SBNFWQZLDJGRLK-RTWAWAEBSA-N 0.000 description 1
- FMZUHGYZWYNSOA-VVBFYGJXSA-N (1r)-1-[(4r,4ar,8as)-2,6-diphenyl-4,4a,8,8a-tetrahydro-[1,3]dioxino[5,4-d][1,3]dioxin-4-yl]ethane-1,2-diol Chemical compound C([C@@H]1OC(O[C@@H]([C@@H]1O1)[C@H](O)CO)C=2C=CC=CC=2)OC1C1=CC=CC=C1 FMZUHGYZWYNSOA-VVBFYGJXSA-N 0.000 description 1
- 239000001490 (3R)-3,7-dimethylocta-1,6-dien-3-ol Substances 0.000 description 1
- WRIDQFICGBMAFQ-UHFFFAOYSA-N (E)-8-Octadecenoic acid Natural products CCCCCCCCCC=CCCCCCCC(O)=O WRIDQFICGBMAFQ-UHFFFAOYSA-N 0.000 description 1
- CDOSHBSSFJOMGT-JTQLQIEISA-N (R)-linalool Natural products CC(C)=CCC[C@@](C)(O)C=C CDOSHBSSFJOMGT-JTQLQIEISA-N 0.000 description 1
- RYHBNJHYFVUHQT-UHFFFAOYSA-N 1,4-Dioxane Chemical compound C1COCCO1 RYHBNJHYFVUHQT-UHFFFAOYSA-N 0.000 description 1
- OCJBOOLMMGQPQU-UHFFFAOYSA-N 1,4-dichlorobenzene Chemical compound ClC1=CC=C(Cl)C=C1 OCJBOOLMMGQPQU-UHFFFAOYSA-N 0.000 description 1
- PQUXFUBNSYCQAL-UHFFFAOYSA-N 1-(2,3-difluorophenyl)ethanone Chemical compound CC(=O)C1=CC=CC(F)=C1F PQUXFUBNSYCQAL-UHFFFAOYSA-N 0.000 description 1
- RRQYJINTUHWNHW-UHFFFAOYSA-N 1-ethoxy-2-(2-ethoxyethoxy)ethane Chemical compound CCOCCOCCOCC RRQYJINTUHWNHW-UHFFFAOYSA-N 0.000 description 1
- ARXJGSRGQADJSQ-UHFFFAOYSA-N 1-methoxypropan-2-ol Chemical compound COCC(C)O ARXJGSRGQADJSQ-UHFFFAOYSA-N 0.000 description 1
- IXPNQXFRVYWDDI-UHFFFAOYSA-N 1-methyl-2,4-dioxo-1,3-diazinane-5-carboximidamide Chemical class CN1CC(C(N)=N)C(=O)NC1=O IXPNQXFRVYWDDI-UHFFFAOYSA-N 0.000 description 1
- FMTFEIJHMMQUJI-NJAFHUGGSA-N 102130-98-3 Natural products CC=CCC1=C(C)[C@H](CC1=O)OC(=O)[C@@H]1[C@@H](C=C(C)C)C1(C)C FMTFEIJHMMQUJI-NJAFHUGGSA-N 0.000 description 1
- RWLALWYNXFYRGW-UHFFFAOYSA-N 2-Ethyl-1,3-hexanediol Chemical compound CCCC(O)C(CC)CO RWLALWYNXFYRGW-UHFFFAOYSA-N 0.000 description 1
- XNWFRZJHXBZDAG-UHFFFAOYSA-N 2-METHOXYETHANOL Chemical compound COCCO XNWFRZJHXBZDAG-UHFFFAOYSA-N 0.000 description 1
- QCDWFXQBSFUVSP-UHFFFAOYSA-N 2-phenoxyethanol Chemical compound OCCOC1=CC=CC=C1 QCDWFXQBSFUVSP-UHFFFAOYSA-N 0.000 description 1
- LQJBNNIYVWPHFW-UHFFFAOYSA-N 20:1omega9c fatty acid Natural products CCCCCCCCCCC=CCCCCCCCC(O)=O LQJBNNIYVWPHFW-UHFFFAOYSA-N 0.000 description 1
- MFKRHJVUCZRDTF-UHFFFAOYSA-N 3-methoxy-3-methylbutan-1-ol Chemical compound COC(C)(C)CCO MFKRHJVUCZRDTF-UHFFFAOYSA-N 0.000 description 1
- QSBYPNXLFMSGKH-UHFFFAOYSA-N 9-Heptadecensaeure Natural products CCCCCCCC=CCCCCCCCC(O)=O QSBYPNXLFMSGKH-UHFFFAOYSA-N 0.000 description 1
- RZVAJINKPMORJF-UHFFFAOYSA-N Acetaminophen Chemical compound CC(=O)NC1=CC=C(O)C=C1 RZVAJINKPMORJF-UHFFFAOYSA-N 0.000 description 1
- 229920001817 Agar Chemical class 0.000 description 1
- 241000239290 Araneae Species 0.000 description 1
- NPBVQXIMTZKSBA-UHFFFAOYSA-N Chavibetol Natural products COC1=CC=C(CC=C)C=C1O NPBVQXIMTZKSBA-UHFFFAOYSA-N 0.000 description 1
- WTEVQBCEXWBHNA-UHFFFAOYSA-N Citral Natural products CC(C)=CCCC(C)=CC=O WTEVQBCEXWBHNA-UHFFFAOYSA-N 0.000 description 1
- 229920000742 Cotton Polymers 0.000 description 1
- NOOLISFMXDJSKH-UHFFFAOYSA-N DL-menthol Natural products CC(C)C1CCC(C)CC1O NOOLISFMXDJSKH-UHFFFAOYSA-N 0.000 description 1
- YUXIBTJKHLUKBD-UHFFFAOYSA-N Dibutyl succinate Chemical compound CCCCOC(=O)CCC(=O)OCCCC YUXIBTJKHLUKBD-UHFFFAOYSA-N 0.000 description 1
- 239000005770 Eugenol Substances 0.000 description 1
- 108010010803 Gelatin Chemical class 0.000 description 1
- 229920002148 Gellan gum Chemical class 0.000 description 1
- 229920002907 Guar gum Chemical class 0.000 description 1
- 241000238631 Hexapoda Species 0.000 description 1
- 229920001202 Inulin Polymers 0.000 description 1
- 240000008415 Lactuca sativa Species 0.000 description 1
- 229920000161 Locust bean gum Chemical class 0.000 description 1
- 239000005949 Malathion Substances 0.000 description 1
- 239000005642 Oleic acid Substances 0.000 description 1
- ZQPPMHVWECSIRJ-UHFFFAOYSA-N Oleic acid Natural products CCCCCCCCC=CCCCCCCCC(O)=O ZQPPMHVWECSIRJ-UHFFFAOYSA-N 0.000 description 1
- 241000934036 Oribatida Species 0.000 description 1
- OAICVXFJPJFONN-UHFFFAOYSA-N Phosphorus Chemical compound [P] OAICVXFJPJFONN-UHFFFAOYSA-N 0.000 description 1
- 235000008331 Pinus X rigitaeda Nutrition 0.000 description 1
- 241000018646 Pinus brutia Species 0.000 description 1
- UVMRYBDEERADNV-UHFFFAOYSA-N Pseudoeugenol Natural products COC1=CC(C(C)=C)=CC=C1O UVMRYBDEERADNV-UHFFFAOYSA-N 0.000 description 1
- WTARULDDTDQWMU-UHFFFAOYSA-N Pseudopinene Natural products C1C2C(C)(C)C1CCC2=C WTARULDDTDQWMU-UHFFFAOYSA-N 0.000 description 1
- 241000238711 Pyroglyphidae Species 0.000 description 1
- 240000004808 Saccharomyces cerevisiae Species 0.000 description 1
- 229910021536 Zeolite Inorganic materials 0.000 description 1
- 239000000642 acaricide Substances 0.000 description 1
- 150000001242 acetic acid derivatives Chemical class 0.000 description 1
- 239000008272 agar Chemical class 0.000 description 1
- 235000010419 agar Nutrition 0.000 description 1
- 239000005456 alcohol based solvent Substances 0.000 description 1
- 150000001298 alcohols Chemical class 0.000 description 1
- 229940024113 allethrin Drugs 0.000 description 1
- XCPQUQHBVVXMRQ-UHFFFAOYSA-N alpha-Fenchene Natural products C1CC2C(=C)CC1C2(C)C XCPQUQHBVVXMRQ-UHFFFAOYSA-N 0.000 description 1
- 239000002280 amphoteric surfactant Substances 0.000 description 1
- 239000003945 anionic surfactant Substances 0.000 description 1
- 239000012223 aqueous fraction Substances 0.000 description 1
- 229910052786 argon Inorganic materials 0.000 description 1
- 125000003118 aryl group Chemical group 0.000 description 1
- 239000011324 bead Substances 0.000 description 1
- 150000001558 benzoic acid derivatives Chemical class 0.000 description 1
- 235000019445 benzyl alcohol Nutrition 0.000 description 1
- 229930006722 beta-pinene Natural products 0.000 description 1
- RUJPNZNXGCHGID-UHFFFAOYSA-N beta-terpineol Chemical compound CC(=C)C1CCC(C)(O)CC1 RUJPNZNXGCHGID-UHFFFAOYSA-N 0.000 description 1
- QLHULAHOXSSASE-UHFFFAOYSA-N butan-2-yl 2-(2-hydroxyethyl)piperidine-1-carboxylate Chemical compound CCC(C)OC(=O)N1CCCCC1CCO QLHULAHOXSSASE-UHFFFAOYSA-N 0.000 description 1
- 239000001569 carbon dioxide Substances 0.000 description 1
- 229910002092 carbon dioxide Inorganic materials 0.000 description 1
- 125000002915 carbonyl group Chemical group [*:2]C([*:1])=O 0.000 description 1
- 235000010418 carrageenan Nutrition 0.000 description 1
- 239000000679 carrageenan Substances 0.000 description 1
- 229920001525 carrageenan Polymers 0.000 description 1
- 229940113118 carrageenan Drugs 0.000 description 1
- 239000003093 cationic surfactant Substances 0.000 description 1
- 239000000919 ceramic Substances 0.000 description 1
- 229940043350 citral Drugs 0.000 description 1
- 229930003633 citronellal Natural products 0.000 description 1
- 235000000983 citronellal Nutrition 0.000 description 1
- 210000000078 claw Anatomy 0.000 description 1
- 239000012141 concentrate Substances 0.000 description 1
- 238000000354 decomposition reaction Methods 0.000 description 1
- 230000007423 decrease Effects 0.000 description 1
- FHIVAFMUCKRCQO-UHFFFAOYSA-N diazinon Chemical compound CCOP(=S)(OCC)OC1=CC(C)=NC(C(C)C)=N1 FHIVAFMUCKRCQO-UHFFFAOYSA-N 0.000 description 1
- OEBRKCOSUFCWJD-UHFFFAOYSA-N dichlorvos Chemical compound COP(=O)(OC)OC=C(Cl)Cl OEBRKCOSUFCWJD-UHFFFAOYSA-N 0.000 description 1
- 229950001327 dichlorvos Drugs 0.000 description 1
- 235000014113 dietary fatty acids Nutrition 0.000 description 1
- JXSJBGJIGXNWCI-UHFFFAOYSA-N diethyl 2-[(dimethoxyphosphorothioyl)thio]succinate Chemical compound CCOC(=O)CC(SP(=S)(OC)OC)C(=O)OCC JXSJBGJIGXNWCI-UHFFFAOYSA-N 0.000 description 1
- 229940019778 diethylene glycol diethyl ether Drugs 0.000 description 1
- FBSAITBEAPNWJG-UHFFFAOYSA-N dimethyl phthalate Natural products CC(=O)OC1=CC=CC=C1OC(C)=O FBSAITBEAPNWJG-UHFFFAOYSA-N 0.000 description 1
- 229960001826 dimethylphthalate Drugs 0.000 description 1
- HNPSIPDUKPIQMN-UHFFFAOYSA-N dioxosilane;oxo(oxoalumanyloxy)alumane Chemical compound O=[Si]=O.O=[Al]O[Al]=O HNPSIPDUKPIQMN-UHFFFAOYSA-N 0.000 description 1
- 239000002552 dosage form Substances 0.000 description 1
- 238000001035 drying Methods 0.000 description 1
- 235000013399 edible fruits Nutrition 0.000 description 1
- 150000002170 ethers Chemical class 0.000 description 1
- 229960002217 eugenol Drugs 0.000 description 1
- 230000001747 exhibiting effect Effects 0.000 description 1
- 239000000194 fatty acid Substances 0.000 description 1
- 229930195729 fatty acid Natural products 0.000 description 1
- ZNOLGFHPUIJIMJ-UHFFFAOYSA-N fenitrothion Chemical compound COP(=S)(OC)OC1=CC=C([N+]([O-])=O)C(C)=C1 ZNOLGFHPUIJIMJ-UHFFFAOYSA-N 0.000 description 1
- 238000011049 filling Methods 0.000 description 1
- 235000012041 food component Nutrition 0.000 description 1
- 239000005417 food ingredient Substances 0.000 description 1
- LCWMKIHBLJLORW-UHFFFAOYSA-N gamma-carene Natural products C1CC(=C)CC2C(C)(C)C21 LCWMKIHBLJLORW-UHFFFAOYSA-N 0.000 description 1
- 239000008273 gelatin Chemical class 0.000 description 1
- 229920000159 gelatin Chemical class 0.000 description 1
- 235000019322 gelatine Nutrition 0.000 description 1
- 235000011852 gelatine desserts Nutrition 0.000 description 1
- 239000000216 gellan gum Chemical class 0.000 description 1
- 235000010492 gellan gum Nutrition 0.000 description 1
- 239000003349 gelling agent Substances 0.000 description 1
- WTEVQBCEXWBHNA-JXMROGBWSA-N geranial Chemical compound CC(C)=CCC\C(C)=C\C=O WTEVQBCEXWBHNA-JXMROGBWSA-N 0.000 description 1
- 150000004676 glycans Chemical class 0.000 description 1
- 235000011187 glycerol Nutrition 0.000 description 1
- 150000002334 glycols Chemical class 0.000 description 1
- 239000001963 growth medium Substances 0.000 description 1
- 239000000665 guar gum Chemical class 0.000 description 1
- 235000010417 guar gum Nutrition 0.000 description 1
- 229960002154 guar gum Drugs 0.000 description 1
- 150000008282 halocarbons Chemical class 0.000 description 1
- 229910052736 halogen Inorganic materials 0.000 description 1
- 150000002367 halogens Chemical class 0.000 description 1
- 239000001307 helium Substances 0.000 description 1
- 229910052734 helium Inorganic materials 0.000 description 1
- SWQJXJOGLNCZEY-UHFFFAOYSA-N helium atom Chemical compound [He] SWQJXJOGLNCZEY-UHFFFAOYSA-N 0.000 description 1
- 229940046533 house dust mites Drugs 0.000 description 1
- 150000002430 hydrocarbons Chemical class 0.000 description 1
- WGCNASOHLSPBMP-UHFFFAOYSA-N hydroxyacetaldehyde Natural products OCC=O WGCNASOHLSPBMP-UHFFFAOYSA-N 0.000 description 1
- 230000002401 inhibitory effect Effects 0.000 description 1
- 230000005764 inhibitory process Effects 0.000 description 1
- JYJIGFIDKWBXDU-MNNPPOADSA-N inulin Chemical compound O[C@H]1[C@H](O)[C@@H](CO)O[C@@]1(CO)OC[C@]1(OC[C@]2(OC[C@]3(OC[C@]4(OC[C@]5(OC[C@]6(OC[C@]7(OC[C@]8(OC[C@]9(OC[C@]%10(OC[C@]%11(OC[C@]%12(OC[C@]%13(OC[C@]%14(OC[C@]%15(OC[C@]%16(OC[C@]%17(OC[C@]%18(OC[C@]%19(OC[C@]%20(OC[C@]%21(OC[C@]%22(OC[C@]%23(OC[C@]%24(OC[C@]%25(OC[C@]%26(OC[C@]%27(OC[C@]%28(OC[C@]%29(OC[C@]%30(OC[C@]%31(OC[C@]%32(OC[C@]%33(OC[C@]%34(OC[C@]%35(OC[C@]%36(O[C@@H]%37[C@@H]([C@@H](O)[C@H](O)[C@@H](CO)O%37)O)[C@H]([C@H](O)[C@@H](CO)O%36)O)[C@H]([C@H](O)[C@@H](CO)O%35)O)[C@H]([C@H](O)[C@@H](CO)O%34)O)[C@H]([C@H](O)[C@@H](CO)O%33)O)[C@H]([C@H](O)[C@@H](CO)O%32)O)[C@H]([C@H](O)[C@@H](CO)O%31)O)[C@H]([C@H](O)[C@@H](CO)O%30)O)[C@H]([C@H](O)[C@@H](CO)O%29)O)[C@H]([C@H](O)[C@@H](CO)O%28)O)[C@H]([C@H](O)[C@@H](CO)O%27)O)[C@H]([C@H](O)[C@@H](CO)O%26)O)[C@H]([C@H](O)[C@@H](CO)O%25)O)[C@H]([C@H](O)[C@@H](CO)O%24)O)[C@H]([C@H](O)[C@@H](CO)O%23)O)[C@H]([C@H](O)[C@@H](CO)O%22)O)[C@H]([C@H](O)[C@@H](CO)O%21)O)[C@H]([C@H](O)[C@@H](CO)O%20)O)[C@H]([C@H](O)[C@@H](CO)O%19)O)[C@H]([C@H](O)[C@@H](CO)O%18)O)[C@H]([C@H](O)[C@@H](CO)O%17)O)[C@H]([C@H](O)[C@@H](CO)O%16)O)[C@H]([C@H](O)[C@@H](CO)O%15)O)[C@H]([C@H](O)[C@@H](CO)O%14)O)[C@H]([C@H](O)[C@@H](CO)O%13)O)[C@H]([C@H](O)[C@@H](CO)O%12)O)[C@H]([C@H](O)[C@@H](CO)O%11)O)[C@H]([C@H](O)[C@@H](CO)O%10)O)[C@H]([C@H](O)[C@@H](CO)O9)O)[C@H]([C@H](O)[C@@H](CO)O8)O)[C@H]([C@H](O)[C@@H](CO)O7)O)[C@H]([C@H](O)[C@@H](CO)O6)O)[C@H]([C@H](O)[C@@H](CO)O5)O)[C@H]([C@H](O)[C@@H](CO)O4)O)[C@H]([C@H](O)[C@@H](CO)O3)O)[C@H]([C@H](O)[C@@H](CO)O2)O)[C@@H](O)[C@H](O)[C@@H](CO)O1 JYJIGFIDKWBXDU-MNNPPOADSA-N 0.000 description 1
- 229940029339 inulin Drugs 0.000 description 1
- 238000005342 ion exchange Methods 0.000 description 1
- 230000001678 irradiating effect Effects 0.000 description 1
- QXJSBBXBKPUZAA-UHFFFAOYSA-N isooleic acid Natural products CCCCCCCC=CCCCCCCCCC(O)=O QXJSBBXBKPUZAA-UHFFFAOYSA-N 0.000 description 1
- 238000004898 kneading Methods 0.000 description 1
- 235000001510 limonene Nutrition 0.000 description 1
- 229940087305 limonene Drugs 0.000 description 1
- 229930007744 linalool Natural products 0.000 description 1
- 239000000711 locust bean gum Chemical class 0.000 description 1
- 235000010420 locust bean gum Nutrition 0.000 description 1
- 229960000453 malathion Drugs 0.000 description 1
- 229940041616 menthol Drugs 0.000 description 1
- 238000002156 mixing Methods 0.000 description 1
- 150000002832 nitroso derivatives Chemical class 0.000 description 1
- 239000002736 nonionic surfactant Substances 0.000 description 1
- 239000004745 nonwoven fabric Substances 0.000 description 1
- QIQXTHQIDYTFRH-UHFFFAOYSA-N octadecanoic acid Chemical compound CCCCCCCCCCCCCCCCCC(O)=O QIQXTHQIDYTFRH-UHFFFAOYSA-N 0.000 description 1
- ZQPPMHVWECSIRJ-KTKRTIGZSA-N oleic acid Chemical compound CCCCCCCC\C=C/CCCCCCCC(O)=O ZQPPMHVWECSIRJ-KTKRTIGZSA-N 0.000 description 1
- 230000017448 oviposition Effects 0.000 description 1
- 230000003647 oxidation Effects 0.000 description 1
- 238000007254 oxidation reaction Methods 0.000 description 1
- 235000019629 palatability Nutrition 0.000 description 1
- 239000012188 paraffin wax Substances 0.000 description 1
- 239000002245 particle Substances 0.000 description 1
- 229920001277 pectin Chemical class 0.000 description 1
- 239000001814 pectin Chemical class 0.000 description 1
- 235000010987 pectin Nutrition 0.000 description 1
- 150000002989 phenols Chemical class 0.000 description 1
- 229960003536 phenothrin Drugs 0.000 description 1
- 229960005323 phenoxyethanol Drugs 0.000 description 1
- 229910052698 phosphorus Inorganic materials 0.000 description 1
- 239000011574 phosphorus Substances 0.000 description 1
- 239000001738 pogostemon cablin oil Substances 0.000 description 1
- 239000003495 polar organic solvent Substances 0.000 description 1
- 239000002798 polar solvent Substances 0.000 description 1
- 229920000728 polyester Polymers 0.000 description 1
- 229920001282 polysaccharide Polymers 0.000 description 1
- 239000005017 polysaccharide Substances 0.000 description 1
- 229920001296 polysiloxane Polymers 0.000 description 1
- 238000003825 pressing Methods 0.000 description 1
- 238000003672 processing method Methods 0.000 description 1
- QQONPFPTGQHPMA-UHFFFAOYSA-N propylene Natural products CC=C QQONPFPTGQHPMA-UHFFFAOYSA-N 0.000 description 1
- 125000004805 propylene group Chemical group [H]C([H])([H])C([H])([*:1])C([H])([H])[*:2] 0.000 description 1
- 238000000746 purification Methods 0.000 description 1
- 239000005297 pyrex Substances 0.000 description 1
- 238000011160 research Methods 0.000 description 1
- 235000012045 salad Nutrition 0.000 description 1
- 238000005070 sampling Methods 0.000 description 1
- 235000011803 sesame oil Nutrition 0.000 description 1
- 239000008159 sesame oil Substances 0.000 description 1
- 239000000741 silica gel Substances 0.000 description 1
- 229910002027 silica gel Inorganic materials 0.000 description 1
- 239000000377 silicon dioxide Substances 0.000 description 1
- 229940047670 sodium acrylate Drugs 0.000 description 1
- 239000000661 sodium alginate Chemical class 0.000 description 1
- 235000010413 sodium alginate Nutrition 0.000 description 1
- 229940005550 sodium alginate Drugs 0.000 description 1
- 235000007586 terpenes Nutrition 0.000 description 1
- 239000004753 textile Substances 0.000 description 1
- DDVNRFNDOPPVQJ-HQJQHLMTSA-N transfluthrin Chemical compound CC1(C)[C@H](C=C(Cl)Cl)[C@H]1C(=O)OCC1=C(F)C(F)=CC(F)=C1F DDVNRFNDOPPVQJ-HQJQHLMTSA-N 0.000 description 1
- 235000015112 vegetable and seed oil Nutrition 0.000 description 1
- 239000008158 vegetable oil Substances 0.000 description 1
- 239000010679 vetiver oil Substances 0.000 description 1
- 239000002759 woven fabric Substances 0.000 description 1
- 229920001285 xanthan gum Chemical class 0.000 description 1
- 239000000230 xanthan gum Chemical class 0.000 description 1
- 235000010493 xanthan gum Nutrition 0.000 description 1
- 229940082509 xanthan gum Drugs 0.000 description 1
- 239000010457 zeolite Substances 0.000 description 1
- UHVMMEOXYDMDKI-JKYCWFKZSA-L zinc;1-(5-cyanopyridin-2-yl)-3-[(1s,2s)-2-(6-fluoro-2-hydroxy-3-propanoylphenyl)cyclopropyl]urea;diacetate Chemical class [Zn+2].CC([O-])=O.CC([O-])=O.CCC(=O)C1=CC=C(F)C([C@H]2[C@H](C2)NC(=O)NC=2N=CC(=CC=2)C#N)=C1O UHVMMEOXYDMDKI-JKYCWFKZSA-L 0.000 description 1
Images
Classifications
-
- Y—GENERAL TAGGING OF NEW TECHNOLOGICAL DEVELOPMENTS; GENERAL TAGGING OF CROSS-SECTIONAL TECHNOLOGIES SPANNING OVER SEVERAL SECTIONS OF THE IPC; TECHNICAL SUBJECTS COVERED BY FORMER USPC CROSS-REFERENCE ART COLLECTIONS [XRACs] AND DIGESTS
- Y02—TECHNOLOGIES OR APPLICATIONS FOR MITIGATION OR ADAPTATION AGAINST CLIMATE CHANGE
- Y02A—TECHNOLOGIES FOR ADAPTATION TO CLIMATE CHANGE
- Y02A50/00—TECHNOLOGIES FOR ADAPTATION TO CLIMATE CHANGE in human health protection, e.g. against extreme weather
- Y02A50/30—Against vector-borne diseases, e.g. mosquito-borne, fly-borne, tick-borne or waterborne diseases whose impact is exacerbated by climate change
Landscapes
- Agricultural Chemicals And Associated Chemicals (AREA)
Abstract
Description
原料として、トドマツの葉を用い、以下のようにしてトドマツ精油を得た。すなわち、トドマツ葉を圧砕式粉砕機(KYB製作所製)で粉砕したもの約50kgを、図1に示すマイクロ波蒸留装置の蒸留槽に投入し、攪拌しながら蒸留槽内の圧力を、約20KPaの減圧条件下に保持し、(蒸気温度は約67℃)1時間マイクロ波照射し精油を蒸留した。得られた精油の量は180mLであり、投入試料に対する精油の割合は、0.34%であった。
製造例1と同じトドマツの葉を用い、以下の水蒸気蒸留法により、トドマツ精油を得た。すなわち、圧搾式粉砕機(KYB製作所製)で粉砕したトドマツ葉約101gをパイレックス(登録商標)ガラス製フラスコに入れ、5〜8倍量の水を加えた後、当該フラスコを湯浴中で90〜100℃に加熱し沸騰させた。精油採取管には加熱前に基準線まで水を入れておいた。6時間煮沸を続けて精油を蒸留したところ、精油を0.8mLが得られた。投入試料に対する精油の割合は、0.79%であった。
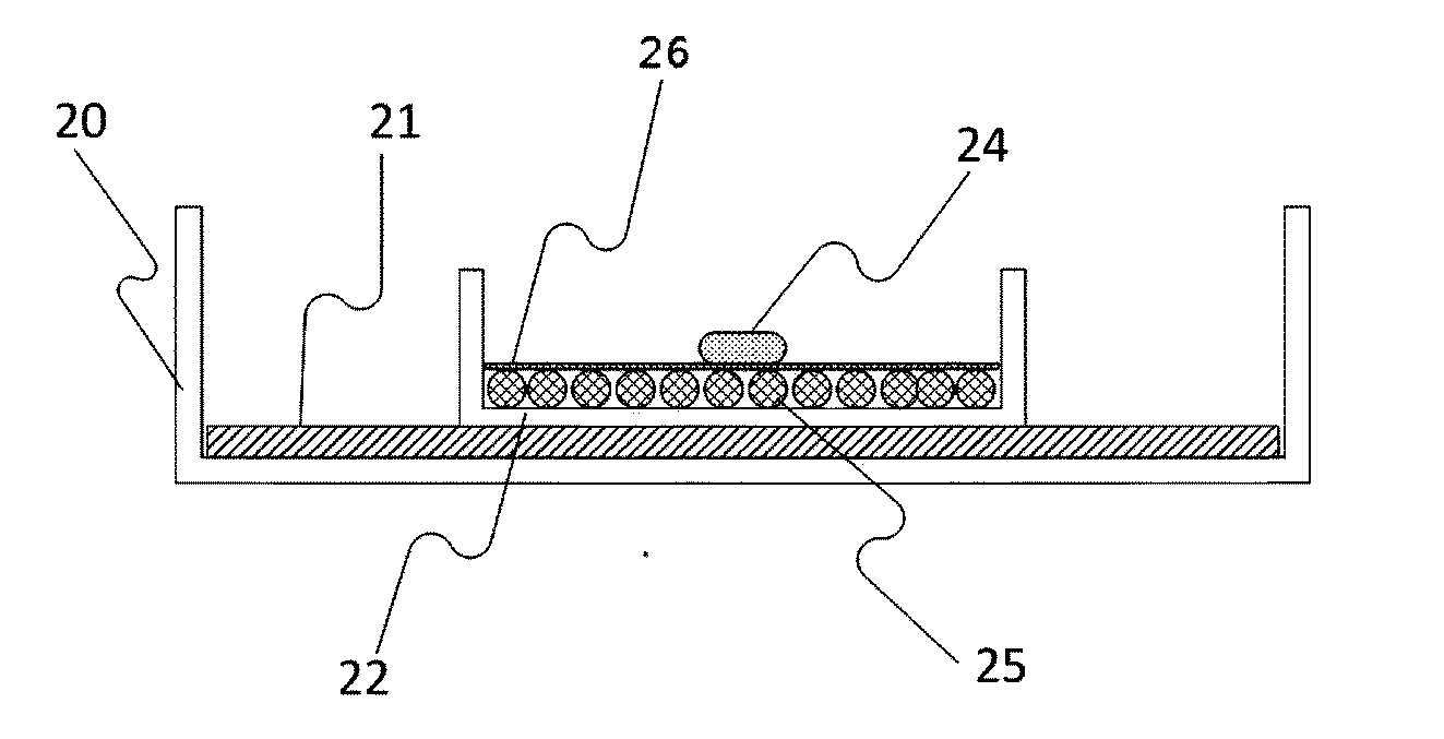
JIS L 1920「繊維製品の防ダニ性能試験方法」に準じて、ダニの飼育、密度の調整等を行い、図2に示す装置で忌避試験を行った。すなわち、製造例1で得たトドマツオイル1mlを直径90mmのろ紙に塗布し、4時間風乾後直径40mmの円形に切って供試片を得た。当該供試片を、直径40mm、高さ8mmのプラスチック製の軟膏容器の蓋にいれ、その中央に誘引用培地0.05gを置いた。直径90mm、高さ20mmのガラスシャーレに生存コナヒョウダニ約5000匹を含むダニ培地(飼育培地用粉末飼料と乾燥酵母を質量比1:1で混合したもの;誘引用培地も同じ)2.0gを均一に広げ、その中央部に上記軟膏容器蓋を置いた。これを金属製トレー上に置き、更にこのトレーを湿度調整のため飽和食塩水を入れた食品保存用プラスチック製容器に収容した。当該容器に蓋をして密封し、温度25℃±1℃の室内に設置した。設置から24時間放置した後、供試片及び誘引用培地の全生存ダニ数をカウントした。薬剤処理をしないろ紙を用いたものをブランクとし、この試験を5回繰り返した。5回の試験の合計のカウント数を求め、下記の式により忌避率を求めた。結果を表1に示す。
忌避率(%)=[(ブランクのろ紙上及び誘引用培地の生存ダニ数−薬剤処理区の供試片上及び誘引用培地の生存ダニ数)/ブランクのろ紙上及び誘引用培地の生存ダニ数]×100
実施例1と同様にしてダニの飼育等を行い、図3に示す装置で忌避試験を行った。すなわち、製造例1で製造したトドマツ精油を10%含浸させたポリプロピレン製ペレット1.6gを直径40mm、高さ8mmのプラスチック製軟膏容器蓋に均一になるように敷き、その上に直径40mmの円形に切ったシーツ(大宗株式会社性、式布団カバー 品番DS−61105;ポリエステル65%、綿35%)を載せた。その中央に誘引用培地0.05gを置いた。直径90mm、高さ20mmのガラスシャーレに生存コナヒョウダニ約5000匹を含むダニ培地2.0gを均一に広げ、その中央部に上記軟膏容器蓋を置いた。これを金属製トレー上に置き、更にこのトレーを湿度調整のため飽和食塩水を入れた食品保存用プラスチック製容器に収容した。当該容器に蓋をして密封し、温度25℃±1℃の室内に設置した。設置から48時間放置した後、シーツ上及び誘引用培地の全生存ダニ数をカウントした。薬剤処理をしないろ紙を用いたものをブランクとし、この試験を5回繰り返した。5回の試験の合計のカウント数を求め、下記の式により忌避率を求めた。結果を表1に示す。
ゲル状ダニ忌避剤:
イソパラフィン85gに、製造例2で得たトドマツ精油10gを混合したものにオクチル酸アルミニウム5gを加え、60℃に加熱して攪拌した。これを縦35mm×横35mm×高さ75mmの容器に充填し、室温で3時間静置し、ゲル状のダニ忌避剤を得た。
常温揮散性ダニ忌避剤:
製造例1で得られた精油0.5gを125mm×65mmのパルプ製ろ紙に含浸させたものを、通気性を有するプラスチックケースに収納して固型忌避剤を調製した。
エアゾール剤:
以下の処方を、市販の200mlエアゾール缶に充填することによって、エアゾール剤を調製した。
有効成分:製造例2で得たトドマツ精油 1ml
溶媒 :エタノール 39.0ml
噴射剤 :LPG 30.0ml
噴射剤 :イソペンタン 30.0ml
スプレー剤:
以下の処方を、市販の150mlトリガー製容器に収納してスプレー剤を調製した。
有効成分:製造例1で得たトドマツ精油 0.1g
プロフルトリン 0.01g
溶剤 :エタノール 10g
香料 0.05g
界面活性剤 0.1g
イオン交換水 89.74g
燻蒸剤:
製造例1で得たトドマツ精油10g、アゾジカルボンアミド55g及びタルク35gを混練し、造粒、乾燥して燻蒸剤を調製した。
加熱蒸散剤:
製造例1で得たトドマツ精油100mgを3cm×3cmのパルプ製マットに含浸させ加熱蒸散剤を得た。このものは、加熱ヒーターに接置させることにより有効成分を蒸散する。
粒状忌避剤:
パルプ製の粒状含浸体(平均粒径5mm)50gに、製造例1で得たトドマツ精油50mLを含浸させ、通気性の不織布の袋に入れて粒状の忌避剤を得た。
常温揮散性ダニ忌避剤:
製造例1で得られた精油0.5g及びエンペントリン0.01gを125mm×65mmのパルプ製ろ紙に含浸させたものを、通気性を有するプラスチックケースに収納して固形忌避剤を調製した。
製剤例2で得られた常温揮散性ダニ忌避剤2個を衣類とともにポリエチレン製の衣類収納袋(75cm×80cm×32cm)に入れてダニの忌避を行った。
製剤例8で得られた常温揮散性ダニ忌避剤2個を寝具とともにポリエチレン製の布団収納袋(150cm×100cm)に入れてダニの忌避を行った。
製剤例2で得られた常温揮散性ダニ忌避剤2個を衣類とともに75L(40cm×75cm×25cm)の衣装ケースに入れてダニの忌避を行った。
留物は、ダニ目の害虫に対して優れた忌避効果を発揮するものであり、しかも人体に対して安全であり、安定性も高い。従って、本発明の忌避剤は、一般家庭においても手軽に使用でき、有用性の高いものである。
2 … … 蒸留槽
3 … … マイクロ波加熱装置
4 … … 撹拌はね
5 … … 気流流入管
6 … … 蒸留物流出管
7 … … 冷却装置
8 … … 加熱制御装置
9 … … 減圧ポンプ
10 … … 圧力調整弁
11 … … 圧力制御装置
12 … … 蒸留対象物
13 … … 蒸留物
20 … … ガラスシャーレ
21 … … ダニ培地
22 … … 軟膏容器の蓋
23 … … 供試片
24 … … 誘引用培地
25 … … ポリプロピレン製ペレット
26 … … シーツ
Claims (8)
- マツ科モミ属に属する植物の圧搾液、抽出物または蒸留物を有効成分として含有することを特徴とするダニ用忌避剤。
- マツ科モミ属に属する植物の圧搾液、抽出物または蒸留物が、マツ科モミ属に属する植物の葉の圧搾液、抽出物または蒸留物である請求項1記載のダニ用忌避剤。
- 有効成分が、マツ科モミ属に属する植物の蒸留物であって、マツ科モミ属に属する植物を減圧下で加熱して蒸留を行うことによって得られる蒸留物である請求項1または2に記載のダニ用忌避剤。
- 有効成分が、マツ科モミ属に属する植物を減圧下で加熱して蒸留を行うことによって得られる蒸留物の油性画分である請求項3記載のダニ用忌避剤。
- 加熱が、マイクロ波加熱により行われるものである請求項3または4に記載のダニ用忌避剤。
- マツ科モミ属に属する植物が、トドマツである請求項1〜5のいずれかの項記載のダニ用忌避剤。
- 請求項1〜6のいずれかの項記載の忌避剤を常温自然蒸散、加熱蒸散、送風蒸散、薫蒸又は噴霧により環境中に放出させてダニに作用させることを特徴とするダニの忌避方法。
- 請求項1〜7のいずれかの項記載の忌避剤をダニに接触させて作用させることを特徴とするダニの忌避方法。
Priority Applications (1)
| Application Number | Priority Date | Filing Date | Title |
|---|---|---|---|
| JP2015163489A JP7126803B2 (ja) | 2015-08-21 | 2015-08-21 | ダニ用忌避剤及びダニの忌避方法 |
Applications Claiming Priority (1)
| Application Number | Priority Date | Filing Date | Title |
|---|---|---|---|
| JP2015163489A JP7126803B2 (ja) | 2015-08-21 | 2015-08-21 | ダニ用忌避剤及びダニの忌避方法 |
Publications (2)
| Publication Number | Publication Date |
|---|---|
| JP2017039677A true JP2017039677A (ja) | 2017-02-23 |
| JP7126803B2 JP7126803B2 (ja) | 2022-08-29 |
Family
ID=58206259
Family Applications (1)
| Application Number | Title | Priority Date | Filing Date |
|---|---|---|---|
| JP2015163489A Active JP7126803B2 (ja) | 2015-08-21 | 2015-08-21 | ダニ用忌避剤及びダニの忌避方法 |
Country Status (1)
| Country | Link |
|---|---|
| JP (1) | JP7126803B2 (ja) |
Cited By (5)
| Publication number | Priority date | Publication date | Assignee | Title |
|---|---|---|---|---|
| JP2020100579A (ja) * | 2018-12-20 | 2020-07-02 | エステー株式会社 | ダニ用忌避剤及びこれを用いるダニの忌避方法 |
| JP2021054740A (ja) * | 2019-09-30 | 2021-04-08 | エステー株式会社 | ダニ用忌避剤及びダニの忌避方法 |
| JP2021054741A (ja) * | 2019-09-30 | 2021-04-08 | エステー株式会社 | ダニ用忌避剤及びダニの忌避方法 |
| JP2021155342A (ja) * | 2020-03-25 | 2021-10-07 | エステー株式会社 | ダニ用忌避剤及びこれを用いるダニの忌避方法 |
| JP2023118334A (ja) * | 2022-02-15 | 2023-08-25 | エステー株式会社 | 生活害虫忌避剤及び生活害虫忌避方法 |
Citations (19)
| Publication number | Priority date | Publication date | Assignee | Title |
|---|---|---|---|---|
| JPS63104905A (ja) * | 1986-10-22 | 1988-05-10 | Yoshiko Morimoto | テルペン類の化合物を含有する,住居内のダニ類の予防,駆除物体 |
| JPS63264510A (ja) * | 1987-04-20 | 1988-11-01 | Nittec Co Ltd | 白蟻駆除剤 |
| JPH02202803A (ja) * | 1989-02-01 | 1990-08-10 | Daicel Chem Ind Ltd | 殺ダニ剤 |
| JPH03268901A (ja) * | 1990-03-19 | 1991-11-29 | Sanyo Kokusaku Pulp Co Ltd | 木質床材及びその製造方法 |
| JPH0413607A (ja) * | 1990-04-28 | 1992-01-17 | Sadami Ishibashi | ダニ防除剤 |
| JP3020559U (ja) * | 1995-03-13 | 1996-02-02 | イスクラ産業株式会社 | 植物の精油・エキス蒸気発散用品 |
| JPH11171713A (ja) * | 1997-10-09 | 1999-06-29 | Sumitomo Chem Co Ltd | ダニ防除方法 |
| JP2000169318A (ja) * | 1998-12-07 | 2000-06-20 | Sekisui Chem Co Ltd | 害虫防除材 |
| JP2001294505A (ja) * | 2000-04-14 | 2001-10-23 | Jukankyo Kojo Jumoku Seibun Riyo Gijutsu Kenkyu Kumiai | 有害生物駆除及び忌避剤並びに徐放材 |
| JP2004075657A (ja) * | 2002-08-09 | 2004-03-11 | Matsuo Hasegawa | 家屋用不快害虫防除組成物 |
| JP2005068045A (ja) * | 2003-08-21 | 2005-03-17 | Yamanaka Shoji Kk | 防虫性下敷 |
| WO2010098440A1 (ja) * | 2009-02-26 | 2010-09-02 | 日本かおり研究所株式会社 | 高モノテルペン成分含有精油、その製造方法および当該精油を用いた環境汚染物質浄化方法 |
| WO2010098439A1 (ja) * | 2009-02-26 | 2010-09-02 | 日本かおり研究所株式会社 | 有害酸化物の除去剤および当該除去剤を利用する有害酸化物の除去方法 |
| JP2011174021A (ja) * | 2010-02-25 | 2011-09-08 | Japan Aroma Laboratory Co Ltd | 芳香組成物およびこれを利用した芳香剤、消臭剤並びに抗菌剤 |
| JP2011173805A (ja) * | 2010-02-23 | 2011-09-08 | Japan Aroma Laboratory Co Ltd | 抗ウィルス剤 |
| CN104094977A (zh) * | 2013-04-15 | 2014-10-15 | 单宝华 | 一种具有驱虫杀菌灭毒作用的组合物及其应用 |
| JP2015030704A (ja) * | 2013-08-02 | 2015-02-16 | エステー株式会社 | アレルゲン活性低減化剤及びこれを利用したアレルゲン活性低減化方法 |
| JP2015117197A (ja) * | 2013-12-18 | 2015-06-25 | エステー株式会社 | 鼻症状改善剤 |
| CN104758322A (zh) * | 2014-01-02 | 2015-07-08 | 单宝华 | 一种具有驱虫杀菌灭毒和舒缓神经作用的组合物及其应用 |
-
2015
- 2015-08-21 JP JP2015163489A patent/JP7126803B2/ja active Active
Patent Citations (19)
| Publication number | Priority date | Publication date | Assignee | Title |
|---|---|---|---|---|
| JPS63104905A (ja) * | 1986-10-22 | 1988-05-10 | Yoshiko Morimoto | テルペン類の化合物を含有する,住居内のダニ類の予防,駆除物体 |
| JPS63264510A (ja) * | 1987-04-20 | 1988-11-01 | Nittec Co Ltd | 白蟻駆除剤 |
| JPH02202803A (ja) * | 1989-02-01 | 1990-08-10 | Daicel Chem Ind Ltd | 殺ダニ剤 |
| JPH03268901A (ja) * | 1990-03-19 | 1991-11-29 | Sanyo Kokusaku Pulp Co Ltd | 木質床材及びその製造方法 |
| JPH0413607A (ja) * | 1990-04-28 | 1992-01-17 | Sadami Ishibashi | ダニ防除剤 |
| JP3020559U (ja) * | 1995-03-13 | 1996-02-02 | イスクラ産業株式会社 | 植物の精油・エキス蒸気発散用品 |
| JPH11171713A (ja) * | 1997-10-09 | 1999-06-29 | Sumitomo Chem Co Ltd | ダニ防除方法 |
| JP2000169318A (ja) * | 1998-12-07 | 2000-06-20 | Sekisui Chem Co Ltd | 害虫防除材 |
| JP2001294505A (ja) * | 2000-04-14 | 2001-10-23 | Jukankyo Kojo Jumoku Seibun Riyo Gijutsu Kenkyu Kumiai | 有害生物駆除及び忌避剤並びに徐放材 |
| JP2004075657A (ja) * | 2002-08-09 | 2004-03-11 | Matsuo Hasegawa | 家屋用不快害虫防除組成物 |
| JP2005068045A (ja) * | 2003-08-21 | 2005-03-17 | Yamanaka Shoji Kk | 防虫性下敷 |
| WO2010098440A1 (ja) * | 2009-02-26 | 2010-09-02 | 日本かおり研究所株式会社 | 高モノテルペン成分含有精油、その製造方法および当該精油を用いた環境汚染物質浄化方法 |
| WO2010098439A1 (ja) * | 2009-02-26 | 2010-09-02 | 日本かおり研究所株式会社 | 有害酸化物の除去剤および当該除去剤を利用する有害酸化物の除去方法 |
| JP2011173805A (ja) * | 2010-02-23 | 2011-09-08 | Japan Aroma Laboratory Co Ltd | 抗ウィルス剤 |
| JP2011174021A (ja) * | 2010-02-25 | 2011-09-08 | Japan Aroma Laboratory Co Ltd | 芳香組成物およびこれを利用した芳香剤、消臭剤並びに抗菌剤 |
| CN104094977A (zh) * | 2013-04-15 | 2014-10-15 | 单宝华 | 一种具有驱虫杀菌灭毒作用的组合物及其应用 |
| JP2015030704A (ja) * | 2013-08-02 | 2015-02-16 | エステー株式会社 | アレルゲン活性低減化剤及びこれを利用したアレルゲン活性低減化方法 |
| JP2015117197A (ja) * | 2013-12-18 | 2015-06-25 | エステー株式会社 | 鼻症状改善剤 |
| CN104758322A (zh) * | 2014-01-02 | 2015-07-08 | 单宝华 | 一种具有驱虫杀菌灭毒和舒缓神经作用的组合物及其应用 |
Non-Patent Citations (1)
| Title |
|---|
| "アロマテラピー エンジョイクラス 防虫パック", ようこそ!ミディへ,[ONLINE], JPN6019011170, 20 October 2011 (2011-10-20), ISSN: 0004173329 * |
Cited By (8)
| Publication number | Priority date | Publication date | Assignee | Title |
|---|---|---|---|---|
| JP2020100579A (ja) * | 2018-12-20 | 2020-07-02 | エステー株式会社 | ダニ用忌避剤及びこれを用いるダニの忌避方法 |
| JP7221042B2 (ja) | 2018-12-20 | 2023-02-13 | エステー株式会社 | ダニ用忌避剤及びこれを用いるダニの忌避方法 |
| JP2021054740A (ja) * | 2019-09-30 | 2021-04-08 | エステー株式会社 | ダニ用忌避剤及びダニの忌避方法 |
| JP2021054741A (ja) * | 2019-09-30 | 2021-04-08 | エステー株式会社 | ダニ用忌避剤及びダニの忌避方法 |
| JP2021155342A (ja) * | 2020-03-25 | 2021-10-07 | エステー株式会社 | ダニ用忌避剤及びこれを用いるダニの忌避方法 |
| JP7475917B2 (ja) | 2020-03-25 | 2024-04-30 | エステー株式会社 | ダニ用忌避剤及びこれを用いるダニの忌避方法 |
| JP2023118334A (ja) * | 2022-02-15 | 2023-08-25 | エステー株式会社 | 生活害虫忌避剤及び生活害虫忌避方法 |
| JP7739194B2 (ja) | 2022-02-15 | 2025-09-16 | エステー株式会社 | 生活害虫忌避剤及び生活害虫忌避方法 |
Also Published As
| Publication number | Publication date |
|---|---|
| JP7126803B2 (ja) | 2022-08-29 |
Similar Documents
| Publication | Publication Date | Title |
|---|---|---|
| JP6087485B2 (ja) | 芳香組成物およびこれを利用した芳香剤、消臭剤並びに抗菌剤 | |
| JP7126803B2 (ja) | ダニ用忌避剤及びダニの忌避方法 | |
| CN101946806B (zh) | 燃烧型蚊香及其制备方法 | |
| JP4440580B2 (ja) | 穀物・乾物用防虫剤及び穀物・乾物害虫の防虫方法 | |
| JP5665359B2 (ja) | 衣料害虫の食害防止剤 | |
| JP2017008111A (ja) | 芳香組成物およびこれを利用した芳香剤、消臭剤並びに抗菌剤 | |
| CN104782667A (zh) | 菊叶香藜植物挥发油在防治植物螨中的用途 | |
| JP4782860B2 (ja) | 穀物・乾物用防虫剤及び穀物・乾物害虫の防虫方法 | |
| JP2004182704A (ja) | 穀物・乾物用防虫剤及び穀物・乾物害虫の防虫方法 | |
| JP6271984B2 (ja) | 防虫剤および防虫方法 | |
| JP2020050636A (ja) | ダニ用忌避剤及びこれを用いるダニの忌避方法 | |
| JP7353845B2 (ja) | ダニ用忌避剤及びダニの忌避方法 | |
| JP6272075B2 (ja) | 防虫剤 | |
| JP7739194B2 (ja) | 生活害虫忌避剤及び生活害虫忌避方法 | |
| JP7475917B2 (ja) | ダニ用忌避剤及びこれを用いるダニの忌避方法 | |
| JP7438704B2 (ja) | ダニ用忌避剤及びこれを用いるダニの忌避方法 | |
| JP7221042B2 (ja) | ダニ用忌避剤及びこれを用いるダニの忌避方法 | |
| JP6538424B2 (ja) | 穀物・乾物用防虫剤および防虫方法 | |
| JP2024179940A (ja) | ダニ用忌避剤およびダニの忌避方法 | |
| KR100472643B1 (ko) | 살비성을 나타내는 식물정유 및 화합물을 함유한 조성물 | |
| JP2021054740A (ja) | ダニ用忌避剤及びダニの忌避方法 | |
| JP2004175745A (ja) | 穀物・乾物用防虫剤及び穀物・乾物害虫の防虫方法 | |
| JP2021054741A (ja) | ダニ用忌避剤及びダニの忌避方法 | |
| JP2021130638A (ja) | ダニ用忌避剤及びこれを用いるダニの忌避方法 | |
| CN107751252B (zh) | 杜香枝叶总挥发油在防治储粮害虫中的应用 |
Legal Events
| Date | Code | Title | Description |
|---|---|---|---|
| A621 | Written request for application examination |
Free format text: JAPANESE INTERMEDIATE CODE: A621 Effective date: 20180323 |
|
| A131 | Notification of reasons for refusal |
Free format text: JAPANESE INTERMEDIATE CODE: A131 Effective date: 20190402 |
|
| A601 | Written request for extension of time |
Free format text: JAPANESE INTERMEDIATE CODE: A601 Effective date: 20190527 |
|
| A521 | Request for written amendment filed |
Free format text: JAPANESE INTERMEDIATE CODE: A523 Effective date: 20190711 |
|
| A521 | Request for written amendment filed |
Free format text: JAPANESE INTERMEDIATE CODE: A821 Effective date: 20190711 |
|
| A131 | Notification of reasons for refusal |
Free format text: JAPANESE INTERMEDIATE CODE: A131 Effective date: 20191217 |
|
| A601 | Written request for extension of time |
Free format text: JAPANESE INTERMEDIATE CODE: A601 Effective date: 20200124 |
|
| A02 | Decision of refusal |
Free format text: JAPANESE INTERMEDIATE CODE: A02 Effective date: 20201006 |
|
| C60 | Trial request (containing other claim documents, opposition documents) |
Free format text: JAPANESE INTERMEDIATE CODE: C60 Effective date: 20201223 |
|
| A521 | Request for written amendment filed |
Free format text: JAPANESE INTERMEDIATE CODE: A821 Effective date: 20201223 |
|
| C22 | Notice of designation (change) of administrative judge |
Free format text: JAPANESE INTERMEDIATE CODE: C22 Effective date: 20220518 |
|
| C23 | Notice of termination of proceedings |
Free format text: JAPANESE INTERMEDIATE CODE: C23 Effective date: 20220622 |
|
| C03 | Trial/appeal decision taken |
Free format text: JAPANESE INTERMEDIATE CODE: C03 Effective date: 20220727 |
|
| C30A | Notification sent |
Free format text: JAPANESE INTERMEDIATE CODE: C3012 Effective date: 20220727 |
|
| A61 | First payment of annual fees (during grant procedure) |
Free format text: JAPANESE INTERMEDIATE CODE: A61 Effective date: 20220817 |
|
| R150 | Certificate of patent or registration of utility model |
Ref document number: 7126803 Country of ref document: JP Free format text: JAPANESE INTERMEDIATE CODE: R150 |
|
| R250 | Receipt of annual fees |
Free format text: JAPANESE INTERMEDIATE CODE: R250 |
