JP2016202823A - Movement assist tool - Google Patents

Movement assist tool Download PDF

Info

Publication number
JP2016202823A
JP2016202823A JP2015091667A JP2015091667A JP2016202823A JP 2016202823 A JP2016202823 A JP 2016202823A JP 2015091667 A JP2015091667 A JP 2015091667A JP 2015091667 A JP2015091667 A JP 2015091667A JP 2016202823 A JP2016202823 A JP 2016202823A
Authority
JP
Japan
Prior art keywords
side frame
traveling unit
joint
traveling
seat surface
Prior art date
Legal status (The legal status is an assumption and is not a legal conclusion. Google has not performed a legal analysis and makes no representation as to the accuracy of the status listed.)
Granted
Application number
JP2015091667A
Other languages
Japanese (ja)
Other versions
JP6529814B2 (en
Inventor
愛美 表野
Manami Hyono
愛美 表野
正秀 森本
Masahide Morimoto
正秀 森本
Current Assignee (The listed assignees may be inaccurate. Google has not performed a legal analysis and makes no representation or warranty as to the accuracy of the list.)
NHK Spring Co Ltd
Original Assignee
NHK Spring Co Ltd
Priority date (The priority date is an assumption and is not a legal conclusion. Google has not performed a legal analysis and makes no representation as to the accuracy of the date listed.)
Filing date
Publication date
Application filed by NHK Spring Co Ltd filed Critical NHK Spring Co Ltd
Priority to JP2015091667A priority Critical patent/JP6529814B2/en
Publication of JP2016202823A publication Critical patent/JP2016202823A/en
Application granted granted Critical
Publication of JP6529814B2 publication Critical patent/JP6529814B2/en
Active legal-status Critical Current
Anticipated expiration legal-status Critical

Links

Images

Landscapes

  • Rehabilitation Tools (AREA)

Abstract

PROBLEM TO BE SOLVED: To provide a movement assist tool which allows a person to be assisted who requires assist of movement, to easily move into a device.SOLUTION: A movement assist tool comprises: a travel base 3 capable of travelling by wheels 17a, 17b, 19a, 19b; a seat surface support frame 35 disposed on the travel base 3; and a seat surface part 13 having a seat surface where a person to be assisted seats on, and being disposed on the seat surface support frame 35. The travel base 3 comprises a lower side frame 9 for connecting lower parts of a front travel unit 5 comprising the wheels 17a, 17b as front wheels, and a rear travel unit 7 comprising the wheels 19a, 19b as rear wheels and separated from the front travel unit 5. The side frame 9 is provided on one side of the travel base 3 in a device width direction and an opening hole 3a for opening a gap between the front travel unit 5 and the rear travel unit 7 is provided on the other side of the device width direction, movement of the person to be assisted from the opening hole 3a to the gap between the front travel unit 5 and the rear travel unit 7 can be achieved.SELECTED DRAWING: Figure 3

Description

本発明は、介護用等に供され、被補助者の歩行補助等の移動補助を行わせる移動補助器に関する。   The present invention relates to a movement assist device that is provided for nursing care or the like and performs movement assistance such as walking assistance of an assistant.

歩行障害を有する被補助者の介護やリハビリテーション等においては、起立した被補助者の上体を支持することにより、その被補助者の歩行を補助する歩行補助器が移動補助器として知られている。   In the care and rehabilitation of the assistance person who has a walking disorder, the walking assistance device which assists the assistance person's walk by supporting the standing body of the standing assistance person is known as a movement assistance device. .

特許文献1には、この種の歩行補助器として平行リンク式座部昇降歩行車が開示されている。この歩行車は、座部が平行リンクにより昇降可能に支持され、被補助者は座部に座して歩行運動又は起立運動を行うことができる。   Patent Document 1 discloses a parallel link seat raising / lowering walking vehicle as this type of walking aid. In this walking car, the seat portion is supported by a parallel link so as to be movable up and down, and the assistant can sit on the seat portion and perform a walking motion or a standing motion.

特許文献2の介護補助装置は、座部の差込部材をベッドとその上の被補助者との間に差し込むことで被補助者を差込部材上に乗せ、被補助者の移乗を容易にすることができる。移乗後は、差込部材を上昇させることで被補助者の歩行補助を行わせる歩行補助器として機能させることができる。   The care assisting device of Patent Document 2 allows an assistant to be placed on the insertion member by inserting the insertion member of the seat portion between the bed and the assistant on it, and facilitates transfer of the assistant. can do. After the transfer, the insertion member can be raised to function as a walking assist device that assists the person being walked.

そして、これら何れの装置も車輪を取り付けた走行ベースに、幅方向の左右両側の足元となる箇所に走行方向前後に渡るようにフレームを備えている。   Each of these devices is provided with a frame on the traveling base to which the wheels are attached so as to cross the front and rear in the traveling direction at the positions on the left and right sides in the width direction.

このため、足を持ち上げることのできない場合等のように移動補助が必要な被補助者が装置の幅方向から装置内へ移動しようとするとき、大きな困難を伴うものであった。   For this reason, when a person who needs assistance is moving into the device from the width direction of the device, such as when the legs cannot be lifted, it is very difficult.

特開2004−8464号公報JP 2004-8464 A 特開2013−31635号公報JP 2013-31635 A

解決しようとする問題点は、移動補助が必要な被補助者が装置内へ移動しようとするとき、大きな困難を伴う点である。   The problem to be solved is that when a person who needs assistance is moving into the apparatus, there is a great difficulty.

本発明は、歩行補助が必要な被補助者でも装置内へ容易に移動することを可能とするために、前輪を備えたフロント走行ユニットと後輪を備え前記フロント走行ユニットから離間したリヤ走行ユニットとの下部相互を下部のサイドフレームで結合した走行ベースを備え、前記走行ベースの一側に前記サイドフレームが配置されることで前記走行ベースの他側に設けられ前記フロント走行ユニット及びリヤ走行ユニット間を開放する開放口とを備え、前記開放口から前記フロント走行ユニット及びリヤ走行ユニット間に被補助者の移動を可能とすることを特徴とする。   The present invention provides a rear traveling unit that includes a front traveling unit having a front wheel and a rear wheel and is separated from the front traveling unit so that a person who needs assistance with walking can easily move into the apparatus. A front base unit and a rear base unit provided on the other side of the travel base by disposing the side frame on one side of the travel base. And an opening that opens between the front traveling unit and the rear traveling unit through the opening.

本発明は、上記構成であるから、フロント走行ユニット及びリヤ走行ユニットをサイドフレームにより結合し、移動補助器として被補助者の移動補助を可能としながら、開放口からフロント走行ユニット及びリヤ走行ユニット間に被補助者の移動を可能とし、例えば足を持ち上げることのできない等のように移動補助が必要な被補助者の移動を容易に行わせることができる。   Since the present invention has the above-described configuration, the front traveling unit and the rear traveling unit are coupled by the side frame, and it is possible to assist the person being supported as a movement assisting device. It is possible to move a person who needs assistance, such as being unable to lift a foot, for example.

起立支援歩行補助器の右側から見た斜視図である。(実施例1)It is the perspective view seen from the right side of a standing assistance walk auxiliary device. Example 1 起立支援歩行補助器の左側面図である。(実施例1)It is a left view of a standing assistance walk auxiliary device. Example 1 起立支援歩行補助器の平面図である。(実施例1)It is a top view of a standing assistance walk auxiliary device. Example 1 サイドフレームを外してリヤ走行ユニットを器体前方から見た正面図である。(実施例1)It is the front view which removed the side frame and looked at the rear traveling unit from the body front. Example 1 起立支援歩行補助器の正面図である。(実施例1)It is a front view of a standing assistance walk auxiliary device. Example 1 フロント走行ユニット及びリヤ走行ユニットとサイドフレームとの関係の分解左側面図である。(実施例1)It is a decomposition | disassembly left view of the relationship between a front traveling unit and a rear traveling unit, and a side frame. Example 1 フロント走行ユニットの正面図である。(実施例1)It is a front view of a front traveling unit. Example 1 リヤ走行ユニットの正面図である。(実施例1)It is a front view of a rear traveling unit. Example 1 サイドフレームの側面図である。(実施例1)It is a side view of a side frame. Example 1 サイドフレームの平面図である。(実施例1)It is a top view of a side frame. Example 1 横レインフォースバーの平面図である。(実施例1)It is a top view of a horizontal reinforcement bar. Example 1 縦レインフォースバーに係り、(A)は、正面図、(B)は、縦断面図である。(実施例1)In relation to the longitudinal reinforcement bar, (A) is a front view and (B) is a longitudinal sectional view. Example 1 サイドフレームジョイントの正面図である。(実施例1)It is a front view of a side frame joint. Example 1 サイドフレームジョイントに係り、(A)は、背面図、(B)は、縦断面図である。(実施例1)In relation to the side frame joint, (A) is a rear view and (B) is a longitudinal sectional view. Example 1 サイドフレームとリヤ走行ユニットとの結合を示す要部拡大側面図である。(実施例1)It is a principal part expanded side view which shows the coupling | bonding of a side frame and a rear traveling unit. Example 1 昇降機構により支持した座面部を示し、座面部格納位置での正面図である。(実施例1)It is a front view in the seat surface part storage position which shows the seat surface part supported by the raising / lowering mechanism. Example 1 昇降機構により支持した座面部を示し、座面部格納位置での左側面図である。(実施例1)It is a left view in the seating surface storing position which shows the seating surface part supported by the raising / lowering mechanism. Example 1 配電盤を示す昇降フレームの背面図である。(実施例1)It is a rear view of the raising / lowering frame which shows a switchboard. Example 1 配電盤の正面図である。(実施例1)It is a front view of a switchboard. Example 1 着座位置の座面部の平面図である。(実施例1)It is a top view of the seat surface part of a seating position. Example 1 図20のXXI−XXI線矢視で示すスライド機構に係り、(A)は、右移乗位置での断面図、(B)着座位置での断面図、(C)左移乗位置での断面図である。(実施例1)20A is a cross-sectional view at the right transfer position, FIG. 20B is a cross-sectional view at the seating position, and FIG. 20C is a cross-sectional view at the left transfer position. is there. Example 1 図20のXXII−XXII線矢視で示すロック機構に係る断面図である。(実施例1)It is sectional drawing which concerns on the locking mechanism shown by the XXII-XXII line arrow of FIG. Example 1 図20のXXIII−XXIII線矢視矢視で示すロック機構に係に係り、(A)は、右移乗位置でのロック機構を示す断面図、(B)は、着座位置でのロック機構を示す断面図である。(実施例1)20A is a sectional view showing the lock mechanism at the right transfer position, and FIG. 20B is a lock mechanism at the seating position. It is sectional drawing. Example 1 (A)は着座位置でのロック解除時の断面図、(B)は、左移乗位置でのロック状態の断面図である。(実施例1)(A) is sectional drawing at the time of lock release in a seating position, (B) is sectional drawing of the locked state in a left transfer position. Example 1 座面板の移乗位置での使用状態を示す起立支援歩行補助器の要部斜視図である。(実施例1)It is a principal part perspective view of the standing assistance walk auxiliary device which shows the use condition in the transfer position of a seat surface board. Example 1 サイドフレームの結合を示す側面図である。(実施例2)It is a side view which shows the coupling | bonding of a side frame. (Example 2) サイドフレームの嵌合を示す平面図である。(実施例2)It is a top view which shows fitting of a side frame. (Example 2) サイドフレームの嵌合を示す横断面図である。(実施例2)It is a transverse cross section showing fitting of a side frame. (Example 2) フロントジョイントに係り、(A)は、側面図、(B)は、正面図、(C)は、平面図である。(実施例2)In relation to the front joint, (A) is a side view, (B) is a front view, and (C) is a plan view. (Example 2) 前側のサイドフレームジョイントに係り、(A)は側面図、(B)は、正面図、(C)は、平面図、(D)は、下面図である。(実施例2)In relation to the front side frame joint, (A) is a side view, (B) is a front view, (C) is a plan view, and (D) is a bottom view. (Example 2) フロントジョイント及びサイドフレームジョイントの結合に係り、(A)は、結合前の側面図、(B)は、結合途中の側面図、(C)は、結合状態の側面図である。(実施例2)In connection with the coupling of the front joint and the side frame joint, (A) is a side view before coupling, (B) is a side view in the middle of coupling, and (C) is a side view in the coupled state. (Example 2)

移動補助が必要な被補助者でも装置内へ容易に移動可能にするという目的を、前輪を備えたフロント走行ユニットと後輪を備えたリヤ走行ユニットとの下部相互を下部のサイドフレームで結合した走行ベースに、走行ベースの一側にサイドフレームを配置することによって、その他側にフロント走行ユニット及びリヤ走行ユニット間を開放する開放口を設けた移動補助器によって実現した。   The lower side frame of the front traveling unit with the front wheels and the rear traveling unit with the rear wheels are connected to each other by the lower side frame for the purpose of making it possible for the assisted person who needs assistance to move easily into the device. The travel base is realized by a movement auxiliary device in which a side frame is arranged on one side of the travel base and an opening is provided on the other side to open the front travel unit and the rear travel unit.

移動補助器では、開放口からフロント走行ユニット及びリヤ走行ユニット間に被補助者の移動を可能とする。   In the movement assistance device, the person to be assisted can be moved between the front traveling unit and the rear traveling unit from the opening.

サイドフレームは、フロント走行ユニット及びリヤ走行ユニットに対して着脱可能に結合するための結合部を有し、フロント走行ユニット及びリヤ走行ユニットは、サイドフレームを着脱可能に結合するための被結合部を走行ベースの一側及び他側の双方に備えてもよい。この場合は、サイドフレームの結合を一側から他側に切り替え、開放口を他側から一側に切り替えて備えることを可能とする。ただし、サイドフレームは、フロント走行ユニット及びリヤ走行ユニットに対して着脱不能に固定してもよい。   The side frame has a coupling part for detachably coupling to the front traveling unit and the rear traveling unit, and the front traveling unit and the rear traveling unit have a coupled part for detachably coupling the side frame. You may prepare for both the one side and the other side of a traveling base. In this case, it is possible to switch the side frame coupling from one side to the other side and switch the opening from the other side to the one side. However, the side frame may be fixed to the front traveling unit and the rear traveling unit so as not to be detachable.

被結合部は、同一構造であり、フロント走行ユニットに設けたフロントジョイントと、リヤ走行ユニットに設けたリヤジョイントとを備え、結合部は、サイドフレームの走行方向前後端に設けたサイドフレームジョイントを備えてもよい。この場合は、フロントジョイント及びリヤジョイントとサイドフレームジョイントとに、相互を走行方向前後に突き合わせる上下方向が器幅方向よりも相対的に長い突合せ面を有し、フロントジョイント及びリヤジョイントとサイドフレームジョイントとの間に、突合せ面の突合せを維持する締結具又は各サイドフレームジョイントをフロントジョイントとリヤジョイントとにそれぞれ突合せ面と平行な方向で差し込み結合させる差込部を備えてもよい。   The coupled portion has the same structure, and includes a front joint provided in the front traveling unit and a rear joint provided in the rear traveling unit, and the coupling portion includes side frame joints provided at the front and rear ends in the traveling direction of the side frame. You may prepare. In this case, the front joint, the rear joint, and the side frame joint have a butting surface in which the up and down direction that abuts each other in the longitudinal direction is relatively longer than the instrument width direction. Between the joints, there may be provided an insertion part for inserting and coupling a fastener for maintaining the butting of the butting surface or each side frame joint to the front joint and the rear joint in a direction parallel to the butting surface.

差込み部を備える場合は、例えばサイドフレームジョイントとフロントジョイント及びリヤジョイントの一方に走行方向前後に突出する凸部を設け、同他方に凸部に上下方向での差し込みによって嵌合可能な凹部を設ければよい。凹部及び凸部は、凸部の基端に対する先端側の嵌合形状において、例えば差し込み方向に交差する器幅方向に膨出する部分を設けて走行方向での抜けを防止する必要がある。なお、差し込み方向は、突合せ面と平行な方向である限り、例えば器幅方向にしたり、或は器幅方向及び上下方向に対して斜めの方向とする等のように適宜変更が可能である。   When the insertion part is provided, for example, one of the side frame joint, the front joint and the rear joint is provided with a convex part protruding forward and backward in the running direction, and the other part is provided with a concave part that can be fitted by insertion in the vertical direction. Just do it. In the fitting shape on the distal end side with respect to the base end of the convex portion, the concave portion and the convex portion need to be provided with, for example, a portion that swells in the container width direction intersecting the insertion direction to prevent the recess in the traveling direction. As long as the insertion direction is a direction parallel to the butting surfaces, the insertion direction can be changed as appropriate, for example, in the instrument width direction, or in an oblique direction with respect to the instrument width direction and the vertical direction.

サイドフレームは、走行方向前後に延びた骨格部材を上下に併設した構成でもよい。走行ベースは、上下の骨格部材に対応するフロント走行ユニット及びリヤ走行ユニットの上下の骨格部材を備えてもよい。   The side frame may have a configuration in which frame members extending in the front and rear directions in the running direction are provided side by side. The traveling base may include upper and lower skeleton members of the front traveling unit and the rear traveling unit corresponding to the upper and lower skeleton members.

移動補助器は、走行ベースに起立して備えられた座面支持フレームと、座面支持フレームに配置され被補助者が着座するための座面を有し、座面を器幅方向の着座位置とこの着座位置に対する器幅方向の外側にずれた移動可能とした座面部と、座面部を座面支持フレームに対し上下方向の着座位置と上部位置との間でアクチュエータにより移動可能に支持させる昇降機構とを備えてもよい。   The movement assisting device has a seating surface support frame provided upright on the traveling base, and a seating surface that is arranged on the seating surface support frame and seated by a person being supported. And a seat surface portion that is movable to the outside in the instrument width direction with respect to the seating position, and a lift that supports the seat surface portion movably by an actuator between a seating position in the vertical direction and an upper position with respect to the seating surface support frame. And a mechanism.

[起立支援歩行補助器]
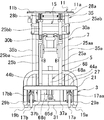
図1は、起立支援歩行補助器の右側から見た斜視図、図2は、起立支援歩行補助器の左側面図、図3は、起立支援歩行補助器の平面図、図4は、サイドフレームを外してリヤフレームを器体前方から見た正面図、図5は、起立支援歩行補助器の正面図、図6は、フロント走行ユニット及びリヤ走行ユニットとサイドフレームとの関係の分解左側面図、図7、フロント走行ユニットの正面図、図8、リヤ走行ユニットの正面図、図9は、サイドフレームとリヤ走行ユニットとの結合示す要部拡大側面図ある。
[Standing support walking aid]
FIG. 1 is a perspective view of the standing assistance walking aid from the right side, FIG. 2 is a left side view of the standing assistance walking aid, FIG. 3 is a plan view of the standing assistance walking aid, and FIG. 4 is a side frame. 5 is a front view of the rear frame as seen from the front of the body, FIG. 5 is a front view of the standing support walking assist device, and FIG. 6 is an exploded left side view of the relationship between the front traveling unit and the rear traveling unit and the side frame. FIG. 7 is a front view of the front traveling unit, FIG. 8 is a front view of the rear traveling unit, and FIG. 9 is an enlarged side view of the main part showing the coupling of the side frame and the rear traveling unit.

以下の説明において、走行方向前後は、起立支援歩行補助器の走行方向の前後であり、単に前後と称することもある。器幅方向は、起立支援歩行補助器の走行前後方向に直行する幅方向であり、左右は直進時の器幅方向の左右である。上下は、水平接地状態にある起立支援歩行補助器の重力方向である。   In the following description, the front and rear in the traveling direction are the front and rear in the traveling direction of the standing assistance walking assist device, and may be simply referred to as front and rear. The vessel width direction is a width direction that goes straight in the longitudinal direction of travel of the standing assistance walking assist device, and the left and right are the left and right in the vessel width direction when going straight. The vertical direction is the direction of gravity of the standing assisting walking aid in the horizontal grounding state.

図1〜図5のように、本発明実施例の起立支援歩行補助器1は、走行ベース3と、フロント走行ユニット5と、リヤ走行ユニット7と、サイドフレーム9と、前支持部11と、座面部13と、お腹バー15とを備えている。なお、起立支援歩行補助器1は、移動補助器の一例であり、起立支援のための後述の昇降機構を省き、起立支援を行わない構造にすることもできる。   As shown in FIGS. 1 to 5, the standing assisting walking assist device 1 according to the embodiment of the present invention includes a traveling base 3, a front traveling unit 5, a rear traveling unit 7, a side frame 9, a front support 11, A seat surface portion 13 and a stomach bar 15 are provided. In addition, the standing assistance walk assist device 1 is an example of a movement assist device, and a lifting mechanism described later for standing support may be omitted, and a structure not performing standing support may be employed.

起立支援歩行補助器1の走行ベース3は、フロント走行ユニット5及びリヤ走行ユニット7の下部と実施例の右側のサイドフレーム9とで構成されている。この走行ベース3は、平面から見て左側がフロント走行ユニット5及びリヤ走行ユニット7間で開放された逆C型となっており、逆C型の開放口3aで被補助者の出入りを行わせる。なお、フロント走行ユニット5及びリヤ走行ユニット7の下部と右側のサイドフレーム9との関係は後述する。   The traveling base 3 of the standing assistance walking assist device 1 is composed of a lower portion of the front traveling unit 5 and the rear traveling unit 7 and a right side frame 9 in the embodiment. The traveling base 3 has an inverted C shape that is opened between the front traveling unit 5 and the rear traveling unit 7 on the left side when viewed from above, and allows an assistant to enter and exit through an inverted C-shaped opening 3a. . The relationship between the lower portions of the front traveling unit 5 and the rear traveling unit 7 and the right side frame 9 will be described later.

走行ベース3は、車輪17a、17b、19a、19bを備えている。車輪17a、17bは、前輪としてフロント走行ユニット5に支持されている。車輪19a、19bは、後輪としてリヤ走行ユニット7に支持されている。   The traveling base 3 includes wheels 17a, 17b, 19a, and 19b. The wheels 17a and 17b are supported by the front traveling unit 5 as front wheels. The wheels 19a and 19b are supported by the rear traveling unit 7 as rear wheels.

図1〜図3、図5〜図7のように、フロント走行ユニット5は、金属、樹脂、繊維強化プラスチック(GFRP、CFRP)等により形成され、パイプ材のロワーフロントメンバー21とアッパーフロントメンバー23とフロントピラー25a、25bとを備えている。   As shown in FIGS. 1 to 3 and FIGS. 5 to 7, the front traveling unit 5 is formed of metal, resin, fiber reinforced plastic (GFRP, CFRP), or the like, and includes a pipe lower front member 21 and an upper front member 23. And front pillars 25a and 25b.

ロワーフロントメンバー21は、前部が左右に渡り、左右後部が後方下方へ傾斜している。ロワーフロントメンバー21の前部上にフロントベースパネル27が固定されている。フロントベースパネル27の下面に前記車輪17a、17bがキャスター17aa、17baにより方向転換可能に取り付けられている。   As for the lower front member 21, the front part crosses right and left, and the right and left rear part inclines back and downward. A front base panel 27 is fixed on the front portion of the lower front member 21. The wheels 17a and 17b are attached to the lower surface of the front base panel 27 by casters 17aa and 17ba so that the direction can be changed.

アッパーフロントメンバー23は、ロワーフロントメンバー21に対する上方で前部が左右に渡り、左右後部は後方下方へ傾斜している。   The upper front member 23 has a front portion that extends left and right above the lower front member 21, and a left and right rear portion that is inclined rearward and downward.

ロワーフロントメンバー21及びアッパーフロントメンバー23の左右後端に、被結合部としてのフロントジョイント29a、29bが固定されている。フロントジョイント29a、29bは、ブロック状であり、横断面が矩形に形成されて左右に幅を持ち、上下が幅よりも相対的に長く形成されている。このフロントジョイント29a、29bは、後述のサイドフレームジョイントに突き合わせる平坦な突合せ面29aa、29abを、上下に沿って後方に向けて備えている。   Front joints 29 a and 29 b as coupled portions are fixed to the left and right rear ends of the lower front member 21 and the upper front member 23. The front joints 29a and 29b have a block shape, are formed in a rectangular cross section and have a width on the left and right sides, and are formed so that the top and bottom are relatively longer than the width. The front joints 29a and 29b are provided with flat abutting surfaces 29aa and 29ab that abut against a side frame joint, which will be described later, facing rearward along the top and bottom.

フロントピラー25a、25bは、フロント装甲ユニット5の左右中間部に平行に配置され、鉛直方向に対し角度θ1を持って後傾している。フロントピラー25a、25bの下端は、フロントベースパネル27に結合され、フロントベースパネル27よりも上方でアッパーフロントメンバー23に後方が結合支持されている。フロントピラー25a、25bは、二重構造となっており、外筒のフロントピラーロワー25aa、25ba及びこのフロントピラーロワー25aa、25baに入れ子となる内筒のフロントピラーアッパー25ab、25bbを備えている。   The front pillars 25a and 25b are arranged in parallel to the left and right intermediate portions of the front armor unit 5, and are inclined rearward at an angle θ1 with respect to the vertical direction. The lower ends of the front pillars 25 a and 25 b are coupled to the front base panel 27, and the rear is coupled to and supported by the upper front member 23 above the front base panel 27. The front pillars 25a and 25b have a double structure, and include an outer cylindrical front pillar lower 25aa and 25ba and an inner cylindrical front pillar upper 25ab and 25bb which are nested in the front pillar lower 25aa and 25ba.

このフロントピラー25a、25bの上端部に前支持部11が取り付けられ、中間部にお腹バー15が支持されている。   The front support portion 11 is attached to the upper ends of the front pillars 25a and 25b, and the stomach bar 15 is supported at the middle portion.

前支持部11は、例えば被補助者の左右の前腕側を身体の前側で乗せるように支持し、歩行姿勢の支えとなる。この前支持部11は、左右の肘支持部11a、11bを別々に備えている。左右の肘支持部11a、11bは、前後傾斜調節機構28a、28bと上下位置調節機構30a、30bとの可動構造により、左右別々に前後傾斜調節及び上下位置調節を行わせることができる。   The front support unit 11 supports, for example, the left and right forearms of the person being assisted on the front side of the body, and supports the walking posture. The front support portion 11 includes left and right elbow support portions 11a and 11b separately. The left and right elbow support portions 11a and 11b can be adjusted to adjust the front and rear inclination and the vertical position separately from each other by the movable structure of the front and rear inclination adjustment mechanisms 28a and 28b and the vertical position adjustment mechanisms 30a and 30b.

前後傾斜調節機構28a、28bは、左右のフロントピラーアッパー25ab、25bbと左右の肘支持部11a、11bとの間に設けられ、左右の肘支持部11a、11bを別々に前後傾斜調節可能とする。   The front and rear tilt adjustment mechanisms 28a and 28b are provided between the left and right front pillar uppers 25ab and 25bb and the left and right elbow support portions 11a and 11b, respectively, so that the left and right elbow support portions 11a and 11b can be separately adjusted for front and rear tilt. .

上下位置調節機構30a、30bは、フロントピラーロワー25aa、25baの上端に設けられ、フロントピラーロワー25aa、25baに対するフロントピラーアッパー25ab、25bbの上下位置調節を可能とする。このフロントピラーアッパー25ab、25bbの上下位置調節により左右の肘支持部11a、11bの上下位置を別々に調節できるようにしている。   The vertical position adjusting mechanisms 30a and 30b are provided at the upper ends of the front pillar lowers 25aa and 25ba, and can adjust the vertical positions of the front pillar uppers 25ab and 25bb relative to the front pillar lowers 25aa and 25ba. By adjusting the vertical positions of the front pillar uppers 25ab and 25bb, the vertical positions of the left and right elbow support portions 11a and 11b can be adjusted separately.

なお、前後傾斜調節機構28a、28b及び上下位置調節機構30a、30bの他に、左右傾斜位置調節機構を追加することもできる。さらに、これらの選択的な組み合わせによる調節を行わせることもできる。前後傾斜調節機構28a、28b及び上下位置調節機構30a、30bと左右傾斜位置調節機構との組み合わせでは、肘支持部11a、11bをそれぞれXYZ方向(上下、前後、左右方向)に自由に調節させることができる。XYZ方向の調節では、ボール軸受構造を採用することもできる。   In addition to the front / rear tilt adjustment mechanisms 28a, 28b and the vertical position adjustment mechanisms 30a, 30b, a left / right tilt position adjustment mechanism may be added. Furthermore, adjustment by these selective combinations can be performed. In the combination of the front / rear inclination adjustment mechanisms 28a, 28b and the vertical position adjustment mechanisms 30a, 30b and the left / right inclination position adjustment mechanism, the elbow support portions 11a, 11b can be freely adjusted in the XYZ directions (up / down, front / rear, left / right directions), respectively. Can do. For adjustment in the XYZ directions, a ball bearing structure can be adopted.

お腹バー15は、フロントピラーロワー25aa、25baに取り付けられ、リヤ走行ユニット7側又は座面部13側に突出している。このお腹バー15は、伸縮調節により座面部13側への突出位置を調整できるようになっている。また、お腹バー15は、フロントピラー25a、25bに対して角度θ2(>θ1)を持って傾斜している。   The stomach bar 15 is attached to the front pillar lowers 25aa and 25ba, and protrudes toward the rear traveling unit 7 or the seat surface 13 side. The stomach bar 15 can adjust the protruding position toward the seat surface portion 13 by adjusting expansion and contraction. The stomach bar 15 is inclined at an angle θ2 (> θ1) with respect to the front pillars 25a and 25b.

図1〜図6、図8のように、リヤ走行ユニット7は、金属、樹脂、繊維強化プラスチック(GFRP、CFRP)等により形成され、パイプ材のロワーリヤメンバー31とアッパーリヤメンバー33と座面支持フレーム35とを備えている。   As shown in FIGS. 1 to 6 and 8, the rear traveling unit 7 is formed of metal, resin, fiber reinforced plastic (GFRP, CFRP), and the like, and includes a lower rear member 31, an upper rear member 33, and a seating surface that are pipe materials. And a support frame 35.

ロワーリヤメンバー31及びアッパーリヤメンバー33の前端に、被結合部としてのリヤジョイント36a、36bが固定されている。リヤジョイント36a、36bは、ブロック状であり、横断面が矩形に形成されて左右に幅を持ち、幅よりも上下に相対的に長く形成されている。このリヤジョイント36a、36bは、後述のサイドフレームジョイントに突き合わせる平坦な突合せ面36aa、36baを、上下に沿って前方に向けて備えている。   At the front ends of the lower rear member 31 and the upper rear member 33, rear joints 36a and 36b as fixed portions are fixed. The rear joints 36a and 36b are block-shaped, have a rectangular cross section, have a width on the left and right, and are formed to be relatively long above and below the width. The rear joints 36a and 36b are provided with flat abutting surfaces 36aa and 36ba that abut against a side frame joint, which will be described later, facing forward in the vertical direction.

ロワーリヤメンバー31とアッパーリヤメンバー33との間は、連結メンバー37a、37b、リヤジョイント36a,36bにより結合されている。ロワーリヤメンバー31上にロワーリヤベースパネル41が固定され、アッパーリヤメンバー33上にアッパーリヤベースパネル42が固定されている。   The lower rear member 31 and the upper rear member 33 are coupled by connecting members 37a and 37b and rear joints 36a and 36b. A lower rear base panel 41 is fixed on the lower rear member 31, and an upper rear base panel 42 is fixed on the upper rear member 33.

アッパーリヤメンバー33は、ロワーフロントメンバー21の前部と同一高さに設定され、アッパーリヤベースパネル42は、フロントベースパネル27と同一平面上にある。   The upper rear member 33 is set to the same height as the front portion of the lower front member 21, and the upper rear base panel 42 is on the same plane as the front base panel 27.

ロワーリヤベースパネル41の左右部に軸支持部43a、43bが設けられ、この軸支持部43a、43bに、前記後輪19a、19bが回転自在に軸受け支持されている。   Shaft support portions 43a and 43b are provided on the left and right portions of the lower rear base panel 41, and the rear wheels 19a and 19b are rotatably supported by the shaft support portions 43a and 43b.

後輪19a、19bには、図4等に示す抑速ブレーキであるブレーキユニット39a,39bがそれぞれ接続され、外部に図2及び3等に示す後輪ロック機構45a、45bが備えられている。抑速ブレーキにより後輪19a、19bに常時フリクションが働き、走行ベース3による走行速度が自動で制限されるようになっている。但し、抑速ブレーキを省略することもでき、空車状態での移動を容易にすることができる。後輪ロック機構45a、45bにより後輪19a、19bをロック及びロック解除ができる。   The rear wheels 19a and 19b are connected to brake units 39a and 39b, which are speed-reducing brakes shown in FIG. 4 and the like, respectively, and are provided with rear wheel locking mechanisms 45a and 45b shown in FIGS. By the deceleration brake, friction is always applied to the rear wheels 19a, 19b, and the traveling speed by the traveling base 3 is automatically limited. However, the deceleration brake can be omitted, and the movement in the empty state can be facilitated. The rear wheels 19a and 19b can be locked and unlocked by the rear wheel locking mechanisms 45a and 45b.

座面支持フレーム35は、左右のリヤピラー35a、35bを備え、リヤピラー35a、35bが、アッパーリヤベースパネル42に固定され、補強ブラケット44a、44bがアッパーリヤベースパネル42と左右のリヤピラー35a、35bとの間を補強するように取り付けられている。   The seating surface support frame 35 includes left and right rear pillars 35a and 35b, the rear pillars 35a and 35b are fixed to the upper rear base panel 42, and the reinforcing brackets 44a and 44b are connected to the upper rear base panel 42 and the left and right rear pillars 35a and 35b. It is attached to reinforce the gap.

座面支持フレーム35は、この取り付け状態で走行ベース3の進行方向後部側に起立して備えられ、鉛直方向に対し角度θ3(<θ1)で後傾している。なお、リヤピラー35a,35bの傾斜角度θ3は、フロントピラー25a、25bの傾斜角度θ1と等しく設定してもよい(θ3=θ1)。リヤピラー35a、35bの上部は、アッパーリヤクロスメンバー35cにより結合されている。アッパーリヤクロスメンバー35cよりも下側でリヤピラー35a、35bの上部間には、ハンドルバー35dが取り付けられ、座面支持フレーム35の後方に突出している。   The seating surface support frame 35 is provided to stand on the rear side in the traveling direction of the traveling base 3 in this attached state, and is inclined rearward at an angle θ3 (<θ1) with respect to the vertical direction. The tilt angle θ3 of the rear pillars 35a and 35b may be set equal to the tilt angle θ1 of the front pillars 25a and 25b (θ3 = θ1). The upper portions of the rear pillars 35a and 35b are coupled by an upper rear cross member 35c. A handle bar 35d is attached below the upper rear cross member 35c and between the upper portions of the rear pillars 35a, 35b, and protrudes rearward of the seating surface support frame 35.

この座面支持フレーム35のリヤピラー35a、35bに座面部13が昇降可能に支持されている。   The seat surface portion 13 is supported by the rear pillars 35a and 35b of the seat surface support frame 35 so as to be movable up and down.

[サイドフレーム]
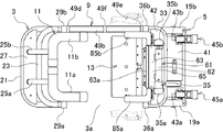
図9は、サイドフレームの側面図、図10は、サイドフレームの平面図、図11は、横レインフォースバーの平面図、図12は、縦レインフォースバーに係り、(A)は、正面図、(B)は、縦断面図、図13は、サイドフレームジョイントの正面図、図14は、サイドフレームジョイントに係り、(A)は、背面図、(B)は、縦断面図、図15は、サイドフレームとリヤ走行ユニットとの結合を示す要部拡大側面図である。
[Side frame]
9 is a side view of the side frame, FIG. 10 is a plan view of the side frame, FIG. 11 is a plan view of the horizontal reinforcement bar, FIG. 12 is related to the vertical reinforcement bar, and (A) is a front view. , (B) is a longitudinal sectional view, FIG. 13 is a front view of the side frame joint, FIG. 14 is related to the side frame joint, (A) is a rear view, and (B) is a longitudinal sectional view, FIG. These are the principal part expanded side views which show the coupling | bonding of a side frame and a rear traveling unit.

図1〜図15で示すサイドフレーム9は、金属、樹脂、繊維強化プラスチック(GFRP、CFRP)等により形成され、図9のように骨格部材である上下一対のパイプ49a、49b間に板状の横レインフォースバー49cが併設配置されている。パイプ49a、49b及び横レインフォースバー49cの前後端には、結合部としてのサイドフレームジョイント49d、49eが取り付けられ、同中間部には、縦レインフォースバー49fが取り付けられている。   The side frame 9 shown in FIGS. 1 to 15 is formed of metal, resin, fiber reinforced plastic (GFRP, CFRP) or the like, and has a plate-like shape between a pair of upper and lower pipes 49a and 49b that are skeleton members as shown in FIG. A horizontal reinforcement bar 49c is also provided. Side frame joints 49d and 49e as connecting portions are attached to the front and rear ends of the pipes 49a and 49b and the horizontal reinforcement bar 49c, and a vertical reinforcement bar 49f is attached to the intermediate portion.

横レインフォースバー49cとサイドフレームジョイント49d、49eと縦レインフォースバー49fとは、図10のように同一幅に形成され、上下のパイプ49a、49bの径は、横レインフォースバー49c等の幅よりも小さな寸法に形成されている。   The horizontal reinforcement bar 49c, the side frame joints 49d and 49e, and the vertical reinforcement bar 49f are formed to have the same width as shown in FIG. 10, and the diameters of the upper and lower pipes 49a and 49b are the width of the horizontal reinforcement bar 49c and the like. Smaller dimensions.

横レインフォースバー49cは、図11のように長尺の矩形板状に形成され、長手方向の中央の一辺側に矩形の凹部49caが形成されている。凹部49caの幅は、縦レインフォースバー49fの板厚に応じて形成され、縦レインフォースバー49fに嵌合するようになっている。   The horizontal reinforcement bar 49c is formed in a long rectangular plate shape as shown in FIG. 11, and a rectangular recess 49ca is formed on one side of the center in the longitudinal direction. The width of the concave portion 49ca is formed in accordance with the plate thickness of the vertical reinforcement bar 49f and is fitted to the vertical reinforcement bar 49f.

縦レインフォースバー49fは、図12のように上下が半円状にカットされた板材又はブロック材で形成されている。この縦レインフォースバー49fには、上下に挿通孔49fa、49fbが形成され、上下方向の中央の一辺側に矩形の凹部49fcが形成されている。凹部49fcの幅は、横レインフォースバー49cの板厚に応じて形成され、横レインフォースバー49cに嵌合するようになっている。   The vertical reinforcement bar 49f is formed of a plate material or a block material whose upper and lower sides are cut in a semicircular shape as shown in FIG. The vertical reinforcement bar 49f is formed with insertion holes 49fa and 49fb in the vertical direction, and a rectangular recess 49fc is formed on one side of the center in the vertical direction. The width of the recess 49fc is formed in accordance with the thickness of the lateral reinforcement bar 49c, and is fitted to the lateral reinforcement bar 49c.

具体的には、横レインフォースバー49cの凹部49caと縦レインフォースバー49fの凹部49fcとが噛合わされ、凹部49caが縦レインフォースバー49fに嵌合すると共に凹部49fcが横レインフォースバー49cに嵌合して、図9、図10のように組み合わされると共に相互間の隅部が熔接等により固定される。   Specifically, the concave portion 49ca of the horizontal reinforcement bar 49c and the concave portion 49fc of the vertical reinforcement bar 49f are engaged with each other, the concave portion 49ca is fitted to the vertical reinforcement bar 49f, and the concave portion 49fc is fitted to the horizontal reinforcement bar 49c. Together, they are combined as shown in FIGS. 9 and 10 and the corners between them are fixed by welding or the like.

縦レインフォースバー49fの上下の挿通孔49fa、49fbには、パイプ49a、49bが別々に挿通し、縦レインフォースバー49fとパイプ49a,49bとの相互間の隅部が熔接等により固定されている。   The pipes 49a and 49b are separately inserted into the upper and lower insertion holes 49fa and 49fb of the vertical reinforcement bar 49f, and the corners between the vertical reinforcement bar 49f and the pipes 49a and 49b are fixed by welding or the like. Yes.

サイドフレームジョイント49d、49eは、同一構造であり、サイドフレームジョイント49d(49e)は、横断面が矩形に形成されている。このサイドフレームジョイント49d(49e)は、前後方向から見て図13、図14のように縦レインフォースバー49fとほぼ同一の外形形状に形成されており、上下が半円状にカットされた板材又はブロック材で形成されている。このため、サイドフレームジョイント49d(49e)は、前後方向から見た対向面の外形がフロントジョイント29a、29b、リヤジョイント36a、36bと同一に形成されている。   The side frame joints 49d and 49e have the same structure, and the side frame joint 49d (49e) has a rectangular cross section. The side frame joint 49d (49e) is formed in a substantially same outer shape as the longitudinal reinforcement bar 49f as shown in FIGS. 13 and 14 when viewed from the front-rear direction, and is a plate whose upper and lower sides are cut into a semicircular shape. Or it is formed with the block material. For this reason, the side frame joint 49d (49e) has the same outer shape as the front joints 29a and 29b and the rear joints 36a and 36b when viewed from the front-rear direction.

なお、フロントジョイント29a、29b、リヤジョイント36a、36bは、サイドフレームジョイント49d(49e)よりも横断面が肉厚の板材又はブロック材で形成され、フロント走行ユニット5及びリヤ走行ユニット7のフレーム構造の補強が図られている。   The front joints 29a and 29b and the rear joints 36a and 36b are formed of a plate material or a block material whose cross section is thicker than that of the side frame joint 49d (49e), and the frame structure of the front traveling unit 5 and the rear traveling unit 7. Reinforcement of is planned.

サイドフレームジョイント49d、49eには、上下方向が器幅方向よりも長い形状で相互を走行方向前後に突き合わせる平坦な突合せ面49da、49eaが上下方向に沿って形成されている。突合せ面49da、49eaは、突合せ面29aa、29ab、36aa、36abと同一の外形形状となっている。   In the side frame joints 49d and 49e, flat abutting surfaces 49da and 49ea are formed along the up-and-down direction so that the up-and-down direction is longer than the instrument width direction and abut each other in the front-rear direction. The butted surfaces 49da and 49ea have the same outer shape as the butted surfaces 29aa, 29ab, 36aa, and 36ab.

サイドフレームジョイント49d(49e)には、上下方向に4個の貫通孔49db(49eb)、49dc(49ec)、49dd(49ed)、49de(49ee)が形成されている。なお、図13、図14では、サイドフレームジョイント49dを示し、サイドフレームジョイント49eは、括弧内に符号を付し、対応を示している。   In the side frame joint 49d (49e), four through holes 49db (49eb), 49dc (49ec), 49dd (49ed), and 49de (49ee) are formed in the vertical direction. In FIGS. 13 and 14, a side frame joint 49d is shown, and the side frame joint 49e is indicated by a reference numeral in parentheses.

サイドフレームジョイント49d(49e)には、貫通孔49db(49eb)、49dc(49ec)、49dd(49ed)、49de(49ee)に対応して、上下に位置する前後に浅い座繰り部49df(49ef)、49dg(49eg)と中間部に位置する座繰り部49df(49ef)、49dg(49eg)よりも径が小さく且つ前後に深い座繰り部49dh(49eh)、49di(49ei)とが背面側に形成されている。座繰り部49df(49ef)、49dg(49eg)の径は、パイプ49a、49bの外径に対応し、座繰り部49dh(49eh)、49di(49ei)の径は、締結用のボルト頭の外径に対応している。   The side frame joint 49d (49e) has a shallow countersunk portion 49df (49ef) that is positioned vertically corresponding to the through holes 49db (49eb), 49dc (49ec), 49dd (49ed), and 49de (49ee). 49dg (49eg) and countersinks 49df (49ef), 49dg (49eg) located in the middle and smaller in diameter than the 49dg (49eg) and deep in the front and back are formed on the back side 49dh (49eh), 49di (49ei) Has been. The diameters of the countersunk portions 49df (49ef) and 49dg (49eg) correspond to the outer diameters of the pipes 49a and 49b, and the diameters of the countersink portions 49dh (49eh) and 49di (49ei) are outside the bolt head for fastening. It corresponds to the diameter.

サイドフレームジョイント49d(49e)の上下方向の中央には、浅溝部49dj(49ej)が幅方向に渡って形成されている。浅溝部49dj(49ej)の深さは、座繰り部49df(49ef)、49dg(49eg)と同程度となっている。   A shallow groove portion 49dj (49ej) is formed in the width direction at the center of the side frame joint 49d (49e) in the vertical direction. The depth of the shallow groove portion 49dj (49ej) is approximately the same as the countersink portions 49df (49ef) and 49dg (49eg).

従って、サイドフレームジョイント49d(49e)は、図9、図10のように配置され、浅い座繰り部49df(49ef)、49dg(49eg)をパイプ49a、49bの端部に嵌め込むと共に、浅溝部49dj(49ej)を横レインフォースバー49cの端部に嵌め込むことで組みつけられ、相互間の隅部が熔接等により固定されている。   Accordingly, the side frame joint 49d (49e) is arranged as shown in FIGS. 9 and 10, and the shallow countersink portions 49df (49ef) and 49dg (49eg) are fitted into the ends of the pipes 49a and 49b, and the shallow groove portion is provided. 49dj (49ej) is assembled by fitting it into the end of the horizontal reinforcement bar 49c, and the corners between them are fixed by welding or the like.

そして、図1〜図3、図6のように、サイドフレーム9がフロントジョイント29b及びリヤジョイント36b間に配置されている。この配置状態で、サイドフレームジョイント49d、49eの突合せ面49da、49eaがフロントジョイント29bとリヤジョイント36bとの突合せ面29ba、36baに別々に突き合わされ、締結結合されている。   1 to 3 and 6, the side frame 9 is disposed between the front joint 29b and the rear joint 36b. In this arrangement state, the butted surfaces 49da and 49ea of the side frame joints 49d and 49e are separately butted against the butted surfaces 29ba and 36ba of the front joint 29b and the rear joint 36b, and are fastened and coupled.

この結合構造は、各ジョイント間で同一であり、サイドフレームジョイント49eとリヤジョイント36bとの間の締結構造を図15で説明する。   This coupling structure is the same between the joints, and a fastening structure between the side frame joint 49e and the rear joint 36b will be described with reference to FIG.

なお、図15では、サイドフレームジョイント49eが左のリヤジョイント36aに締結結合されているように見えるが、図1〜図3のように、サイドフレームジョイント49eがリヤジョイント36bに締結構造されている構造を左側面図として見たのが図15であり、図においてサイドフレームジョイント49eが締結結合されているのはリヤジョイント36bである。   In FIG. 15, the side frame joint 49e seems to be fastened and coupled to the left rear joint 36a. However, as shown in FIGS. 1 to 3, the side frame joint 49e is fastened to the rear joint 36b. FIG. 15 shows the structure as a left side view. In the figure, the side frame joint 49e is fastened to the rear joint 36b.

サイドフレームジョイント49eには、上下の貫通孔49db(49eb)、49de(49ee)に予めピン59a、59bが取り付けられる。締結結合に際しては、リヤジョイント36bのブッシュ57a、57bに対し、サイドフレームジョイント49eのピン59a、59bが嵌合して位置決めがなされる。ブッシュ57a、57b及びピン59a、59bは、パイプ49a、49bと同心となっている。   In the side frame joint 49e, pins 59a and 59b are previously attached to the upper and lower through holes 49db (49eb) and 49de (49ee). At the time of fastening connection, the pins 59a and 59b of the side frame joint 49e are fitted to the bushes 57a and 57b of the rear joint 36b for positioning. The bushes 57a and 57b and the pins 59a and 59b are concentric with the pipes 49a and 49b.

この位置決め状態でサイドフレームジョイント49e側から中間部の貫通孔49dc、(49ec)、49dd(49ed)に背面側から差し込まれたボルト59c、59dがリヤジョイント36bの雌ねじ部にねじ込まれ、サイドフレームジョイント49eがリヤジョイント36bに締結結合される。フロントジョイント29bに対するサイドフレームジョイント49dの締結も同様に行われる。   In this positioning state, the bolts 59c and 59d inserted from the back side into the through holes 49dc, (49ec) and 49dd (49ed) in the middle part from the side frame joint 49e side are screwed into the female thread part of the rear joint 36b, and the side frame joint 49e is fastened and coupled to the rear joint 36b. The side frame joint 49d is fastened to the front joint 29b in the same manner.

この締結結合によりフロント走行ユニット5及びリヤ走行ユニット7がサイドフレーム9により一体的に結合され、走行ベース3を備えた起立支援歩行補助器1が構成される。   By this fastening connection, the front traveling unit 5 and the rear traveling unit 7 are integrally coupled by the side frame 9, and the standing support walking assist device 1 including the traveling base 3 is configured.

[サイドフレームの作用]
サイドフレーム9を用いた締結結合により、フロントジョイント29b及びリヤジョイント36bに対し、サイドフレームジョイント49d及びサイドフレームジョイント49eは、左右に幅を持ち上下に長い平坦な突合せ面29ba、36ba及び突合せ面49da、49eaで突合せた状態で結合される。
[Action of side frame]
By the fastening connection using the side frame 9, the side frame joint 49d and the side frame joint 49e are flat to the front joint 29b and the rear joint 36b. , 49ea.

この突合せ面29ba、36ba及び突合せ面49da、49eaでの突合せ結合に加え、サイドフレーム9自体も、サイドフレームジョイント49d及びサイドフレームジョイント49eが上下に離間した平行パイプ49a、49bで結合され、横レインフォースバー49c及び縦レインフォースバー49fで補強されて、上下、前後、左右に高い剛性を備えている。   In addition to the butt coupling at the butting surfaces 29ba and 36ba and the butting surfaces 49da and 49ea, the side frame 9 itself is also coupled by parallel pipes 49a and 49b in which the side frame joint 49d and the side frame joint 49e are vertically spaced apart. Reinforced by the force bar 49c and the vertical rain force bar 49f, it has high rigidity in the vertical and front-rear and left-right directions.

さらに、フロント走行ユニット5は、ロワーフロントメンバー21及びフロントベースパネル27と、アッパーフロントメンバー23と、フロントピラー25a、25bと、フロントジョイント29a、29bとが溶接等により結合されて側面から見て閉断面構造をなし、上下、前後、左右に剛性の高いフレーム構造を構成している。   Furthermore, the front traveling unit 5 includes a lower front member 21 and a front base panel 27, an upper front member 23, front pillars 25a and 25b, and front joints 29a and 29b that are joined together by welding or the like and closed when viewed from the side. It has a cross-sectional structure and constitutes a highly rigid frame structure in the top, bottom, front, back, left and right.

リヤ走行ユニット7は、ロワーリヤメンバー31及びロワーリヤベースパネル41と、アッパーリヤメンバー33及びアッパーリヤベースパネル42と、連結メンバー37a、37b、リヤジョイント36a,36bとが溶接等により結合されて側面から見て閉断面構造をなし、上下、前後、左右に剛性の高いフレーム構造を構成している。   The rear traveling unit 7 includes a lower rear member 31 and a lower rear base panel 41, an upper rear member 33 and an upper rear base panel 42, connecting members 37a and 37b, and rear joints 36a and 36b that are joined together by welding or the like. As seen from above, it has a closed cross-sectional structure, and has a highly rigid frame structure in the top, bottom, front, back, left and right.

そして、結合状態において、サイドフレーム9のパイプ49aは、アッパーリヤメンバー33と同一高さに位置し、パイプ49bは、ロワーリヤメンバー31と同一高さに位置する。サイドフレーム9の上のパイプ49aに対しては、フロント走行ユニット5の傾斜したアッパーフロントメンバー23後端が若干低い位置となっており、サイドフレーム9の下のパイプ49bに対しては、フロント走行ユニット5の傾斜したロワーフロントメンバー21の後端は若干高い位置となっている。   In the coupled state, the pipe 49 a of the side frame 9 is positioned at the same height as the upper rear member 33, and the pipe 49 b is positioned at the same height as the lower rear member 31. The rear end of the inclined upper front member 23 of the front traveling unit 5 is slightly lower with respect to the pipe 49a on the side frame 9, and the front traveling unit 5 is in front of the pipe 49b below the side frame 9. The rear end of the inclined lower front member 21 of the unit 5 is slightly higher.

従って、サイドフレーム9を用いた上記締結構造により剛性の高いフレーム構造の走行ベース3にすることができる。しかも、剛性の高いフレーム構造により、各部の肉厚、径、幅等を減少させ、装置全体の軽量化も可能となる。   Therefore, the above-described fastening structure using the side frames 9 can provide the traveling base 3 with a highly rigid frame structure. In addition, due to the highly rigid frame structure, the thickness, diameter, width, etc. of each part can be reduced, and the overall weight of the apparatus can be reduced.

また、サイドフレーム9は、走行ベース3の器幅方向の一側、例えば右側に位置し、器幅方向の他側、例えば左側のフロントジョイント29a及びリヤジョイント36a間が開放された開放口3aを備える構成となっている。   Further, the side frame 9 is located on one side, for example, the right side of the traveling base 3 in the instrument width direction, and has an opening 3a that is open between the front joint 29a and the rear joint 36a on the other side in the instrument width direction, for example, the left side. It is configured to be equipped.

従って、開放口3aからは、フロント走行ユニット5及びリヤ走行ユニット7間に被補助者の移動を可能とする。   Accordingly, it is possible to move the person being assisted between the front traveling unit 5 and the rear traveling unit 7 through the opening 3a.

なお、サイドフレーム9は、左側のフロントジョイント29a及びリヤジョイント36a間に配置して同様に締結結合することができ、この場合は、右側のフロントジョイント29b及びリヤジョイント36b間に開放された開放口を備える構成となる。また、この場合に走行ベース3は、平面から見てC型となる。   The side frame 9 can be disposed between the left front joint 29a and the rear joint 36a and can be fastened and coupled in the same manner. In this case, an open port opened between the right front joint 29b and the rear joint 36b. It becomes the composition provided with. In this case, the traveling base 3 is C-shaped when viewed from the plane.

サイドフレーム9は、着脱構造ではなく左右何れかにおいて走行ベース3に固定的に設けることもできる。   The side frame 9 can be fixedly provided on the traveling base 3 on either the left or right side instead of the detachable structure.

[昇降機構]
図16は、昇降機構により支持した座面部を示し、座面部格納位置での正面図、図17は、昇降機構により支持した座面部を示し、座面部格納位置での左側面図、図18は、配電盤を示す昇降フレームの背面図、図19は、配電盤の正面図である。
[Elevating mechanism]
16 shows the seat surface portion supported by the lifting mechanism, and is a front view at the seat portion storing position. FIG. 17 shows the seat surface portion supported by the lifting mechanism, and is a left side view at the seat portion storing position. FIG. 19 is a rear view of the lifting frame showing the switchboard, and FIG. 19 is a front view of the switchboard.

図1〜図4、図16、図17のように、座面部13は、座面支持フレーム35に配置され被補助者が着座するための座面を有している。この座面部13は、昇降機構61により座面支持フレーム35に支持されている。昇降機構61は、座面部13を座面支持フレーム35に対し着座位置と上部位置との間でアクチュエータにより移動可能にする。昇降機構61は、昇降フレーム62を備えている。   As shown in FIGS. 1 to 4, 16, and 17, the seating surface portion 13 is disposed on the seating surface support frame 35 and has a seating surface on which an assistant is seated. The seat surface portion 13 is supported by the seat surface support frame 35 by an elevating mechanism 61. The elevating mechanism 61 makes the seat surface portion 13 movable with respect to the seat surface support frame 35 by an actuator between a seating position and an upper position. The lifting mechanism 61 includes a lifting frame 62.

昇降フレーム62は、金属、樹脂、繊維強化プラスチック(GFRP、CFRP)等により形成された骨格部材により矩形枠状に形成され、背面に凹部62b(図18)を有している。この昇降フレーム62の走行方向前面に背もたれ63が取り付けられている。背もたれ63は、クッション63aを備えている。背もたれ63の幅は、昇降フレーム62に応じてリヤピラー35a、35b間の幅に設定されている。昇降フレーム62の走行方向後面の凹部内には、後述する制御基板等が収容され、スペースの有効利用が図られている。   The elevating frame 62 is formed in a rectangular frame shape by a skeleton member made of metal, resin, fiber reinforced plastic (GFRP, CFRP) or the like, and has a recess 62b (FIG. 18) on the back surface. A backrest 63 is attached to the front of the elevating frame 62 in the traveling direction. The backrest 63 includes a cushion 63a. The width of the backrest 63 is set to the width between the rear pillars 35 a and 35 b according to the lifting frame 62. A control board, which will be described later, is accommodated in a recess on the rear surface of the elevating frame 62 in the traveling direction, so that the space is effectively used.

昇降フレーム62の上面には、リミットスイッチ64a、64bが取り付けられている。リミットスイッチ64a、64bの上側にはスイッチ板65が対向配置され、このスイッチ板65は、スプリング66a、66bにより昇降フレーム62の上面に可動支持されている。スイッチ板65に対応して座面支持フレーム35のリヤピラー35bにストッパー(図示せず。)が取り付けられている。また、リミットスイッチ64aは、昇降フレーム62の下面にも取り付けられている。   Limit switches 64 a and 64 b are attached to the upper surface of the elevating frame 62. A switch plate 65 is disposed on the upper side of the limit switches 64a and 64b. The switch plate 65 is movably supported on the upper surface of the elevating frame 62 by springs 66a and 66b. A stopper (not shown) is attached to the rear pillar 35 b of the seating surface support frame 35 corresponding to the switch plate 65. Further, the limit switch 64 a is also attached to the lower surface of the lifting frame 62.

昇降フレーム62の器幅方向両側には、ローラー(図示せず。)がそれぞれ上下2箇所に取り付けられている。ローラーは、リヤピラー35a、35b内に収容されている。ローラーの支軸は、リヤピラー35a、35bが昇降フレーム62に対向する面のスリットを貫通し、この支軸がスリットに沿って昇降移動可能となっている。   On both sides of the lifting frame 62 in the instrument width direction, rollers (not shown) are respectively attached at two upper and lower positions. The rollers are accommodated in the rear pillars 35a and 35b. As for the support shaft of the roller, the rear pillars 35a and 35b pass through a slit on the surface facing the lift frame 62, and the support shaft can be moved up and down along the slit.

従って、ローラーがリヤピラー35a、35b内に沿って転動し、このローラーの転動により、昇降フレーム62は、リヤピラー35a、35bに沿って昇降ガイドされるようになっている。   Accordingly, the roller rolls along the rear pillars 35a and 35b, and the raising and lowering frame 62 is guided along the rear pillars 35a and 35b by the rolling of the rollers.

この昇降フレーム62の前面側で背もたれ63に座面部13が取り付けられ、アクチュエータにより昇降フレーム62を介して座面部13が上下移動する。   The seat surface portion 13 is attached to the backrest 63 on the front side of the lift frame 62, and the seat surface portion 13 moves up and down via the lift frame 62 by the actuator.

図1、図2、図4、図5、図15、図18のように、アクチュエータは、電動シリンダ装置68で構成されている。この電動シリンダ装置68は、走行ベース3の幅方向中央と昇降フレーム62の幅方向中央との間に取り付けられている。電動シリンダ装置68は、ハウジング68a、シャフト68b、及び電動モータ68c等を備えている。   As shown in FIGS. 1, 2, 4, 5, 15, and 18, the actuator includes an electric cylinder device 68. The electric cylinder device 68 is attached between the center in the width direction of the traveling base 3 and the center in the width direction of the elevating frame 62. The electric cylinder device 68 includes a housing 68a, a shaft 68b, an electric motor 68c, and the like.

この電動シリンダ装置68は、ハウジング68aが電動モータ68c側の下端で軸支持部65dに回転自在に支持されている。軸支持部65dは、ロワーリヤベースパネル41上に配置されている。電動シリンダ装置68のシャフト68bは、昇降フレーム62に取り付けた軸支持部62aに回転自在に支持されている(図18)。   In the electric cylinder device 68, a housing 68a is rotatably supported by a shaft support portion 65d at the lower end on the electric motor 68c side. The shaft support portion 65d is disposed on the lower rear base panel 41. The shaft 68b of the electric cylinder device 68 is rotatably supported by a shaft support portion 62a attached to the lifting frame 62 (FIG. 18).

電動モータ68cは、昇降フレーム62背部の制御基板69に導通接続されている。   The electric motor 68c is conductively connected to the control board 69 at the back of the lifting frame 62.

図18、図19のように、制御基板69は、バッテリー70及び充電器71と共に制御盤プレート73に取り付けられ、制御盤プレート73が、昇降フレーム62背部の凹部62b内に取り付けられている。この取り付けにより制御基板69、バッテリー70及び充電器71が凹部62b内に一括して収容されている。   As shown in FIGS. 18 and 19, the control board 69 is attached to the control board plate 73 together with the battery 70 and the charger 71, and the control board plate 73 is attached in the recess 62 b at the back of the lifting frame 62. With this attachment, the control board 69, the battery 70, and the charger 71 are collectively accommodated in the recess 62b.

制御基板69には、駆動制御回路をリモートコントロールするコントローラ75(図1、図25)が有線接続され、コントローラ75は、座面支持フレーム35に着脱可能に支持され、被補助者又は補助者が把持して操作可能となっている。なお、コントローラ75は、無線接続することもできる。また、コントローラ75は、座面支持フレーム35等に固定的に設けても良い。制御基板69には、キースイッチを設けることもできる。キースイッチにより補助者が解錠操作をしなければ電源が起動せず、コントローラ75による操作を無効にすることができ、被補助者又は補助者の誤操作による誤動作を防止できる。   A controller 75 (FIGS. 1 and 25) for remotely controlling the drive control circuit is wired to the control board 69, and the controller 75 is detachably supported by the seating surface support frame 35. It can be gripped and operated. The controller 75 can also be wirelessly connected. The controller 75 may be fixedly provided on the seat support frame 35 or the like. The control board 69 can be provided with a key switch. If the assistant does not perform the unlocking operation with the key switch, the power supply does not start, the operation by the controller 75 can be invalidated, and the malfunction due to the erroneous operation of the person being assisted or the assistant can be prevented.

コントローラ75の操作により電動モータ68cを駆動制御することで、昇降フレーム62を座面支持フレーム35に沿って下限位置と上限位置との間で昇降させ、座面部13を相対的に下方の着座位置と相対的に上方の上部位置との間で移動させることができる。   By driving and controlling the electric motor 68c by the operation of the controller 75, the elevating frame 62 is raised and lowered between the lower limit position and the upper limit position along the seating surface support frame 35, and the seating surface portion 13 is relatively lowered to the seating position. And a relatively upper upper position.

昇降フレーム62の上限位置では、スイッチ板65がストッパー35baに当接し、スプリング66a、66bが撓んでスイッチ板65がリミットスイッチ64a、64bを動作させることができる。このリミットスイッチ64a、64bの動作により制御基板69が電動モータ68cを停止させ、昇降フレーム62が上限位置で位置決められる。   At the upper limit position of the elevating frame 62, the switch plate 65 contacts the stopper 35ba, the springs 66a, 66b are bent, and the switch plate 65 can operate the limit switches 64a, 64b. The operation of the limit switches 64a and 64b causes the control board 69 to stop the electric motor 68c, and the lifting frame 62 is positioned at the upper limit position.

[座面部]
図20は、着座位置での座面部の平面図、図21は、図20のXXI−XXI線矢視で示すスライド機構に係り、(A)は、右移乗位置での断面図、(B)着座位置での断面図、(C)左移乗位置での断面図、図22は、図20のXXII−XXII線矢視で示すロック機構に係る断面図、図23は、図20のXXIII−XXIII線矢視矢視で示すロック機構に係に係り、(A)は、右移乗位置でのロック機構を示す断面図、(B)は、着座位置でのロック機構を示す断面図、図24は、(A)は着座位置でのロック解除時の断面図、(B)は、左移乗位置でのロック状態の断面図、図25は、座面板の移乗位置での使用状態を示す起立支援歩行補助器の要部斜視図である。
[Sitting surface]
20 is a plan view of the seating surface portion at the seating position, FIG. 21 is related to the slide mechanism shown by the arrow XXI-XXI in FIG. 20, (A) is a cross-sectional view at the right transfer position, and (B). Cross-sectional view at the sitting position, (C) Cross-sectional view at the left transfer position, FIG. 22 is a cross-sectional view according to the lock mechanism shown by the arrow XXII-XXII in FIG. 20, and FIG. 23 is XXIII-XXIII in FIG. FIG. 24A is a sectional view showing the locking mechanism at the right transfer position, FIG. 24B is a sectional view showing the locking mechanism at the sitting position, and FIG. , (A) is a sectional view at the time of unlocking in the seating position, (B) is a sectional view in the locked state at the left transfer position, and FIG. 25 is a standing support walk showing the use state at the transfer position of the seating board. It is a principal part perspective view of an auxiliary device.

図1〜図4、図16〜図25のように、座面部13は、座面ベース77と座面板79と座面可動機構81と座面ロック機構83とアームレスト85a、85bとを備えている。   As shown in FIGS. 1 to 4 and 16 to 25, the seat surface portion 13 includes a seat surface base 77, a seat surface plate 79, a seat surface movable mechanism 81, a seat surface lock mechanism 83, and armrests 85 a and 85 b. .

座面部13は、着座位置において座面支持フレーム35に対しフロント走行ユニット5方向に突出している(図2)。この座面部13は、左右に長い長方形状であり、自然な起立支援が可能なように走行方向前後の座面幅が短く設定されている。本実施例では、例えば座面幅(前後方向幅)=200mmとなっている。ただし、座面幅の設定は、起立支援歩行補助器1が大型になると座面幅>200mmとし、体格の大きな被補助者に合わせること等もできる。なお、座面幅は、200mmに限らず、被補助者の体格の他、起立支援歩行補助器1の仕様等に応じて適宜設定することが可能である。   The seat surface portion 13 protrudes toward the front traveling unit 5 with respect to the seat surface support frame 35 at the seating position (FIG. 2). The seat surface portion 13 has a rectangular shape that is long to the left and right, and the seat surface width before and after the traveling direction is set to be short so that natural standing support is possible. In this embodiment, for example, the seat surface width (front-rear direction width) is 200 mm. However, the seating surface width can be set so that the seating surface width is larger than 200 mm when the standing support walking assisting device 1 is large, and the seating surface width can be adjusted to a person with a large physique. The seating surface width is not limited to 200 mm, and can be set as appropriate according to the specifications of the standing assisting walking assist device 1 in addition to the physique of the person being assisted.

座面部13の先端縁とお腹バー15の先端縁との間は、座面部13の下限位置で距離Lが設定され、座面部13がリヤピラー35a、35bに沿って上昇すると距離Lは徐々に拡大する。また、お腹バー15の伸縮調整により座面部13とお腹バー15との関係は調整することができる。   A distance L is set between the distal end edge of the seat surface portion 13 and the distal end edge of the stomach bar 15 at the lower limit position of the seat surface portion 13, and the distance L gradually increases when the seat surface portion 13 rises along the rear pillars 35a and 35b. To do. Further, the relationship between the seat surface portion 13 and the stomach bar 15 can be adjusted by adjusting the expansion and contraction of the stomach bar 15.

座面ベース77は、アクリル板、金属板、木板等で形成され、本体部77aが平面視で矩形状であり、後部に被支持部77bが突設されている。被支持部77bには、軸支持部77ba、77bbが設けられ、軸支持部77ba、77bbが背もたれ63の支持ブラケット86a、86bに回転自在に軸支持され、座面部13の跳ね上げを可能としている。この座面ベース77の跳ね上げにより座面部13は、座面支持フレーム35に沿った状態に格納される。   The seat base 77 is formed of an acrylic plate, a metal plate, a wood plate, etc., the main body 77a is rectangular in plan view, and a supported portion 77b is projected from the rear. The supported portion 77b is provided with shaft support portions 77ba and 77bb. The shaft support portions 77ba and 77bb are rotatably supported by the support brackets 86a and 86b of the backrest 63 so that the seat surface portion 13 can be flipped up. . The seat surface portion 13 is stored in a state along the seat surface support frame 35 by the raising of the seat surface base 77.

座面板79は、平面視で矩形のアクリル板、金属板、木板等で形成され、座面ベース77上に配置され座面を構成する。座面板79には、移乗を妨げないものであれば、クッションを設けることもできる。   The seat surface plate 79 is formed of a rectangular acrylic plate, a metal plate, a wood plate, or the like in plan view, and is disposed on the seat surface base 77 to constitute a seat surface. A cushion can also be provided on the seat surface plate 79 as long as it does not hinder transfer.

座面可動機構81は、座面板79を座面ベース77に対して着座位置とこの着座位置に対して器幅方向の外側にずれた移乗位置とへ移動可能に支持するものである。本実施例の着座位置は、左右中央であり、移乗位置は、座面板79が座面ベース77から左右へ突出した位置となっている(図20〜図24)。   The seat surface movable mechanism 81 supports the seat surface plate 79 so as to be movable with respect to the seat surface base 77 to a seating position and a transfer position shifted outward in the instrument width direction with respect to the seating position. The seating position of the present embodiment is the center of the left and right, and the transfer position is a position where the seat surface plate 79 protrudes left and right from the seat surface base 77 (FIGS. 20 to 24).

座面可動機構81は、前後各2個の固定スライダー87aa、87ab、87ba、87bbと前後2本の可動スライドレール89a、89bとを備えている。   The seat surface movable mechanism 81 includes two front and rear fixed sliders 87aa, 87ab, 87ba, 87bb and two front and rear movable slide rails 89a, 89b.

固定スライダー87aa、87ab、87ba、87bbは、座面ベース77に配置され、座面ベース77の器幅方向の左右中央に前後各2個左右に並んで配置されている。   The fixed sliders 87aa, 87ab, 87ba, 87bb are arranged on the seat surface base 77, and are arranged side by side on the left and right centers of the seat surface base 77 in the instrument width direction.

前後2本の可動スライドレール89a、89bは、座面板79の器幅方向両端部に渡る長さに形成されている。可動スライドレール89a、89bは、座面板79の補強を兼ねている。   The two front and rear movable slide rails 89a and 89b are formed to have a length over both ends of the seat surface plate 79 in the instrument width direction. The movable slide rails 89a and 89b also serve as reinforcement of the seating surface plate 79.

前側の可動スライドレール89aは、固定スライダー87aa、87baに嵌合し、後ろの可動スライドレール89bは、固定スライダー87ab、87bbに嵌合してスライドガイドされ、座面板79を座面ベース77に対して器幅方向の左右に切り替えてへ移動可能とする。   The front movable slide rail 89a is fitted to the fixed sliders 87aa and 87ba, and the rear movable slide rail 89b is fitted to the fixed sliders 87ab and 87bb and slide-guided, and the seat plate 79 is attached to the seat base 77. Switch to the left and right in the instrument width direction.

座面板79の下面に凹部79aが形成され、座面板79の軽量化が図られている。可動スライドレール89a、89bは、凹部79aと同等の深さ内に埋め込まれている。スライドレール89a、89bの左右端部では、座面板79の端部が係合壁部79b、79cとなっており、係合壁部79b、79cが固定スライダー87aa、87ab、87ba、87bbに係合することで座面板79の左右移動限界位置が決められる。   A recess 79a is formed on the lower surface of the seating surface plate 79, so that the weight of the seating surface plate 79 is reduced. The movable slide rails 89a and 89b are embedded in the same depth as the recess 79a. At the left and right ends of the slide rails 89a and 89b, the end portions of the seating surface plate 79 are engaging wall portions 79b and 79c, and the engaging wall portions 79b and 79c engage with the fixed sliders 87aa, 87ab, 87ba, and 87bb. By doing so, the right and left movement limit position of the seating surface plate 79 is determined.

座面ロック機構83は、座面板79を座面ベース77に対して器幅方向中央の着座位置と左右の移乗位置とでロック可能とする。この座面ロック機構83は、ロック凹部91a、91b、91cと、爪部93と、操作部95とを備えている。   The seating surface locking mechanism 83 can lock the seating surface plate 79 with respect to the seating surface base 77 at the seating position in the center of the instrument width direction and the left and right transfer positions. The seating surface locking mechanism 83 includes lock recesses 91a, 91b, 91c, a claw portion 93, and an operation portion 95.

ロック凹部91a、91b、91cは、座面ベース77上面に設けられ、座面ベース77の器幅方向の左右中央と左右両側とに配置されている。中央のロック凹部91aは、座面板79を着座位置にロックするためのものである。左右のロック凹部91b、91cは、座面板79を左右の移乗位置に別々にロックするためのものである。   The lock recesses 91a, 91b, and 91c are provided on the upper surface of the seating surface base 77, and are disposed at the left and right center and both left and right sides of the seating surface base 77 in the instrument width direction. The central locking recess 91a is for locking the seat plate 79 in the seating position. The left and right lock recesses 91b and 91c are for locking the seat plate 79 separately to the left and right transfer positions.

爪部93は、座面板79に回転可能に設けられロック凹部91a、91b、91cの何れかに係合して座面板79の器幅方向左右への移動をロックするためのものである。この爪部93は、ロックシャフト97に設けられている。ロックシャフト97は、座面板79の後部に左右に渡るように器幅方向に沿って配置され、軸回転可能に支持されている。   The claw portion 93 is rotatably provided on the seat surface plate 79, and engages with any of the lock recesses 91a, 91b, 91c to lock the movement of the seat surface plate 79 in the lateral direction of the instrument width. The claw portion 93 is provided on the lock shaft 97. The lock shaft 97 is disposed along the vessel width direction so as to extend to the left and right at the rear portion of the seating surface plate 79, and is supported so as to be rotatable about the shaft.

操作部95は、爪部93を回転操作してロック凹部91a、91b、91cへの係合を離脱させてロックを解除するためのものである。操作部95は、L字状のハンドル95a、95bで構成され、ロックシャフト97の両端に結合されて座面板79の器幅方向両端部に沿って配置されている。ハンドル95a、95bのL字状の先端部は、座面板79の前後中間部上の凹部内に係止されている。ロックシャフト97にはトーションスプリング(図示せず)が嵌合し、トーションスプリングの一方のアームは座面板79側に係合し、他方のアームはロックシャフト97側に係合している。   The operation part 95 is for operating the claw part 93 to release the lock by releasing the engagement with the lock recesses 91a, 91b, 91c. The operation unit 95 is configured by L-shaped handles 95a and 95b, and is coupled to both ends of the lock shaft 97 and arranged along both ends of the seat surface plate 79 in the instrument width direction. The L-shaped tip portions of the handles 95 a and 95 b are locked in the recesses on the front and rear intermediate portions of the seating surface plate 79. A torsion spring (not shown) is fitted to the lock shaft 97, and one arm of the torsion spring is engaged with the seat plate 79 side, and the other arm is engaged with the lock shaft 97 side.

従って、ハンドル95a、95bの何れかを持ち上げてロックシャフト97を回転操作し爪部93のロック凹部91a、91b、91cからの離脱を可能とする。操作しているハンドル95a、95bの何れかから手を放せば、トーションスプリングの付勢力によりロックシャフト97が回転する。この回転により、位置的に対応しているロック凹部91a、91b、91cに爪部93が落ち込み、上記ロックが行われる。爪部93がロック凹部91a、91b、91cに位置的に対応していないときにハンドル95a、95bから手を放した場合は、座面板79が移動することで爪部93がロック凹部91a、91b、91cに位置的に対応したとき同様にロックされる。   Accordingly, one of the handles 95a and 95b is lifted and the lock shaft 97 is rotated to allow the claw portion 93 to be detached from the lock recesses 91a, 91b and 91c. When one of the operating handles 95a and 95b is released, the lock shaft 97 is rotated by the urging force of the torsion spring. By this rotation, the claw portion 93 falls into the lock recesses 91a, 91b, 91c corresponding to the position, and the lock is performed. When the claw part 93 does not correspond to the lock recesses 91a, 91b, and 91c and is released from the handles 95a and 95b, the claw part 93 is moved to the lock recesses 91a and 91b by moving the seat plate 79. , 91c are similarly locked.

アームレスト85a、85bは、アーム支持部99a、99bにヒンジにより支持されている。アーム支持部99a、99bは、背もたれ63の左右に突設されている。従って、アームレスト85a、85bは、図1〜図3のように背もたれ63の両側で前方へ突出する位置と、図16、図17のように背もたれ63に沿った格納位置とに回動させることができる。   The armrests 85a and 85b are supported on the arm support portions 99a and 99b by hinges. The arm support portions 99a and 99b are provided on the left and right sides of the backrest 63. Accordingly, the armrests 85a and 85b can be rotated to a position protruding forward on both sides of the backrest 63 as shown in FIGS. 1 to 3 and a retracted position along the backrest 63 as shown in FIGS. it can.

[座面部の動作]
図21のように、座面板79を座面ベース77に対して移乗位置へスライドさせるときは、ハンドル95a、95bの何れかを図24(A)のように引き上げる。
[Operation of seating surface]
As shown in FIG. 21, when the seating surface plate 79 is slid to the transfer position with respect to the seating surface base 77, one of the handles 95a and 95b is pulled up as shown in FIG.

この引き上げによりロックシャフト97が回転して爪部93がロック凹部91aから外れ、座面板79が座面ベース77に対してスライド可能となる。   By this pulling up, the lock shaft 97 rotates and the claw portion 93 comes off from the lock recess 91 a, and the seat plate 79 can slide with respect to the seat base 77.

この状態で、操作したハンドル95a、95bの何れかを握りながら器幅方向の外側へ引くと座面板79が座面ベース77に対して図21(B)の着座位置から図21(A)又は図21(C)のようにスライド移動する。このスライド移動は、座面ベース77の固定スライダー87aa、87ab、87ba、87bbに対して座面板79の可動スライドレール89a、89bがガイドされることで確実且つ容易に行われる。   In this state, when the operator operates the handle 95a or 95b and pulls it outward in the instrument width direction, the seat plate 79 is moved from the seating position shown in FIG. It slides as shown in FIG. This sliding movement is reliably and easily performed by the movable slide rails 89a and 89b of the seating surface plate 79 being guided with respect to the fixed sliders 87aa, 87ab, 87ba and 87bb of the seating surface base 77.

座面板79が移乗位置までスライド移動したとき、操作したハンドル95a、95bの何れかから手を離すとトーションスプリングの付勢力によりロックシャフト97の回転が戻り、爪部93が対応するロック凹部91b、91cの何れかに係合し、座面板79の移乗位置がロックされる。   When the seat surface plate 79 is slid to the transfer position, when the hand is released from either of the operated handles 95a and 95b, the rotation of the lock shaft 97 is returned by the biasing force of the torsion spring, and the claw portion 93 corresponds to the corresponding lock recess 91b, The transfer position of the seating surface plate 79 is locked by engaging with any of 91c.

[移乗動作]
本実施例では、走行ベース3の左側には、サイドフレーム9が存在せず、開放口3aがある。このため、図25のように、被捕助者が椅子やベッドから起立支援歩行補助器1へ移乗するときは、起立支援歩行補助器1の左側を椅子(或いはベッド等)に横付けする。椅子等に対する座面部13の座面高さの調整は、コントローラ75の操作により電動モータ68cを駆動制御し、電動シリンダ装置68を駆動させて行う。
[Transfer operation]
In the present embodiment, the side frame 9 does not exist on the left side of the traveling base 3, and there is an opening 3a. For this reason, as shown in FIG. 25, when the person to be captured is transferred from the chair or the bed to the standing assistance walking aid 1, the left side of the standing assistance walking aid 1 is placed on the chair (or bed or the like). The seat surface height of the seat surface portion 13 with respect to a chair or the like is adjusted by driving the electric motor 68c and driving the electric cylinder device 68 by operating the controller 75.

座面部13の座面高さの調整後に、図24のようにハンドル95aを回転させることによって着座位置の座面板79のロックを解除し、そのままハンドル95aを引張って図21のように座面板79を座面ベース77に対して移乗位置へスライドさせる。   After the seat surface height of the seat surface portion 13 is adjusted, the handle 95a is rotated as shown in FIG. 24 to unlock the seat plate 79 at the seating position, and the handle 95a is pulled as it is, as shown in FIG. Is slid to the transfer position with respect to the seating surface base 77.

この移乗位置において、椅子上の被補助者は、臀部を横方向にスライドさせて移乗位置の座面板79に移乗することができる。アームレスト85aは、図25のように背もたれ63に沿った格納位置に予め回動させておく。   In this transfer position, the assistant on the chair can transfer the seat plate 79 at the transfer position by sliding the buttock laterally. The armrest 85a is previously rotated to the storage position along the backrest 63 as shown in FIG.

この移乗時には、座面板79が座面ベース77から突出して片持ち状態となっているため、片持ち状態の座面板79に被補助者の体重が働くことになる。   At the time of this transfer, since the seating surface plate 79 protrudes from the seating surface base 77 and is in a cantilever state, the weight of the person being assisted acts on the seating surface plate 79 in the cantilever state.

座面板79は、可動スライドレール89a、89bが座面板79の器幅方向両端部に渡る長さに形成され、座面板79の補強を兼ねているため、被補助者の体重を確実に受けることができる。   The seat surface plate 79 has movable slide rails 89a and 89b formed in a length extending across both ends of the seat surface plate 79 in the instrument width direction, and serves as reinforcement of the seat surface plate 79, so that the weight of the person being assisted can be reliably received. Can do.

片持ち状態の座面板79で受けられた体重は、可動スライドレール89a、89bから固定スライダー87aa、87ab、87ba、87bbに入力される。図21に示す前後の固定スライダー87aa、87ba、87ab、87bbが左右に各一対配列されているため、可動スライドレール89a、89bの自由端側に働いた荷重は、固定スライダー87aa、87ba、87ab、87bbを介して座面ベース77に確実に伝達される。   The weight received by the seat plate 79 in the cantilever state is input to the fixed sliders 87aa, 87ab, 87ba, 87bb from the movable slide rails 89a, 89b. Since the front and rear fixed sliders 87aa, 87ba, 87ab, 87bb shown in FIG. 21 are arranged in pairs on the left and right, the load applied to the free end side of the movable slide rails 89a, 89b is fixed sliders 87aa, 87ba, 87ab, It is reliably transmitted to the seat base 77 via 87bb.

この入力は、図2等に示すリヤピラー35a、35bの下部と補強ブラケット44a、44b及びアッパーリヤベースパネル42とによる左右方向から見て閉断面構造によりアッパーリヤメンバー33へと伝達される。このとき、アッパーリヤベースパネル42では、リヤピラー35a、35bからの入力を面で分散することができ、分散荷重をアッパーリヤメンバー33全体へ確実に伝達することができる。   This input is transmitted to the upper rear member 33 by a closed cross-sectional structure as viewed from the left and right directions by the lower portions of the rear pillars 35a and 35b and the reinforcing brackets 44a and 44b and the upper rear base panel 42 shown in FIG. At this time, in the upper rear base panel 42, the input from the rear pillars 35a and 35b can be dispersed on the surface, and the dispersed load can be reliably transmitted to the entire upper rear member 33.

アッパーリヤメンバー33に伝達された荷重は、図4等に示すロワーリヤメンバー31及びロワーリヤベースパネル41と、アッパーリヤメンバー33及びアッパーリヤベースパネル42と、連結メンバー37a、37b、リヤジョイント36a,36bとがなす正面から見た閉断面構造部に受けられる。   The load transmitted to the upper rear member 33 includes the lower rear member 31 and the lower rear base panel 41, the upper rear member 33 and the upper rear base panel 42, the connecting members 37a and 37b, the rear joint 36a, and the like shown in FIG. 36b is received by the closed cross-section structure part seen from the front.

従って、被補助者の移乗時に片持ち状態の座面板79に入力された体重を剛性の高いフレーム構造により確実に受けることができ、座面板79がふら付くことなく、被補助者の移乗を安定して行わせることができる。   Accordingly, the weight input to the cantilever seat plate 79 during the transfer of the assistant can be reliably received by the rigid frame structure, and the transfer of the assistant can be stably performed without the seat plate 79 wobbling. Can be done.

片持ち状態の座面板79に被補助者が移乗したときには、本実施例において起立支援歩行補助器1の左側に偏って荷重が働く。この場合、起立支援歩行補助器1の重心が走行ベース3側の低い位置にあり、且つサイドメンバ9が右側にあることで起立支援歩行補助器1単体での重心が右寄りの低い位置となる。このため、左側の開放口3aで移乗動作をしても、片持ち状態の座面板79で被補助者の体重を安定して受けることができ、被補助者の移乗を安定して行わせることができる。   When the person to be assisted is transferred to the seating surface plate 79 in the cantilever state, the load is biased to the left side of the standing assistance walking assist device 1 in this embodiment. In this case, the center of gravity of the standing assisting walking assist device 1 is at a low position on the right side because the center of gravity of the standing assisting walking assist device 1 is at a low position on the traveling base 3 side and the side member 9 is on the right side. For this reason, even if the transfer operation is performed at the left opening 3a, the weight of the assistant can be stably received by the cantilever seat plate 79, and the assistant can be stably transferred. Can do.

座面板79への移乗時の被補助者の足元は、開放口3aからフロント走行ユニット5及びリヤ走行ユニット7間に足を持ち上げることなく摺り足状態で入れ込むことができる。このため、筋力のない被補助者であっても、椅子やベッド等から座面部13に容易に着座し、フロント走行ユニット5及びリヤ走行ユニット7間へ移動するための動作を極めて容易に行わせることができる。   The feet of the person being assisted at the time of transfer to the seating surface plate 79 can be inserted in a sliding state without lifting the foot between the front traveling unit 5 and the rear traveling unit 7 through the opening 3a. For this reason, even an assistant who does not have muscular strength easily sits on the seat surface portion 13 from a chair, a bed, or the like and moves between the front traveling unit 5 and the rear traveling unit 7 very easily. be able to.

座面部79への移乗後は、図24のようにハンドル95aによって移乗位置での座面板79のロックを解除し、座面板79を着座位置へスライドさせて戻すことにより、被補助者の起立支援歩行補助器1への移乗を完了させることができる。   After the transfer to the seat surface portion 79, as shown in FIG. 24, the lock of the seat surface plate 79 in the transfer position is released by the handle 95a, and the seat surface plate 79 is slid back to the seating position to return the support person to stand. Transfer to the walking aid 1 can be completed.

このとき、被補助者は、お腹バー15を握りながら或は前支持部11につかまりながら着座位置方向へ移動するための力を入れることもでき、且つ足元を開放口3aでずらしながら移動でき、上記同様に足元を持ち上げる必要も無く、楽な移乗を可能とする。   At this time, the assistant can also apply force to move toward the seating position while grasping the stomach bar 15 or holding the stomach bar 15, and can move while shifting the foot at the opening 3a, Similarly to the above, there is no need to lift the feet, and easy transfer is possible.

座面板79が着座位置までスライド移動すると、座面ロック機構83の爪部93がロック凹部91aの落ち込み、座面板79が座面ベース77に対してロックされる。このスライド移動時には、上記同様の荷重伝達により、被補助者の体重を座面部13により確実に支えることができる。こうして、座面板79のスライドを介して被補助者の着座位置への移乗動作を確実且つ安定して行わせることができる。   When the seat surface plate 79 slides to the seating position, the claw portion 93 of the seat surface lock mechanism 83 falls in the lock recess 91a, and the seat surface plate 79 is locked to the seat surface base 77. During this sliding movement, the weight of the person being assisted can be reliably supported by the seat surface portion 13 by the same load transmission as described above. In this manner, the transfer operation of the assistant to the seating position via the slide of the seating surface plate 79 can be performed reliably and stably.

座面板79が着座位置でロックされた後は、アームレスト85a、85bを回動させて使用状態に位置させる。   After the seating surface plate 79 is locked at the seating position, the armrests 85a and 85b are rotated to be in a use state.

[起立支援、歩行補助]
着座位置へ移行した被補助者起立支援を行うときは、被補助者又は補助者が図1に示すコントローラ75を操作し、図2等に示す電動シリンダ装置68を駆動する。この駆動により電動シリンダ装置68のシャフト68bが上昇し、昇降フレーム62がリヤピラー35a、35bに沿って図2等の位置から上昇する。この上昇と共に座面部13及び背もたれ63が上昇し、被補助者の臀部を押し上げつつ座面部13が上昇したところで被補助者に起立させることができ、起立姿勢への移行を支援することができる。座面部13の上昇位置は、被補助者の体格に応じてコントローラ75で調節されることになる。
[Standing support, walking assistance]
When performing support for standing the assistant who has moved to the seating position, the assistant or the assistant operates the controller 75 shown in FIG. 1 to drive the electric cylinder device 68 shown in FIG. By this driving, the shaft 68b of the electric cylinder device 68 is raised, and the lifting frame 62 is raised from the position shown in FIG. 2 along the rear pillars 35a and 35b. Along with this rise, the seat surface portion 13 and the backrest 63 rise, and when the seat surface portion 13 is raised while pushing up the buttocks of the assistant, the assistant can be raised and the transition to the standing posture can be supported. The raised position of the seat surface portion 13 is adjusted by the controller 75 according to the physique of the person being assisted.

座面部13の上昇に際しては、座面部13がお腹バー15から離れることになる。お腹バー15と座面部13との前後距離は、座面支持フレーム35の傾斜により座面部13の上昇と共に拡大する。このお腹バー15との前後距離の拡大により、被補助者の起立動作を容易にすることができる。   When the seat surface portion 13 is raised, the seat surface portion 13 is separated from the stomach bar 15. The front-rear distance between the stomach bar 15 and the seat surface portion 13 increases as the seat surface portion 13 rises due to the inclination of the seat surface support frame 35. By extending the front-rear distance to the stomach bar 15, the assistant's standing operation can be facilitated.

座面部13の上昇、つまり被補助者の起立動作の進行に応じ、座面板79が被補助者から後方に離れることになり、被補助者の座面板79に対する着座面積を徐々に小さくして被補助者が座面板79に浅く腰掛けることができ、被補助者が深く腰掛けている場合と比較して座面部13から円滑に起立することができる。   As the seat surface portion 13 rises, that is, as the assistant's standing motion progresses, the seat surface plate 79 moves away from the assistant, and the seating area of the assistant's seat on the seat plate 79 is gradually reduced. The assistant can sit shallowly on the seating surface plate 79, and can stand up more smoothly from the seating surface portion 13 than when the assistant is sitting deeply.

本実施例では、座面板79の座面幅が200mmと狭く設定されていることにより、被補助者は当初より座面板79に浅く腰掛けている状態となるため、より円滑に被補助者に起立させることができる。   In this embodiment, since the seating surface width of the seating surface plate 79 is set to be as narrow as 200 mm, the person being supported sits shallowly on the seating surface plate 79 from the beginning, so that the person can stand up more smoothly. Can be made.

起立支援に際しては、被補助者が前のめりになるようなときでも、前方が左右の肘支持部11a、11b等により閉じられ、しかも、その下側にお腹バー15が位置するため、被補助者を支えることができる。   When standing up, the front is closed by the left and right elbow support portions 11a, 11b, etc., and the stomach bar 15 is positioned below the front, so that the Can support.

被補助者の起立支援後は、被補助者又は補助者が座面部13を跳ね上げると、座面部13が座面支持フレーム35の後傾に沿った位置まで回動し、座面部13の格納が行われる。   After assisting the standing person, when the assistant or the assistant jumps up the seat surface part 13, the seat surface part 13 rotates to a position along the rearward tilt of the seat surface support frame 35, and the seat surface part 13 is retracted. Is done.

起立した補助者は、前支持部11の左右の肘支持部11a、11bに両腕を載せるようにして体を支え、お腹バー15に腹部を当てながら自立歩行を容易に行うことができる。   The standing assistant can support the body by placing both arms on the left and right elbow support portions 11 a, 11 b of the front support portion 11, and can easily perform a self-supporting walk while applying the abdomen to the stomach bar 15.

被補助者はお腹バー15により起立支援歩行補助器1に押す力を加えることができ、起立支援歩行補助器1による歩行を容易に行わせることができる。   The person being assisted can apply a pressing force to the standing assistance walking aid 1 by the stomach bar 15 and can easily walk with the standing assistance walking aid 1.

[車椅子使用状態]
被補助者が座面部13に着座したまま、起立支援歩行補助器1を車椅子として使用することができる。このとき、被補助者は、走行ベース3上に適宜足を載せることができる。また、走行ベース3に足を載せるための足載せパネルを設けてもよい。足載せパネルは、例えば、アッパーフロントメンバー23を避けつつ、前後方向でフロントベースパネル27とフロントジョイント29a、29bとの間に設置することが可能である。また、足載せパネルは、フロントジョイント29a、29b間に架け渡して、或はサイドフレーム9を器幅方向の両側に設けて、それらサイドフレーム9間に掛け渡してもよい。
[Wheelchair use condition]
The standing-up assistance walking aid 1 can be used as a wheelchair while the person being assisted is seated on the seat surface portion 13. At this time, the person being assisted can place his / her feet on the traveling base 3 as appropriate. Further, a footrest panel for placing feet on the traveling base 3 may be provided. For example, the footrest panel can be installed between the front base panel 27 and the front joints 29a and 29b in the front-rear direction while avoiding the upper front member 23. Further, the footrest panel may be spanned between the front joints 29a and 29b, or the side frames 9 may be provided on both sides in the instrument width direction and spanned between the side frames 9.

この車椅子としての使用状態では、お腹バー15を握って被補助者の姿勢を安定させることができる。被補助者の両腕は、両側のアームレスト85a、85bに乗せておくこともできる。   In the use state as this wheelchair, the posture of the assistant can be stabilized by grasping the stomach bar 15. Both arms of the person being assisted can be placed on the armrests 85a and 85b on both sides.

補助者は、ハンドルバー35dを握り、起立支援歩行補助器1の走行支援を行うことができる。   The assistant can hold the handle bar 35d and perform the running support of the standing assistance walking assist device 1.

[荷重支持]
(移乗時、着座時)
上記のとおり、移乗時、着座姿勢時に、ロワーリヤメンバー31及びロワーリヤベースパネル41と、アッパーリヤメンバー33及びアッパーリヤベースパネル42と、連結メンバー37a、37b、リヤジョイント36a,36bとがなす正面から見た閉断面構造部に荷重が受けられる。ここで受けられた荷重は、リヤジョイント36bを介して後ろ側のサイドフレームジョイント49eへと伝達される。
[Load support]
(When transferring, sitting)
As described above, the front surface formed by the lower rear member 31 and the lower rear base panel 41, the upper rear member 33 and the upper rear base panel 42, the connecting members 37a and 37b, and the rear joints 36a and 36b at the time of transfer and sitting. A load can be applied to the closed cross-section structure as viewed from the above. The load received here is transmitted to the rear side frame joint 49e via the rear joint 36b.

この伝達荷重は、リヤジョイント36bとサイドフレームジョイント49eとの間の左右に幅を持ち上下に長い突合せ面36ba及び突合せ面49eaでの突合せ結合を介して行われる。   This transmission load is performed through a butt connection at the butt surface 36ba and the butt surface 49ea having a width in the left and right between the rear joint 36b and the side frame joint 49e and long in the vertical direction.

サイドフレームジョイント49eに伝達された荷重は、サイドフレーム9の上下のパイプ49a、49bで受けられる。この上下のパイプ49a、49bは、上下に平行に間隔を有し、且つ横レインフォースバー49c及び縦レインフォースバー49fで構造的に補強されているため、サイドフレームジョイント49dに伝達されたモーメント等を上下のパイプ49a、49bで強固に受けることができる。   The load transmitted to the side frame joint 49e is received by the upper and lower pipes 49a and 49b of the side frame 9. The upper and lower pipes 49a and 49b are spaced parallel to each other in the vertical direction and are structurally reinforced by the horizontal reinforcement bar 49c and the vertical reinforcement bar 49f, so that the moment transmitted to the side frame joint 49d, etc. Can be firmly received by the upper and lower pipes 49a, 49b.

サイドフレーム9で受けられた荷重は、サイドフレームジョイント49dを介してフロントジョイント29bへ伝達される。   The load received by the side frame 9 is transmitted to the front joint 29b via the side frame joint 49d.

この伝達荷重は、サイドフレームジョイント49dとフロントジョイント29bとの間の左右に幅を持ち上下に長い突合せ面49da及び突合せ面29baでの突合せ結合を介して行われる。   This transmission load is performed through a butt connection at the butt surface 49da and the butt surface 29ba, which have a lateral width between the side frame joint 49d and the front joint 29b and are long in the vertical direction.

フロントジョイント29bからは、ロワーフロントメンバー21及びフロントベースパネル27と、アッパーフロントメンバー23と、フロントピラー25a、25bと、フロントジョイント29a、29bとがなす側面から見た閉断面構造部に荷重伝達がなされる。   From the front joint 29b, a load is transmitted to the closed cross-section structure portion viewed from the side formed by the lower front member 21 and the front base panel 27, the upper front member 23, the front pillars 25a and 25b, and the front joints 29a and 29b. Made.

従って、移乗時や、着座時に座面部13に働く被補助者の体重を、全体として剛性高く受けることができる。   Therefore, the weight of the person who works on the seat surface portion 13 at the time of transfer or sitting can be received with high rigidity as a whole.

(起立支援時)
起立支援時は、座面支持フレーム35の後傾に沿った座面部13の上昇により座面部13が被補助者から後方に離れることになり、被補助者の座面板79に対する着座面積を徐々に小さくして、被補助者が座面部13から起立方向の力を受ける。
(At the time of standing up support)
At the time of standing up support, the seat surface portion 13 moves away from the person being assisted by the rising of the seat surface portion 13 along the rearward tilt of the seat surface support frame 35, and the seating area of the person being assisted with respect to the seat surface plate 79 is gradually increased. The person to be assisted receives a force in the standing direction from the seat surface portion 13.

このとき、座面支持フレーム35のリヤピラー35a、35bは、着座時と同様に前方へ倒れる方向に荷重を受け、或は、被補助者の臀部からの反力により後方へ倒れる方向へ荷重を受けることもある。   At this time, the rear pillars 35a and 35b of the seating surface support frame 35 receive a load in a direction that falls forward as in the case of sitting, or receive a load in a direction that falls backward due to a reaction force from the heel of the person being assisted. Sometimes.

この荷重は、前記同様にロワーリヤメンバー31及びロワーリヤベースパネル41と、アッパーリヤメンバー33及びアッパーリヤベースパネル42と、連結メンバー37a、37b、リヤジョイント36a,36bとがなす正面から見た閉断面構造部に受けられる。   In the same manner as described above, this load is applied when the lower rear member 31 and the lower rear base panel 41, the upper rear member 33 and the upper rear base panel 42, the connection members 37a and 37b, and the rear joints 36a and 36b are closed as viewed from the front. Received by the cross-section structure.

従って、起立支援時も前記同様に座面部13に働く被補助者の体重、或は反力を、全体として剛性高く受けることができる。   Accordingly, the weight or reaction force of the person who works on the seating surface portion 13 can be received with high rigidity as a whole during standing support.

(歩行補助時)
自立歩行に際して、前支持部11やお腹バー15からフロントピラー25a、25bに倒れ方向の荷重が働くときは、ロワーフロントメンバー21及びフロントベースパネル27と、アッパーフロントメンバー23と、フロントピラー25a、25bと、フロントジョイント29a、29bとがなす側面から見た閉断面構造部に荷重伝達がなされる。
(At the time of walking assistance)
During a self-supporting walk, when a load in the falling direction acts on the front pillars 25a and 25b from the front support part 11 and the stomach bar 15, the lower front member 21, the front base panel 27, the upper front member 23, and the front pillars 25a and 25b. And load transmission is made to the closed section structure part seen from the side which the front joints 29a and 29b make.

この伝達荷重は、フロントジョイント29bと前側のサイドフレームジョイント49dとの間の左右に幅を持ち上下に長い突合せ面29ba及び突合せ面49daでの突合せ結合を介して行われる。   This transmission load is applied through a butt connection at the butt surface 29ba and the butt surface 49da having a width in the left and right between the front joint 29b and the front side frame joint 49d and being long in the vertical direction.

サイドフレームジョイント49dに伝達された荷重は、サイドフレーム9の上下のパイプ49a、49bで受けられる。この上下のパイプ49a、49bは、上下に平行に間隔を有し、且つ横レインフォースバー49c及び縦レインフォースバー49fで構造的に補強されているため、サイドフレームジョイント49dに伝達されたモーメント等を上下のパイプ49a、49bで強固に受けることができる。   The load transmitted to the side frame joint 49d is received by the upper and lower pipes 49a and 49b of the side frame 9. The upper and lower pipes 49a and 49b are spaced parallel to each other in the vertical direction and are structurally reinforced by the horizontal reinforcement bar 49c and the vertical reinforcement bar 49f, so that the moment transmitted to the side frame joint 49d, etc. Can be firmly received by the upper and lower pipes 49a, 49b.

サイドフレーム9で受けられた荷重は、サイドフレームジョイント49eを介してリヤジョイント36bへ伝達される。   The load received by the side frame 9 is transmitted to the rear joint 36b through the side frame joint 49e.

この伝達荷重は、サイドフレームジョイント49eとリヤジョイント36bとの間の左右に幅を持ち上下に長い突合せ面49ea及び突合せ面36baでの突合せ結合を介して行われる。   This transmission load is performed through a butt connection at the butt surface 49ea and the butt surface 36ba having a width between the side frame joint 49e and the rear joint 36b and having a long width.

リヤジョイント36bからは、リヤジョイント36bと、ロワーリヤメンバー31及びロワーリヤベースパネル41と、アッパーリヤメンバー33及びアッパーリヤベースパネル42と、連結メンバー37a、37b、リヤジョイント36a,36bとがなす正面から見た閉断面構造部に荷重伝達がなされる。   From the rear joint 36b, the front made by the rear joint 36b, the lower rear member 31 and the lower rear base panel 41, the upper rear member 33 and the upper rear base panel 42, the connecting members 37a and 37b, and the rear joints 36a and 36b. The load is transmitted to the closed cross-section structure as viewed from the above.

従って、全体としてフロントピラー25a、25bや、リヤピラー35a、35bが倒れる方向の荷重を剛性高く受けることができる。   Therefore, the load in the direction in which the front pillars 25a and 25b and the rear pillars 35a and 35b are tilted can be received with high rigidity as a whole.

(横方向荷重)
横方向荷重に対しては、ロワーフロントメンバー21及びフロントベースパネル27とアッパーフロントメンバー23と等からなる横剛性の高いフロント走行ユニット5下部と、ロワーリヤメンバー31及びロワーリヤベースパネル41とアッパーリヤメンバー33及びアッパーリヤベースパネル42と連結メンバー37a、37b、リヤジョイント36a,36bと等からなる横剛性の高いリヤ走行ユニット7下部とが機能する。
(Lateral load)
For lateral loads, the lower front traveling unit 5 including the lower front member 21, the front base panel 27, the upper front member 23, and the like has a high lateral rigidity, and the lower rear member 31, the lower rear base panel 41, and the upper rear member. The member 33 and the upper rear base panel 42, the connecting members 37a and 37b, the rear joints 36a and 36b, and the like, and the lower portion of the rear traveling unit 7 having high lateral rigidity function.

つまり、横方向荷重は、フロント走行ユニット5下部とリヤ走行ユニット7下部とからサイドフレーム9に横方向の曲げとして伝達される。   That is, the lateral load is transmitted from the lower part of the front traveling unit 5 and the lower part of the rear traveling unit 7 to the side frame 9 as a lateral bending.

この荷重伝達は、フロントジョイント29bとサイドフレームジョイント49dとの間の上下に長く左右に幅を持つ突合せ面29ba、49daの突合せ結合、リヤジョイント36bとサイドフレームジョイント49eとの間の上下に長く左右に幅を持つ突合せ面36ba、49eaの突合せ結合を介して行われる。   This load transmission is such that the abutting connection of the abutting surfaces 29ba and 49da having a long left and right width between the front joint 29b and the side frame joint 49d, and a long right and left between the rear joint 36b and the side frame joint 49e. This is done through a butt connection of the butt surfaces 36ba and 49ea having a width of 3mm.

このため、フロント走行ユニット5下部とリヤ走行ユニット7下部とからサイドフレーム9に横方向の曲げ荷重を剛性高く確実に伝達させることができる。   For this reason, the lateral bending load can be reliably transmitted to the side frame 9 from the lower part of the front traveling unit 5 and the lower part of the rear traveling unit 7 with high rigidity.

そして、横方向の曲げ荷重を横レインフォースバー49c及び縦レインフォースバー49fで構造的に補強されているサイドフレーム9の上下のパイプ49a、49bで強固に受けることができる。   The lateral bending load can be firmly received by the upper and lower pipes 49a and 49b of the side frame 9 structurally reinforced by the horizontal reinforcement bar 49c and the vertical reinforcement bar 49f.

従って、全体としてフロント走行ユニット5とリヤ走行ユニット7との間の開放口3aが口開きを起こす方向の荷重を剛性高く受けることができる。   Therefore, as a whole, the load in the direction in which the opening 3a between the front traveling unit 5 and the rear traveling unit 7 causes the opening can be received with high rigidity.

こうして、縦剛性、横剛性共に高く、軽量化も図れる起立支援歩行補助器1により被補助者の歩行補助等を確実に行わせることができる。   Thus, the standing assistance walking assist device 1 that is high in both vertical rigidity and lateral rigidity and can be reduced in weight can surely perform assistance of walking of the person being assisted.

(車椅子使用時)
ハンドルバー35dにより起立支援歩行補助器1を押して走行させると、被補助者の着座部13での着座による荷重と押す力とによりリヤピラー35a、35bが前方へ倒れる荷重を受ける。
(When using a wheelchair)
When the standing support walking assisting device 1 is pushed by the handlebar 35d to run, the rear pillars 35a and 35b are subjected to a load that causes the rear pillars 35a and 35b to fall forward due to the load caused by the seated portion 13 and the pushing force.

かかる車椅子としての使用時も、同様な荷重伝達により、縦剛性、横剛性共に高く、軽量化も図れる起立支援歩行補助器1により被補助者の着座部13での安定した着座を確実に維持させることができる。   Even when used as such a wheelchair, a stable seating on the seated portion 13 of the person to be assisted is assuredly maintained by the standing assisting walking assist device 1 which is high in both vertical rigidity and lateral rigidity and can be reduced in weight by the same load transmission. be able to.

[実施例1の効果]
本実施例の起立支援歩行補助器1は、前輪17a、17bを備えたフロント走行ユニット5とこのフロント走行ユニット5から離間し後輪を備えたリヤ走行ユニット7との下部相互を下部のサイドフレーム9で結合した走行ベース3と、走行ベース3の器幅方向の一側にサイドフレーム9が配置されることによって走行ベース3の器幅方向の他側に設けられ、フロント走行ユニット5及びリヤ走行ユニット7間を開放する開放口3aとを備え、開放口3aからフロント走行ユニット5及びリヤ走行ユニット7間に被補助者の移動を可能とする。
[Effect of Example 1]
The standing support walking assist device 1 of the present embodiment includes a lower side frame between a lower part of a front traveling unit 5 having front wheels 17a and 17b and a rear traveling unit 7 having a rear wheel spaced apart from the front traveling unit 5. 9 and a side frame 9 disposed on one side of the traveling base 3 in the instrument width direction so as to be provided on the other side of the traveling base 3 in the instrument width direction. An opening 3a that opens between the units 7 is provided, and an assistant can move between the front traveling unit 5 and the rear traveling unit 7 through the opening 3a.

このため、移乗時の被補助者の足元は、開放口3aからフロント走行ユニット5及びリヤ走行ユニット7間に足を持ち上げることなくずり足状態で移行させることができる。   For this reason, the step of the person being assisted at the time of transfer can be transferred in a slipped state without lifting the foot between the front traveling unit 5 and the rear traveling unit 7 from the opening 3a.

この移乗動作により筋力のない被補助者であっても、椅子やベッド等から座面部13に着座し、フロント走行ユニット5及びリヤ走行ユニット7間へ移動する動作を極めて容易に行わせることができる。   By this transfer operation, even an assistant who does not have muscle strength can sit on the seat surface 13 from a chair or a bed and move between the front traveling unit 5 and the rear traveling unit 7 very easily. .

フロント走行ユニット5及びリヤ走行ユニット7間で起立した被補助者が起立姿勢のまま起立支援歩行補助器1外へ移動しようとするときも、開放口3aから容易に移動することができる。   Even when a person who stands up between the front traveling unit 5 and the rear traveling unit 7 tries to move out of the standing assisting walking aid 1 while standing, it can easily move from the opening 3a.

従って、本実施例では、起立支援歩行補助器1に対し、移動補助が必要な被補助者の内外への移動を容易に行わせることができる。   Therefore, in this embodiment, the standing assistance walking assist device 1 can be easily moved in and out of a person who needs assistance.

サイドフレーム9は、フロント走行ユニット5及びリヤ走行ユニット7に対して着脱可能に結合するための結合部を有し、フロント走行ユニット5及びリヤ走行ユニット7は、サイドフレーム9を着脱可能に結合するための被結合部を器幅方向の双方に備え、サイドフレーム9の結合を器幅方向の一側から他側に切り替え、開放口3aを器幅方向の他側から一側に切り替えて備えることを可能とする。   The side frame 9 has a coupling part for detachably coupling to the front traveling unit 5 and the rear traveling unit 7, and the front traveling unit 5 and the rear traveling unit 7 couple the side frame 9 to be detachable. To be coupled to both sides in the instrument width direction, the coupling of the side frames 9 is switched from one side to the other side in the instrument width direction, and the opening 3a is switched from the other side in the instrument width direction to the one side. Is possible.

このため、サイドフレーム9の切り替えた取り付けにより走行ベース3をC型又は逆C型にすることができ、開放口を左右何れにも構成することができ、汎用性を高めることができる。   For this reason, the traveling base 3 can be made into C type or reverse C type by the switching attachment of the side frame 9, an open port can be comprised in right and left, and versatility can be improved.

器幅方向両側の被結合部は、同一構造であり、フロント走行ユニット5に設けたフロントジョイント49d、49eと、リヤ走行ユニット7に設けたリヤジョイント36a、36bとを備え、サイドフレーム9の結合部は、走行方向前後端に設けたサイドフレームジョイント49d,49eを備える。   The coupled portions on both sides in the instrument width direction have the same structure, and include front joints 49d and 49e provided on the front traveling unit 5 and rear joints 36a and 36b provided on the rear traveling unit 7. The part includes side frame joints 49d and 49e provided at the front and rear ends in the traveling direction.

フロントジョイント29a、29b及びリヤジョイント36a、36bとサイドフレームジョイント49d、49eとに、相互を走行方向前後に突き合わせる上下方向が器幅方向よりも相対的に長く同一形状の突合せ面29aa、29ba、36aa、36baと突合せ面49da、49eaとを有し、突合せ面29ba(29aa)、36ba(36aa)及び突合せ面49ea(49da)の突合せを、ブッシュ57a、57b及びピン59a、59bによる位置決めとボルト59c、59dの締結とにより維持する。   The front joints 29a, 29b, the rear joints 36a, 36b, and the side frame joints 49d, 49e have a matching surface 29aa, 29ba of the same shape, with the vertical direction that abuts each other back and forth in the running direction is relatively longer than the instrument width direction. 36 aa and 36 ba and abutting surfaces 49 da and 49 ea. The abutting of the abutting surfaces 29 ba (29 aa) and 36 ba (36 aa) and the abutting surface 49 ea (49 da) is performed by positioning by the bushes 57 a and 57 b and the pins 59 a and 59 b and the bolt 59 c. , 59d.

このため、突合せ面29ba(29aa)、36ba(36aa)と突合せ面49da、49eaとの突合せを正確に行わせることができる。この正確な突合せにより、上下、左右方向の荷重、モーメントを確実に受け、正確な荷重伝達を行わせることができる。   For this reason, the butting surfaces 29ba (29aa), 36ba (36aa) and the butting surfaces 49da, 49ea can be accurately butted. By this accurate butting, it is possible to reliably receive loads and moments in the vertical and horizontal directions and to perform accurate load transmission.

フロントジョイント29a、29b及びリヤジョイント36a、36bとサイドフレームジョイント49d、49eとは、上下方向に相対的に長く、幅が小さいため、フロント走行ユニット5及びリヤ走行ユニット7間の被補助者の動作空間を確保し、且つ上下方向の荷重、モーメントを確実に受けることができる。   Since the front joints 29a and 29b and the rear joints 36a and 36b and the side frame joints 49d and 49e are relatively long in the vertical direction and small in width, the operation of the assistant between the front traveling unit 5 and the rear traveling unit 7 is performed. Space can be secured and a load and moment in the vertical direction can be reliably received.

サイドフレーム9は、走行方向前後に延びた骨格部材であるパイプ49a、49bを上下に併設した。   The side frame 9 is provided with pipes 49a and 49b, which are frame members extending in the front-rear direction in the running direction, on the upper and lower sides.

このため、フロントジョイント29a、29b及びリヤジョイント36a、36bからサイドフレーム9に伝達される上下方向の荷重を、パイプ49a、49bそれぞれで長手方向に受けることができ、フロントジョイント29a、29b及びリヤジョイント36a、36bの一方からサイドフレーム9を介してフロントジョイント29a、29b及びリヤジョイント36a、36bの他方へ確実に伝達し、起立支援歩行補助器1全体で剛性高く受けることができる。   Therefore, the load in the vertical direction transmitted from the front joints 29a and 29b and the rear joints 36a and 36b to the side frame 9 can be received in the longitudinal direction by the pipes 49a and 49b, respectively, and the front joints 29a and 29b and the rear joints can be received. It can be reliably transmitted from one of 36a and 36b to the other of the front joints 29a and 29b and the rear joints 36a and 36b via the side frame 9, and can be received with high rigidity by the standing support walking auxiliary device 1 as a whole.

従って、被補助者の移乗動作、起立支援、歩行補助、車椅子使用を的確に行わせることができる。   Therefore, it is possible to accurately perform the transfer operation, the standing support, the walking assistance, and the wheelchair use of the assistant.

走行ベース3は、上下のパイプ49a、49bに対応するフロント走行ユニット5の上下の骨格部材であるロワーフロントメンバー21及びアッパーフロントメンバー23とリヤ走行ユニット7の上下の骨格部材であるロワーリヤメンバー31及びアッパーリヤメンバー33とを備えた。   The traveling base 3 includes a lower front member 21 that is an upper and lower skeleton member of the front traveling unit 5 corresponding to the upper and lower pipes 49 a and 49 b, and an upper front member 23 and a lower rear member 31 that is an upper and lower skeleton member of the rear traveling unit 7. And an upper rear member 33.

このため、パイプ49a、49bとフロント走行ユニット5のロワーフロントメンバー21及びアッパーフロントメンバー23との間では、上側のパイプ49aとアッパーフロントメンバー23との間で直接的な荷重伝達が行われ、下側のパイプ49bとロワーフロントメンバー21との間で直接的な荷重伝達が行われることで上下荷重によるモーメント作用時に確実な荷重伝達を可能とする。   For this reason, direct load transmission is performed between the upper pipe 49a and the upper front member 23 between the pipes 49a and 49b and the lower front member 21 and the upper front member 23 of the front traveling unit 5. Direct load transmission is performed between the side pipe 49b and the lower front member 21, thereby enabling reliable load transmission when a moment is applied due to vertical load.

しかも、パイプ49aに対してアッパーフロントメンバー23は僅かに下側に位置し、ロワーフロントメンバー21は僅かに上に位置するから、ロワーフロントメンバー21及びアッパーフロントメンバー23からの何れの入力も、取付位置に応じてパイプ49a、49bに分散して伝達することができる。   Moreover, since the upper front member 23 is located slightly below the pipe 49a and the lower front member 21 is located slightly above, any input from the lower front member 21 and the upper front member 23 can be attached. Depending on the position, it can be distributed and transmitted to the pipes 49a, 49b.

また、パイプ49a、49bとリヤ走行ユニット7のロワーリヤメンバー31及びアッパーリヤメンバー33との間では、上側のパイプ49aとアッパーリヤメンバー33との間で直接的な荷重伝達が行われ、下側のパイプ49bとロワーリヤメンバー31との間で直接的な荷重伝達が行われることで上下荷重によるモーメント作用時に確実な荷重伝達を可能とする。   Further, between the pipes 49a and 49b and the lower rear member 31 and the upper rear member 33 of the rear traveling unit 7, direct load transmission is performed between the upper pipe 49a and the upper rear member 33, and the lower side By directly transmitting the load between the pipe 49b and the lower rear member 31, it is possible to reliably transmit the load when the moment is applied by the vertical load.

また、本実施例の起立支援歩行補助器1は、走行ベース3に起立して備えられた座面支持フレーム35と、座面支持フレーム35に配置され被補助者が着座するための座面を有し、座面を器幅方向中央の着座位置とこの着座位置に対して器幅方向の開放口3a側へずれた移乗位置とへ移動可能とした座面部13と、座面部13を座面支持フレーム35に対し上下方向の着座位置と上部位置との間で電動シリンダ装置68の電動モータ68cによる駆動で移動可能に支持させる昇降機構61を備えた。   Further, the standing support walking assist device 1 of the present embodiment includes a seat surface support frame 35 that is provided upright on the traveling base 3, and a seat surface that is disposed on the seat surface support frame 35 and on which a person being assisted is seated. A seat surface portion 13 having a seat surface movable to a seating position in the center of the instrument width direction and a transfer position shifted to the opening 3a side in the instrument width direction with respect to the seating position; An elevating mechanism 61 is provided to support the support frame 35 so as to be movable by driving by the electric motor 68c of the electric cylinder device 68 between the seating position in the vertical direction and the upper position.

このため、座面を移乗位置へ移動させた座面部13により被補助者の移乗を容易とし、被補助者の足元は開放口3aから容易に移動させてフロント走行ユニット5及びリヤ走行ユニット7間での着座姿勢に容易に移ることができる。   For this reason, it is easy to transfer the person being assisted by the seat part 13 that has moved the seating surface to the transfer position, and the feet of the person being assisted are easily moved from the opening 3a to the front traveling unit 5 and the rear traveling unit 7. You can easily move to the sitting position.

しかも、電動モータ68cの駆動による電動シリンダ装置68で昇降機構61により座面支持フレーム35に対し座面部13を上昇させることで被補助者の起立支援を容易に行わせることができる。   In addition, it is possible to easily support the person being raised by raising the seat surface portion 13 with respect to the seat surface support frame 35 by the lifting mechanism 61 by the electric cylinder device 68 driven by the electric motor 68c.

なお、サイドフレーム9を左右切り替えて取り付ける着脱構造の形態は、特に限定されるものではなく、サイドフレーム9とフロント走行ユニット5及びリヤ走行ユニット7との間に左右可動にするレールを設け、このレールに沿って移動させ且つ移動後に器幅方向の何れか一方側で位置決めるロック機構を設けること等でもよい。   The form of the detachable structure for attaching the side frame 9 by switching left and right is not particularly limited, and a rail that is movable left and right is provided between the side frame 9 and the front traveling unit 5 and the rear traveling unit 7. For example, a lock mechanism may be provided that moves along the rail and positions after movement in either side of the instrument width direction.

図26〜図31は、実施例2に係り、図26は、サイドフレームの結合を示す側面図、図27は、サイドフレームの嵌合を示す平面図、図28は、サイドフレームの嵌合を示す横断面図、図29は、フロントジョイントに係り、(A)は、側面図、(B)は、正面図、(C)は、平面図、図30は、前側のサイドフレームジョイントに係り、(A)は側面図、(B)は、正面図、(C)は、平面図、(D)は、下面図、図31は、フロントジョイント及びサイドフレームジョイントの結合に係り、(A)は、結合前の側面図、(B)は、結合途中の側面図、(C)は、結合状態の側面図である。   26 to 31 relate to the second embodiment, FIG. 26 is a side view showing the coupling of the side frames, FIG. 27 is a plan view showing the fitting of the side frames, and FIG. 28 is the fitting of the side frames. 29 is related to the front joint, (A) is a side view, (B) is a front view, (C) is a plan view, and FIG. 30 is related to the front side frame joint, (A) is a side view, (B) is a front view, (C) is a plan view, (D) is a bottom view, FIG. 31 relates to the coupling of the front joint and the side frame joint, (A) is The side view before joining, (B) is a side view in the middle of joining, and (C) is a side view in the joined state.

なお、基本的な構成は、実施例1と同様であり、同一構成部分には同符号を付し、対応する構成部分には、同符号にAを付して説明し、重複した説明は省略する。   Note that the basic configuration is the same as that of the first embodiment, and the same components are denoted by the same reference numerals, and the corresponding components are described by adding the same reference numerals A, and redundant descriptions are omitted. To do.

本実施例2のサイドフレーム9Aの結合は、実施例1のボルトを用いた締結構造に代えて、上方からの差込構造とした。   The connection of the side frame 9A of the second embodiment is an insertion structure from above instead of the fastening structure using the bolt of the first embodiment.

すなわち、図26〜図28のように、サイドフレーム9Aの各サイドフレームジョイント49Ad、49Aeとフロントジョイント29Ab(29Aa)、リヤジョイント36Ab(36Aa)との間に差込部101、103が形成されている。この差込部101、103により、サイドフレームジョイント49Ad、49Aeをフロントジョイント29Ab(29Aa)、リヤジョイント29Ab(29Aa)にそれぞれ上方から差込結合させるものである。   That is, as shown in FIG. 26 to FIG. 28, insertion portions 101 and 103 are formed between the side frame joints 49Ad and 49Ae of the side frame 9A, the front joint 29Ab (29Aa), and the rear joint 36Ab (36Aa). Yes. The insertion portions 101 and 103 are used to insert the side frame joints 49Ad and 49Ae into the front joint 29Ab (29Aa) and the rear joint 29Ab (29Aa) from above.

なお、図1〜図3と同様に、サイドフレーム9Aは、一例として右側の開方口に取り付けられており、上記フロントジョイント29Ab(29Aa)、リヤジョイント36Ab(36Aa)としたのは、サイドフレーム9Aを右のフロントジョイント29Ab、リヤジョイント36Abから左のフロントジョイント(29Aa)、リヤジョイント(36Aa)に切り替えることを想定して括弧で符号を付したものである。従って、以下、フロントジョイント29Ab側について説明する。   1 to 3, the side frame 9A is attached to the right opening as an example. The front joint 29Ab (29Aa) and the rear joint 36Ab (36Aa) are the side frames. 9A is assumed to be switched from the right front joint 29Ab and the rear joint 36Ab to the left front joint (29Aa) and the rear joint (36Aa), and is given a reference numeral in parentheses. Accordingly, the front joint 29Ab side will be described below.

差込部101、103は、前後逆向きで同一構造であり、図29、図30では、差込部101について説明し、差込部103については差込部101の構造を参照する。   The insertion parts 101 and 103 have the same structure in the front-rear direction, and the insertion part 101 will be described with reference to FIGS. 29 and 30, and the structure of the insertion part 101 will be referred to for the insertion part 103.

差込部101は、横断面を内部へ拡大する嵌合形状として各サイドフレームジョイント49Adをフロントジョイント29Abに上方から差し込み結合させる形態となっている。   The insertion portion 101 has a configuration in which each side frame joint 49Ad is inserted and coupled to the front joint 29Ab from above as a fitting shape that expands the cross section inside.

すなわち、差込部101は、差込凹部29Abb及び差込凸部49Adbを有している。   That is, the insertion part 101 has insertion recessed part 29Abb and insertion convex part 49Adb.

図29のように、フロントジョイント29Abの突合せ面29Abaの上端に、凹状段部29Abcが形成されている。差込凹部29Abbは、横断面が内部に拡大する台形形状に形成されている(図29(C))。この差込凹部29Abbは、突合せ面29Abaに沿って上下方向に沿って形成され、上端が凹状段部29Abcに開口している。   As shown in FIG. 29, a concave step portion 29Abc is formed at the upper end of the abutting surface 29Aba of the front joint 29Ab. The insertion recess 29Abb is formed in a trapezoidal shape whose cross section expands inside (FIG. 29C). The insertion recess 29Abb is formed along the abutting surface 29Aba in the vertical direction, and the upper end is open to the concave stepped portion 29Abc.

一方、図30のように、サイドフレームジョイント49Adの突合せ面49Adaの上端には、凸状段部49Adcが形成されている。凸状段部49Adcは、凹状段部29Abcに対し合わせ構造となっている。差込凸部49Adbは、横断面が差込凹部29Abbの内部に拡大する台形形状に形成されている。この差込凸部49Adbは、凸状段部49Adcの下側に突合せ面49Adaに沿って上下方向に形成され、上下方向の長さが差込凹部29Abbに対応している。差込凸部49Adbは、差込凹部29Abbに横断面方向で締まり嵌め状態又は止まり嵌め状態で嵌合する。   On the other hand, as shown in FIG. 30, a convex step portion 49Adc is formed at the upper end of the butting surface 49Ada of the side frame joint 49Ad. The convex step portion 49Adc has a matching structure with the concave step portion 29Abc. Insertion convex part 49Adb is formed in the trapezoid shape which a cross section expands in the inside of insertion recessed part 29Abb. The insertion convex portion 49Adb is formed in the vertical direction along the abutting surface 49Ada below the convex step portion 49Adc, and the length in the vertical direction corresponds to the insertion concave portion 29Abb. The insertion convex portion 49Adb is fitted into the insertion concave portion 29Abb in an interference fitting state or a dead fitting state in the cross-sectional direction.

かかる差込部101、103によるサイドフレーム9Aの取り付けは、上方からの差し込みで行わせることができる。   The attachment of the side frame 9A by the insertion portions 101 and 103 can be performed by insertion from above.

取り付けに際しては、図31(A)のように、フロントジョイント29Abに対してサイドフレームジョイント49Adを上方に配置し、差込凹部29Abbの上方に差込凸部49Adbを対向させる。   At the time of attachment, as shown in FIG. 31A, the side frame joint 49Ad is disposed above the front joint 29Ab, and the insertion convex portion 49Adb is opposed to the upper portion of the insertion concave portion 29Abb.

サイドフレーム9Aをそのまま下方に平行移動させると、図31(B)のように、差込凸部49Adbが差込凹部29Abbに差し込まれて行く。   When the side frame 9A is translated downward as it is, the insertion protrusion 49Adb is inserted into the insertion recess 29Abb as shown in FIG.

差し込みを継続し、凹状段部29Abcに凸状段部49Adcが合うと図31(C)のように取り付けが完了する。   When the insertion is continued and the convex step portion 49Adc is aligned with the concave step portion 29Abc, the attachment is completed as shown in FIG.

この取り付けでは、締まり嵌め状態での差込凹部29Abb及び差込凸部49Adb間の締め代により突合せ面29Aba、49Ada間が一定の力で突き当てられ、がたつきを無くしている。しかも、差込凸部49Adbを差込凹部29Abbに差し込むだけで、その横断面形状の働きにより相互間を走行方向前後に係合させることができ、確実な組み付けを行わせることができる。   In this attachment, the abutting surfaces 29Aba and 49Ada are abutted with a constant force due to the tightening allowance between the insertion recess 29Abb and the insertion protrusion 49Adb in an interference fit state, thereby eliminating rattling. In addition, by simply inserting the insertion convex portion 49Adb into the insertion concave portion 29Abb, they can be engaged with each other back and forth in the traveling direction by the action of the cross-sectional shape, and a reliable assembly can be performed.

差込凹部29Abb及び差込凸部49Adb間が止まり嵌め状態では、締め代が存在しない場合もあるが、突合せ面29Aba、49Ada間は、ほとんどがたつきなく突き合わせることは可能であり、サイドフレーム9Aの着脱も容易となる。   In the state where the insertion concave portion 29Abb and the insertion convex portion 49Adb are stuck and fitted, there may be no tightening allowance, but the abutting surfaces 29Aba and 49Ada can be almost abutted together, and the side frame 9A can be easily attached and detached.

なお、差込凹部29Abb及び差込凸部49Adbは、下方向に漸次先細となる形状とし、楔状効果を持たせることも可能である。   Note that the insertion concave portion 29Abb and the insertion convex portion 49Adb can have a gradually tapered shape in the downward direction to have a wedge-like effect.

従って、本実施例では、締結具による締結ではなく上方からの差込構造により取り付ける構造としたため、サイドフレーム9Aの左右切り替えた取り付けを容易に行わせることができる。   Therefore, in this embodiment, since the structure is attached not by fastening by a fastener but by an insertion structure from above, the side frame 9A can be easily attached by switching left and right.

その他、実施例1と同様の作用効果を奏することができる。   In addition, the same effects as those of the first embodiment can be achieved.

なお、実施例2において、図31(C)の差し込み状態で差込凹部29Abb及び差込凸部49Adb間を横断面方向に密着させるワンタッチ形式の締結構造を採用することもできる。ワンタッチ形式の締結構造としては、カム面を用いたもの等が考えられる。   In the second embodiment, a one-touch type fastening structure in which the insertion recess 29Abb and the insertion protrusion 49Adb are in close contact with each other in the cross-sectional direction in the insertion state of FIG. As a one-touch type fastening structure, a structure using a cam surface can be considered.

1 起立支援歩行補助器(移動補助器)
3 走行ベース
3a 開放口
5 フロント走行ユニット
7 リヤ走行ユニット
9、9A サイドフレーム
13 座面部
17a、17b 車輪(前輪)
19a、19b 車輪(後輪)
21 ロワーフロントメンバー
23 アッパーフロントメンバー
31 ロワーリヤメンバー
33 アッパーリヤメンバー
29a、29Aa、29b、29Ab フロントジョイント
29aa、29Aaa、29ab、29Aab、36aa、36Aaa、36ba、
36Aba、49da、49Ada、49ea、49Aea 突合せ面
35 座面支持フレーム
36a、36Aa、36b、36Ab リヤジョイント
49d、49Ad、49e、49Ae サイドフレームジョイント
61 昇降機構
59c、59d ボルト(締結具)
101、103 差込部
1 Standing support walking aid (movement aid)
3 Traveling Base 3a Opening Port 5 Front Traveling Unit 7 Rear Traveling Units 9, 9A Side Frame 13 Seating Surfaces 17a, 17b Wheels (Front Wheels)
19a, 19b Wheel (rear wheel)
21 Lower front member 23 Upper front member 31 Lower rear member 33 Upper rear member 29a, 29Aa, 29b, 29Ab Front joint 29aa, 29Aaa, 29ab, 29Aab, 36aa, 36Aaa, 36ba,
36Aba, 49da, 49Ada, 49ea, 49Aea Abutting surface 35 Seating surface support frame 36a, 36Aa, 36b, 36Ab Rear joint 49d, 49Ad, 49e, 49Ae Side frame joint 61 Lifting mechanism 59c, 59d Bolt (fastener)
101, 103 plug

Claims (7)

前輪を備えたフロント走行ユニットと後輪を備え前記フロント走行ユニットから離間したリヤ走行ユニットとの下部相互を下部のサイドフレームで結合した走行ベースと、
前記走行ベースの一側に前記サイドフレームが配置されることで前記走行ベースの他側に設けられ前記フロント走行ユニット及びリヤ走行ユニット間を開放する開放口とを備え、
前記開放口から前記フロント走行ユニット及びリヤ走行ユニット間に被補助者の移動を可能とする、
ことを特徴とする移動補助器。
A traveling base in which a lower side frame of a front traveling unit having a front wheel and a rear traveling unit having a rear wheel and separated from the front traveling unit are coupled to each other by a lower side frame;
An opening that is provided on the other side of the traveling base by disposing the side frame on one side of the traveling base and opens between the front traveling unit and the rear traveling unit;
Enabling the assistant to move between the front traveling unit and the rear traveling unit from the opening;
A mobility aid characterized by that.
請求項1記載の移動補助器であって、
前記サイドフレームは、前記フロント走行ユニット及びリヤ走行ユニットに対して着脱可能に結合するための結合部を有し、
前記フロント走行ユニット及びリヤ走行ユニットは、前記サイドフレームを着脱可能に結合するための被結合部を前記走行ベースの一側及び他側の双方に備え、
前記走行ベースは、前記サイドフレームの結合を前記一側から前記他側に切り替え、前記開放口を前記他側から前記一側に切り替えて備えることを可能とする、
ことを特徴とする移動補助器。
The movement auxiliary device according to claim 1,
The side frame has a coupling portion for detachably coupling to the front traveling unit and the rear traveling unit,
The front traveling unit and the rear traveling unit each include a coupled portion for detachably coupling the side frame on one side and the other side of the traveling base,
The travel base can switch the coupling of the side frame from the one side to the other side and switch the opening from the other side to the one side.
A mobility aid characterized by that.
請求項2記載の移動補助器であって、
前記被結合部は、同一構造であり、前記フロント走行ユニットに設けたフロントジョイントと、前記リヤ走行ユニットに設けたリヤジョイントとを備え、前記結合部は、前記サイドフレームの走行方向前後端に設けたサイドフレームジョイントを備え、
前記フロントジョイント及びリヤジョイントとサイドフレームジョイントとは、上下方向が器幅方向よりも長い形状で相互を走行方向前後に突き合わせる平坦な突合せ面を有し、
前記フロントジョイント及びリヤジョイントとサイドフレームジョイントとの間に、前記突合せ面の突合せを維持する締結具又は前記各サイドフレームジョイントを前記フロントジョイントと前記リヤジョイントとにそれぞれ上方から差し込み結合させる差込部を備えた、
ことを特徴とする移動補助器。
The movement auxiliary device according to claim 2,
The coupled portion has the same structure, and includes a front joint provided in the front traveling unit and a rear joint provided in the rear traveling unit, and the coupling portion is provided at the front and rear ends in the traveling direction of the side frame. With side frame joints
The front joint, the rear joint, and the side frame joint have a flat abutting surface that abuts each other back and forth in the running direction in a shape in which the vertical direction is longer than the width direction of the vessel,
Between the front joint and the rear joint and the side frame joint, a fastener for maintaining the butting of the butting surfaces or an insertion part for inserting and coupling the side frame joints to the front joint and the rear joint from above. With
A mobility aid characterized by that.
請求項1〜3のいずれか一項に記載の起立支援移動補助器であって、
前記サイドフレームは、走行方向前後に延びた骨格部材を上下に併設した、
ことを特徴とする移動補助器。
It is the standing assistance movement auxiliary device according to any one of claims 1 to 3,
The side frame is provided with a skeletal member extending vertically in the traveling direction.
A mobility aid characterized by that.
請求項4記載の起立支援移動補助器であって、
前記走行ベースは、前記上下の骨格部材に対応する前記フロント走行ユニット及び前記リヤ走行ユニットの上下の骨格部材を備えた、
ことを特徴とする移動補助器。
It is a standing assistance movement auxiliary device according to claim 4,
The traveling base includes the upper and lower skeleton members of the front traveling unit and the rear traveling unit corresponding to the upper and lower skeleton members,
A mobility aid characterized by that.
請求項1〜5のいずれか一項に記載の移動補助器であって、
前記走行ベースに備えられた座面支持フレームと、
前記座面支持フレームに配置され被補助者が着座するための座面を有し該座面を器幅方向の着座位置と該着座位置に対する前記器幅方向の前記開放口側にずれた移乗位置とへ移動可能とした座面部とを備えた、
ことを特徴とする移動補助器。
It is a movement auxiliary device as described in any one of Claims 1-5,
A seat support frame provided on the traveling base;
A seating surface disposed on the seating surface support frame for a person to be seated by an assistant, having a seating position in the instrument width direction and a transfer position shifted from the seating position toward the opening in the instrument width direction With a seating surface part that can move to
A mobility aid characterized by that.
請求項6記載の移動補助器であって、
前記座面部を前記座面支持フレームに対し上下方向の着座位置と上部位置との間でアクチュエータにより移動可能に支持させる昇降機構を備えた、
ことを特徴とする移動補助器。
The movement auxiliary device according to claim 6,
An elevating mechanism for supporting the seat surface portion movably by an actuator between a seating position in the vertical direction and an upper position with respect to the seat surface support frame,
A mobility aid characterized by that.
JP2015091667A 2015-04-28 2015-04-28 Mobility aid Active JP6529814B2 (en)

Priority Applications (1)

Application Number Priority Date Filing Date Title
JP2015091667A JP6529814B2 (en) 2015-04-28 2015-04-28 Mobility aid

Applications Claiming Priority (1)

Application Number Priority Date Filing Date Title
JP2015091667A JP6529814B2 (en) 2015-04-28 2015-04-28 Mobility aid

Publications (2)

Publication Number Publication Date
JP2016202823A true JP2016202823A (en) 2016-12-08
JP6529814B2 JP6529814B2 (en) 2019-06-12

Family

ID=57488164

Family Applications (1)

Application Number Title Priority Date Filing Date
JP2015091667A Active JP6529814B2 (en) 2015-04-28 2015-04-28 Mobility aid

Country Status (1)

Country Link
JP (1) JP6529814B2 (en)

Citations (5)

* Cited by examiner, † Cited by third party
Publication number Priority date Publication date Assignee Title
JPS5521964A (en) * 1978-08-07 1980-02-16 Yaesu Rehabili Co Ltd Walking instrument
US5277438A (en) * 1993-01-05 1994-01-11 Chuang Ching P Collapsible recuperating walker
JP3067585U (en) * 1998-10-13 2000-04-07 敏司 中曽 Nursing wheelchair
JP2006288867A (en) * 2005-04-13 2006-10-26 Miyazaki Prefecture One-handed operation type handcart
JP2014108256A (en) * 2012-12-03 2014-06-12 Shinichi Koyano Walker

Patent Citations (5)

* Cited by examiner, † Cited by third party
Publication number Priority date Publication date Assignee Title
JPS5521964A (en) * 1978-08-07 1980-02-16 Yaesu Rehabili Co Ltd Walking instrument
US5277438A (en) * 1993-01-05 1994-01-11 Chuang Ching P Collapsible recuperating walker
JP3067585U (en) * 1998-10-13 2000-04-07 敏司 中曽 Nursing wheelchair
JP2006288867A (en) * 2005-04-13 2006-10-26 Miyazaki Prefecture One-handed operation type handcart
JP2014108256A (en) * 2012-12-03 2014-06-12 Shinichi Koyano Walker

Also Published As

Publication number Publication date
JP6529814B2 (en) 2019-06-12

Similar Documents

Publication Publication Date Title
JP5340480B2 (en) bed
US9004508B2 (en) Movable bed
US8646795B2 (en) Reclining seat
CN107847379B (en) transfer aid
JP6529325B2 (en) Mobility aid
JP2009106692A (en) Chair for nursing care
JP2007252888A (en) Wheelchair combining with walking aid
JP2016202823A (en) Movement assist tool
JP2016202822A (en) Moving aid
US11833093B2 (en) Transfer device
KR102359574B1 (en) Wheelchair with lifting function
JP2007313013A (en) Work auxiliary sheet
US10363178B2 (en) Motor vehicle with a mobile vehicle seat
CN114795699B (en) wheelchair
JP2017006497A (en) Moving aid
JP2017214045A (en) Bicycle frontside child seat
CN114795701B (en) wheelchair
WO2019026144A1 (en) Assistance system
JP5964154B2 (en) wheelchair
CN103027508B (en) Flat deck chair
JP7422422B2 (en) Wheelchair support structures and wheelchairs
JP2025151274A (en) Transfer support device
JP2018175130A (en) Transfer chair
JP6335041B2 (en) Walking aid
JP2011147522A (en) Transfer support device

Legal Events

Date Code Title Description
A621 Written request for application examination

Free format text: JAPANESE INTERMEDIATE CODE: A621

Effective date: 20180207

A977 Report on retrieval

Free format text: JAPANESE INTERMEDIATE CODE: A971007

Effective date: 20181220

A131 Notification of reasons for refusal

Free format text: JAPANESE INTERMEDIATE CODE: A131

Effective date: 20190108

A521 Request for written amendment filed

Free format text: JAPANESE INTERMEDIATE CODE: A523

Effective date: 20190306

TRDD Decision of grant or rejection written
A01 Written decision to grant a patent or to grant a registration (utility model)

Free format text: JAPANESE INTERMEDIATE CODE: A01

Effective date: 20190423

A61 First payment of annual fees (during grant procedure)

Free format text: JAPANESE INTERMEDIATE CODE: A61

Effective date: 20190515

R150 Certificate of patent or registration of utility model

Ref document number: 6529814

Country of ref document: JP

Free format text: JAPANESE INTERMEDIATE CODE: R150

R250 Receipt of annual fees

Free format text: JAPANESE INTERMEDIATE CODE: R250

R250 Receipt of annual fees

Free format text: JAPANESE INTERMEDIATE CODE: R250

R250 Receipt of annual fees

Free format text: JAPANESE INTERMEDIATE CODE: R250