JP2016187543A - 手術テーブル用付属装置 - Google Patents

手術テーブル用付属装置 Download PDF

Info

Publication number
JP2016187543A
JP2016187543A JP2016020402A JP2016020402A JP2016187543A JP 2016187543 A JP2016187543 A JP 2016187543A JP 2016020402 A JP2016020402 A JP 2016020402A JP 2016020402 A JP2016020402 A JP 2016020402A JP 2016187543 A JP2016187543 A JP 2016187543A
Authority
JP
Japan
Prior art keywords
protrusion
tower
end support
opening
carriage
Prior art date
Legal status (The legal status is an assumption and is not a legal conclusion. Google has not performed a legal analysis and makes no representation as to the accuracy of the status listed.)
Pending
Application number
JP2016020402A
Other languages
English (en)
Inventor
ティモシー、パールマン
Perlman Timothy
スティーブン、ホーエル
Hoel Stephen
Current Assignee (The listed assignees may be inaccurate. Google has not performed a legal analysis and makes no representation or warranty as to the accuracy of the list.)
Individual
Original Assignee
Individual
Priority date (The priority date is an assumption and is not a legal conclusion. Google has not performed a legal analysis and makes no representation as to the accuracy of the date listed.)
Filing date
Publication date
Family has litigation
First worldwide family litigation filed litigation Critical https://patents.darts-ip.com/?family=56557954&utm_source=google_patent&utm_medium=platform_link&utm_campaign=public_patent_search&patent=JP2016187543(A) "Global patent litigation dataset” by Darts-ip is licensed under a Creative Commons Attribution 4.0 International License.
Application filed by Individual filed Critical Individual
Publication of JP2016187543A publication Critical patent/JP2016187543A/ja
Pending legal-status Critical Current

Links

Images

Classifications

    • AHUMAN NECESSITIES
    • A61MEDICAL OR VETERINARY SCIENCE; HYGIENE
    • A61GTRANSPORT, PERSONAL CONVEYANCES, OR ACCOMMODATION SPECIALLY ADAPTED FOR PATIENTS OR DISABLED PERSONS; OPERATING TABLES OR CHAIRS; CHAIRS FOR DENTISTRY; FUNERAL DEVICES
    • A61G13/00Operating tables; Auxiliary appliances therefor
    • A61G13/02Adjustable operating tables; Controls therefor
    • AHUMAN NECESSITIES
    • A61MEDICAL OR VETERINARY SCIENCE; HYGIENE
    • A61GTRANSPORT, PERSONAL CONVEYANCES, OR ACCOMMODATION SPECIALLY ADAPTED FOR PATIENTS OR DISABLED PERSONS; OPERATING TABLES OR CHAIRS; CHAIRS FOR DENTISTRY; FUNERAL DEVICES
    • A61G13/00Operating tables; Auxiliary appliances therefor
    • A61G13/0036Orthopaedic operating tables
    • AHUMAN NECESSITIES
    • A61MEDICAL OR VETERINARY SCIENCE; HYGIENE
    • A61GTRANSPORT, PERSONAL CONVEYANCES, OR ACCOMMODATION SPECIALLY ADAPTED FOR PATIENTS OR DISABLED PERSONS; OPERATING TABLES OR CHAIRS; CHAIRS FOR DENTISTRY; FUNERAL DEVICES
    • A61G13/00Operating tables; Auxiliary appliances therefor
    • A61G13/02Adjustable operating tables; Controls therefor
    • A61G13/04Adjustable operating tables; Controls therefor tiltable around transverse or longitudinal axis
    • AHUMAN NECESSITIES
    • A61MEDICAL OR VETERINARY SCIENCE; HYGIENE
    • A61GTRANSPORT, PERSONAL CONVEYANCES, OR ACCOMMODATION SPECIALLY ADAPTED FOR PATIENTS OR DISABLED PERSONS; OPERATING TABLES OR CHAIRS; CHAIRS FOR DENTISTRY; FUNERAL DEVICES
    • A61G13/00Operating tables; Auxiliary appliances therefor
    • A61G13/10Parts, details or accessories
    • AHUMAN NECESSITIES
    • A61MEDICAL OR VETERINARY SCIENCE; HYGIENE
    • A61GTRANSPORT, PERSONAL CONVEYANCES, OR ACCOMMODATION SPECIALLY ADAPTED FOR PATIENTS OR DISABLED PERSONS; OPERATING TABLES OR CHAIRS; CHAIRS FOR DENTISTRY; FUNERAL DEVICES
    • A61G13/00Operating tables; Auxiliary appliances therefor
    • A61G13/10Parts, details or accessories
    • A61G13/12Rests specially adapted therefor; Arrangements of patient-supporting surfaces
    • AHUMAN NECESSITIES
    • A61MEDICAL OR VETERINARY SCIENCE; HYGIENE
    • A61GTRANSPORT, PERSONAL CONVEYANCES, OR ACCOMMODATION SPECIALLY ADAPTED FOR PATIENTS OR DISABLED PERSONS; OPERATING TABLES OR CHAIRS; CHAIRS FOR DENTISTRY; FUNERAL DEVICES
    • A61G13/00Operating tables; Auxiliary appliances therefor
    • A61G13/10Parts, details or accessories
    • A61G13/12Rests specially adapted therefor; Arrangements of patient-supporting surfaces
    • A61G13/1205Rests specially adapted therefor; Arrangements of patient-supporting surfaces for specific parts of the body
    • A61G13/121Head or neck
    • AHUMAN NECESSITIES
    • A61MEDICAL OR VETERINARY SCIENCE; HYGIENE
    • A61GTRANSPORT, PERSONAL CONVEYANCES, OR ACCOMMODATION SPECIALLY ADAPTED FOR PATIENTS OR DISABLED PERSONS; OPERATING TABLES OR CHAIRS; CHAIRS FOR DENTISTRY; FUNERAL DEVICES
    • A61G13/00Operating tables; Auxiliary appliances therefor
    • A61G13/02Adjustable operating tables; Controls therefor
    • A61G13/06Adjustable operating tables; Controls therefor raising or lowering of the whole table surface
    • AHUMAN NECESSITIES
    • A61MEDICAL OR VETERINARY SCIENCE; HYGIENE
    • A61GTRANSPORT, PERSONAL CONVEYANCES, OR ACCOMMODATION SPECIALLY ADAPTED FOR PATIENTS OR DISABLED PERSONS; OPERATING TABLES OR CHAIRS; CHAIRS FOR DENTISTRY; FUNERAL DEVICES
    • A61G2200/00Information related to the kind of patient or his position
    • A61G2200/30Specific positions of the patient
    • A61G2200/32Specific positions of the patient lying

Landscapes

  • Health & Medical Sciences (AREA)
  • Engineering & Computer Science (AREA)
  • Biomedical Technology (AREA)
  • Life Sciences & Earth Sciences (AREA)
  • Animal Behavior & Ethology (AREA)
  • General Health & Medical Sciences (AREA)
  • Public Health (AREA)
  • Veterinary Medicine (AREA)
  • Orthopedic Medicine & Surgery (AREA)
  • Neurosurgery (AREA)
  • Otolaryngology (AREA)
  • Accommodation For Nursing Or Treatment Tables (AREA)

Abstract

【課題】手術テーブル用の調整可能な支持装置を提供する。【解決手段】手術テーブル用調整可能な支持装置10は、第1末端部分と第2末端部分を有する患者台を用いる。第1および第2端部支持を用いて、歯止め要素を有するキャリッジ46により調整された患者台を取り付ける。キャリッジは、患者台用の支持表面を有する止め金具52を含む。ギアラックを用いるタワー42は、キャリッジ歯止め要素と相互作用し、患者台を手術テーブルの第1および第2端部支持に対して位置決めする。【選択図】図4

Description

本発明は、手術テーブル用の調整可能な支持装置に関する。
医療および手術行為では、施術者が外科処置をできるように、さまざまな位置で手術テーブルに患者を寝かせることが必要になる。たとえば、手術テーブルの患者台は上下に動かされ、または水平軸周りに傾斜させられなければならない。加えて、手術テーブルの患者台の頭の部分または足の部分は、トレンデレンブルグまたは逆トレンデレンブルグ体位と呼ばれるような特定の方向を向けられるように独立して下げられたり持ち上げられたりできなければならない。
これまで説明したように、手術テーブルを外科医の要求を受け入れるように構成することは重要である。ある場合には、テーブルの動きを用いて、外科処置のために患者の頭部に対して患者の内臓器官を移動させることもある。さらに、手術テーブルの逆トレンデレンブルグ体位はまた、患者の頭部への血流を増加して手術中のショックを最小化したり、前方からまたは後部から患者へアクセスできるようにする。
過去においては、手術テーブルの患者台の調整は、そのような患者台と手術テーブルの端部支持の相互作用によりなされ、特に手術患者台の調整は、平行なバーの間からロッドを取り外したり差し込んだりすることにより行われ、平行なバーはロッドを受け入れるための開口を有していた。機能的ではあるが、そのようなシステムでは、患者が誤って手術患者台上で下がってしまうことを防ぐために手術チームの一部に大きな注意が必要とされる。加えて、手術患者台を持ち上げ、下げ、傾斜させ、頭部と足の部分を独立して上げたり下げたりすることは、従来技術のメカニズムでは難しく、不便なことが多かった。代表的な従来技術の調整可能な手術テーブルとして、特許文献1を参照されたい。
安全で簡単に操作できる手術テーブルの位置決めシステムは医療分野で著しい進歩をしている分野であろう。
米国特許第6,260,220号
本発明によると、新規で有用な手術テーブル用の調整可能な支持装置が提供される。
本発明の装置は、第1末端部分と第2末端部分を有する患者台と共に利用される。第1および第2端部支持も本装置と共に用いられ、安全で容易に実行できるような方法で、患者台の第1末端部分と第2末端部分に接続される。
この点につき、本装置は、それぞれの端部支持に取り付けられ、その一部を構成するクロスバーを含む。キャリッジもまた使用され、収容部と該収容部から延在する第1および第2止め金具を活用する。第1および第2止め金具のぞれぞれは、患者台のそれぞれの末端部分と関連する接合具用の係合面を提供する。各接合具は、キャリッジの収容部から延在する第1および第2止め金具の係合面に回転可能に組み付く鉤爪状部材の形を取ってもよい。
加えて、少なくとも1つのタワーが、第1および/または第2端部支持に、好ましくはクロスバーに、着脱可能に固定されるのに用いられる。各タワーには、交互の窪みと肩とを有する少なくとも1つのギアラックが付けられる。キャリッジと1つまたは複数のタワーとの組み合わせが、タワー組立体を形成する。キャリッジに関連するコントローラは、少なくとも1つのつめ歯止めをいずれかのギアラックと係合し外れるように動かし、よって、患者台とキャリッジの末端部分がラチェット機構によりタワーに対して上下方向に移動できるようにする。説明するまでもないことであるが、上記で説明したキャリッジ、1つまたは複数のタワーおよびコントローラの使用は、手術テーブルの第1および第2端部支持と一緒に活用される。結果として、患者台の第1末端部分と第2末端部分は、第1および第2端部支持に対して独立して持ち上げられ、下げられる。
さらに、各タワー組立体は、第1および/または第2端部支持のクロスバーにタワー組立体を脱着可能に固定するメカニズムを含んでもよい。要するに、タワーは、クロスバーの開口部に係合するボスを有する単一の突出部を有して形成される。しかし、そのようなメカニズムでは、クロスバーに第1および第2開口部の提供を含むのが好ましい。すると、各タワーは第1および第2突出部を取り付けられる。第1突出部は、クロスバーの第1開口部に回転可能に収まり、第2突出部は、第1突出部の回転時にそのクロスバーの第2開口部に収まる。ロック機構は、クロスバーの第2開口部の第2突出部を音が聞こえるように動かし保持し、バヨネット式接続を完成する。
手術テーブル用の新規で有用な調整可能な支持装置が本書で上記に説明されたことは明らかであろう。
よって、患者に安全性を提供し、手術スタッフによる操作を容易にする、手術テーブル用の調整可能な支持装置を提供することが本発明の目的の一つである。
本発明の別の目的は、患者台のいくつもの動きを許容し、外科医にとって便利な患者の位置決めを可能にする手術テーブル用の調整可能な支持装置を提供することである。
本発明の別の目的は、手術テーブルの不注意な固定不良、手術テーブルの管理されない動き、ある瞬間における患者台の位置決め不能などを含む従来技術の手術テーブルに関連した危険性を排除する、手術テーブル用の調整可能な支持装置を提供することである。
本発明の別の目的は、手術テーブルの種々の要素の固定と解除を知らせる可聴のインジケータを提供する、手術テーブル用の調整可能な支持装置を提供することである。
本発明の別の目的は、患者の重量によるキャリッジ・ドリフトを排除する、手術テーブル用の調整可能な支持装置を提供することである。
本発明の別の目的は、比較的メンテナンス不要な、手術テーブル用の調整可能な支持装置を提供することである。
本発明の別の目的は、使用中に高い安定性を有する、手術テーブル用の調整可能な支持装置を提供することである。
本発明の別の目的は、接続された患者支持台天板の撤去を防止するバヨネット式接続金具を介してクロスバーを用いて端部支持に接続されるタワーを用いる、手術テーブル用の調整可能な支持装置を提供することである。
本発明のさらに別の目的は、昇降機制限の政府基準に合致した、手術テーブル用の調整可能な支持装置を提供することである。
本発明は、その特別な特色と特徴に関しての他の目的と効果を有し、続く明細書により明らかになろう。
図1は、透視したHフレームの逆トレンデレンブルグ動作を示す、本発明の装置の概略側面立面図である。 図2は、Hフレームと患者支持を利用する、本発明の装置の側面立面図である。 図3は、Hフレームと患者支持を180度回転させた、本発明の装置の概略側面立面図である。 図4は、本発明の装置を用いる手術テーブルの頭部部分の左上斜視図である。 図5は、従来技術の調整メカニズムを用いる手術テーブルの左上斜視図である。 図6は、本発明の一対のタワーとキャリッジ機構を含むタワー組立体の正面立面図である。 図7は、本発明のキャリッジの制御メカニズムの正面立面図である。 図8は、図7の8−8に沿った断面図である。 図8Aは、タワーの単一の突出部を取り込むための単一の開口部を有する端部支持のクロスバーの上面図である。 図8Bは、所定位置のタワー突出部を有する図8Aの線8B−8Bに沿った断面図である。 図9は、本発明の装置のタワー部分の一部の正面立面図である。 図10は、図9の左側面図である。 図11は、図9の右側面図である。 図12は、図9〜11に示したタワー固定メカニズムを受け入れる端部支持のクロスバーの表面の上面図である。 図13は、タワーを透視して示し、端部支持のクロスバーに対してその動きが固定状態にあることを示す端部支持のキャリッジの上面図である。 図14は、キャリッジの患者台と止め金具係合面に関して用いられる接合具の上部部分立面図である。 図15は、図14の線15−15に沿った断面図である。 図16は、パドル解除構造の正面立面図である。 図17は、図16の線17−17に沿った断面図である。
本発明のいろいろな態様が、以下の好適な実施の形態の詳細な説明から分かるであろう。それらの説明は、特許のための技術思想を完全に理解するために上記に説明した図面と共に用いられるべきである。
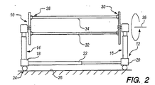
本発明の手術テーブル用の調整可能な支持装置は、全体として参照番号10により図面に示される。図1〜3を参照すると、支持装置10が手術テーブル12と共に用いられることが分かる。手術テーブル12は、端部支持または柱14、16を有して示される。柱14、16は、足またはベース18、20にそれぞれ接続される。ベース18、20は架け渡し部材22により互いに連結される。複数のキャスタ24により手術テーブル12は表面26に沿って動くことができる。
支持装置10は、手術テーブル12の頭部と足部にそれぞれ設けられるタワー組立体28、30をさらに含む。図1は、手術テーブル12を、タワー組立体28、30に連結した基本Hフレーム32と共に示す。さらに、図2および3は、旋回手術用トップ(spiral surgery top)、整形外科的外傷用トップ(orthopedic trauma top)、放射線透過画像用トップ(radio-lucent imaging top)等の形態をとる、付加天板または患者台34を示す。図2および3は、Hフレーム32と天板34の位置が公知のメカニズムにより軸36周りに反転されているところを示すことが分かる。さらに、図1は、Hフレーム32が本発明の支持装置10によりタワー組立体28および/または30に沿って上下動されることを示し、以下の明細書で詳細に説明する。
ここで図4を参照して、支持装置10をさらに詳細に説明する。支持装置10は、手術テーブル12の頭部で第1端部支持14と関連するタワー組立体28を含む。なお、同様のタワー組立体30は、図1〜3に模式的に示すように、手術テーブル12の足部で第2端部支持16と関連している。タワー組立体28は、第1端部支持14に直接接続され、第1端部支持14の一部を構成するクロスバーまたはマウント40を含む。クロスバー40は、そこからタワー42、44を外向きに、そして図4に示されるように概して上下方向に、向かせる。タワー組立体28は、以下に説明するラチェット機構を介して、タワー42、44に沿って移動するキャリッジ46、48も有する。キャリッジ46は、明示のために、図2および3に示されるような天板との係合や支持無しで、図4に示される。キャリッジ46は、収容部54から延在する第1止め金具50と第2止め金具52を含む。係合面56、58は、収容部54と止め金具50、52のハンドル60、62の間に位置する。係合面56、58は、概して円筒形部材として示されている。しかし、天板34またはHフレーム32の方向付けのために、係合面58は係合面56よりも長い。図4をさらに参照すると、Hフレーム32は、以下の明細書で説明する接合具64、66の使用によりキャリッジ48に接続されていることが分かる。方向矢印68、70は、キャリッジ46に接続された天板やキャリッジ48に接続されたHフレーム32に加え、キャリッジ46、48のクロスバー40に対する外向きおよび内向きの動きを示すことを意図している。
ここで図5を参照すると、米国特許第6,260,220号に見られるような、従来技術の手術テーブル72用調整メカニズムの模式的図が示される。患者台74は、Hフレーム76を貫通する孔75に選択的に係合する取り外し可能なロッドまたはピン78の使用によりHフレーム76に保持される。明らかではあるが、ロッド78は、方向矢印80のように天板74を上下させるのに、注意深く取り外してHフレーム76の孔に再挿入しなければならない。
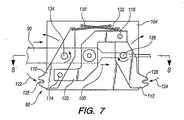
それに対し、本発明の調整支持装置10は、特に優れた利点を提供し、例示のタワー42とキャリッジ46により図6に示される。タワー組立体28のキャリッジ48と、手術テーブル12の足部のタワー組立体30に関連する他のキャリッジは同様に構成されることに、再度留意願いたい。キャリッジ46は、図6では背部側に示され、図4に示される前部方向とは逆である。明らかなように、タワー42は、ギアラック84、86を保持する内部空間室82を含む。キャリッジ46は、図7および8に詳細に示される歯止め機構88を含む。
図7および8を参照すると、スライドレバー・ロック・アクチュエータ90の形式のコントローラは、方向矢印94のように手動で回転するスライド・ロック・ノブ92に接続する。カムフォロワ96はカム表面98に沿って移動し、方向矢印100のようにスライドレバー・ロック・アクチュエータ90を外向きに押す。この動きは、図7および8の方向矢印100で図示のようにスロット108中でレバー・ロック・アクチュエータ102をずらす。レバー・ロック・アクチュエータ102は、プレート104、106間に位置する。プレート106は、歯止め機構88の可視化のために図7からは除外されている。レバー・ロック・アクチュエータ102は、ピン114、116でラチェット歯止め110、112に回転可能に接続する。方向矢印100のようなレバー・ロック・アクチュエータ102の動きは、方向矢印122、124で示されるようなラチェット歯止め110、112の回転を引き起こす。歯止め用刻み目126、128は、付勢ばね130、132によりタワー42のギアラック84、86との係合を保たれる。方向矢印122、124のようなラチェット歯止め110、112の内向き回転は、歯止め用刻み目126、128をギアラック84、86から係合解除し、キャリッジ46をギアラック84、86に対して上下できるようにする。スライド・ロック・ノブ92の解除は、ラチェット歯止め110、112が付勢ばね130、132の作用を通じてギアラック84、86と再係合するようにする。当然のことではあるが、ギアラック84、86と共にラチェット歯止め110、112は、キャリッジ46がスライド・ロック・ノブ92の動作無しで上方に移動できるが、これまで説明したように、スライド・ロック・ノブ92の回転無しでのキャリッジ46の下方への移動を禁止するように構成される。ラチェット歯止め110、112は、図8のように、プレート104、106により保持される歯止めピン134、136の使用により、プレート104、106に対して回転することは明らかである。スライドレバー・ロック・アクチュエータ90とバットレス140の間の戻りばね138は、スライド・ロック・ノブ92を静止位置に回転し、そこでラチェット歯止め110、112はギアラック84、86と係合するように延びている。バットレス140は、キャリッジ46の本体142に堅固に接続される。
第1端部支持14のクロスバー40にタワー42を着脱可能に固定するための基本的メカニズム143が図8Aおよび8Bに表わされる。このことにつき、開口部145が、下溝空間147、149と共にクロスバー40に形成される。突出部151が、タワー42から延び、側面突起153、155を含む。突出部151を開口部145内に配置し、タワー42と突出部151を捩じるまたは回すことにより、側面突起153、155が下溝空間147、149の面または天井157、159とそれぞれ係合する。図8Bの方向矢印161はこのような捩りを表わす。突出部151と側面突起153、155は、このような要素の厳しい精度による構成により、開口部145内に留まる。しかし、必要であれば、開口部145内に突出部151を保持するのに、予め負荷を掛けられたばねを用いてもよい。
図9〜13を参照すると、第1端部支持14のクロスバー40にタワー42を着脱可能に固定するための好適なメカニズム144が表わされる。このことにつき、タワー42は、その中に突出部148、150が延びる端部表面146を含む。突出部148は、スロット152を有する。突出部150は、延長ボス154を有して、概して円筒形状に形成される。明らかではあるが、クロスバー40の上部表面148には、図12に透視して示される下溝空間162を有する窪み160を有する第1開口部158が形成される。第2開口部164もクロスバー40の表面に形成され、ばね付勢プランジャ166を含む。ばね付勢プランジャ166は、突出部148のスロット152と係合するようになされる。図13を参照して、突出部150が開口部158内に置かれると、ボス154は、下溝空間162に入り込み、タワー42は、タワー142の突出部148が第2開口部164に入り、カチッという音と共にばね付勢プランジャ166により所定の保持されるように、所定の位置に回される。このように、タワー42は、バヨネット接続式にクロスバー40と係合し上手く収まる。ノブ168は、ノブ168に接続された軸170を介してばね付勢プランジャ166を引っ込めるように引っ張られてもよい。メカニズム144はまた、タワー44をクロスバー40に固定し、同様の単数および複数のタワーをタワー組立体28のクロスバーに固定する。
図14および15を参照すると、患者台34のキャリッジ46への接続が図解され、そこには一対の接合具172、174が示される。接合具172、174は、ハンドル178を有する架け渡し体176により連結される。接合具172、174は、Hフレーム32に関して用いられる、図4に部分的に示される接合具64、66に類似していることに留意されたい。接合具172、174に類似している一対の接合具が、患者台34とHフレーム32の各端部で用いられる。各接合具172、174は、接合具172に関して図15に断面図で示される、鉤爪状部材として構成される。図15から分かるように、鉤爪状接合具174は、止め金具52の係合面56にぴったりと適合する。同様に、接合具152は、止め金具50の係合面58にぴったりと適合する。接合具172、174は、接合具174に関してたとえばボール先端が用いられるように、格納式先端の使用によりぴったりと収まる。先端180はまた、方向矢印182方向に接合具174が回転できるようにし、ロッド184、186を介してパドル構造に連結される。パドル構造188は、方向矢印190および192のように、先端180を止め金具52の係合面56に当たる位置から解除または引っ込めるのに用いられる。ばね194、196は、延びた位置198(仮想)に先端180を付勢し、鉤爪状接合具174を止め金具52の係合表面156に押し付ける。明らかではあるが、天板34が第2端部支持30で、第1端部支持とタワー組立体28に接続する天板の部分より高い位置または低い位置にあると、天板34を回転させることができる。
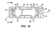
図16と17は、接合具172、174と軸190回りに回転するパドル構造188の正面図を示す。パドル構造188は、ハブ196、198を用いて接合具172、174の扁平な突起先端192、194に連結する。架け渡し部材176は、接合具172、174を一緒に保持する。特に図17を参照すると、操作先端194用の別の操作メカニズム202が示される。同様のメカニズムが、接合具172に関連する突起先端192を操作する。ロータ204は、ハブ190に接続し、図17の方向矢印210および212のように、パドル構造188の上部分206または下部分208に作用する力により回転する。スロット付きアーム214、216は、軸222回りに旋回する本体220のピン218に係合する。方向矢印224は、そのような回転と、方向矢印226、228のようにスロット付きアーム214または216のいずれかがピン218に向かって動くときの止め金具52からの扁平な突起先端194の解除または引っ込みを示す。ばね230は、扁平な突起先端194を、パドル構造188への力なしに、止め金具52に対して所定の位置に保持する。要するに、パドル構造188は、扁平な突起先端194をその上部分206または下部分208のいずれかの押圧により解除する。
操作において、ユーザは、Hフレーム32および/または天板34をタワー組立体28、30に接続し、タワー組立体28、30は手術テーブル12の第1端部支持14および第2端部支持16にて類似に構成される。タワー組立体28、30は、図9〜13に示されるバヨネット構造を用いて建てられ、図4にタワー42のクロスバー40への例示の接続を示す。Hフレーム32および/または天板34は、図14および15に示す例示の接合具172、174の相互作用によりタワー構造28に固定され、接合具172、174は図4に示す接合具64、66と同様である。例示の接合具172、174は、止め金具52、50の係合面56、58を用いることにより例示のタワー42に保持される。図16および17のパドル構造188を用いて、例示のメカニズム202を用いて止め金具50、52から接合具172、174を解除し、よって、天板34を端部支持14、16から自由にする。例示のキャリッジ46は、図6〜8にて説明したラチェット機構により例示のタワー42に関して天板34を位置づける。当然ではあるが、タワー42およびキャリッジ46に関して説明した構造は、天板34とHフレーム32に関連するタワー組立体30に関する類似の配置に加え、Hフレーム32、タワー44およびキャリッジ48にも適用される。図6〜8に示すラチェット組立体を用いることで、手術テーブル12のユーザは、Hフレーム32または天板34のいずれの端部をも、上方、下方、および/または、トレンデレンブルグまたは逆トレンデレンブルグ体位に調整できる。
前述のとおり、本発明の実施の形態を、本発明を完全に開示する目的でかなり詳細に説明したが、種々の変更が本発明の思想と原理から逸脱することなく詳細になされ得ることは当業者には明らかであろう。

Claims (16)

  1. タワーを末端支持に固定する手術テーブル用付属装置であって、
    前記末端支持の第1および第2開口部と、
    前記タワーから延びる第1および第2突出部であって、前記第1突出部は前記末端支持の前記第1開口部に回転可能に収まり、前記第1突出部の回転により前記第2突出部は前記末端支持の前記第2開口部に収まる、
    装置。
  2. 前記第1突出部は円筒形部材を備える、
    請求項1の装置。
  3. 前記第2突出部はスロットを含む、
    請求項1の装置。
  4. 前記第2突出部はスロットを含む、
    請求項2の装置。
  5. 前記末端支持に接続され、前記末端支持の一部を構成するクロスバーをさらに備え、前記第1および第2開口部は前記クロスバーの第1および第2開口部を備える、
    請求項1の装置。
  6. 前記第1突出部は円筒形部材を備える、
    請求項5の装置。
  7. 前記第2突出部はスロットを含む、
    請求項5の装置。
  8. 前記第2突出部はスロットを含む、
    請求項6の装置。
  9. 前記第1突出部は、前記第1開口部内の第1末端支持の一部と係合するボスを含む、
    請求項1の装置。
  10. 前記第2開口部はばね付勢プランジャを含み、前記ばね付勢プランジャは前記第2突出部の前記スロットと係合する、
    請求項9の装置。
  11. 前記タワーは第1タワーを備え、さらに第2タワーを備え、前記第2タワーは前記第2タワーから延びる第3および第4突出部を備え、前記クロスバーは第3および第4開口部を備え、前記第3突出部は前記クロスバーの前記第3開口部に回転可能に収まる、
    請求項5の装置。
  12. 前記第3突出部は円筒形部材を備える、
    請求項11の装置。
  13. 前記第4突出部はスロットを含む、
    請求項12の装置。
  14. 前記第4開口部はばね付勢プランジャを含み、前記ばね付勢プランジャは前記第4突出部の前記スロットと係合する、
    請求項13の装置。
  15. タワーを末端支持に固定する手術テーブル用付属装置であって、
    前記末端支持の開口部であって、前記開口部は前記開口部の下に溝を付ける空間を含み、前記空間は前記末端支持の一部として天井を形成する、開口部と、
    前記タワーから延びる突出部であって、前記突出部は突起を含み、前記突出部は前記末端支持の前記開口部に入る大きさとされ、前記突出部の回転により前記突起は前記空間の前記天井に係合する大きさとされる、突出部とを備える、
    装置。
  16. 前記空間は第1空間を備え、前記開口部の下溝を付ける第2空間をさらに備え、
    前記第2空間は前記末端支持の一部としての天井を形成し、
    前記突起は、第1突起を備え、前記突出部からの第2突起をさらに備え、前記第2突起は前記突出部を回すことにより前記第2空間の前記天井と係合する大きさとされる、
    請求項15の装置。
JP2016020402A 2015-02-06 2016-02-05 手術テーブル用付属装置 Pending JP2016187543A (ja)

Applications Claiming Priority (2)

Application Number Priority Date Filing Date Title
US14/616,456 US9713562B2 (en) 2015-02-06 2015-02-06 Surgery table attachment apparatus
US14/616,456 2015-02-06

Publications (1)

Publication Number Publication Date
JP2016187543A true JP2016187543A (ja) 2016-11-04

Family

ID=56557954

Family Applications (1)

Application Number Title Priority Date Filing Date
JP2016020402A Pending JP2016187543A (ja) 2015-02-06 2016-02-05 手術テーブル用付属装置

Country Status (5)

Country Link
US (1) US9713562B2 (ja)
JP (1) JP2016187543A (ja)
KR (2) KR102068867B1 (ja)
CN (1) CN105853119A (ja)
CA (1) CA2919681C (ja)

Families Citing this family (29)

* Cited by examiner, † Cited by third party
Publication number Priority date Publication date Assignee Title
US10548796B2 (en) 2015-08-17 2020-02-04 Warsaw Orthopedic, Inc. Surgical frame and method for use thereof facilitating articulatable support for a patient during surgery
AU2016308175B2 (en) 2015-08-17 2021-04-01 Warsaw Orthopedic, Inc. Surgical frame facilitating articulatable support for a patient during surgery
US11160709B2 (en) * 2016-06-14 2021-11-02 Warsaw Orthopedic, Inc. Surgical table with movement capabilities of lower body support structures
US10940072B2 (en) 2016-10-28 2021-03-09 Warsaw Orthopedic, Inc. Surgical table and method for use thereof
DE102017000851B4 (de) * 2017-01-31 2020-12-10 Drägerwerk AG & Co. KGaA Flexibles Konsolensystem für medizinische Geräte
US10900448B2 (en) 2017-03-10 2021-01-26 Warsaw Orthopedic, Inc. Reconfigurable surgical frame and method for use thereof
USD998156S1 (en) 2017-04-21 2023-09-05 Mizuho Orthopedic Systems, Inc. Surgical drape
US10905614B2 (en) 2017-04-21 2021-02-02 Mizuho Osi System, apparatus and method for patient positioning prior to, during and/or after medical procedures
US11129765B2 (en) 2017-04-21 2021-09-28 Mizuho Osi System, apparatus and method for patient positioning prior to, during and/or after medical procedures
US10874570B2 (en) 2017-06-30 2020-12-29 Warsaw Orthopedic, Inc. Surgical frame and method for use thereof facilitating patient transfer
US10576006B2 (en) 2017-06-30 2020-03-03 Warsaw Orthopedic, Inc. Surgical frame having translating lower beam and method for use thereof
US11020304B2 (en) 2017-08-08 2021-06-01 Warsaw Orthopedic, Inc. Surgical frame including main beam for facilitating patient access
US10835439B2 (en) 2018-08-21 2020-11-17 Warsaw Orthopedic, Inc. Surgical frame having translating lower beam and moveable linkage or surgical equipment attached thereto and method for use thereof
US10893996B2 (en) 2018-08-22 2021-01-19 Warsaw Orthopedic, Inc. Surgical frame having translating lower beam and moveable linkage or surgical equipment attached thereto and method for use thereof
US10898401B2 (en) 2018-08-22 2021-01-26 Warsaw Orthopedic, Inc. Reconfigurable surgical frame and method for use
US10888484B2 (en) 2019-04-26 2021-01-12 Warsaw Orthopedic, Inc Reconfigurable pelvic support for surgical frame and method for use thereof
US10881570B2 (en) 2019-04-26 2021-01-05 Warsaw Orthopedic, Inc Reconfigurable pelvic support for a surgical frame and method for use thereof
US11234886B2 (en) 2019-09-25 2022-02-01 Warsaw Orthopedic, Inc. Reconfigurable upper leg support for a surgical frame
US11813217B2 (en) 2020-04-22 2023-11-14 Warsaw Orthopedic, Inc Lift and method for use of a lift for positioning a patient relative to a surgical frame
US11304867B2 (en) 2020-04-22 2022-04-19 Warsaw Orthopedic, Inc. Lift and method for use of a lift for positioning a patient relative to a surgical frame
US11925586B2 (en) 2022-03-25 2024-03-12 Mazor Robotics Ltd. Surgical platform and trolley assembly
US12150902B2 (en) 2022-05-10 2024-11-26 Warsaw Orthopedic, Inc. Surgical table
US12207946B2 (en) 2022-05-10 2025-01-28 Warsaw Orthopedic, Inc. Surgical platform system
US12213905B2 (en) 2022-05-10 2025-02-04 Warsaw Orthopedic, Inc. Surgical platform system
US12239584B2 (en) 2022-06-22 2025-03-04 Warsaw Orthopedic, Inc. Interface moveably interconnecting surgical table and gantry
US12011398B2 (en) 2022-08-26 2024-06-18 EMPLASE Medical Technologies, LLC Patient-positioning system, computer-control and data-integration system, surgical componentry, and surgical methods of using same
US12396909B2 (en) 2022-08-29 2025-08-26 Warsaw Orthopedic, Inc. Surgical platform system
US12539244B2 (en) 2023-05-26 2026-02-03 Warsaw Orthopedic, Inc. Surgical gantry and interface moveably interconnecting surgical table and gantry
US12478537B2 (en) 2023-10-16 2025-11-25 EMPLASE Medical Technologies, LLC Frame and patient support, and surgical methods using same

Family Cites Families (26)

* Cited by examiner, † Cited by third party
Publication number Priority date Publication date Assignee Title
US3866251A (en) * 1973-11-24 1975-02-18 R Harold Pounds Footboard for hospital bed
US4196673A (en) * 1975-09-06 1980-04-08 Conver Ingenieur-Technik Gmbh & Co. Kg Coupling device for containers
US4657462A (en) * 1985-08-08 1987-04-14 Simmons Fastener Corporation Quarter-turn fastener
US4948315A (en) * 1987-03-23 1990-08-14 Limberis Andreas A Slip lock pin and cap
US4993125A (en) * 1990-02-20 1991-02-19 United States Of America As Represented By The Secretary Of The Navy Container connector
DE4015434C1 (ja) * 1990-05-14 1991-10-17 Stierlen-Maquet Ag, 7550 Rastatt, De
US5142834A (en) * 1990-07-12 1992-09-01 Donnelly Corporation Vehicle trim assembly and fastener therefor
EP0633748B1 (en) * 1991-12-03 1998-03-04 Boston Scientific Ireland Limited Bone Anchor Implantation Device
CZ98492A3 (cs) * 1992-04-02 1993-11-17 Medipo Em Sro Podpěra rukou
US6260220B1 (en) * 1997-02-13 2001-07-17 Orthopedic Systems, Inc. Surgical table for lateral procedures
CA2323280A1 (en) * 1999-12-13 2001-06-13 Roy A. Thompson A window panel balance apparatus and method
FR2813928B1 (fr) * 2000-09-12 2003-09-26 Alm Assemblage de deux pieces dont l'une est fixe et l'autre amovible, utilisable par exemple pour l'equipement d'une table chirurgicale
WO2004099541A1 (en) * 2003-04-30 2004-11-18 Silver Line Building Products Corp. Tilt-latch and window sash assembly
US7565708B2 (en) * 2005-02-22 2009-07-28 Jackson Roger P Patient positioning support structure
US7739762B2 (en) * 2007-10-22 2010-06-22 Mizuho Orthopedic Systems, Inc. Surgery table apparatus
US20090229049A1 (en) * 2008-03-12 2009-09-17 Heimbrock Richard H Adjustable Siderail and Lock Therefor
US20090249694A1 (en) * 2008-04-03 2009-10-08 Carl Michael Nilsson Removable storm window system
US8621692B1 (en) * 2008-08-12 2014-01-07 Bob Kring Surgical bed clamp apparatus
CN101919773B (zh) * 2010-09-06 2011-08-31 柯玮 医用诊疗台的腿板结构
US20120246830A1 (en) * 2011-03-31 2012-10-04 Hornbach David W Footboard egress design
CN102512306B (zh) * 2011-12-15 2015-04-15 易金阳 医用手术台的头板拆装结构
US9493970B2 (en) * 2012-12-27 2016-11-15 Ply Gem Industries, Inc. Tilt latch for window
US9097061B1 (en) * 2013-03-14 2015-08-04 Barry G. Lawrence Window sash pivot bar
CA2844430A1 (en) * 2013-03-15 2014-09-15 Pella Corporation Latch assembly
US9279284B1 (en) * 2014-10-20 2016-03-08 T.F.H. Publications, Inc. Foot operated pet gate
US10149793B2 (en) * 2015-02-04 2018-12-11 Stephen Hoel Adjustable support apparatus for a surgery table

Also Published As

Publication number Publication date
CA2919681A1 (en) 2016-08-06
US20160228315A1 (en) 2016-08-11
CA2919681C (en) 2022-10-25
KR102068867B1 (ko) 2020-01-21
KR20160097151A (ko) 2016-08-17
CN105853119A (zh) 2016-08-17
KR20190080829A (ko) 2019-07-08
US9713562B2 (en) 2017-07-25

Similar Documents

Publication Publication Date Title
JP2016187543A (ja) 手術テーブル用付属装置
JP2016187542A (ja) 患者台接続機器
JP7373892B2 (ja) 患者台を手術テーブルの端部支持に連結する機器
EP3216437A1 (en) An adjustable support apparatus for a surgery table
EP3569213B1 (en) Patient platform connection device
EP3216439B1 (en) Surgery table attachment apparatus
AU2019201413B2 (en) Surgery table attachment apparatus
AU2016201156B2 (en) Patient platform connection device
HK40016911A (en) Patient platform connection device

Legal Events

Date Code Title Description
AA79 Non-delivery of priority document

Free format text: JAPANESE INTERMEDIATE CODE: A24379

Effective date: 20160614

A621 Written request for application examination

Free format text: JAPANESE INTERMEDIATE CODE: A621

Effective date: 20190204

A977 Report on retrieval

Free format text: JAPANESE INTERMEDIATE CODE: A971007

Effective date: 20191223

A131 Notification of reasons for refusal

Free format text: JAPANESE INTERMEDIATE CODE: A131

Effective date: 20200107

A02 Decision of refusal

Free format text: JAPANESE INTERMEDIATE CODE: A02

Effective date: 20200728