JP2016183487A - 目地装置 - Google Patents
目地装置 Download PDFInfo
- Publication number
- JP2016183487A JP2016183487A JP2015063899A JP2015063899A JP2016183487A JP 2016183487 A JP2016183487 A JP 2016183487A JP 2015063899 A JP2015063899 A JP 2015063899A JP 2015063899 A JP2015063899 A JP 2015063899A JP 2016183487 A JP2016183487 A JP 2016183487A
- Authority
- JP
- Japan
- Prior art keywords
- joint
- plate
- support
- housing
- entrance
- Prior art date
- Legal status (The legal status is an assumption and is not a legal conclusion. Google has not performed a legal analysis and makes no representation as to the accuracy of the status listed.)
- Granted
Links
- 230000033001 locomotion Effects 0.000 claims description 20
- 230000000903 blocking effect Effects 0.000 abstract 1
- 125000006850 spacer group Chemical group 0.000 description 2
- 238000004519 manufacturing process Methods 0.000 description 1
- 239000000463 material Substances 0.000 description 1
- 239000002243 precursor Substances 0.000 description 1
Images
Landscapes
- Building Environments (AREA)
Abstract
【課題】 本発明は目地プレート等が損傷したり、上方へ突出することなく角部を有する目地部を塞ぐことができる目地装置を提供すること。【解決手段】 角部を有する目地部を介して設けられた、前後左右方向に出入口を有する一方の躯体目地部側に形成された目地プレート支持部と、この目地プレート支持部と対応する部位であって、出入口を有する他方の躯体の出入口側に形成されたスライド支持凹部と、該スライド支持凹部の上面に設けられ、前後左右方向にスライド移動可能な支持プレートと、前記目地プレート支持部に後端部が支持され、先端部が支持プレートに支持された床目地プレートと、前記床目地プレートの上部に位置するように、前記支持プレートに取り付けられたカバープレートと、前記一方の躯体と他方の躯体の出入口付近の壁面間に設けられた壁面用目地装置とで構成され、前記支持プレートは、一方の躯体に左右方向にスライド可能に取り付けられるとともに、他方の躯体に前後方向にスライド可能に取り付けられていることを特徴とする。【選択図】 図1
Description
本発明は角部を有する目地部を介して設けられた左右の建物間の目地部を塞ぐ目地装置に関する。
従来、この種の目地装置は目地部を塞ぐために、角部目地プレートを設置して、地震によって目地部が狭くなるように躯体が揺れ動いた場合には、スライド支持部の傾斜面に乗り上げてその揺れ動きを吸収していた。
また、いずれか一方の躯体に地震による揺れ動き幅の2倍超のスライド支持部を設け、床目地プレートをスライド移動可能に支持するとともに、床目地プレートの上部をカバープレートで覆い、揺れ動きを吸収する装置が用いられていた。
しかし、スライド支持部の傾斜面に乗り上げてその揺れ動きを吸収する目地装置では、角目地プレートや目地プレートの先端が突出してしまい危険であるし、カバープレートで床目地プレートの上部を覆う目地装置では、目地部が角部を有しない場合には地震による躯体の揺れ動きを吸収しつつ、目地部を隙間なく塞ぐことができるが、角部を有する目地部を塞ごうとする場合には、揺れ動きの方向によっては地震時にカバープレートや目地プレートが躯体に衝突するか、目地部が開口して隙間が生じてしまうという欠点があった。
しかし、スライド支持部の傾斜面に乗り上げてその揺れ動きを吸収する目地装置では、角目地プレートや目地プレートの先端が突出してしまい危険であるし、カバープレートで床目地プレートの上部を覆う目地装置では、目地部が角部を有しない場合には地震による躯体の揺れ動きを吸収しつつ、目地部を隙間なく塞ぐことができるが、角部を有する目地部を塞ごうとする場合には、揺れ動きの方向によっては地震時にカバープレートや目地プレートが躯体に衝突するか、目地部が開口して隙間が生じてしまうという欠点があった。
本発明は以上のような従来の欠点に鑑み、目地プレート等が損傷したり、上方へ突出することなく角部を有する目地部を塞ぐことができる目地装置を提供することを目的としている。
本発明の前記ならびにそのほかの目的と新規な特徴は次の説明を添付図面と照らし合わせて読むと、より完全に明らかになるであろう。
ただし、図面はもっぱら解説のためのものであって、本発明の技術的範囲を限定するものではない。
ただし、図面はもっぱら解説のためのものであって、本発明の技術的範囲を限定するものではない。
上記目的を達成するために、本発明は角部を有する目地部を介して設けられた、前後左右方向に出入口を有する一方の躯体目地部側に形成された目地プレート支持部と、この目地プレート支持部と対応する部位であって、出入口を有する他方の躯体の出入口側に形成されたスライド支持凹部と、該スライド支持凹部の上面に設けられ、前後左右方向にスライド移動可能な支持プレートと、前記目地プレート支持部に後端部が支持され、先端部が支持プレートに支持された床目地プレートと、前記床目地プレートの上部に位置するように、前記支持プレートに取り付けられたカバープレートと、前記一方の躯体と他方の躯体の出入口付近の壁面間に設けられた壁面用目地装置とで構成され、前記支持プレートは、一方の躯体に左右方向にスライド可能に取り付けられるとともに、他方の躯体に前後方向にスライド可能に取り付けられていることを特徴とする。
以上の説明から明らかなように、本発明にあっては次に列挙する効果が得られる。
(1)請求項1の発明においては、スライド支持凹部にスライド移動可能な支持プレートを設け、該支持プレートの上部にカバープレートを取り付けているので、地震によって躯体が前後左右方向に揺れ動いても、支持プレートが追従して揺れ動きを吸収でき、カバープレート等が躯体に衝突することを防止できる。
(2)床目地プレートは前記支持プレートにスライド移動可能に支持され、上部にカバープレートが設けられているので、地震によって躯体が前後左右方向に揺れ動いても、上方へ突出することなく角部を有する目地部を塞ぐことができる。
(3)壁面用目地装置により目地部が床目地プレート又はカバープレートで塞がれていない部位への人等の侵入を防止できる。
(4)請求項2の発明においても前記(1)〜(3)と同様な効果が得られるとともに、地震により外壁等と壁面用目地装置の間に隙間が生じてしまった場合でも、カバー部材によってその隙間を塞ぐことができる。
したがって、より確実に目地部が床目地プレート又はカバープレートで塞がれていない部位への人等の侵入を防止できる。
(5)請求項3の発明においても前記(1)〜(4)と同様な効果が得られるとともに、支持プレートのスライド移動をスムーズにすることができる。
(1)請求項1の発明においては、スライド支持凹部にスライド移動可能な支持プレートを設け、該支持プレートの上部にカバープレートを取り付けているので、地震によって躯体が前後左右方向に揺れ動いても、支持プレートが追従して揺れ動きを吸収でき、カバープレート等が躯体に衝突することを防止できる。
(2)床目地プレートは前記支持プレートにスライド移動可能に支持され、上部にカバープレートが設けられているので、地震によって躯体が前後左右方向に揺れ動いても、上方へ突出することなく角部を有する目地部を塞ぐことができる。
(3)壁面用目地装置により目地部が床目地プレート又はカバープレートで塞がれていない部位への人等の侵入を防止できる。
(4)請求項2の発明においても前記(1)〜(3)と同様な効果が得られるとともに、地震により外壁等と壁面用目地装置の間に隙間が生じてしまった場合でも、カバー部材によってその隙間を塞ぐことができる。
したがって、より確実に目地部が床目地プレート又はカバープレートで塞がれていない部位への人等の侵入を防止できる。
(5)請求項3の発明においても前記(1)〜(4)と同様な効果が得られるとともに、支持プレートのスライド移動をスムーズにすることができる。
以下、図面に示す本発明を実施するための形態により、本発明を詳細に説明する。
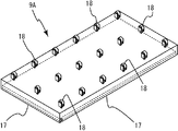
図1ないし図15に示す本発明を実施するための第1の形態において、1は目地部2を介して設けられた一方の躯体3と他方の躯体4間の目地部2を塞ぐ目地装置で、この目地装置1は、角部を有する目地部2、本実施の形態においては、クランク状の目地部2を介して設けられた出入口5を有する一方の躯体3の出入口側に形成された目地プレート支持部6と、この目地プレート支持部6と対応する部位であって、出入口7を有する他方の躯体4の出入口側に形成されたスライド支持凹部8と、該スライド支持凹部8の上面に設けられ、前後左右方向にスライド移動可能な支持プレート9と、前記目地プレート支持部6に支持され、先端部が支持プレート9に支持された床目地プレート10と、前記床目地プレート10の上部に位置するように、前記支持プレート9に取り付けられたカバープレート11と、前記一方の躯体3と他方の躯体4の出入口付近の壁面間に設けられた壁面用目地装置12とで構成されており、前記支持プレート9は、一辺が一方の躯体3に左右方向にスライド可能に取り付けられ、他の一辺が他方の躯体4に前後方向にスライド可能に取り付けられているものである。なお、左右方向とは図1(平面視)における左右方向であり、前後方向とは図1における上下方向をいう。
図1ないし図15に示す本発明を実施するための第1の形態において、1は目地部2を介して設けられた一方の躯体3と他方の躯体4間の目地部2を塞ぐ目地装置で、この目地装置1は、角部を有する目地部2、本実施の形態においては、クランク状の目地部2を介して設けられた出入口5を有する一方の躯体3の出入口側に形成された目地プレート支持部6と、この目地プレート支持部6と対応する部位であって、出入口7を有する他方の躯体4の出入口側に形成されたスライド支持凹部8と、該スライド支持凹部8の上面に設けられ、前後左右方向にスライド移動可能な支持プレート9と、前記目地プレート支持部6に支持され、先端部が支持プレート9に支持された床目地プレート10と、前記床目地プレート10の上部に位置するように、前記支持プレート9に取り付けられたカバープレート11と、前記一方の躯体3と他方の躯体4の出入口付近の壁面間に設けられた壁面用目地装置12とで構成されており、前記支持プレート9は、一辺が一方の躯体3に左右方向にスライド可能に取り付けられ、他の一辺が他方の躯体4に前後方向にスライド可能に取り付けられているものである。なお、左右方向とは図1(平面視)における左右方向であり、前後方向とは図1における上下方向をいう。
また、本発明において躯体とは、建物、道路、スラブ、エレベーターシャフト等の目地プレートを設置可能な建造物をいい、出入口とはドアや扉の設けられた出入口だけではなく、人や車両等が通行できる通路も含むものである。
前記一方の躯体3は、略L字状の建物であって、前記出入口5は左右方向の出入口5aと、前後方向の出入口5bの2ヶ所に形成されている。また、左右方向の出入口5a側の端部には凹部状の目地プレート支持部6が形成されており、前後方向の出入口5b側には支持プレート9をスライド移動可能に取り付けるためのガイドレール13が左右方向に固定されている。
なお、本実施の形態において、出入口5は複数設けられているが、前後方向の出入口と左右方向の出入口が一体となっている、平面視L字状の出入口としてもよい。
前記他方の躯体4は、略逆L字状の建物であって左右方向に出入口7が形成されており、この出入口7の両側には袖壁14が形成されている。該出入口7側には方形状のスライド支持凹部8形成が形成されており、該スライド支持凹部8の出入口7側には支持プレート9をスライド移動可能に取り付けるためのガイド溝15が前後方向に形成されている。
また、前記スライド支持凹部8の上面にはスライド移動をスムーズにするためのスライド部材16としてベアリングが設けられている。
なお、スライド部材としては、ベアリングの他にベアリングやローラー、支承コロ、すべり材等が考えられる。
なお、スライド部材としては、ベアリングの他にベアリングやローラー、支承コロ、すべり材等が考えられる。
前記支持プレート9は、前記ガイドレール13およびガイド溝15にスライド移動可能に係合可能な係合片17が設けられている方形状のプレートであり、底面がスライド支持凹部8のスライド部材(ベアリング)16に支持される。
前記床目地プレート10は、平面視方形状のプレートで、一端が前記目地プレート支持部6に固定され、他端が全方向ローラー等のスライド部材18を介して支持プレート9に支持されている。
前記カバープレート11は、前記平面視方形状のプレートで、前記支持プレート9にスペーサー19を介して一端が固定され、他端は前記床目地プレート10の上面に支持されている。
前記壁面用目地装置12は、一般的に使用されている公知の壁面用目地装置を用いており、図1等に示すように左右方向と前後方向にそれぞれ設けられている。左右方向の壁面用目地装置12aは、一端が一方の躯体3の出入口5a付近の外壁3aに固定され、他端が他方の躯体4の出入口7付近の袖壁14部分のガイドレール13に支柱20を介して前後方向にスライド移動可能に取り付けられている。なお、該支柱20は支持プレート9に固定され、支持プレート9の動きに追従して動くものである。また、支柱20には袖壁14に収納されたカバー部材21としての側壁が係合されている。
前後方向の壁面用目地装置12bは、一端が一方の躯体3の出入口5b付近の外壁3b部分に設けられ、他端が他方の躯体4の外壁4aに対してスライド移動可能に設けられている。該スライド移動可能な他端には、前記ガイド溝15上を左右方向にスライド可能なローラー22を底面に備えたカバー部材23が設けられている。なお、本実施の形態においては、壁面用目地装置12bとカバー部材23は一体的に形成されおり、壁面用目地装置12bは前記カバープレート11の上面に固定されている。
前記壁面用目地装置12aに支柱20を介して設けられたカバー部材21は、前記壁面用目地装置12aが取り付けられている部位の袖壁14内に収納されており、出入口7側に設けられた係合片24により前記支柱20に係合されている。また、カバー部材21は収納される方向にコイルスプリング25により付勢されている。
なお、本実施の形態においては、カバー部材21、23として側壁等を設けているが、カバー部材としてはこの他に、蛇腹状のシート、伸縮性のあるシート、公知の伸縮壁等を用いてもよい。
地震で躯体3、4が左右方向に揺れ動き目地部2が狭くなると、図8および図9に示すように、支持プレート9が一方の躯体3のガイドレール13に沿って左右方向にスライド移動するとともに、床目地プレート10が支持プレート9上をスライド移動し、揺れ動きを吸収する。このとき前後方向の壁面用目地装置12bに設けられたカバー部材23は、出入口5b側に引き出され、外壁3bと左右方向の壁面用目地装置12bの間に隙間が生じることを防止する。
地震で躯体3、4が左右方向に揺れ動き目地部2が広くなると、図10および図11に示すように、支持プレート9が一方の躯体3のガイドレール13に沿って左右方向にスライド移動するとともに、床目地プレート10が支持プレート9上をスライド移動し、揺れ動きを吸収する。このとき前後方向の壁面用目地装置12bに設けられたカバー部材23は、ガイド溝15上をスライド移動する。また、前記カバー部材21は、係止片24で係合されている支柱20がスライド移動する事により、袖壁14から出入口7側へ引き出され、壁面用目地装置12aと袖壁14間に生じる隙間を塞ぐ。なお、地震による揺れ動きが収まり、躯体3、4が通常状態に復帰するとコイルスプリング25の付勢力により袖壁14内に収納される。
地震で躯体3、4が異なる前後方向に揺れ動き目地部2が狭くなると、図12および図13に示すように、支持プレート9が他方の躯体4のガイド溝15に沿って上下方向にスライド移動し、揺れ動きを吸収する。また、カバープレート11は支持プレート9に固定されているため、一方の躯体3に衝突することなく揺れ動きを吸収できる。なお、前記カバー部材21は係止片24で支柱20と係合されているだけなので、壁面用目地装置12bのスライド移動を妨害せず、カバー部材21は動くことなく袖壁14の内部に留まる。
地震で躯体3、4が異なる前後方向に揺れ動き目地部2が広くなると、図14および図15に示すように、支持プレート9が他方の躯体4のガイド溝15に沿って上下方向にスライド移動し、揺れ動きを吸収する。また、カバープレート11は支持プレート9に固定されているため、面視上下方向の出入口5b側の目地部2に隙間が生じることなく異なる前後方向に揺れ動きを吸収することができる。このとき左右方向の壁面用目地装置12aに設けられたカバー部材21は、出入口7側に引き出され、袖壁14と左右方向の壁面用目地装置12aの間に隙間が生じることを防止する。
[発明を実施するための異なる形態]
次に、図16ないし図18に示す本発明を実施するための異なる形態につき説明する。なお、これらの本発明を実施するための異なる形態の説明に当って、前記本発明を実施するための第1の形態と同一構成部分には同一符号を付して重複する説明を省略する。
図16ないし図18に示す本発明を実施するための第2の形態において、前記本発明を実施するための第1の形態と主に異なる点は、スライド部材18を備えない床目地プレート10Aおよび上面にスライド部材18を備えた支持プレート9Aを用い、前記スライド部材18で床目地プレートを支持した点で、このような構成の目地装置1Aにしても前記本発明を実施するための第1の形態と同様な作用効果が得られる。
次に、図16ないし図18に示す本発明を実施するための異なる形態につき説明する。なお、これらの本発明を実施するための異なる形態の説明に当って、前記本発明を実施するための第1の形態と同一構成部分には同一符号を付して重複する説明を省略する。
図16ないし図18に示す本発明を実施するための第2の形態において、前記本発明を実施するための第1の形態と主に異なる点は、スライド部材18を備えない床目地プレート10Aおよび上面にスライド部材18を備えた支持プレート9Aを用い、前記スライド部材18で床目地プレートを支持した点で、このような構成の目地装置1Aにしても前記本発明を実施するための第1の形態と同様な作用効果が得られる。
なお、本発明の実施の形態において、壁面用目地装置の端部がスライド移動するものについて説明したが、壁面用目地装置の両端を回動可能に設けたものでもよい。
また、本発明の実施の形態において、スライド支持凹部に支持プレートのスライドをスムーズにするスライド部材を設けたが、支持プレート底面にスライド部材を設けてもよい。
また、本発明の実施の形態において、スライド支持凹部に支持プレートのスライドをスムーズにするスライド部材を設けたが、支持プレート底面にスライド部材を設けてもよい。
さらに、本発明の実施の形態において、一方の躯体の出入口は平面視略L字状に形成されているが、左右方向の出入口と上下方向の出入口のように複数の出入口を有する躯体であってもよい。
本発明は目地装置を製造する産業で利用される。
1、1A:目地装置、 2:目地部、
3:一方の躯体、 4:他方の躯体、
5:出入口、 6:目地プレート支持部、
7:出入口、 8:スライド支持凹部、
9、9A:支持プレート、 10、10A:床目地プレート、
11:カバープレート、 12:壁面用目地装置、
13:ガイドレール、 14:袖壁、
15:ガイド溝、 16:スライド部材、
17:係合片、 18:スライド部材、
19:スペーサー、 20:支柱、
21:カバー部材、 22:ローラー、
23:カバー部材、 24:係止片、
25:コイルスプリング。
3:一方の躯体、 4:他方の躯体、
5:出入口、 6:目地プレート支持部、
7:出入口、 8:スライド支持凹部、
9、9A:支持プレート、 10、10A:床目地プレート、
11:カバープレート、 12:壁面用目地装置、
13:ガイドレール、 14:袖壁、
15:ガイド溝、 16:スライド部材、
17:係合片、 18:スライド部材、
19:スペーサー、 20:支柱、
21:カバー部材、 22:ローラー、
23:カバー部材、 24:係止片、
25:コイルスプリング。
Claims (3)
- 角部を有する目地部を介して設けられた、前後左右方向に出入口を有する一方の躯体目地部側に形成された目地プレート支持部と、この目地プレート支持部と対応する部位であって、出入口を有する他方の躯体の出入口側に形成されたスライド支持凹部と、該スライド支持凹部の上面に設けられ、前後左右方向にスライド移動可能な支持プレートと、前記目地プレート支持部に後端部が支持され、先端部が支持プレートに支持された床目地プレートと、前記床目地プレートの上部に位置するように、前記支持プレートに取り付けられたカバープレートと、前記一方の躯体と他方の躯体の出入口付近の壁面間に設けられた壁面用目地装置とで構成され、前記支持プレートは、一方の躯体に左右方向にスライド可能に取り付けられるとともに、他方の躯体に前後方向にスライド可能に取り付けられていることを特徴とする目地装置。
- 前記壁用目地装置は、少なくとも一端が躯体の壁面に対してスライド移動可能に取り付けられるとともに、壁用目地装置が地震による躯体の揺れ動きによりスライド移動した際に、壁面用目地装置と壁面の間に生じる隙間を塞ぐカバー部材が設けられていることを特徴とする請求項1記載の目地装置
- 前記スライド支持凹部の上面には、スライド部材が設けられていることを特徴とする請求項1又は請求項2のいずれか1つに記載の目地装置。
Priority Applications (1)
| Application Number | Priority Date | Filing Date | Title |
|---|---|---|---|
| JP2015063899A JP6033352B2 (ja) | 2015-03-26 | 2015-03-26 | 目地装置 |
Applications Claiming Priority (1)
| Application Number | Priority Date | Filing Date | Title |
|---|---|---|---|
| JP2015063899A JP6033352B2 (ja) | 2015-03-26 | 2015-03-26 | 目地装置 |
Publications (2)
| Publication Number | Publication Date |
|---|---|
| JP2016183487A true JP2016183487A (ja) | 2016-10-20 |
| JP6033352B2 JP6033352B2 (ja) | 2016-11-30 |
Family
ID=57241548
Family Applications (1)
| Application Number | Title | Priority Date | Filing Date |
|---|---|---|---|
| JP2015063899A Expired - Fee Related JP6033352B2 (ja) | 2015-03-26 | 2015-03-26 | 目地装置 |
Country Status (1)
| Country | Link |
|---|---|
| JP (1) | JP6033352B2 (ja) |
Cited By (3)
| Publication number | Priority date | Publication date | Assignee | Title |
|---|---|---|---|---|
| JP2021167498A (ja) * | 2020-04-09 | 2021-10-21 | ドーエイ外装有限会社 | 階段用目地装置 |
| JP7305222B1 (ja) | 2022-04-06 | 2023-07-10 | ドーエイ外装有限会社 | 床用目地装置 |
| JP7305220B1 (ja) | 2022-03-31 | 2023-07-10 | ドーエイ外装有限会社 | 床用目地装置 |
Families Citing this family (5)
| Publication number | Priority date | Publication date | Assignee | Title |
|---|---|---|---|---|
| JPH07119605B2 (ja) | 1989-12-26 | 1995-12-20 | 三菱電機株式会社 | 距離測定装置 |
| JPH07119606B2 (ja) | 1990-03-20 | 1995-12-20 | 三菱電機株式会社 | 追尾式車間距離検出装置 |
| JPH0812072B2 (ja) | 1990-06-13 | 1996-02-07 | 三菱電機株式会社 | 距離測定装置 |
| JP2635232B2 (ja) | 1991-04-09 | 1997-07-30 | 三菱電機株式会社 | 車間距離検出装置 |
| JP2635246B2 (ja) | 1991-08-28 | 1997-07-30 | 三菱電機株式会社 | 先行車追尾用車間距離検出装置 |
Citations (2)
| Publication number | Priority date | Publication date | Assignee | Title |
|---|---|---|---|---|
| JP3583698B2 (ja) * | 2000-08-29 | 2004-11-04 | ドーエイ外装有限会社 | 渡り通路 |
| JP4099478B2 (ja) * | 2004-12-07 | 2008-06-11 | ドーエイ外装有限会社 | 床用目地装置 |
-
2015
- 2015-03-26 JP JP2015063899A patent/JP6033352B2/ja not_active Expired - Fee Related
Patent Citations (2)
| Publication number | Priority date | Publication date | Assignee | Title |
|---|---|---|---|---|
| JP3583698B2 (ja) * | 2000-08-29 | 2004-11-04 | ドーエイ外装有限会社 | 渡り通路 |
| JP4099478B2 (ja) * | 2004-12-07 | 2008-06-11 | ドーエイ外装有限会社 | 床用目地装置 |
Cited By (5)
| Publication number | Priority date | Publication date | Assignee | Title |
|---|---|---|---|---|
| JP2021167498A (ja) * | 2020-04-09 | 2021-10-21 | ドーエイ外装有限会社 | 階段用目地装置 |
| JP7305220B1 (ja) | 2022-03-31 | 2023-07-10 | ドーエイ外装有限会社 | 床用目地装置 |
| JP2023149723A (ja) * | 2022-03-31 | 2023-10-13 | ドーエイ外装有限会社 | 床用目地装置 |
| JP7305222B1 (ja) | 2022-04-06 | 2023-07-10 | ドーエイ外装有限会社 | 床用目地装置 |
| JP2023154120A (ja) * | 2022-04-06 | 2023-10-19 | ドーエイ外装有限会社 | 床用目地装置 |
Also Published As
| Publication number | Publication date |
|---|---|
| JP6033352B2 (ja) | 2016-11-30 |
Similar Documents
| Publication | Publication Date | Title |
|---|---|---|
| JP6033352B2 (ja) | 目地装置 | |
| JP5943862B2 (ja) | 床用目地装置 | |
| JP6900862B2 (ja) | 移動ロボット | |
| JP2009293340A (ja) | 床用目地装置 | |
| JP5862971B2 (ja) | 床用目地装置 | |
| JP6005814B1 (ja) | 床用目地装置 | |
| JP2015021361A (ja) | 床用目地装置 | |
| JP5959013B2 (ja) | 床用目地装置 | |
| JP6765141B1 (ja) | 目地カバー装置 | |
| JP6534476B1 (ja) | カバープレート支持装置及び床用目地装置 | |
| JP6309075B1 (ja) | 床用目地装置 | |
| JP6122767B2 (ja) | 目地装置 | |
| JP6431758B2 (ja) | 壁面用目地装置 | |
| JP6174970B2 (ja) | パーティション | |
| JP5364752B2 (ja) | 目地装置 | |
| JP2018100483A (ja) | 手摺 | |
| JP2012219597A (ja) | 目地装置 | |
| JP6293202B2 (ja) | 目地装置 | |
| JP4036821B2 (ja) | エレベーターシャフト等の目地装置 | |
| JP6192412B2 (ja) | エレベータの出入口装置 | |
| JP5078924B2 (ja) | 床用目地装置 | |
| JP5943877B2 (ja) | 目地装置 | |
| JP2007089785A (ja) | 引出し構造 | |
| JP2019023385A (ja) | 天井用目地装置 | |
| JP6043169B2 (ja) | 開口部装置 |
Legal Events
| Date | Code | Title | Description |
|---|---|---|---|
| TRDD | Decision of grant or rejection written | ||
| A01 | Written decision to grant a patent or to grant a registration (utility model) |
Free format text: JAPANESE INTERMEDIATE CODE: A01 Effective date: 20161018 |
|
| A61 | First payment of annual fees (during grant procedure) |
Free format text: JAPANESE INTERMEDIATE CODE: A61 Effective date: 20161025 |
|
| R150 | Certificate of patent or registration of utility model |
Ref document number: 6033352 Country of ref document: JP Free format text: JAPANESE INTERMEDIATE CODE: R150 |
|
| R250 | Receipt of annual fees |
Free format text: JAPANESE INTERMEDIATE CODE: R250 |
|
| LAPS | Cancellation because of no payment of annual fees |