JP2016170175A - 段ボール構造物の圧縮強度評価方法、段ボール箱の圧縮強度評価方法、段ボール構造物の製造方法、プログラム及び記録媒体 - Google Patents
段ボール構造物の圧縮強度評価方法、段ボール箱の圧縮強度評価方法、段ボール構造物の製造方法、プログラム及び記録媒体 Download PDFInfo
- Publication number
- JP2016170175A JP2016170175A JP2016122671A JP2016122671A JP2016170175A JP 2016170175 A JP2016170175 A JP 2016170175A JP 2016122671 A JP2016122671 A JP 2016122671A JP 2016122671 A JP2016122671 A JP 2016122671A JP 2016170175 A JP2016170175 A JP 2016170175A
- Authority
- JP
- Japan
- Prior art keywords
- compressive strength
- panel element
- corrugated
- corrugated board
- cardboard box
- Prior art date
- Legal status (The legal status is an assumption and is not a legal conclusion. Google has not performed a legal analysis and makes no representation as to the accuracy of the status listed.)
- Granted
Links
Images
Landscapes
- Investigating Strength Of Materials By Application Of Mechanical Stress (AREA)
Abstract
【解決手段】縮強度評価方法は、各々が板状形状を有した複数のパネル要素Peを含む段ボール構造物Sの圧縮強度を評価する評価方法である。評価方法は、段ボール構造物に含まれる複数のパネル要素について、それぞれ、圧縮強度を特定する工程と、複数のパネル要素について特定された圧縮強度を合算する工程と、を備える。
【選択図】図1
Description
P=β×Rx×Z1/3 ・・・(K)
P:箱の圧縮強度〔N〕
β:フルートによる定数
Rx:段ボール紙の総合リングクラッシュ強さ〔N〕
Z:段ボール箱の周囲長〔cm〕
Rx=R1+R2×Cr+R3 ・・・(Rx)
式Rxにおいて、R1は一方のライナーのリングクラッシュ値であり、R3は他方のライナーのリングクラッシュ値である。また、R2は、中芯のリングクラッシュ値であり、Crは、中芯の段繰り率である。各部材のリングクラッシュ値は、JIS P 8126に準拠して測定される値であり、一般的に使用されている材料のリングクラッシュ値が、JIS P 3902やJIS P 3904において規定されている。また、段繰り率は、ライナーの長さに対する中芯の長さの比であり、中芯の形式に依存して決定される数値である。例えば、Aフルートの段繰り率は1.6となり、Bフルートの段繰り率は1.4となり、Cフルートの段繰り率は1.5となる。
各々が板状形状を有した複数のパネル要素を含む段ボール構造物の圧縮強度を評価する評価方法であって、
前記段ボール構造物に含まれる複数のパネル要素について、それぞれ、圧縮強度を特定する工程と、
前記複数のパネル要素について特定された前記圧縮強度を合算する工程と、を備える。
幅方向における両端がそれぞれその全長に亘って他のパネル要素と接続した両端固定パネル要素の圧縮強度は、当該両端固定パネル要素の幅と同一の幅の側面を四つ含んだ直方体輪郭又は立方体輪郭の段ボール箱の圧縮強度に基づいて、特定し、
前記幅方向における一方の端がその全長に亘って他のパネル要素と接続し且つ前記幅方向における他方の端が自由端となっている片端固定パネル要素の圧縮強度は、当該片端固定パネル要素の幅の二倍の幅の側面を四つ含んだ直方体輪郭又は立方体輪郭の段ボール箱の圧縮強度に基づいて、特定するようにしてもよい。
上端が他のパネル要素と接続した前記両端固定パネル要素の圧縮強度は、当該両端固定パネル要素の幅と同一の幅の側面を四つ含んだ直方体輪郭又は立方体輪郭の段ボール箱の圧縮強度の1/4の圧縮強度として、特定し、
上端が他のパネル要素と接続した前記片端固定パネル要素の圧縮強度は、当該片端固定パネル要素の幅の二倍の幅の側面を四つ含んだ直方体輪郭又は立方体輪郭の段ボール箱の圧縮強度の1/8の圧縮強度として、特定するようにしてもよい。
前記幅方向における両端がそれぞれ他のパネル要素と接続して組仕切りの接続部を形成する両端組仕切りパネル要素の圧縮強度は、当該両端組仕切りパネル要素と同一の幅の前記両端固定パネル要素の圧縮強度の0.55倍以上0.75倍以下の値として、特定し、
前記幅方向における一方の端が他のパネル要素と接続して組仕切りの接続部を形成し且つ他方の端が自由端となっている片端組仕切りパネル要素の圧縮強度は、当該片端組仕切りパネル要素と同一の幅の前記片端固定パネル要素の圧縮強度の0.55倍以上0.75倍以下の値として、特定するようにしてもよい。
Pbox=Y1(Y2Z−Y3 Z+Y4)
段ボール箱の圧縮強度を評価する方法であって、
前記段ボール箱の周囲長を変数とした指数項および比例項を含む式によって、前記段ボール箱の圧縮強度が特定される。
Pbox=Y1(Y2Z−Y3 Z+Y4)
まず、段ボール構造物Sについて説明する。例えば図2A、図3A及び図4Aに示すように、段ボール構造物Sとは、段ボール紙CBを用いて作製された構造物である。段ボール構造物Sは、一般的に、物品の収納や区画を行うことを目的として利用に供されている。段ボール構造物Sの典型的例として、図2A及び図3Aに示された段ボール箱BXや、図4に示された仕切りCPを、例示することができる。
本実施の形態では、各々が板状形状を有した複数のパネル要素Peを含む段ボール構造物Sの圧縮強度を評価する評価方法として、段ボール構造物Sに含まれる複数のパネル要素Peについて、それぞれ、圧縮強度を特定する工程と、複数のパネル要素Peについて特定された圧縮強度を合算する工程と、を含んだ段ボール構造物の圧縮強度評価方法を提案する。
P=β×Rx×Z1/3 ・・・(K)
P:箱の圧縮強度〔N〕
β:フルートによる定数
Rx:段ボール紙の総合リングクラッシュ強さ〔N〕
Z:段ボール箱の周囲長〔cm〕
ケリカット式(K)は、段ボール構造物Sの周囲長Zを変数として、圧縮強度を推定する実験式である。ただし、ケリカット式(K)は、一般的な大きさ及び典型的な形状を有した段ボール箱の実験結果に基づいて導出された実験式である。したがって、偏平輪郭を有する段ボール構造物や、直方体や立方体以外の輪郭を有する段ボール構造物について、ケリカット式を用いて圧縮強度の評価を行うことができない。また、一例として図4Aに示された段ボール構造物Sは、周囲長Zに該当する寸法を持たないため、ケリカット式(K)を用いて、圧縮強度を評価することができなかった。
次に、パネル要素Peの圧縮強度の特定方法について説明する。本実施の形態では、まず、各パネル要素Peの幅(圧縮方向に直交する幅方向に沿った長さ)と同一の幅の側面を四つ含む直方体輪郭又は立方体輪郭を有した仮想の段ボール箱の圧縮強度に基づいて、或いは、当該パネル要素の幅の二倍の幅の側面を四つ含む直方体輪郭又は立方体輪郭を有した仮想の段ボール箱の圧縮強度に基づいて、当該パネル要素Peの圧縮強度を特定することを提案する。すなわち、パネル要素Peの圧縮強度を、当該パネル要素Peに対応した構成を側部として有する直方体輪郭又は立方体輪郭の仮想段ボール箱の圧縮強度に基づき、特定する。この評価方法では、各パネル要素Peの圧縮強度を特定するにあたり、まず、当該パネル要素Peが、どのような形式のパネル要素を判断し、パネル要素の圧縮強度を形式に応じて特定することになる。
典型的には、パネル要素Peは、両端固定パネル要素BFPe及び片端固定パネル要素OFPeのいずれかに区別される。ここで、両端固定パネル要素BFPeとは、圧縮方向に直交する幅方向における両端が、それぞれ、その全長に亘って、構造壁をなす他のパネル要素と接続したパネル要素のことをいう。一方、片端固定パネル要素OFPeとは、幅方向における一方の端が、その全長に亘って、構造壁をなす他のパネル要素と接続し、且つ、幅方向における他方の端が自由端となっているパネル要素のことをいう。なお、他方の端が自由端となっているとは、言い換えると、他方の端が、その全長に亘って構造壁をなす他のパネル要素と接続していないこと、さらに言い換えると、他方の端が、構造壁をなす他のパネル要素と接続していない或いはその全長のうちの一部分だけで構造壁をなす他のパネル要素と接続していること、を意味する。
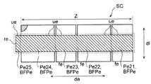
また、図4Aに示された仕切りCPをなす段ボール構造物Sは、所謂組仕切りCPaとなっている。図4Bに示すように、組仕切りCPaは、スリットslを形成された段ボール紙CBを組み合わせることで構成されている。図4Aに示された状態において、段ボール構造物Sは、七つのパネル要素Peを含んでいる。七つのパネル要素Peは、一つの両端組仕切りパネル要素BCPeと、六つの片端組仕切りパネル要素OCPeと、を含んでいる。ここで、両端組仕切りパネル要素BCPeは、幅方向における両端がそれぞれ他のパネル要素Peと接続して組仕切りの接続部jlを形成するパネル要素Peである。また、片端組仕切りパネル要素OCPeは、幅方向における一方の端が他のパネル要素Peと接続して組仕切りの接続部jlを形成し且つ他方の端が自由端となっているパネル要素Peである。すなわち、段ボール構造物Sの含まれるパネル要素Peは、両端固定パネル要素BFPe及び片端固定パネル要素OFPeだけでなく、両端組仕切りパネル要素BCPeや片端組仕切りパネル要素OCPeに区分けされることもある。
さらに、本件発明者が実験およびシミュレーションを繰り返したところ、パネル要素Peの上端ueの状態に応じて、圧縮強度が変化することが確認された。図2Aに示された段ボール箱BXの圧縮強度は、図2Aに示された段ボール箱BXから蓋を形成するフラップfl等の他のパネル要素Peを取り除いた段ボール箱BXの圧縮強度と、異なった。段ボール箱BXの圧縮強度は、フラップfl等の他のパネル要素Peを取り除くことで上昇した。このような現象が生じる理由の詳細は不明であるが、フラップfl等の他のパネル要素Peが設けられている場合、当該他のパネル要素Peに接続したパネル要素Peが、外方に膨らむ向きに撓むよう仕向けられことが起因しているものと推定される。言い換えると、側部をなすパネル要素Peの上端に接続した他のパネル要素に圧縮荷重が負荷された場合、当該側部をなすパネル要素Peの撓む向きが方向付けられ、これにより、当該パネル要素Peへの比較的変形が生じ易くなるものと推定される。ただし、本発明はこの推定に拘束されるものではない。
以上において、段ボール構造物Sの圧縮強度を、段ボール構造物Sを構成するパネル要素Peの圧縮強度の総和として、評価することを説明した。また、各パネル要素Peの圧縮強度は、段ボール箱BXの圧縮強度に基づいて、特定され得ることも説明した。次に、段ボール箱BXの圧縮強度の評価方法について説明する。
次に、ケリカット式(K)を利用してパネル要素の圧縮強度を特定する方法について具体的に説明する。従来、段ボール箱の圧壊や座屈に対する強度を推定する手法として、ケリカット式(K)を用いた推定が普及している。
P=β×Rx×Z1/3 ・・・(K)
P:箱の圧縮強度〔N〕
β:フルートによる定数
Rx:段ボール紙の総合リングクラッシュ強さ〔N〕
Z:段ボール箱の周囲長〔cm〕
PBF=(1/4)×t×β×Rx×(4×L)1/3 ・・・(KPBF)
POF=(1/8)×t×β×Rx×(8×L)1/3 ・・・(KPOF)
PBC=(1/4)×k×t×β×Rx×(4×L)1/3・・・(KPBC)
POC=(1/8)×k×t×β×Rx×(8×L)1/3・・・(KPOC)
PBR=s×β×Rx×L ・・・(KPBR)
なお、評価式(KPBR)中における「β」及び「Rx」は、それぞれ、評価式(KPBF)、評価式(KPOF)、評価式(KPBC)及び評価式(KPOC)における「β」及び「Rx」と同一である。また、評価式(KPBR)中における「s」は、0.005以上0.02以下の値とし、例えば1.1とすることができる。
以上に説明してきたように、段ボール構造物Sの圧縮強度は、段ボール構造物Sを構成するパネル要素Peの圧縮強度の総和として求められる。ここで、いくつかの段ボール構造物Sを例示して、各段ボール構造物Sの圧縮強度の評価方法について説明する。
次に、段ボール箱BXと段ボール箱BX内に配置される仕切りCPとからなる段ボール構造物Sを実際に作製し、作製した段ボール構造物Sの圧縮強度を圧縮試験により測定した。作製した段ボール構造物Sは、図9及び図10に示すサンプル1〜10とした。サンプル1〜10の間で、段ボール箱BXの形状は互いに同一とした。サンプル1〜10の段ボール箱BXは、次のように構成した。なお、本明細書での材質の表記は、JIS法に従っている。
・形式: 0201型 (A式)
・材質: LB220×MC125×LB220、Aフルート
・リングクラッシュ値: LB220 ・・・ 331〔N〕
MC125 ・・・ 119〔N〕
・内寸法: 400×250×250〔mm〕
(材料A)
材質: LB220×MC125×LB220、Aフルート
リングクラッシュ値: LB220 ・・・ 331〔N〕
MCP125 ・・・ 119〔N〕
(材料B)
材質: LC170×MC120×LC170、Aフルート
リングクラッシュ値: LC170 ・・・ 197〔N〕
MC120 ・・・ 115〔N〕
繰り返しになるが、従来、段ボール箱の圧壊や座屈に対する強度、すなわち、段ボール箱の圧縮強度を推定する手法として、ケリカット式(K)を用いた推定が普及している。
P=β×Rx×Z1/3 ・・・(K)
P:箱の圧縮強度〔N〕
β:フルートによる定数
Rx:段ボール紙の総合リングクラッシュ強さ〔N〕
Z:段ボール箱の周囲長〔cm〕
ΔP=(1/3)×β×Rx×Z(−2/3) ・・・(1)
したがって、ケリカット式(K)では、Z→0における圧壊強度が無限大になると予定し、Z→無限大における座屈強度が0になると予定していることになる。しかしながら実際には、圧壊強度は有限の値であり、したがって、ΔPは縦軸の切片を有すべきである。この点を理由として、周囲長Zが短い場合に、ケリカット式(K)を用いた圧縮強度の推定が、精度低下を来してしまっていたと考えられる。また、座屈強度は、0より大きい値を有し、したがって、ΔPは、Z→無限大において、0ではなく正の値に収束すべきである。周囲長Zが長い場合に、ケリカット式(K)を用いた圧縮強度の推定が、精度低下してしまうのは、Z→無限大におけるΔPの値が実際からずれているためと考えられる。
ΔP=X1×X2 Z+X3 ・・・(2)
この式(2)におけるX1、X2、X3は係数である。X2は、ΔPが右下がりの曲線となるよう、0<X2<1を満たすように決定される。X3は、Z→無限大となったときにおける耐荷重、すなわち座屈強度に相当する。したがって、X3は、座屈強度となるよう、決定される。また、Z→0となったときにおける耐荷重、すなわち圧壊強度は、X1+X3となる。したがって、X1は、X1+X3が圧壊強度に相当するよう、決定される。図14に、式(2)を表すグラフを示す。
Pbox=Y1(Y2Z−Y3 Z+Y4) ・・・(3)
式(3)におけるY1、Y2、Y3、Y4は係数である。式(3)で表される評価式(T)は、変数としての周囲長Zの指数項、比例項、定数項を有している。
Pbox=β×Rx×(0.01×Z−3.776×0.97Z+3.776)
・・・(T)
P:段ボール箱の圧縮強度〔N〕
β:フルートによる定数
Rx:段ボール紙の総合リングクラッシュ強さ〔N〕
Z:段ボール箱の周囲長〔cm〕
次に第1改良式(T)を用いて、段ボール構造物Sを構成するパネル要素Peの圧縮強度を特定する方法について説明する。
PBF=(1/4)×t×β×Rx
×(0.04×L−3.776×0.97(4×L)+3.776)
・・・(TPBF)
POF=(1/8)×t×β×Rx
×(0.08×L−3.776×0.97(8×L)+3.776)
・・・(TPOF)
PBC=(1/4)×k×t×β×Rx
×(0.04×L−3.776×0.97(4×L)+3.776)
・・・(TPBC)
POC=(1/8)×k×t×β×Rx
×(0.08×L−3.776×0.97(8×L)+3.776)
・・・(TPOC)
PBR=s×β×Rx×L ・・・(KPBR)
図5Aに示された段ボール構造物Sをついて、実際に圧縮試験を行って圧縮強度を測定した。また、圧縮試験を行った段ボール構造物Sについて、当該段ボール構造物Sの構造壁をなすパネル要素Peの圧縮強度を積算することで、段ボール構造物Sの圧縮強度の評価を行った。
ケリカット式(K)は、段ボール箱BXの形状に関する変数として周囲長Zのみを考慮している。しかしながら、既に説明したように、評価式は、本来的には、圧壊強度や座屈強度を反映したものであるべきである。そして、パネル要素Pe等の構成要素の座屈強度は、その高さ(圧縮方向に沿った長さであり、深さとも呼ばれる寸法)に依存して変化する。実際に、段ボール箱BXについて言えば、高さが30cm未満になると、圧縮強度が、10%〜20%程度増加することが知られている。このような観点から、上述の第1改良式をさらに改良して、高さの概念を含んだ第2改良式を提案する。
ΔP=X1×X2 Z+X3 ・・・(2)
(式(2)の定数項)=X3+X4×X5 H ・・・(4)
(式(2)の比例項)=X1−X4×X5 H ・・・(5)
ΔP=(X1−X4×X5 H)×X2 Z+X3+X4×X5 H ・・・(6)
Pbox=Y1(Y2Z−Y3 Z+Y4) ・・・(3)
Pbox= ((X1−X4×X5 H)/lnX5×X2 Z)
+((X3+X4×X5 H)×Z)
−((X1−X4×X5 H)/lnX5)
・・・(7)
つまり、段ボール箱BXの圧縮強度Pboxの評価式(7)は、周囲長Zを変数とする指数項、比例項、及び、定数項を含み、指数項、比例項及び定数項の係数は、段ボール箱BXの高さH〔cm〕に基づいて決定される。
Pbox= β×Rx
×(((−3.78+1.64×0.85H)×0.97Z)
+((0.01+0.05×0.85H)×Z)
−(−3.78+1.64×0.85H))
・・・(S)
P:段ボール箱の圧縮強度〔N〕
β:フルートによる定数
Rx:段ボール紙の総合リングクラッシュ強さ〔N〕
Z:段ボール箱の周囲長〔cm〕
次に第2改良式(S)を用いて、段ボール構造物Sを構成するパネル要素Peの圧縮強度を特定する方法について説明する。以上に説明したように、段ボール箱BXの圧縮強度は、圧縮方向に沿った当該段ボール箱BXの高さに依存して変化する。したがって、各パネル要素Peの圧縮強度は、当該パネル要素Peの幅と同一の幅の側面を四つ含み且つ当該パネル要素Peと同一高さの直方体輪郭又は立方体輪郭の段ボール箱の圧縮強度に基づいて、或いは、当該パネル要素の幅の二倍の幅の側面を四つ含み且つ当該パネル要素Peと同一高さの直方体輪郭又は立方体輪郭の段ボール箱の圧縮強度に基づいて、特定することが、パネル要素Peの圧縮強度を高精度に評価する点において、有効である。
PBF=(1/4)×t×β×Rx
×(((−3.78+1.64×0.85H)×0.97(4×L))
+((0.04+0.20×0.85H)×L)
−(−3.78+1.64×0.85H))
・・・(SPBF)
POF=(1/8)×t×β×Rx
×(((−3.78+1.64×0.85H)×0.97(8×L))
+((0.08+0.40×0.85H)×L)
−(−3.78+1.64×0.85H))
・・・(SPOF)
PBC=(1/4)×k×t×β×Rx
×(((−3.78+1.64×0.85H)×0.97(4×L))
+((0.04+0.20×0.85H)×L)
−(−3.78+1.64×0.85H))
・・・(SPBC)
POC=(1/8)×k×t×β×Rx
×(((−3.78+1.64×0.85H)×0.97(8×L))
+((0.08+0.40×0.85H)×L)
−(−3.78+1.64×0.85H))
・・・(SPOC)
段ボール箱BXのサンプル11〜サンプル18を実際に作製し、作製したサンプルの圧縮強度を圧縮試験により測定した。作製したサンプル11〜18は、図18に示すように、幅が40.5cmである二枚の両端固定パネル要素BFPeと、幅が27cmである二枚の両端固定パネル要素BFPeと、を側部に含む段ボール箱BXとした。サンプル11〜18高さは、高さを10cmから55cmまでの間で変動させた。サンプル11〜18をなす段ボール箱BXの材質は、「LB220/MA140/LB220」のAフルートとした。なお、各サンプルにおいて、段ボール箱BXの側部をなす各パネル要素Peは、その上端ueにおいて、段ボール箱BXの蓋をなすフラップflと接続していた。
上述してきた段ボール構造物Sの圧縮強度の評価方法は、種々の大きさ及び種々の形状の段ボール構造物Sについて、圧縮強度を簡易且つ高精度に評価することができる。したがって、この評価方法を利用して段ボール構造物Sを製造することが好ましい。すなわち、段ボール構造物Sの製造方法が、段ボール構造物Sを設計する工程と、上述してきたいずれかの圧縮強度評価方法により、設計された段ボール構造物Sの圧縮強度を確認する工程と、を含むむようにしてもよい。このような製造方法によれば、圧縮試験に依らなくとも、段ボール構造物Sの圧縮強度を正確に予測することが可能となるので、段ボール構造物Sを実際に作製して圧縮試験を実施する回数を低減することができる。これにより、段ボール構造物Sの製造原価を低減し且つ製造納期を短縮することが可能となる。
以上に説明した一実施の形態において、段ボール構造物の評価方法は、各々が板状形状を有した複数のパネル要素Peを含む段ボール構造物Sの圧縮強度を評価する評価方法であって、段ボール構造物Sに含まれる複数のパネル要素Peについて、それぞれ、圧縮強度を特定する工程と、複数のパネル要素Peについて特定された圧縮強度を合算する工程と、を備える。
Pbox=Y1(Y2Z−Y3 Z+Y4) ・・・(3)
この圧縮強度評価方法によれば、高さH〔cm〕を考慮して段ボール箱BXの圧縮強度をさらに高精度に評価することができる。結果として、種々の形状および種々の大きさの段ボール構造物Sの圧縮強度を、さらに高精度に評価することが可能となる。
Pbox=Y1(Y2Z−Y3 Z+Y4) ・・・(3)
この圧縮強度評価方法によれば、高さH〔cm〕を考慮して段ボール箱BXの圧縮強度をさらに高精度に評価することができる。結果として、種々の形状および種々の大きさの段ボール箱BXの圧縮強度を、さらに高精度に評価することが可能となる。
BX 段ボール箱
fl フラップ
CB 段ボール紙
CBl ライナー
CBm 中芯
CP 仕切り
Cpa 組仕切り
sl スリット
Pe パネル要素
BFPe 両端固定パネル要素BFPe
OFPe 片端固定パネル要素OFPe
BCPe 両端組仕切りパネル要素BCPe
OCPe 片端組仕切りパネル要素OCPe
BRPe 両端自由パネル要素BRPe
fe 固定端
re 自由端
ue 上端
10 計算機
11 入力装置
12 表示装置
13 記録媒体
Claims (16)
- 各々が板状形状を有した複数のパネル要素を含む段ボール構造物の圧縮強度を評価する評価方法であって、
前記段ボール構造物に含まれる複数のパネル要素について、それぞれ、圧縮強度を特定する工程と、
前記複数のパネル要素について特定された前記圧縮強度を合算する工程と、を備える、段ボール構造物の圧縮強度評価方法。 - 各パネル要素の圧縮強度は、当該パネル要素の幅と同一の幅の側面を四つ含んだ直方体輪郭又は立方体輪郭の段ボール箱の圧縮強度に基づいて、或いは、当該パネル要素の幅の二倍の幅の側面を四つ含んだ直方体輪郭又は立方体輪郭の段ボール箱の圧縮強度に基づいて、特定する、請求項1に記載の段ボール構造物の圧縮強度評価方法。
- 幅方向における両端がそれぞれその全長に亘って他のパネル要素と接続した両端固定パネル要素の圧縮強度は、当該両端固定パネル要素の幅と同一の幅の側面を四つ含んだ直方体輪郭又は立方体輪郭の段ボール箱の圧縮強度に基づいて、特定し、
前記幅方向における一方の端がその全長に亘って他のパネル要素と接続し且つ前記幅方向における他方の端が自由端となっている片端固定パネル要素の圧縮強度は、当該片端固定パネル要素の幅の二倍の幅の側面を四つ含んだ直方体輪郭又は立方体輪郭の段ボール箱の圧縮強度に基づいて、特定する、請求項1に記載の段ボール構造物の圧縮強度評価方法。 - 上端が他のパネル要素と接続した前記両端固定パネル要素の圧縮強度は、当該両端固定パネル要素の幅と同一の幅の側面を四つ含んだ直方体輪郭又は立方体輪郭の段ボール箱の圧縮強度の1/4の圧縮強度として、特定し、
上端が他のパネル要素と接続した前記片端固定パネル要素の圧縮強度は、当該片端固定パネル要素の幅の二倍の幅の側面を四つ含んだ直方体輪郭又は立方体輪郭の段ボール箱の圧縮強度の1/8の圧縮強度として、特定する、請求項3に記載の段ボール構造物の圧縮強度評価方法。 - 前記幅方向における両端がそれぞれ他のパネル要素と接続して組仕切りの接続部を形成する両端組仕切りパネル要素の圧縮強度は、当該両端組仕切りパネル要素と同一の幅の前記両端固定パネル要素の圧縮強度の0.55倍以上0.75倍以下の値として、特定し、
前記幅方向における一方の端が他のパネル要素と接続して組仕切りの接続部を形成し且つ他方の端が自由端となっている片端組仕切りパネル要素の圧縮強度は、当該片端組仕切りパネル要素と同一の幅の前記片端固定パネル要素の圧縮強度の0.55倍以上0.75倍以下の値として、特定する、請求項3または4に記載の段ボール構造物の圧縮強度評価方法。 - 上端が他のパネル要素と接続されていないパネル要素の圧縮強度は、上端が他のパネル要素と接続したパネル要素の圧縮強度の1.05倍以上1.3倍以下の値として、特定する、請求項1〜5のいずれかに記載の段ボール構造物の圧縮強度評価方法。
- 前記段ボール箱の圧縮強度は、周囲長を変数とした指数項および比例項を含む式によって特定される、請求項1〜6のいずれか一項に記載の段ボール構造物の圧縮強度評価方法。
- 前記指数項の係数および前記比例項の係数は、段ボール箱の高さに基づいて決定する、請求項7に記載の段ボール構造物の圧縮強度評価方法。
- 前記パネル要素の圧縮強度は、当該パネル要素の幅を変数とした指数項および比例項を含む式によって特定される、請求項1〜8のいずれか一項に記載の段ボール構造物の圧縮強度評価方法。
- 前記指数項の係数および前記比例項の係数は、前記パネル要素の高さに基づいて決定する、請求項9に記載の段ボール構造物の圧縮強度評価方法。
- 前記複数のパネル要素の圧縮強度を特定する工程において、前記段ボール構造物を形成する側部のうち、前記段ボール構造物の全高さに亘って延び且つ波状に成形された中芯の波が高さ方向と直交する方向に並んでいる部分を、一つのパネル要素として、圧縮強度を特定する、請求項1〜10のいずれか一項に記載の段ボール構造物の圧縮強度評価方法。
- 段ボール箱の圧縮強度を評価する方法であって、
前記段ボール箱の周囲長を変数とした指数項および比例項を含む式によって、前記段ボール箱の圧縮強度が特定される、段ボール箱の圧縮強度評価方法。 - 前記指数項の係数および前記比例項の係数は、段ボール箱の高さに基づいて決定する、請求項12に記載の段ボール箱の圧縮強度評価方法。
- 請求項1〜11のいずれか一項に記載された圧縮強度評価方法によって、段ボール構造物の圧縮強度を確認する工程を備える、段ボール構造物の製造方法。
- 請求項1〜11のいずれか一項に記載された段ボール構造物の圧縮強度評価方法を計算機に実行させる、プログラム。
- 請求項1〜11のいずれか一項に記載された段ボール構造物の圧縮強度評価方法を計算機に実行させるプログラムを記録した記録媒体。
Priority Applications (1)
| Application Number | Priority Date | Filing Date | Title |
|---|---|---|---|
| JP2016122671A JP6732554B2 (ja) | 2016-06-21 | 2016-06-21 | 段ボール構造物の圧縮強度評価方法、段ボール箱の圧縮強度評価方法、段ボール構造物の製造方法、プログラム及び記録媒体 |
Applications Claiming Priority (1)
| Application Number | Priority Date | Filing Date | Title |
|---|---|---|---|
| JP2016122671A JP6732554B2 (ja) | 2016-06-21 | 2016-06-21 | 段ボール構造物の圧縮強度評価方法、段ボール箱の圧縮強度評価方法、段ボール構造物の製造方法、プログラム及び記録媒体 |
Publications (2)
| Publication Number | Publication Date |
|---|---|
| JP2016170175A true JP2016170175A (ja) | 2016-09-23 |
| JP6732554B2 JP6732554B2 (ja) | 2020-07-29 |
Family
ID=56983729
Family Applications (1)
| Application Number | Title | Priority Date | Filing Date |
|---|---|---|---|
| JP2016122671A Active JP6732554B2 (ja) | 2016-06-21 | 2016-06-21 | 段ボール構造物の圧縮強度評価方法、段ボール箱の圧縮強度評価方法、段ボール構造物の製造方法、プログラム及び記録媒体 |
Country Status (1)
| Country | Link |
|---|---|
| JP (1) | JP6732554B2 (ja) |
Cited By (5)
| Publication number | Priority date | Publication date | Assignee | Title |
|---|---|---|---|---|
| CN114781738A (zh) * | 2022-05-05 | 2022-07-22 | 湖南工业大学 | 一种基于混合数学模型分析的瓦楞纸箱配纸选材优化方法 |
| CN116609176A (zh) * | 2023-04-20 | 2023-08-18 | 江苏兴盟包装材料有限公司 | 一种包装箱极限承重检测系统及检测装置 |
| CN117074204A (zh) * | 2023-10-16 | 2023-11-17 | 广州擎天德胜智能装备有限公司 | 一种纸箱抗压强度检测装置及其检测方法 |
| CN118243522A (zh) * | 2024-05-21 | 2024-06-25 | 广东泽和环保科技有限公司 | 一种瓦楞纸箱抗压性能检测设备和检测方法 |
| CN118594959A (zh) * | 2024-06-27 | 2024-09-06 | 徐州国宏包装有限公司 | 一种纸箱生产用多功能检品机及其方法 |
Citations (6)
| Publication number | Priority date | Publication date | Assignee | Title |
|---|---|---|---|---|
| JPS475201Y1 (ja) * | 1966-01-18 | 1972-02-24 | ||
| JPS525864U (ja) * | 1975-06-24 | 1977-01-17 | ||
| JPS62116133A (ja) * | 1985-09-04 | 1987-05-27 | アムコ−・リミテツド | 段ボールパネルを製造する方法 |
| JPH08105829A (ja) * | 1994-10-05 | 1996-04-23 | Yoshizawa Kogyo Kk | 段ボールシートの罫線部評価方法および装置 |
| US20050023168A1 (en) * | 2003-07-31 | 2005-02-03 | Marnocha Craig M. | Shipping and display system |
| KR20110131027A (ko) * | 2010-05-28 | 2011-12-06 | 박인식 | 골판지 패널 |
-
2016
- 2016-06-21 JP JP2016122671A patent/JP6732554B2/ja active Active
Patent Citations (6)
| Publication number | Priority date | Publication date | Assignee | Title |
|---|---|---|---|---|
| JPS475201Y1 (ja) * | 1966-01-18 | 1972-02-24 | ||
| JPS525864U (ja) * | 1975-06-24 | 1977-01-17 | ||
| JPS62116133A (ja) * | 1985-09-04 | 1987-05-27 | アムコ−・リミテツド | 段ボールパネルを製造する方法 |
| JPH08105829A (ja) * | 1994-10-05 | 1996-04-23 | Yoshizawa Kogyo Kk | 段ボールシートの罫線部評価方法および装置 |
| US20050023168A1 (en) * | 2003-07-31 | 2005-02-03 | Marnocha Craig M. | Shipping and display system |
| KR20110131027A (ko) * | 2010-05-28 | 2011-12-06 | 박인식 | 골판지 패널 |
Non-Patent Citations (1)
| Title |
|---|
| ERIC LINVILL: ""Box Compression Strength: A Crippiling Approach"", PACKAGING TECHNOLOGY AND SCIENCE, vol. Vol.28, Issue 12, JPN6020007156, 11 November 2015 (2015-11-11), pages 1027 - 1037, ISSN: 0004220173 * |
Cited By (7)
| Publication number | Priority date | Publication date | Assignee | Title |
|---|---|---|---|---|
| CN114781738A (zh) * | 2022-05-05 | 2022-07-22 | 湖南工业大学 | 一种基于混合数学模型分析的瓦楞纸箱配纸选材优化方法 |
| CN116609176A (zh) * | 2023-04-20 | 2023-08-18 | 江苏兴盟包装材料有限公司 | 一种包装箱极限承重检测系统及检测装置 |
| CN116609176B (zh) * | 2023-04-20 | 2023-11-28 | 江苏兴盟包装材料有限公司 | 一种包装箱极限承重检测系统及检测装置 |
| CN117074204A (zh) * | 2023-10-16 | 2023-11-17 | 广州擎天德胜智能装备有限公司 | 一种纸箱抗压强度检测装置及其检测方法 |
| CN117074204B (zh) * | 2023-10-16 | 2023-12-26 | 广州擎天德胜智能装备有限公司 | 一种纸箱抗压强度检测装置及其检测方法 |
| CN118243522A (zh) * | 2024-05-21 | 2024-06-25 | 广东泽和环保科技有限公司 | 一种瓦楞纸箱抗压性能检测设备和检测方法 |
| CN118594959A (zh) * | 2024-06-27 | 2024-09-06 | 徐州国宏包装有限公司 | 一种纸箱生产用多功能检品机及其方法 |
Also Published As
| Publication number | Publication date |
|---|---|
| JP6732554B2 (ja) | 2020-07-29 |
Similar Documents
| Publication | Publication Date | Title |
|---|---|---|
| JP2016170175A (ja) | 段ボール構造物の圧縮強度評価方法、段ボール箱の圧縮強度評価方法、段ボール構造物の製造方法、プログラム及び記録媒体 | |
| Ye et al. | Three-dimensional free vibration analysis of thick cylindrical shells with general end conditions and resting on elastic foundations | |
| Dai et al. | An exact series solution for the vibration analysis of cylindrical shells with arbitrary boundary conditions | |
| Nobrega et al. | Vibration band gaps for elastic metamaterial rods using wave finite element method | |
| US20140126322A1 (en) | Acoustically transparent and acoustic wave steering materials for acoustic cloaking and methods of fabrication thereof | |
| Karen et al. | Designing foam filled sandwich panels for blast mitigation using a hybrid evolutionary optimization algorithm | |
| Garg et al. | A parametric analysis of free vibration and bending behavior of sandwich beam containing an open-cell metal foam core | |
| US9665976B2 (en) | Reducing finite element simulation time by reducing cross-correlation terms | |
| Zhang et al. | On vibration isolation performance and crashworthiness of a three-dimensional lattice metamaterial | |
| Hobeck et al. | Magnetoelastic metastructures for passive broadband vibration suppression | |
| Fan et al. | Finite element analysis of out-of-plane compressive properties of thermoplastic honeycomb | |
| Burlayenko et al. | Efficient free vibration analysis of FGM sandwich flat panels with conventional shell elements | |
| Chen et al. | Energy absorption and impact resistance of hybrid triply periodic minimal surface (TPMS) sheet-based structures | |
| Nguyen-Minh et al. | Static analysis of corrugated panels using homogenization models and a cell-based smoothed mindlin plate element (CS-MIN3) | |
| Zarraga et al. | Dynamic analysis of plates with thick unconstrained layer damping | |
| Gonenli et al. | Effect of crack location on buckling and dynamic stability in plate frame structures | |
| Hota et al. | Vibration of plates with arbitrary shapes of cutouts | |
| Wang et al. | The spectral difference method for 2d Euler equations on unstructured grids | |
| Tripathi et al. | Design for 1: 2 internal resonances in in-plane vibrations of plates with hyperelastic materials | |
| Barati et al. | Vibration frequencies of meta-material plates based on the numerical calibration of shape factor for various cell patterns | |
| Jiménez-Caballero et al. | Design of different types of corrugated board packages using finite element tools | |
| Wang et al. | Energy‐Absorbing Properties of Paper Honeycombs under Low and Intermediate Strain Rates | |
| Mali et al. | Determination of the fundamental frequency of perforated rectangular plates: Concentrated negative mass approach for the perforation | |
| Jiang et al. | An experiment-based frequency sensitivity enhancing control approach for structuraldamage detection | |
| Mali et al. | 853. Analytical model to determine fundamental frequency of free vibration of perforated plate by using unit step functions to express non-homogeneity |
Legal Events
| Date | Code | Title | Description |
|---|---|---|---|
| A521 | Request for written amendment filed |
Free format text: JAPANESE INTERMEDIATE CODE: A523 Effective date: 20160627 |
|
| A621 | Written request for application examination |
Free format text: JAPANESE INTERMEDIATE CODE: A621 Effective date: 20190419 |
|
| A131 | Notification of reasons for refusal |
Free format text: JAPANESE INTERMEDIATE CODE: A131 Effective date: 20200228 |
|
| A977 | Report on retrieval |
Free format text: JAPANESE INTERMEDIATE CODE: A971007 Effective date: 20200226 |
|
| A521 | Request for written amendment filed |
Free format text: JAPANESE INTERMEDIATE CODE: A523 Effective date: 20200421 |
|
| A131 | Notification of reasons for refusal |
Free format text: JAPANESE INTERMEDIATE CODE: A131 Effective date: 20200508 |
|
| A521 | Request for written amendment filed |
Free format text: JAPANESE INTERMEDIATE CODE: A523 Effective date: 20200604 |
|
| TRDD | Decision of grant or rejection written | ||
| A01 | Written decision to grant a patent or to grant a registration (utility model) |
Free format text: JAPANESE INTERMEDIATE CODE: A01 Effective date: 20200609 |
|
| A61 | First payment of annual fees (during grant procedure) |
Free format text: JAPANESE INTERMEDIATE CODE: A61 Effective date: 20200708 |
|
| R150 | Certificate of patent or registration of utility model |
Ref document number: 6732554 Country of ref document: JP Free format text: JAPANESE INTERMEDIATE CODE: R150 |
|
| R250 | Receipt of annual fees |
Free format text: JAPANESE INTERMEDIATE CODE: R250 |
|
| R250 | Receipt of annual fees |
Free format text: JAPANESE INTERMEDIATE CODE: R250 |
