JP2016142124A - Window screen for entrance door - Google Patents

Window screen for entrance door Download PDF

Info

Publication number
JP2016142124A
JP2016142124A JP2015031078A JP2015031078A JP2016142124A JP 2016142124 A JP2016142124 A JP 2016142124A JP 2015031078 A JP2015031078 A JP 2015031078A JP 2015031078 A JP2015031078 A JP 2015031078A JP 2016142124 A JP2016142124 A JP 2016142124A
Authority
JP
Japan
Prior art keywords
door
frame
screen door
screen
mounting
Prior art date
Legal status (The legal status is an assumption and is not a legal conclusion. Google has not performed a legal analysis and makes no representation as to the accuracy of the status listed.)
Pending
Application number
JP2015031078A
Other languages
Japanese (ja)
Inventor
泰三 菰田
Taizo Komoda
泰三 菰田
Current Assignee (The listed assignees may be inaccurate. Google has not performed a legal analysis and makes no representation or warranty as to the accuracy of the list.)
Individual
Original Assignee
Individual
Priority date (The priority date is an assumption and is not a legal conclusion. Google has not performed a legal analysis and makes no representation as to the accuracy of the date listed.)
Filing date
Publication date
Application filed by Individual filed Critical Individual
Priority to JP2015031078A priority Critical patent/JP2016142124A/en
Publication of JP2016142124A publication Critical patent/JP2016142124A/en
Pending legal-status Critical Current

Links

Images

Landscapes

  • Wing Frames And Configurations (AREA)

Abstract

PROBLEM TO BE SOLVED: To provide an inexpensive window screen for an entrance door for preventing intrusion of a mosquito and a suspicious person.SOLUTION: In a window screen for an entrance door, the longitudinally slender quadrangular window screen uses an aluminum and plastic resin-like raw material installed in a half-open state of still applying a crime prevention chain to an opening door type entrance door, and an attachment shaft is shaped on the upper-lower ends of a longitudinal frame of the window screen, and a window screen fitting base is installed on the outside of a vertical frame on the opening-closing side of the door fitting frame, and a fitting bearing is provided, and the attachment shaft is fitted in this fitting bearing, and the window screen freely rotates, and eaves are provided for blocking up an upper clearance generated by opening of the door, and mohair is provided in the eaves, and an extensible strut pole is erected on the indoor side, and even if the window screen fitting base is installed on this strut pole, the similar effect is provided, and even if a casing such as rolling around a net is installed on the indoor side of the vertical frame on the opening-closing side of the door fitting frame, the similar effect is provided.SELECTED DRAWING: Figure 1

Description

本発明は、玄関ドアー用虫よけ網戸に関するものである。  The present invention relates to an insect screen for an entrance door.

従来、玄関より虫の侵入を防ぐためには、網戸が利用されていた。また、不審者の侵入を防ぐ為には、玄関ドアーに施錠されていた。この両方を防ぐ網戸として、防犯用の鍵のかかる玄関用網戸が利用されていた。  Traditionally, screens have been used to prevent insects from entering the entrance. In addition, the entrance door was locked to prevent suspicious people from entering. As a screen door to prevent both, a door screen door with a lock for crime prevention was used.

風の通りが悪く、夏の暑さが耐え難いとき、玄関ドアーを少し開ければ、風通しが良くなり、快適である。ところが、玄関ドアーを解放したくても、不審者や蚊が入ってくるので解放することができなかった。鍵の掛かる網戸もあるが、工事を伴い、建具に傷をつけてしまうだけでなく、高価であった。蚊と不審者の侵入を防ぎ、しかも、工事を伴わず、建具も傷つけない、安価な玄関ドアー用網戸は存在しなかった。
本発明は以上の問題点を解決するものである。
When the wind is bad and the summer heat is unbearable, you can open the entrance door a little and get better ventilation and comfort. However, even though I wanted to release the entrance door, I could not release it because of suspicious people and mosquitoes. There is a screen door with a lock, but it was expensive as well as damaging the joinery. There was no cheap entrance door screen that prevented the entry of mosquitoes and suspicious people, and that did not involve construction and damage the fittings.
The present invention solves the above problems.

(イ)第一の解決手段
開き戸式の玄関ドアーに防犯チェーンをかけたまま半開きの状態において取り付けられるアルミやプラスチック樹脂等の素材を用いた縦細長四角形状の網戸である。網戸の四辺のフレーム枠の内、長手枠の一方側の縁を外側へ丸く土手状に膨らませて形成する。この縁の上下端に約10ミリ長さの取付軸を形設する。この取付軸に隣接して、フレーム枠の内・外両側に磁石を設ける。この取付軸側と反対側の長手枠において、ドアー側に対面する面に直行的に上下全域にモヘアを形設し、網戸の下端で床に対面する面全域にモヘアを形設する。網戸とは別に、ドアー取付枠のドアー開閉側の垂直枠の外側において、約2.5センチメートル幅の網戸取付台を縦一杯に設置し、その上下端に取付軸受けを設ける。この取付軸受けに隣接して、鉄片により回動ストッパーを設ける。この取付軸受けの受け口からフレーム枠の取付軸を嵌めこんで、網戸は凡そ90度の範囲で自在に回動することができる。ドアー取付枠の上部水平枠の外側に、ドアー固定側から徐々に先広がりに伸びて、ドアーの開きによって生じる上方の隙間を塞ぐ庇を設ける。庇の下側の外側縁と、その少し内側に複数筋状にモヘアを形設する。
(ロ)第二の解決手段
上記第一の解決手段において、網戸の四辺のフレーム枠の内、長手枠の一方側の縁を網戸取付台と一体成型的一連続的に形設し、両者の直行的交差部の厚さを薄くして蝶番の如き機能をもたせることで、この長手枠が網戸取付台を中心として、凡そ90度の範囲で回動することができるように形成し、回動ストッパーと共にドアー取付枠のドアー開閉側の垂直枠の外側に設置しても同様の効果が得られる。
(ハ)第三の解決手段
巾が異なる2つの網戸を設け、広巾網戸と小巾網戸とする。広巾網戸の四辺のフレーム枠の内、長手方向のフレーム枠に、枠と平行に広巾網戸の溝を形成し、小巾網戸の四辺のフレーム枠の内、長手方向のフレーム枠に、枠と平行に小巾網戸の溝を形成し、広巾網戸の溝に小巾網戸の溝の縁を差し込み、小巾網戸の溝に広巾網戸の溝の縁を差し込み組み付けると、広巾網戸と小巾網戸は自由に摺動でき、更に小巾網戸のフレーム枠の上端に磁石を設ける。庇については第一の解決手段と同じです。このような方法によっても、上記第一及び第二の解決手段と同様の効果が得られる。
(ニ)第四の解決手段
上記第一及び第二の解決手段において、ドアー取付枠の開閉側の垂直枠の室外側に近接して、床と天井の間に伸縮式突っ張りポールを立て、この伸縮式突っ張りポールに網戸取付台を設置しても、同様の効果が得られる。
(ホ)第五の解決手段
上記第四の解決手段において、ドアー取付枠の開閉側の室内側の垂直枠に近接して、床と天井の間に伸縮式突っ張りポールを立て、網戸の形を室内側のドアーノブを覆い隠す様に湾曲させ、網戸の先端、上端、下端にモヘアを形設し、網戸取付台を伸縮式突っ張りポールに設置するか、又は、ドアー取付枠の開閉側の室内側の垂直枠に直接設置しても同様の効果が得られる。
(ヘ)第六の解決手段
上記第二の解決手段において、網戸の長手枠と網戸取付台との交差部の一か所以上にバネを形設し、網戸取付台に近い長手枠をドアー取付枠方向側に約120度に曲げ、先端、下端にモヘアを形設し、開閉側のドアーの先端より少し戻した位置のドアー正面に網戸取付台を設置しても同様の効果が得られる。
(ト)第七の解決手段
網戸のフレーム枠に薄く柔軟な樹脂を用い、四辺のフレーム枠の内、長手枠の一方側の縁にハンドルと磁石を設ける。これとは反対側の長手枠を回転軸をもったドラムの表面に取り付け、網の出入り口をもった縦細長四角形状の筐体の中心付近に設置する。ドラムの回転軸受に隣接してゼンマイバネを形設し、ゼンマイバネの内端を回転軸受に固定し、ゼンマイバネの端末部分を回転リングに固定し、回転リングをドラムと連結し、巻尺の様に網を巻き取り・巻き戻す。このような筐体をドアー取付枠の開閉側の垂直枠の室内側に磁石や両面テープ等で取り付け、上記第一の解決手段と同様に庇を設けても、上記第一及び第二の解決手段と同様の効果が得られる。ドアー取付枠の開閉側の垂直枠の室内側に近接して、床と天井の間に伸縮式突っ張りポールを立て、筐体を取り付けても同様の効果が得られる。
以上の構成よりなる玄関ドアー用網戸である。
(B) First solution means A vertically long rectangular screen door made of a material such as aluminum or plastic resin that is attached in a half-open state with a crime prevention chain applied to a hinged door. Of the four frame frames of the screen door, one edge of the longitudinal frame is rounded outward and formed into a bank shape. A mounting shaft having a length of about 10 mm is formed at the upper and lower ends of the edge. Magnets are provided on both the inner and outer sides of the frame frame adjacent to the mounting shaft. In the longitudinal frame on the side opposite to the mounting shaft side, mohair is formed in the entire upper and lower regions perpendicular to the surface facing the door side, and mohair is formed in the entire region facing the floor at the lower end of the screen door. Separately from the screen door, a screen door mounting base having a width of about 2.5 centimeters is installed in the vertical direction outside the vertical frame on the door opening / closing side of the door mounting frame, and mounting bearings are provided at the upper and lower ends thereof. A rotation stopper is provided by an iron piece adjacent to the mounting bearing. The screen door can be freely rotated within a range of about 90 degrees by fitting the mounting shaft of the frame frame from the receiving port of the mounting bearing. On the outside of the upper horizontal frame of the door mounting frame, a ridge that gradually extends from the door fixing side and closes the upper gap generated by opening the door is provided. Mohair is formed in multiple streaks on the outer edge of the heel and slightly inside.
(B) Second Solution In the first solution, the edge of one side of the longitudinal frame of the screen frames on the four sides of the screen door is formed integrally with the screen door mounting base in a continuous manner. By reducing the thickness of the perpendicular intersection and giving it a hinge-like function, this longitudinal frame is formed so that it can be rotated in the range of about 90 degrees around the screen door mount. The same effect can be obtained by installing the stopper outside the vertical frame on the door opening / closing side of the door mounting frame together with the stopper.
(C) Third solution means Two screen doors with different widths are provided, ie, a wide screen door and a small screen door. Of the four-sided frame frame of the wide screen door, a groove of the wide screen door is formed in parallel with the frame on the longitudinal frame frame, and the four-side frame frame of the small screen door is parallel to the longitudinal frame frame. Form a narrow screen door groove, insert the edge of the narrow screen door groove into the wide screen door groove, insert the edge of the wide screen door groove into the small screen door groove, and then assemble the wide screen door and the small screen door free And a magnet is provided at the upper end of the frame of the narrow screen door. As for cocoon, it is the same as the first solution. Also by such a method, the same effect as the first and second solving means can be obtained.
(D) Fourth solution means In the above first and second solution means, a telescopic tension pole is set up between the floor and the ceiling in the vicinity of the outdoor side of the vertical frame on the opening and closing side of the door mounting frame. The same effect can be obtained by installing a screen door mount on the telescopic tension pole.
(E) Fifth Solution In the fourth solution described above, in the vicinity of the indoor vertical frame on the door opening / closing side of the door mounting frame, an extendable tension pole is placed between the floor and the ceiling to form the screen door. The door knob on the indoor side is curved to cover it, mohair is formed at the top, top, and bottom of the screen door, and the screen door mounting base is installed on the telescopic tension pole, or the indoor side on the opening and closing side of the door mounting frame The same effect can be obtained even if it is installed directly on the vertical frame.
(F) Sixth solution means In the second solution means, a spring is formed at one or more intersections between the screen door longitudinal frame and the screen door mount, and the frame close to the screen door mount is attached to the door. A similar effect can be obtained by bending the frame direction side at about 120 degrees, forming a mohair at the tip and bottom, and installing a screen door mount on the front of the door slightly back from the tip of the door on the opening and closing side.
(G) Seventh Solution A thin and flexible resin is used for the frame frame of the screen door, and a handle and a magnet are provided on the edge of one side of the longitudinal frame among the four side frame frames. A long frame opposite to this is attached to the surface of a drum having a rotation axis, and is installed near the center of a vertically long rectangular housing with a mesh doorway. A spring spring is formed adjacent to the rotary bearing of the drum, the inner end of the spring spring is fixed to the rotary bearing, the end of the spring spring is fixed to the rotary ring, the rotary ring is connected to the drum, and a net is formed like a tape measure. Rewind and rewind. Even if such a case is attached to the indoor side of the vertical frame on the opening / closing side of the door mounting frame with a magnet or double-sided tape, and a ridge is provided in the same manner as the first solving means, the first and second solutions The same effect as the means can be obtained. A similar effect can be obtained by attaching a housing by attaching a telescopic tension pole between the floor and the ceiling near the indoor side of the vertical frame on the open / close side of the door mounting frame.
A screen door for an entrance door having the above configuration.

防犯チェーンをかけたまま玄関ドアーを解放することができ、蚊も不審者も入ってくることがなく、風通しがよいので快適である。磁石や両面テープ等で取り付けることができるので、建具を傷つける工事は必要ない。構造が簡単なので、安価に製作できる。  The entrance door can be released with the security chain on, and no mosquitoes or suspicious persons will enter. Since it can be attached with a magnet or double-sided tape, it does not require construction to damage the joinery. Since the structure is simple, it can be manufactured at low cost.

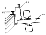
本発明の第一の解決手段における外観斜視図External appearance perspective view in the first solution means of the present invention 本発明の第一の解決手段における網戸の構造を見せた平面図The top view which showed the structure of the screen door in the 1st solution means of this invention 本発明の第一の解決手段における庇部分の斜視図The perspective view of the collar part in the 1st solution means of this invention 本発明の第一の解決手段における網戸と庇との構造的関連を分かりやすく示した部分斜視図The partial perspective view which showed the structural relation of the screen door and the eaves in the 1st solution means of this invention clearly 本発明の第二の解決手段における外観斜視図External perspective view of the second solution means of the present invention 本発明の第二の解決手段における網戸取付台と網戸のフレーム枠の高さの関係を分かりやすく示した斜視図The perspective view which showed clearly the relationship between the height of the screen door mount and the frame frame of the screen door in the 2nd solution means of this invention 本発明の第二の解決手段における回動ストッパー部分の斜視図The perspective view of the rotation stopper part in the 2nd solution means of this invention 本発明の第二の解決手段における回動ストッパー部分と磁石部分、モヘア部分と網戸フレーム枠部分の位置関係を分かりやすく示した平面図The top view which showed clearly the positional relationship of the rotation stopper part and magnet part in the 2nd solution means of this invention, and a mohair part and a screen door frame frame part 本発明の第二の解決手段における網戸と庇との構造的関連を分かりやすく示した部分斜視図The partial perspective view which showed the structural relationship of the screen door and the coffin in the 2nd solution means of this invention clearly 本発明の第三の解決手段における外観斜視図External appearance perspective view of the third solution of the present invention 本発明の第三の解決手段における広巾網戸の構造を見せた部分斜視図The partial perspective view which showed the structure of the wide screen door in the 3rd solution of this invention 本発明の第三の解決手段における小巾網戸の構造を見せた部分斜視図The partial perspective view which showed the structure of the narrow screen door in the 3rd solution of this invention 本発明の第三の解決手段における小巾網戸と広幅網戸を組み合わせた状態を分かりやすく示した部分斜視図The partial perspective view which showed the state which combined the narrow screen door and the wide screen door in the 3rd solution means of this invention clearly 図13を真上から見た状態を示す平面図The top view which shows the state which looked at FIG. 13 from right above 本発明の第三の解決手段における庇部分をドアー取付枠部分に付けた状態を示す部分斜視図The fragmentary perspective view which shows the state which attached the collar part in the 3rd solution means of this invention to the door attachment frame part 本発明の第三の解決手段における網戸と庇部分との構造的関連を分かりやすく示した部分斜視図The partial perspective view which showed clearly the structural relationship of the screen door and the heel part in the 3rd solution of this invention 本発明の第四の解決手段における突っ張りポール部分の斜視図The perspective view of the tension pole part in the 4th solution means of this invention 本発明の第四の解決手段における突っ張りポール部分を立てる位置を分かりやすく示した平面図The top view which showed clearly the position which stands the tension pole part in the 4th solution of this invention 本発明の第五の解決手段において、ドアーを閉め、網戸を使用していない状態を分かり易く示した平面図The top view which showed the state which closed the door and is not using the screen door in the 5th solution means of this invention. 図19におけるドアーを開け本発明の網戸を使用している状態を分かり易く示した平面図The top view which showed the state which opened the door in FIG. 19, and is using the screen door of this invention clearly 本発明の第六の解決手段における網戸の構造を分かり易く示した斜視図The perspective view which showed the structure of the screen door in the 6th solution means of this invention clearly 本発明の第六の解決手段において網戸とドアーとの構造的関連を分かり易く示した平面図The top view which showed the structural relation of a screen door and a door in the 6th solution means of this invention clearly 図22のドアーに防犯チェーンをかけたまま開け、本発明の網戸を使用している状態を分かり易く示した平面図FIG. 22 is a plan view showing the state in which the door of FIG. 22 is opened with a security chain and the screen door of the present invention is used in an easy-to-understand manner. 本発明の第七の解決手段における網戸の構造を分かり易く示した断面図Sectional drawing which showed easily the structure of the screen door in the 7th solution means of this invention 図24のゼンマイバネによる巻取装置付近を拡大表示した断面図24 is an enlarged cross-sectional view of the vicinity of the winding device using the spring spring of FIG. 巻取装置付を拡大表示した図25におけるA−A線断面図AA line sectional view in FIG. 25 showing enlarged view with a winding device. 図24における本発明の網戸とドアーとの構造的関連を分かり易く示した平面図FIG. 24 is a plan view showing the structural relationship between the screen door and the door of the present invention in an easy-to-understand manner. 図25におけるドアーに防犯チェーンをかけたまま開け本発明の網戸を使用している状態を分かり易く示した平面図FIG. 25 is a plan view showing in an easy-to-understand manner the state where the door of the present invention is used while being opened with the security chain applied to the door. [0008]の(レ)において、防犯チェーンをかけずに、先に網戸をセットする場合の固定具とシリンダー錠、レールとフック付きチェーンの位置的関連を分かり易く示した平面図[0008] In (l), a plan view showing the positional relationship between the fastener and the cylinder lock, the rail and the chain with the hook when the screen door is set without using the security chain.

以下、本発明の実施の形態を説明する。
(チ)第一の実施の形態
開き戸式の玄関ドアーに防犯チェーンをかけたまま半開きの状態において取り付けられるアルミやプラスチック樹脂等の素材を用いた縦細長四角形状の網戸(1)である。網戸(1)の四辺のフレーム枠(2)の内、長手枠(3)の一方側の縁を外側へ丸く土手状(4)に膨らませて形成する。この縁の上下端に約10ミリ長さの取付軸(5)を形設する。この取付軸(5)に隣接して、フレーム枠(2)の内・外両側に磁石(13)を設ける。この取付軸(5)側と反対側の長手枠(3)において、ドアー側に対面する面に直行的に上下全域にモヘア(7)を形設し、網戸(1)の下端で床に対面する面全域にモヘア(7)を形設する。網戸(1)とは別に、ドアー取付枠(8)の、ドアー開閉側(9)の垂直枠の外側において、約2.5センチメートル幅の網戸取付台(10)を縦一杯に設置し、その上下端に取付軸受(11)を設ける。この取付軸受(11)に隣接して、鉄片により回動ストッパー(6)を設ける。この取付軸受(11)の受け口(12)からフレーム枠(2)の取付軸(5)を嵌めこんで、網戸(1)は凡そ90度の範囲で自在に回動することができる。ドアー取付枠の上部水平枠(14)の外側に、ドアー固定側(15)から徐々に先広がりに伸びて、ドアーの開きによって生じる上方の隙間を塞ぐ庇(16)を設ける。庇(16)の下側の外側縁と、その少し内側に複数筋状にモヘア(7)を形設する(図1、図2、図3、図4)。
(リ)第二の実施の形態
上記第一の解決手段において、網戸(1)の四辺のフレーム枠(2)の内、長手枠(3)の一方側の縁を網戸取付台(10)と一体成型的一連続的に形設し、両者の直行的交差部(19)の厚さを薄くして蝶番の如き機能をもたせることで、この長手枠(3)が網戸取付台(10)を中心として、凡そ90度の範囲で回動することができるように形成し、回動ストッパー(6)と共にドアー取付枠(8)のドアー開閉側(9)の垂直枠の外側に設置しても同様の効果が得られる。また、フレーム枠(2)と網(18)を一体成型しても同様の効果が得られる(図5、図6、図7、図8、図9)。
(ヌ)第三の実施の形態
巾が異なる2つの網戸を設け、広巾網戸(20)と小巾網戸(21)とする。広巾網戸(20)の四辺のフレーム枠(2)の内、長手方向のフレーム枠(22)に、枠と平行に広巾網戸の溝(24)を形成し、小巾網戸(21)の四辺のフレーム枠(2)の内、長手方向のフレーム枠(23)に、枠と平行に小巾網戸の溝(25)を形成し、広巾網戸の溝(24)に小巾網戸の溝の縁(27)を差し込み、小巾網戸の溝(25)に広巾網戸の溝の縁(26)を差し込み組み付けると、広巾網戸(20)と小巾網戸(21)は自由に摺動でき、更に小巾網戸(21)のフレーム枠の上端に磁石(13)を設ける。庇(16)については第一の解決手段と同じです。このような方法によっても、上記第一及び第二の解決手段と同様の効果が得られる(図10、図11、図12、図13、図14、図15、図16)。
(ル)第四の実施の形態
上記第一及び第二の解決手段において、ドアー取付枠(8)の開閉側の垂直枠の室外側に近接して、床と天井の間に伸縮式突っ張りポール(30)を立て、上部を回転させて伸縮部分(29)を伸ばして固定し、この伸縮式突っ張りポール(30)に網戸取付台(10)を設置しても、同様の効果が得られる(図17、図18)。
(ヲ)第五の実施の形態
上記第四の解決手段において、ドアー取付枠(8)の開閉側の室内側の垂直枠に近接して、床と天井の間に伸縮式突っ張りポール(30)を立て、網戸(1)の形を室内側のドアーノブ(17)を覆い隠す様に湾曲させ、網戸(1)の先端、上端、下端にモヘア(7)を形設し、網戸取付台(10)を伸縮式突っ張りポール(30)に設置するか、又は、ドアー取付枠(8)の開閉側の室内側の垂直枠に直接設置しても同様の効果が得られる(図19、図20)。
(ワ)第六の実施の形態
上記第二の解決手段において、網戸(1)の長手枠(3)と網戸取付台(10)との交差部(19)の一か所以上にバネ(32)を形設し、網戸取付台(10)に近い長手枠(3)をドアー取付枠(8)方向側に約120度に曲げ、先端、下端にモヘア(7)を形設し、開閉側のドアー(28)の先端より少し戻した位置のドアー正面に網戸取付台(10)を設置しても同様の効果が得られる(図21、図22、図23)。
(カ)第七の実施の形態
網戸(1)のフレーム枠(2)に薄く柔軟な樹脂を用い、四辺のフレーム枠(2)の内、長手枠(3)の一方側の縁にハンドル(33)と磁石(13)を設ける。これとは反対側の長手枠(3)を回転軸(36)をもったドラム(34)の表面に取り付け、網(18)の出入り口をもった縦細長四角形状の筐体(35)の中心付近に設置する。ドラムの回転軸受(37)に隣接してゼンマイバネ(38)を形設し、ゼンマイバネ(38)の内端を回転軸受(37)に固定し、ゼンマイバネ(38)の端末部分を回転リング(39)に固定し、回転リング(39)をドラム(34)と連結し、巻尺の様に網(18)を巻き取り・巻き戻す。このような筐体(35)をドアー取付枠(8)の開閉側の垂直枠の室内側に磁石や両面テープ等で取り付け、上記第一の解決手段と同様に庇(16)を設けても、上記第一及び第二の解決手段と同様の効果が得られる。ドアー取付枠(8)の開閉側の垂直枠の室内側に近接して、床と天井の間に伸縮式突っ張りポール(30)を立て、筐体(35)を取り付けても同様の効果が得られる(図24、図25、図26、図27、図28)。
本発明は以上のような構造である。
本発明を使用するときは、
(ヨ)上記(チ)第一の実施の形態の使用方法
網戸(1)のフレーム枠(2)を回動させて、網戸取付台(10)と垂直にし、室内側から、防犯チェーンをかけたまま、ドアー(28)を外に開け、ドアーが閉まらない様にストッパーを挟む。蚊は網戸(1)や庇(16)に阻まれ不審者は防犯チェーンに阻まれて入ってこないが風は通るので快適である。人が出入りする場合は、網戸(1)と庇(16)をそのままにして、防犯チェーンを外せば、通れる。使用しないときは、網戸(1)を、網戸取付台(10)と平行で、ドアー(28)とは反対側に倒しておけば、出入りの邪魔にならない。防犯の必要がないときは、防犯チェーンをかけずにドアー(28)をあけ、ドアー(28)が閉まらない様にストッパーを挟む。網(18)によって、風は通るが蚊の侵入は防げる(図4)。
(タ)上記(リ)第二の実施の形態の使用方法は、(ヨ)と同じである。
(レ)上記(ヌ)第三の実施の形態の使用方法
室内側より、防犯チェーンをかけたままドアー(28)を開けると、隙間が空く(図15)。広巾網戸(20)と小巾網戸(21)をスライドさせて、網戸(1)の長さを最短にし、防犯チェーンの下からくぐらせ、ドアー(28)とドアー取付枠(8)の間の隙間に挟むと、広巾網戸(20)はドアークローザーの戻る力によって、ドアー(28)とドアー取付枠(8)に挟まれて固定されるが、小巾網戸(21)は、広巾網戸(20)の内側に入っているので、固定されない。そこで、小巾網戸(21)を上に伸ばして、ドアー取付枠の上部水平枠(14)に磁石(13)が付くまで伸ばす。蚊は網(18)や庇(16)に阻まれ不審者は防犯チェーンに阻まれて入ってこないが風は通るので快適である。防犯の必要がない場合には、防犯チェーンをかけずに使用できる。人が出入りする場合は、網戸(1)と防犯チェーンをはずして通る(図16)。更に上記の使用方法以外に、防犯チェーン(31)をかけずに、先に網戸(1)をセットし、ドアー(28)に予め付いている防犯チェーン(31)とは別に用意したフック付きチェーン(41)のフック(40)をドアー(28)に付いているレール(42)に入れ、フック(40)とは反対側のチェーンの先端を備え付けの防犯チェーンの固定具(43)にシリンダー錠(44)で止めて使用し、人が出入りする場合は、シリンダー錠(44)と網戸(1)をはずして通る使用方法もある(図29)。
(ソ)上記(ル)第四の実施の形態の使用方法
網戸(1)のフレーム枠(2)を回動させて、網戸取付台(10)と垂直にし、室内側から、防犯チェーン(31)をかけたまま、ドアー(28)を外に開け、ドアーが閉まらない様にストッパーを挟む。
(ツ)上記(ヲ)第五の実施の形態の使用方法
図19の様に網戸(1)を網戸取付台(10)と垂直方向にし、防犯チェーン(31)をかけ、ドアー(28)を開け、ドアーストッパーで止め、網戸(1)を図20の様にドアー(28)側に傾け、磁石(13)が回動ストッパー(6)に付くまで倒す。人が出入りする場合は、網戸(1)をおこして、網戸取付台(10)と垂直方向にし、磁石(13)が回動ストッパー(6)に付くまで倒し、防犯チェーン(31)を外してから通る。
(ネ)上記(ワ)第六の実施の形態の使用方法
防犯チェーン(31)をかけ、ドアー(28)を開き、ドアーストッパーで止めると、できた隙間を網戸(1)と庇とモヘア(7)が塞ぐので、蚊や不審者は侵入してこない。風は良く通る。防犯チェーン(31)を外し、ドアー(28)を広く開けると、長手枠(3)の一部がドアー先端に当たり、網戸(1)はそれ以上回転せずに停止する。ドアー(28)を閉じたとき、バネ(32)は約90度に曲がる。この様に、網戸(1)が付いてない通常の玄関ドアーと同じ様にドアー(28)の開け閉めが出来る(図22、図23)。
(ナ)上記(カ)第七の実施の形態の使用方法
防犯チェーン(31)をかけたままドアー(28)を開け、ドアーストッパーで止め、ハンドル(33)を持って網(18)を引き出し、磁石(13)をドアー(28)に付けると、風は入ってくるが、不審者は防犯チェーン(31)に阻まれ、蚊は網(18)と庇とモヘア(7)に阻まれ侵入してこない。出入りするには、ハンドル(33)を筐体(35)側に戻し、網(18)をドラム(34)に巻き取り、防犯チェーン(31)を外してドアー(28)を開け、出入りする(図24、図27、図28)。
Embodiments of the present invention will be described below.
(H) First Embodiment A vertically long rectangular screen door (1) using a material such as aluminum or plastic resin, which is attached in a half-open state with a crime prevention chain applied to a hinged door. Of the four side frame frames (2) of the screen door (1), one edge of the longitudinal frame (3) is rounded outward to form a bank shape (4). A mounting shaft (5) having a length of about 10 mm is formed at the upper and lower ends of this edge. Magnets (13) are provided on both the inner and outer sides of the frame (2) adjacent to the mounting shaft (5). In the longitudinal frame (3) on the opposite side of the mounting shaft (5), the mohair (7) is formed in the upper and lower areas perpendicularly to the surface facing the door side, and the floor (1) faces the floor at the lower end. Form mohair (7) over the entire surface. Separately from the screen door (1), a screen door mounting base (10) having a width of about 2.5 centimeters is installed in the vertical direction outside the vertical frame on the door opening / closing side (9) of the door mounting frame (8). Mounting bearings (11) are provided at the upper and lower ends. A rotation stopper (6) is provided by an iron piece adjacent to the mounting bearing (11). The screen door (1) can be freely rotated within a range of about 90 degrees by fitting the mounting shaft (5) of the frame frame (2) from the receiving port (12) of the mounting bearing (11). On the outside of the upper horizontal frame (14) of the door mounting frame, a hook (16) is provided that gradually extends from the door fixing side (15) and closes the upper gap caused by the opening of the door. The mohair (7) is formed in a plurality of streaks on the lower outer edge of the heel (16) and slightly on the inside (FIGS. 1, 2, 3, and 4).
(I) Second Embodiment In the first solving means described above, the edge on one side of the longitudinal frame (3) of the four frame frames (2) of the screen door (1) is connected to the screen door mount (10). This longitudinal frame (3) can be attached to the screen door mounting base (10) by forming it as a single piece and by forming a function like a hinge by reducing the thickness of the perpendicular intersection (19) between the two. Even if it is formed so that it can rotate in the range of about 90 degrees as the center, it is installed outside the vertical frame on the door opening / closing side (9) of the door mounting frame (8) together with the rotation stopper (6). Similar effects can be obtained. The same effect can be obtained by integrally molding the frame (2) and the net (18) (FIGS. 5, 6, 7, 8, and 9).
(Nu) Third Embodiment Two screen doors having different widths are provided to form a wide screen door (20) and a small screen door (21). Of the four side frame frames (2) of the wide screen door (20), a groove (24) of the wide screen door is formed in the longitudinal frame frame (22) in parallel with the frame, and the four sides of the small screen door (21) are formed. Of the frame frame (2), a narrow frame door groove (25) is formed in the longitudinal frame frame (23) in parallel to the frame, and the narrow frame door groove (24) is formed in the wide screen door groove (24). 27) is inserted, and the edge (26) of the wide-width screen door is inserted into the groove (25) of the small-width screen door and assembled, the wide-width screen door (20) and the small-width screen door (21) can be freely slid. A magnet (13) is provided at the upper end of the frame of the screen door (21).庇 (16) is the same as the first solution. By such a method, the same effect as the first and second solving means can be obtained (FIGS. 10, 11, 12, 13, 14, 15, and 16).
(4) Fourth embodiment In the first and second solutions described above, a telescopic tension pole between the floor and the ceiling in the vicinity of the outdoor side of the vertical frame on the open / close side of the door mounting frame (8) The same effect can be obtained by standing (30), rotating the upper part to stretch and fix the stretchable part (29), and installing the screen door mount (10) on the stretchable tension pole (30) ( 17 and 18).
(W) Fifth Embodiment In the fourth solution described above, the telescopic tension pole (30) between the floor and the ceiling in the vicinity of the indoor vertical frame on the open / close side of the door mounting frame (8). The screen door (1) is curved so as to cover the door knob (17) on the indoor side, and the mohair (7) is formed at the tip, upper end, and lower end of the screen door (1), and the screen door mount (10 ) On the telescopic tension pole (30) or directly on the indoor vertical frame on the open / close side of the door mounting frame (8), the same effect can be obtained (FIGS. 19 and 20). .
(W) Sixth Embodiment In the second solution described above, a spring (32) is provided at one or more locations of the intersection (19) between the longitudinal frame (3) of the screen door (1) and the screen door mount (10). ), The longitudinal frame (3) close to the screen door mounting base (10) is bent at about 120 degrees in the direction of the door mounting frame (8), and the mohair (7) is formed at the tip and bottom, and the opening and closing side The same effect can be obtained even if the screen door mount (10) is installed in front of the door at a position slightly returned from the front end of the door (28) (FIGS. 21, 22, and 23).
(F) Seventh embodiment A thin flexible resin is used for the frame (2) of the screen door (1), and a handle (on the edge of one side of the longitudinal frame (3) of the frame frame (2) on the four sides) 33) and a magnet (13). A longitudinal frame (3) opposite to this is attached to the surface of a drum (34) having a rotation axis (36), and the center of a vertically elongated rectangular casing (35) having a mesh (18) doorway. Install in the vicinity. A mainspring (38) is formed adjacent to the rotary bearing (37) of the drum, the inner end of the mainspring (38) is fixed to the rotary bearing (37), and the end portion of the mainspring (38) is connected to the rotary ring (39). The rotating ring (39) is connected to the drum (34), and the net (18) is taken up and rewound like a tape measure. Such a casing (35) may be attached to the indoor side of the vertical frame on the open / close side of the door mounting frame (8) with a magnet, double-sided tape, etc., and a ridge (16) may be provided in the same manner as the first solving means. The same effect as the first and second solving means can be obtained. The same effect can be obtained by attaching a casing (35) by placing a telescopic tension pole (30) between the floor and ceiling close to the indoor side of the vertical frame on the door opening / closing side of the door mounting frame (8). (FIGS. 24, 25, 26, 27, and 28).
The present invention has the above structure.
When using the present invention,
(Yo) (h) How to use the first embodiment The frame (2) of the screen door (1) is rotated to be perpendicular to the screen door mount (10), and a security chain is applied from the indoor side. Open the door (28) and hold the stopper so that the door does not close. Mosquitoes are blocked by screen doors (1) and cocoons (16), and suspicious persons are blocked by crime prevention chains. When a person goes in and out, the screen door (1) and the bag (16) can be left as they are, and the security chain can be removed. When not in use, the screen door (1) is parallel to the screen door mount (10) and tilted to the opposite side of the door (28) so that it does not obstruct access. When there is no need for crime prevention, the door (28) is opened without a crime prevention chain, and a stopper is sandwiched so that the door (28) is not closed. The net (18) allows the wind to pass but prevents mosquitoes from entering (FIG. 4).
(T) The usage method of (ii) the second embodiment is the same as (Y).
(L) Usage of (iii) Third Embodiment When the door (28) is opened from the indoor side with the crime prevention chain applied, a gap is formed (FIG. 15). Slide the wide screen door (20) and the narrow screen door (21) to minimize the length of the screen door (1) and pass it under the security chain, between the door (28) and the door mounting frame (8). When sandwiched in the gap, the wide screen door (20) is fixed by being sandwiched between the door (28) and the door mounting frame (8) by the return force of the door closer, while the narrow screen door (21) is fixed to the wide screen door (20). ) Is not fixed. Therefore, the narrow web door (21) is extended upward and extended until the magnet (13) is attached to the upper horizontal frame (14) of the door mounting frame. Mosquitoes are blocked by the net (18) and cocoon (16), and suspicious persons are blocked by the crime prevention chain. When there is no need for security, it can be used without a security chain. When a person goes in and out, the screen door (1) and the security chain are removed (FIG. 16). In addition to the above method of use, a chain with a hook prepared separately from the security chain (31) attached in advance to the door (28) by setting the screen door (1) without applying the security chain (31). The hook (40) of (41) is put in the rail (42) attached to the door (28), and the cylinder lock is attached to the fixture (43) of the security chain provided with the tip of the chain opposite to the hook (40). When used by stopping at (44) and a person goes in and out, there is also a usage method in which the cylinder lock (44) and the screen door (1) are removed (FIG. 29).
(So) (4) How to use (4) the fourth embodiment The frame (2) of the screen door (1) is rotated so as to be perpendicular to the screen door mount (10), and the security chain (31 ), Open the door (28) and put a stopper so that the door does not close.
(Iv) Method of use of the fifth embodiment described above (W) As shown in FIG. 19, the screen door (1) is perpendicular to the screen door mount (10), the security chain (31) is hung, and the door (28) is mounted. Open and stop with a door stopper, tilt the screen door (1) to the door (28) side as shown in FIG. 20, and tilt until the magnet (13) is attached to the rotation stopper (6). When a person goes in and out, raise the screen door (1), make it perpendicular to the screen door mount (10), tilt it down until the magnet (13) is attached to the rotation stopper (6), and remove the security chain (31). Pass from.
(E) How to use the sixth embodiment above (W) Hang the crime prevention chain (31), open the door (28), and stop with the door stopper. 7) will block, so mosquitoes and suspicious people will not enter. The wind passes well. When the security chain (31) is removed and the door (28) is opened widely, a part of the longitudinal frame (3) hits the tip of the door, and the screen door (1) stops without further rotation. When the door (28) is closed, the spring (32) bends to about 90 degrees. In this way, the door (28) can be opened and closed in the same way as a normal entrance door without the screen door (1) (FIGS. 22 and 23).
(Na) How to use the above (f) seventh embodiment Open the door (28) with the crime prevention chain (31) applied, stop with the door stopper, pull the net (18) with the handle (33) When the magnet (13) is attached to the door (28), the wind comes in, but the suspicious person is blocked by the crime prevention chain (31), and the mosquito is blocked by the net (18), moth and mohair (7). I won't do it. To go in and out, return the handle (33) to the housing (35) side, wind the net (18) around the drum (34), remove the security chain (31), open the door (28), and go in and out ( FIG. 24, FIG. 27, FIG. 28).

1 網戸、 2 フレーム枠、 3 長手枠、 4 土手状、 5 取付軸、 6 回動ストッパー、 7 モヘア、 8 ドアー取付枠、 9 ドアー開閉側、 10 網戸取付台、 11 取付軸受、 12 受け口、 13 磁石、 14 ドアー取付枠の上部水平枠、 15 ドアー固定側、 16 庇、 17 ドアーノブ、 18 網、 19 交差部、 20 広巾網戸、 21 小巾網戸、 22 広巾網戸の長手方向のフレーム枠、 23 小巾網戸の長手方向のフレーム枠、 24 広巾網戸の溝、 25 小巾網戸の溝、 26 広巾網戸の溝の縁、 27 小巾網戸の溝の縁、 28 ドアー、 29 伸縮部分、 30 伸縮式突っ張りポール、 31 防犯チェーン、 32 バネ、 33 ハンドル、 34 ドラム、 35 筐体、 36 回転軸、 37 回転軸受、 38 ゼンマイバネ、 39 回転リング、 40 フック、 41 フック付きチェーン、 42 レール、 43 固定具、 44 シリンダー錠DESCRIPTION OF SYMBOLS 1 Screen door, 2 Frame frame, 3 Longitudinal frame, 4 Bank shape, 5 Mounting shaft, 6 Rotation stopper, 7 Mohair, 8 Door mounting frame, 9 Door opening and closing side, 10 Screen door mounting base, 11 Mounting bearing, 12 Receiving port, 13 Magnet, 14 Upper horizontal frame of the door installation frame, 15 Door fixed side, 16 mm, 17 Door knob, 18 mesh, 19 intersection, 20 wide screen door, 21 narrow screen door, 22 frame frame in the longitudinal direction of the wide screen door, 23 small Long frame door frame frame, 24 wide screen door groove, 25 small screen door groove, 26 wide screen door groove edge, 27 small screen door groove edge, 28 door, 29 telescopic part, 30 telescopic tension Paul, 31 Security chain, 32 Spring, 33 Handle, 34 Drum, 35 housing, 36 rotating shaft, 37 rotating bearing, 38 spring spring, 39 rotating ring, 40 hook, 41 chain with hook, 42 rail, 43 fixing tool, 44 cylinder lock

Claims (7)

開き戸式の玄関ドアーに防犯チェーンをかけたまま半開きの状態において取り付けられるアルミやプラスチック樹脂等の素材を用いた縦細長四角形状の網戸であり、網戸の四辺のフレーム枠の内、長手枠の一方側の縁を外側へ丸く土手状に膨らませて形成し、この縁の上下端に約10ミリ長さの取付軸を形設し、この取付軸に隣接して、フレーム枠の内・外両側に磁石を設け、この取付軸側と反対側の長手枠において、ドアー側に対面する面に直行的に上下全域にモヘアを形設し、網戸の下端で床に対面する面全域にモヘアを形設し、網戸とは別に、ドアー取付枠のドアー開閉側の垂直枠の外側において、約2.5センチメートル幅の網戸取付台を縦一杯に設置し、その上下端に取付軸受けを設け、この取付軸受けに隣接して、鉄片により回動ストッパーを設け、この取付軸受けの受け口からフレーム枠の取付軸を嵌めこんで、網戸は凡そ90度の範囲で自在に回動することができ、ドアー取付枠の上部水平枠の外側に、ドアー固定側から徐々に先広がりに伸びて、ドアーの開きによって生じる上方の隙間を塞ぐ庇を設け、庇の下側の外側縁と、その少し内側に複数筋状にモヘアを形設したことを特徴とする玄関ドアー用網戸。  It is a vertically long rectangular screen door made of a material such as aluminum or plastic resin that is attached in a half-open state with a crime prevention chain attached to the entrance door of the hinged door type, and one of the long frames in the frame frame on the four sides of the screen door The edge of the side is rounded outward and formed into a bank-like shape, and a mounting shaft approximately 10 mm long is formed at the upper and lower ends of this edge, adjacent to this mounting shaft, on both inside and outside of the frame A magnet is provided, and in the longitudinal frame opposite to the mounting shaft side, mohair is formed in the entire upper and lower areas perpendicular to the surface facing the door side, and mohair is formed in the entire area facing the floor at the lower end of the screen door. Aside from the screen door, a screen door mounting base with a width of about 2.5 cm is installed vertically outside the vertical frame on the door opening and closing side of the door mounting frame, and mounting bearings are provided at the upper and lower ends thereof. Adjacent to the bearing A stopper is provided, and the frame frame mounting shaft is fitted from the mounting bearing receptacle, so that the screen door can be freely rotated within a range of approximately 90 degrees. The door is fixed to the outside of the upper horizontal frame of the door mounting frame. It is characterized by a heel that extends gradually from the side and closes the upper gap caused by the opening of the door, and the outer edge on the lower side of the heel and a plurality of streaks on the inside. A screen door for the entrance door. 上記第一の解決手段において、網戸の四辺のフレーム枠の内、長手枠の一方側の縁を網戸取付台と一体成型的一連続的に形設し、両者の直行的交差部の厚さを薄くして蝶番の如き機能をもたせることで、この長手枠が網戸取付台を中心として、凡そ90度の範囲で回動することができるように形成し、回動ストッパーと共にドアー取付枠のドアー開閉側の垂直枠の外側に設置したことを特徴とする請求項1における玄関ドアー用網戸。  In the first solution, the edge of one side of the longitudinal frame of the frame frame on the four sides of the screen door is formed integrally with the screen door mounting base in a continuous manner, and the thickness of the perpendicular intersection between the two is set. By making it thin and having a function like a hinge, this long frame is formed so that it can rotate in the range of about 90 degrees around the screen door mounting base, and the door opening and closing of the door mounting frame together with the rotation stopper 2. The entrance door screen door according to claim 1, wherein the door door is installed outside the vertical frame on the side. 巾が異なる2つの網戸を設け、広巾網戸と小巾網戸とし、広巾網戸の四辺のフレーム枠の内、長手方向のフレーム枠に、枠と平行に広巾網戸の溝を形成し、小巾網戸の四辺のフレーム枠の内、長手方向のフレーム枠に、枠と平行に小巾網戸の溝を形成し、広巾網戸の溝に小巾網戸の溝の縁を差し込み、小巾網戸の溝に広巾網戸の溝の縁を差し込み組み付けると、広巾網戸と小巾網戸は自由に摺動でき、更に小巾網戸のフレーム枠の上端に磁石を設け、庇については第一の解決手段と同じにしたことを特徴とする請求項1又請求項2における玄関ドアー用網戸。  Two screen doors with different widths are provided, a wide screen door and a small width screen door. Among the four side frame frames of the wide screen door, a groove of the wide screen door is formed in the longitudinal frame frame in parallel with the frame. Of the four sides of the frame frame, a narrow screen door groove is formed in the longitudinal frame frame in parallel with the frame, and the edge of the narrow screen door groove is inserted into the wide screen door groove, and the wide screen door is inserted into the narrow screen door groove. If the edge of the groove is inserted and assembled, the wide screen door and the small screen door can slide freely, and a magnet is provided at the upper end of the frame frame of the narrow screen door, and the heel is the same as the first solution The screen door for an entrance door according to claim 1 or 2, characterized by the above. 上記第一及び第二の解決手段において、ドアー取付枠の開閉側の垂直枠の室外側に近接して、床と天井の間に伸縮式突っ張りポールを立て、この伸縮式突っ張りポールに網戸取付台を設置したことを特徴とする請求項1又請求項2又請求項3における玄関ドアー用網戸。  In the first and second solutions described above, a telescopic tension pole is raised between the floor and the ceiling in the vicinity of the outdoor side of the vertical frame on the opening and closing side of the door mounting frame, and the screen door mounting base is attached to the telescopic tension pole. The entrance door screen door according to claim 1, wherein the door door is provided. 上記第四の解決手段において、ドアー取付枠の開閉側の室内側の垂直枠に近接して、床と天井の間に伸縮式突っ張りポールを立て、網戸の形を室内側のドアーノブを覆い隠す様に湾曲させ、網戸の先端、上端、下端にモヘアを形設し、網戸取付台を伸縮式突っ張りポールに設置するか、又は、ドアー取付枠の開閉側の室内側の垂直枠に直接設置したことを特徴とする請求項1又請求項2又請求項3又請求項4における玄関ドアー用網戸。  In the fourth solution, in the vicinity of the indoor vertical frame on the open / close side of the door mounting frame, a telescopic tension pole is set up between the floor and the ceiling so that the screen door is covered with the indoor door knob. The screen door is bent, the mohair is formed at the top, top, and bottom of the screen door, and the screen door mount is installed on the telescopic tension pole, or directly installed on the indoor vertical frame on the door opening and closing side of the door mounting frame. A screen door for an entrance door according to claim 1, claim 2, claim 3 or claim 4. 上記第二の解決手段において、網戸の長手枠と網戸取付台との交差部の一か所以上にバネを形設し、網戸取付台に近い長手枠をドアー取付枠方向側に約120度に曲げ、先端、下端にモヘアを形設し、開閉側のドアーの先端より少し戻した位置のドアー正面に網戸取付台を設置したことを特徴とする請求項1又請求項2又請求項3又請求項4又請求項5における玄関ドアー用網戸。  In the second solution described above, a spring is formed at one or more intersections between the screen frame's longitudinal frame and the screen door mount, and the longitudinal frame close to the screen door mount is set to about 120 degrees toward the door mount frame. 3. A screen door mount is installed in front of the door at a position slightly bent back from the front end of the door on the opening and closing side. The entrance door screen door according to claim 4 or 5. 網戸のフレーム枠に薄く柔軟な樹脂を用い、四辺のフレーム枠の内、長手枠の一方側の縁にハンドルと磁石を設け、これとは反対側の長手枠を回転軸をもったドラムの表面に取り付け、網の出入り口をもった縦細長四角形状の筐体の中心付近に設置し、ドラムの回転軸受に隣接してゼンマイバネを形設し、ゼンマイバネの内端を回転軸受に固定し、ゼンマイバネの端末部分を回転リングに固定し、回転リングをドラムと連結し、巻尺の様に網を巻き取り・巻き戻し、このような筐体をドアー取付枠の開閉側の垂直枠の室内側に磁石や両面テープ等で取り付け、上記第一の解決手段と同様に庇を設けても、上記第一及び第二の解決手段と同様の効果が得られ、ドアー取付枠の開閉側の垂直枠の室内側に近接して、床と天井の間に伸縮式突っ張りポールを立て、筐体を取り付けたことを特徴とする請求項1又請求項2又請求項3又請求項4又請求項5又請求項6における玄関ドアー用網戸。  The surface of the drum with a rotating shaft on the opposite side of the long frame, using a thin and flexible resin for the frame frame of the screen door, with a handle and a magnet on the edge of one side of the long frame. Installed near the center of a vertically long rectangular housing with a mesh doorway, a spring spring is formed adjacent to the rotary bearing of the drum, and the inner end of the spring is fixed to the rotary bearing. The terminal part is fixed to the rotating ring, the rotating ring is connected to the drum, the net is wound up and rewound like a tape measure, and such a housing is placed on the indoor side of the vertical frame on the opening and closing side of the door mounting frame. Even if it is attached with a double-sided tape and the like is provided in the same manner as the first solving means, the same effect as the first and second solving means can be obtained, and the indoor side of the vertical frame on the opening and closing side of the door mounting frame Telescopic stretch between floor and ceiling close to Upright Lumpur, claim 1 also claim 2 also claim 3 also claim 4 also claim 5 also screens for entrance door in claim 6, characterized in that mounted a housing.
JP2015031078A 2015-02-02 2015-02-02 Window screen for entrance door Pending JP2016142124A (en)

Priority Applications (1)

Application Number Priority Date Filing Date Title
JP2015031078A JP2016142124A (en) 2015-02-02 2015-02-02 Window screen for entrance door

Applications Claiming Priority (1)

Application Number Priority Date Filing Date Title
JP2015031078A JP2016142124A (en) 2015-02-02 2015-02-02 Window screen for entrance door

Publications (1)

Publication Number Publication Date
JP2016142124A true JP2016142124A (en) 2016-08-08

Family

ID=56568462

Family Applications (1)

Application Number Title Priority Date Filing Date
JP2015031078A Pending JP2016142124A (en) 2015-02-02 2015-02-02 Window screen for entrance door

Country Status (1)

Country Link
JP (1) JP2016142124A (en)

Cited By (2)

* Cited by examiner, † Cited by third party
Publication number Priority date Publication date Assignee Title
CN110593747A (en) * 2019-10-22 2019-12-20 陈兴华 A simple casement screen window
JP2022078580A (en) * 2020-11-13 2022-05-25 文化シヤッター株式会社 Opening/closing unit and opening/closing unit set

Cited By (3)

* Cited by examiner, † Cited by third party
Publication number Priority date Publication date Assignee Title
CN110593747A (en) * 2019-10-22 2019-12-20 陈兴华 A simple casement screen window
JP2022078580A (en) * 2020-11-13 2022-05-25 文化シヤッター株式会社 Opening/closing unit and opening/closing unit set
JP7504776B2 (en) 2020-11-13 2024-06-24 文化シヤッター株式会社 Opening and closing body units and opening and closing body unit sets

Similar Documents

Publication Publication Date Title
KR102733361B1 (en) Window having a insect screen integrated glass guardrail
EP2236731B1 (en) Covering arrangement for architectural openings
KR200462728Y1 (en) A door for mothproof and security
JP2016142124A (en) Window screen for entrance door
KR102198100B1 (en) Removable Safety Insect Screen
KR200251259Y1 (en) Door assembly for security
KR102268230B1 (en) building safety window frame
JP6456070B2 (en) Waterproof device for opening
KR100983315B1 (en) Apparatus for screening insects
KR100433347B1 (en) a net supporting structure for a auto-rolling anti-insect net
JP3244403U (en) External insect repellent window screen
JP6434377B2 (en) Opening device
KR200206313Y1 (en) Opening and shutting window have prevention grille of crimes and prevention net of a harmful insect
JPH026234Y2 (en)
KR20160000174U (en) Insect net for window gap
JP6954518B1 (en) Retrofit sash
JPH10299349A (en) Sash device with shutter
KR200258023Y1 (en) Casement window
KR102235129B1 (en) A window with a crime prevention bar and an insect screen
JPH044479Y2 (en)
EP3875726A1 (en) Insect screen handlebar with disappearing retractable brush and insect screen with handlebar integrating a disappearing retractable brush
KR200367111Y1 (en) Integrated security and insect repellent device for casement door
JP6472720B2 (en) Opening device
KR20040018007A (en) Mosquito net for door
KR200254634Y1 (en) Door having auxiliary door for a natural draft and ventilation