JP2016135497A - 押出型材搬送装置、押出設備および押出型材の搬送方法 - Google Patents
押出型材搬送装置、押出設備および押出型材の搬送方法 Download PDFInfo
- Publication number
- JP2016135497A JP2016135497A JP2015011154A JP2015011154A JP2016135497A JP 2016135497 A JP2016135497 A JP 2016135497A JP 2015011154 A JP2015011154 A JP 2015011154A JP 2015011154 A JP2015011154 A JP 2015011154A JP 2016135497 A JP2016135497 A JP 2016135497A
- Authority
- JP
- Japan
- Prior art keywords
- mold material
- extrusion mold
- extrusion
- roller
- receiving roller
- Prior art date
- Legal status (The legal status is an assumption and is not a legal conclusion. Google has not performed a legal analysis and makes no representation as to the accuracy of the status listed.)
- Pending
Links
- 239000000463 material Substances 0.000 title claims abstract description 260
- 238000000034 method Methods 0.000 title claims description 10
- 238000001125 extrusion Methods 0.000 claims abstract description 319
- 238000003825 pressing Methods 0.000 claims abstract description 35
- 238000011144 upstream manufacturing Methods 0.000 claims abstract description 17
- 230000000452 restraining effect Effects 0.000 claims description 11
- 230000001788 irregular Effects 0.000 claims description 9
- 230000002093 peripheral effect Effects 0.000 claims description 3
- 239000012778 molding material Substances 0.000 claims 1
- 238000004519 manufacturing process Methods 0.000 abstract description 8
- 238000005452 bending Methods 0.000 abstract description 7
- 230000000694 effects Effects 0.000 description 7
- 235000012438 extruded product Nutrition 0.000 description 5
- 238000010586 diagram Methods 0.000 description 4
- 230000007547 defect Effects 0.000 description 3
- 238000005096 rolling process Methods 0.000 description 3
- 229910000838 Al alloy Inorganic materials 0.000 description 1
- XAGFODPZIPBFFR-UHFFFAOYSA-N aluminium Chemical compound [Al] XAGFODPZIPBFFR-UHFFFAOYSA-N 0.000 description 1
- 229910052782 aluminium Inorganic materials 0.000 description 1
- 238000001816 cooling Methods 0.000 description 1
- 238000009434 installation Methods 0.000 description 1
Images
Landscapes
- Extrusion Of Metal (AREA)
Abstract
【課題】設備の大型化、コストの削減、生産効率の向上、歩留まりの向上および押出型材の曲がり防止を図ることができる押出型材搬送装置を提供する。
【解決手段】本発明は、押出機1から押し出される押出型材Wを搬送するための押出型材搬送装置を対象とする。押出ラインXに沿って間隔をおいて設けられた複数のV受けローラ支持機31,32と、押出ラインXの上側において、1番目のV受けローラ支持機31に対応する位置、またはその位置よりも上流側の位置に設けられた上押え機5とを備える。V受けローラ支持機31,32は、V字状に配置され、かつ押出型材Wの両側部外面における下部をそれぞれ斜め下側から支持する一対の支持ローラ42a,42bを備える。上押え機5は、押出型材Wの先端部を上側から拘束して、押出型材Wの上反りを防止するための上押えローラ52を備える。
【選択図】図1
【解決手段】本発明は、押出機1から押し出される押出型材Wを搬送するための押出型材搬送装置を対象とする。押出ラインXに沿って間隔をおいて設けられた複数のV受けローラ支持機31,32と、押出ラインXの上側において、1番目のV受けローラ支持機31に対応する位置、またはその位置よりも上流側の位置に設けられた上押え機5とを備える。V受けローラ支持機31,32は、V字状に配置され、かつ押出型材Wの両側部外面における下部をそれぞれ斜め下側から支持する一対の支持ローラ42a,42bを備える。上押え機5は、押出型材Wの先端部を上側から拘束して、押出型材Wの上反りを防止するための上押えローラ52を備える。
【選択図】図1
Description
この発明は、押出機から押し出された押出型材を下流側に搬送する際に用いられる押出型材搬送装置、押出設備および押出型材の搬送方法に関する。
従来、押出機から押し出された押出型材(ワーク)を下流側に搬送するための押出型材搬送装置としては、特許文献1に示すようにプラー装置と、平面型のフラットローラ支持機とを備えるものが周知である。
プラー装置は、押出機から押し出される押出型材の先端部を把持するクランプを備え、そのクランプを介して押出型材を押出方向に牽引するものである。さらにフラットローラ支持機は、押出方向に沿って並列に配置される多数の支持ローラを備え、プラー装置によって牽引される押出型材を下方から支持するものである。
しかしながら、このようなプラー式の搬送装置では、牽引力としての駆動力を発生させるプラー装置が必要であるため、設備の大型化およびコストの増大を招くおそれがあった。またプラー式の搬送装置では、先行の押出型材を搬送した後、後続の押出型材を搬送する前に、クランプを押出方向の下流側から上流側の初期位置に戻す必要がある。そのため、その戻し動作の間、押出加工を中断する必要があり、サイクルタイムが長くなり生産効率の低下を来すおそれがあった。さらに押出型材におけるクランプによって把持された部分は、切除する必要があるため、材料歩留まりも悪化するおそれがあった。
なおプラー装置を用いずにフラットローラ支持機だけで押出型材を搬送する場合には、押出型材が直進せず、所定の押出ラインから逸脱してしまうことがあった。特に異形断面の押出型材を生産するような場合には、直進性が一層悪化して、有害な曲がり変形等が発生するおそれがある。
一方、特許文献2には、プラー装置を用いない、いわゆるプラーレス式の押出型材搬送装置が提案されている。この搬送装置は、一対の支持ローラがV字状に配置されたV受けローラ支持機が、押出方向に沿って所定間隔おきに複数配置されている。そして一対の支持ローラによって、押出型材における両側部外面の下部をそれぞれ斜め下側から支持しつつ、押出型材を下流側に搬送するようにしている。
このV受けローラ支持機において、押出型材は一対の支持ローラによって下方向および左右両側方向から位置決めされるため、押出型材は所定の押出ラインに沿って直進し、有害な曲がり変形等を防止することができる。
しかしながら、上記特許文献2に示す押出型材搬送装置においては、押出機から押し出される押出型材が特に異形断面のような場合には、押出機から押し出された押出型材の先端部が上方に反り上がるように曲がり変形してしまうことがあり、押出型材にねじれや反りの等の有害な変形が生じ、押出製品の品質を低下させるおそれがあった。
この発明は、上記の課題に鑑みてなされたものであり、設備の大型化、コストの削減、生産効率の向上および歩留まりの向上を図りつつ、押出型材にねじれや反り等の有害な変形が生じるのを防止することができる押出型材搬送装置、押出設備および押出型材の搬送方法を提供することを目的とする。
上記目的を達成するため、本発明は以下の構成を要旨とするものである。
[1]押出機から押し出される押出型材を押出ラインに沿って搬送するための押出型材搬送装置であって、
押出ラインに沿って間隔をおいて設けられた複数のV受けローラ支持機と、
複数のV受けローラ支持機のうち押出方向に対し最も上流側に配置されたV受けローラ支持機を1番目のV受けローラ支持機としたとき、押出ラインの上側において、1番目のV受けローラ支持機に対応する位置、またはその位置よりも上流側の位置に設けられた上押え機とを備え、
V受けローラ支持機は、V字状に配置され、かつ押出型材の両側部外面における下部をそれぞれ斜め下側から支持する一対の支持ローラを備え、
上押え機は、押出型材の先端部を上側から拘束して、押出型材の上反りを防止するための上押えローラを備えていることを特徴とする押出型材搬送装置。
押出ラインに沿って間隔をおいて設けられた複数のV受けローラ支持機と、
複数のV受けローラ支持機のうち押出方向に対し最も上流側に配置されたV受けローラ支持機を1番目のV受けローラ支持機としたとき、押出ラインの上側において、1番目のV受けローラ支持機に対応する位置、またはその位置よりも上流側の位置に設けられた上押え機とを備え、
V受けローラ支持機は、V字状に配置され、かつ押出型材の両側部外面における下部をそれぞれ斜め下側から支持する一対の支持ローラを備え、
上押え機は、押出型材の先端部を上側から拘束して、押出型材の上反りを防止するための上押えローラを備えていることを特徴とする押出型材搬送装置。
[2]上押えローラは、押出型材を拘束する降下状態と、押出型材から上方へ退避して押出型材に対する拘束を解除する上昇状態との間で昇降自在に配置され、
押出型材の先端縁が上昇状態の上押えローラの位置を通過した後、上押えローラが降下して、押出型材に対する拘束を開始するように構成されている前項1に記載の押出型材搬送装置。
押出型材の先端縁が上昇状態の上押えローラの位置を通過した後、上押えローラが降下して、押出型材に対する拘束を開始するように構成されている前項1に記載の押出型材搬送装置。
[3]上押えローラは、押出型材を拘束する降下状態と、押出型材から上方へ退避して押出型材に対する拘束を解除する上昇状態との間で昇降自在に配置され、
上押えローラによって拘束された押出型材の先端縁が1番目のV受けローラ支持機に到達した後、上押えローラが上昇して、押出型材に対する拘束が終了されるように構成されている前項1または2に記載の押出型材搬送装置。
上押えローラによって拘束された押出型材の先端縁が1番目のV受けローラ支持機に到達した後、上押えローラが上昇して、押出型材に対する拘束が終了されるように構成されている前項1または2に記載の押出型材搬送装置。
[4]上押えローラは、押出型材を拘束する降下状態と、押出型材から上方へ退避して押出型材に対する拘束を解除する上昇状態との間で昇降自在に配置され、
上押えローラにより押出型材を拘束する範囲が、押出型材の先端縁から5mの範囲内に調整されている前項1〜3のいずれか1項に記載の押出型材搬送装置。
上押えローラにより押出型材を拘束する範囲が、押出型材の先端縁から5mの範囲内に調整されている前項1〜3のいずれか1項に記載の押出型材搬送装置。
[5]上押えローラは、押出機と1番目のV受けローラ支持機との中間点よりも上流側に配置されている前項1〜4のいずれか1項に記載の押出型材搬送装置。
[6]上押え機の近傍に設けられた横押え機をさらに備え、
前記横押え機は、押出型材の先端部を両側方から拘束して、両側方向の反りを防止するための一対の横押えローラを備えている前項1〜5のいずれか1項に記載の押出型材搬送装置。
前記横押え機は、押出型材の先端部を両側方から拘束して、両側方向の反りを防止するための一対の横押えローラを備えている前項1〜5のいずれか1項に記載の押出型材搬送装置。
[7]一対の横押えローラは、押出型材を拘束する接触状態と、押出型材から離間して両側方へ退避して押出型材に対する拘束を解除する退避状態との間で水平移動自在に配置されている前項6に記載の押出型材搬送装置。
[8]上押えローラは、逆V字状に配置され、かつ押出型材の両側部外面における上部をそれぞれ斜め上側から拘束する一対の上押えローラによって構成されている前項1〜7のいずれか1項に記載の押出型材搬送装置。
[9]押出型材は異形断面形状を有している前項1〜8のいずれか1項に記載の押出型材搬送装置。
[10]押出型材は外周長さが150mm以内に調整されている前項1〜9のいずれか1項に記載の押出型材搬送装置。
[11]押出型材を押出加工する押出機と、その押出機から押し出された押出型材を搬送する押出型材搬送装置とを備え、
前記押出型材搬送装置が、前項1〜10のいずれか1項に記載の押出型材搬送装置によって構成されていることを特徴とする押出設備。
前記押出型材搬送装置が、前項1〜10のいずれか1項に記載の押出型材搬送装置によって構成されていることを特徴とする押出設備。
[12]押出機から押し出される押出型材を押出ラインに沿って間隔をおいて設けられた複数のV受けローラ支持機を備え、V受けローラ支持機は、V字状に配置され、かつ押出型材の両側部外面における下部をそれぞれ斜め下側から支持する一対の支持ローラを備えた押出型材搬送装置によって押出型材を押出ラインに沿って搬送するようにした押出型材の搬送方法であって、
複数のV受けローラ支持機のうち押出方向に対し最も上流側に配置されたV受けローラ支持機を1番目のV受けローラ支持機としたとき、押出ラインの上側において、1番目のV受けローラ支持機に対応する位置、またはその位置よりも上流側の位置において、上押えローラによって、押出型材の先端部を上側から拘束して、押出型材の上反りを防止するようにしたことを特徴とする押出型材の搬送方法。
複数のV受けローラ支持機のうち押出方向に対し最も上流側に配置されたV受けローラ支持機を1番目のV受けローラ支持機としたとき、押出ラインの上側において、1番目のV受けローラ支持機に対応する位置、またはその位置よりも上流側の位置において、上押えローラによって、押出型材の先端部を上側から拘束して、押出型材の上反りを防止するようにしたことを特徴とする押出型材の搬送方法。
発明[1]の押出型材搬送装置によれば、押出機から押し出される押出型材は、上押えローラによって上側から拘束されるため、上反りを確実に防止できるとともに、V字状に配置された一対の支持ローラによって下側および左右両側の位置決めが図られるため、押出型材に有害な曲がり変形が発生するのを確実に防止することができる。また本発明の搬送装置によれば、プラーレス式であるため、プラー装置を必要としない分、設備の小型化およびコストの削減を図ることができる。さらに本発明の搬送装置によれば、押出型材にプラー装置によるクランプ痕が発生しないため、クランプ痕の部分を切除する必要もなく、材料歩留まりを向上させることができるとともに、クランプを必要としないので、先行の押出型材を搬送した後、後続の押出型材を搬送する際に、クランプを初期状態に戻す必要もなく、その分、サイクルタイムを短くできて、生産効率を向上させることができる。
発明[2]の押出型材搬送装置によれば、上記の効果をより確実に得ることができる。
発明[3][4]の押出型材搬送装置によれば、押出型材の搬送中に上押えローラを初期状態に戻すことができ、サイクルタイムを一層短縮できて、生産効率を一層向上させることができる。
発明[5]の押出型材搬送装置によれば、押出型材に上反りが生じるのをより確実に防止することができる。
発明[6]〜[8]の押出型材搬送装置によれば、押出型材に横反りが生じるのも確実に防止することができる。
発明[9][10]の押出型材搬送装置によれば、上記の効果をより一層確実に得ることができる。
発明[11]によれば、上記と同様の効果を奏する押出設備を提供することができる。
発明[12]によれば、上記と同様の効果を奏する押出型材の搬送方法を提供することができる。
<第1実施形態>
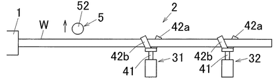
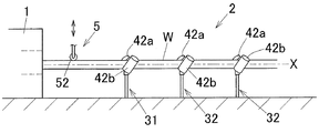
図1はこの発明の第1実施形態である押出型材搬送装置が適用された押出設備を示す概略側面図、図2はその押出設備の正面断面図である。両図に示すようにこの押出設備は、押出機1と、搬送装置(押出型材搬送装置)2とを備えている。
図1はこの発明の第1実施形態である押出型材搬送装置が適用された押出設備を示す概略側面図、図2はその押出設備の正面断面図である。両図に示すようにこの押出設備は、押出機1と、搬送装置(押出型材搬送装置)2とを備えている。
押出機1は、アルミニウムまたはアルミニウム合金製の押出型材Wを押出ラインXに沿って押出加工する。本実施形態において押出機1は、異形押出を行うものであって、図2に示すように、押出型材Wは異形の断面形状を有している。なお本実施形態においては、この押出型材Wの外周長さが150mmに設定されている。
搬送装置2は、押出機1から押し出される押出型材Wを押出ラインXに沿って押出方向に対し下流側に搬送するものであり、複数のV受けローラ支持機31,32と、上押え機5とを備えている。
複数のV受けローラ支持機31,32は、押出方向に沿って適宜間隔をおいて並んで配置されている。本実施形態においては、最も上流側(図1の左側)に配置されるV受けローラ支持機31を、1番目のV受けローラ支持機31と称し、それよりも下流側に配置される全てのV受けローラ支持機32を、2番目以降のV受けローラ支持機32と称している。なお本実施形態においては、2番目以降のV受けローラ支持機32が2つ配置されている場合を例に挙げて説明しているが、本発明において、2番目以降のV受けローラ支持機32の設置数は限定されず、1つであっても3つ以上であっても良い。
各V受けローラ支持機31は、支柱41を備え、その支柱41の上端に、正面視V字状のブラケット44が固定されている。ブラケット44の両側片には、軸心回りに回転自在な一対の支持ローラ42a,42bにおける各ローラ軸43a,43bの下端が取り付けられている。本実施形態では、一対の支持ローラ42a,42bの下端側は押出ラインX上の押出型材Wの下側において近接して配置されるとともに、上端側は押出型材Wの左右両側に離間して配置されており、一対の支持ローラ42a,42bは図2の正面視においてV字状に配置されている。そして一対の支持ローラ42a,42bのうち、一方の支持ローラ42aは、押出ラインXに沿って送給される押出型材Wの一側部(例えば右側部)外面の下部を斜め下側から回転自在に支持できるとともに、他方の支持ローラ42bは、押出型材Wの他側部(例えば左側部)外面の下部を斜め下側から回転自在に支持できるようになっている。つまり押出型材Wは、一対の支持ローラ42a,42bによって下側および左右両側から支持されて、下方および左右両側方向に位置決めが図られるようになっている。
第1実施形態においては、押出型材Wにおける両側下部、つまり一対の支持ローラ42a,42bによって支持される部分(支持部)が平坦面に形成されており、この平坦な支持部が各ローラ42a,42bによって線接触で支持される。このように押出型材Wは支持ローラ42a,42bによって広範囲で支持されるため、安定した状態で支持される。
図1〜図3に示すように上押え機5は、押出機1と1番目のV受けローラ支持機31との間における押出ラインXの上側に配置されている。この上押え機5は、押出ラインXの上方に配置されるローラ軸53を備えている。このローラ軸53は、左右方向に沿って配置されており、つまり押出ラインXに直交し、かつ水平方向に沿って配置されており、そのローラ軸53に上押えローラ52が軸心回りに回転自在に取り付けられている。
さらに上押え機5は、シリンダ等の駆動手段(図示省略)によって上下方向に昇降駆動できるようになっており、降下状態(拘束状態)では押えローラ52が押出ラインX上の押出型材Wの上端部に当接して、押出型材Wを上方から押え付けて拘束することができるともに、上昇状態(拘束解除状態)では押えローラ52が押出型材Wから離間して上方へ退避できるようになっている(図4D参照)。
なお第1実施形態においては、上押え機5の上押えローラ52は、押出機1の吐出口と1番目のV受けローラ支持機31との中間点よりも押出方向に対し上流側(押出機1側)に配置されている。
また本実施形態においては、上押え機5の動作を制御するマイクロコンピュータ等の制御装置(図示省略)や、押出機1から押し出される押出型材Wの位置を検出する位置検出器(図示省略)等を備えており、制御装置は、位置検出器からの情報に基づいて、以下に説明するように上押えローラ52の昇降動作を制御するようになっている。
図4Aに示すように押出開始前の初期状態においては、上押え機5の上押えローラ52が上昇状態で押出ラインXから上方に離間した位置に配置されている。
この状態において押出機1から押出型材Wが押出ラインXに沿って押し出されていき、押出型材Wの先端縁位置が上押えローラ52の位置を通過すると、図4Bに示すように上押えローラ52が降下して押出型材Wの先端部の上側に当接し、上押えローラ52によって押出型材Wが上側から押え付けられる。これにより上押えローラ52による押出型材Wに対する拘束が開始される。
ここで第1実施形態においては、押出機1は異形押出を行うものであるため、押出型材Wの周方向の位置によって、押出圧力や流動特性が異なっている。このため場合によっては、押出機1から押し出される押出型材Wの先端部が上反りするように曲がり変形することがある。そこで本実施形態においては、既述した通り、押出型材Wの先端部を上押えローラ52によって上側から押え付けて拘束しているため、押出型材Wの上反り変形を防止でき、押出ラインXに正確に沿うような直線状に整形される。
こうして押出型材Wは上押えローラ52によって上側から拘束された状態で押し出されていき図4Cに示すように、1番目のV上受けローラ支持機31および2番目以降のV受けローラ支持機32に順次支持されていく。
ここで押出型材Wは上側から拘束された状態で1番目のV受けローラ支持機31に到達するため、押出型材WがV受けローラ支持機31の一対の支持ローラ42a,42bから浮き上がることがなく、支持ローラ42a,42bに確実に接触した状態で支持される。
また押出型材Wは、上押えローラ52によって上方向への位置ずれ(位置決め)が図られる上さらに、押出型材Wは既述したようにその両側外面の下部がV受けローラ支持機31の一対の支持ローラ42a,42bによってそれぞれ支持されて、下方向および左右両側方向の位置決めが図られる。このように押出型材Wは、上押えローラ52および一対の支持ローラ42a,42bによって周囲4方向の全ての位置決めが図られた状態で、搬送されていくため、押出型材Wは搬送ラインXから逸脱することなく真っ直ぐ進行してき、出型材Wに曲がり変形が発生するのを防止することができる。
図4Dに示すように押出型材Wが所定量押し出されて、先端縁が所定位置まで到達すると、上押えローラ52が上昇して押出型材Wから離間して退避する。これにより上押えローラ52による押出型材Wに対する拘束が解除される。
その後、押出型材Wの後端が押出機1から排出されて、1本分の押出型材WがV受けローラ支持機31,32によって下流側に搬送される。
このような動作が繰り返し行われて、多数の押出型材Wが順次製造される。
以上のようにこの第1実施形態における押出設備の搬送装置2においては、押出機1から押し出される押出型材Wは、上押えローラ52および一対の支持ローラ42a,42bによって周囲4方向全ての方向の位置決めが図られた状態で搬送されていく。従って押出型材Wは搬送ラインXに沿って直進するため、押出型材Wに有害な曲がり変形が発生せず、反りやねじれ等の不具合のない高品質の押出製品を得ることができる。
また本実施形態の搬送装置2は、押出型材Wが自力(押出機1の押出力)によってV受けローラ支持機31,32上を進行していくため、プラー装置等によって押出型材Wを牽引する必要がないプラーレス式である。このため本実施形態の搬送装置2は、プラー装置等のような牽引力を付与する装置を設ける必要がなく、その分、設備の小型化およびコストの削減を図ることができる。
さらに第1実施形態の搬送装置2は、押出型材Wを牽引する必要がないため、押出型材Wの先端を牽引のためにプラー装置のクランプで把持する必要もない。このため本実施形態においては、押出型材Wのクランプ痕の付いた部分を切除する必要がなく、材料歩留まりを向上させることができる。
その上さらに本実施形態においては、先行の押出型材Wを搬送した後、後続の押出型材Wを搬送する際に、プラー装置のクランプを初期位置に戻す必要がなく、その分、サイクルタイムを短縮できて、生産効率を向上させることができる。
また第1実施形態において、V受けローラ支持機31,32の支持ローラ42a,42bが押出型材Wに転がり接触するものであるため、摩擦抵抗が非常に小さくなり、押出型材Wは押出機1の押出力だけで確実にV受けローラ支持機31,32上を走行していき、押出型材Wを不具合なく搬送することができる。
さらに支持ローラ42a,42bが押出型材Wに転がり接触するものであるため、押出型材Wの外表面に支持ローラ42a,42bとの摩擦接触による擦り傷や筋傷が形成されるのを防止でき、表面状態が良好な高品質の押出製品を確実に得ることができる。
さらに上押えローラ52も押出型材Wに対し転がり接触するものであるため、押出型材Wの外表面に上押えローラ52との摩擦接触による擦り傷や筋傷が形成されるのを防止でき、より一層高品質の押出製品を得ることができる。
また本実施形態の搬送装置は、既存の搬送装置に上押えローラ52等のコンパクトなローラ部品を取り付けるだけで構築できるため、構造の複雑化およびコストの増大を確実に抑制することができる。
ここで本実施形態においては、上押えローラ52を押出機1と1番目のV受けローラ支持機31との間の中間点よりも上流側に配置しているため、押出型材Wの上反りをより確実に防止することができる。すなわち異形押出では、押出機1から押し出される押出型材Wが早い段階で反りが発生するため、上押えローラ52を押出機1側に近接して配置することによって、押出型材Wの上反りを確実に抑制することができる。
また上押えローラ52を押出機1に近接配置することによって、押出直後の高温の押出型材Wを上押えローラ52によって拘束した状態で冷却できるため、冷却過程での不具合、例えば押出型材Wの曲がりやねじれを効果的に防止することができる。
なお本実施形態において、上押えローラ52は、1番目のV受けローラ支持機31の支持ローラ42a,42bに対応する位置、またはその位置よりも上流側に配置すれば良い。すなわちこの場合には仮に、押し出される押出型材Wが上押えローラ52の手前で上反りしていたとしても、押出型材Wが1番目のV受けローラ支持機31に到達した時点において、押出型材Wを上押えローラ52によって押え付けることができて、V受けローラ支持機31に確実に支持させることができる。つまり押出型材Wの反りを防止しつつ、押出型材WをV受けローラ支持機31によって不具合なく搬送することができる。
また本実施形態においては、上反りが最も発生し易い押出型材Wの先端部を上押えローラ52によって拘束するものであるため、上反りを効果的に抑制することができる。
また押出型材Wは先端部に上反りが発生し易いため、中間部や後端部を上押えローラ52によって拘束する必要はない。従って、押出型材Wの先端部が上押えローラ52の位置を通過した時点で、上押えローラ52を上昇させて押出型材Wへの拘束を終了するのが好ましい。すなわちこの場合には、上押えローラ52の押出型材Wに対する接触長さを必要最小限にすることができるため、上押えローラ52の接触に起因する押出型材Wの傷の発生を、より一層抑制することができる。
しかも本実施形態においては、上押えローラ52を押出型材Wの全域が通過する前に上昇させて初期状態に戻すようにしているため、後続の押出型材Wの押出が開始される時点では、上押えローラ52は既に初期状態に配置されている。つまり上押えローラ52を初期状態に戻す動作を待たずに、次の押出型材Wの押出を直ちに開始することができ、一層サイクルタイムを短くでき、生産効率を一層向上させることができる。
例えば本実施形態においては、上押えローラ52により押出型材Wを拘束する範囲を、押出型材Wの先端縁から5m以内の範囲に調整して、上押えローラ52による押出型材Wの拘束位置が、押出型材Wの先端縁から5mを超えないようにするのが好ましい。
なお本実施形態においては、少なくとも押出型材Wが1番目のV受けローラ支持機31に到達する時点まで、上押えローラ52によって押出型材Wを拘束しておくことにより、押出型材WをV受けローラ支持機31によって確実に支持させることができ、押出型材Wをその上反りを防止しつつ不具合なく搬送することができる。
ところで、上記第1実施形態においては、異形断面の押出型材Wを押し出して搬送するようにしているが、それだけに限られず、本発明においては、断面形状が異形(異形断面)でない押出型材Wを押し出して搬送するようにしても良い。例えば図5に示すように、真円形の断面形状を有する押出型材Wを搬送したり、楕円形、正方形、長方形、ひし形等の異形断面でない押出型材Wを搬送するようにしても良い。
ここで本実施形態において、異形断面とは、上下および左右の少なくともいずれか一方が非対称形状のもの、すなわち断面形状が左右非対称形状かつ上下対称形状のもの、断面形状が左右対称形状かつ上下非対称形状のもの、断面形状が左右非対称形状かつ上下非対称形状のものである。
参考までに上記第1実施形態の押出型材Wは、断面形状が左右および上下共に非対称形状の異形断面である。なお以下の第2および第3実施形態の押出型材Wは、断面形状が左右対称形状かつ上下非対称形状である。
<第2実施形態>
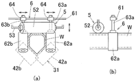
図6(a)はこの発明の第2実施形態である押出型材搬送装置の上押え機周辺を示す正面図(背面図)、図6(b)は側面図である。両図に示すように、この第2実施形態の搬送装置においては上押え機5の近傍に横押え機6が配置されている。
図6(a)はこの発明の第2実施形態である押出型材搬送装置の上押え機周辺を示す正面図(背面図)、図6(b)は側面図である。両図に示すように、この第2実施形態の搬送装置においては上押え機5の近傍に横押え機6が配置されている。
横押え機6は、上押え機5の例えば上流側近傍に設けられている。この横押え機6は、搬送ライン上の押出型材Wの左右両側に配置される一対の横押えローラ62a,62bを備え、この一対の横押えローラ62a,62bによって押出型材Wを両側から押え付けて拘束することにより、押出型材Wの左右両側方向の反りを防止するようにしている。
すなわち横押え機6は、押出型材Wの上方を横切るようにして、押出ラインに対し直交しかつ水平に配置される支持レール61を備え、その支持レール61に一対のスライダ64,64がレール長さ方向(左右両側方向)に沿ってスライド自在に取り付けられている。そして各スライダ64,64に各横押えローラ62a,62bにおけるローラ軸63a,63bの上端が固定されている。各ローラ軸63a,63bは垂直に配置されており、この垂直軸回りに横押えローラ62a,62bが回転できるようになっている。
スライダ64,64は図示しないスライド駆動手段によって、支持レール61上をスライド移動できるようになっており、そのスライド動作によって、一対の横押えローラ62a,62bが押出ライン上の押出型材Wの両側部に接触して押出型材Wを左右両側から拘束する接触状態(拘束状態)と、押出型材Wから両側方に離間して退避する横退避状態(拘束解除状態)との間で移動できるようになっている。
なおこの第2実施形態においては図6(a)に示すように、押出型材Wを上押えローラ52および一対の横押えローラ62a,62によって拘束した状態では、ローラ52,62a,62bは、下向きに開放されたコ字状あるいは下向きに開放されたCチャンネル状に配置されるようになっている。
この第2実施形態の搬送装置において、他の構成は上記実施形態と実質的に同様であるため、同一または相当部分に同一符号を付して重複説明は省略する。
第2実施形態の搬送装置における初期状態は、一対の横押えローラ62a,62bが両側方に退避した状態であり、上押えローラ52は上記第1実施形態と同様で上方に退避した状態である。この状態において押出機から押し出された押出型材Wの先端縁が押えローラ52,62a,62bの位置を通過した後、一対の横押えローラ62a,62bが押出型材Wに近接して押出型材Wを両側から拘束するとともに、上押えローラ52が降下して押出型材Wを上側から拘束する。
こうして押出型材Wは各ローラ52,62a,62bによって上方および両側方から拘束された状態で押し出されていき、上記実施形態と同様に1番目のV上受けローラ支持機および2番目以降のV受けローラ支持機に順次支持されていく。
一方、押出型材Wが所定量押し出されると、上押えローラ52が上昇して退避するとともに、一対の横押えローラ62a,62bが両側へ移動して退避して、各ローラ52,62a,62bによる押出型材Wに対する拘束を解除する。
なお、この第2実施形態において、上押えローラ52の昇降動作のタイミングは上記第1実施形態と実質的に同様に行えば良い。さらに一対の横押えローラ62a,62bのスライド動作のタイミングは、上押えローラ52の昇降動作のタイミングとほぼ同期させて行うのが好ましいが、多少、時間をずらせて行うようにしても良い。
第2実施形態の搬送装置においても、上記第1実施形態と同様の効果を得ることができる。
その上さらに第2実施形態においては、上押えローラ52に加えて一対の横押えローラ62a,62bによっても、押し出される押出型材Wの先端部を両側から拘束するようにしているため、押出型材Wの上方向への反り防止と、両側方向への反り防止とを確実に行うことができる。従って押出型材Wの真直度をより一層向上させることができ、反りやねじれ等の不具合のない高品質の押出製品をより確実に得ることができる。
<第3実施形態>
図7はこの発明の第3実施形態である押出型材搬送装置の上押え機周辺を示す正面図である。同図に示すように、この第3実施形態の搬送装置における上押え機5は、搬送ラインの上方に設けられ、かつ図示しない駆動手段によって上下方向に昇降移動自在な支持部51を備え、この支持部51に、正面視逆V字状のブラケット54が固定されている。このブラケット54の両側片には、軸心回りに回転自在な一対の上押えローラ52a,52bにおける各ローラ軸53a,53bの上端が取り付けられている。この第3実施形態において、一対の上押えローラ52a,52bの上端側は近接して配置されるとともに、下端側は左右両側に離間して配置されており、一対の上押えローラ52a、52bは逆V字状に配置されている。
図7はこの発明の第3実施形態である押出型材搬送装置の上押え機周辺を示す正面図である。同図に示すように、この第3実施形態の搬送装置における上押え機5は、搬送ラインの上方に設けられ、かつ図示しない駆動手段によって上下方向に昇降移動自在な支持部51を備え、この支持部51に、正面視逆V字状のブラケット54が固定されている。このブラケット54の両側片には、軸心回りに回転自在な一対の上押えローラ52a,52bにおける各ローラ軸53a,53bの上端が取り付けられている。この第3実施形態において、一対の上押えローラ52a,52bの上端側は近接して配置されるとともに、下端側は左右両側に離間して配置されており、一対の上押えローラ52a、52bは逆V字状に配置されている。
そして支持部51が昇降することによって、一対の上押えローラ52a,52bが搬送ライン上の押出型材Wを上側から押し付けて拘束した効果状態(拘束状態)と、押出型材Wから離間して上方に退避した上昇状態(拘束解除状態)との間で昇降できるようになっている。また一対の押えローラ52a,52bは逆V字状に配置されているため、降下状態においては、一対の押えローラ52a,52bのうち、一方の押えローラ52aは、押出型材Wの一側部(例えば右側部)外面の上部を斜め上側から拘束するとともに、他方の押えローラ52bは、押出型材Wの他側部(例えば左側部)外面の上部を斜め上側から拘束するようになっている。つまり押出型材Wは、一対の押えローラ52a,52bによって上側および左右両側から拘束されることとなり、上方および左右両側方向への反りが防止されるようになっている。
この第3実施形態の搬送装置において、他の構成は上記第1実施形態と実質的に同様であるため、同一または相当部分に同一符号を付して重複説明は省略する。さらにこの第3実施形態の搬送装置の動作も上記第1実施形態と同様である。
この第3実施形態の搬送装置は、上記第1実施形態と同様の効果を得ることができる上さらに、一対の上押えローラ52a,52bによって、押出型材Wの上方向への反り防止と、両側方向への反り防止とを確実に行うことができ、反りやねじれ等の不具合のない高品質の押出製品をより確実に得ることができる。
さらに本実施形態の搬送装置によれば、上押えローラ52a,52bの設置数が2つだけで、上方および左右方向の三方向の反りを防止できるため、例えば上記第2実施形態のように、押えローラの設置数を3つ設ける場合に比べて、ローラ数を少なくできる。従って第3実施形態の搬送装置においては、部品点数を減少させることができ、構造の簡素化およびコストの削減をより一層確実に行うことができる。
この発明の押出型材搬送装置は、押出型材を成形する押出機と共に押出設備として好適に用いることができる。
1:押出機
2:押出型材搬送装置
31:1番目のV受けローラ支持機
32:2番目以降のV受けローラ支持機
42a,42b:一対の支持ローラ
5:上押え機
52:上押えローラ
52a,52b:上押えローラ
6:横押え機
62a,62b:横押えローラ
W:押出型材
X:押出ライン
2:押出型材搬送装置
31:1番目のV受けローラ支持機
32:2番目以降のV受けローラ支持機
42a,42b:一対の支持ローラ
5:上押え機
52:上押えローラ
52a,52b:上押えローラ
6:横押え機
62a,62b:横押えローラ
W:押出型材
X:押出ライン
Claims (12)
- 押出機から押し出される押出型材を押出ラインに沿って搬送するための押出型材搬送装置であって、
押出ラインに沿って間隔をおいて設けられた複数のV受けローラ支持機と、
複数のV受けローラ支持機のうち押出方向に対し最も上流側に配置されたV受けローラ支持機を1番目のV受けローラ支持機としたとき、押出ラインの上側において、1番目のV受けローラ支持機に対応する位置、またはその位置よりも上流側の位置に設けられた上押え機とを備え、
V受けローラ支持機は、V字状に配置され、かつ押出型材の両側部外面における下部をそれぞれ斜め下側から支持する一対の支持ローラを備え、
上押え機は、押出型材の先端部を上側から拘束して、押出型材の上反りを防止するための上押えローラを備えていることを特徴とする押出型材搬送装置。 - 上押えローラは、押出型材を拘束する降下状態と、押出型材から上方へ退避して押出型材に対する拘束を解除する上昇状態との間で昇降自在に配置され、
押出型材の先端縁が上昇状態の上押えローラの位置を通過した後、上押えローラが降下して、押出型材に対する拘束を開始するように構成されている請求項1に記載の押出型材搬送装置。 - 上押えローラは、押出型材を拘束する降下状態と、押出型材から上方へ退避して押出型材に対する拘束を解除する上昇状態との間で昇降自在に配置され、
上押えローラによって拘束された押出型材の先端縁が1番目のV受けローラ支持機に到達した後、上押えローラが上昇して、押出型材に対する拘束が終了されるように構成されている請求項1または2に記載の押出型材搬送装置。 - 上押えローラは、押出型材を拘束する降下状態と、押出型材から上方へ退避して押出型材に対する拘束を解除する上昇状態との間で昇降自在に配置され、
上押えローラにより押出型材を拘束する範囲が、押出型材の先端縁から5mの範囲内に調整されている請求項1〜3のいずれか1項に記載の押出型材搬送装置。 - 上押えローラは、押出機と1番目のV受けローラ支持機との中間点よりも上流側に配置されている請求項1〜4のいずれか1項に記載の押出型材搬送装置。
- 上押え機の近傍に設けられた横押え機をさらに備え、
前記横押え機は、押出型材の先端部を両側方から拘束して、両側方向の反りを防止するための一対の横押えローラを備えている請求項1〜5のいずれか1項に記載の押出型材搬送装置。 - 一対の横押えローラは、押出型材を拘束する接触状態と、押出型材から離間して両側方へ退避して押出型材に対する拘束を解除する退避状態との間で水平移動自在に配置されている請求項6に記載の押出型材搬送装置。
- 上押えローラは、逆V字状に配置され、かつ押出型材の両側部外面における上部をそれぞれ斜め上側から拘束する一対の上押えローラによって構成されている請求項1〜7のいずれか1項に記載の押出型材搬送装置。
- 押出型材は異形断面形状を有している請求項1〜8のいずれか1項に記載の押出型材搬送装置。
- 押出型材は外周長さが150mm以内に調整されている請求項1〜9のいずれか1項に記載の押出型材搬送装置。
- 押出型材を押出加工する押出機と、その押出機から押し出された押出型材を搬送する押出型材搬送装置とを備え、
前記押出型材搬送装置が、請求項1〜10のいずれか1項に記載の押出型材搬送装置によって構成されていることを特徴とする押出設備。 - 押出機から押し出される押出型材を押出ラインに沿って間隔をおいて設けられた複数のV受けローラ支持機を備え、V受けローラ支持機は、V字状に配置され、かつ押出型材の両側部外面における下部をそれぞれ斜め下側から支持する一対の支持ローラを備えた押出型材搬送装置によって押出型材を押出ラインに沿って搬送するようにした押出型材の搬送方法であって、
複数のV受けローラ支持機のうち押出方向に対し最も上流側に配置されたV受けローラ支持機を1番目のV受けローラ支持機としたとき、押出ラインの上側において、1番目のV受けローラ支持機に対応する位置、またはその位置よりも上流側の位置において、上押えローラによって、押出型材の先端部を上側から拘束して、押出型材の上反りを防止するようにしたことを特徴とする押出型材の搬送方法。
Priority Applications (1)
| Application Number | Priority Date | Filing Date | Title |
|---|---|---|---|
| JP2015011154A JP2016135497A (ja) | 2015-01-23 | 2015-01-23 | 押出型材搬送装置、押出設備および押出型材の搬送方法 |
Applications Claiming Priority (1)
| Application Number | Priority Date | Filing Date | Title |
|---|---|---|---|
| JP2015011154A JP2016135497A (ja) | 2015-01-23 | 2015-01-23 | 押出型材搬送装置、押出設備および押出型材の搬送方法 |
Publications (1)
| Publication Number | Publication Date |
|---|---|
| JP2016135497A true JP2016135497A (ja) | 2016-07-28 |
Family
ID=56512420
Family Applications (1)
| Application Number | Title | Priority Date | Filing Date |
|---|---|---|---|
| JP2015011154A Pending JP2016135497A (ja) | 2015-01-23 | 2015-01-23 | 押出型材搬送装置、押出設備および押出型材の搬送方法 |
Country Status (1)
| Country | Link |
|---|---|
| JP (1) | JP2016135497A (ja) |
Cited By (2)
| Publication number | Priority date | Publication date | Assignee | Title |
|---|---|---|---|---|
| CN110653273A (zh) * | 2019-09-28 | 2020-01-07 | 浙江晋椿精密工业有限公司 | 一种高速高精度精线生产设备及其生产方法 |
| CN110899358A (zh) * | 2019-10-29 | 2020-03-24 | 浙江敏泰科技有限公司 | 一种异形材导流装置以及成型模具 |
-
2015
- 2015-01-23 JP JP2015011154A patent/JP2016135497A/ja active Pending
Cited By (2)
| Publication number | Priority date | Publication date | Assignee | Title |
|---|---|---|---|---|
| CN110653273A (zh) * | 2019-09-28 | 2020-01-07 | 浙江晋椿精密工业有限公司 | 一种高速高精度精线生产设备及其生产方法 |
| CN110899358A (zh) * | 2019-10-29 | 2020-03-24 | 浙江敏泰科技有限公司 | 一种异形材导流装置以及成型模具 |
Similar Documents
| Publication | Publication Date | Title |
|---|---|---|
| JPWO2016080012A1 (ja) | 押出プレスのビレット搬送装置 | |
| TW201509845A (zh) | 玻璃膜帶的製造方法以及玻璃膜帶的製造裝置 | |
| JP5445876B2 (ja) | 扁平チューブ用フィンの製造装置 | |
| TW201509843A (zh) | 薄板玻璃的搬運方法、搬運裝置與切斷方法以及玻璃物品的製造方法 | |
| KR20150026181A (ko) | Lm 가이드 레일 이송 가이드장치 | |
| JP2016135497A (ja) | 押出型材搬送装置、押出設備および押出型材の搬送方法 | |
| CN108602116A (zh) | 铸片翘曲检测装置和铸片的翘曲检测方法 | |
| CN204606875U (zh) | 一种宽度可调的传送链及其成型机 | |
| JP2017136626A (ja) | 押出装置 | |
| KR101298065B1 (ko) | 자동차용 링더스트 자동생산공법 | |
| CN110918695B (zh) | 一种细长杆件双面矫直装置及矫直方法 | |
| KR101431118B1 (ko) | 타원형 단면의 관재 제조방법 및 이를 적용한 제조장치 | |
| JP2000344213A (ja) | パッケージング機械 | |
| JP2002233988A (ja) | チューブ状体切断装置、および切断機 | |
| CN204672843U (zh) | 制作汽车座椅包圈的送料装置 | |
| JP6221810B2 (ja) | 押出プレスのビレット挿入装置 | |
| CN105307797B (zh) | 连续铸造机及其使用方法 | |
| US20160303792A1 (en) | Manufacturing method and manufacturing apparatus for hollow body | |
| KR102855835B1 (ko) | 열교환기용 동파이프 가공장치 | |
| KR101425416B1 (ko) | 타원형관의 성형방법 및 성형장치 | |
| JP5641770B2 (ja) | 押出材の製造方法 | |
| JP5020928B2 (ja) | 布類折り畳み機におけるゲージ部材の振れ止め装置 | |
| CN110695242B (zh) | 一种无缝钢管热压整体成形高速绕线盘一体机 | |
| CN120306496B (zh) | 一种散热器边板冷弯成型自动化装备 | |
| KR20160010116A (ko) | 신축가능한 다열 벨트 이송장치가 구비된 타발장치 |