JP2016134977A - Circuit breaker unit, base unit for circuit breaker, and switchgear - Google Patents

Circuit breaker unit, base unit for circuit breaker, and switchgear Download PDF

Info

Publication number
JP2016134977A
JP2016134977A JP2015007224A JP2015007224A JP2016134977A JP 2016134977 A JP2016134977 A JP 2016134977A JP 2015007224 A JP2015007224 A JP 2015007224A JP 2015007224 A JP2015007224 A JP 2015007224A JP 2016134977 A JP2016134977 A JP 2016134977A
Authority
JP
Japan
Prior art keywords
circuit breaker
wiring
holding
cable
base member
Prior art date
Legal status (The legal status is an assumption and is not a legal conclusion. Google has not performed a legal analysis and makes no representation as to the accuracy of the status listed.)
Granted
Application number
JP2015007224A
Other languages
Japanese (ja)
Other versions
JP6334420B2 (en
Inventor
洋樹 前原
Hiroki Maehara
洋樹 前原
義輝 辻原
Yoshiteru Tsujihara
義輝 辻原
将之 大石
Masayuki Oishi
将之 大石
Current Assignee (The listed assignees may be inaccurate. Google has not performed a legal analysis and makes no representation or warranty as to the accuracy of the list.)
Toshiba Corp
Original Assignee
Toshiba Corp
Priority date (The priority date is an assumption and is not a legal conclusion. Google has not performed a legal analysis and makes no representation as to the accuracy of the date listed.)
Filing date
Publication date
Application filed by Toshiba Corp filed Critical Toshiba Corp
Priority to JP2015007224A priority Critical patent/JP6334420B2/en
Publication of JP2016134977A publication Critical patent/JP2016134977A/en
Application granted granted Critical
Publication of JP6334420B2 publication Critical patent/JP6334420B2/en
Active legal-status Critical Current
Anticipated expiration legal-status Critical

Links

Images

Landscapes

  • Patch Boards (AREA)
  • Gas-Insulated Switchgears (AREA)

Abstract

PROBLEM TO BE SOLVED: To provide a breaker unit capable of attaining downsizing, a base unit for breaker and a switch gear.SOLUTION: The breaker unit comprises a breaker for wiring, a cable, a terminal part, a base member and a holding part. The cable is electrically connected to the breaker for wiring and at least a part is positioned at a first direction side of the breaker for wiring. The terminal part is provided in a distal end of the cable and capable of connecting wiring thereto. The base member holds the breaker for wiring. The holding part holds the terminal part. The holding part includes a fixture part in which the terminal part is fixed, and a connection part that is disposed between the fixture part and the base member. The connection part includes an insertion part through which the cable is passed at the first direction side of the base member.SELECTED DRAWING: Figure 4

Description

本発明の実施形態は、遮断器ユニット、遮断器用のベースユニット、及びスイッチギアに関する。   Embodiments described herein relate generally to a circuit breaker unit, a base unit for a circuit breaker, and a switch gear.

複数の遮断器ユニットを筐体内に備えたスイッチギアが提供されている。
スイッチギアのような装置は、奥行き寸法が大きくなりやすい場合があった。
A switchgear having a plurality of circuit breaker units in a housing is provided.
Devices such as switchgear often have a large depth dimension.

特開2010−213532号公報JP 2010-213532 A

本発明が解決しようとする課題は、小型化を図ることができる遮断器ユニット、遮断器用のベースユニット、及びスイッチギアを提供することである。   The problem to be solved by the present invention is to provide a circuit breaker unit, a base unit for circuit breaker, and a switchgear that can be reduced in size.

実施形態の遮断器ユニットは、配線用遮断器と、ケーブルと、端子部と、ベース部材と、保持部とを持つ。前記ケーブルは、前記配線用遮断器に電気的に接続され、少なくとも一部が前記配線用遮断器の第1方向側に位置する。前記端子部は、前記ケーブルの先端に設けられ、配線を接続可能である。前記ベース部材は、前記配線用遮断器を保持する。前記保持部は、前記端子部を保持する。前記保持部は、前記端子部が固定される固定部と、前記固定部と前記ベース部材との間に配置された連結部とを備える。前記連結部は、前記ベース部材の前記第1方向側の位置で前記ケーブルが通される挿通部が設けられる。   The circuit breaker unit of the embodiment includes a circuit breaker for wiring, a cable, a terminal portion, a base member, and a holding portion. The cable is electrically connected to the circuit breaker for wiring, and at least a part thereof is positioned on the first direction side of the circuit breaker for wiring. The terminal portion is provided at the tip of the cable and can be connected to wiring. The base member holds the circuit breaker for wiring. The holding part holds the terminal part. The holding part includes a fixing part to which the terminal part is fixed, and a connecting part arranged between the fixing part and the base member. The connecting portion is provided with an insertion portion through which the cable is passed at a position on the first direction side of the base member.

第1の実施形態のスイッチギアを示す断面図。Sectional drawing which shows the switchgear of 1st Embodiment. 図1中に示された遮断器ユニットを示す斜視図。The perspective view which shows the circuit breaker unit shown in FIG. 図1中に示された遮断器ユニットを示す斜視図。The perspective view which shows the circuit breaker unit shown in FIG. 図1中に示された遮断器ユニットを示す断面図。Sectional drawing which shows the circuit breaker unit shown in FIG. 図4中に示された保持部を示す斜視図。The perspective view which shows the holding | maintenance part shown in FIG. 第2の実施形態の遮断器ユニットを示す斜視図。The perspective view which shows the circuit breaker unit of 2nd Embodiment. 図6中に示された遮断器ユニットを示す斜視図。The perspective view which shows the circuit breaker unit shown in FIG. 図6中に示された遮断器ユニットの2次側導体を示す斜視図。The perspective view which shows the secondary side conductor of the circuit breaker unit shown in FIG. 図6中に示された遮断器ユニットを示す断面図。Sectional drawing which shows the circuit breaker unit shown in FIG.

以下、実施形態の遮断器ユニット、遮断器用のベースユニット、及びスイッチギアを、図面を参照して説明する。なおここで、+X方向、−X方向、+Y方向、−Y方向、及びZ方向を定義する。+X方向は、後述の配線用遮断器11において、1次側から2次側に向かう方向(例えば1次側端子21から2次側端子22に向かう方向)である。−X方向は、+X方向の反対方向である。+Y方向は、+X方向とは交差した(例えば略直交した)方向であり、例えば配線用遮断器11から後述のベースユニット18に向かう方向である。−Y方向は、+Y方向の反対方向である。Z方向は、+X方向及び+Y方向とは交差した(例えば略直交した)方向であり、例えば複数の配線用遮断器11が並ぶ方向である。   Hereinafter, a circuit breaker unit, a base unit for circuit breaker, and a switch gear according to an embodiment will be described with reference to the drawings. Here, + X direction, -X direction, + Y direction, -Y direction, and Z direction are defined. The + X direction is a direction from the primary side to the secondary side (for example, a direction from the primary side terminal 21 to the secondary side terminal 22) in the circuit breaker 11 described later. The −X direction is opposite to the + X direction. The + Y direction is a direction that intersects (for example, substantially orthogonal) with the + X direction, and is, for example, a direction from the circuit breaker 11 for wiring toward the base unit 18 described later. The −Y direction is opposite to the + Y direction. The Z direction is a direction that intersects (for example, substantially orthogonal) to the + X direction and the + Y direction, and is a direction in which, for example, a plurality of circuit breakers 11 are arranged.

+X方向は、「第1方向」の一例である。+Y方向は、「第2方向」の一例である。なお以下に説明する一例では、+X方向は、略鉛直方向で下向きの方向であり、+Y方向は、略水平方向(奥行き方向)であり、Z方向は、略水平方向(配線用遮断器11の幅方向)である。なお、+X方向、−X方向、+Y方向、−Y方向、及びZ方向は、これら特定の方向に限られるものではない。   The + X direction is an example of a “first direction”. The + Y direction is an example of a “second direction”. In the example described below, the + X direction is a substantially vertical direction downward, the + Y direction is a substantially horizontal direction (depth direction), and the Z direction is a substantially horizontal direction (of the circuit breaker 11 for wiring). Width direction). Note that the + X direction, the −X direction, the + Y direction, the −Y direction, and the Z direction are not limited to these specific directions.

また本明細書において「…方向において、…の間に位置する」とは、その方向における並び順を示すものであり、それらの部材が一つの直線上に位置することに限定されるものではない。   Further, in this specification, “located in the direction of...” Indicates the arrangement order in the direction, and is not limited to the members being positioned on one straight line. .

(第1の実施形態)
図1は、第1の実施形態に係るスイッチギア1の全体を示す。本実施形態に係るスイッチギア1は、「配電盤」、「低圧盤」及び「低圧スイッチギア」のそれぞれ一例であり、例えば各種機器用の電源配線と外部電源との間の開閉器として機能する。スイッチギア1は、筐体2と、該筐体2に収容された例えば複数の遮断器ユニット3を有する。
(First embodiment)
FIG. 1 shows the entire switch gear 1 according to the first embodiment. The switchgear 1 according to the present embodiment is an example of each of a “distribution panel”, a “low voltage panel”, and a “low voltage switchgear”, and functions as a switch between a power supply wiring for various devices and an external power supply, for example. The switch gear 1 includes a housing 2 and, for example, a plurality of circuit breaker units 3 housed in the housing 2.

図1に示すように、筐体2は、例えば金属製であり、立方体状の箱型に形成される。本実施形態では、複数の遮断器ユニット3は、筐体2の内部で+X方向に並べられる。   As shown in FIG. 1, the housing | casing 2 is metal, for example, and is formed in a cube-shaped box shape. In the present embodiment, the plurality of circuit breaker units 3 are arranged in the + X direction inside the housing 2.

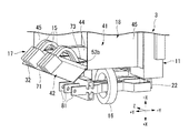
図2乃至図4は、遮断器ユニット3の一例を示す。各遮断器ユニット3は、配線用遮断器(MCCB:Molded case circuit Breaker)11、配線用遮断器11の1次側に接続された複数の1次側導体12、これら1次側導体12に接続された複数の母線13、母線13を支持する複数の支持部材(絶縁サポート)14、配線用遮断器11の2次側に接続された複数のケーブル15、これらケーブル15が通される零相変流器16、ケーブル15の先端に設けられた端子部17、並びに、配線用遮断器11及び端子部17を保持するベースユニット18を備える。なお本実施形態では、各遮断器ユニット3は、複数(例えば4つ)の配線用遮断器11を有する。複数の配線用遮断器11は、例えばZ方向に並べられる。   2 to 4 show an example of the circuit breaker unit 3. Each circuit breaker unit 3 is connected to a circuit breaker (MCCB) 11, a plurality of primary conductors 12 connected to the primary side of the circuit breaker 11, and these primary conductors 12. A plurality of busbars 13, a plurality of support members (insulation support) 14 for supporting the busbars 13, a plurality of cables 15 connected to the secondary side of the circuit breaker 11 for wiring, and a zero phase change through which these cables 15 are passed. A flow unit 16, a terminal unit 17 provided at the tip of the cable 15, and a base unit 18 that holds the circuit breaker 11 and the terminal unit 17 are provided. In the present embodiment, each circuit breaker unit 3 includes a plurality of (for example, four) circuit breakers 11 for wiring. The plurality of wiring circuit breakers 11 are arranged in the Z direction, for example.

各配線用遮断器11は、いわゆるブレーカであり、複数の1次側端子21と、複数の2次側端子22と、スイッチ23とを含む。1次側端子21は、配線用遮断器11の第1端部(例えば−X方向の端部)に設けられる。2次側端子22は、配線用遮断器11の第2端部(例えば+X方向の端部)に設けられる。スイッチ23は、1次側端子21と2次側端子22との間の電気的な接続を開閉する。配線用遮断器11は、所定よりも過大な電流が流れたときに、1次側端子21と2次側端子22との間の電気的接続を遮断する。また配線用遮断器11は、上記スイッチ23が復帰動作されることで、1次側端子21と2次側端子22との間の電気的接続を回復させる。   Each circuit breaker 11 is a so-called breaker, and includes a plurality of primary terminals 21, a plurality of secondary terminals 22, and a switch 23. The primary side terminal 21 is provided at a first end portion (for example, an end portion in the −X direction) of the circuit breaker 11 for wiring. The secondary terminal 22 is provided at the second end of the wiring breaker 11 (for example, the end in the + X direction). The switch 23 opens and closes an electrical connection between the primary side terminal 21 and the secondary side terminal 22. The circuit breaker 11 for wiring interrupts the electrical connection between the primary side terminal 21 and the secondary side terminal 22 when an electric current larger than predetermined flows. Further, the circuit breaker 11 for wiring restores the electrical connection between the primary side terminal 21 and the secondary side terminal 22 when the switch 23 is restored.

1次側導体(第1導体、第1接続導体)12は、配線用遮断器11の1次側端子21に接続される。1次側導体12は、1次側端子21から−X方向に延びるとともに、+Y方向に折り曲げられ、母線13まで延びている。各1次側導体12の端部は、それぞれ対応する母線13の側面に沿うように+X方向に折り曲げられ、母線13の側面に接続される。これにより、1次側導体12と母線13とが電気的に接続される。   The primary side conductor (first conductor, first connection conductor) 12 is connected to the primary side terminal 21 of the circuit breaker 11 for wiring. The primary conductor 12 extends from the primary terminal 21 in the −X direction, is bent in the + Y direction, and extends to the bus bar 13. The end portions of the primary conductors 12 are bent in the + X direction along the side surfaces of the corresponding busbars 13 and connected to the side surfaces of the busbars 13. Thereby, the primary side conductor 12 and the bus-line 13 are electrically connected.

複数の母線13は、互いに略平行に延びている。複数の母線13は、例えば+Y方向に並ぶとともに、それぞれZ方向に延びている。各母線13は、筐体2内に設けられる主母線に電気的に接続され、外部電源から電力の供給を受ける。各母線13は、複数の配線用遮断器11の背後に亘って延びている。   The plurality of bus bars 13 extend substantially parallel to each other. The plurality of bus bars 13 are arranged in the + Y direction, for example, and extend in the Z direction. Each bus 13 is electrically connected to a main bus provided in the housing 2 and receives power from an external power source. Each bus bar 13 extends behind the plurality of wiring breakers 11.

複数の支持部材14は、例えばZ方向に互いに分かれて配置され、複数の母線13をそれぞれ支持する。各支持部材14は、+X方向と−X方向から母線13を挟む第1サポート14aと第2サポート14bとを含む。第1サポート14a及び第2サポート14bの各々は、+Y方向に延びている。第1サポート14a及び第2サポート14bの各々には、母線13が係合する切欠き部66が設けられる。このような支持部材14が設けられることで、母線13が安定して支持される。   The plurality of support members 14 are arranged separately in the Z direction, for example, and support the plurality of bus bars 13, respectively. Each support member 14 includes a first support 14 a and a second support 14 b that sandwich the bus 13 from the + X direction and the −X direction. Each of the first support 14a and the second support 14b extends in the + Y direction. Each of the first support 14a and the second support 14b is provided with a notch portion 66 with which the bus bar 13 is engaged. By providing such a support member 14, the bus bar 13 is stably supported.

複数のケーブル15は、配線用遮断器11の2次側端子22に接続される。詳しく述べると、各ケーブル15は、該ケーブル15の先端にL字形の接続金具25を有する。この接続金具25が2次側端子22に固定されることで、ケーブル15と配線用遮断器11とが電気的に接続される。図4に示すように、ケーブル15の少なくとも一部は、配線用遮断器11の+X方向側に位置する。本実施形態では、ケーブル15は、その全長に亘って配線用遮断器11の+X方向側に位置する。ケーブル15は、配線用遮断器11の2次側端子22から+Y方向に延びている。   The plurality of cables 15 are connected to the secondary terminal 22 of the circuit breaker 11 for wiring. More specifically, each cable 15 has an L-shaped fitting 25 at the tip of the cable 15. By fixing the connection fitting 25 to the secondary side terminal 22, the cable 15 and the wiring breaker 11 are electrically connected. As shown in FIG. 4, at least a part of the cable 15 is located on the + X direction side of the circuit breaker 11 for wiring. In the present embodiment, the cable 15 is located on the + X direction side of the circuit breaker 11 for the entire length. The cable 15 extends in the + Y direction from the secondary terminal 22 of the circuit breaker 11 for wiring.

零相変流器(ZCT:Zero-phase current Transformer)16は、地絡検出用(漏電検出用)の部品である。零相変流器16は、リング状に形成される。零相変流器16の内部には、複数のケーブル15が通される。なお本実施形態の遮断器ユニット3には、変流器(CT:Current Transformer)は設けられていない。   A zero-phase current transformer (ZCT) 16 is a component for ground fault detection (leakage detection). The zero-phase current transformer 16 is formed in a ring shape. A plurality of cables 15 are passed through the zero-phase current transformer 16. In addition, the circuit breaker unit 3 of this embodiment is not provided with a current transformer (CT: Current Transformer).

端子部17は、ケーブル15の先端に設けられる。端子部17は、配線(例えば外部配線)31(図1参照)が接続可能である。詳しく述べると、端子部17の一例は、端子台32を有する。端子台32は、第1端子33、第2端子34、導体部35、及び仕切り36を有する。第1端子33には、ケーブル15が接続される。第2端子34には、配線31が接続可能である。導体部35は、第1端子33と第2端子34とを電気的に接続する。仕切り36は、絶縁性を有し、隣り合うケーブル15同士の間を仕切る。   The terminal portion 17 is provided at the tip of the cable 15. The terminal portion 17 can be connected to a wiring (for example, an external wiring) 31 (see FIG. 1). Specifically, an example of the terminal portion 17 includes a terminal block 32. The terminal block 32 includes a first terminal 33, a second terminal 34, a conductor portion 35, and a partition 36. The cable 15 is connected to the first terminal 33. A wiring 31 can be connected to the second terminal 34. The conductor portion 35 electrically connects the first terminal 33 and the second terminal 34. The partition 36 has insulation and partitions between adjacent cables 15.

次に、ベースユニット(保持具、保持部材、取付部材、治具)18について説明する。ベースユニット18は、配線用遮断器11、ケーブル15、零相変流器16、及び端子部17を一体に保持する。すなわち、ベースユニット18は、配線用遮断器11、ケーブル15、零相変流器16、及び端子部17を一体として筐体2内に取り付け可能な部材である。なお、ベースユニット18は、遮断器ユニット3に含まれる複数(例えば4つ)の配線用遮断器11と、これに付随するケーブル15及び端子部17を一体に保持する。   Next, the base unit (holding tool, holding member, mounting member, jig) 18 will be described. The base unit 18 integrally holds the circuit breaker 11, the cable 15, the zero-phase current transformer 16, and the terminal portion 17. That is, the base unit 18 is a member that can be mounted in the housing 2 as a unit with the circuit breaker 11 for wiring, the cable 15, the zero-phase current transformer 16, and the terminal portion 17. The base unit 18 integrally holds a plurality of (for example, four) circuit breakers 11 included in the circuit breaker unit 3, the cables 15 and the terminal portions 17 associated therewith.

図2乃至図4に示すように、ベースユニット18は、配線用遮断器11を保持するベース部材41と、端子部17を保持する保持部42とを有する。
ベース部材41は、配線用遮断器11及び零相変流器16を保持する棚板44と、この棚板44に連結された複数の起立板45とを含む。棚板44は、例えば複数(例えば4つ)の配線用遮断器11に亘る大きさを有する。棚板44は、第1板部51、第2板部52、及び第3板部53を有する。
As shown in FIGS. 2 to 4, the base unit 18 includes a base member 41 that holds the circuit breaker 11 for wiring and a holding portion 42 that holds the terminal portion 17.
The base member 41 includes a shelf plate 44 that holds the circuit breaker 11 for wiring and the zero-phase current transformer 16, and a plurality of upright plates 45 connected to the shelf plate 44. The shelf plate 44 has a size that spans a plurality of (for example, four) circuit breakers 11. The shelf board 44 includes a first plate part 51, a second plate part 52, and a third plate part 53.

第1板部(第1起立部、遮断器支持板)51は、+X方向に延び、配線用遮断器11の背後に位置する。第1板部51は、「第1部分」の一例である。第1板部51は、取付板55を介して配線用遮断器11を保持する。第1板部51は、例えば複数の配線用遮断器11を一体に保持する。また第1板部51は、筐体2に設けられた支持部材(支持構造体)56(図1参照)に取り付けられる。第1板部51が支持部材56に固定されることで、遮断器ユニット3が筐体2内で支持される。   The first plate portion (first standing portion, circuit breaker support plate) 51 extends in the + X direction and is located behind the circuit breaker 11 for wiring. The first plate portion 51 is an example of a “first portion”. The first plate part 51 holds the circuit breaker 11 via the attachment plate 55. The 1st board part 51 hold | maintains the several circuit breaker 11 for wiring integrally, for example. The first plate portion 51 is attached to a support member (support structure) 56 (see FIG. 1) provided in the housing 2. The breaker unit 3 is supported in the housing 2 by fixing the first plate portion 51 to the support member 56.

第2板部(基部、ZCT取付板)52は、第1板部51の+X方向の端部から+Y方向に延びている。第2板部52は、「第2部分」の一例である。第2板部52は、第1板部51と保持部42との間を+Y方向に延び、第1板部51と保持部42とを連結する。第2板部52は、その全長に亘り、ケーブル15の上方に位置する。
この第2板部52には、零相変流器16が取り付けられる。本実施形態では、零相変流器16とは別の変流器は、第2板部52には取り付けられない。このため、零相変流器16は、例えば棚板44の第2板部52の略中央部(例えば+Y方向における略中央部)に取り付けられる。
The second plate portion (base portion, ZCT attachment plate) 52 extends from the end portion of the first plate portion 51 in the + X direction in the + Y direction. The second plate portion 52 is an example of a “second portion”. The second plate portion 52 extends in the + Y direction between the first plate portion 51 and the holding portion 42, and connects the first plate portion 51 and the holding portion 42. The 2nd board part 52 is located above the cable 15 over the full length.
The zero phase current transformer 16 is attached to the second plate portion 52. In the present embodiment, a current transformer different from the zero-phase current transformer 16 is not attached to the second plate portion 52. For this reason, the zero-phase current transformer 16 is attached to, for example, a substantially central portion (for example, a substantially central portion in the + Y direction) of the second plate portion 52 of the shelf plate 44.

第3板部(第2起立部、保持部取付板)53は、第2板部52の+Y方向の端部から−X方向に起立している。第3板部53には、保持部42が取り付けられる。   The third plate portion (second standing portion, holding portion mounting plate) 53 stands up in the −X direction from the end portion of the second plate portion 52 in the + Y direction. The holding portion 42 is attached to the third plate portion 53.

起立板(補強板)45は、例えば側面板であり、少なくとも棚板44の第2板部52のZ方向の両端部にそれぞれ設けられる。また起立板45は、棚板44の第2板部52のZ方向の中間に設けられてもよい。複数の起立板45の各々は、「第3部分」の一例である。起立板45は、+X方向及び+Y方向に延びるとともに、棚板44の第1板部51と、第2板部52との両方に連結される。   The upright plates (reinforcing plates) 45 are side plates, for example, and are provided at least at both ends in the Z direction of the second plate portion 52 of the shelf plate 44. Further, the upright plate 45 may be provided in the middle of the second plate portion 52 of the shelf plate 44 in the Z direction. Each of the plurality of upright plates 45 is an example of a “third portion”. The upright plate 45 extends in the + X direction and the + Y direction, and is connected to both the first plate portion 51 and the second plate portion 52 of the shelf plate 44.

詳しく述べると、棚板44の第2板部52は、−Y方向の端部である第1端部52aと、+Y方向の端部である第2端部52bとを有する。第1端部52aは、棚板44の第1板部51に接続される。第2端部52bは、第1端部52aとは反対側に位置し、棚板44の第3板部53に接続される。図4に示すように、第1端部52aには、起立板45を固定するための第1固定部61が設けられる。同様に、第2端部52bには、第2固定部62が設けられる。   More specifically, the second plate portion 52 of the shelf plate 44 includes a first end portion 52a that is an end portion in the −Y direction and a second end portion 52b that is an end portion in the + Y direction. The first end portion 52 a is connected to the first plate portion 51 of the shelf board 44. The second end portion 52 b is located on the side opposite to the first end portion 52 a and is connected to the third plate portion 53 of the shelf board 44. As shown in FIG. 4, the first end portion 52 a is provided with a first fixing portion 61 for fixing the upright plate 45. Similarly, the 2nd fixing | fixed part 62 is provided in the 2nd end part 52b.

一方で、起立板45は、+X方向の端部である第1端部45aと、−X方向の端部である第2端部45bとを有する。第1端部45aは、棚板44の第2板部52に連結される。第2端部45bは、第1端部45aとは反対側に位置する。棚板44の第1板部51は、起立板45の第2端部45bに対応する位置に、起立板45を固定するための第3固定部63を有する。   On the other hand, the upright plate 45 includes a first end 45a that is an end in the + X direction and a second end 45b that is an end in the −X direction. The first end portion 45 a is connected to the second plate portion 52 of the shelf board 44. The second end 45b is located on the side opposite to the first end 45a. The first plate portion 51 of the shelf plate 44 has a third fixing portion 63 for fixing the upright plate 45 at a position corresponding to the second end portion 45 b of the upright plate 45.

棚板44の第1乃至第3の固定部61,62,63の各々は、例えばねじのような固定部材64が取り付けられる取付部(例えばねじ穴)である。起立板45は、第1乃至第3の固定部61,62,63に対応する位置に、取付部(例えばねじ挿通穴)を有する。起立板45は、固定部材64によって棚板44の第1乃至第3の固定部61,62,63に固定される。   Each of the first to third fixing portions 61, 62, 63 of the shelf board 44 is an attachment portion (for example, a screw hole) to which a fixing member 64 such as a screw is attached. The upright plate 45 has attachment portions (for example, screw insertion holes) at positions corresponding to the first to third fixing portions 61, 62, 63. The upright plate 45 is fixed to the first to third fixing portions 61, 62, and 63 of the shelf plate 44 by a fixing member 64.

図3に示すように、起立板45の第2端部45bは、複数の支持部材14を支持する。詳しく述べると、各起立板45の第2端部45bには、支持部材14を支持する支持部67が設けられる。支持部67の一例は、起立板45の第2端部45bをZ方向に沿うように折り曲げた折曲部である。支持部材14は、起立板45の支持部67に固定される。   As shown in FIG. 3, the second end 45 b of the upright plate 45 supports the plurality of support members 14. More specifically, a support portion 67 that supports the support member 14 is provided at the second end portion 45 b of each upright plate 45. An example of the support portion 67 is a bent portion in which the second end portion 45b of the upright plate 45 is bent along the Z direction. The support member 14 is fixed to the support portion 67 of the upright plate 45.

次に、端子部17を保持する保持部42について説明する。
図3及び図4に示すように、保持部42は、端子部17を保持する固定部71と、固定部71をベース部材41に連結する連結部72とを有する。固定部71は、ベース部材41の+X方向側に位置する。固定部71の一例は、+X方向に対して斜めに交差する方向に傾いている。固定部71は、例えば斜め下方に傾いている。これにより、固定部71に取り付けられた端子部17は、固定部71と同様に傾いた姿勢に保持される。
Next, the holding part 42 that holds the terminal part 17 will be described.
As shown in FIGS. 3 and 4, the holding portion 42 includes a fixing portion 71 that holds the terminal portion 17 and a connecting portion 72 that connects the fixing portion 71 to the base member 41. The fixing portion 71 is located on the + X direction side of the base member 41. An example of the fixing portion 71 is inclined in a direction that obliquely intersects the + X direction. For example, the fixing portion 71 is inclined obliquely downward. Thereby, the terminal portion 17 attached to the fixing portion 71 is held in an inclined posture similarly to the fixing portion 71.

連結部72は、固定部71とベース部材41との間に配置される。連結部72は、固定部71とベース部材41(例えば棚板44)との間に延びている。連結部72の一例は、固定部71の端部から−X方向に延びている。すなわち、連結部72は、棚板44の第2板部52とは交差した方向(例えば略直交した方向)に延びている。連結部72には、複数(例えば3つ)のケーブル15が纏めて通される挿通部(挿通穴、開口)73が設けられる。   The connecting portion 72 is disposed between the fixing portion 71 and the base member 41. The connecting portion 72 extends between the fixing portion 71 and the base member 41 (for example, the shelf board 44). An example of the connecting portion 72 extends in the −X direction from the end portion of the fixed portion 71. That is, the connecting portion 72 extends in a direction intersecting with the second plate portion 52 of the shelf board 44 (for example, a direction substantially orthogonal). The connecting portion 72 is provided with an insertion portion (insertion hole, opening) 73 through which a plurality of (for example, three) cables 15 are collectively passed.

挿通部73は、+Y方向に開口している。このため、ケーブル15は、例えば+Y方向で挿通部73に挿通可能である。図4に示すように、挿通部73は、ベース部材41の+X方向側に位置する。これにより、ケーブル15は、ベース部材41の+X方向側で挿通部73に通され、端子部17まで達する。   The insertion part 73 is open in the + Y direction. For this reason, the cable 15 can be inserted into the insertion portion 73 in the + Y direction, for example. As shown in FIG. 4, the insertion portion 73 is located on the + X direction side of the base member 41. Accordingly, the cable 15 is passed through the insertion portion 73 on the + X direction side of the base member 41 and reaches the terminal portion 17.

また本実施形態では、連結部72は、+X方向において複数の支持部材14の間の領域によって覆われる位置に設けられる。連結部72は、例えば、複数の支持部材14の間の領域の下方に位置する。   Moreover, in this embodiment, the connection part 72 is provided in the position covered with the area | region between the some support members 14 in + X direction. The connection part 72 is located below the area | region between the some support members 14, for example.

図5に示すように、本実施形態に係る保持部42は、ベース部材41とは別体に形成され、ベース部材41に取り付け可能である。すなわち、保持部42は、ベース部材41とは異なる板材で形成され、ベース部材41に固定される。なおこれに代え、保持部42は、ベース部材41(例えば棚板44)と一体に形成されてもよい。   As shown in FIG. 5, the holding portion 42 according to this embodiment is formed separately from the base member 41 and can be attached to the base member 41. That is, the holding portion 42 is formed of a plate material different from the base member 41 and is fixed to the base member 41. Instead of this, the holding portion 42 may be formed integrally with the base member 41 (for example, the shelf board 44).

連結部72の一例は、いわゆる馬蹄形であり、一対の取付部74a,74bと、この取付部74a,74bの間に設けられた切欠き部75とを有する。取付部74a,74bは、固定部71から延びる。取付部74a,74bの各々は、例えばねじのような固定部材76(図4参照)が通される穴77を有し、固定部材76によって棚板44の第3板部53に固定される。   An example of the connection part 72 is what is called a horseshoe shape, and has a pair of attachment parts 74a and 74b and the notch part 75 provided between these attachment parts 74a and 74b. The attachment portions 74 a and 74 b extend from the fixed portion 71. Each of the attachment portions 74a and 74b has a hole 77 through which a fixing member 76 (see FIG. 4) such as a screw is passed, and is fixed to the third plate portion 53 of the shelf board 44 by the fixing member 76.

切欠き部75の一例は、連結部72が棚板44に取り付けられた状態で、−X方向が開放された切欠き部である。本実施形態では、この切欠き部75が挿通部73となる。なお、挿通部73は、切欠き部75に限らず、連結部72に設けられた貫通穴でもよい。   An example of the notch 75 is a notch that is open in the −X direction with the connecting portion 72 attached to the shelf board 44. In the present embodiment, the notch 75 serves as the insertion part 73. The insertion part 73 is not limited to the notch part 75 but may be a through hole provided in the connection part 72.

以上説明したベースユニット18は、棚板44、起立板45、及び保持部42が予め組み立てられた状態で筐体2に対して取り付け可能である。さらに言えば、本実施形態に係る遮断器ユニット3は、配線用遮断器11、ケーブル15、零相変流器16、及び端子部17をベースユニット18に取り付け、これらが一体となった状態で筐体2内に取り付け可能である。   The base unit 18 described above can be attached to the housing 2 in a state where the shelf plate 44, the upright plate 45, and the holding portion 42 are assembled in advance. Furthermore, the circuit breaker unit 3 according to the present embodiment has the circuit breaker 11 for wiring, the cable 15, the zero-phase current transformer 16, and the terminal portion 17 attached to the base unit 18, and these are integrated. It can be mounted in the housing 2.

このような構成の遮断器ユニット3、遮断器用のベースユニット18、及びスイッチギア1によれば、遮断器ユニット3、ベースユニット18、及びスイッチギア1の小型化を図ることができる。   According to the circuit breaker unit 3, the circuit breaker base unit 18, and the switch gear 1 having such a configuration, the circuit breaker unit 3, the base unit 18, and the switch gear 1 can be reduced in size.

ここで、棚板、側面板(起立板)、及び保持部(保持板)がそれぞれ個別に筐体内の支持構造に取り付けられることで組み立てられる遮断器ユニットについて考える。上記保持部は、端子部を保持する。この保持部は、例えば棚板の後端部に接続されている。このような構成では、端子部の重さが作用する棚板の後端部が不安定になりやすく、棚板の後端部を筐体に固定するための固定部が必要になる。そのためこのような構成では、遮断器ユニット及びスイッチギアは、奥行き寸法が大きくなりやすい場合がある。また上記構成では、構成部品が各々独立しているため、構造が複雑化して遮断器ユニット及びスイッチギアが大型化するとともに、筐体内への各構成部品の組み込み作業にどうしても時間がかかる。   Here, consider a circuit breaker unit that is assembled by attaching a shelf plate, a side plate (standing plate), and a holding portion (holding plate) individually to a support structure in a housing. The holding part holds the terminal part. This holding | maintenance part is connected to the rear-end part of a shelf board, for example. In such a configuration, the rear end portion of the shelf plate on which the weight of the terminal portion acts is likely to be unstable, and a fixing portion for fixing the rear end portion of the shelf plate to the housing is necessary. Therefore, in such a configuration, the circuit breaker unit and the switch gear may have a large depth dimension. In the above configuration, since the component parts are independent, the structure is complicated, the circuit breaker unit and the switch gear are enlarged, and it takes time to assemble each component part in the housing.

また上記構成において、棚板の水平部に、ケーブルが通される貫通穴を設ける場合について考える。このような構成では、貫通穴に通すためにケーブルを大きく曲げる必要がある。すなわち、棚板の水平部に対してケーブルを下方から上方に通すとともに、棚板の水平部を上方に通したケーブルを再び端子部に向けて曲げる必要がある。このため、貫通穴と端子部との間に一定以上の距離が必要になり、棚板の奥行き寸法が大きくなる場合がある。また、例えば棚板の水平部に、変流器と零相変流器との両方を取り付ける場合、棚板の奥行き寸法が大きくなる場合がある。   Further, in the above configuration, consider a case where a through hole through which a cable is passed is provided in the horizontal portion of the shelf board. In such a configuration, it is necessary to bend the cable greatly in order to pass through the through hole. That is, it is necessary to pass the cable from the lower side to the upper side with respect to the horizontal portion of the shelf board and bend the cable passing through the horizontal portion of the shelf board toward the terminal portion again. For this reason, a certain distance or more is required between the through hole and the terminal portion, and the depth dimension of the shelf board may be increased. For example, when both a current transformer and a zero phase current transformer are attached to the horizontal part of a shelf board, the depth dimension of a shelf board may become large.

一方で、本実施形態に係る遮断器ユニット3は、配線用遮断器11と、ケーブル15と、端子部17と、ベース部材41と、保持部42とを備える。ケーブル15は、配線用遮断器11に電気的に接続され、少なくとも一部が配線用遮断器11の+X方向側に位置する。端子部17は、ケーブル15の先端に設けられ、配線31を接続可能である。ベース部材41は、配線用遮断器11を保持する。保持部42は、端子部17を保持する。保持部42は、端子部17が固定される固定部71と、固定部71とベース部材41との間に配置された連結部72とを備える。連結部72は、ベース部材41の+X方向側でケーブル15が通される挿通部73が設けられる。   On the other hand, the circuit breaker unit 3 according to the present embodiment includes a circuit breaker 11 for wiring, a cable 15, a terminal portion 17, a base member 41, and a holding portion 42. The cable 15 is electrically connected to the circuit breaker 11 for wiring, and at least a part thereof is located on the + X direction side of the circuit breaker 11 for wiring. The terminal portion 17 is provided at the tip of the cable 15 and can connect the wiring 31. The base member 41 holds the circuit breaker 11 for wiring. The holding unit 42 holds the terminal unit 17. The holding part 42 includes a fixing part 71 to which the terminal part 17 is fixed, and a connecting part 72 disposed between the fixing part 71 and the base member 41. The connecting portion 72 is provided with an insertion portion 73 through which the cable 15 is passed on the + X direction side of the base member 41.

このような構成によれば、まず、ベース部材41の+X方向側に挿通部73が設けられる。このため、少なくとも一部が配線用遮断器11の+X方向側に配置されたケーブル15を、+X方向または−X方向に大きく曲げることなく配線用遮断器11から端子部17まで導くことができる。これにより、配線用遮断器11と保持部42との間の距離を小さくすることができ、棚板44の+Y方向の寸法(奥行き寸法)を小さくすることができる。これにより、遮断器ユニット3、ベースユニット18、及びスイッチギア1の小型化(例えば奥行き寸法の短縮)を図ることができる。   According to such a configuration, first, the insertion portion 73 is provided on the + X direction side of the base member 41. For this reason, the cable 15 at least a part of which is arranged on the + X direction side of the wiring breaker 11 can be guided from the wiring breaker 11 to the terminal portion 17 without being greatly bent in the + X direction or the −X direction. Thereby, the distance between the circuit breaker 11 for wiring and the holding | maintenance part 42 can be made small, and the dimension (depth dimension) of the + Y direction of the shelf board 44 can be made small. Thereby, size reduction (for example, shortening of a depth dimension) of the circuit breaker unit 3, the base unit 18, and the switch gear 1 can be achieved.

また、配線用遮断器11と保持部42との間の距離を小さくすることができると、端子部17の重さが作用しても棚板44の後端部(第2端部52b)が不安定になりにくい。その結果、棚板44の後端部を筐体2に固定するための固定部を省略または小さくすることができる。上記固定部を省略または小さくすることができると、棚板44の+Y方向の寸法をさらに小さくすることができる。その結果、遮断器ユニット3、ベースユニット18、及びスイッチギア1のさらなる小型化を図ることができる。例えば、本実施形態の遮断器ユニット3は、棚板44の第1板部51を筐体2の支持部材56に固定するだけで、遮断器ユニット3を筐体2内に支持可能である。またこのような構成によれば、組立時の作業性の向上も図ることができる。   Moreover, if the distance between the circuit breaker 11 for wiring and the holding | maintenance part 42 can be made small, even if the weight of the terminal part 17 acts, the rear-end part (2nd end part 52b) of the shelf board 44 will become. It is difficult to become unstable. As a result, the fixing portion for fixing the rear end portion of the shelf board 44 to the housing 2 can be omitted or reduced. If the fixing portion can be omitted or reduced, the size of the shelf plate 44 in the + Y direction can be further reduced. As a result, the circuit breaker unit 3, the base unit 18, and the switch gear 1 can be further reduced in size. For example, the circuit breaker unit 3 of the present embodiment can support the circuit breaker unit 3 in the housing 2 only by fixing the first plate portion 51 of the shelf plate 44 to the support member 56 of the housing 2. Moreover, according to such a structure, the workability | operativity at the time of an assembly can also be aimed at.

本実施形態では、ベース部材41は、配線用遮断器11を保持した第1板部51と、第1板部51と保持部42との間で+Y方向に延びた第2板部52とを有する。連結部72は、ベース部材41の第2板部52とは交差した方向に延びている。このような構成によれば、配線用遮断器11と端子部17との間におけるケーブル15の曲げをさらに小さくすることができる。これにより、棚板44の+Y方向の寸法をさらに小さくすることができる。   In the present embodiment, the base member 41 includes a first plate portion 51 that holds the circuit breaker 11 and a second plate portion 52 that extends in the + Y direction between the first plate portion 51 and the holding portion 42. Have. The connecting portion 72 extends in a direction intersecting with the second plate portion 52 of the base member 41. According to such a configuration, the bending of the cable 15 between the circuit breaker 11 for wiring and the terminal portion 17 can be further reduced. Thereby, the dimension of the + Y direction of the shelf board 44 can be made further smaller.

本実施形態では、保持部42は、ベース部材41とは別体に形成され、ベース部材41に取り付け可能である。このような構成によれば、ケーブル15を挿通部73に先に通した状態で保持部42をベース部材41に取り付けたほうが作業面で有利な場合などに、柔軟に対応することができる。これにより、組立時の作業性をさらに向上させることができる。   In the present embodiment, the holding portion 42 is formed separately from the base member 41 and can be attached to the base member 41. According to such a configuration, it is possible to flexibly cope with a case where it is advantageous in terms of work to attach the holding portion 42 to the base member 41 in a state where the cable 15 is first passed through the insertion portion 73. Thereby, the workability | operativity at the time of an assembly can be improved further.

本実施形態では、連結部72は、固定部71から延びてベース部材41に固定される一対の取付部74a,74bを有する。挿通部73は、一対の取付部74a,74bの間に設けられた切欠き部75である。このような構成によれば、上述したようなケーブル15を挿通部73に先に通した状態で保持部42をベース部材41に取り付けたほうが作業面で有利な場合などに、ケーブル15を挿通部73にさらに通しやすくなる。また切欠き部75によって挿通部73が設けられると、貫通穴によって挿通部が設けられえる場合に比べて部品の軽量化を図ることができる。   In the present embodiment, the connecting portion 72 has a pair of attachment portions 74 a and 74 b that extend from the fixing portion 71 and are fixed to the base member 41. The insertion part 73 is a notch part 75 provided between the pair of attachment parts 74a and 74b. According to such a configuration, the cable 15 is inserted into the insertion portion when it is advantageous in terms of work to attach the holding portion 42 to the base member 41 with the cable 15 previously passed through the insertion portion 73. 73 is easier to pass. Moreover, when the insertion part 73 is provided by the notch part 75, weight reduction of components can be achieved compared with the case where an insertion part can be provided by a through-hole.

本実施形態では、配線用遮断器11は、複数の支持部材14をさらに備える。この複数の支持部材14は、Z方向に分かれて配置され、複数の母線13をそれぞれ支持する。連結部72は、+X方向において複数の支持部材14の間の領域によって覆われる位置に設けられる。このような構成によれば、配線用遮断器11と連結部72とが比較的近くに配置されるため、棚板44の+Y方向の寸法がさらに小さくなりやすい。これにより、遮断器ユニット3、ベースユニット18、及びスイッチギア1のさらなる小型化を図ることができる。   In the present embodiment, the circuit breaker 11 for wiring further includes a plurality of support members 14. The plurality of support members 14 are arranged separately in the Z direction and support the plurality of bus bars 13, respectively. The connecting portion 72 is provided at a position covered with a region between the plurality of support members 14 in the + X direction. According to such a structure, since the circuit breaker 11 for wiring and the connection part 72 are arrange | positioned comparatively near, the dimension of the + Y direction of the shelf board 44 tends to become still smaller. Thereby, further size reduction of the circuit breaker unit 3, the base unit 18, and the switch gear 1 can be achieved.

本実施形態では、ベース部材41は、+X方向に延びて配線用遮断器11を保持した棚板44の第1板部51と、第1板部51から+Y方向に延びた第2板部52と、棚板44の第1板部51と第2板部52との両方に連結された起立板45とを有する。このような構成によれば、棚板44の第1板部51と第2板部52との相対変位が起立板45によって規制され、ベース部材41の剛性が高まる。このため、棚板44の後端部を筐体2に固定するための固定部の必要性がさらに小さくなる。その結果、棚板44の後端部を筐体2に固定するための固定部の省略または小型化を通じて、遮断器ユニット3、ベースユニット18及びスイッチギア1のさらなる小型化を図ることができる。   In the present embodiment, the base member 41 includes a first plate portion 51 of the shelf plate 44 that extends in the + X direction and holds the circuit breaker 11 and a second plate portion 52 that extends from the first plate portion 51 in the + Y direction. And an upright plate 45 connected to both the first plate portion 51 and the second plate portion 52 of the shelf plate 44. According to such a configuration, the relative displacement between the first plate portion 51 and the second plate portion 52 of the shelf plate 44 is regulated by the upright plate 45, and the rigidity of the base member 41 is increased. For this reason, the necessity of the fixing | fixed part for fixing the rear-end part of the shelf board 44 to the housing | casing 2 becomes still smaller. As a result, the circuit breaker unit 3, the base unit 18, and the switch gear 1 can be further reduced in size by omitting or reducing the size of the fixing portion for fixing the rear end portion of the shelf plate 44 to the housing 2.

本実施形態では、変流器を省略し、零相変流器16のみを有する。これにより、棚板44の+Y方向の寸法を小さくすることができる。   In the present embodiment, the current transformer is omitted, and only the zero-phase current transformer 16 is provided. Thereby, the dimension of the + Y direction of the shelf board 44 can be made small.

(第2の実施形態)
次に、第2の実施形態について説明する。この第2の実施形態では、挿通部73の位置が第1の実施形態とは異なる。本実施形態では、挿通部73は、棚板44の第2板部52に設けられる。なお第1の実施形態の構成と同一または類似の機能を有する構成は同一の符号を付してその説明を省略する。なお以下に説明する以外の構成は、上記第1の実施形態と同じである。
(Second Embodiment)
Next, a second embodiment will be described. In the second embodiment, the position of the insertion portion 73 is different from that of the first embodiment. In the present embodiment, the insertion portion 73 is provided in the second plate portion 52 of the shelf plate 44. In addition, the structure which has the same or similar function as the structure of 1st Embodiment attaches | subjects the same code | symbol, and abbreviate | omits the description. The configurations other than those described below are the same as those in the first embodiment.

図6乃至図9は、第2の実施形態に係る遮断器ユニット3を示す。遮断器ユニット3は、第1の実施形態と同様に、筐体2に収容されてスイッチギア1の一部を構成する。   6 to 9 show the circuit breaker unit 3 according to the second embodiment. The circuit breaker unit 3 is housed in the housing 2 and constitutes a part of the switch gear 1 as in the first embodiment.

図6及び図7に示すように、本実施形態に係る遮断器ユニット3は、第1配線用遮断器11aと、第2配線用遮断器11bと含む。第1配線用遮断器11aは、第1の実施形態の配線用遮断器11と同じである。第2配線用遮断器11bは、第1配線用遮断器11aに比べて大容量の遮断器である。   As shown in FIG.6 and FIG.7, the circuit breaker unit 3 which concerns on this embodiment contains the circuit breaker 11a for 1st wiring, and the circuit breaker 11b for 2nd wiring. The circuit breaker 11a for 1st wiring is the same as the circuit breaker 11 for wiring of 1st Embodiment. The second circuit breaker 11b is a circuit breaker having a larger capacity than the first circuit breaker 11a.

第2配線用遮断器11bには、図8に示すようにケーブル15に代えて2次側導体(第2導体、第2接続導体)81が接続される。2次側導体81は、金属部材であり、2次側端子22から+Y方向に直線状に延びている。本実施形態では、2次側導体81は、3本設けられている。3本の2次側導体81は、纏めて零相変流器16に通される。なお2次側導体81の先端には、端子部17が設けられていない。2次側導体81には、例えば他の接続導体(外部接続導体)が直接に接続可能である。   As shown in FIG. 8, a secondary side conductor (second conductor, second connection conductor) 81 is connected to the second circuit breaker 11b instead of the cable 15. The secondary conductor 81 is a metal member and extends linearly from the secondary terminal 22 in the + Y direction. In the present embodiment, three secondary conductors 81 are provided. The three secondary conductors 81 are collectively passed through the zero-phase current transformer 16. Note that the terminal portion 17 is not provided at the tip of the secondary conductor 81. For example, another connection conductor (external connection conductor) can be directly connected to the secondary conductor 81.

図7乃至図9に示すように、本実施形態に係る保持部42は、棚板44の第2板部52と一体に形成される。具体的には、保持部42の固定部71は、棚板44の第2板部52の第2端部52bに直接に接続される。すなわち、保持部42の固定部71は、棚板44の第2板部52の第2端部52bから、+X方向とは斜めに交差した方向に延びている。固定部71は、例えば、第2端部52bから斜め下方に延びている。   As shown in FIGS. 7 to 9, the holding portion 42 according to the present embodiment is formed integrally with the second plate portion 52 of the shelf plate 44. Specifically, the fixing portion 71 of the holding portion 42 is directly connected to the second end portion 52 b of the second plate portion 52 of the shelf plate 44. That is, the fixing portion 71 of the holding portion 42 extends from the second end portion 52 b of the second plate portion 52 of the shelf plate 44 in a direction obliquely intersecting the + X direction. For example, the fixing portion 71 extends obliquely downward from the second end portion 52b.

本実施形態では、ケーブル15が通される挿通部73は、棚板44の第2板部52に設けられる。本実施形態では、挿通部73は、+Y方向において、第1配線用遮断器11aと、第2固定部62との間に位置する。換言すれば、挿通部73は、+Y方向において、第1固定部61と、第2固定部62との間に位置する。さらに換言すれば、起立板45は、挿通部73と保持部42との間の位置で、棚板44の第2板部52に連結される。   In the present embodiment, the insertion portion 73 through which the cable 15 is passed is provided in the second plate portion 52 of the shelf plate 44. In the present embodiment, the insertion portion 73 is located between the first wiring breaker 11a and the second fixing portion 62 in the + Y direction. In other words, the insertion part 73 is located between the first fixing part 61 and the second fixing part 62 in the + Y direction. In other words, the upright plate 45 is connected to the second plate portion 52 of the shelf plate 44 at a position between the insertion portion 73 and the holding portion 42.

遮断器ユニット3は、第1の実施形態と同様に、複数の支持部材14を有する。この複数の支持部材14は、Z方向に分かれて配置され、複数の母線13をそれぞれ支持する。本実施形態では、挿通部73は、+X方向において複数の支持部材14の間の領域によって覆われる位置に設けられる。ケーブル15は、例えば、複数の支持部材14の間の領域の下方で挿通部73に通され、棚板44の第2板部52を下方から上方に導かれて端子部17に達する。   The circuit breaker unit 3 includes a plurality of support members 14 as in the first embodiment. The plurality of support members 14 are arranged separately in the Z direction and support the plurality of bus bars 13, respectively. In the present embodiment, the insertion portion 73 is provided at a position covered with a region between the plurality of support members 14 in the + X direction. For example, the cable 15 is passed through the insertion portion 73 below the region between the plurality of support members 14, and the second plate portion 52 of the shelf plate 44 is guided upward from below to reach the terminal portion 17.

以上説明した第2の実施形態では、遮断器ユニット3は、配線用遮断器11aと、ケーブル15と、端子部17と、保持部42と、棚板44と、起立板45とを有する。ケーブル15は、配線用遮断器11aに電気的に接続される。端子部17は、ケーブル15の先端に設けられ、配線31を接続可能である。保持部42は、端子部17を保持する。棚板44は、配線用遮断器11aを保持する第1板部51と、第1板部51と保持部42との間に配置された第2板部52とを含む。第2板部52は、ケーブル15が通される挿通部73が設けられる。起立板45は、棚板44の第1板部51に連結されるとともに、挿通部73と保持部42との間の位置で棚板44の第2板部52に連結される。   In the second embodiment described above, the circuit breaker unit 3 includes the circuit breaker 11 a for wiring, the cable 15, the terminal unit 17, the holding unit 42, the shelf plate 44, and the upright plate 45. The cable 15 is electrically connected to the circuit breaker 11a. The terminal portion 17 is provided at the tip of the cable 15 and can connect the wiring 31. The holding unit 42 holds the terminal unit 17. The shelf plate 44 includes a first plate portion 51 that holds the circuit breaker 11 a and a second plate portion 52 that is disposed between the first plate portion 51 and the holding portion 42. The second plate portion 52 is provided with an insertion portion 73 through which the cable 15 is passed. The upright plate 45 is connected to the first plate portion 51 of the shelf plate 44 and is connected to the second plate portion 52 of the shelf plate 44 at a position between the insertion portion 73 and the holding portion 42.

このような構成の遮断器ユニット3、遮断器用のベースユニット18、及びスイッチギア1によれば、遮断器ユニット3、ベースユニット18、及びスイッチギア1の小型化を図ることができる。すなわち本実施形態では、棚板44の第2板部52において挿通部73よりも後方に位置した第2端部52bが、起立板45によって保持される。このため、棚板44の後端部が安定しやすく、棚板44の後端部を筐体2に固定するための固定部を省略または小さくすることができる。これにより、遮断器ユニット3、ベースユニット18、及びスイッチギア1の小型化(例えば奥行き寸法の短縮)を図ることができる。なお、第2板部52の第2端部52bを起立板45によって保持することで、棚板44の後端部を筐体2に固定するための固定部を省略または小さくすることができ、これにより遮断器ユニット3、ベースユニット18、及びスイッチギア1の小型化(例えば奥行き寸法の短縮)を図ることができる点については、第1の実施形態の構成においても同様である。   According to the circuit breaker unit 3, the circuit breaker base unit 18, and the switch gear 1 having such a configuration, the circuit breaker unit 3, the base unit 18, and the switch gear 1 can be reduced in size. That is, in the present embodiment, the second end portion 52 b positioned behind the insertion portion 73 in the second plate portion 52 of the shelf plate 44 is held by the upright plate 45. For this reason, the rear end part of the shelf board 44 is easily stabilized, and the fixing part for fixing the rear end part of the shelf board 44 to the housing 2 can be omitted or reduced. Thereby, size reduction (for example, shortening of a depth dimension) of the circuit breaker unit 3, the base unit 18, and the switch gear 1 can be achieved. In addition, by holding the second end portion 52b of the second plate portion 52 by the upright plate 45, the fixing portion for fixing the rear end portion of the shelf plate 44 to the housing 2 can be omitted or reduced. This also applies to the configuration of the first embodiment in that the circuit breaker unit 3, the base unit 18, and the switch gear 1 can be reduced in size (for example, the depth dimension can be reduced).

本実施形態では、遮断器ユニット3は、母線13をそれぞれ支持する複数の支持部材14をさらに備える。挿通部73は、+X方向において複数の支持部材14の間の領域によって覆われる位置に設けられる。このような構成によれば、棚板44の+Y方向の寸法が短くなるため、棚板44の後端部がさらに安定しやすい。このため、棚板44の後端部を筐体2に固定するための固定部の省略またはさらなる小型化を通じて、遮断器ユニット3、ベースユニット18、及びスイッチギア1のさらなる小型化を図ることができる。   In the present embodiment, the circuit breaker unit 3 further includes a plurality of support members 14 that respectively support the busbars 13. The insertion portion 73 is provided at a position covered with a region between the plurality of support members 14 in the + X direction. According to such a configuration, since the dimension of the shelf board 44 in the + Y direction is shortened, the rear end portion of the shelf board 44 is more easily stabilized. For this reason, the circuit breaker unit 3, the base unit 18, and the switch gear 1 can be further reduced in size by omitting the fixing portion for fixing the rear end portion of the shelf plate 44 to the housing 2 or further reducing the size. it can.

本実施形態では、上記構成を通じて第1配線用遮断器11aと端子部17とが比較的近くに配置される。このため、2次側導体81に対応した第2配線用遮断器11bと、ケーブル15に対応した第1配線用遮断器11aとを並置することができる。これは、遮断器ユニット3、ベースユニット18、及びスイッチギア1の設計の自由度を向上させることができる。   In this embodiment, the 1st circuit breaker 11a and the terminal part 17 are arrange | positioned comparatively near through the said structure. For this reason, the second circuit breaker 11b corresponding to the secondary conductor 81 and the first wiring circuit breaker 11a corresponding to the cable 15 can be juxtaposed. This can improve the design freedom of the circuit breaker unit 3, the base unit 18, and the switch gear 1.

以上、第1及び第2の実施形態に係る構成について説明したが、実施形態の構成は上記例に限られない。各実施形態の構成は互いに組み合わせて適用可能である。例えば第1の実施形態の構成において、ケーブル15に対応した第1配線用遮断器11aと、2次側導体81に対応した第2配線用遮断器11bとを並置してもよい。また第2実施形態の構成において、全ての配線用遮断器11が、ケーブル15に対応した配線用遮断器11aであってもよい。また「第1方向側」は、下方側に限らず、他の方向側でもよい。   The configuration according to the first and second embodiments has been described above, but the configuration of the embodiment is not limited to the above example. The configurations of the embodiments can be applied in combination with each other. For example, in the configuration of the first embodiment, the first wiring breaker 11 a corresponding to the cable 15 and the second wiring breaker 11 b corresponding to the secondary conductor 81 may be juxtaposed. In the configuration of the second embodiment, all the circuit breakers 11 for wiring may be the circuit breakers 11 a for wiring corresponding to the cables 15. The “first direction side” is not limited to the lower side, and may be the other direction side.

以上説明した少なくとも1つの実施形態によれば、例えば棚板の後端部を筐体に固定するための固定部を省略または小さくすることができ、遮断器ユニット、遮断器用のベースユニット、及びスイッチギアの小型化(例えば奥行き寸法の短縮)を図ることができる。   According to at least one embodiment described above, for example, the fixing portion for fixing the rear end portion of the shelf board to the housing can be omitted or reduced, and the circuit breaker unit, the base unit for the circuit breaker, and the switch It is possible to reduce the size of the gear (for example, shorten the depth dimension).

本発明のいくつかの実施形態を説明したが、これらの実施形態は、例として提示したものであり、発明の範囲を限定することは意図していない。これら実施形態は、その他の様々な形態で実施されることが可能であり、発明の要旨を逸脱しない範囲で、種々の省略、置き換え、変更を行うことができる。これら実施形態やその変形は、発明の範囲や要旨に含まれると同様に、特許請求の範囲に記載された発明とその均等の範囲に含まれるものである。   Although several embodiments of the present invention have been described, these embodiments are presented by way of example and are not intended to limit the scope of the invention. These embodiments can be implemented in various other forms, and various omissions, replacements, and changes can be made without departing from the spirit of the invention. These embodiments and their modifications are included in the scope and gist of the invention, and are also included in the invention described in the claims and the equivalents thereof.

1…スイッチギア、2…筐体、3…遮断器ユニット、11,11a,11b…配線用遮断器、12…1次側導体、13…母線、14…支持部材、15…ケーブル、16…零相変流器、17…端子部、18…ベースユニット、31…配線、41…ベース部材、42…保持部、44…棚板、45…起立板(第3部分)、51…第1板部(第1部分)、52…第2板部(第2部分)、71…固定部、72…連結部、73…挿通部、74a,74b…取付部、75…切欠き部。   DESCRIPTION OF SYMBOLS 1 ... Switch gear, 2 ... Housing | casing, 3 ... Circuit breaker unit, 11, 11a, 11b ... Circuit breaker for wiring, 12 ... Primary side conductor, 13 ... Busbar, 14 ... Support member, 15 ... Cable, 16 ... Zero Phase current transformer, 17 ... terminal portion, 18 ... base unit, 31 ... wiring, 41 ... base member, 42 ... holding portion, 44 ... shelf plate, 45 ... stand plate (third portion), 51 ... first plate portion (1st part), 52 ... 2nd board part (2nd part), 71 ... Fixing part, 72 ... Connection part, 73 ... Insertion part, 74a, 74b ... Attachment part, 75 ... Notch part.

Claims (12)

配線用遮断器と、
前記配線用遮断器に電気的に接続され、少なくとも一部が前記配線用遮断器の第1方向側に位置したケーブルと、
前記ケーブルの先端に設けられ、配線を接続可能な端子部と、
前記配線用遮断器を保持するベース部材と、
前記端子部を保持する保持部と、を備え、
前記保持部は、
前記端子部が固定される固定部と、
前記固定部と前記ベース部材との間に配置され、前記ベース部材の前記第1方向側で前記ケーブルが通される挿通部が設けられた連結部と、を備える、
遮断器ユニット。
A circuit breaker;
A cable electrically connected to the circuit breaker for wiring, at least a part of which is located on the first direction side of the circuit breaker for wiring;
A terminal portion provided at the tip of the cable, to which wiring can be connected;
A base member for holding the wiring breaker;
A holding part for holding the terminal part,
The holding part is
A fixing part to which the terminal part is fixed;
A connecting portion provided between the fixing portion and the base member and provided with an insertion portion through which the cable is passed on the first direction side of the base member.
Breaker unit.
前記保持部は、前記ベース部材と別体に形成され、前記ベース部材に取り付け可能である、
請求項1に記載の遮断器ユニット。
The holding portion is formed separately from the base member and can be attached to the base member.
The circuit breaker unit according to claim 1.
前記ベース部材は、前記配線用遮断器を保持した第1部分と、前記第1部分と前記保持部との間で前記第1方向とは交差した第2方向に延びた第2部分とを有し、
前記連結部は、前記ベース部材の前記第2部分とは交差した方向に延びた、
請求項1または請求項2に記載の遮断器ユニット。
The base member has a first part holding the circuit breaker for wiring, and a second part extending in a second direction intersecting the first direction between the first part and the holding part. And
The connecting portion extends in a direction intersecting the second portion of the base member;
The circuit breaker unit according to claim 1 or 2.
前記連結部は、前記固定部から延びて前記ベース部材に固定される一対の取付部を有し、
前記挿通部は、前記一対の取付部の間に設けられた切欠き部である、
請求項1乃至請求項3のいずれか一項に記載の遮断器ユニット。
The connecting portion has a pair of attachment portions extending from the fixing portion and fixed to the base member,
The insertion portion is a notch provided between the pair of attachment portions.
The circuit breaker unit according to any one of claims 1 to 3.
前記第1方向とは交差した方向に分かれて配置され、前記配線用遮断器が電気的に接続される母線をそれぞれ支持する複数の支持部材をさらに備え、
前記連結部は、前記複数の支持部材の間の領域によって前記第1方向において覆われる位置に設けられた、
請求項1乃至請求項4のいずれか一項に記載の遮断器ユニット。
A plurality of support members arranged separately in a direction intersecting with the first direction, each supporting a busbar to which the circuit breaker for wiring is electrically connected;
The connecting portion is provided at a position covered in the first direction by a region between the plurality of support members.
The circuit breaker unit according to any one of claims 1 to 4.
前記ベース部材は、前記第1方向に延びて前記配線用遮断器を保持した第1部分と、前記第1部分から前記第1方向とは交差した第2方向に延びた第2部分と、前記第1部分と前記第2部分との両方に連結された第3部分とを有する、
請求項1乃至請求項5のいずれか一項に記載の遮断器ユニット。
The base member extending in the first direction to hold the circuit breaker for wiring; a second portion extending from the first portion in a second direction intersecting the first direction; A third portion coupled to both the first portion and the second portion;
The circuit breaker unit according to any one of claims 1 to 5.
配線用遮断器と、
前記配線用遮断器に電気的に接続されたケーブルと、
前記ケーブルの先端に設けられ、配線を接続可能な端子部と、
前記端子部を保持する保持部と、
前記配線用遮断器を保持する第1部分と、前記第1部分と前記保持部との間に配置され、前記ケーブルが通される挿通部が設けられた第2部分と、前記第1部分に連結されるとともに、前記挿通部と前記保持部との間の位置で前記第2部分に連結される第3部分とを有するベース部材と、を備える、
遮断器ユニット。
A circuit breaker;
A cable electrically connected to the circuit breaker;
A terminal portion provided at the tip of the cable, to which wiring can be connected;
A holding part for holding the terminal part;
A first part for holding the circuit breaker for wiring, a second part provided between the first part and the holding part and provided with an insertion part through which the cable is passed, and the first part And a base member having a third part connected to the second part at a position between the insertion part and the holding part.
Breaker unit.
前記配線用遮断器が電気的に接続される母線をそれぞれ支持する複数の支持部材をさらに備え、
前記挿通部は、前記複数の支持部材の間の領域によって覆われる位置に設けられた、
請求項7に記載の遮断器ユニット。
A plurality of supporting members that respectively support buses to which the circuit breakers for wiring are electrically connected;
The insertion portion is provided at a position covered by a region between the plurality of support members.
The circuit breaker unit according to claim 7.
配線用遮断器と、前記配線用遮断器に電気的に接続されて少なくとも一部が前記配線用遮断器の第1方向側に位置するケーブルと、前記ケーブルの先端に設けられて配線を接続可能な端子部と、を保持可能なベースユニットであって、
前記配線用遮断器を保持可能なベース部材と、
前記端子部を保持可能な保持部と、を備え、
前記保持部は、
前記端子部が固定される固定部と、
前記固定部と前記ベース部材との間に配置され、前記ベース部材の前記第1方向側で前記ケーブルが通される挿通部が設けられた連結部と、を備える、
遮断器用のベースユニット。
A circuit breaker for wiring, a cable that is electrically connected to the circuit breaker for wiring and at least a part thereof is positioned on the first direction side of the circuit breaker for wiring, and is provided at the tip of the cable to connect the wiring A base unit capable of holding
A base member capable of holding the wiring breaker;
A holding part capable of holding the terminal part,
The holding part is
A fixing part to which the terminal part is fixed;
A connecting portion provided between the fixing portion and the base member and provided with an insertion portion through which the cable is passed on the first direction side of the base member.
Base unit for circuit breaker.
配線用遮断器と、前記配線用遮断器に電気的に接続されたケーブルと、前記ケーブルの先端に設けられて配線を接続可能な端子部と、を保持可能なベースユニットであって、
前記端子部を保持可能な保持部と、
前記配線用遮断器を保持可能な第1部分と、前記第1部分と前記保持部との間に配置され、前記ケーブルが通される挿通部が設けられた第2部分と、前記第1部分に連結されるとともに、前記挿通部と前記保持部との間の位置で前記第2部分に連結される第3部分とを有するベース部材と、を備える、
遮断器用のベースユニット。
A base unit capable of holding a circuit breaker for wiring, a cable electrically connected to the circuit breaker for wiring, and a terminal portion provided at a tip of the cable to which wiring can be connected,
A holding part capable of holding the terminal part;
A first part capable of holding the circuit breaker for wiring; a second part provided between the first part and the holding part and provided with an insertion part through which the cable is passed; and the first part And a base member having a third part connected to the second part at a position between the insertion part and the holding part,
Base unit for circuit breaker.
筐体と、
前記筐体に収容された配線用遮断器と、
前記配線用遮断器に電気的に接続され、少なくとも一部が前記配線用遮断器の第1方向側に位置したケーブルと、
前記ケーブルの先端に設けられ、配線を接続可能な端子部と、
前記配線用遮断器を保持するベース部材と、
前記端子部を保持する保持部と、を備え、
前記保持部は、
前記端子部が固定される固定部と、
前記固定部と前記ベース部材との間に配置され、前記ベース部材の前記第1方向側で前記ケーブルが通される挿通部が設けられた連結部と、を備える、
スイッチギア。
A housing,
A circuit breaker housed in the housing;
A cable electrically connected to the circuit breaker for wiring, at least a part of which is located on the first direction side of the circuit breaker for wiring;
A terminal portion provided at the tip of the cable, to which wiring can be connected;
A base member for holding the wiring breaker;
A holding part for holding the terminal part,
The holding part is
A fixing part to which the terminal part is fixed;
A connecting portion provided between the fixing portion and the base member and provided with an insertion portion through which the cable is passed on the first direction side of the base member.
Switch gear.
筐体と、
前記筐体に収容された配線用遮断器と、
前記配線用遮断器に電気的に接続されたケーブルと、
前記ケーブルの先端に設けられ、配線を接続可能な端子部と、
前記端子部を保持する保持部と、
前記配線用遮断器を保持する第1部分と、前記第1部分と前記保持部との間に配置され、前記ケーブルが通される挿通部が設けられた第2部分と、前記第1部分に連結されるとともに、前記挿通部と前記保持部との間の位置で前記第2部分に連結される第3部分とを有するベース部材と、を備える、
スイッチギア。
A housing,
A circuit breaker housed in the housing;
A cable electrically connected to the circuit breaker;
A terminal portion provided at the tip of the cable, to which wiring can be connected;
A holding part for holding the terminal part;
A first part for holding the circuit breaker for wiring, a second part provided between the first part and the holding part and provided with an insertion part through which the cable is passed, and the first part And a base member having a third part connected to the second part at a position between the insertion part and the holding part.
Switch gear.
JP2015007224A 2015-01-16 2015-01-16 Circuit breaker unit, base unit for circuit breaker, and switchgear Active JP6334420B2 (en)

Priority Applications (1)

Application Number Priority Date Filing Date Title
JP2015007224A JP6334420B2 (en) 2015-01-16 2015-01-16 Circuit breaker unit, base unit for circuit breaker, and switchgear

Applications Claiming Priority (1)

Application Number Priority Date Filing Date Title
JP2015007224A JP6334420B2 (en) 2015-01-16 2015-01-16 Circuit breaker unit, base unit for circuit breaker, and switchgear

Publications (2)

Publication Number Publication Date
JP2016134977A true JP2016134977A (en) 2016-07-25
JP6334420B2 JP6334420B2 (en) 2018-05-30

Family

ID=56434751

Family Applications (1)

Application Number Title Priority Date Filing Date
JP2015007224A Active JP6334420B2 (en) 2015-01-16 2015-01-16 Circuit breaker unit, base unit for circuit breaker, and switchgear

Country Status (1)

Country Link
JP (1) JP6334420B2 (en)

Cited By (1)

* Cited by examiner, † Cited by third party
Publication number Priority date Publication date Assignee Title
JP2020120557A (en) * 2019-01-28 2020-08-06 北越工業株式会社 Engine driving type power generator

Citations (4)

* Cited by examiner, † Cited by third party
Publication number Priority date Publication date Assignee Title
JPS5259227U (en) * 1975-10-29 1977-04-30
JPS5486625U (en) * 1977-12-02 1979-06-19
JPS57143813U (en) * 1981-03-06 1982-09-09
JPS61141907U (en) * 1985-02-20 1986-09-02

Patent Citations (4)

* Cited by examiner, † Cited by third party
Publication number Priority date Publication date Assignee Title
JPS5259227U (en) * 1975-10-29 1977-04-30
JPS5486625U (en) * 1977-12-02 1979-06-19
JPS57143813U (en) * 1981-03-06 1982-09-09
JPS61141907U (en) * 1985-02-20 1986-09-02

Cited By (2)

* Cited by examiner, † Cited by third party
Publication number Priority date Publication date Assignee Title
JP2020120557A (en) * 2019-01-28 2020-08-06 北越工業株式会社 Engine driving type power generator
JP7271204B2 (en) 2019-01-28 2023-05-11 北越工業株式会社 engine driven generator

Also Published As

Publication number Publication date
JP6334420B2 (en) 2018-05-30

Similar Documents

Publication Publication Date Title
CN101682180B (en) High-voltage switchgear
US7558053B2 (en) Electrical enclosure and electrical bus assembly therefor
CN109193443B (en) Electrical distribution system including neutral point connection device and method of assembling same
JP2012182963A (en) Bar holder for switchboard
JP2010022080A (en) Distribution switchboard for lower inlet wire
JP6334420B2 (en) Circuit breaker unit, base unit for circuit breaker, and switchgear
JP6330187B2 (en) Board equipment wiring structure
JP2019047579A (en) switchboard
CN106463920B (en) Switching device
JP7154702B2 (en) switchboard
JP2014150606A (en) Switchgear
JP6173579B2 (en) Busbar structure and switchboard using the same
JP5081853B2 (en) switchboard
US11139641B1 (en) Group meter stack with disconnect switch
JP7382892B2 (en) DC switchboard
JP7382891B2 (en) DC switchboard
JP6628590B2 (en) Switchgear
JP6270552B2 (en) Metal closed switchgear
CN112514187A (en) Gas insulated switchgear
JP6041197B2 (en) Connection box
JP2018148628A (en) Distribution board
JP7065701B2 (en) How to assemble the switchgear
JP6178996B2 (en) Plug-in unit used for plug-in distribution boards
JP6402370B2 (en) Arrangement structure of secondary feeding equipment
KR20180000846U (en) Switchgear

Legal Events

Date Code Title Description
A621 Written request for application examination

Free format text: JAPANESE INTERMEDIATE CODE: A621

Effective date: 20170308

A711 Notification of change in applicant

Free format text: JAPANESE INTERMEDIATE CODE: A712

Effective date: 20170911

Free format text: JAPANESE INTERMEDIATE CODE: A711

Effective date: 20170911

A977 Report on retrieval

Free format text: JAPANESE INTERMEDIATE CODE: A971007

Effective date: 20171108

A131 Notification of reasons for refusal

Free format text: JAPANESE INTERMEDIATE CODE: A131

Effective date: 20171121

A521 Request for written amendment filed

Free format text: JAPANESE INTERMEDIATE CODE: A523

Effective date: 20180118

TRDD Decision of grant or rejection written
A01 Written decision to grant a patent or to grant a registration (utility model)

Free format text: JAPANESE INTERMEDIATE CODE: A01

Effective date: 20180403

A61 First payment of annual fees (during grant procedure)

Free format text: JAPANESE INTERMEDIATE CODE: A61

Effective date: 20180426

R150 Certificate of patent or registration of utility model

Ref document number: 6334420

Country of ref document: JP

Free format text: JAPANESE INTERMEDIATE CODE: R150

S111 Request for change of ownership or part of ownership

Free format text: JAPANESE INTERMEDIATE CODE: R313115

R350 Written notification of registration of transfer

Free format text: JAPANESE INTERMEDIATE CODE: R350