JP2016102338A - Fixing structure for exterior wall panel - Google Patents

Fixing structure for exterior wall panel Download PDF

Info

Publication number
JP2016102338A
JP2016102338A JP2014241321A JP2014241321A JP2016102338A JP 2016102338 A JP2016102338 A JP 2016102338A JP 2014241321 A JP2014241321 A JP 2014241321A JP 2014241321 A JP2014241321 A JP 2014241321A JP 2016102338 A JP2016102338 A JP 2016102338A
Authority
JP
Japan
Prior art keywords
wall panel
fastening member
notch
neck
fixing structure
Prior art date
Legal status (The legal status is an assumption and is not a legal conclusion. Google has not performed a legal analysis and makes no representation as to the accuracy of the status listed.)
Granted
Application number
JP2014241321A
Other languages
Japanese (ja)
Other versions
JP6441049B2 (en
Inventor
尾山 誠
Makoto Oyama
誠 尾山
田中 潔
Kiyoshi Tanaka
潔 田中
大幸 市岡
Daiko Ichioka
大幸 市岡
Current Assignee (The listed assignees may be inaccurate. Google has not performed a legal analysis and makes no representation or warranty as to the accuracy of the list.)
Daiwa House Industry Co Ltd
Original Assignee
Daiwa House Industry Co Ltd
Priority date (The priority date is an assumption and is not a legal conclusion. Google has not performed a legal analysis and makes no representation as to the accuracy of the date listed.)
Filing date
Publication date
Application filed by Daiwa House Industry Co Ltd filed Critical Daiwa House Industry Co Ltd
Priority to JP2014241321A priority Critical patent/JP6441049B2/en
Publication of JP2016102338A publication Critical patent/JP2016102338A/en
Application granted granted Critical
Publication of JP6441049B2 publication Critical patent/JP6441049B2/en
Active legal-status Critical Current
Anticipated expiration legal-status Critical

Links

Images

Landscapes

  • Load-Bearing And Curtain Walls (AREA)

Abstract

【課題】外壁パネルの上部側でボルトとナットによる固定が行え、外壁パネルの下部側で引っ掛け固定とすることができるようにする。
【解決手段】外壁パネル1の上部側の両角部分には、両切りボルトが屋内方向に突出状態に設けられている。また、外壁パネル1の下部側の両角部分には、係合凸部2が装着されている。この係合凸部2は、頭部21と、首部22と、鍔部23とを有している。建物の構造躯体4には、上記係合凸部2が係合される留め部材3が固定されている。上記留め部材3の上辺側には、開口が上に向けられた切欠き部31が形成されている。上記切欠き部31の周囲には、バーリング加工によってバーリング部(突縁部)32が設けられている。
【選択図】図1
An object of the present invention is to enable fixing with bolts and nuts on the upper side of an outer wall panel, and hooking and fixing on the lower side of the outer wall panel.
At both corners on the upper side of an outer wall panel, double-cut bolts are provided in a protruding state in the indoor direction. Engaging convex portions 2 are mounted on both corners on the lower side of the outer wall panel 1. The engaging convex part 2 has a head part 21, a neck part 22, and a collar part 23. A fastening member 3 to which the engaging projection 2 is engaged is fixed to the building structural body 4. On the upper side of the fastening member 3, a notch 31 is formed with the opening directed upward. A burring portion (protruding edge portion) 32 is provided around the notch portion 31 by burring.
[Selection] Figure 1

Description

この発明は、外壁パネルを建物の構造躯体に固定する固定構造に関する。   The present invention relates to a fixing structure for fixing an outer wall panel to a structural frame of a building.

外壁パネルを建物の構造躯体に固定する固定構造として、上記外壁パネルの上部と下部の各々にボルト部を設け、上記構造躯体側の固定金物に形成した貫通孔に上記ボルト部を通し、ナットによって上記ボルト部を締め付ける構造が考えられる。   As a fixing structure for fixing the outer wall panel to the structural frame of the building, a bolt part is provided on each of the upper and lower parts of the outer wall panel, the bolt part is passed through a through hole formed in the fixing hardware on the structural frame side, and a nut is used. A structure for fastening the bolt part is conceivable.

また、特許文献1には、建築物の構造躯体に固定される断面略L字形の下地鋼材に対し、壁パネル裏面を下地鋼材との間に一定の間隔を有するように平行に配し、壁パネル裏面の幅方向略中心部に取り付けられた取付金具の鉛直方向に配した当接部を、下地鋼材の鉛直片の壁パネル側の面に当接させて固定する構造が開示されている。   Moreover, in patent document 1, it arrange | positions in parallel so that it may have a fixed space | interval between a wall panel back surface with a base steel material with respect to the base steel material of a substantially L-shaped cross section fixed to the structural frame of a building, There is disclosed a structure in which an abutting portion arranged in a vertical direction of a mounting bracket attached to a substantially center portion in the width direction on the back surface of a panel is abutted against and fixed to a wall panel side surface of a vertical piece of a base steel material.

特開平11-293833号公報JP 11-293833 A

しかしながら、上記のように、上記外壁パネルの上部と下部の各々に設けられたボルト部によって当該外壁パネルを躯体に固定するのでは、ボルトとナットによる固定の箇所が多くなって作業時間が増加し、さらに、ナットを装着する箇所が狭いと、作業が難しくなるといった欠点がある。また、上記特許文献1の技術は、いわゆる引っ掛けの構造によって外壁パネルを固定できるものの、外壁パネルの上側でボルトとナットによる固定を行う一方、外壁パネルの下部側で引っ掛け固定が行われるものではない。   However, as described above, when the outer wall panel is fixed to the housing by the bolt portions provided on the upper and lower portions of the outer wall panel, the number of fixing points by the bolts and nuts increases and the working time increases. Furthermore, if the place where the nut is mounted is narrow, there is a disadvantage that the work becomes difficult. Moreover, although the technique of the said patent document 1 can fix an outer wall panel with what is called a hook structure, while fixing with a volt | bolt and a nut on the upper side of an outer wall panel, it is not what is hooked and fixed on the lower side of an outer wall panel. .

この発明は、上記の事情に鑑み、外壁パネルの上部側でボルトとナットによる固定が行え、外壁パネルの下部側で引っ掛け固定とすることができるようにする。また、上記外壁パネルの設置作業の容易化や外壁パネルが受ける風荷重の対策を図る。   In view of the above circumstances, the present invention can be fixed with bolts and nuts on the upper side of the outer wall panel and can be hooked and fixed on the lower side of the outer wall panel. Also, the installation work of the outer wall panel is facilitated and measures against wind loads received by the outer wall panel are intended.

この発明の外壁パネルの固定構造は、上記の課題を解決するために、外壁パネルを建物の構造躯体に固定する固定構造において、上記外壁パネルの下部側には、首部の先端側に当該首部より大きな頭部を有する係合凸部が設けられており、上記構造躯体には、上記係合凸部が係合される切欠き部を有した留め部材が固定されており、上記切欠き部の周囲には、突縁部が設けられており、上記首部が上記切欠き部に係合されるとともに上記突縁部が上記頭部の裏側に当接されていることを特徴とする。   In order to solve the above problems, the outer wall panel fixing structure of the present invention is a fixing structure for fixing an outer wall panel to a structural frame of a building. An engaging convex part having a large head is provided, and a fastening member having a notch part with which the engaging convex part is engaged is fixed to the structural casing, A protruding edge is provided around the periphery, and the neck is engaged with the notch and the protruding edge is in contact with the back side of the head.

上記の構成であれば、上記係合凸部の上記首部を上記切欠き部に係合させることで上記外壁パネルの下部側が上記留め部材に引っ掛けられ、上記突縁部が上記頭部の裏側に当接されて上記留め部材による上記外壁パネルの下部側の固定が行われる。上記外壁パネルの上部側については、ボルトとナットとによる固定とすることが可能である。   If it is said structure, the lower part side of the said outer wall panel will be hooked on the said fastening member by engaging the said neck part of the said engagement convex part with the said notch part, and the said protrusion edge part will be on the back side of the said head. The lower side of the outer wall panel is fixed by the abutting member by contacting. The upper side of the outer wall panel can be fixed with bolts and nuts.

上記突縁部の上部は上側ほど突出高さが低い傾斜部とされていてもよい。これによれば、建築現場で吊り上げた外壁パネルを少しずつ降下させながら上記係合凸部の首部を上記切欠き部に係合させる際に、当該外壁パネルがその下部側ほど建物躯体に近い傾斜状態にされたとしても、上記突縁部の上部には、上記傾斜部が形成されているので、上記頭部の下縁の当たりを防ぎながら上記首部を上記切欠き部に導入する作業が容易に行えるようになる。そして、上記吊り上げた外壁パネルをさらに降下させることで、上記突縁部の非傾斜部分を上記頭部の裏側に接触させてパネル下部側の固定状態を形成することができる。   The upper part of the protruding edge part may be an inclined part having a protruding height that is lower toward the upper side. According to this, when the outer wall panel lifted at the construction site is gradually lowered while the neck portion of the engaging convex portion is engaged with the notch portion, the outer wall panel is inclined closer to the building frame toward the lower side. Even if it is in a state, since the inclined portion is formed at the upper portion of the protruding edge portion, it is easy to introduce the neck portion into the notch portion while preventing the lower edge of the head from hitting. Will be able to do. Then, by further lowering the suspended outer wall panel, the non-inclined portion of the projecting edge can be brought into contact with the back side of the head to form a fixed state on the lower side of the panel.

上記留め部材が上記構造躯体としての建物基礎上に固定されており、上記留め部材の上辺に上記切欠き部の開口が形成されていてもよい。これによれば、上記係合凸部の首部を上記切欠き部に係合させる作業が容易に行える。   The said fastening member may be fixed on the building foundation as said structure housing, and the opening of the said notch part may be formed in the upper side of the said fastening member. According to this, the operation | work which makes the neck part of the said engagement convex part engage with the said notch part can be performed easily.

上記建物基礎上に固定される上記留め部材には、上記切欠き部に係合される上記首部よりも下側となる箇所に、上記外壁パネルの下部の屋内面に当たる凸部が形成されていてもよい。これによれば、上記留め部材が上記建物基礎上に固定される構造において、上記外壁パネルが風荷重を受けたときの対策が図れる。   The fastening member fixed on the building foundation has a convex portion that hits the indoor surface at the lower part of the outer wall panel at a position below the neck that is engaged with the notch. Also good. According to this, in the structure in which the fastening member is fixed on the building foundation, it is possible to take measures when the outer wall panel receives a wind load.

上記留め部材が上記構造躯体としての横架材の上面に固定されており、上記留め部材には、上記係合凸部の上記頭部が挿通できる大きさの貫通孔部が形成されており、上記貫通孔部の下側に上記突縁部を有する上記切欠き部が形成されていてもよい。   The fastening member is fixed to the upper surface of the horizontal member as the structural frame, and the fastening member is formed with a through-hole portion having a size through which the head portion of the engagement convex portion can be inserted, The cutout portion having the protruding edge portion may be formed below the through-hole portion.

上記横架材の上面に固定される上記留め部材には、上記切欠き部に係合される上記首部よりも下側となる箇所と上側となる箇所の両方に、上記外壁パネルの下部の屋内面に当たる凸部が形成されていてもよい。これによれば、上記留め部材が上記横架材の上面に固定される構造において、上記外壁パネルが風荷重を受けたときの対策が図れる。   The fastening member fixed to the upper surface of the horizontal member includes an indoor portion below the outer wall panel at both the lower side and the upper side of the neck part engaged with the notch part. A convex portion that hits the surface may be formed. According to this, in the structure in which the fastening member is fixed to the upper surface of the horizontal member, a countermeasure can be taken when the outer wall panel receives a wind load.

上記横架材の上面に固定される留め部材の上辺部には、上記首部の嵌りを防止する嵌り防止片部が設けられていてもよい。これによれば、現場で吊り上げた外壁パネルを少しずつ降下させながら上記係合凸部の首部を上記切欠き部に嵌めようとする際に、上記首部が誤って上記留め部材の上辺部に引っ掛かってしまうという事態を防止できる。   A fitting prevention piece for preventing fitting of the neck may be provided on the upper side of the fastening member fixed to the upper surface of the horizontal member. According to this, when trying to fit the neck part of the engaging convex part into the notch part while lowering the outer wall panel lifted at the site little by little, the neck part is accidentally caught on the upper side part of the fastening member. Can be prevented.

上記留め部材が上記構造躯体としての柱構成部材の縦面に固定されており、上記留め部材には、上記係合凸部の上記頭部が挿通できる大きさの貫通孔部が形成されており、上記貫通孔部の下部側に上記突縁部を有する上記切欠き部が形成されていてもよい。   The fastening member is fixed to the vertical surface of the pillar component member as the structural housing, and the fastening member is formed with a through hole having a size that allows the head portion of the engaging convex portion to be inserted. The notch portion having the protruding edge portion may be formed on the lower side of the through hole portion.

また、この発明の外壁パネルの固定構造は、外壁パネルを建物の構造躯体に固定する固定構造において、上記外壁パネルの下部側には、首部の先端側に当該首部より大きな頭部を有する係合凸部が設けられており、上記構造躯体には、上記係合凸部が係合される切欠き部を有する留め部材が固定されており、上記留め部材が上記構造躯体としての建物基礎上に固定されており、上記留め部材には、上記切欠き部に係合される上記首部よりも下部側となる箇所に、上記外壁パネルの下部の屋内面に当たる凸部が形成されていることを特徴とする。これによれば、上記留め部材が上記建物基礎上に固定される構造において、上記外壁パネルが風荷重を受けたときの対策が図れる。   Further, the fixing structure of the outer wall panel according to the present invention is an engaging structure in which the outer wall panel is fixed to the structural frame of the building, and the lower side of the outer wall panel is engaged with a head portion larger than the neck portion on the tip side of the neck portion. A convex member is provided, and a fastening member having a notch portion with which the engaging convex portion is engaged is fixed to the structural case, and the fastening member is placed on a building foundation as the structural case. The fastening member is formed with a convex portion that hits the indoor surface of the lower portion of the outer wall panel at a position on the lower side of the neck portion that is engaged with the notch portion. And According to this, in the structure in which the fastening member is fixed on the building foundation, it is possible to take measures when the outer wall panel receives a wind load.

また、この発明の外壁パネルの固定構造は、外壁パネルを建物の構造躯体に固定する固定構造において、上記外壁パネルの下部側には、首部の先端側に当該首部より大きな頭部を有する係合凸部が設けられており、上記構造躯体には、上記係合凸部が係合される切欠き部を有する留め部材が固定されており、上記留め部材が上記構造躯体としての横架材の上面に固定されており、上記留め部材には、上記係合凸部の上記頭部が挿通できる大きさの貫通孔部が形成され、当該貫通孔部の下部側に上記切欠き部が形成されており、上記留め部材には、上記切欠き部に係合される上記首部よりも下側となる箇所と上側となる箇所の両方に、上記外壁パネルの下部の屋内面に当たる凸部が形成されていることを特徴とする。これによれば、上記留め部材が上記横架材の上面に固定される構造において、上記外壁パネルが風荷重を受けたときの対策が図れる。   Further, the fixing structure of the outer wall panel according to the present invention is an engaging structure in which the outer wall panel is fixed to the structural frame of the building, and the lower side of the outer wall panel is engaged with a head portion larger than the neck portion on the tip side of the neck portion. A convex member is provided, and a fastening member having a notch portion with which the engaging convex portion is engaged is fixed to the structural case, and the fastening member is used as a horizontal member as the structural case. The fastening member is formed with a through hole having a size that allows the head portion of the engaging projection to be inserted, and the notch is formed on the lower side of the through hole. The fastening member is formed with a convex portion that hits the indoor surface at the lower part of the outer wall panel at both the lower side and the upper side of the neck part engaged with the notch part. It is characterized by. According to this, in the structure in which the fastening member is fixed to the upper surface of the horizontal member, a countermeasure can be taken when the outer wall panel receives a wind load.

また、この発明の外壁パネルの固定構造は、外壁パネルを建物の構造躯体に固定する固定構造において、上記外壁パネルの下部側には、首部の先端側に当該首部より大きな頭部を有する係合凸部が設けられており、上記構造躯体には、上記係合凸部が係合される切欠き部を有する留め部材が固定されており、上記留め部材が上記構造躯体としての横架材の上面に固定されており、上記留め部材には、上記係合凸部の上記頭部が挿通できる大きさの貫通孔部が形成され、当該貫通孔部の下部側に上記切欠き部が形成されており、上記留め部材の上辺部には、上記首部の嵌りを防止する嵌り防止片部が設けられていることを特徴とする。これによれば、現場で吊り上げた外壁パネルを少しずつ降下させながら上記係合凸部の首部を上記切欠き部に嵌めようとする際に、上記首部が誤って上記留め部材の上辺部に引っ掛かってしまうという事態を防止できる。   Further, the fixing structure of the outer wall panel according to the present invention is an engaging structure in which the outer wall panel is fixed to the structural frame of the building, and the lower side of the outer wall panel is engaged with a head portion larger than the neck portion on the tip side of the neck portion. A convex member is provided, and a fastening member having a notch portion with which the engaging convex portion is engaged is fixed to the structural case, and the fastening member is used as a horizontal member as the structural case. The fastening member is formed with a through hole having a size that allows the head portion of the engaging projection to be inserted, and the notch is formed on the lower side of the through hole. And an anti-fitting piece for preventing the neck from fitting on the upper side of the fastening member. According to this, when trying to fit the neck part of the engaging convex part into the notch part while lowering the outer wall panel lifted at the site little by little, the neck part is accidentally caught on the upper side part of the fastening member. Can be prevented.

本発明であれば、外壁パネルの上部側ではボルトとナットによる固定を可能とし、外壁パネルの下部側では引っ掛け固定とすることができる。また、上記外壁パネルの設置作業の容易化や外壁パネルが受ける風荷重の対策が図れる。   According to the present invention, the upper side of the outer wall panel can be fixed with bolts and nuts, and the lower side of the outer wall panel can be hooked and fixed. Further, it is possible to facilitate the installation work of the outer wall panel and to take measures against wind loads received by the outer wall panel.

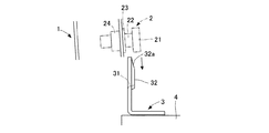
この発明の実施形態の外壁パネルの固定構造を示した概略図であり、同図(A)は平面図であり、同図(B)は側面図であり、同図(C)は正面図である。BRIEF DESCRIPTION OF THE DRAWINGS It is the schematic which showed the fixation structure of the outer wall panel of embodiment of this invention, the figure (A) is a top view, the figure (B) is a side view, The figure (C) is a front view. is there. 図1の外壁パネルの固定構造における外壁パネルの設置作業例の説明図である。It is explanatory drawing of the installation example of the outer wall panel in the fixing structure of the outer wall panel of FIG. この発明の実施形態にかかる外壁パネルの固定構造の柱部での設置例を示した図であり、同図(A)は平面図であり、同図(B)は正面図であり、同図(C)は側面図である。It is the figure which showed the example of installation in the pillar part of the fixing structure of the outer wall panel concerning embodiment of this invention, The figure (A) is a top view, The figure (B) is a front view, The figure (C) is a side view. この発明の実施形態にかかる外壁パネルの固定構造の柱部基礎上での設置例を示した図であり、同図(A)は平面図であり、同図(B)は正面図であり、同図(C)は側面図である。It is the figure which showed the example of installation on the pillar part foundation of the fixing structure of the outer wall panel concerning this Embodiment, The figure (A) is a top view, The figure (B) is a front view, FIG. 3C is a side view. この発明の実施形態にかかる外壁パネルの固定構造の梁部での設置例を示した図であり、同図(A)は平面図であり、同図(B)は正面図であり、同図(C)は側面図である。It is the figure which showed the example of installation in the beam part of the fixed structure of the outer wall panel concerning this Embodiment, The figure (A) is a top view, The figure (B) is a front view, The figure (C) is a side view. この発明の実施形態にかかる外壁パネルの固定構造の基礎上での設置例を示した図であり、同図(A)は平面図であり、同図(B)は正面図であり、同図(C)は側面図である。It is the figure which showed the example of installation on the foundation of the fixing structure of the outer wall panel concerning embodiment of this invention, The figure (A) is a top view, The figure (B) is a front view, The figure (C) is a side view.

以下、この発明の実施の形態を添付図面に基づいて説明する。
図1(A)、図1(B)および図1(C)に示すように、外壁パネル1は、例えば、断面略コ字形状の2本の縦フレーム部1aと、同じく断面略コ字形状の2本の横フレーム部1bとが接合された四角枠形の外壁パネルフレームを備えている。そして、上記外壁パネル1における上記縦フレーム部1aと上記横フレーム部1bとが重なる上側の両角部分には、例えば、両切りボルトが屋内方向に突出して設けられている。
Embodiments of the present invention will be described below with reference to the accompanying drawings.
As shown in FIGS. 1 (A), 1 (B), and 1 (C), the outer wall panel 1 includes, for example, two vertical frame portions 1a having a substantially U-shaped cross section and a substantially U-shaped cross section. These are provided with a square frame-shaped outer wall panel frame joined to the two horizontal frame portions 1b. Further, for example, double-cut bolts are provided so as to protrude in the indoor direction at the upper corner portions of the outer wall panel 1 where the vertical frame portion 1a and the horizontal frame portion 1b overlap.

また、上記外壁パネル1における上記縦フレーム部1aと上記横フレーム部1bとが重なる下側の両角部分には、係合凸部2が固定されている。この係合凸部2は、上記外壁パネルフレームから屋内方向に最も離れて位置する頭部21と、当該頭部21を支持する首部22と、上記頭部から離間し、外壁パネルフレームに接する鍔部23とを有しており、上記外壁パネルフレームの内側に設けられたナット24によって上記外壁パネル1に固定されている。上記頭部21、上記首部22および上記鍔部23はそれぞれ断面円形状を有しており、上記頭部21および上記鍔部23の直径は上記首部22の直径よりも大きくされている。   Further, the engaging convex portion 2 is fixed to both lower corner portions of the outer wall panel 1 where the vertical frame portion 1a and the horizontal frame portion 1b overlap. The engaging projection 2 includes a head 21 that is located farthest in the indoor direction from the outer wall panel frame, a neck 22 that supports the head 21, and a collar that is spaced from the head and contacts the outer wall panel frame. And is fixed to the outer wall panel 1 by a nut 24 provided inside the outer wall panel frame. The head 21, the neck 22, and the collar 23 each have a circular cross section, and the diameter of the head 21 and the collar 23 is larger than the diameter of the neck 22.

また、建物の構造躯体4には、上記係合凸部2が係合される留め部材3が固定されている。上記留め部材3は、例えば、断面略L字形に形成されており、その鉛直板部の上辺側には、開口が上に向けられた切欠き部31が形成されている。上記切欠き部31の開口の幅は、上記首部22の直径よりも大きくされており、上記頭部21および上記鍔部23の直径よりも小さくされている。また、上記切欠き部31の下部側(閉鎖側)は半円形を有しており、その下端には例えば幅2mm程度の水平部31aが形成されている。上記水平部31aが形成されていると、外壁パネル1の取り付けで、当該外壁パネル1と上記留め部材3との間に水平方向に2mm以内のずれが生じたとしても、当該外壁パネル1の高さ方向にはずれが生じないという利点が得られる。上記水平部31aの幅は2mmに限定されず、柱立てで要求される鉛直度の許容範囲により変更できる。   In addition, a fastening member 3 to which the engaging convex portion 2 is engaged is fixed to the structural frame 4 of the building. The fastening member 3 is formed, for example, in a substantially L-shaped cross section, and a notch portion 31 with an opening facing upward is formed on the upper side of the vertical plate portion. The width of the opening of the notch 31 is larger than the diameter of the neck 22 and smaller than the diameter of the head 21 and the flange 23. The lower side (closed side) of the notch 31 has a semicircular shape, and a horizontal portion 31a having a width of about 2 mm is formed at the lower end thereof. If the horizontal portion 31a is formed, even if a deviation of 2 mm or less occurs between the outer wall panel 1 and the fastening member 3 in the horizontal direction when the outer wall panel 1 is attached, the height of the outer wall panel 1 is increased. There is an advantage that no deviation occurs in the vertical direction. The width of the horizontal portion 31a is not limited to 2 mm, and can be changed according to the allowable range of verticality required for the column stand.

上記留め部材3は、金属板に対してプレスや打ち抜きの加工を行うことで作製される。上記切欠き部31の周囲には、バーリング加工によってバーリング部(突縁部)32が設けられている。そして、上記首部22が上記切欠き部31に係合された状態で上記バーリング部32が上記頭部21の裏面に当接される。上記留め部材3における板厚を含めた上記バーリング部32の箇所の厚さは、上記頭部21の裏面から上記鍔部23の表面までの距離と同じか僅かに小さくされる。   The fastening member 3 is produced by pressing or punching a metal plate. A burring portion (protruding edge portion) 32 is provided around the notch portion 31 by burring. The burring portion 32 is brought into contact with the back surface of the head portion 21 with the neck portion 22 engaged with the notch portion 31. The thickness of the burring portion 32 including the plate thickness in the fastening member 3 is made the same as or slightly smaller than the distance from the back surface of the head portion 21 to the surface of the flange portion 23.

このような固定構造であれば、上記係合凸部2の上記首部22を上記切欠き部31に係合させることで上記外壁パネル1の下部側が上記留め部材3に引っ掛けられ、上記バーリング部32が上記頭部21の裏側に当接されて上記留め部材3による上記外壁パネル1の下部側の固定が行われる。上記外壁パネル1の上部側の固定については、上記留め部材3に上記外壁パネル1の下部側を係止させた後、上記両切りボルトの突出部を図示しない固定金物の貫通孔に通してナットを螺合させることにより行える。   With such a fixing structure, the lower side of the outer wall panel 1 is hooked on the fastening member 3 by engaging the neck portion 22 of the engaging convex portion 2 with the notch portion 31, and the burring portion 32. Is brought into contact with the back side of the head 21 and the lower side of the outer wall panel 1 is fixed by the fastening member 3. For fixing the upper side of the outer wall panel 1, after locking the lower side of the outer wall panel 1 to the fastening member 3, the projecting part of the double-cut bolt is passed through a through hole of a fixing hardware (not shown) and a nut is inserted. This can be done by screwing.

上記バーリング部32の上部(上記切欠き部31の開口側)には、上側ほど突出高さが低い傾斜部32aが形成されている。換言すれば、上記切欠き部31の開口側から閉鎖側へ向かって徐々にバーリング高さが増すように上記傾斜部32aが形成されている。上記傾斜部32aの下端(終端)位置は、例えば、上記切欠き部31に係合された上記首部22の上面の位置と同程度とされる。   In the upper part of the burring part 32 (opening side of the notch part 31), an inclined part 32a having a protruding height lower toward the upper side is formed. In other words, the inclined portion 32 a is formed so that the burring height gradually increases from the opening side to the closing side of the notch portion 31. The lower end (terminal) position of the inclined portion 32a is, for example, approximately the same as the position of the upper surface of the neck portion 22 engaged with the notch portion 31.

上記傾斜部32aが形成されていると、図2に示すように、建築現場で吊り上げた外壁パネル1を少しずつ降下させながら上記係合凸部2の首部22を上記切欠き部31に嵌める際に、当該外壁パネル1がその下部側ほど建物躯体に近い傾斜状態にされたとしても、上記バーリング部32の上部には、上記傾斜部32aが形成されているので、上記頭部21の下縁の当たりを防ぎながら上記首部22を上記切欠き部31に導入する作業が容易に行える。そして、上記吊り上げた外壁パネル1をさらに降下させることで、上記バーリング部32の非傾斜部分を上記頭部21の裏側に接触させてパネル下部側の固定状態を形成することができる。   When the inclined portion 32a is formed, as shown in FIG. 2, when the neck portion 22 of the engaging convex portion 2 is fitted into the notched portion 31 while the outer wall panel 1 lifted at the construction site is gradually lowered. Even if the outer wall panel 1 is inclined closer to the building frame at the lower side, the inclined portion 32a is formed on the upper portion of the burring portion 32, so that the lower edge of the head portion 21 is formed. The operation of introducing the neck portion 22 into the cutout portion 31 can be easily performed while preventing hitting. Then, by further lowering the suspended outer wall panel 1, the non-inclined portion of the burring portion 32 can be brought into contact with the back side of the head 21 to form a fixed state on the lower side of the panel.

図3(A)は、2階側の柱接合材(柱構成部材)41への外壁パネルの固定構造を示した概略の平面図であり、図3(B)は同正面図であり、図3(C)は側面図である。留め部材3Aは、上記柱接合材41の縦面に固定されている。上記留め部材3Aは、鉛直板部の上辺部、下辺部および左右辺部の各々が屋内側に曲げられた形状を有しており、上記上辺部および下辺部が上記柱接合材41に溶接により固定されている。そして、上記留め部材3Aの上記鉛直板部には、上記係合凸部2の上記頭部21が挿通できる大きさの貫通孔部34が形成されており、上記貫通孔部34の下部側に上記傾斜部32a付きの上記バーリング部32を有する上記切欠き部31が形成されている。   FIG. 3A is a schematic plan view showing a fixing structure of the outer wall panel to the column bonding material (column constituent member) 41 on the second floor side, and FIG. 3B is a front view of the same. 3 (C) is a side view. The fastening member 3 </ b> A is fixed to the vertical surface of the column bonding material 41. The fastening member 3A has a shape in which each of the upper side portion, the lower side portion, and the left and right side portions of the vertical plate portion is bent indoors, and the upper side portion and the lower side portion are welded to the column bonding material 41 by welding. It is fixed. The vertical plate portion of the fastening member 3 </ b> A is formed with a through hole portion 34 having a size that allows the head portion 21 of the engagement convex portion 2 to be inserted, and on the lower side of the through hole portion 34. The notch 31 having the burring portion 32 with the inclined portion 32a is formed.

上記留め部材3Aには、上記切欠き部31が左右に2箇所設けられている。これにより、隣り合う2枚の外壁パネル1の各々の係合凸部2を1個の留め部材3Aで支持することができる。後述する留め部材3B、3Cについても同様である。   The fastening member 3A is provided with two notches 31 on the left and right. Thereby, each engagement convex part 2 of the two adjacent outer wall panels 1 can be supported by one fastening member 3A. The same applies to the fastening members 3B and 3C described later.

図4(A)は、建物基礎6上の柱脚部(柱構成部材)42への外壁パネルの固定構造を示した概略の平面図であり、図4(B)は同正面図であり、図4(C)は側面図である。この固定構造においても、上記留め部材3Aが上記柱脚部42の縦面に固定されている。   FIG. 4 (A) is a schematic plan view showing a fixing structure of the outer wall panel to the column base (column component member) 42 on the building foundation 6, and FIG. 4 (B) is a front view thereof. FIG. 4C is a side view. Also in this fixing structure, the fastening member 3 </ b> A is fixed to the vertical surface of the column base part 42.

図5(A)は、H型鋼からなる梁(横架材)43側での外壁パネルの固定構造を示した概略の平面図であり、図5(B)は同正面図であり、図5(C)は側面図である。留め部材3Bは、鉛直板部の上辺部、下辺部および左右辺部の各々が屋内側に曲げられた形状を有しており、上記下辺部が上記梁43のフランジ部にボルト・ナット5によって固定されている。そして、上記留め部材3Bの鉛直板部には、上記頭部21が挿通できる大きさの貫通孔部34が形成されており、上記貫通孔部34の下部側に上記傾斜部32a付きの上記バーリング部32を有する上記切欠き部31が形成されている。   FIG. 5 (A) is a schematic plan view showing a fixing structure of the outer wall panel on the beam (horizontal member) 43 side made of H-shaped steel, and FIG. 5 (B) is a front view of the same. (C) is a side view. The fastening member 3B has a shape in which each of the upper side portion, the lower side portion, and the left and right side portions of the vertical plate portion is bent indoors, and the lower side portion is attached to the flange portion of the beam 43 by bolts and nuts 5. It is fixed. The vertical plate portion of the fastening member 3B is formed with a through-hole portion 34 having a size that allows the head 21 to be inserted, and the burring with the inclined portion 32a on the lower side of the through-hole portion 34. The notch 31 having the portion 32 is formed.

上記留め部材3Bの上記鉛直板部には、上記切欠き部31に係合される上記首部22よりも下側となる箇所に、水平方向に長いリブ部(凸部)35が形成されている。さらに、上記切欠き部31に係合される上記首部22よりも上側となる箇所にも、水平方向に長いリブ部(凸部)36が形成されている。上記リブ部35およびリブ部36は、上記留め部材3Bの鉛直板部をプレス加工することにより形成することができる。上記リブ部35およびリブ部36により、上記鍔部23によって生じる外壁パネルフレームと上記留め部材3Aにおける鉛直板部との間の隙間が埋められる。   On the vertical plate portion of the fastening member 3B, a rib portion (convex portion) 35 that is long in the horizontal direction is formed at a position below the neck portion 22 that is engaged with the notch portion 31. . Further, rib portions (convex portions) 36 that are long in the horizontal direction are also formed at locations on the upper side of the neck portion 22 that is engaged with the notch portion 31. The rib portion 35 and the rib portion 36 can be formed by pressing a vertical plate portion of the fastening member 3B. The rib portion 35 and the rib portion 36 fill a gap between the outer wall panel frame generated by the flange portion 23 and the vertical plate portion of the fastening member 3A.

ここで、上記外壁パネル1に、当該外壁パネル1を屋内側に押す風荷重が加わると、上記留め部材3Bを上記梁43のフランジ部から浮かす方向の力が生じ、上記フランジ部が上方向に曲げられようとする。仮に、上記リブ部35が無いとすると、上記隙間分に相当する上記留め部材3Bの浮きが生じ、上記フランジ部に上方向の曲がりが発生するおそれがある。これに対し、上記リブ部35によって上記隙間が埋められていると、上記留め部材3Bを上記梁43のフランジ部から引き剥がす方向の力は発生し難くなり、上記フランジ部の曲がりを防止できる。   Here, when a wind load that pushes the outer wall panel 1 toward the indoor side is applied to the outer wall panel 1, a force in a direction to lift the fastening member 3B from the flange portion of the beam 43 is generated, and the flange portion is directed upward. Try to bend. If the rib portion 35 is not provided, the fastening member 3B corresponding to the gap may be lifted, and the flange portion may be bent upward. On the other hand, when the gap is filled by the rib portion 35, a force in the direction of peeling the fastening member 3B from the flange portion of the beam 43 is hardly generated, and the bending of the flange portion can be prevented.

同様に、上記外壁パネル1に、当該外壁パネル1を屋外側に引く風荷重が加わると、上記留め部材3Bが上記梁43のフランジ部を下に押す方向の力が生じ、上記フランジ部が下方向に曲げられようとする。仮に、上記リブ部36が無いとすると、上記隙間分に相当する上記留め部材3Bによる下方への押さえが生じ、上記フランジ部の下方向の曲がりが発生するおそれがある。これに対し、上記リブ部36によって上記隙間が埋められていると、上記留め部材3Bが上記梁43のフランジ部を下に押す方向の力が発生し難くなり、上記フランジ部の曲がりを防止できる。   Similarly, when a wind load is applied to the outer wall panel 1 to pull the outer wall panel 1 to the outdoor side, a force in a direction in which the fastening member 3B pushes the flange portion of the beam 43 downward is generated, and the flange portion is lowered. Try to bend in the direction. If the rib portion 36 is not provided, the retaining member 3B corresponding to the gap is pressed downward, and the flange portion may be bent downward. On the other hand, when the gap is filled by the rib portion 36, it is difficult for the fastening member 3 </ b> B to push down the flange portion of the beam 43, and the bending of the flange portion can be prevented. .

このように、上記ボルト・ナット5に対しては、極力剪断力だけが作用するようになり、上記フランジ部を厚くしたり、補強プレートを溶接するなどの高コスト化の要因を排除できるようになる。   In this way, only the shearing force acts on the bolt / nut 5 as much as possible, so that the cost increase factor such as thickening the flange or welding the reinforcing plate can be eliminated. Become.

また、上記留め部材3Bの鉛直板部の上辺部には、上記首部22の嵌りを防止する嵌り防止片部37が設けられている。この嵌まり防止片部37は、上記留め部材3Bの鉛直板部の上辺部を略水平方向に曲げ加工することにより形成されている。上記嵌まり防止片部37の幅(屋内側への曲げ量)は、上記首部22の長さよりも広くされている。上記嵌まり防止片部37が設けられていると、現場で吊り上げた外壁パネルを少しずつ降下させながら上記係合凸部2の首部22を上記切欠き部31に嵌めようとする際に、上記首部22が上記留め部材3Bの上辺部(嵌まり防止片部37)に引っ掛かってしまうという事態を防止できる。上記係合凸部2が上記嵌まり防止片部37の上に載ったときには外壁パネル1を屋外側にずらすだけで上記係合凸部2の上記載った状態を解消することができる。   Further, a fitting prevention piece portion 37 for preventing the neck portion 22 from fitting is provided on the upper side portion of the vertical plate portion of the fastening member 3B. The fitting prevention piece portion 37 is formed by bending the upper side portion of the vertical plate portion of the fastening member 3B in a substantially horizontal direction. The width (the amount of bending toward the indoor side) of the fitting prevention piece portion 37 is made wider than the length of the neck portion 22. When the fitting prevention piece portion 37 is provided, when the neck portion 22 of the engagement convex portion 2 is to be fitted into the notch portion 31 while gradually lowering the outer wall panel lifted on site, It is possible to prevent the neck portion 22 from being caught by the upper side portion (the anti-fitting piece portion 37) of the fastening member 3B. When the engaging convex portion 2 is placed on the fitting prevention piece portion 37, the state described above on the engaging convex portion 2 can be eliminated by merely shifting the outer wall panel 1 to the outdoor side.

図6(A)は、建物基礎6上への外壁パネルの固定構造を示した概略の平面図であり、図6(B)は同正面図であり、図6(C)は側面図である。留め部材3Cは、鉛直板部の下辺部および左右辺部の各々が屋内側に曲げられた形状を有しており、下辺部に形成された貫通孔に上記建物基礎6のアンカーボルト61が挿通され、当該アンカーボルト61に螺合されたナット62によって固定されている。上記アンカーボルト61の挿通位置は、上記留め部材3Cの水平方向中央位置よりも屋内側に寄っている。そして、上記留め部材3Cの上記鉛直板部の上辺部に上記傾斜部32a付きの上記バーリング部32を有する上記切欠き部31が形成されている。   FIG. 6A is a schematic plan view showing a fixing structure of the outer wall panel on the building foundation 6, FIG. 6B is a front view thereof, and FIG. 6C is a side view thereof. . The fastening member 3C has a shape in which each of the lower side portion and the left and right side portions of the vertical plate portion is bent indoors, and the anchor bolt 61 of the building foundation 6 is inserted into the through hole formed in the lower side portion. And is fixed by a nut 62 screwed to the anchor bolt 61. The insertion position of the anchor bolt 61 is closer to the indoor side than the horizontal center position of the fastening member 3C. And the said notch part 31 which has the said burring part 32 with the said inclination part 32a is formed in the upper side part of the said vertical board part of the said fastening member 3C.

上記留め部材3Cの上記鉛直板部には、上記切欠き部31に係合される上記首部22よりも下側となる箇所に、水平方向に長いリブ部(凸部)38が形成されている。上記リブ部38は、上記留め部材3Cの上記鉛直板部をプレス加工することにより形成されている。上記リブ部38により、上記鍔部23によって生じる外壁パネルフレームと上記留め部材3Cの上記鉛直板部との間の隙間のうちの下側の隙間が埋められる。   In the vertical plate portion of the fastening member 3C, a rib portion (convex portion) 38 that is long in the horizontal direction is formed at a position below the neck portion 22 that is engaged with the notch portion 31. . The rib portion 38 is formed by pressing the vertical plate portion of the fastening member 3C. The rib portion 38 fills a lower gap in the gap between the outer wall panel frame generated by the flange portion 23 and the vertical plate portion of the fastening member 3C.

ここで、上記外壁パネル1に、当該外壁パネル1を屋内側に押す風荷重が加わると、上記留め部材3Cを建物基礎6から浮かす方向の力が生じ、上記アンカーボルト61に剪断以外の力が加わる。仮に、上記リブ部38が無いとすると、上記隙間分に相当する上記留め部材3Cの浮きが生じるおそれがある。これに対し、上記リブ部38によって上記隙間が埋められていると、上記留め部材3Cを上記梁43の上記建物基礎6から浮かす方向の力の発生を防止できる。   Here, when a wind load is applied to the outer wall panel 1 to push the outer wall panel 1 toward the indoor side, a force in the direction of floating the retaining member 3C from the building foundation 6 is generated, and a force other than shearing is applied to the anchor bolt 61. Join. If the rib portion 38 is not provided, the fastening member 3C may be lifted corresponding to the gap. On the other hand, when the gap is filled with the rib portion 38, it is possible to prevent the force in the direction in which the retaining member 3C is floated from the building foundation 6 of the beam 43.

なお、上記外壁パネル1に、当該外壁パネル1を屋外側に引く風荷重が加わると、上記留め部材3Cが上記建物基礎6を押す方向に力が生じるが、上記建物基礎6が変形することはない。したがって、上記切欠き部31に係合される係合凸部2の上記首部22よりも上側となる箇所に凸部を設ける必要は特にない。   In addition, when the wind load which pulls the said outer wall panel 1 to the said outdoor side is added to the said outer wall panel 1, although the said fixing member 3C produces force in the direction which pushes the said building foundation 6, the said building foundation 6 deform | transforms. Absent. Therefore, it is not particularly necessary to provide a convex portion at a position above the neck portion 22 of the engaging convex portion 2 that is engaged with the notch portion 31.

以上、図面を参照してこの発明の実施形態を説明したが、この発明は、図示した実施形態のものに限定されない。図示した実施形態に対して、この発明と同一の範囲内において、あるいは均等の範囲内において、種々の修正や変形を加えることが可能である。   As mentioned above, although embodiment of this invention was described with reference to drawings, this invention is not limited to the thing of embodiment shown in figure. Various modifications and variations can be made to the illustrated embodiment within the same range or equivalent range as the present invention.

1 外壁パネル
2 係合凸部
21 頭部
22 首部
23 鍔部
3、3A、3B、3C 留め部材
31 切欠き部
32 バーリング部(突縁部)
32a 傾斜部
35 リブ部(凸部)
36 リブ部(凸部)
37 嵌り防止片部
38 リブ部(凸部)
4 構造躯体
41 柱接合材(柱構成部材)
42 柱脚材(柱構成部材)
43 梁(横架材)
6 建物基礎
DESCRIPTION OF SYMBOLS 1 Outer wall panel 2 Engagement convex part 21 Head part 22 Neck part 23 Gutter part 3, 3A, 3B, 3C Fastening member 31 Notch part 32 Burring part (protruding edge part)
32a Inclined part 35 Rib part (convex part)
36 Rib part (convex part)
37 Anti-fitting piece 38 Rib (convex)
4 Structural frame 41 Column joint material (column component)
42 Column base materials (column components)
43 Beam (Horizontal material)
6 Building foundation

Claims (11)

外壁パネルを建物の構造躯体に固定する固定構造において、上記外壁パネルの下部側には、首部の先端側に当該首部より大きな頭部を有する係合凸部が設けられており、上記構造躯体には、上記係合凸部が係合される切欠き部を有した留め部材が固定されており、上記切欠き部の周囲には、突縁部が設けられており、上記首部が上記切欠き部に係合されるとともに上記突縁部が上記頭部の裏側に当接されていることを特徴とする外壁パネルの固定構造。   In the fixing structure for fixing the outer wall panel to the structural frame of the building, an engagement convex portion having a head larger than the neck portion is provided on the tip side of the neck portion on the lower side of the outer wall panel. A fastening member having a notch portion with which the engaging convex portion is engaged is fixed, a protruding edge portion is provided around the notch portion, and the neck portion is the notch portion. A fixing structure for an outer wall panel, wherein the outer wall panel is engaged with a portion and the protruding edge portion is in contact with the back side of the head portion. 請求項1に記載の外壁パネルの固定構造において、上記突縁部の上部は上側ほど突出高さが低い傾斜部とされていることを特徴とする外壁パネルの固定構造。   2. The outer wall panel fixing structure according to claim 1, wherein an upper portion of the protruding edge portion is an inclined portion having a protruding height that is lower toward the upper side. 請求項1または請求項2に記載の外壁パネルの固定構造において、上記留め部材が上記構造躯体としての建物基礎上に固定されており、上記留め部材の上辺に上記切欠き部の開口が形成されていることを特徴とする外壁パネルの固定構造。   The fixing structure of the outer wall panel according to claim 1 or 2, wherein the fastening member is fixed on a building foundation as the structural frame, and an opening of the notch is formed on an upper side of the fastening member. The fixing structure of the outer wall panel characterized by the above. 請求項1または請求項2に記載の外壁パネルの固定構造において、上記留め部材が上記構造躯体としての横架材の上面に固定されており、上記留め部材には、上記係合凸部の上記頭部が挿通できる大きさの貫通孔部が形成されており、上記貫通孔部の下側に上記突縁部を有する上記切欠き部が形成されていることを特徴とする外壁パネルの固定構造。   The fixing structure of the outer wall panel according to claim 1 or 2, wherein the fastening member is fixed to an upper surface of a horizontal member as the structural casing, and the fastening member includes the engagement protrusions. A fixing structure for an outer wall panel, wherein a through-hole portion having a size allowing a head to be inserted is formed, and the notch portion having the protruding edge portion is formed below the through-hole portion. . 請求項1または請求項2に記載の外壁パネルの固定構造において、上記留め部材が上記構造躯体としての柱構成部材の縦面に固定されており、上記留め部材には、上記係合凸部の上記頭部が挿通できる大きさの貫通孔部が形成されており、上記貫通孔部の下側に上記突縁部を有する上記切欠き部が形成されていることを特徴とする外壁パネルの固定構造。   The fixing structure of the outer wall panel according to claim 1 or 2, wherein the fastening member is fixed to a vertical surface of a column constituting member as the structural casing, and the fastening member includes the engagement convex portion. A fixing of an outer wall panel, wherein a through-hole portion having a size that allows the head to be inserted is formed, and the notch portion having the protruding edge portion is formed below the through-hole portion. Construction. 請求項3に記載の外壁パネルの固定構造において、上記留め部材には、上記切欠き部に係合される上記首部よりも下側となる箇所に、上記外壁パネルの下部の屋内面に当たる凸部が形成されていることを特徴とする外壁パネルの固定構造。   The fixing structure of the outer wall panel according to claim 3, wherein the fastening member includes a convex portion that hits an indoor surface at a lower portion of the outer wall panel at a position below the neck portion that is engaged with the notch portion. A fixing structure of an outer wall panel, characterized in that is formed. 請求項4に記載の外壁パネルの固定構造において、上記留め部材には、上記切欠き部に係合される上記首部よりも下側となる箇所と上側となる箇所の両方に、上記外壁パネルの下部の屋内面に当たる凸部が形成されていることを特徴とする外壁パネルの固定構造。   The fixing structure of the outer wall panel according to claim 4, wherein the fastening member includes the outer wall panel at both of a position below and a position above the neck that is engaged with the notch. A structure for fixing an outer wall panel, wherein a convex portion that hits a lower indoor surface is formed. 請求項4または請求項7に記載の外壁パネルの固定構造において、上記留め部材の上辺部には、上記首部の嵌りを防止する嵌り防止片部が設けられていることを特徴とする外壁パネルの固定構造。   The fixing structure of the outer wall panel according to claim 4 or 7, wherein a fitting preventing piece for preventing the neck from being fitted is provided on an upper side of the fastening member. Fixed structure. 外壁パネルを建物の構造躯体に固定する固定構造において、上記外壁パネルの下部側には、首部の先端側に当該首部より大きな頭部を有する係合凸部が設けられており、上記構造躯体には、上記係合凸部が係合される切欠き部を有する留め部材が固定されており、
上記留め部材が上記構造躯体としての建物基礎上に固定されており、
上記留め部材には、上記切欠き部に係合される上記首部よりも下側となる箇所に、上記外壁パネルの下部の屋内面に当たる凸部が形成されていることを特徴とする外壁パネルの固定構造。
In the fixing structure for fixing the outer wall panel to the structural frame of the building, an engagement convex portion having a head larger than the neck portion is provided on the tip side of the neck portion on the lower side of the outer wall panel. Is fixed with a fastening member having a notch portion with which the engaging convex portion is engaged,
The fastening member is fixed on the building foundation as the structural frame,
The fastening member is formed with a convex portion that hits an indoor surface at the lower part of the outer wall panel at a position below the neck portion that is engaged with the notch portion. Fixed structure.
外壁パネルを建物の構造躯体に固定する固定構造において、上記外壁パネルの下部側には、首部の先端側に当該首部より大きな頭部を有する係合凸部が設けられており、上記構造躯体には、上記係合凸部が係合される切欠き部を有する留め部材が固定されており、
上記留め部材が上記構造躯体としての横架材の上面に固定されており、
上記留め部材には、上記係合凸部の上記頭部が挿通できる大きさの貫通孔部が形成され、当該貫通孔部の下部側に上記切欠き部が形成されており、
上記留め部材には、上記切欠き部に係合される上記首部よりも下側となる箇所と上側となる箇所の両方に、上記外壁パネルの下部の屋内面に当たる凸部が形成されていることを特徴とする外壁パネルの固定構造。
In the fixing structure for fixing the outer wall panel to the structural frame of the building, an engagement convex portion having a head larger than the neck portion is provided on the tip side of the neck portion on the lower side of the outer wall panel. Is fixed with a fastening member having a notch portion with which the engaging convex portion is engaged,
The fastening member is fixed to the upper surface of the horizontal member as the structural body,
The fastening member is formed with a through-hole portion having a size that allows the head portion of the engagement convex portion to be inserted, and the notch portion is formed on the lower side of the through-hole portion,
The fastening member is formed with a convex portion that hits the indoor surface of the lower part of the outer wall panel at both the lower side and the upper side of the neck part engaged with the notch part. The fixed structure of the outer wall panel.
外壁パネルを建物の構造躯体に固定する固定構造において、上記外壁パネルの下部側には、首部の先端側に当該首部より大きな頭部を有する係合凸部が設けられており、上記構造躯体には、上記係合凸部が係合される切欠き部を有する留め部材が固定されており、
上記留め部材が上記構造躯体としての横架材の上面に固定されており、
上記留め部材には、上記係合凸部の上記頭部が挿通できる大きさの貫通孔部が形成され、当該貫通孔部の下部側に上記切欠き部が形成されており、
上記留め部材の上辺部には、上記首部の嵌りを防止する嵌り防止片部が設けられていることを特徴とする外壁パネルの固定構造。
In the fixing structure for fixing the outer wall panel to the structural frame of the building, an engagement convex portion having a head larger than the neck portion is provided on the tip side of the neck portion on the lower side of the outer wall panel. Is fixed with a fastening member having a notch portion with which the engaging convex portion is engaged,
The fastening member is fixed to the upper surface of the horizontal member as the structural body,
The fastening member is formed with a through-hole portion having a size that allows the head portion of the engagement convex portion to be inserted, and the notch portion is formed on the lower side of the through-hole portion,
A fixing structure of an outer wall panel, wherein an upper-side portion of the fastening member is provided with an anti-fitting piece for preventing the neck from fitting.
JP2014241321A 2014-11-28 2014-11-28 External wall panel fixing structure Active JP6441049B2 (en)

Priority Applications (1)

Application Number Priority Date Filing Date Title
JP2014241321A JP6441049B2 (en) 2014-11-28 2014-11-28 External wall panel fixing structure

Applications Claiming Priority (1)

Application Number Priority Date Filing Date Title
JP2014241321A JP6441049B2 (en) 2014-11-28 2014-11-28 External wall panel fixing structure

Publications (2)

Publication Number Publication Date
JP2016102338A true JP2016102338A (en) 2016-06-02
JP6441049B2 JP6441049B2 (en) 2018-12-19

Family

ID=56088501

Family Applications (1)

Application Number Title Priority Date Filing Date
JP2014241321A Active JP6441049B2 (en) 2014-11-28 2014-11-28 External wall panel fixing structure

Country Status (1)

Country Link
JP (1) JP6441049B2 (en)

Cited By (8)

* Cited by examiner, † Cited by third party
Publication number Priority date Publication date Assignee Title
JP2018003261A (en) * 2016-06-27 2018-01-11 大和ハウス工業株式会社 Exterior wall structure
JP2020165151A (en) * 2019-03-29 2020-10-08 大和ハウス工業株式会社 Exterior wall panel mounting metal fitting and exterior wall panel mounting method
JP2021055326A (en) * 2019-09-27 2021-04-08 大和ハウス工業株式会社 Auxiliary support for outer panel installation and outer panel installation method
JP2021055325A (en) * 2019-09-27 2021-04-08 大和ハウス工業株式会社 Exterior wall panel drawing auxiliary tool and exterior wall panel mounting method
JP2021055352A (en) * 2019-09-30 2021-04-08 大和ハウス工業株式会社 Exterior wall panel fixing structure
JP2021055350A (en) * 2019-09-30 2021-04-08 大和ハウス工業株式会社 Exterior wall panel fixing structure
JP2021055424A (en) * 2019-09-30 2021-04-08 大和ハウス工業株式会社 Metal fitting for attaching corner cover and method for attaching corner cover
JP2021055425A (en) * 2019-09-30 2021-04-08 大和ハウス工業株式会社 Auxiliary support for outer panel installation and outer panel installation method

Citations (7)

* Cited by examiner, † Cited by third party
Publication number Priority date Publication date Assignee Title
JPS50106214U (en) * 1974-02-07 1975-09-01
JPS512005U (en) * 1974-06-19 1976-01-08
US5067292A (en) * 1988-05-19 1991-11-26 Finean Andrew M Bracket system
JPH06101296A (en) * 1992-09-21 1994-04-12 Tokai Concrete Kogyo Kk Mounting structure of extrernal wall panel
JPH108602A (en) * 1996-04-26 1998-01-13 Asahi Chem Ind Co Ltd Wall panel fitting structure and construction method
JP2000008481A (en) * 1998-06-19 2000-01-11 Daiwa House Ind Co Ltd Beam joining structure of square-shaped steel-pipe column and joining method
JP2014125776A (en) * 2012-12-26 2014-07-07 Daiwa House Industry Co Ltd Exterior wall structure

Patent Citations (7)

* Cited by examiner, † Cited by third party
Publication number Priority date Publication date Assignee Title
JPS50106214U (en) * 1974-02-07 1975-09-01
JPS512005U (en) * 1974-06-19 1976-01-08
US5067292A (en) * 1988-05-19 1991-11-26 Finean Andrew M Bracket system
JPH06101296A (en) * 1992-09-21 1994-04-12 Tokai Concrete Kogyo Kk Mounting structure of extrernal wall panel
JPH108602A (en) * 1996-04-26 1998-01-13 Asahi Chem Ind Co Ltd Wall panel fitting structure and construction method
JP2000008481A (en) * 1998-06-19 2000-01-11 Daiwa House Ind Co Ltd Beam joining structure of square-shaped steel-pipe column and joining method
JP2014125776A (en) * 2012-12-26 2014-07-07 Daiwa House Industry Co Ltd Exterior wall structure

Cited By (15)

* Cited by examiner, † Cited by third party
Publication number Priority date Publication date Assignee Title
JP2018003261A (en) * 2016-06-27 2018-01-11 大和ハウス工業株式会社 Exterior wall structure
JP7278131B2 (en) 2019-03-29 2023-05-19 大和ハウス工業株式会社 External wall panel installation method
JP2020165151A (en) * 2019-03-29 2020-10-08 大和ハウス工業株式会社 Exterior wall panel mounting metal fitting and exterior wall panel mounting method
JP2021055326A (en) * 2019-09-27 2021-04-08 大和ハウス工業株式会社 Auxiliary support for outer panel installation and outer panel installation method
JP2021055325A (en) * 2019-09-27 2021-04-08 大和ハウス工業株式会社 Exterior wall panel drawing auxiliary tool and exterior wall panel mounting method
JP7391587B2 (en) 2019-09-27 2023-12-05 大和ハウス工業株式会社 External wall panel installation aids and external wall panel installation method
JP7312658B2 (en) 2019-09-27 2023-07-21 大和ハウス工業株式会社 External wall panel drawing aid and external wall panel mounting method
JP2021055424A (en) * 2019-09-30 2021-04-08 大和ハウス工業株式会社 Metal fitting for attaching corner cover and method for attaching corner cover
JP2021055425A (en) * 2019-09-30 2021-04-08 大和ハウス工業株式会社 Auxiliary support for outer panel installation and outer panel installation method
JP7312660B2 (en) 2019-09-30 2023-07-21 大和ハウス工業株式会社 External wall panel mounting aid and external wall panel mounting method
JP2021055350A (en) * 2019-09-30 2021-04-08 大和ハウス工業株式会社 Exterior wall panel fixing structure
JP7321865B2 (en) 2019-09-30 2023-08-07 大和ハウス工業株式会社 Fixing structure of exterior wall panel
JP7321864B2 (en) 2019-09-30 2023-08-07 大和ハウス工業株式会社 Fixing structure of exterior wall panel
JP7335769B2 (en) 2019-09-30 2023-08-30 大和ハウス工業株式会社 Corner cover mounting hardware and corner cover mounting method
JP2021055352A (en) * 2019-09-30 2021-04-08 大和ハウス工業株式会社 Exterior wall panel fixing structure

Also Published As

Publication number Publication date
JP6441049B2 (en) 2018-12-19

Similar Documents

Publication Publication Date Title
JP6441049B2 (en) External wall panel fixing structure
JP2008281083A (en) Piping support bracket
JP6666677B2 (en) Refractory cladding and columns with refractory cladding
JP4693737B2 (en) Interior panel mounting structure on the inner surface of steel shell submerged tunnel
JP5894562B2 (en) Building corner structure
JP2020076252A (en) Metal fittings for construction
JP2014058862A (en) Fence
JP6430808B2 (en) fence
JP6367688B2 (en) fence
JP6869789B2 (en) Exterior wall repair structure
JP5579997B2 (en) fence
JP6906344B2 (en) Furnace mounting bracket
JP7058079B2 (en) Exterior wall repair structure
JP6497219B2 (en) Adjuster device for partition panel
JP3193466U (en) Corner metal fittings, metal fittings, seismic devices
JP6033534B2 (en) Fixed structure of studs
JP6586277B2 (en) Leg joint structure
JP5095424B2 (en) Wall panel mounting structure and mounting method
JP2017089252A (en) fence
JP5259490B2 (en) How to build a double skin curtain wall
JP2012067538A (en) Sash
JP6997947B2 (en) Installation structure of stud material
JP5501856B2 (en) Water heater fixing hardware and water heater fixing method
JP5795900B2 (en) Prop holder
JP4909161B2 (en) 取 付 Mounting structure

Legal Events

Date Code Title Description
A621 Written request for application examination

Free format text: JAPANESE INTERMEDIATE CODE: A621

Effective date: 20171027

A977 Report on retrieval

Free format text: JAPANESE INTERMEDIATE CODE: A971007

Effective date: 20180530

A131 Notification of reasons for refusal

Free format text: JAPANESE INTERMEDIATE CODE: A131

Effective date: 20180612

TRDD Decision of grant or rejection written
A01 Written decision to grant a patent or to grant a registration (utility model)

Free format text: JAPANESE INTERMEDIATE CODE: A01

Effective date: 20181030

A61 First payment of annual fees (during grant procedure)

Free format text: JAPANESE INTERMEDIATE CODE: A61

Effective date: 20181121

R150 Certificate of patent or registration of utility model

Ref document number: 6441049

Country of ref document: JP

Free format text: JAPANESE INTERMEDIATE CODE: R150

R250 Receipt of annual fees

Free format text: JAPANESE INTERMEDIATE CODE: R250

R250 Receipt of annual fees

Free format text: JAPANESE INTERMEDIATE CODE: R250