JP2016008763A - Bath device - Google Patents

Bath device Download PDF

Info

Publication number
JP2016008763A
JP2016008763A JP2014129147A JP2014129147A JP2016008763A JP 2016008763 A JP2016008763 A JP 2016008763A JP 2014129147 A JP2014129147 A JP 2014129147A JP 2014129147 A JP2014129147 A JP 2014129147A JP 2016008763 A JP2016008763 A JP 2016008763A
Authority
JP
Japan
Prior art keywords
hot water
temperature
bathtub
reheating
passage
Prior art date
Legal status (The legal status is an assumption and is not a legal conclusion. Google has not performed a legal analysis and makes no representation as to the accuracy of the status listed.)
Granted
Application number
JP2014129147A
Other languages
Japanese (ja)
Other versions
JP6294167B2 (en
Inventor
幸伸 野口
Yukinobu Noguchi
幸伸 野口
Current Assignee (The listed assignees may be inaccurate. Google has not performed a legal analysis and makes no representation or warranty as to the accuracy of the list.)
Gastar Co Ltd
Original Assignee
Gastar Co Ltd
Priority date (The priority date is an assumption and is not a legal conclusion. Google has not performed a legal analysis and makes no representation as to the accuracy of the date listed.)
Filing date
Publication date
Application filed by Gastar Co Ltd filed Critical Gastar Co Ltd
Priority to JP2014129147A priority Critical patent/JP6294167B2/en
Publication of JP2016008763A publication Critical patent/JP2016008763A/en
Application granted granted Critical
Publication of JP6294167B2 publication Critical patent/JP6294167B2/en
Expired - Fee Related legal-status Critical Current
Anticipated expiration legal-status Critical

Links

Images

Landscapes

  • Control For Baths (AREA)

Abstract

PROBLEM TO BE SOLVED: To provide a bath device of superior convenience in its use in which uncomfortable feeling caused by feeding of cold water into a bathtub during an additional boiling work is not given to a user during taking bath.SOLUTION: An additional boiling circulation passage 25 is provided with a changing-over valve 17 acting as hot water discharging means for branching hot water passing through the additional boiling circulation passage 25 from a going-pipe 24 connecting a discharging side of an additional boiling heat exchanger with a bathtub 26 and discharging the hot water into a bath room 30. The additional boiling circulation passage 25 having a return pipe connecting the input side of the additional boiling heat exchanger with the bathtub 26 is provided with return hot water temperature detecting means. When a temperature of hot water in the additional boiling circulation passage 25 detected by the return hot water temperature detecting means is lower than a prescribed hot water discharging reference temperature at the time of starting the additional boiling operation for performing the additional boiling of the bathtub hot water, the changing-over valve 17 is controlled as shown in FIG.1(a) so as to perform a low temperature water discharging operation for discharging hot water in the additional boiling circulation passage 25 from the additional boiling circulation passage 25 to the bath room 30.

Description

本発明は、浴槽湯水の追い焚き機能を備えた風呂装置に関するものである。   The present invention relates to a bath apparatus having a function of reheating bath water.

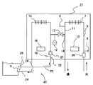
従来、様々な風呂装置が提案されており(例えば特許文献1、参照)、図4には、風呂装置のシステム構成例が示されている。この風呂装置は、給湯動作機能と、浴槽26への湯張りを含む自動運転の動作機能と、浴槽水の追い焚き動作機能を備えており、屋外に配置されている。   Conventionally, various bath apparatuses have been proposed (see, for example, Patent Document 1), and FIG. 4 shows a system configuration example of the bath apparatus. This bath device has a hot water supply operation function, an automatic operation operation function including hot water filling to the bathtub 26, and a bath water reheating operation function, and is disposed outdoors.

この風呂装置において、器具ケース27内には、追い焚きバーナ16と給湯バーナ10とが設けられており、給湯バーナ10の上側には給湯熱交換器7が、追い焚きバーナ16の上側には浴槽水の追い焚き用の追い焚き熱交換器15が、それぞれ設けられている。バーナ10,16の燃料としてはこの風呂装置ではガスが用いられており、バーナ10,16の燃焼時には、図示されていない給排気用の燃焼ファンによって燃焼用の空気をバーナ10,16に送る。   In this bath apparatus, a reheating burner 16 and a hot water supply burner 10 are provided in the appliance case 27, a hot water supply heat exchanger 7 is provided above the hot water supply burner 10, and a bathtub is provided above the reheating burner 16. A reheating heat exchanger 15 for reheating water is provided respectively. Gas is used as fuel for the burners 10 and 16 in this bath apparatus. When the burners 10 and 16 are burned, combustion air is sent to the burners 10 and 16 by a combustion fan for supply and exhaust (not shown).

給湯熱交換器7の入側には給水通路5が設けられ、給湯熱交換器7の出側には給湯通路11が接続されており、湯を給湯する機能を備えた給湯回路が給水通路5と給湯熱交換器7と給湯通路11とを有して形成されている。給水通路5には、入水温度センサ6と流量センサ20とが設けられており、給湯通路11には給湯温度センサ8が設けられている。   A hot water supply passage 5 is provided on the inlet side of the hot water supply heat exchanger 7, and a hot water supply passage 11 is connected to the outlet side of the hot water supply heat exchanger 7. A hot water supply circuit having a function of supplying hot water is provided in the water supply passage 5. And a hot water supply heat exchanger 7 and a hot water supply passage 11. A water supply temperature sensor 6 and a flow rate sensor 20 are provided in the water supply passage 5, and a hot water supply temperature sensor 8 is provided in the hot water supply passage 11.

追い焚き熱交換器15の入側には、浴槽水を循環させる追い焚き循環ポンプ21と、追い焚き熱交換器15の入側と浴槽26とを接続する戻り側の通路としての戻り管23とが接続され、追い焚き熱交換器15の出側には、該追い焚き熱交換器15の出側と浴槽26とを接続する往き側の通路としての往管24が接続されている。往管24と戻り管23は、いずれも追い焚き循環金具9を介して浴槽26に接続されており、追い焚き循環ポンプ21の駆動によって、浴槽水を、戻り管23、追い焚き熱交換器15、往管24に順に通して循環させる追い焚き循環通路25が形成されている。   On the inlet side of the reheating heat exchanger 15, there is a recirculation circulation pump 21 that circulates the bath water, and a return pipe 23 as a return-side passage that connects the inlet side of the reheating heat exchanger 15 and the bathtub 26. Is connected to the outlet side of the reheating heat exchanger 15, and an outgoing pipe 24 is connected as a forward side passage connecting the outlet side of the reheating heat exchanger 15 and the bathtub 26. Both the outgoing pipe 24 and the return pipe 23 are connected to the bathtub 26 via the recirculation circulation fitting 9, and the water of the bathtub is supplied to the return pipe 23 and the reheating heat exchanger 15 by driving the recirculation circulation pump 21. A recirculation circulation passage 25 that circulates through the outgoing pipe 24 in order is formed.

戻り管23には戻り湯水温検出手段18と流水スイッチ22が設けられ、追い焚き循環ポンプ21の駆動によって、追い焚き循環通路25内の湯水が浴槽26側から追い焚き循環ポンプ21側に流れるときに、流水スイッチ22がオンとなる。また、戻り管23を通る追い焚き循環通路25内の湯水温が戻り湯水温検出手段18により検出される。したがって、追い焚き循環ポンプ21の駆動を継続することにより浴槽湯水を戻り管23内に導入して循環させ、このときに戻り湯水温検出手段18によって湯水温度を検出すれば、浴槽湯水の温度を検出できる。   The return pipe 23 is provided with return hot water temperature detecting means 18 and a running water switch 22, and when hot water in the hot water circulation passage 25 flows from the bathtub 26 side to the hot water circulation pump 21 side by driving the hot water circulation pump 21. In addition, the running water switch 22 is turned on. The hot and cold water temperature in the recirculation circulation passage 25 passing through the return pipe 23 is detected by the return hot water temperature detecting means 18. Therefore, if the hot water circulation pump 21 is continuously driven, the hot water in the bathtub is introduced into the return pipe 23 and circulated. If the hot water temperature is detected by the return hot water temperature detecting means 18 at this time, the temperature of the hot water in the bathtub is increased. It can be detected.

追い焚き循環通路25には、注湯通路14を介して前記給湯回路の給湯通路11が接続されており、注湯通路14には注湯電磁弁13と水位センサ12とが設けられている。なお、水位センサ12は追い焚き循環通路25側に設けることもできる。   A hot water supply passage 11 of the hot water supply circuit is connected to the recirculation circulation passage 25 through a hot water supply passage 14, and a hot water electromagnetic valve 13 and a water level sensor 12 are provided in the hot water supply passage 14. The water level sensor 12 can also be provided on the recirculation circulation passage 25 side.

また、図4には図示されていないが、風呂装置には制御装置が設けられ、制御装置には風呂リモコン装置と台所リモコン装置等のリモコン装置が信号接続されている。リモコン装置の運転スイッチをオンした状態で給湯先に設けられている給湯栓(図示せず)を開くことにより、風呂装置における給湯機能の動作が開始される。この動作は、制御装置の燃焼制御部の制御によって、入水温度センサ6により検出される入水温と、流量センサ20により検出される給湯流量に基づき、給湯温度センサ8により検出される給湯温(出湯温)が給湯設定温度となるように、給湯バーナ10を燃焼して行われる。   Although not shown in FIG. 4, a control device is provided in the bath device, and a remote control device such as a bath remote control device and a kitchen remote control device is signal-connected to the control device. The operation of the hot water supply function in the bath apparatus is started by opening a hot water tap (not shown) provided at the hot water supply destination with the operation switch of the remote control device turned on. This operation is based on the incoming water temperature detected by the incoming water temperature sensor 6 and the hot water flow rate detected by the flow rate sensor 20 under the control of the combustion control unit of the control device, and the hot water temperature detected by the hot water temperature sensor 8 (outflow water). This is performed by burning the hot water supply burner 10 so that (temperature) becomes the hot water supply set temperature.

また、風呂装置における自動運転の機能は、例えば風呂と台所のリモコン装置の少なくとも一方に設けられている自動スイッチをオンすることにより開始するものであり、注湯電磁弁13が開かれ、給湯機能の動作と同様に給湯熱交換器7を通って加熱された湯が給湯管路11と注湯通路14を順に通って追い焚き循環通路25に導入され、戻り管23と往管24の両方を通して浴槽26へ落とし込まれる。この湯張りによる浴槽湯水の水位は水位センサ12によって検出され、この検出値が風呂設定水位になると湯張りは終了する。   The automatic operation function in the bath device is started by turning on an automatic switch provided in at least one of the remote control device for the bath and the kitchen, for example, and the pouring electromagnetic valve 13 is opened to supply the hot water. The hot water heated through the hot water supply heat exchanger 7 is introduced into the recirculation circulation passage 25 through the hot water supply pipe 11 and the pouring passage 14 in order, and through both the return pipe 23 and the outgoing pipe 24 in the same manner as in the above operation. It is dropped into the bathtub 26. The water level of the bathtub hot water caused by this hot water filling is detected by the water level sensor 12, and when this detected value reaches the bath setting water level, the hot water filling ends.

湯張りが完了したときに注湯電磁弁13が閉じられ、戻り湯水温検出手段18によって検出される検出温度が湯張り設定温度(風呂設定温度)よりも低いときには追い焚き機能の動作が行われる。この追い焚き機能の動作は、循環ポンプ21が駆動されて浴槽26内の湯水が追い焚き循環通路25を通して循環されて行われるものであり、戻り湯水温検出手段18により検出される検出温度が風呂設定温度になるように追い焚きバーナ16を燃焼させ、追い焚き熱交換器15を加熱して行われる。   When the hot water filling is completed, the hot water solenoid valve 13 is closed, and when the detected temperature detected by the return hot water temperature detecting means 18 is lower than the hot water filling temperature (bath setting temperature), the operation of the reheating function is performed. . The operation of the reheating function is performed by driving the circulation pump 21 and circulating hot water in the bathtub 26 through the recirculation circulation passage 25, and the detected temperature detected by the return hot water temperature detecting means 18 is the bath temperature. The reheating burner 16 is burned to reach the set temperature, and the reheating heat exchanger 15 is heated.

自動運転の動作においては、引き続き、予め設定された設定時間だけ、浴槽水の温度が風呂の設定温度よりも許容範囲を越えて低くならないように、例えば予め定められているポンプ駆動間隔毎に追い焚き循環ポンプ21を駆動させて、このときに検出される戻り湯水温検出手段18の検出温度が風呂設定温度よりも予め定められている許容範囲を超えて低いとき(つまり、予め定められる追い焚き基準温度以下になったとき)には、前記追い焚き動作を適宜行うことによって浴槽湯水の温度を風呂設定温度に保つ保温機能の動作が行なわれる。   In the automatic operation, the temperature of the bath water is continuously increased, for example, at a predetermined pump driving interval so that the temperature of the bath water does not become lower than the allowable temperature of the bath over the allowable range for a preset time. When the circulating circulating pump 21 is driven and the detected temperature of the return hot water temperature detecting means 18 detected at this time is lower than a predetermined allowable range than the bath set temperature (that is, a predetermined reheating) When the temperature is equal to or lower than the reference temperature), an operation of a heat retaining function for keeping the temperature of the bath hot water at the bath set temperature is performed by appropriately performing the chasing operation.

なお、保水機能を有する風呂装置においては、保温機能の動作中に水位センサ12の検出水位が風呂設定水位よりも許容範囲を超えて低くなると、その分の湯を前記給湯回路と注湯通路14と追い焚き循環通路25とに通して浴槽26に補給する。   In the bath apparatus having a water retention function, if the detected water level of the water level sensor 12 becomes lower than the allowable level of the bath setting water level during the operation of the heat retention function, the corresponding hot water is supplied to the hot water supply circuit and the pouring passage 14. Through the recirculation passage 25 and replenishing the bathtub 26.

また、追い焚き単独運転の機能は、通常、風呂リモコン装置に設けられている追い焚きスイッチが押されたときに、前記追い焚き機能の動作を行う機能である。   In addition, the function of the chasing single operation is a function for performing the chasing function when a chasing switch provided in the bath remote control device is normally pressed.

いずれの追い焚き動作においても、追い焚き熱交換器15を通して加熱されて往管24内に通される湯の温度は例えば風呂設定温度よりも例えば25℃〜30℃程度高い温度であり、例えば風呂設定温度が42℃の場合は約67〜約72℃となる。なお、追い焚き終了後(直後)にポストポンプ(追い焚きバーナ16による加熱を行わずに、追い焚き循環ポンプ21の駆動を予め定められている一定時間継続する動作)が行われるものにおいては、このポストポンプによって浴槽26内の温度と追い焚き循環通路25内の温度は略同一となる。   In any reheating operation, the temperature of hot water that is heated through the reheating heat exchanger 15 and passed through the outgoing tube 24 is, for example, about 25 ° C. to 30 ° C. higher than the bath set temperature. When the set temperature is 42 ° C., the temperature is about 67 to about 72 ° C. In the case where a post pump (an operation in which the driving of the recirculation circulation pump 21 is continued for a predetermined time without performing the reheating by the reheating burner 16) is performed after (after the reheating), By this post pump, the temperature in the bathtub 26 and the temperature in the recirculation circulation passage 25 become substantially the same.

特許第3978405号公報Japanese Patent No. 3978405

ところで、前記の如く、浴槽湯水の追い焚きを行う際は、追い焚き循環ポンプ21の駆動によって浴槽湯水を追い焚き循環通路25側に吸い込み、追い焚きバーナ16の燃焼により追い焚き熱交換器15で加熱された湯を浴槽26内に戻す動作が行われるが、追い焚きバーナ16の燃焼開始時に往管24内に入っていた湯水は、追い焚き熱交換器15による加熱が行われない状態で往管24から浴槽26内に導入されてしまう。そのため、例えば浴槽26内に人が入っている状態で追い焚きが開始された際に、往管24内の湯水温が低いと、その低い温度の湯水が浴槽に導入されて利用者が不快な思いをするといった問題があった。   By the way, when reheating the hot water in the bathtub, as described above, the hot water in the bathtub is sucked into the recirculation passage 25 by driving the recirculation circulation pump 21, and the reheating heat exchanger 15 is burned by the combustion of the reheating burner 16. Although the operation of returning the heated hot water into the bathtub 26 is performed, the hot water that has entered the forward pipe 24 at the start of combustion of the reheating burner 16 is not heated by the reheating heat exchanger 15. It will be introduced into the bathtub 26 from the tube 24. Therefore, for example, when chasing is started in a state where a person is in the bathtub 26, if the hot water temperature in the outgoing pipe 24 is low, the low temperature hot water is introduced into the bathtub and the user is uncomfortable. There was a problem of thinking.

本発明は、上記課題を解決するためになされたものであり、その目的は、利用者が浴槽内に入浴中に追い焚きが開始されても、浴槽内に追い焚き循環通路から冷たい湯水が導入されて利用者が不快な思いをするといったことのない、使い勝手が良好な風呂装置を提供することにある。   The present invention has been made in order to solve the above-described problems. The purpose of the present invention is to introduce cold hot water from the recirculation passage into the bathtub even if the user starts reheating while bathing in the bathtub. Another object of the present invention is to provide an easy-to-use bath apparatus that does not make the user feel uncomfortable.

本発明は上記目的を達成するために、次の構成をもって課題を解決する手段としている。すなわち、第1の発明は、浴槽湯水を循環させる追い焚き循環ポンプと、該追い焚き循環ポンプの駆動によって循環する浴槽湯水の加熱用の追い焚き熱交換器とが設けられた追い焚き循環通路が浴槽に接続され、該追い焚き循環通路には該追い焚き循環通路を通る湯水を前記追い焚き熱交換器の出側と前記浴槽とを接続する往き側の通路から分岐して浴室に排水する湯水排水手段が設けられており、前記追い焚き循環通路には前記追い焚き熱交換器の入側と前記浴槽とを接続する戻り側の通路に戻り湯水温検出手段が設けられて、前記浴槽湯水の追い焚きを行う追い焚き動作の開始時に前記戻り湯水温検出手段により検出される前記追い焚き循環通路内の湯水温が予め定められる湯水排出基準温度より低かったときには、前記湯水排水手段の制御によって前記追い焚き循環通路内の湯水を前記追い焚き循環通路の往き側の通路から前記浴室に排水する低温水排出動作の制御手段を有する構成をもって課題を解決するための手段としている。   In order to achieve the above object, the present invention has the following configuration as means for solving the problems. That is, the first invention has a recirculation circulation path provided with a recirculation circulation pump for circulating the hot water in the bathtub and a recuperation heat exchanger for heating the bathtub hot water circulated by driving the recirculation circulation pump. Hot water which is connected to a bathtub and branches into the recirculation circulation passage from the forward passage connecting the outlet side of the reheating heat exchanger and the bathtub and drains into the bathroom. A drainage means is provided, and in the recirculation circulation passage, a return hot water temperature detection means is provided in a return passage connecting the entrance side of the reheating heat exchanger and the bathtub, and the bath hot water is provided. When the hot water temperature in the recirculation circulation passage detected by the return hot water temperature detecting means at the start of the reheating operation for reheating is lower than a predetermined hot water discharge reference temperature, the hot water draining means And a means for solving the problem with the arrangement having a control means of the low-temperature water discharge operation for draining the bath from the outward side of the passage of the reheating circulation passage hot water in the reheating circulation passage by us.

また、第2の発明は、前記第1の発明の構成に加え、前記低温水排出動作の制御手段は、低温水排出動作中に戻り湯水温検出手段により検出される追い焚き循環通路内の湯水温が予め定められる湯水排出停止基準温度以上になったときから予め定められる設定時間経過後に低温水排出動作を停止することを特徴とする請求項1記載の風呂装置。   Further, in the second invention, in addition to the configuration of the first invention, the control means for the low temperature water discharge operation returns hot water in the recirculation circulation passage detected by the return hot water temperature detection means during the low temperature water discharge operation. The bath apparatus according to claim 1, wherein the low-temperature water discharge operation is stopped after a predetermined time has elapsed since the water temperature became equal to or higher than a predetermined hot water discharge stop reference temperature.

さらに、第3の発明は、前記第1または第2の発明の構成に加え、湯を給湯する機能を備えた給湯回路が注湯通路を介して追い焚き循環通路に接続されて、前記給湯回路と前記注湯通路と前記追い焚き循環通路とを順に通して浴槽に湯張りを行う湯張り機能を有し、該湯張り機能の動作による浴槽への湯張り後に浴槽湯水の温度が予め定められる追い焚き基準温度以下になったときには浴槽湯水の追い焚きを行って浴槽湯水の温度を予め定められる風呂設定温度に保つ保温機能を備え、低温水排出動作の制御手段は前記保温機能の動作による追い焚き動作時に低温水排出動作を行うことを特徴とする。   Furthermore, in the third invention, in addition to the configuration of the first or second invention, a hot water supply circuit having a function of supplying hot water is connected to the recirculation circulation passage through the pouring passage, and the hot water supply circuit And the pouring passage and the recirculation circulation passage in order to fill the bathtub with hot water, and the temperature of the hot water in the bath is predetermined after the hot water is filled in the bathtub by the operation of the hot water filling function. When the temperature drops below the reheating reference temperature, the hot water is reheated to keep the temperature of the hot water in the bath at a predetermined bath setting temperature. It is characterized by performing a low temperature water discharge operation during a whispering operation.

さらに、第4の発明は、前記第1または第2または第3の発明の構成に加え、前記浴槽に人が入浴中であることを検出する人入浴検出手段を有し、低温水排出動作の制御手段は前記人入浴検出手段による人の入浴検出が行われている時に追い焚き動作が開始されたときに低温水排出動作を行うことを特徴とする。   Furthermore, the fourth invention has a human bathing detection means for detecting that a person is bathing in the bathtub, in addition to the configuration of the first, second or third invention, and performs a low-temperature water discharge operation. The control means performs a low-temperature water discharge operation when a chasing operation is started when the bathing detection of the person by the person bathing detection means is being performed.

さらに、第5の発明は、前記第1乃至第4のいずれか一つの発明の構成に加え、湯を給湯する機能を備えた給湯回路が注湯通路を介して追い焚き循環通路に接続されており、低温水排出動作の制御手段が低温湯水排水動作を行った後に、該低温湯水排水動作によって排出した湯水量と予め定められている設定水量のいずれか一方の予め選択されている方の量の湯を前記給湯回路と前記注湯通路と前記追い焚き循環通路とを順に通して浴槽に補給する保湯制御手段を有することを特徴とする。   Furthermore, a fifth aspect of the invention is that, in addition to the configuration of any one of the first to fourth aspects, a hot water supply circuit having a function of supplying hot water is connected to the recirculation circulation passage through the pouring passage. After the low temperature water discharge operation control means performs the low temperature hot water drainage operation, either the amount of hot water discharged by the low temperature hot water drainage operation or a predetermined amount of water set in advance is selected. There is provided hot water control means for supplying hot water to the bathtub through the hot water supply circuit, the pouring passage and the recirculation circulation passage in order.

さらに、第6の発明は、前記第1乃至第5のいずれか一つの発明の構成に加え、追い焚き動作開始前の前回の動作が浴槽への湯張り動作か浴槽湯水の追い焚き動作か該追い焚き動作終了時にポストポンプは行われたのか否かを判断すると共に前記前回の動作がいつ行われたのかを判断する前動作判断手段を有し、追い焚き循環通路が配設されている領域の外気温に基づく温度情報と追い焚き動作開始前の前回の動作が浴槽への湯張り動作と浴槽湯水の追い焚き動作のどちらでいつ行われたのかと追い焚き動作終了時にポストポンプは行われたのか否かに基づいて前記追い焚き循環通路の往き側の通路内の湯水温を推定するための湯水温推定情報が与えられ、該湯水温推定情報と前記前動作判断手段による判断情報と前記外気温に基づく温度情報とに基づいて前記追い焚き循環通路の往き側の通路内の湯水温を推定する往き側通路内湯水温推定手段を有し、低温水排出動作の制御手段は、戻り湯水温検出手段により検出される前記追い焚き循環通路内の湯水温が予め定められる湯水排出基準温度より低かったときに代えて、前記往き側通路内湯水温推定手段により推定された推定温度が予め定められる湯水排出用設定温度より低かったときに低温湯水排水動作を行うことを特徴とする。   Furthermore, the sixth aspect of the invention includes, in addition to the configuration of any one of the first to fifth aspects, whether the previous operation before the start of the reheating operation is a hot water filling operation on the bathtub or a reheating operation of the bathtub hot water. An area in which a post-circulation circulation passage is provided having pre-operation determination means for determining whether or not the post-pump has been performed at the end of the reheating operation and determining when the previous operation has been performed. The temperature information based on the outside air temperature and the time when the previous operation before the start of the reheating operation was performed during the refilling operation of the bathtub or the reheating operation of the bathtub hot water. Hot water temperature estimation information for estimating the hot water temperature in the passage on the outgoing side of the recirculation circulation passage is given based on whether or not the hot water circulation passage is passed, the hot water temperature estimation information, the judgment information by the previous operation judgment means, and the Temperature information based on outside temperature And a hot water temperature estimating means in the forward side passage for estimating the hot water temperature in the forward side passage of the recirculation circulation passage, and the control means for the low temperature water discharge operation is detected by the return hot water temperature detecting means. Instead of the hot water temperature in the recirculation circulation passage being lower than the predetermined hot water discharge reference temperature, the estimated temperature estimated by the forward passage hot water temperature estimating means is lower than the predetermined hot water discharge set temperature. It is characterized by performing a low-temperature hot water drainage operation.

本発明によれば、浴槽湯水を循環させる追い焚き循環ポンプと、該追い焚き循環ポンプの駆動によって循環する浴槽湯水の加熱用の追い焚き熱交換器とが設けられた追い焚き循環通路が浴槽に接続されているが、該追い焚き循環通路を通る湯水を、前記追い焚き熱交換器の出側と前記浴槽とを接続する往き側の通路から分岐して浴室に排水する湯水排水手段が設けられており、往き側の通路内の湯水が冷えている状態で浴槽湯水の追い焚き動作が開始された際に、その冷たい湯水を適宜、湯水排水手段の制御によって浴室に排水することにより、冷たい湯水が浴槽内に導入されることを防ぐことができる。   According to the present invention, a reheating circulation path provided with a reheating circulation pump that circulates bathtub hot water and a reheating heat exchanger for heating bathtub hot water that is circulated by driving the reheating circulation pump is provided in the bathtub. Hot water drainage means for branching and draining hot water passing through the recirculation circulation passage from the forward passage connecting the outlet side of the reheating heat exchanger and the bathtub and draining it into the bathroom is provided. When the hot water in the going-out passage is cold and the reheating operation of the bathtub hot water is started, the cold hot water is appropriately drained into the bathroom by the control of the hot water draining means, so that the cold hot water is discharged. Can be prevented from being introduced into the bathtub.

つまり、本発明によれば、追い焚き循環通路における追い焚き熱交換器の入側と浴槽とを接続する戻り側の通路には戻り湯水温検出手段が設けられており、例えば追い焚き動作の開始時に戻り湯水温検出手段により検出される追い焚き循環通路内の湯水温が予め定められる湯水排出基準温度より低かったときには、通常の追い焚き動作により往き側の管路からの湯水を浴槽に導入すると、その湯水温が低い可能性が高いので、低温水排出動作の制御手段が前記湯水排水手段を制御して追い焚き循環通路内の湯水を浴室に排水する低温水排出動作を行うことにより、冷たい湯水が浴槽内に導入されることを防ぐことができる。   That is, according to the present invention, the return hot water temperature detecting means is provided in the return side passage connecting the inlet side of the reheating heat exchanger and the bathtub in the recirculation circulation passage, for example, the start of reheating operation When the hot water temperature in the recirculation circulation passage detected by the return hot water temperature detecting means is lower than a predetermined hot water discharge reference temperature, the hot water from the forward side pipe is introduced into the bathtub by a normal reheating operation. Since the hot water temperature is likely to be low, the control means for the low temperature water discharge operation controls the hot water drainage means to perform the low temperature water discharge operation for draining the hot water in the circulation passage to the bathroom. Hot water can be prevented from being introduced into the bathtub.

また、本発明において、低温水排出動作の制御手段は、低温水排出動作中に戻り湯水温検出手段により検出される追い焚き循環通路内の湯水温が予め定められる湯水排出停止基準温度以上になったときから予め定められる設定時間経過後に低温水排出動作を停止することにより、追い焚きによって加熱されることにより温度が高くなった湯(浴室に排出する必要のない湯)を排出してしまうといった無駄を生じさせること等無く、適切なタイミングで低温水排出動作を停止することができる。   In the present invention, the control means for the low temperature water discharge operation is such that the hot water temperature in the recirculation circulation passage detected by the return hot water temperature detection means during the low temperature water discharge operation is equal to or higher than a predetermined hot water discharge stop reference temperature. If the low temperature water discharge operation is stopped after a preset time has elapsed since the first time, hot water that has been heated by reheating (hot water that does not need to be discharged into the bathroom) will be discharged. The low temperature water discharge operation can be stopped at an appropriate timing without causing waste.

さらに、湯を給湯する機能を備えた給湯回路を、注湯通路を介して追い焚き循環通路に接続し、前記給湯回路と前記注湯通路と前記追い焚き循環通路とを順に通して浴槽に湯張りを行う湯張り機能を設け、該湯張り機能の動作による浴槽への湯張り後に浴槽湯水の温度が予め定められる追い焚き基準温度以下になったときには浴槽湯水の追い焚きを行って浴槽湯水の温度を予め定められる風呂設定温度に保つ保温機能を設けることによって、湯張り機能と保温機能による利便性を高めることができる。   Further, a hot water supply circuit having a function of supplying hot water is connected to the recirculation circulation passage through the pouring passage, and the hot water supply circuit, the pouring passage, and the recirculation circulation passage are sequentially passed through the hot water in the bathtub. A hot water filling function is provided, and when the temperature of the hot water in the bathtub falls below a predetermined reheating reference temperature after the hot water filling to the bathtub by the operation of the hot water filling function, the hot water in the bathtub is reheated. By providing a heat retaining function that keeps the temperature at a predetermined bath setting temperature, it is possible to enhance the convenience of the hot water filling function and the heat retaining function.

また、保温機能の動作中には、人が浴槽内に入浴する可能性があるので、その保温機能の動作による追い焚き動作時に、低温水排出動作の制御手段が低温水排出動作を行うことによって、利用者が浴槽内に入浴しているときに、追い焚き動作により冷たい湯水が往き側通路側から浴槽内に導入されることを防ぐことができ、より確実に使い勝手を良好にできる。   In addition, during the operation of the heat retaining function, there is a possibility that a person may take a bath in the bathtub, so that the control means of the low temperature water discharging operation performs the low temperature water discharging operation at the time of the chasing operation by the operation of the heat retaining function. When the user is bathing in the bathtub, it is possible to prevent cold hot water from being introduced into the bathtub from the outgoing side passage side by the chasing operation, and the user-friendliness can be improved more reliably.

さらに、浴槽に人が入浴中であることを検出する人入浴検出手段を設け、低温水排出動作の制御手段は、人入浴検出手段による人の入浴検出が行われている時に追い焚き動作が開始されたときに低温水排出動作を行うようにすれば、利用者が浴槽内に入浴しているときに追い焚き動作が開始された際に、往き側の通路から冷たい湯水が浴槽内に導入されることを、より一層確実に防ぐことができる。   Furthermore, a bathing detection means for detecting that a person is taking a bath is provided in the bathtub, and the control means for the low-temperature water discharge operation starts a chasing operation when the person bathing detection is performed by the human bathing detection means. If a low temperature water discharge operation is performed when the user is bathed, cold hot water is introduced into the bathtub from the passage on the going side when the chasing operation is started while the user is bathing in the bathtub. This can be prevented more reliably.

さらに、湯を給湯する機能を備えた給湯回路を、注湯通路を介して追い焚き循環通路に接続し、低温水排出動作の制御手段が低温水排出動作を行った後に、該低温水排出動作によって排出した湯水量と予め定められている設定水量のいずれか一方の予め選択されている量の湯を、前記給湯回路と前記注湯通路と前記追い焚き循環通路とを順に通して浴槽に補給する保湯制御手段を設けることにより、低温水排出動作によって浴槽湯水の量が減ってしまうことを防ぐことができ、より一層使い勝手を良好にできる。   Further, a hot water supply circuit having a function of supplying hot water is connected to the recirculation circulation passage through the pouring passage, and the low temperature water discharge operation control means performs the low temperature water discharge operation. A hot water of a preselected amount of either the amount of hot water discharged by the water or a predetermined set amount of water is supplied to the bathtub through the hot water supply circuit, the pouring passage, and the recirculation circulation passage in order. By providing the hot water storage control means, it is possible to prevent the amount of hot water in the bathtub from decreasing due to the low temperature water discharge operation, and it is possible to further improve the usability.

さらに、追い焚き動作開始時に、往き側の通路内湯水温推定手段により追い焚き循環通路の往き側の通路内の湯水温を推定し、その推定された推定温度が予め定められる湯水排出用設定温度より低かったときに、低温水排出動作の制御手段が低温水排出動作を行うことによっても前記と同様の効果を奏することができ、さらに、往き側の通路内の温度の推定により、低温水排出動作に関してより一層的確な制御が行えるようにできる。   Further, at the start of the reheating operation, the hot water temperature in the forward passage of the recirculation circulation passage is estimated by the hot water temperature estimation means in the forward passage, and the estimated temperature is determined from a preset hot water discharge set temperature. When the temperature is low, the control means for the low temperature water discharge operation can perform the low temperature water discharge operation, and the same effect as described above can be obtained. Further, the low temperature water discharge operation can be performed by estimating the temperature in the forward passage. It is possible to perform more accurate control with respect to.

それというのは、例えば追い焚き循環通路が配設されている領域の外気温に基づく温度情報と、追い焚き動作開始前の前回の動作が浴槽への湯張り動作なのか浴槽湯水の追い焚き動作なのかポストポンプは有りか無しかと、前回の動作がいつ行われたのかによって、追い焚き循環通路の往き側の通路内の湯水温は変わるものである。そのため、このような情報に基づいて往き側の通路内の湯水温を推定するための往き側の通路内湯水温推定情報を与え、この情報と、追い焚き動作開始前の前回の動作が浴槽への湯張り動作と浴槽湯水の追い焚き動作のどちらでいつ行われたのかの判断情報と、外気温に基づく温度情報とに基づいて往き側通路内湯水温推定手段が追い焚き循環通路の往き側の通路内の湯水温を推定することにより、往き側の通路内の湯水温を的確に推定することができる。   This is because, for example, temperature information based on the outside air temperature in the area where the recirculation circulation passage is arranged, and whether the previous operation before the renewal operation was a hot water filling operation on the bathtub Depending on whether the post pump is present or not and when the previous operation was performed, the hot water temperature in the passage on the far side of the recirculation circulation passage varies. Therefore, based on such information, the hot water temperature estimation information in the forward passage for estimating the hot water temperature in the forward passage is given, and this information and the previous operation before the start of the chasing operation are The forward side passage hot water temperature estimating means determines whether the hot water filling operation or the bath hot water reheating operation is performed and the temperature information based on the outside air temperature. By estimating the hot water temperature in the interior, the hot water temperature in the outgoing passage can be accurately estimated.

そして、この推定結果に基づき、推定された推定温度が前記湯水排出用設定温度より低かったときに低温水排出動作の制御手段が低温水排出動作を行うことによって、非常に的確に低温水排出動作を行うことができる。   Then, based on this estimation result, when the estimated temperature is lower than the set temperature for discharging hot water, the control means for the low temperature water discharge operation performs the low temperature water discharge operation, so that the low temperature water discharge operation is very accurately performed. It can be performed.

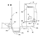
本発明に係る風呂装置の一実施例の要部構成を説明するための模式的な説明図である。It is typical explanatory drawing for demonstrating the principal part structure of one Example of the bath apparatus which concerns on this invention. 実施例の風呂装置の要部制御構成を示すブロック図である。It is a block diagram which shows the principal part control structure of the bath apparatus of an Example. 実施例の風呂装置の動作例を示すフローチャートである。It is a flowchart which shows the operation example of the bath apparatus of an Example. 風呂装置のシステム構成例を示す模式的な説明図である。It is typical explanatory drawing which shows the system structural example of a bath apparatus. 本発明に係る風呂装置の他の実施例の風呂装置の要部制御構成を示すブロック図である。It is a block diagram which shows the principal part control structure of the bath apparatus of the other Example of the bath apparatus which concerns on this invention. 図5に示した制御構成を有する風呂装置に与えられるデータの例を示すグラフである。It is a graph which shows the example of the data given to the bath apparatus which has the control structure shown in FIG. 本発明に係る風呂装置のさらに他の実施例の風呂装置の要部制御構成を示すブロック図である。It is a block diagram which shows the principal part control structure of the bath apparatus of the further another Example of the bath apparatus which concerns on this invention. 風呂装置の追い焚き循環通路の配設状態例を説明するための模式的なシステム図である。It is a typical system figure for demonstrating the example of arrangement | positioning state of the recirculation circulation path of a bath apparatus. 図8に示されるような態様で戻り管が配設されている場合の、追い焚き開始時からの戻り湯水温検出手段の検出温度の時系列変化例を模式的に示すグラフである。It is a graph which shows typically the example of a time-sequential change of the temperature detected by the return hot water temperature detection means from the start time of a chase when the return pipe is arrange | positioned in the aspect as shown in FIG.

以下、本発明の実施の形態を図面に基づき説明する。なお、本実施例の説明において、これまでの説明と同一名称部分には同一符号を付し、その重複説明は省略または簡略化する。   Hereinafter, embodiments of the present invention will be described with reference to the drawings. Note that, in the description of the present embodiment, the same reference numerals are given to the same name portions as those described so far, and the duplicate description is omitted or simplified.

本実施例の風呂装置は、図4に示した風呂装置と同様のシステム構成を有している。また、本実施例においては、給湯熱交換器7が給湯バーナ10の顕熱を回収するメインの熱交換器と該メインの熱交換器の上流側に設けられて給湯バーナ10の潜熱を回収する潜熱回収用熱交換器とを有しており、この潜熱回収用熱交換器側で発生したドレン(ドレン水)を回収して追い焚き循環通路25に導き、そのドレンを適宜、浴槽26の外の浴室30に排出する構成を有している。   The bath apparatus of the present embodiment has the same system configuration as the bath apparatus shown in FIG. In the present embodiment, the hot water supply heat exchanger 7 is provided on the main heat exchanger that recovers the sensible heat of the hot water supply burner 10 and on the upstream side of the main heat exchanger, and recovers the latent heat of the hot water supply burner 10. A latent heat recovery heat exchanger, and the drain (drain water) generated on the latent heat recovery heat exchanger side is recovered and guided to the recirculation circulation passage 25, and the drain is appropriately disposed outside the bathtub 26. It has the structure discharged | emitted to the bathroom 30 of this.

つまり、本実施例では、図1に示されるように、追い焚き循環通路25の往管24に湯水排水手段としての切り替え弁17が設けられており、この切り替え弁17を図1(a)のように切り替えることにより、追い焚き循環通路25を通る湯水を往管24から分岐して浴室30に(つまり、浴槽26の外に)排水することができる。なお、戻り管23と往管24とが、図4では交差するように示されて図1では交差しないように示されているが、この違いは記載の仕方だけであり、この部分についてのシステム構成は実質的には同様である。   That is, in this embodiment, as shown in FIG. 1, a switching valve 17 as hot water draining means is provided in the outgoing pipe 24 of the recirculation circulation passage 25, and this switching valve 17 is connected to the switching valve 17 shown in FIG. By switching in this way, hot water passing through the recirculation circulation passage 25 can be branched from the outgoing pipe 24 and drained into the bathroom 30 (that is, outside the bathtub 26). Note that the return pipe 23 and the outgoing pipe 24 are shown as intersecting in FIG. 4 and not intersecting in FIG. 1, but this difference is only in the manner described, and the system for this part The configuration is substantially the same.

また、ドレンを追い焚き循環通路25内に導入する構成については周知であり、その詳細説明は省略するが、本実施例では前記潜熱回収用熱交換器で発生したドレンを追い焚き循環通路25に通し、切り替え弁17を図1(a)のような状態にして往管24から浴室30に排出することができ、また、切り替え弁17を図1(b)のようにすれば、従来通り追い焚き循環通路25を循環させながら追い焚きする追い焚き動作を行うことができる。   The construction for introducing the drain into the recirculation circulation passage 25 is well known, and detailed description thereof is omitted, but in this embodiment, the drain generated in the latent heat recovery heat exchanger is replenished to the recirculation circulation passage 25. Then, the switching valve 17 can be discharged from the forward pipe 24 to the bathroom 30 in the state as shown in FIG. 1 (a). Further, if the switching valve 17 is set as shown in FIG. It is possible to perform a chasing operation of chasing while circulating the whirling circulation passage 25.

また、本実施例においては、以下に説明するように、人の入浴中に追い焚き動作が開始された時に追い焚き循環通路25の往管24内に冷たい水が貯留されていた場合には、切り替え弁17を図1(a)のようにして、その冷たい水を浴室30(浴槽26の外部)に排水し、冷たい水が浴槽26内に導入されることを防ぐ、特徴的な構成を有している。   Further, in this embodiment, as described below, when cold water is stored in the outgoing pipe 24 of the recirculation circulation passage 25 when the reheating operation is started during the bathing of a person, As shown in FIG. 1A, the switching valve 17 has a characteristic configuration that drains the cold water into the bathroom 30 (outside the bathtub 26) and prevents the cold water from being introduced into the bathtub 26. doing.

図2に示されるように、本実施例では、制御装置31内に、湯張り制御手段32、追い焚き制御手段33、保湯制御手段34、低温水排出動作の制御手段35、燃焼制御手段36、人入浴検出手段37が設けられており、制御装置31は、リモコン装置1に設けられている自動スイッチ3と追い焚きスイッチ4に信号接続されている。   As shown in FIG. 2, in this embodiment, in the control device 31, the hot water filling control means 32, the reheating control means 33, the hot water control means 34, the low temperature water discharge operation control means 35, and the combustion control means 36. The bathing detection means 37 is provided, and the control device 31 is signal-connected to the automatic switch 3 and the follow-up switch 4 provided in the remote control device 1.

人入浴検出手段37は、浴槽26に人が入浴中であることを検出する手段であり、例えば水位センサ12により検出される検出水位に基づいて人の入浴と出浴とを判断する。例えば水位センサ12の検出水位が大きい方に変動し、その変動量が予め定められる人入浴基準判断値よりも大きいときには人が浴槽26に入浴したと判断し、その逆に、前記検出水位が小さい方に変動し、その変動量が人出浴基準判断値より大きいときには人が浴槽26から出浴したと判断する。   The person bathing detection means 37 is a means for detecting that a person is bathing in the bathtub 26, and for example, judges whether a person is bathing or taking a bath based on the detected water level detected by the water level sensor 12. For example, when the detected water level of the water level sensor 12 fluctuates to a larger value and the fluctuation amount is larger than a predetermined bathing standard judgment value, it is judged that a person has bathed in the bathtub 26, and conversely, the detected water level is small. When the fluctuation amount is larger than the person bathing standard determination value, it is determined that the person has bathed from the bathtub 26.

なお、人入浴検出手段37は、例えばこのように風呂装置に設けられる水位センサ12の検出水位に基づいて人の浴槽26への入浴や出浴を検知できるものであるが、水位センサ12の水位変動値の代わりに水位変動値の時間的変化量(単位時間当たりの水位変動量であり、時間に対する水位変動量を求めた場合の傾き)に基づいて人の浴槽26への入浴や出浴を検知してもよい。また、例えば浴槽26の近傍に人を検知するセンサを設けて、そのセンサの検出信号に基づいて、人の浴槽26への入浴と出浴とを検出することもできる。つまり、人入浴検出手段37による浴槽26への人の入浴や出浴の検出の仕方は特に限定されるものでなく、適宜設定されるものである。   The person bathing detection means 37 can detect the bathing or bathing of the person in the bathtub 26 based on the detected water level of the water level sensor 12 provided in the bath device, for example, but the water level of the water level sensor 12 can be detected. Instead of a fluctuation value, a person's bathing or taking a bath in the bathtub 26 is based on the amount of time fluctuation of the water level fluctuation value (the water level fluctuation amount per unit time, and the slope when the water level fluctuation amount with respect to time is obtained). It may be detected. In addition, for example, a sensor for detecting a person can be provided in the vicinity of the bathtub 26, and based on a detection signal of the sensor, bathing and bathing of the person in the bathtub 26 can be detected. That is, the method of detecting a person's bathing or bathing in the bathtub 26 by the person bathing detection means 37 is not particularly limited, and is appropriately set.

本実施例において、自動スイッチ3がオンされると、自動運転開始の信号が湯張り制御手段32に加えられる。湯張り制御手段32は、燃焼制御手段36に指令を加え、燃焼制御手段36による給湯バーナ10の燃焼制御等により給湯回路側で湯が形成されるようにし、図4を用いて説明したように、注湯電磁弁13を開き、給湯回路と注湯通路14と追い焚き循環通路25を通しての浴槽26への湯張りを行う。この湯張りが完了したときに、湯張り完了信号が追い焚き制御手段33と低温水排出動作の制御手段35とに加えられる。   In this embodiment, when the automatic switch 3 is turned on, an automatic operation start signal is applied to the hot water filling control means 32. The hot water filling control means 32 gives a command to the combustion control means 36 so that hot water is formed on the hot water supply circuit side by the combustion control of the hot water supply burner 10 by the combustion control means 36, as described with reference to FIG. Then, the hot water solenoid valve 13 is opened, and the hot water filling to the bathtub 26 through the hot water supply circuit, the hot water passage 14 and the recirculation circulation passage 25 is performed. When the hot water filling is completed, a hot water filling completion signal is applied to the chase control means 33 and the low temperature water discharge operation control means 35.

追い焚き制御手段33は、湯張りが完了(終了)したときと、この湯張り完了後から予め定められている保温時間に行われる保温機能の動作中において、例えば30分毎といったインターバル(設定間隔)毎に浴槽湯水の温度を戻り湯水温検出手段18の検出温度に基づいて確認し、この検出温度が風呂設定温度よりも予め定められる許容範囲を超えて低くなっているときには追い焚き動作(追い焚き機能の動作)を開始する。つまり、自動湯張り動作において、湯張り完了時の追い焚き動作と保温機能の動作中の追い焚き動作とを適宜行う。また、追い焚き制御手段33は、追い焚きスイッチ4がオンされたときにも、浴槽湯水の追い焚き制御を行う。   The chasing control means 33 performs an interval (set interval), for example, every 30 minutes when the hot water filling is completed (terminated) and during the operation of the warming function performed after the hot water filling is completed. ) The temperature of the hot water in the bathtub is checked on the basis of the temperature detected by the return hot water temperature detecting means 18 every time, and when this detected temperature is lower than a predetermined allowable range than the bath set temperature, the reheating operation (refreshing) is performed. Operation of the whisper function is started. That is, in the automatic hot water filling operation, the hot water operation when the hot water filling is completed and the hot water operation during the operation of the heat retaining function are appropriately performed. Further, the reheating control means 33 performs reheating control of bathtub hot water even when the reheating switch 4 is turned on.

この追い焚き動作は、従来例と同様に、追い焚き循環ポンプ21の駆動と燃焼制御手段36による追い焚きバーナ16の燃焼制御を伴って行われるものであるが、本実施例では、追い焚き指令信号が加えられると直ぐに追い焚き開始信号を低温水排出動作の制御手段35にも加える。また、追い焚き制御手段33には、例えば自動湯張り動作において、湯張り完了時の追い焚き動作を除き、保温機能の動作中の追い焚き動作時や保温動作中に追い焚きスイッチ4がオンされたときには追い焚き動作終了時にポストポンプを行う、といった制御方法が予め定められており、その定められた制御方法に従い、適宜ポストポンプも行うようにする。   This reheating operation is performed with driving of the recirculation circulation pump 21 and combustion control of the reheating burner 16 by the combustion control means 36 as in the conventional example. In this embodiment, the reheating operation is performed. As soon as the signal is applied, the reheating start signal is also applied to the control means 35 for the low temperature water discharge operation. Further, in the reheating control means 33, the reheating switch 4 is turned on during the reheating operation or the heat retaining operation during the operation of the heat retaining function, except in the automatic refilling operation, for example, in the automatic refilling operation. In such a case, a control method in which post pumping is performed at the end of the chasing operation is determined in advance, and post pumping is appropriately performed in accordance with the determined control method.

なお、追い焚き制御手段33は、低温水排出動作の制御手段35に追い焚き開始信号を加える際に、その追い焚き開始信号が、湯張り制御手段32を介して加えられた追い焚き指令信号に基づくものであるのか追い焚きスイッチ4からの追い焚き指令信号に基づくものであるのかを区別できるような識別信号も共に加えてもよい。   When the reheating control means 33 adds a renewal start signal to the control means 35 for the low-temperature water discharge operation, the renewal start signal is added to the renewal command signal added via the hot water filling control means 32. An identification signal that can distinguish whether the signal is based on the tracking command signal from the tracking switch 4 may be added together.

低温水排出動作の制御手段35は、湯張り動作後の保温機能の動作中であって人入浴検出手段37による人の入浴検出が行われている時に浴槽湯水の追い焚き動作が開始された時に、戻り湯水温検出手段18により検出される追い焚き循環通路25内の湯水温が予め定められる湯水排出基準温度(例えば風呂設定温度−5℃)より低かったときには、追い焚き循環通路25内の湯水を追い焚き循環通路25から浴室30(浴槽26の外)に排水する低温水排出動作を行うものである。   The low temperature water discharge operation control means 35 is in the operation of the heat retaining function after the hot water filling operation, and when the bathing detection of the bath water is started when the human bathing detection means 37 is detecting the bathing of the person. When the hot water temperature in the recirculation circulation passage 25 detected by the return hot water temperature detection means 18 is lower than a predetermined hot water discharge reference temperature (for example, bath set temperature -5 ° C.), the hot water in the recirculation circulation passage 25 is obtained. The low-temperature water discharging operation for draining the water from the circulation passage 25 to the bathroom 30 (outside the bathtub 26) is performed.

本実施例において、低温水排出動作の制御手段35は、湯張り制御手段32を介しての追い焚き指令信号に基づく追い焚き開始信号が追い焚き制御手段33から加えられると、その信号が湯張り終了直後に加えられたものであれば、湯張り終了直後の追い焚き動作であると判断し、湯張り終了後の前記保温時間内に加えられたものであれば、保温機能の動作による追い焚き動作であると判断する。   In this embodiment, when the low temperature water discharge operation control means 35 receives a reheating start signal based on a reheating command signal from the refilling control means 32 via the refilling control means 32, the signal is sent to the refilling hot water. If it is added immediately after the end of the hot water filling, it is determined that the reheating operation is performed immediately after the hot water filling is finished. Judged to be an action.

そして、保温機能の動作による追い焚き動作であると判断された時には、人入浴検出手段37によって人の入浴検知が行われているかどうかを判断し、人入浴検出手段37による人の入浴検知が確認できたときには、戻り湯水温検出手段18の検出温度を取り込む。そして、この検出温度が前記湯水排出基準温度より低かったときには、切り替え弁17を図1(a)の状態に制御し、この状態で追い焚き循環ポンプ21を駆動させ、追い焚き循環通路25内の湯水を追い焚き循環通路25から浴室30(浴槽26の外)に排水する低温水排出動作を行う。   Then, when it is determined that the reheating operation is based on the operation of the heat retaining function, it is determined whether the human bathing detection unit 37 detects the bathing of the person, and the human bathing detection unit 37 confirms the bathing detection of the person. When completed, the temperature detected by the return hot water temperature detecting means 18 is taken in. When the detected temperature is lower than the hot water discharge reference temperature, the switching valve 17 is controlled to the state shown in FIG. 1A, and the recirculation circulation pump 21 is driven in this state, A low-temperature water discharge operation for draining hot water from the circulation passage 25 to the bathroom 30 (outside the bathtub 26) is performed.

また、低温水排出動作の制御手段35による低温水排出動作が開始されるとほぼ同時に、燃焼制御手段36が追い焚き制御手段33からの追い焚き開始信号を受けて追い焚きバーナ16の燃焼制御等を行い、戻り湯水温検出手段18により検出される検出温度が風呂設定温度になるように浴槽湯水の追い焚きを行う。なお、低温水排出動作の制御手段35による低温水排出動作が行われないときには、追い焚き制御手段33が低温水排出動作の制御手段35から低温水排出不要信号を受けて、従来通り追い焚き循環ポンプ21を駆動させ、燃焼制御手段36に指令を加えて浴槽湯水の追い焚き動作を行う。いずれの場合も、追い焚き制御手段33は追い焚き終了時に追い焚き終了信号を保湯制御手段34に加える。   Further, almost simultaneously with the start of the low temperature water discharge operation by the low temperature water discharge operation control means 35, the combustion control means 36 receives the reheating start signal from the reheating control means 33 and controls the combustion of the reheating burner 16. The bath water is reheated so that the detected temperature detected by the return hot water temperature detecting means 18 becomes the bath set temperature. When the low temperature water discharge operation by the low temperature water discharge operation control unit 35 is not performed, the reheating control unit 33 receives a low temperature water discharge unnecessary signal from the control unit 35 of the low temperature water discharge operation, and recirculates as usual. The pump 21 is driven, a command is given to the combustion control means 36, and the reheating operation of the bathtub hot water is performed. In any case, the chasing control means 33 applies a chasing end signal to the hot water control means 34 when the chasing is finished.

低温水排出動作の制御手段35は、低温水排出動作中に、戻り湯水温検出手段18により検出される検出温度を監視し、この戻り湯水温検出手段18により検出される追い焚き循環通路25内の湯水温が予め定められる湯水排出停止基準温度(例えば風呂設定温度−2℃)以上になったときから予め定められる設定時間経過後に切り替え弁17を図1(b)の状態として、前記低温水排出動作を停止する。   The control means 35 for the low temperature water discharge operation monitors the temperature detected by the return hot water temperature detection means 18 during the low temperature water discharge operation, and in the recirculation circulation passage 25 detected by the return hot water temperature detection means 18. The switch valve 17 is set to the state shown in FIG. 1B after a preset time has elapsed since the hot water temperature of the hot water is higher than a predetermined hot water discharge stop reference temperature (for example, bath set temperature -2 ° C.). Stop the discharge operation.

保湯制御手段34は、低温水排出動作の制御手段35が浴室30への低温水排出動作を行った後に、該低温水排出動作によって排出した湯水量の湯を前記給湯回路と注湯通路14と追い焚き循環通路25とを順に通して浴槽26に補給する手段である。保湯制御手段34は、追い焚き制御手段33から追い焚き終了信号が加えられると、水位センサ12の検出信号を取り込み、その値が風呂設定水位よりも低いときには水位センサ12の検出信号が風呂設定水位となるように、例えば予め与えられている浴槽26への注湯量と浴槽水位との関係データや、流量センサ20の検出流量等に基づいて注湯量を求め、その注湯量の湯の注湯を行って保湯を行う。   The hot water control means 34, after the low temperature water discharge operation control means 35 performs the low temperature water discharge operation to the bathroom 30, the amount of hot water discharged by the low temperature water discharge operation is supplied to the hot water supply circuit and the pouring passage 14. And the recirculation circulation passage 25 in order and replenishing the bathtub 26. When the reheating end signal is added from the reheating control means 33, the hot water control means 34 takes in the detection signal of the water level sensor 12, and when the value is lower than the bath setting water level, the detection signal of the water level sensor 12 becomes the bath setting. In order to achieve the water level, for example, the amount of pouring is obtained based on the relationship between the amount of pouring water into the bathtub 26 and the bath water level given in advance, the flow rate detected by the flow sensor 20, etc. Perform hot water storage.

本実施例は以上のように構成されており、本実施例の動作例を、図3に示すフローチャートに基づいて説明する。まず、自動スイッチ3のオンによる自動湯張り動作の湯張り終了時や保温機能の動作中や、追い焚きスイッチ4がオンされたときに追い焚き動作が開始されると、ステップS1で、追い焚き制御手段33から追い焚き開始信号が出力され、ステップS2では、低温水排出動作の制御手段35が、保温機能の動作中か否かの判断を行う。つまり、保温機能の動作による追い焚き動作時と保温機能中に追い焚きスイッチが押されたときのいずれかの時で、かつ、浴槽26に人が入浴していると判断された時に、往管24内の湯水温が湯水排出基準温度以下であったら低温水排出動作を行うが、湯張りが完了した直後の追い焚き時には、低温水排出動作は行われないようにするための判断を行う。   The present embodiment is configured as described above, and an operation example of the present embodiment will be described based on the flowchart shown in FIG. First, when the reheating operation is started at the end of refilling of the automatic refilling operation by turning on the automatic switch 3 or during the operation of the heat retaining function or when the reheating switch 4 is turned on, the reheating operation is started in step S1. A chasing start signal is output from the control means 33, and in step S2, the control means 35 for the low temperature water discharge operation determines whether or not the heat retaining function is in operation. That is, when it is determined that a person is taking a bath in the bathtub 26 at the time of either the reheating operation by the operation of the heat retaining function or the time when the retreat switch is pressed during the heat retaining function. If the hot / cold water temperature in 24 is equal to or lower than the hot water discharge reference temperature, the low temperature water discharge operation is performed. However, at the time of reheating immediately after the hot water filling is completed, a determination is made to prevent the low temperature water discharge operation from being performed.

ステップS2で、低温水排出動作の制御手段35により保温機能の動作中であると判断された時にはステップS3に進み、保温機能の動作中でないと判断された時にはステップS20に進む。ステップS3では、低温水排出動作の制御手段35は、人入浴検出手段37の検出信号に基づき、人の入浴中か否かを確認し、人の入浴中であるときにはステップS4に進み、人の入浴中でないときにはステップS20に進む。なお、ステップS20に進んだときには、追い焚き制御手段33による従来と同様の追い焚き動作制御が行われるものであり、ステップS20で流水スイッチ22がオンとなってからの燃焼制御手段36の制御による追い焚きバーナ16の燃焼制御等が行われる(図3には図示せず)。   In step S2, when it is determined by the low temperature water discharge operation control means 35 that the heat retaining function is in operation, the process proceeds to step S3, and when it is determined that the heat retaining function is not in operation, the process proceeds to step S20. In step S3, the low temperature water discharge operation control means 35 confirms whether or not a person is taking a bath based on the detection signal of the person bathing detection means 37, and proceeds to step S4 when the person is taking a bath. When not bathing, the process proceeds to step S20. In addition, when it progresses to step S20, the reheating operation control similar to the conventional by the reheating control means 33 is performed, and by the control of the combustion control means 36 after turning on the flowing water switch 22 in step S20. Combustion control of the reheating burner 16 is performed (not shown in FIG. 3).

一方、ステップS4に進んだときには、低温水排出動作の制御手段35は、戻り湯水温検出手段18の検出温度が前記湯水排出基準温度として与えられている例えば風呂設定温度Ts−5℃より低いかどうかを判断する。そして、戻り湯水温検出手段18の検出温度が前記湯水排出基準温度より低かったときには、切り替え弁17を図1(a)の状態に制御して低温水排出動作を開始するものであり、追い焚き循環ポンプ21を駆動させて追い焚き循環通路25内の湯水を追い焚き循環通路25の往管24から浴室30(浴槽26の外)に排水する(ステップS5、ステップS6、参照)。また、低温水排出動作の制御手段35は図示されていないタイマーを内蔵しており、ステップS6では、タイマーのスタートも行う。   On the other hand, when the processing proceeds to step S4, the low temperature water discharge operation control means 35 determines whether the temperature detected by the return hot water temperature detection means 18 is lower than, for example, the bath set temperature Ts-5 ° C. given as the hot water discharge reference temperature. Judge whether. When the temperature detected by the return hot water temperature detecting means 18 is lower than the hot water discharge reference temperature, the switching valve 17 is controlled to the state shown in FIG. 1A to start the low temperature water discharge operation. The circulation pump 21 is driven, and hot water in the recirculation circulation passage 25 is repelled and drained from the outgoing pipe 24 of the recirculation circulation passage 25 to the bathroom 30 (outside the bathtub 26) (see Steps S5 and S6). Further, the low temperature water discharge operation control means 35 has a built-in timer (not shown), and the timer is also started in step S6.

ステップS7では、燃焼制御手段36が流水スイッチ22のオン信号を確認し、確認できたら、ステップS8で追い焚きバーナ16への点火を行う。そして、追い焚きバーナ16の燃焼制御が行われ、追い焚き循環通路25の戻り管23側から追い焚き熱交換器15に導入される湯水は加熱される。また、ステップS1で追い焚き指令が出力されたときに戻り管23内に貯留されていた(滞留していた)水は、前記低温水排出動作の開始時からの追い焚き循環ポンプ21の駆動によって、順次、戻り湯水温検出手段18の配設位置を通り過ぎて追い焚き熱交換器15側に導入されていき、浴槽26内に滞留していた湯水が戻り管23に導入されて戻り湯水温検出手段18の配設位置に達する頃には戻り湯水温検出手段18の検出温度は湯水排出停止基準温度として与えられている例えば風呂設定温度Ts−2℃以上になる。   In step S7, the combustion control means 36 confirms the ON signal of the running water switch 22, and if it is confirmed, the reheating burner 16 is ignited in step S8. Then, combustion control of the reheating burner 16 is performed, and the hot water introduced into the reheating heat exchanger 15 from the return pipe 23 side of the reheating circulation passage 25 is heated. Further, the water stored (retained) in the return pipe 23 when the reheating command is output in step S1 is driven by the recirculation circulation pump 21 from the start of the low temperature water discharge operation. Then, after passing through the position where the return hot water temperature detecting means 18 is disposed, it is introduced to the reheating heat exchanger 15 side, and hot water staying in the bathtub 26 is introduced into the return pipe 23 to detect the return hot water temperature. By the time the position of the means 18 is reached, the temperature detected by the return hot water temperature detecting means 18 becomes, for example, a bath set temperature Ts-2 ° C. or higher, which is given as the hot water discharge stop reference temperature.

そこで、ステップS9では、低温水排出動作の制御手段35は、戻り湯水温検出手段18の検出温度が湯水排出停止基準温度として設定されている例えば風呂設定温度−2℃以上になったら、ステップS10で前記タイマーをストップし、ステップS11で、タイマーストップ時から予め定められる設定時間経過したことを確認した後に、ステップS12で、切り替え弁17を図1(b)の状態に制御して低温水排出動作を停止し、ステップS13に進む。   Therefore, in step S9, the control means 35 for the low-temperature water discharge operation, when the temperature detected by the return hot water temperature detection means 18 is equal to or higher than the bath set temperature −2 ° C. set as the hot water discharge stop reference temperature, for example, step S10. In step S11, after confirming that a predetermined time has elapsed since the timer was stopped, in step S12, the switching valve 17 is controlled to the state shown in FIG. The operation is stopped and the process proceeds to step S13.

なお、ステップS11での判断に用いる設定時間は、例えば戻り湯水温検出手段18の配設位置から追い焚き熱交換器15の入側までの管路の長さと追い焚き流量とに基づいて求められる時間値、つまり、湯水が戻り湯水温検出手段18の配設位置から追い焚き熱交換器15の入側まで流れる時間に基づき、予め定めることができるものである。   The set time used for the determination in step S11 is obtained based on, for example, the length of the pipeline from the position where the return hot water temperature detecting means 18 is disposed to the entry side of the reheating heat exchanger 15 and the reheating flow rate. It can be determined in advance based on the time value, that is, the time that hot water flows from the position where the return hot water temperature detecting means 18 is disposed to the entry side of the reheating heat exchanger 15.

つまり、一般に、追い焚き循環通路25を形成する往管24の長さと戻り管23の長さは同等の長さであることが多く、低温水排出動作の開始時に追い焚き循環通路25の往管24内にあった(滞留していた)湯水が低温水排出動作によって排出されるまでにかかる時間は、浴槽26内の湯水が浴槽26から戻り管23に導入されて追い焚き熱交換器15の入側に達するまでの時間とほぼ等しい時間となる。そして、この時間は、浴槽湯水が浴槽26の出口(戻り管23の接続部)から戻り湯水温検出手段18の配設位置まで進み、さらに戻り湯水温検出手段18の配設位置から追い焚き熱交換器15の入側に達するまでの時間である。   That is, in general, the length of the outgoing pipe 24 forming the recirculation circulation passage 25 is often equal to the length of the return pipe 23, and the outgoing pipe of the recirculation circulation passage 25 is started at the start of the low-temperature water discharge operation. The time taken for the hot water in (or staying) 24 to be discharged by the low temperature water discharging operation is such that the hot water in the bathtub 26 is introduced into the return pipe 23 from the bathtub 26 and the reheating heat exchanger 15 The time until reaching the entry side is approximately equal to the time. During this time, the hot water from the bathtub proceeds from the outlet of the bathtub 26 (connection portion of the return pipe 23) to the position where the return hot water temperature detecting means 18 is disposed, and further, the reheating heat is reheated from the position where the return hot water temperature detecting means 18 is disposed. This is the time to reach the entry side of the exchanger 15.

そのため、前記タイマーのスタートからストップまでの時間(浴槽湯水が戻り湯水温検出手段18まで達するまでに要すると考えられる時間)をt1とすると、この時間t1に、戻り湯水温検出手段18の配設位置から追い焚き熱交換器15の入側までの管路を湯水が流れるまでにかかると推定される時間(戻り湯水温検出手段18の配設位置から追い焚き熱交換器15の入側までの管路の長さと追い焚き流量とに基づいて求められる時間であり、ここではt2とする)を加えることによって、低温水排出動作の開始時に追い焚き循環通路25の往管24内にあった湯水が低温水排出動作によって排出されるまでにかかる時間が求められる。   For this reason, when the time from the start to the stop of the timer (the time taken for the bath water to reach the return hot water temperature detection means 18) is t1, the return hot water temperature detection means 18 is disposed at this time t1. It is estimated that it takes time for hot water to flow through the pipe line from the position to the inlet side of the reheating heat exchanger 15 (from the position where the return hot water temperature detecting means 18 is disposed to the inlet side of the reheating heat exchanger 15. This is a time determined based on the length of the pipe line and the reheating flow rate, and here, it is assumed that t2). Is required to be discharged by the low temperature water discharging operation.

したがって、タイマーがストップされてから(t1が経過してから)前記時間t2が経過したときに低温水排出動作を停止することにより、低温水排出動作の開始時に追い焚き循環通路25の往管24内にあった湯水が低温水排出動作によって排出されることになる。   Accordingly, the low temperature water discharge operation is stopped when the time t2 has elapsed after the timer is stopped (after t1 has elapsed), so that the outgoing pipe 24 of the recirculation circulation passage 25 is started at the start of the low temperature water discharge operation. The hot water in the inside is discharged by the low temperature water discharging operation.

ただし、低温水排出動作の開始時に追い焚き熱交換器15内に滞留していた湯水は、追い焚きバーナ16の燃焼によって加熱される追い焚き熱交換器15を通るときに加熱されていくものの、追い焚きバーナ16の燃焼開始から湯温が上昇するまでには遅れ時間があり、特に、追い焚き熱交換器15内の湯水が冷めていた場合には、追い焚き熱交換器15の入側に近い領域に滞留していた湯水は十分に加熱されていない状態で温度上昇が不十分なまま往管24に導入され、往管24を通ることになる。   However, although the hot water staying in the reheating heat exchanger 15 at the start of the low temperature water discharge operation is heated when passing through the reheating heat exchanger 15 heated by the combustion of the reheating burner 16, There is a lag time from the start of combustion of the reheating burner 16 until the hot water temperature rises. In particular, when the hot water in the reheating heat exchanger 15 is cooled, the hot water in the reheating heat exchanger 15 enters the inlet side. The hot water staying in the nearby region is introduced into the outer tube 24 without being sufficiently heated and passed through the outer tube 24 while the temperature rise is insufficient.

そのため、ステップS11において判断に用いる設定時間は、戻り湯水温検出手段18の配設位置から追い焚き熱交換器15の入側までの管路の長さと追い焚き流量とに基づいて求められる前記時間t2よりも、前記遅れ時間を考慮した時間だけ長めに設定するとよい。   For this reason, the set time used for the determination in step S11 is the time obtained based on the length of the pipeline from the position where the return hot water temperature detecting means 18 is disposed to the entry side of the reheating heat exchanger 15 and the reheating flow rate. It may be set longer than the time t2 by taking into account the delay time.

なお、ステップS11において判断に用いる設定時間は、このようにして設定するとは限らず、例えば30秒といった一律の値とすることもできるし、余裕を持たせてタイマーのスタートからストップまでの時間とすることもできる(この場合は、タイマーのスタートからストップまでの時間の2倍の時間が、低温水排出動作の開始時から停止までの間に経過することになる)。   Note that the set time used for the determination in step S11 is not necessarily set in this way, and may be a uniform value such as 30 seconds, or the time from the start to the stop of the timer with a margin. (In this case, twice the time from the start to the stop of the timer elapses from the start to the stop of the low temperature water discharge operation).

ステップS13では、戻り湯水温検出手段18が風呂設定温度以上になるまで、追い焚き制御手段33や燃焼制御手段36による通常の追い焚き動作が行われ、ステップS14で追い焚き循環ポンプ21の駆動が停止され(ポンプオフ)、追い焚き動作が終了となる。   In step S13, the normal reheating operation by the reheating control means 33 and the combustion control means 36 is performed until the return hot water temperature detecting means 18 becomes equal to or higher than the bath set temperature. In step S14, the recirculation circulation pump 21 is driven. Stopped (pump off) and the chasing operation ends.

なお、前記ステップS20で追い焚きを開始した場合は、ステップS20からステップS13に進み、戻り湯水温検出手段18が風呂設定温度以上になるまで通常の追い焚き動作が行われ、ステップS14で追い焚き動作が終了となる。   When the reheating is started in step S20, the process proceeds from step S20 to step S13, and the normal reheating operation is performed until the return hot water temperature detecting means 18 becomes equal to or higher than the bath set temperature, and the reheating is performed in step S14. The operation ends.

ステップS14で追い焚きが終了すると、ステップS15では、保湯制御手段34が、低温水排出動作の制御手段35からの受信信号により低温水排出動作が行われたかどうかの判断を行い、低温水排出動作が行われなかったときには、そのまま終了する(同図には図示せず)。一方、低温水排出動作が行われたときには、保湯制御手段34による保湯動作が以下のように行われる。   When the chasing is finished in step S14, in step S15, the hot water control means 34 determines whether or not the low temperature water discharge operation has been performed based on the received signal from the control means 35 for the low temperature water discharge operation. When the operation is not performed, the process ends as it is (not shown in the figure). On the other hand, when the low temperature water discharge operation is performed, the hot water holding operation by the hot water control means 34 is performed as follows.

つまり、ステップS16で、保湯制御手段34が、例えば低温水排出動作の制御手段35による低温水排出動作によって排出した湯水量の湯を注湯量(必要注湯量)として算出とし、ステップS17で、その注湯量の湯を、前記給湯回路と注湯通路14と追い焚き循環通路25とを順に通して注湯して浴槽26に湯を補給する。保湯制御手段34は、ステップS18で、前記算出量の注湯が浴槽26に行われたことを確認し、ステップS19で保湯を終了する。   That is, in step S16, the hot water control means 34 calculates, for example, the amount of hot water discharged by the low temperature water discharge operation by the control means 35 of the low temperature water discharge operation as a pouring amount (necessary pouring amount), and in step S17, The amount of hot water is poured through the hot water supply circuit, the pouring passage 14 and the recirculation circulation passage 25 in this order to replenish the bathtub 26 with hot water. The hot water control means 34 confirms that the calculated amount of hot water has been poured into the bathtub 26 in step S18, and ends hot water storage in step S19.

なお、本発明は、前記実施例に限定されるものでなく、様々な態様を採り得る。例えば、前記実施例では、低温水排出動作の制御手段35は、保温機能の動作中であって人入浴検出手段37による人の入浴検出が行われている時に浴槽湯水の追い焚き動作が開始された時に、戻り湯水温検出手段18により検出される追い焚き循環通路25内の湯水温が湯水排出基準温度より低かったときに、低温水排出動作を行うようにしたが、例えば人入浴検出手段37を省略し、低温水排出動作の制御手段35は、保温機能の動作中に浴槽湯水の追い焚き動作が開始された時(前記保温機能の動作による追い焚き動作や保温機能の動作中に追い焚きスイッチ4が押されたとき)に、戻り湯水温検出手段18により検出される追い焚き循環通路25内の湯水温が湯水排出基準温度より低かったときに、低温水排出動作を行うようにしてもよい。   In addition, this invention is not limited to the said Example, Various aspects can be taken. For example, in the above embodiment, the control means 35 for the low temperature water discharge operation starts the reheating operation of the bath water when the bathing detection of the person is performed by the person bath detection means 37 during the operation of the heat retaining function. When the hot water temperature in the recirculation circulation passage 25 detected by the return hot water temperature detection means 18 is lower than the hot water discharge reference temperature, the low temperature water discharge operation is performed. For example, the human bath detection means 37 The low temperature water discharge operation control means 35 is operated when the reheating operation of the bathtub hot water is started during the operation of the heat retaining function (the reheating operation by the operation of the heat retaining function or during the operation of the heat retaining function). When the switch 4 is pressed), when the hot water temperature in the recirculation circulation passage 25 detected by the return hot water temperature detection means 18 is lower than the hot water discharge reference temperature, the low temperature water discharge operation is performed. Good.

また、人入浴検出手段37を設ける構成においては、低温水排出動作の制御手段35は、保温機能の動作中であるか否かにかかわらず、人入浴検出手段37による人の入浴検出が行われている時に、戻り湯水温検出手段18により検出される追い焚き循環通路25内の湯水温が湯水排出基準温度より低かったときには、低温水排出動作を行うようにしてもよい。   Further, in the configuration in which the person bathing detection means 37 is provided, the low temperature water discharge operation control means 35 detects the person bathing by the person bathing detection means 37 regardless of whether the heat retention function is in operation. When the hot water temperature in the recirculation circulation passage 25 detected by the return hot water temperature detection means 18 is lower than the hot water discharge reference temperature, the low temperature water discharge operation may be performed.

さらに、前記実施例では、保湯制御手段34は、低温水排出動作によって排出した湯水量の湯を補給するようにしたが、低温水排出動作によって排出した湯水量の湯を補給する代わりに、予め定められている設定水量(例えば10リットル)の湯を補給するようにしてもよく、保湯制御手段34によっていずれの量の湯を補給するかは予め選択(決定)しておけばよい。また、保湯制御手段34は省略することもできる。   Furthermore, in the said Example, although the hot water control means 34 replenished the hot water of the amount of hot water discharged | emitted by the low temperature water discharge operation, instead of replenishing the hot water of the amount of hot water discharged | emitted by the low temperature water discharge operation, A predetermined set amount of hot water (for example, 10 liters) may be replenished, and the amount of hot water to be replenished may be selected (determined) in advance by the hot water control means 34. Moreover, the hot water control means 34 can be omitted.

さらに、本発明の風呂装置は、前記実施例のように、追い焚き開始時に適宜、冷たい湯水を追い焚き循環通路25の往管24から切り替え弁17を介して浴室に排出する機能を有していればよく、そのシステム構成や制御構成の詳細は適宜設定されるものである。   Furthermore, the bath apparatus of the present invention has a function of discharging cold hot water from the forward pipe 24 of the circulation passage 25 to the bathroom via the switching valve 17 as appropriate at the start of reheating as in the above embodiment. The details of the system configuration and control configuration may be set as appropriate.

例えば、前記実施例では、給湯熱交換器7がメインの熱交換器と潜熱回収用熱交換器とを有する構成とし、潜熱回収用熱交換器側で発生したドレンを回収して追い焚き循環通路25に導いて浴槽26の外の浴室30に排出する構成を設けたが、ドレンを追い焚き循環通路25に導いて排出する構成を設けずに、別のドレン排出通路を設けて屋外等の適宜の場所に排出するようにしてもよい。また、給湯熱交換器7は潜熱回収用熱交換器を有していない構成としてもよい。   For example, in the above-described embodiment, the hot water supply heat exchanger 7 has a main heat exchanger and a latent heat recovery heat exchanger, and the drain generated on the latent heat recovery heat exchanger side is recovered and recirculated. 25, the drain 30 is discharged to the bathroom 30 outside the bathtub 26. However, the drain is not provided to the circulation passage 25, and another drain discharge passage is provided to provide a suitable drainage passage. You may make it discharge to the place of. Further, the hot water supply heat exchanger 7 may not have a latent heat recovery heat exchanger.

また、前記実施例では、給湯バーナ10と追い焚きバーナ16は、ガス燃焼式のバーナを適用したが、ガス燃焼式の代わりに石油燃焼式のバーナを有していてもよい。さらに、暖房用の回路や発電装置の廃熱を利用する構成を有するもの、太陽熱利用の機能を有するもの等、様々なシステム構成のものを適用することができる。   In the above-described embodiment, the hot water supply burner 10 and the reheating burner 16 are gas combustion burners, but they may have oil combustion burners instead of the gas combustion burners. Furthermore, various system configurations such as a configuration using the waste heat of the heating circuit and the power generation device, and a configuration using solar heat can be applied.

さらに、本発明は、追い焚き循環通路25内の湯水を往管24から浴室30に排出することができるので、例えば浴槽26内の湯水を排水する際、浴槽湯水の水位が追い焚き循環金具9よりも上側の場合には、必要に応じて追い焚き循環ポンプ21を駆動させて浴槽湯水を追い焚き循環通路25に導入し、切り替え弁17を図1(a)に示したような態様として浴室30に排出することもできる。このような浴槽湯水排出動作を行えば、たとえ浴槽26の底面側の水抜き栓が小さくて浴槽26からの排水だけでは時間がかかる場合でも、浴槽湯水の追い焚き循環通路25を介しての浴室30への排水によって排水時間を短くできる。   Further, according to the present invention, the hot water in the recirculation circulation passage 25 can be discharged from the outgoing pipe 24 to the bathroom 30, so that, for example, when the hot water in the bathtub 26 is drained, the water level of the hot water in the reheating circulation fitting 9 In the case of the upper side, the recirculation circulation pump 21 is driven as necessary to introduce the bath water into the recirculation passage 25, and the switching valve 17 is set in the bathroom as shown in FIG. 30 can also be discharged. If such a bathtub hot water discharge operation is performed, even if the drain plug on the bottom side of the bathtub 26 is small and it takes time only to drain the water from the bathtub 26, the bathroom through the recirculation passage 25 of the bathtub hot water is refilled. The drainage time can be shortened by draining to 30.

さらに、前記実施例においては、湯水排出基準温度として1つの温度(前記例では、風呂設定温度−5℃)を与える例について述べたが、自動湯張り動作において、湯張り直後に追い焚きを行わずに例えば30分後に1回目の追い焚き動作を行うか、あるいは、湯張り直後に1回目の追い焚き動作を行うか、また、その追い焚き動作終了時にはポストポンプを行うか否か、といった動作パタンに合わせて、湯水排出基準温度を適宜の温度に設定する湯水排出基準温度可変設定手段を設けてもよい。   Furthermore, in the above-described embodiment, an example in which one temperature is given as the hot water discharge reference temperature (in the above example, the bath set temperature −5 ° C.) has been described, but in automatic hot water filling operation, reheating is performed immediately after hot water filling. For example, whether the first chasing operation is performed after 30 minutes, or the first chasing operation is performed immediately after filling, and whether or not the post pump is performed at the end of the chasing operation. A hot water discharge reference temperature variable setting means for setting the hot water discharge reference temperature to an appropriate temperature according to the pattern may be provided.

さらに、例えば図5に示されるような制御構成の制御装置31を設け、例えば以下に述べるようにして低温水排出動作を行うようにしてもよい。図5に示される制御装置31は、前記実施例で設けた湯張り制御手段32、追い焚き制御手段33、保湯制御手段34(図5には図示せず)、低温水排出動作の制御手段35、燃焼制御手段36(図5には図示せず)、人入浴検出手段37に加え、前動作判断手段38と、往き側通路内湯水温推定手段39と、メモリ部40とを有している。   Further, for example, a control device 31 having a control configuration as shown in FIG. 5 may be provided, and for example, the low-temperature water discharge operation may be performed as described below. The control device 31 shown in FIG. 5 includes a hot water filling control means 32, a reheating control means 33, a hot water control means 34 (not shown in FIG. 5), and a low temperature water discharge operation control means provided in the above embodiment. 35, a combustion control means 36 (not shown in FIG. 5), a person bathing detection means 37, a pre-operation determination means 38, a forward side passage hot water temperature estimation means 39, and a memory unit 40. .

なお、前記実施例で設けた各制御手段32〜36と人入浴検出手段37の動作において、以下に述べる以外の動作は、前記実施例と同様であるので、以下の説明において前記実施例と同様の動作についての説明および図5への図示は省略する。   In addition, in operation | movement of each control means 32-36 provided in the said Example, and the person bathing detection means 37, operation | movement other than having been described below is the same as that of the said Example, Therefore In the following description, it is the same as that of the said Example. The description of the operation and the illustration in FIG. 5 are omitted.

前動作判断手段38は、追い焚き動作開始前の前回の動作が浴槽26への湯張り動作なのか浴槽湯水の追い焚き動作なのかと、追い焚き動作の場合は動作終了後のポストポンプの有無の判断を行うと共に、湯張り動作や追い焚き動作がいつ行われたのかを判断し、その判断結果を往き側通路内湯水温推定手段39に加える。なお、前動作判断手段38は、湯張り制御手段32からの湯張り終了信号や追い焚き制御手段33からの追い焚き開始および終了信号を受けて、追い焚き動作開始前の前回の動作が浴槽26への湯張り動作なのか浴槽湯水の追い焚き動作なのかを判断すると共に、追い焚き制御手段33が追い焚き終了時にポストポンプを行ったか否かの信号も受け取り、ポストポンプの有無の判断も行う。   The pre-operation determining means 38 determines whether the previous operation before the start of the reheating operation is a hot water filling operation to the bathtub 26 or a reheating operation of the bathtub hot water, and in the case of the reheating operation, whether or not there is a post pump after the end of the operation. In addition to making a determination, it is determined when a hot water filling operation or a chasing operation has been performed, and the determination result is added to the hot water temperature estimating means 39 in the outgoing side passage. The pre-operation determining means 38 receives the hot water filling end signal from the hot water filling control means 32 and the chasing start and end signals from the chasing control means 33, and the previous action before the chasing operation is started is the bathtub 26. It is determined whether the hot water is refilled or whether the bath water is replenished, and a signal indicating whether the reheating control means 33 has performed the post pump at the end of reheating is also received, and the presence / absence of the post pump is also determined. .

メモリ部40には、追い焚き循環通路25が配設されている領域の外気温に基づく温度情報と、追い焚き動作開始前に浴槽26への湯張り動作と浴槽湯水の追い焚き動作のいずれかの動作がいつ行われたのかとポストポンプの有無とに基づいて、追い焚き循環通路25内の湯水温を推定するための湯水温推定情報が与えられて格納されている。この湯水温推定情報は、例えば図6(a)、(b)に示されるようなグラフデータとして与えることもできるし、テーブルデータや演算式等によって与えることもできる。   In the memory unit 40, either temperature information based on the outside air temperature in the area where the recirculation circulation passage 25 is provided, or a hot water filling operation to the bathtub 26 or a hot water replenishment operation before the reheating operation starts. Hot water temperature estimation information for estimating the hot water temperature in the recirculation circulation passage 25 is given and stored based on when this operation was performed and the presence or absence of the post pump. This hot water temperature estimation information can be given, for example, as graph data as shown in FIGS. 6A and 6B, or can be given by table data, an arithmetic expression, or the like.

なお、図6(a)に示されているデータは、追い焚き動作開始の前回の動作が浴槽26への湯張り動作だった場合と、ポストポンプ有りの場合における追い焚き動作開始の前回の動作が追い焚き動作だった場合(追い焚き動作開始の前回の動作が追い焚き動作で、この追い焚き動作終了時(終了直後)にポストポンプが行われた場合)の、湯張り動作後の経過時間に対する戻り管23内の湯水温および往管24内の湯水温の変化例のデータである。互いに異なる外気温Ta、Tb、Tc(Ta>Tb>Tc)毎に、特性線aには外気温Taの時のデータ、特性線bには外気温Tbの時のデータ、特性線cには外気温Tcの時のデータがそれぞれ示されている。   The data shown in FIG. 6 (a) shows the previous operation of the start of the reheating operation when the previous operation of the start of the reheating operation was a hot water filling operation to the bathtub 26 and when the post pump is present. Elapsed time after hot water filling operation when is a reheating operation (when the previous operation at the start of the reheating operation was a reheating operation and a post pump was performed at the end of this recharging operation (immediately after the end)) The data of the example of a change of the hot-water temperature in the return pipe 23 and the hot-water temperature in the outgoing pipe 24 is shown. For each different outside air temperature Ta, Tb, Tc (Ta> Tb> Tc), the characteristic line a has data at the outside air temperature Ta, the characteristic line b has data at the outside air temperature Tb, and the characteristic line c has The data at the outside temperature Tc are shown.

一方、図6(b)に示されているデータは、ポストポンプ無しの場合における追い焚き動作開始の前回の動作が追い焚き動作だった場合(追い焚き動作開始の前回の動作が追い焚き動作で、この追い焚き動作終了時にポストポンプが行われない場合)の、湯張り動作後の経過時間に対する戻り管23内の湯水温の変化例と往管24内の湯水温の変化例をそれぞれ示すデータである。互いに異なる外気温Ta、Tb、Tc(Ta>Tb>Tc)毎に、戻り管23内の湯水温が特性線a〜cに示されており、往管24内の湯水温が特性線a’〜c’に示されている。特性線a、a’は外気温Taの時のデータ、特性線b、b’は外気温Tbの時のデータ、特性線c、c’は外気温Tcの時のデータをそれぞれ示す。   On the other hand, the data shown in FIG. 6 (b) shows that the previous operation for starting the tracking operation without the post-pump is the driving operation (the previous operation for starting the tracking operation is the tracking operation). Data indicating an example of a change in hot water temperature in the return pipe 23 and an example of a change in hot water temperature in the forward pipe 24 with respect to the elapsed time after the hot water filling operation when the post-pumping operation is not performed at the end of the chasing operation) It is. For each different outside air temperature Ta, Tb, Tc (Ta> Tb> Tc), the hot water temperature in the return pipe 23 is indicated by characteristic lines ac, and the hot water temperature in the outgoing pipe 24 is indicated by the characteristic line a ′. ~ C '. Characteristic lines a and a 'show data at the outside air temperature Ta, characteristic lines b and b' show data at the outside air temperature Tb, and characteristic lines c and c 'show data at the outside air temperature Tc, respectively.

往き側通路内湯水温推定手段39は、メモリ部40に格納された湯水温推定情報(例えば図6に示されるようなデータ情報)と、前動作判断手段38による判断情報と、風呂装置の外(例えば追い焚き循環通路25の配設領域近傍)に設けられる外気温センサ41により検出される外気温に基づく温度情報と、に基づいて追い焚き循環通路25内の湯水温を推定するものである。   The hot water temperature estimation means 39 in the outward side passage stores hot water temperature estimation information (for example, data information as shown in FIG. 6) stored in the memory unit 40, judgment information by the previous operation judgment means 38, and outside the bath apparatus ( For example, the temperature of hot water in the recirculation circulation passage 25 is estimated based on temperature information based on the outside air temperature detected by the outside air temperature sensor 41 provided in the vicinity of the area where the recirculation circulation passage 25 is provided.

図6(a)、(b)に示されるように、追い焚き循環通路25が配設されている領域の外気温と、追い焚き動作開始前に浴槽26への湯張り動作と浴槽湯水の追い焚き動作のいずれかの動作がいつ行われたのか、追い焚き動作終了時にポストポンプは行われたのか否かによって、追い焚き循環通路25の戻り管23内の湯水温も往管24内の湯水温も変化する。   As shown in FIGS. 6 (a) and 6 (b), the outside air temperature in the region where the recirculation circulation passage 25 is arranged, the hot water filling operation to the bathtub 26 and the hot water of the bathtub hot water before the reheating operation is started. The hot water temperature in the return pipe 23 of the recirculation circulation path 25 is also determined depending on when any one of the whirling actions is performed and whether the post pump is performed at the end of the reheating action. The water temperature also changes.

例えば図6(a)の特性線a〜cに示されるように、追い焚き動作開始前の前回の動作が浴槽26への湯張り動作だったときと、追い焚き動作開始前の前回の動作が追い焚き動作で追い焚き動作終了時にポストポンプが行われたときには、その後の、戻り温度(戻り湯水温検出手段18の検出温度)と往き温度(往管24内の湯水温)は互いにほぼ等しく、湯張り後の経過時間が経過するにつれて下がっていき、その低下速度は外気温が低いほど速くなる。   For example, as shown by the characteristic lines a to c in FIG. 6A, when the previous operation before the start of the chasing operation is a hot water filling operation to the bathtub 26, the previous operation before the chasing operation is started. When the post-pump is performed at the end of the reheating operation in the reheating operation, the subsequent return temperature (the detection temperature of the return hot water temperature detecting means 18) and the outward temperature (the hot water temperature in the outward pipe 24) are substantially equal to each other. As the elapsed time after filling the water elapses, it decreases, and the rate of decrease increases as the outside air temperature decreases.

また、例えば図6(b)の特性線a〜cに示されるように、追い焚き動作開始前の前回の動作が浴槽湯水の追い焚き動作でポストポンプが行われなかったときでも、戻り温度(戻り湯水温検出手段18の検出温度)は、図6(a)の特性線a〜cに示した特性とほぼ同様になる。   Further, for example, as shown by the characteristic lines a to c in FIG. 6B, even when the previous operation before the start of the reheating operation is the reheating operation of the bathtub hot water and the post pump is not performed, the return temperature ( The detected temperature of the return hot water temperature detecting means 18) is substantially the same as the characteristics shown by the characteristic lines a to c in FIG.

一方、追い焚き動作時にポストポンプが行われなかった場合において、往き温度(往管24内の湯水温)は、図6(b)の特性線a’〜c’に示されるように、追い焚き動作後の経過時間が経過するにつれて下がっていき、追い焚き動作直後の往管24内の湯水温が高い分、戻り管23内の湯水温よりは高い状態が続くが、往管24内の湯水温は外気温との温度差が大きい分、その低下速度は戻り管23内の湯水温の低下速度よりも速く、戻り管23内の湯水温に近づいていく。なお、外気温が低いほど、往管24内の湯水温の低下速度も速くなる。   On the other hand, when the post pump is not performed during the reheating operation, the retreating temperature (the temperature of the hot water in the outbound pipe 24) is replenished as shown by the characteristic lines a ′ to c ′ in FIG. As the elapsed time after the operation elapses, the hot water temperature in the forward pipe 24 immediately after the chase operation is higher than the hot water temperature in the return pipe 23, but the hot water in the forward pipe 24 continues. Since the temperature difference between the water temperature and the outside air temperature is large, the rate of decrease is faster than the rate of decrease in hot water temperature in the return pipe 23 and approaches the hot water temperature in the return pipe 23. In addition, the fall rate of the hot water temperature in the outward pipe 24 becomes quick, so that external temperature is low.

そこで、往き側通路内湯水温推定手段39は、このようなデータ情報と、前動作判断手段38による判断情報と、外気温に基づく温度情報とに基づいて、例えば追い焚き動作開始前に、浴槽26への湯張り動作が行われたときと追い焚き動作後にポストポンプが行われたときには、往管24内の湯水温は、戻り湯水温検出手段18の検出温度とほぼ等しいと推定する。   Therefore, the hot water temperature estimation means 39 in the outgoing side passage is based on such data information, judgment information by the previous action judgment means 38, and temperature information based on the outside air temperature, for example, before the start of the reheating action. When the hot water filling operation is performed and when the post pump is performed after the reheating operation, it is estimated that the hot water temperature in the outgoing pipe 24 is substantially equal to the detected temperature of the return hot water temperature detecting means 18.

つまり、湯張り直後に追い焚き動作を行わずに例えば30分後に1回目の追い焚き動作を行う場合は、この1回目の追い焚き動作を行う時に低温水排出動作を行うか否かの判断が行われることになるが、その場合、前動作は湯張り動作になり、図6(a)に示されるようなデータに基づいて往管24内の湯水温の推定が行われる。また、湯張り動作直後に1回目の追い焚き動作が行われた場合は、2回目以降の追い焚き動作時に低温水排出動作を行うか否かの判断が行われるが、この場合は前動作は追い焚き動作になるものの、追い焚き動作終了時にポストポンプが行われれば,同様に、図6(a)に示されるようなデータに基づいて往管24内の湯水温の推定が行われる。   That is, for example, when the first reheating operation is performed after 30 minutes without performing the reheating operation immediately after the hot water filling, it is determined whether or not the low-temperature water discharging operation is performed when the first reheating operation is performed. In this case, the previous operation is a hot water filling operation, and the hot water temperature in the outgoing pipe 24 is estimated based on data as shown in FIG. In addition, when the first reheating operation is performed immediately after the hot water filling operation, it is determined whether or not the low-temperature water discharging operation is performed in the second and subsequent reheating operations. If the post-pump is performed at the end of the chasing operation, the hot water temperature in the forward pipe 24 is similarly estimated based on the data as shown in FIG.

なお、一般に、戻り管23と往管24は並べて配管されることが多く、その場合、戻り管23の配設領域の外気温と往管24の配設領域の外気温とはほぼ等しいので、この場合には、外気温を検出しなくても、往管24内の湯水温は戻り湯水温検出手段18の検出温度と同じと推定できる。   In general, the return pipe 23 and the outgoing pipe 24 are often arranged side by side, and in that case, the outside air temperature in the area where the return pipe 23 is arranged is substantially equal to the outside temperature in the area where the outgoing pipe 24 is arranged. In this case, even if the outside air temperature is not detected, it can be estimated that the hot water temperature in the outgoing pipe 24 is the same as the detected temperature of the return hot water temperature detecting means 18.

一方、追い焚き動作開始前の前回の動作が浴槽湯水の追い焚き動作でポストポンプが行われなかったときには、往管24内の湯水温は、戻り湯水温検出手段18の検出温度よりも高く、その差は、外気温と前回の追い焚き動作からの経過時間とによって異なる。例えば外気温センサ41による検出温度が特性線a、a’に対応する外気温のときに、戻り湯水温検出手段18の検出温度が特性線a上の点Sの温度であったとすると、往管24内の湯水温は特性線a’上の点S’であると推定される。   On the other hand, when the post-pump is not performed because the previous operation before the start of the reheating operation is the reheating operation of the bathtub hot water, the hot water temperature in the outgoing pipe 24 is higher than the detection temperature of the return hot water temperature detecting means 18, The difference differs depending on the outside air temperature and the elapsed time from the previous chasing operation. For example, if the temperature detected by the outside air temperature sensor 41 is the outside air temperature corresponding to the characteristic lines a and a ′, and the temperature detected by the return hot water temperature detecting means 18 is the temperature of the point S on the characteristic line a, then the outgoing pipe The hot water temperature in 24 is estimated to be a point S ′ on the characteristic line a ′.

往き側通路内湯水温推定手段39は、いずれの場合も、前記のようにして推定した往管24内の湯水温を低温水排出動作の制御手段35に加える。   In any case, the hot water temperature estimating means 39 in the outgoing side passage adds the hot water temperature in the outgoing pipe 24 estimated as described above to the control means 35 for the low temperature water discharge operation.

低温水排出動作の制御手段35は、この例では、往き側通路内湯水温推定手段39から加えられる推定温度が予め定められる湯水排出用設定温度より低かったときに低温水排出動作を行う。例えば図6(b)の温度Teを湯水排出用設定温度とした場合に、推定温度がS’だった場合には、この推定温度S’が湯水排出用設定温度Teより低いので低温水排出動作を行うようにする。   In this example, the control means 35 for the low-temperature water discharge operation performs the low-temperature water discharge operation when the estimated temperature applied from the forward-side passage hot water temperature estimation means 39 is lower than a preset set temperature for hot water discharge. For example, if the estimated temperature is S ′ when the temperature Te in FIG. 6B is the set temperature for discharging hot water, the estimated temperature S ′ is lower than the set temperature Te for discharging hot water, so that the low temperature water discharging operation is performed. To do.

以上の構成によれば、往管24内の湯水温を的確に推定し、該推定温度に基づいて低温水排出動作を行うので、例えば前回の動作が追い焚き動作でポストポンプが行われず追い焚き動作からの経過時間が少ない場合や、外気温が高めの場合で戻り管23内の湯水温との温度差が大きい場合(戻り管23内の湯水温に対して往管24内の湯水温は高めであると推定される場合)は低温水排出動作を行わなくても浴槽26内の利用者に不快感を与えずに済み、水の無駄も省ける。   According to the above configuration, the hot water temperature in the outgoing pipe 24 is accurately estimated, and the low temperature water discharge operation is performed based on the estimated temperature. For example, the previous operation is a reheating operation and the post pump is not performed. When the elapsed time from the operation is short, or when the outside air temperature is high and the temperature difference with the hot water temperature in the return pipe 23 is large (the hot water temperature in the outgoing pipe 24 is higher than the hot water temperature in the return pipe 23 If it is estimated to be high), the user in the bathtub 26 does not feel uncomfortable even if the low temperature water discharge operation is not performed, and the waste of water can be saved.

なお、図5に示されるような制御構成において、外気温センサ41を省略し、例えば制御装置31にカレンダー機能を持たせ、外気温に基づく温度として季節に応じて推定される外気温を適用してもよい。このようにすると、外気温センサ41を省略できる分、コストダウンを図ることができる。   In the control configuration as shown in FIG. 5, the outside air temperature sensor 41 is omitted, for example, the control device 31 has a calendar function, and the outside air temperature estimated according to the season is applied as the temperature based on the outside air temperature. May be. If it does in this way, cost reduction can be aimed at by the part which can omit outside temperature sensor 41.

さらに、図3、図5に示した制御構成に加え、例えば図7に示されるように制御装置31内に湯水温推定情報学習手段42を設け、以下に述べるように、風呂装置に学習機能を設けて低温水排出動作の制御を行うようにしてもよい。なお、この例においても以下に説明する構成や動作以外は、前記各実施例と同様であり、その説明および図7への図示は省略または簡略化する。   Further, in addition to the control configuration shown in FIGS. 3 and 5, for example, as shown in FIG. 7, a hot water temperature estimation information learning means 42 is provided in the control device 31, and the bath device has a learning function as described below. It may be provided to control the low temperature water discharge operation. This example is the same as the above-described embodiments except for the configuration and operation described below, and the description and illustration in FIG. 7 are omitted or simplified.

この例においては、湯水温推定情報学習手段42は、試運転時や季節の変わり目等、予め定められている情報検出タイミングに浴槽湯水の追い焚きを行う際、追い焚き循環ポンプ21をオンしてからの戻り湯水温検出手段18の検出温度を時系列的に検出する。   In this example, the hot water temperature estimation information learning means 42 turns on the recirculation circulation pump 21 when reheating the bathtub hot water at a predetermined information detection timing such as a trial operation or a change of season. The temperature detected by the return hot water temperature detecting means 18 is detected in time series.

ここで、図8を参照すると分かるように、追い焚き循環ポンプ21を駆動させると、図の矢印に示されるように湯水が流れ、まず、戻り管23のうち、屋外配置のケース27内にある管路23a内の湯水が戻り湯水温検出手段18の配設位置を通っていき、その後、追い焚き循環ポンプ21の駆動開始時にケース27と浴槽26が配設されている家屋とを接続する屋外配置の配管の管路23b内にあった湯水が、戻り湯水温検出手段18の配設位置を通る。   Here, as can be seen with reference to FIG. 8, when the recirculation circulation pump 21 is driven, hot water flows as shown by the arrows in the figure, and first of all, in the return pipe 23, the case 27 is located outdoors. The hot water in the pipe line 23a returns and passes through the position where the hot water temperature detecting means 18 is disposed. Thereafter, when the recirculation circulation pump 21 starts to be driven, the case 27 and the house where the bathtub 26 is disposed are connected outdoors. The hot water in the pipe line 23b of the arrangement pipe passes through the arrangement position of the return hot water temperature detecting means 18.

次に、追い焚き循環ポンプ21の駆動開始時に家屋内において例えば床下等の配管の管路23c内にあった湯水が、戻り湯水温検出手段18の配設位置を通り、その後、追い焚き循環ポンプ21の駆動開始時に、浴室30内の管路(浴槽26の裏側に配設されている管路)23d内にあった湯水が、戻り湯水温検出手段18の配設位置を通ってから浴槽26内にあった湯水が戻り湯水温検出手段18の配設位置を通る。   Next, when the recirculation circulation pump 21 starts to be driven, hot water in the pipe 23c of the piping such as under the floor passes through the position where the return hot water temperature detecting means 18 is disposed, and then the recirculation circulation pump. At the start of driving 21, the hot water in the pipe 23 d in the bathroom 30 (pipe arranged on the back side of the bathtub 26) passes through the arrangement position of the return hot water temperature detecting means 18 and then the bathtub 26. The hot water that was inside returns and passes through the location of the hot water temperature detection means 18.

屋外配置の配管23bには保温材が巻かれている場合が多いので、例えば冬等のように外気温が低い場合は、管路23a〜23d内に滞留している湯水の温度は、例えば、管路23a内の湯水温<管路23b内の湯水温<管路23c内の湯水温<管路23d内の湯水温となる等、管路23a〜23d内に滞留している湯水の温度は互いに異なることが多い。   Since the heat insulating material is often wound around the pipe 23b arranged outdoors, for example, when the outside air temperature is low such as in winter, the temperature of the hot water remaining in the pipes 23a to 23d is, for example, The temperature of the hot water remaining in the pipes 23a to 23d is, for example, the hot water temperature in the pipe 23a <the hot water temperature in the pipe 23b <the hot water temperature in the pipe 23c <the hot water temperature in the pipe 23d. Often different from each other.

また、浴槽への湯張り動作や浴槽湯水の追い焚き動作が行われてから時間がたつと、各管路23a〜23d内に滞留している湯水の温度も浴槽湯水の温度も共に低下するが、浴槽26内の湯水の量は管路23a〜23d内に滞留している湯水の量に比べて格段に多いため、浴槽26への湯張り動作や浴槽湯水の追い焚き動作が行われてから時間がたってからの浴槽湯水温は、そのときに管路23a〜23d内に滞留している湯水の温度に比べて高めとなる。   In addition, when a time has elapsed since the operation of filling the bathtub or retreating the bathtub with hot water, the temperature of the hot water staying in the pipes 23a to 23d and the temperature of the bathtub hot water both decrease. Since the amount of hot water in the bathtub 26 is much larger than the amount of hot water remaining in the pipes 23a to 23d, the hot water filling operation to the bathtub 26 and the hot water replenishment operation are performed. The bath water temperature after the time becomes higher than the temperature of the hot water staying in the pipes 23a to 23d at that time.

したがって、前記のように、戻り湯水温検出手段18の検出温度を追い焚き循環ポンプ21をオンしてから時系列的に検出すると、例えば図9に示されるように、追い焚き循環ポンプ21をオンしてからの時間に応じて戻り湯水温検出手段18の検出温度は異なる。なお、図9に示されている例は模式図であり、図9において領域aは管路23a内の湯水が戻り湯水温検出手段18の配設位置を通っている時間、領域bは管路23b内の湯水が戻り湯水温検出手段18の配設位置を通っている時間、領域c、dは、それぞれ管路23c、23d内の湯水が戻り湯水温検出手段18の配設位置を通っている時の時間と推定できる。また、時間t以降は、浴槽26の湯水が戻り湯水温検出手段18の配設領域を通ると判断できる。   Therefore, as described above, when the temperature detected by the return hot water temperature detecting means 18 is detected in time series after the recirculation pump 21 is turned on, for example, as shown in FIG. 9, the recirculation circulation pump 21 is turned on. The detected temperature of the return hot water temperature detecting means 18 differs depending on the time after that. The example shown in FIG. 9 is a schematic diagram. In FIG. 9, the region a is the time during which hot water in the conduit 23 a returns and passes through the position where the hot water temperature detecting means 18 is disposed, and the region b is the conduit. The area c, d is the time during which hot water in the return passage 23b passes through the arrangement position of the return hot water temperature detection means 18, and the areas c and d pass through the arrangement position of the return hot water temperature detection means 18, respectively. It can be estimated that the time is. Further, after time t, it can be determined that the hot water in the bathtub 26 returns and passes the region where the hot water temperature detecting means 18 is disposed.

このような温度変化は、風呂装置27の配設場所や追い焚き循環通路25の配設場所等の条件(例えば同じ外気温でも日光が当たる場所であるか日陰であるのかといったことや、風の有無や強弱等)や、季節等によっても異なるものであり、例えば管路23bの長さが長い場合等は、管路23b内の湯水温が、その配設領域に応じて同じ管路23b内であっても異なることもある。   Such a temperature change is caused by conditions such as the location of the bath device 27 and the location of the recirculation circulation passage 25 (for example, whether it is a place exposed to sunlight or in the shade even at the same outside temperature) Presence or absence, strength, etc.) and the season, etc. For example, when the length of the pipeline 23b is long, the hot water temperature in the pipeline 23b is within the same pipeline 23b according to the arrangement area. But it can be different.

また、戻り管23内の湯水温と往管24内の湯水温は何れも、浴槽26への湯張り動作や追い焚き動作が行われてから時間の経過と共に低下していくが、前記の如く、一般に、戻り管23と往管24は並べて配管されることが多く、浴槽26の裏側に配設されている戻り管23の管路23d内の湯水温とケース27内にある管路23a内の湯水温との温度差は、浴室30内において浴槽26の裏側に配設されている往管24の管路24d(図8、参照)内の湯水温とケース27内にある往管24の管路24a内の湯水温との温度差に対応する。   Further, the hot water temperature in the return pipe 23 and the hot water temperature in the outgoing pipe 24 both decrease with the lapse of time after the hot water filling operation or the chasing operation to the bathtub 26 is performed. In general, the return pipe 23 and the outgoing pipe 24 are often arranged side by side, and the hot water temperature in the pipe 23d of the return pipe 23 disposed on the back side of the bathtub 26 and the pipe 23a in the case 27 The temperature difference between the hot water temperature in the bathroom 30 and the hot water temperature in the pipe 24 d (see FIG. 8) of the outgoing pipe 24 disposed on the back side of the bathtub 26 in the bathroom 30 and the outgoing pipe 24 in the case 27. This corresponds to the temperature difference with the hot water temperature in the pipe 24a.

そこで、湯水温推定情報学習手段42は、前記の如く、追い焚き循環ポンプ21を駆動開始(オン)してから戻り温検出手段18の検出温度を例えば時系列的に検出し、追い焚き循環ポンプ21の駆動開始時に各管路23a〜23d内に滞留していた湯水が順次、戻り湯水温検出手段18の配設位置を通り過ぎていって浴槽26内からの湯水が戻り湯水温検出手段18の配設位置に達するまでの時間(戻り湯水温検出手段18が浴槽湯水の温度を検出して温度が浴槽湯水の温度Yに向けて急激に上昇する直前までの時間)tと、この時間tにおける戻り湯水温検出手段18の検出温度と、追い焚き循環ポンプ21の駆動開始時における戻り湯水温検出手段18の検出温度との温度差ΔT等を検出する(例えば図9を参照)。また、このとき、湯水温推定情報学習手段42は外気温センサ41の検出温度も取り込む。   Therefore, the hot water temperature estimation information learning means 42 detects the temperature detected by the return temperature detection means 18 in a time series, for example, after starting (turning on) driving of the recirculation circulation pump 21 as described above, and reheating the circulation pump. The hot water staying in the pipes 23 a to 23 d at the start of driving 21 sequentially passes the position of the return hot water temperature detection means 18, and hot water from the bathtub 26 returns to the return hot water temperature detection means 18. Time until reaching the installation position (time until the return hot water temperature detecting means 18 detects the temperature of the bathtub hot water and immediately before the temperature rapidly rises toward the temperature Y of the bathtub hot water) t, and at this time t A temperature difference ΔT between the temperature detected by the return hot water temperature detection means 18 and the temperature detected by the return hot water temperature detection means 18 at the start of driving the recirculation circulation pump 21 is detected (see, for example, FIG. 9). At this time, the hot / cold water temperature estimation information learning means 42 also captures the temperature detected by the outside air temperature sensor 41.

次に、湯水温推定情報学習手段42は、前記時間tと追い焚き循環ポンプ21の駆動電流とに基づいて追い焚き循環通路25の長さを推定する、あるいは、追い焚き循環ポンプ21の駆動電流に基づいて追い焚き循環通路25の長さを求めるためのポンプ能力対応配管長さ特性データと追い焚き循環ポンプ21の駆動電流とに基づいて追い焚き循環通路25の長さを推定する、といったような適宜の方法により、追い焚き循環通路25の長さを推定する。   Next, the hot water temperature estimation information learning means 42 estimates the length of the recirculation circulation passage 25 based on the time t and the drive current of the recirculation circulation pump 21, or the drive current of the recirculation circulation pump 21. The length of the recirculation circulation passage 25 is estimated on the basis of the pumping capacity-corresponding pipe length characteristic data for determining the length of the recirculation circulation passage 25 based on the driving current of the recirculation circulation pump 21 and the like. The length of the recirculation circulation passage 25 is estimated by an appropriate method.

なお、追い焚き循環通路25の長さが長いほど、追い焚き循環ポンプ21の駆動開始時から浴槽湯水が戻り湯水温検出手段18の配設位置に達するまでの前記時間tが長くなる(時間に比例)ものであるが、この関係が成り立つのは、あくまでもポンプの能力(例えば湯水循環流量が8リットル/分となるような能力)が一定である場合である。実際には、追い焚き循環通路25の長さが長いと追い焚き循環通路25を通る湯水の圧力損失が大きくなり、追い焚き循環ポンプ21の威力が小さくなって、湯水の循環流量が例えば8リットル/分から5リットル/分といったように変化するので、前記時間tから追い焚き循環通路25の長さを推定する場合には、このような循環流量変化を加味して追い焚き循環通路25の長さを推定する。   The longer the recirculation circulation passage 25 is, the longer the time t from when the recirculation circulation pump 21 is driven until the hot water from the bathtub returns to the position where the hot water temperature detecting means 18 is disposed (in time). However, this relationship is established only when the capacity of the pump (for example, the capacity at which the hot water circulation flow rate is 8 liters / minute) is constant. Actually, if the length of the recirculation circulation passage 25 is long, the pressure loss of the hot water passing through the recirculation circulation passage 25 increases, the power of the recirculation circulation pump 21 decreases, and the circulation flow rate of the hot water is, for example, 8 liters. Therefore, when the length of the recirculation circulation passage 25 is estimated from the time t, the length of the recirculation circulation passage 25 in consideration of such a circulation flow rate change. Is estimated.

そして、追い焚き動作終了後にポストポンプを行う場合には、戻り湯水温検出手段18の検出温度に基づき、例えば、この検出温度と、前記温度差ΔT、追い焚き循環通路25の長さ、外気温等から、往管24内の湯水温を推定できるように、湯水温推定情報学習手段42は、追い焚き循環通路25の長さ(あるいは往管24の長さ)と、前記情報検出タイミング毎に取得する例えば図9に示したような時系列データや温度差ΔTの値を、例えば外気温センサ41の検出温度に対応させてメモリ部40に格納する。   When post-pumping is performed after the reheating operation is completed, based on the temperature detected by the return hot water temperature detecting means 18, for example, the detected temperature, the temperature difference ΔT, the length of the recirculation circulation passage 25, and the outside air temperature. From the above, the hot water temperature estimation information learning means 42 determines the length of the recirculation circulation passage 25 (or the length of the outgoing pipe 24) and the information detection timing so that the hot water temperature in the outgoing pipe 24 can be estimated. For example, the time series data and the value of the temperature difference ΔT as shown in FIG. 9 are stored in the memory unit 40 in correspondence with the detected temperature of the outside air temperature sensor 41, for example.

そして、メモリ部40に格納されたこれらのデータと例えば図6に示したようなデータ情報とに基づき、往き側通路内湯水温推定手段39が湯張り動作や追い焚き動作後に往管24内に滞留していた湯水温(滞留湯水温)を推定することにより、往管24内の湯水温は、図5に示した制御構成により推定するよりもより一層的確に推定することができる。つまり、風呂装置27の配設場所や風呂装置27と浴槽26とを接続する往管24の配設場所、往管24の長さ、季節等の様々な要素によって、往管24内の滞留湯水温は変化するので、前動作判断手段38による判断情報と外気温センサ41の検出温度と予め与えた図6に示されるような湯水温推定情報のみに基づいて往管24内の湯水温を推定するよりも、前記要素による影響を学習して考慮することによって、より一層、的確に推定することができる。   Then, based on these data stored in the memory unit 40 and data information as shown in FIG. 6, for example, the forward side hot water temperature estimating means 39 stays in the forward pipe 24 after the hot water filling operation or the reheating operation. By estimating the hot water temperature (retained hot water temperature) that has been used, the hot water temperature in the outgoing pipe 24 can be estimated more accurately than by the control configuration shown in FIG. That is, depending on various factors such as the location of the bath device 27, the location of the forward tube 24 connecting the bath device 27 and the bathtub 26, the length of the forward tube 24, the season, etc. Since the water temperature changes, the hot water temperature in the forward pipe 24 is estimated based only on the judgment information from the previous operation judgment means 38, the temperature detected by the outside air temperature sensor 41, and the hot water temperature estimation information as shown in FIG. Rather than doing so, it is possible to estimate more accurately by learning and taking into account the influence of the elements.

すなわち、例えば追い焚き動作開始の前回の動作が浴槽26への湯張り動作だった場合と、追い焚き動作で追い焚き動作終了時にポストポンプが行われたときには、前記の如く、図6(a)に示されているような温度推定情報に基づいて往管24内の湯水温を推定したり、戻り管23の配設領域の外気温と往管24の配設領域の外気温はほぼ等しいと考えて、往管24内の湯水温が戻り湯水温検出手段18の検出温度と往管24内の湯水温とがほぼ等しいと推定したりすることもできるが、より正確には、図9に示したように、浴槽26の裏側に配設されている戻り管23dの滞留湯水温は戻り湯水温検出手段18の検出温度よりも前記温度ΔTだけ高いと推定され、浴槽26の裏側に配設されている往管24dの滞留湯水温も戻り湯水温検出手段18の検出温度よりも前記温度ΔTだけ高いと推定される。   That is, for example, when the previous operation of starting the chasing operation was a hot water filling operation to the bathtub 26 and when the post pump was performed at the end of the chasing operation in the chasing operation, as described above, FIG. The hot water temperature in the forward pipe 24 is estimated on the basis of the temperature estimation information as shown in FIG. 5 or the outside air temperature in the area where the return pipe 23 is disposed is substantially equal to the outside temperature in the area where the forward pipe 24 is disposed. In consideration of this, it can be estimated that the temperature of the hot water in the outgoing pipe 24 is the return hot water temperature detecting means 18 and the temperature of the hot water in the outgoing pipe 24 is substantially equal. As shown, it is estimated that the staying hot water temperature of the return pipe 23 d disposed on the back side of the bathtub 26 is higher than the temperature detected by the return hot water temperature detecting means 18 by the temperature ΔT, and is disposed on the back side of the bathtub 26. Remaining hot water temperature of the outgoing pipe 24d is returned and hot water temperature is detected It is estimated to be high only the temperature ΔT than the detected temperature of the unit 18.

同様に、管路23b,23c内の滞留湯水温も戻り湯水温検出手段18の検出温度とは異なることから、往管24内でも、その配設領域によって、管路24b,24c内の滞留湯水温も、戻り湯水温検出手段18の検出温度とは異なると考えられる。したがって、このような違いを考慮することにより、往管24内の滞留湯水温をより的確に推定することができる。   Similarly, the accumulated hot water temperature in the pipes 23b and 23c is also different from the detected temperature of the return hot water temperature detecting means 18, so that the staying hot water in the pipes 24b and 24c is also arranged in the outgoing pipe 24 depending on the arrangement region. The water temperature is also considered to be different from the temperature detected by the return hot water temperature detecting means 18. Therefore, by taking such a difference into consideration, it is possible to more accurately estimate the staying hot water temperature in the outgoing pipe 24.

そして、例えば戻り管23のうち管路23aと管路23b内の滞留湯水だけが湯水排出用設定温度より低かった場合には、往管24のうち、管路24aと管路24b内の滞留湯水のみが湯水排出用設定温度より低いと推定することができ、これらの管路24a,24b内の滞留湯水のみを低温水排出動作によって浴槽26の外部に排出するといったこともできるし、例えば管路24bが長い場合等は管路24bのうち湯水排出用設定温度より低いと推定される領域の湯水のみを低温水排出動作によって浴槽26の外部に排出するといったこともできる。   For example, when only the staying hot water in the pipes 23a and 23b in the return pipe 23 is lower than the set temperature for hot water discharge, the staying hot water in the pipes 24a and 24b in the outgoing pipe 24. It is possible to estimate that only the hot water discharge temperature is lower than the set temperature for hot water discharge, and only the accumulated hot water in these pipes 24a and 24b can be discharged to the outside of the bathtub 26 by the low temperature water discharge operation. For example, when 24b is long, only hot water in a region estimated to be lower than the set temperature for hot water discharge in the pipe 24b can be discharged to the outside of the bathtub 26 by the low temperature water discharge operation.

また、同様に、例えば追い焚き動作開始の前回の動作が追い焚き動作で追い焚き動作終了時にポストポンプが行われないときに、前記の如く、図6(b)に示されているような温度推定情報と外気温と前回の追い焚き動作からの経過時間とに基づいて往管24内の湯水温を推定するよりも、これらの情報に加えて湯水温推定情報学習手段42により学習して得た情報を考慮して推定する方が、往管24内の滞留湯水温をより的確に推定することができ、前記と同様の効果を奏することができる。   Similarly, for example, when the post-pump is not performed at the end of the chasing operation when the chasing operation is the previous operation, the temperature as shown in FIG. Rather than estimating the hot water temperature in the forward pipe 24 based on the estimated information, the outside air temperature, and the elapsed time from the previous reheating operation, the hot water temperature estimated information learning means 42 learns in addition to these information. The estimation in consideration of the information can more accurately estimate the hot water temperature in the outgoing pipe 24, and the same effect as described above can be obtained.

なお、以上のように、往管24内の湯水温の推定は、例えば図6に示したような予め与えた設定データを図9に示したような学習データに基づいて補正する等して(考慮して)行ってもよいが、学習データを複数蓄積して往管24内の湯水温を推定するための湯水温推定情報を作成して行ってもよいし、学習データに基づく湯水温推定情報を作成するまでは設定データに基づいて行い、作成してからは作成したデータに基づいて行ってもよい。   As described above, the hot water temperature in the outgoing pipe 24 is estimated by, for example, correcting setting data given in advance as shown in FIG. 6 based on learning data as shown in FIG. However, it may be performed by creating hot water temperature estimation information for accumulating a plurality of learning data to estimate the hot water temperature in the outgoing pipe 24, or estimating hot water temperature based on the learning data The process may be performed based on the setting data until the information is created, and may be performed based on the created data after the creation.

なお、例えば追い焚き動作開始の前回の動作が追い焚き動作で追い焚き動作終了時にポストポンプが行われないときの、追い焚き動作直後の往管24内の湯水温は、例えば以下のようにして求めることができる。つまり、追い焚き動作直後の往管24内の湯水温は、前回の追い焚き動作時の追い焚きバーナ16でのインプットが10000Kcal/hで追い焚き熱交換器15で受け取る熱量(アウトプット)が8000Kcal/h、湯水循環流量が5リットル/分の時には、戻り管23内の湯水温よりも往管24n内の湯水温が25℃高くなり、湯水循環流量が8リットル/分の時には、戻り管23内の湯水温よりも往管24内の湯水温が15.6℃高くなる。   For example, the hot water temperature in the forward pipe 24 immediately after the reheating operation when the post-pump is not performed at the end of the reheating operation is the reheating operation, for example, as follows. Can be sought. That is, the hot water temperature in the outgoing pipe 24 immediately after the reheating operation is such that the input at the reheating burner 16 at the previous reheating operation is 10,000 Kcal / h, and the amount of heat (output) received by the reheating heat exchanger 15 is 8000 Kcal. When the hot water circulation flow rate is 5 liters / minute, the hot water temperature in the outgoing tube 24n is 25 ° C. higher than the hot water temperature in the return tube 23, and when the hot water circulation flow rate is 8 liters / minute, the return pipe 23 The hot water temperature in the outgoing pipe 24 is 15.6 ° C. higher than the hot water temperature inside.

このように、追い焚き動作直後の往管24内の湯水温は、追い焚き循環通路25の配管長さや、この配管長さにも影響される追い焚き動作時の湯水循環流量(配管内流速)で左右される。   As described above, the hot water temperature in the outgoing pipe 24 immediately after the reheating operation is determined by the piping length of the recirculation circulation passage 25 and the hot water circulation flow rate (flow velocity in the piping) during the reheating operation which is also affected by the piping length. It depends on.

そこで、このように、前回の追い焚き動作時の追い焚きバーナ16でのインプットと追い焚き熱交換器15で受け取る熱量と湯水循環流量とに基づいて求めた追い焚き動作直後の往管24内の湯水温に基づき、図6(b)に示したようなデータを補正してもよいし、追い焚き動作直後の往管24内の湯水温毎に前回の追い焚き動作からの経過時間と往管24内の推定湯水温とのデータを与えてもよく、例えば、この追い焚き動作直後の往管24内の湯水温毎に前回の追い焚き動作からの経過時間と往管24内の推定湯水温とのデータと、追い焚き動作後の経過時間と、外気温とに基づき、さらに、湯水温推定情報学習手段42により学習して得た情報を考慮して、追い焚き動作開始時の往管24内の湯水温を推定してもよい。   Thus, in this way, in the forward pipe 24 immediately after the reheating operation obtained based on the input at the reheating burner 16 at the time of the previous reheating operation, the amount of heat received by the reheating heat exchanger 15, and the hot water circulation flow rate. The data as shown in FIG. 6B may be corrected based on the hot water temperature, or the elapsed time from the previous reheating operation and the outgoing tube for each hot water temperature in the outgoing tube 24 immediately after the reheating operation. For example, for each hot water temperature in the outgoing pipe 24 immediately after the reheating operation, the elapsed time from the previous reheating operation and the estimated hot water temperature in the outgoing pipe 24 may be provided. , The elapsed time after the chasing operation, and the outside air temperature, and further taking into account the information learned by the hot water temperature estimation information learning means 42, the outgoing tube 24 at the start of the chasing operation You may estimate the internal hot water temperature.

なお、例えば、低温水排出動作を行わずに追い焚き動作を行った場合に、追い焚き動作開始直後には浴槽26の裏側に配設されている往管24dの滞留湯水が浴槽26内に導出されるので、例えば往管24dの滞留湯水温が高めであれば(つまり、戻り湯水温検出手段18の検出温度が低くてもΔTが大きければ)、湯水温推定情報学習手段42により学習して得た情報を考慮して往管24d内の滞留湯水の少なくとも一部を浴槽26内に導入してから往管24a〜24c内の滞留湯水を低温水排出動作によって排出すること等もできる。   For example, when the reheating operation is performed without performing the low-temperature water discharging operation, immediately after the reheating operation is started, the accumulated hot water in the outgoing pipe 24d disposed on the back side of the bathtub 26 is led out into the bathtub 26. Therefore, for example, if the staying hot water temperature of the outgoing pipe 24d is high (that is, if ΔT is large even if the detection temperature of the return hot water temperature detection means 18 is low), the hot water temperature estimation information learning means 42 learns. Considering the obtained information, at least a part of the accumulated hot water in the outgoing pipe 24d can be introduced into the bathtub 26, and then the accumulated hot water in the outgoing pipes 24a to 24c can be discharged by a low temperature water discharging operation.

また、浴槽26内に低温水が導入されたときに最も不快と感じるのは、追い焚き動作開始直後であると考えられるので、前記の如く往管24dの滞留湯水温が高めであれば、仮に往管24a〜24c内の滞留湯水の温度が多少低めであって、その湯水が追い焚き動作途中に浴槽26に導入されても、追い焚き動作開始直後から低めの温度の湯水が導入されるよりは不快に感じにくいこともある。このようなことを考慮し、例えば前記温度差ΔTが大きいときには低温水排出動作を行う基準とする湯水排出用設定温度Teを多少低めに設定することもできる。   In addition, since it is considered that the most uncomfortable feeling when the low temperature water is introduced into the bathtub 26 is immediately after the start of the chasing operation, if the hot water temperature in the forward pipe 24d is high as described above, Even if the temperature of the staying hot water in the outgoing pipes 24a to 24c is somewhat low and the hot water is introduced into the bathtub 26 during the reheating operation, the low temperature hot water is introduced immediately after the start of the reheating operation. May be difficult to feel uncomfortable. Considering this, for example, when the temperature difference ΔT is large, the hot water discharge set temperature Te used as a reference for performing the low temperature water discharge operation can be set somewhat lower.

以上説明したように、湯水温推定情報学習手段42により学習して得た情報を考慮して往管24内の湯水温を推定すると、例えばこの推定湯水温が前記湯水排出用設定温度以上であれば、戻り湯水温検出手段18の検出温度が前記湯水排出用設定温度より低くても低温水排出動作の制御手段35による低温水排出動作を行わないようにできるし、往管24内の湯水温を一様ではなく領域毎に推定して、推定温度が前記湯水排出用設定温度より低い領域の湯水のみを浴槽26の外部に排出するようにすることもでき、風呂装置の配設されている場所等に応じて個々により的確できめ細かい制御が行えるようになり、快適さと湯水の無駄の防止とをより確実に両立できる。   As described above, when the hot water temperature in the outgoing pipe 24 is estimated in consideration of the information obtained by learning by the hot water temperature estimation information learning means 42, for example, if the estimated hot water temperature is equal to or higher than the set temperature for hot water discharge. For example, even if the temperature detected by the return hot water temperature detection means 18 is lower than the set temperature for hot water discharge, the low temperature water discharge operation by the low temperature water discharge operation control means 35 can be prevented, and the hot water temperature in the outgoing pipe 24 can be prevented. Can be estimated for each region, and only hot water in a region where the estimated temperature is lower than the set temperature for hot water discharge is discharged to the outside of the bathtub 26, and a bath apparatus is provided. More precise and detailed control can be performed according to the location, etc., and both comfort and prevention of waste of hot water can be achieved more reliably.

本発明は、追い焚き動作時に冷たい水が浴槽に導入されることによる不快感を入浴中の利用者に与えることのない使い勝手の良好な風呂装置を提供できるので、例えば家庭用や業務用の風呂装置に適用できる。   The present invention can provide an easy-to-use bath apparatus that does not give the user who is taking a bath the discomfort due to cold water being introduced into the bathtub during the chasing operation. Applicable to equipment.

3 自動スイッチ
4 追い焚きスイッチ
12 水位センサ
15 追い焚き熱交換器
16 追い焚きバーナ
17 切り替え弁
18 戻り湯水温検出手段
21 追い焚き循環ポンプ
22 流水スイッチ
23 戻り管
24 往管
25 追い焚き循環通路
26 浴槽
30 浴室
31 制御装置
32 湯張り制御手段
33 追い焚き制御手段
34 保湯制御手段
35 低温水排出動作の制御手段
36 燃焼制御手段
37 人入浴検出手段
38 前動作判断手段
39 往き側通路内湯水温推定手段
40 メモリ部
41 外気温センサ
42 湯水温推定情報学習手段
DESCRIPTION OF SYMBOLS 3 Automatic switch 4 Reheating switch 12 Water level sensor 15 Reheating heat exchanger 16 Reheating burner 17 Switching valve 18 Return hot water temperature detection means 21 Reheating hot water pump 22 Flowing water switch 23 Return pipe 24 Outgoing pipe 25 Recirculation circulation path 26 Bathtub Reference Signs List 30 Bathroom 31 Controller 32 Hot water filling control means 33 Reheating control means 34 Hot water control means 35 Control means for low temperature water discharge operation 36 Combustion control means 37 Person bathing detection means 38 Pre-movement judgment means 39 Forward water temperature estimation means in the forward passage 40 memory unit 41 outside air temperature sensor 42 hot water temperature estimation information learning means

Claims (6)

浴槽湯水を循環させる追い焚き循環ポンプと、該追い焚き循環ポンプの駆動によって循環する浴槽湯水の加熱用の追い焚き熱交換器とが設けられた追い焚き循環通路が浴槽に接続され、該追い焚き循環通路には該追い焚き循環通路を通る湯水を前記追い焚き熱交換器の出側と前記浴槽とを接続する往き側の通路から分岐して浴室に排水する湯水排水手段が設けられており、前記追い焚き循環通路には前記追い焚き熱交換器の入側と前記浴槽とを接続する戻り側の通路に戻り湯水温検出手段が設けられて、前記浴槽湯水の追い焚きを行う追い焚き動作の開始時に前記戻り湯水温検出手段により検出される前記追い焚き循環通路内の湯水温が予め定められる湯水排出基準温度より低かったときには、前記湯水排水手段の制御によって前記追い焚き循環通路内の湯水を前記追い焚き循環通路の往き側の通路から前記浴室に排水する低温水排出動作の制御手段を有することを特徴とする風呂装置。   A recirculation circulation passage provided with a recirculation pump that circulates bathtub hot water and a recuperation heat exchanger for heating bathtub hot water circulated by driving of the recirculation pump is connected to the bathtub, The circulation passage is provided with hot water drainage means for branching the hot water passing through the recirculation circulation passage from the forward passage connecting the outlet side of the reheating heat exchanger and the bathtub and draining it into the bathroom, In the recirculation circulation passage, return hot water temperature detecting means is provided in a return side passage connecting the inlet side of the reheating heat exchanger and the bathtub, and a reheating operation for reheating the bathtub hot water is performed. When the hot water temperature in the recirculation circulation passage detected by the return hot water temperature detection means at the start is lower than a predetermined hot water discharge reference temperature, the reheating water is controlled by the hot water drain means. Bath apparatus characterized by comprising a control means of the low-temperature water discharge operation for draining hot water in the ring passage from outward side of the passage of the reheating circulation passage to the bathroom. 低温水排出動作の制御手段は、低温水排出動作中に戻り湯水温検出手段により検出される追い焚き循環通路内の湯水温が予め定められる湯水排出停止基準温度以上になったときから予め定められる設定時間経過後に低温水排出動作を停止することを特徴とする請求項1記載の風呂装置。   The control means for the low temperature water discharge operation is determined in advance from when the hot water temperature in the recirculation circulation passage detected by the return hot water temperature detection means during the low temperature water discharge operation is equal to or higher than a predetermined hot water discharge stop reference temperature. The bath apparatus according to claim 1, wherein the low-temperature water discharge operation is stopped after the set time has elapsed. 湯を給湯する機能を備えた給湯回路が注湯通路を介して追い焚き循環通路に接続されて、前記給湯回路と前記注湯通路と前記追い焚き循環通路とを順に通して浴槽に湯張りを行う湯張り機能を有し、該湯張り機能の動作による浴槽への湯張り後に浴槽湯水の温度が予め定められる追い焚き基準温度以下になったときには浴槽湯水の追い焚きを行って浴槽湯水の温度を予め定められる風呂設定温度に保つ保温機能を備え、低温水排出動作の制御手段は前記保温機能の動作による追い焚き動作時に低温水排出動作を行うことを特徴とする請求項1または請求項2記載の風呂装置。   A hot water supply circuit having a function of supplying hot water is connected to the recirculation passage through the pouring passage, and the bath is filled with water through the hot water supply circuit, the pouring passage, and the recirculation circulation passage in order. When the temperature of the hot water in the bathtub falls below a predetermined reheating reference temperature after the hot water is filled in the bathtub by the operation of the hot water filling function, the temperature of the hot water in the bathtub is reheated. 3. A low temperature water discharge operation control means for performing a low temperature water discharge operation during a reheating operation by the operation of the heat retention function. The bath apparatus as described. 浴槽に人が入浴中であることを検出する人入浴検出手段を有し、低温水排出動作の制御手段は、前記人入浴検出手段による人の入浴検出が行われている時に追い焚き動作が開始されたときに低温水排出動作を行うことを特徴とする請求項1または請求項2または請求項3記載の風呂装置。   The bath has a human bath detection means for detecting that a person is taking a bath, and the control means for the low-temperature water discharge operation starts a chasing operation when the human bath detection is performed by the human bath detection means. 4. The bath apparatus according to claim 1, wherein the low temperature water discharging operation is performed when the bath apparatus is operated. 湯を給湯する機能を備えた給湯回路が注湯通路を介して追い焚き循環通路に接続されており、低温水排出動作の制御手段が湯水排水手段を通して浴室への湯水排出動作を行った後に、該湯水排出動作によって排出した湯水量と予め定められている設定水量のいずれか一方の予め選択されている方の量の湯を前記給湯回路と前記注湯通路と前記追い焚き循環通路とを順に通して浴槽に補給する保湯制御手段を有することを特徴とする請求項1乃至請求項4のいずれか一つに記載の風呂装置。   A hot water supply circuit having a function of supplying hot water is connected to the recirculation circulation passage through the pouring passage, and after the control means of the low temperature water discharge operation performs the hot water discharge operation to the bathroom through the hot water drainage means, The amount of hot water selected by any one of the amount of hot water discharged by the hot water discharge operation and a predetermined set amount of water is sequentially passed through the hot water supply circuit, the pouring passage, and the recirculation circulation passage. The bath apparatus according to any one of claims 1 to 4, further comprising hot water control means for passing through and replenishing the bathtub. 追い焚き動作開始前の前回の動作が浴槽への湯張り動作か浴槽湯水の追い焚き動作か該追い焚き動作終了時にポストポンプは行われたのか否かを判断すると共に前記前回の動作がいつ行われたのかを判断する前動作判断手段を有し、追い焚き循環通路が配設されている領域の外気温に基づく温度情報と追い焚き動作開始前の前回の動作が浴槽への湯張り動作と浴槽湯水の追い焚き動作のどちらでいつ行われたのかと追い焚き動作終了時にポストポンプは行われたのか否かに基づいて前記追い焚き循環通路の往き側の通路内の湯水温を推定するための湯水温推定情報が与えられ、該湯水温推定情報と前記前動作判断手段による判断情報と前記外気温に基づく温度情報とに基づいて前記追い焚き循環通路の往き側の通路内の湯水温を推定する往き側通路内湯水温推定手段を有し、低温水排出動作の制御手段は、戻り湯水温検出手段により検出される前記追い焚き循環通路内の湯水温が予め定められる湯水排出基準温度より低かったときに代えて、前記往き側通路内湯水温推定手段により推定された推定温度が予め定められる湯水排出用設定温度より低かったときに低温湯水排水動作を行うことを特徴とする請求項1乃至請求項5のいずれか一つに記載の風呂装置。   It is determined whether the post-pump has been performed at the end of the reheating operation and when the previous operation has been performed. Pre-operation determining means for determining whether or not it has been interrupted, temperature information based on the outside air temperature in the area where the recirculation circulation passage is disposed, and the previous operation before the start of the recirculation operation In order to estimate the temperature of hot water in the passage on the forward side of the recirculation circulation passage based on when the reheating operation was performed in the bathtub or when the post pump was performed at the end of the reheating operation Hot water temperature estimation information is provided, and based on the hot water temperature estimation information, judgment information by the previous operation judgment means, and temperature information based on the outside air temperature, the hot water temperature in the passage on the far side of the recirculation circulation passage is determined. Estimated trip There is a hot water temperature estimating means in the passage, and the low temperature water discharge operation control means is replaced when the hot water temperature in the recirculation circulation passage detected by the return hot water temperature detecting means is lower than a predetermined hot water discharge reference temperature. The low-temperature hot water draining operation is performed when the estimated temperature estimated by the outgoing side passage hot water temperature estimating means is lower than a predetermined hot water discharge set temperature. The bath apparatus as described in one.
JP2014129147A 2014-06-24 2014-06-24 Bath equipment Expired - Fee Related JP6294167B2 (en)

Priority Applications (1)

Application Number Priority Date Filing Date Title
JP2014129147A JP6294167B2 (en) 2014-06-24 2014-06-24 Bath equipment

Applications Claiming Priority (1)

Application Number Priority Date Filing Date Title
JP2014129147A JP6294167B2 (en) 2014-06-24 2014-06-24 Bath equipment

Publications (2)

Publication Number Publication Date
JP2016008763A true JP2016008763A (en) 2016-01-18
JP6294167B2 JP6294167B2 (en) 2018-03-14

Family

ID=55226438

Family Applications (1)

Application Number Title Priority Date Filing Date
JP2014129147A Expired - Fee Related JP6294167B2 (en) 2014-06-24 2014-06-24 Bath equipment

Country Status (1)

Country Link
JP (1) JP6294167B2 (en)

Cited By (3)

* Cited by examiner, † Cited by third party
Publication number Priority date Publication date Assignee Title
JP2019015469A (en) * 2017-07-10 2019-01-31 株式会社コロナ Bath water heater
CN111174444A (en) * 2020-02-25 2020-05-19 华帝股份有限公司 Control method for intelligent preheating of zero-cold-water heater
JP2020178846A (en) * 2019-04-24 2020-11-05 リンナイ株式会社 Bath system

Citations (5)

* Cited by examiner, † Cited by third party
Publication number Priority date Publication date Assignee Title
JPH0373860U (en) * 1989-11-17 1991-07-25
JPH10227522A (en) * 1997-02-13 1998-08-25 Gastar Corp One-boiler and twin-water-passage type bath hot water feeder
JP2012082981A (en) * 2010-10-07 2012-04-26 Hitachi Appliances Inc Water heater and hot water supply system
JP2013050253A (en) * 2011-08-30 2013-03-14 Osaka Gas Co Ltd Reheating device
JP2013185767A (en) * 2012-03-08 2013-09-19 Corona Corp Bath device

Patent Citations (5)

* Cited by examiner, † Cited by third party
Publication number Priority date Publication date Assignee Title
JPH0373860U (en) * 1989-11-17 1991-07-25
JPH10227522A (en) * 1997-02-13 1998-08-25 Gastar Corp One-boiler and twin-water-passage type bath hot water feeder
JP2012082981A (en) * 2010-10-07 2012-04-26 Hitachi Appliances Inc Water heater and hot water supply system
JP2013050253A (en) * 2011-08-30 2013-03-14 Osaka Gas Co Ltd Reheating device
JP2013185767A (en) * 2012-03-08 2013-09-19 Corona Corp Bath device

Cited By (4)

* Cited by examiner, † Cited by third party
Publication number Priority date Publication date Assignee Title
JP2019015469A (en) * 2017-07-10 2019-01-31 株式会社コロナ Bath water heater
JP2020178846A (en) * 2019-04-24 2020-11-05 リンナイ株式会社 Bath system
JP7257241B2 (en) 2019-04-24 2023-04-13 リンナイ株式会社 bath system
CN111174444A (en) * 2020-02-25 2020-05-19 华帝股份有限公司 Control method for intelligent preheating of zero-cold-water heater

Also Published As

Publication number Publication date
JP6294167B2 (en) 2018-03-14

Similar Documents

Publication Publication Date Title
JP6439599B2 (en) Water heater
JP6294167B2 (en) Bath equipment
JP5436933B2 (en) Hot water system
JP2015140944A (en) hot water storage system
JP2015140956A (en) Hot water storage water heater
KR101867521B1 (en) Water saving device of instantaneous boiler
JP5755532B2 (en) Hot water storage system
JP5887038B2 (en) Heat source equipment
JP5678812B2 (en) Hot water storage water heater
JP6628643B2 (en) Hot water supply system
JP6395577B2 (en) Hot water supply device for bath
JP5814643B2 (en) Hot water storage system
JP6944831B2 (en) Air supply preheating heating system
JP2009047377A (en) Water heater
JP6222021B2 (en) Water heater
JP5979042B2 (en) Water heater
JP2013181709A (en) Water heater
JP2013096683A (en) Hot water storage type water heater
JP6628642B2 (en) Hot water supply system
JP2015072101A (en) Bathtub heat insulation level estimation system for bath facility and bath facility
JP2020076524A (en) Bath water heater
JP6192473B2 (en) Bath bathing system
JP7066564B2 (en) Bath water heater
JP6415923B2 (en) Bath equipment
JP2014194302A (en) Bath water heater

Legal Events

Date Code Title Description
A621 Written request for application examination

Free format text: JAPANESE INTERMEDIATE CODE: A621

Effective date: 20170224

A977 Report on retrieval

Free format text: JAPANESE INTERMEDIATE CODE: A971007

Effective date: 20171220

TRDD Decision of grant or rejection written
A01 Written decision to grant a patent or to grant a registration (utility model)

Free format text: JAPANESE INTERMEDIATE CODE: A01

Effective date: 20180130

A61 First payment of annual fees (during grant procedure)

Free format text: JAPANESE INTERMEDIATE CODE: A61

Effective date: 20180215

R150 Certificate of patent or registration of utility model

Ref document number: 6294167

Country of ref document: JP

Free format text: JAPANESE INTERMEDIATE CODE: R150

LAPS Cancellation because of no payment of annual fees