JP2015167073A - Illumination light source and illumination device - Google Patents

Illumination light source and illumination device Download PDF

Info

Publication number
JP2015167073A
JP2015167073A JP2014040682A JP2014040682A JP2015167073A JP 2015167073 A JP2015167073 A JP 2015167073A JP 2014040682 A JP2014040682 A JP 2014040682A JP 2014040682 A JP2014040682 A JP 2014040682A JP 2015167073 A JP2015167073 A JP 2015167073A
Authority
JP
Japan
Prior art keywords
hole
power supply
base body
lead wire
base
Prior art date
Legal status (The legal status is an assumption and is not a legal conclusion. Google has not performed a legal analysis and makes no representation as to the accuracy of the status listed.)
Granted
Application number
JP2014040682A
Other languages
Japanese (ja)
Other versions
JP6281815B2 (en
Inventor
康一 中村
Koichi Nakamura
康一 中村
高橋 健治
Kenji Takahashi
健治 高橋
真樹 木部
Maki Kibe
真樹 木部
隆之 岩崎
Takayuki Iwasaki
隆之 岩崎
彰人 若宮
Akihito Wakamiya
彰人 若宮
信一 北岡
Shinichi Kitaoka
信一 北岡
裕司 八木
Yuji Yagi
裕司 八木
浩規 北川
Hironori Kitagawa
浩規 北川
畑岡 真一郎
Shinichiro Hataoka
真一郎 畑岡
雅人 松本
Masahito Matsumoto
雅人 松本
宜孝 太田
Nobutaka Ota
宜孝 太田
Current Assignee (The listed assignees may be inaccurate. Google has not performed a legal analysis and makes no representation or warranty as to the accuracy of the list.)
Panasonic Intellectual Property Management Co Ltd
Original Assignee
Panasonic Intellectual Property Management Co Ltd
Priority date (The priority date is an assumption and is not a legal conclusion. Google has not performed a legal analysis and makes no representation as to the accuracy of the date listed.)
Filing date
Publication date
Application filed by Panasonic Intellectual Property Management Co Ltd filed Critical Panasonic Intellectual Property Management Co Ltd
Priority to JP2014040682A priority Critical patent/JP6281815B2/en
Publication of JP2015167073A publication Critical patent/JP2015167073A/en
Application granted granted Critical
Publication of JP6281815B2 publication Critical patent/JP6281815B2/en
Active legal-status Critical Current
Anticipated expiration legal-status Critical

Links

Images

Landscapes

  • Arrangement Of Elements, Cooling, Sealing, Or The Like Of Lighting Devices (AREA)
  • Non-Portable Lighting Devices Or Systems Thereof (AREA)

Abstract

PROBLEM TO BE SOLVED: To provide a light source for lighting which inhibits deterioration of the efficiency of the assembly work and inhibits the occurence of shadow during light irradiation.SOLUTION: A straight tube LED lamp 1 includes: a long substrate 11 on which LED elements 12 are disposed; a long housing 20 in which the substrate 11 is disposed; and a power supply mouth piece 30 provided at a longitudinal end part of the housing 20; and a lead wire 50 which electrically connects the substrate 11 with the power supply mouth piece 30. The power supply mouth piece 30 includes: a cup shaped mouth piece body 31 provided with a through hole 33; and a power supply pin 32 which is fixed to the mouth piece body 31 so as to be exposed to the exterior of the mouth piece body 31. The lead wire 50 is inserted into the through hole 33 to be connected with the power supply pin 32 at the exterior side of the mouth piece body 31.

Description

本発明は、照明用光源及び照明装置に関し、例えば、発光ダイオード(LED:Light Emitting Diode)などの発光素子を有する照明用光源及び照明装置に関する。   The present invention relates to an illumination light source and an illumination device, for example, an illumination light source and an illumination device having a light emitting element such as a light emitting diode (LED).

LEDは、高効率及び長寿命であることから、従来から知られる蛍光ランプ又は白熱電球などの各種ランプに対する代替光源として期待されている。中でも、LEDを用いたランプ(LEDランプ)の製品開発が盛んに進められている。   The LED is expected to be an alternative light source for various lamps such as fluorescent lamps and incandescent lamps which are conventionally known because of high efficiency and long life. In particular, product development of lamps using LEDs (LED lamps) has been actively promoted.

この種のLEDランプとして、例えば、直管形蛍光ランプに代替する直管形のLEDランプ(直管LEDランプ)が知られている(特許文献1参照)。   As this type of LED lamp, for example, a straight tube type LED lamp (straight tube LED lamp) that replaces a straight tube fluorescent lamp is known (see Patent Document 1).

このような直管LEDランプは、長尺状の外郭筐体の両端部に設けられた口金と、LEDモジュールと、LEDモジュールを点灯させるための点灯回路とを備える。LEDモジュールは、例えば、基板と、基板上に実装された複数のLED素子とを備える。   Such a straight tube LED lamp includes a base provided at both ends of a long outer casing, an LED module, and a lighting circuit for lighting the LED module. The LED module includes, for example, a substrate and a plurality of LED elements mounted on the substrate.

特開2009−043447号公報JP 2009-043447 A

しかしながら、上記従来の直管LEDランプでは、外郭筐体内に配置されたリード線が影になるという課題がある。   However, the above-mentioned conventional straight tube LED lamp has a problem that the lead wire arranged in the outer casing is shaded.

上記従来の直管LEDランプでは、外郭筐体内に配置された基板と給電ピンとがリード線で接続された状態で、口金と外郭筐体とを組み立てている。例えば、特許文献1に記載の直管LEDランプでは、回路基板と雄コネクタとが外郭筐体内においてリード線で接続されている。   In the above conventional straight tube LED lamp, the base and the outer casing are assembled in a state in which the substrate disposed in the outer casing and the power supply pins are connected by lead wires. For example, in the straight tube LED lamp described in Patent Document 1, the circuit board and the male connector are connected by a lead wire in the outer casing.

リード線の接続作業、及び、組み立て作業を効率良く行うためには、組み立て後に必要とされるリード線の長さより長いリード線が必要とされる。このとき、リード線の余剰分は、外郭筐体内に残ったままとなり、光照射時に影になってしまう場合がある。   In order to efficiently perform lead wire connection work and assembly work, a lead wire longer than the length of the lead wire required after assembly is required. At this time, the surplus portion of the lead wire remains in the outer casing and may become a shadow when irradiated with light.

そこで、本発明は、組み立て作業の効率低下を抑制し、かつ、光照射時の影の発生を抑制することができる照明用光源及び照明装置を提供する。   Therefore, the present invention provides an illumination light source and an illumination device that can suppress a decrease in efficiency of assembly work and can suppress generation of shadows during light irradiation.

上記課題を解決するため、本発明の一態様に係る照明用光源は、発光素子が配置された長尺状の基板と、内部に前記基板が配置された長尺状の筐体と、前記筐体の長手方向の端部に設けられた口金と、前記基板と前記口金とを電気的に接続するリード線とを備え、前記口金は、第1貫通孔が設けられた有底筒状の口金本体と、前記口金本体の外方に露出するように前記口金本体に固定された口金ピンとを有し、前記リード線は、前記第1貫通孔に挿通され、前記口金本体の外側で前記口金ピンに接続される。   In order to solve the above problems, an illumination light source according to one embodiment of the present invention includes a long substrate in which a light emitting element is disposed, a long housing in which the substrate is disposed, and the housing. A base having a base provided with a base provided at a longitudinal end of the body and a lead wire for electrically connecting the substrate and the base, wherein the base has a first through hole. A main body and a base pin fixed to the base body so as to be exposed to the outside of the base body, and the lead wire is inserted into the first through hole, and the base pin is disposed outside the base body. Connected to.

また、本発明の一態様に係る照明用光源では、前記口金ピンには、第2貫通孔が設けられ、前記リード線は、前記第2貫通孔にさらに挿通され、前記口金ピンに接続されてもよい。   In the illumination light source according to one aspect of the present invention, the base pin is provided with a second through hole, and the lead wire is further inserted into the second through hole and connected to the base pin. Also good.

また、本発明の一態様に係る照明用光源では、前記第1貫通孔と前記第2貫通孔とは、貫通方向に連続していてもよい。   In the illumination light source according to one aspect of the present invention, the first through hole and the second through hole may be continuous in the through direction.

また、本発明の一態様に係る照明用光源では、前記口金ピンは、前記口金本体の外面から外方にのみ突出するように固定されていてもよい。   In the illumination light source according to one aspect of the present invention, the base pin may be fixed so as to protrude only outward from the outer surface of the base body.

また、本発明の一態様に係る照明用光源では、前記第1貫通孔の少なくとも一部分は、前記口金本体の内側に露出した開口を有し、前記口金本体の内側から外側に向かう方向を先端方向とするテーパー孔であってもよい。   In the illumination light source according to one aspect of the present invention, at least a part of the first through hole has an opening exposed to the inside of the base body, and a direction from the inside to the outside of the base body is a tip direction. It may be a taper hole.

また、本発明の一態様に係る照明用光源では、前記リード線は、前記口金ピンに半田付けによって接続されてもよい。   In the illumination light source according to one aspect of the present invention, the lead wire may be connected to the base pin by soldering.

また、本発明の一態様に係る照明装置は、上記照明用光源を備える照明装置である。   Moreover, the illuminating device which concerns on 1 aspect of this invention is an illuminating device provided with the said light source for illumination.

本発明によれば、組み立て作業の効率低下を抑制し、かつ、光照射時の影の発生を抑制することができる。   ADVANTAGE OF THE INVENTION According to this invention, the efficiency fall of an assembly operation can be suppressed and generation | occurrence | production of the shadow at the time of light irradiation can be suppressed.

本発明の実施の形態1に係る直管LEDランプの一例を示す概観斜視図である。It is a general-view perspective view which shows an example of the straight tube | pipe LED lamp which concerns on Embodiment 1 of this invention. 本発明の実施の形態1に係る給電用口金の一例を示す分解斜視図である。It is a disassembled perspective view which shows an example of the nozzle | cap | die for electric power feeding which concerns on Embodiment 1 of this invention. 本発明の実施の形態1に係る口金本体に設けられた貫通孔の一例を示す断面図である。It is sectional drawing which shows an example of the through-hole provided in the nozzle | cap | die main body which concerns on Embodiment 1 of this invention. 本発明の実施の形態1に係る口金本体に設けられた貫通孔の一例を示す断面図である。It is sectional drawing which shows an example of the through-hole provided in the nozzle | cap | die main body which concerns on Embodiment 1 of this invention. 本発明の実施の形態1に係る口金本体に設けられた貫通孔の一例を示す断面図である。It is sectional drawing which shows an example of the through-hole provided in the nozzle | cap | die main body which concerns on Embodiment 1 of this invention. 本発明の実施の形態1に係るリード線と給電ピンとの接続の一例を示す概観斜視図である。It is a general-view perspective view which shows an example of the connection of the lead wire and electric power feeding pin which concern on Embodiment 1 of this invention. 本発明の実施の形態1に係るリード線と給電ピンとの接続の一例を示す断面図である。It is sectional drawing which shows an example of the connection of the lead wire and feed pin which concern on Embodiment 1 of this invention. 本発明の実施の形態1に係る筐体と給電用口金との組み立て作業の一例を示す概観斜視図である。It is a general | schematic perspective view which shows an example of the assembly operation | work of the housing | casing which concerns on Embodiment 1 of this invention, and a nozzle | cap | die for electric power feeding. 本発明の実施の形態1の変形例に係るリード線と給電ピンとの接続の一例を示す概観斜視図である。It is a general | schematic perspective view which shows an example of the connection of the lead wire and electric power feeding pin which concern on the modification of Embodiment 1 of this invention. 本発明の実施の形態2に係る照明装置の一例を示す概観斜視図である。It is a general-view perspective view which shows an example of the illuminating device which concerns on Embodiment 2 of this invention.

以下では、本発明の実施の形態に係る照明用光源及び照明装置について、図面を用いて詳細に説明する。なお、以下に説明する実施の形態は、いずれも本発明の好ましい一具体例を示すものである。したがって、以下の実施の形態で示される数値、形状、材料、構成要素、構成要素の配置及び接続形態などは、一例であり、本発明を限定する趣旨ではない。よって、以下の実施の形態における構成要素のうち、本発明の最上位概念を示す独立請求項に記載されていない構成要素については、任意の構成要素として説明される。   Below, the light source for illumination and the illuminating device which concern on embodiment of this invention are demonstrated in detail using drawing. Note that each of the embodiments described below shows a preferred specific example of the present invention. Therefore, the numerical values, shapes, materials, components, component arrangements, connection forms, and the like shown in the following embodiments are merely examples, and are not intended to limit the present invention. Therefore, among the constituent elements in the following embodiments, constituent elements that are not described in the independent claims showing the highest concept of the present invention are described as optional constituent elements.

また、各図は、模式図であり、必ずしも厳密に図示されたものではない。また、各図において、同じ構成部材については同じ符号を付している。   Each figure is a mimetic diagram and is not necessarily illustrated strictly. Moreover, in each figure, the same code | symbol is attached | subjected about the same structural member.

以下の実施の形態では、照明用光源の一態様である直管LEDランプ、及び、当該直管LEDランプを備える照明装置について例示する。   In the following embodiments, a straight tube LED lamp, which is an embodiment of a light source for illumination, and a lighting device including the straight tube LED lamp are illustrated.

(実施の形態1)
まず、本発明の実施の形態1に係る直管LEDランプについて説明する。なお、本実施の形態に係る直管LEDランプは、従来の直管形蛍光ランプに代替する照明用光源の一例である。
(Embodiment 1)
First, a straight tube LED lamp according to Embodiment 1 of the present invention will be described. The straight tube LED lamp according to the present embodiment is an example of an illumination light source that replaces a conventional straight tube fluorescent lamp.

[直管LEDランプの全体構成]
まず、本実施の形態に係る直管LEDランプの構成の一例について、図1を用いて説明する。図1は、本発明の実施の形態1に係る直管LEDランプの一例を示す概観斜視図である。
[Overall configuration of straight tube LED lamp]
First, an example of the configuration of a straight tube LED lamp according to the present embodiment will be described with reference to FIG. FIG. 1 is a schematic perspective view showing an example of a straight tube LED lamp according to Embodiment 1 of the present invention.

図1に示すように、直管LEDランプ1は、LEDモジュール10と、長尺状の筐体20と、筐体20の長手方向(管軸方向)の端部のそれぞれに固定された給電用口金30及び非給電用口金40と、LEDモジュール10と給電用口金30とを接続するリード線50とを備える。直管LEDランプ1は、例えば、40形の直管LEDランプであり、ランプ全長が約1200mmである。   As shown in FIG. 1, the straight tube LED lamp 1 is for power supply fixed to each of an LED module 10, a long casing 20, and an end portion in the longitudinal direction (tube axis direction) of the casing 20. A base 30 and a non-power supply base 40, and a lead wire 50 that connects the LED module 10 and the power supply base 30 are provided. The straight tube LED lamp 1 is, for example, a 40-shaped straight tube LED lamp, and the total length of the lamp is about 1200 mm.

なお、図1において、X軸方向は、LEDモジュール10の短手方向である。Y軸方向は、LEDモジュール10の長手方向、すなわち、筐体20の管軸方向である。Z軸方向は、LEDモジュール10の主面に垂直な方向である。   In FIG. 1, the X-axis direction is the short direction of the LED module 10. The Y-axis direction is the longitudinal direction of the LED module 10, that is, the tube axis direction of the housing 20. The Z-axis direction is a direction perpendicular to the main surface of the LED module 10.

以下、直管LEDランプ1の各構成部材について詳述する。   Hereinafter, each component of the straight tube LED lamp 1 will be described in detail.

[LEDモジュール]
まず、本実施の形態に係るLEDモジュール10について説明する。
[LED module]
First, the LED module 10 according to the present embodiment will be described.

図1に示すように、LEDモジュール10は、直管LEDランプ1の光源であり、筐体20内に配置される。例えば、LEDモジュール10は、筐体20から端部がはみ出るように配置されている。   As shown in FIG. 1, the LED module 10 is a light source of the straight tube LED lamp 1 and is disposed in the housing 20. For example, the LED module 10 is arranged so that the end portion protrudes from the housing 20.

本実施の形態に係るLEDモジュール10は、表面実装(SMD:Surface Mount Device)型の発光モジュールである。LEDモジュール10は、基板11と、基板11に実装された複数のLED素子12とを備える。また、図示しないが、LEDモジュール10は、複数のLED素子12を点灯するための点灯回路と、複数のLED素子12及び点灯回路を電気的に接続するための所定形状にパターン形成された金属配線とを備える。   The LED module 10 according to the present embodiment is a light emitting module of a surface mount (SMD: Surface Mount Device) type. The LED module 10 includes a substrate 11 and a plurality of LED elements 12 mounted on the substrate 11. Although not shown, the LED module 10 includes a lighting circuit for lighting a plurality of LED elements 12 and a metal wiring pattern-patterned in a predetermined shape for electrically connecting the plurality of LED elements 12 and the lighting circuit. With.

基板11は、筐体20内に配置された長尺状の基板である。基板11は、例えば、矩形の基板である。基板11は、長手方向(図1のY軸方向)が直管状の筐体20の長手方向と平行になり、かつ、短手方向(図1のX軸方向)が筐体20の短手方向と平行になるように、筐体20内に配置される。   The substrate 11 is a long substrate disposed in the housing 20. The substrate 11 is, for example, a rectangular substrate. The substrate 11 has a longitudinal direction (Y-axis direction in FIG. 1) parallel to the longitudinal direction of the straight tubular case 20, and a short side direction (X-axis direction in FIG. 1) is a short direction of the case 20. Are arranged in the housing 20 so as to be parallel to each other.

基板11は、互いに対向する第1主面(表面)及び第2主面(裏面)を有する。図1に示すように、基板11の第1主面には、長手方向に並んで配置された複数のLED素子12と、複数のLED素子12に電力を供給するための金属配線(図示せず)とが設けられている。   The substrate 11 has a first main surface (front surface) and a second main surface (back surface) that face each other. As shown in FIG. 1, a plurality of LED elements 12 arranged in the longitudinal direction and metal wiring (not shown) for supplying power to the plurality of LED elements 12 are formed on the first main surface of the substrate 11. ) And are provided.

基板11は、例えば、長さ1150〜1200mm(長手方向)、幅5〜25mm(短手方向)、厚さ0.3〜2.0mmである。なお、基板11は、筐体20より長手方向において長い。   The substrate 11 has, for example, a length of 1150 to 1200 mm (longitudinal direction), a width of 5 to 25 mm (short side direction), and a thickness of 0.3 to 2.0 mm. The substrate 11 is longer than the housing 20 in the longitudinal direction.

具体的には、基板11は、LED素子12を実装するための実装基板である。基板11は、例えば、樹脂をベースとする樹脂基板、金属をベースとするメタルベース基板、セラミックからなるセラミック基板、又は、ガラスからなるガラス基板などである。   Specifically, the substrate 11 is a mounting substrate for mounting the LED element 12. The substrate 11 is, for example, a resin substrate based on resin, a metal base substrate based on metal, a ceramic substrate made of ceramic, or a glass substrate made of glass.

樹脂基板は、例えば、ガラス繊維とエポキシ樹脂とからなるガラスエポキシ基板(CEM−3、FR−4など)、紙フェノール若しくは紙エポキシからなる基板(FR−1など)、又は、ポリイミドなどからなる可撓性を有するフレキシブル基板などである。メタルベース基板は、例えば、表面に絶縁膜が形成されたアルミニウム合金基板、鉄合金基板又は銅合金基板などである。本実施の形態では、基板11として、CEM−3の両面基板を用いている。   The resin substrate may be made of, for example, a glass epoxy substrate made of glass fiber and epoxy resin (CEM-3, FR-4, etc.), a substrate made of paper phenol or paper epoxy (FR-1 etc.), or polyimide. For example, a flexible substrate having flexibility. The metal base substrate is, for example, an aluminum alloy substrate, an iron alloy substrate, or a copper alloy substrate having an insulating film formed on the surface. In the present embodiment, a CEM-3 double-sided substrate is used as the substrate 11.

基板11の長手方向の一方の端部は、給電用口金30に覆われている。また、基板11の長手方向の他方の端部は、非給電用口金40に覆われている。例えば、基板11は、筐体20から端部がはみ出るように配置されており、少なくともはみ出た部分は、給電用口金30に覆われている。   One end of the substrate 11 in the longitudinal direction is covered with a power supply cap 30. The other end of the substrate 11 in the longitudinal direction is covered with a non-power feeding base 40. For example, the substrate 11 is arranged so that the end portion protrudes from the housing 20, and at least the protruding portion is covered with the power supply base 30.

基板11は、例えば、複数の位置で接着剤60(図5参照)によって筐体20の内面に固定されている。接着剤60は、筐体20とLEDモジュール10とを接着し、固定するために、筐体20の内面と基板11の第2主面(裏面)との間に断続的に塗布されている。つまり、基板11は、基板11の長手方向において互いに異なる複数の位置で、接着剤60によって筐体20に固定されている。なお、接着剤60は、筐体20の長手方向に沿って連続的に塗布されていてもよい。   The board | substrate 11 is being fixed to the inner surface of the housing | casing 20 with the adhesive agent 60 (refer FIG. 5) at several positions, for example. The adhesive 60 is intermittently applied between the inner surface of the housing 20 and the second main surface (back surface) of the substrate 11 in order to bond and fix the housing 20 and the LED module 10. That is, the substrate 11 is fixed to the housing 20 by the adhesive 60 at a plurality of positions different from each other in the longitudinal direction of the substrate 11. The adhesive 60 may be continuously applied along the longitudinal direction of the housing 20.

接着剤60としては、放熱性の観点からは、熱伝導率が1.0W/m・K以上の材料を用いることが好ましい。また、軽量化の観点からは、接着剤60としては、比重が2以下の材料を用いることが好ましい。例えば、接着剤60としては、シリコーン樹脂又はセメントなどからなる接着剤を用いることができる。   As the adhesive 60, it is preferable to use a material having a thermal conductivity of 1.0 W / m · K or more from the viewpoint of heat dissipation. Further, from the viewpoint of weight reduction, it is preferable to use a material having a specific gravity of 2 or less as the adhesive 60. For example, as the adhesive 60, an adhesive made of silicone resin or cement can be used.

なお、接着剤60の代わりに、基板11の第2主面と筐体20の内面とに密着可能な厚み及び形状を有する両面テープを用いてもよい。すなわち、基板11と筐体20とを固定できる部材であれば、いかなるものでもよい。   Instead of the adhesive 60, a double-sided tape having a thickness and a shape that can adhere to the second main surface of the substrate 11 and the inner surface of the housing 20 may be used. That is, any member that can fix the substrate 11 and the housing 20 may be used.

LED素子12は、発光素子の一例であり、基板11上に実装される。本実施の形態では、複数のLED素子12は、基板11の長手方向に沿ってライン状に一列配置されるように実装されている。複数のLED素子12のそれぞれは、図1に示すように、互いに離間して配置されている。   The LED element 12 is an example of a light emitting element and is mounted on the substrate 11. In the present embodiment, the plurality of LED elements 12 are mounted so as to be arranged in a line along the longitudinal direction of the substrate 11. As shown in FIG. 1, each of the plurality of LED elements 12 is disposed apart from each other.

LED素子12は、LEDチップと蛍光体とがパッケージ化された、いわゆるSMD型の発光素子である。LED素子12は、パッケージと、パッケージに配置されたLEDチップと、LEDチップを封止する封止部材とを備える。LED素子12は、例えば、白色光を発する白色LED素子である。   The LED element 12 is a so-called SMD type light emitting element in which an LED chip and a phosphor are packaged. The LED element 12 includes a package, an LED chip disposed in the package, and a sealing member that seals the LED chip. The LED element 12 is, for example, a white LED element that emits white light.

パッケージは、白色樹脂などによって成形された容器であり、逆円錐台形状の凹部(キャビティ)を備える。凹部の内側面は傾斜しており、LEDチップからの光を上方に反射させるように構成されている。   The package is a container formed of a white resin or the like, and includes an inverted frustoconical concave portion (cavity). The inner surface of the recess is inclined and configured to reflect light from the LED chip upward.

LEDチップは、パッケージの凹部の底面に実装されている。LEDチップは、単色の可視光を発するベアチップであり、ダイアタッチ材(ダイボンド材)によって、パッケージの凹部の底面にダイボンディング実装されている。LEDチップは、例えば、通電されると青色光を発する青色LEDチップである。   The LED chip is mounted on the bottom surface of the recess of the package. The LED chip is a bare chip that emits monochromatic visible light, and is die-bonded to the bottom surface of the recess of the package by a die attach material (die bond material). The LED chip is, for example, a blue LED chip that emits blue light when energized.

封止部材は、光波長変換体である蛍光体を含む蛍光体含有樹脂であり、LEDチップから発せられた光を所定の波長に変換(色変換)する。また、封止部材は、LEDチップを封止することで、LEDチップを保護する。封止部材は、パッケージの凹部に充填されており、当該凹部の開口面まで封入されている。   The sealing member is a phosphor-containing resin including a phosphor that is a light wavelength converter, and converts light emitted from the LED chip into a predetermined wavelength (color conversion). The sealing member protects the LED chip by sealing the LED chip. The sealing member is filled in the recess of the package, and is sealed up to the opening surface of the recess.

封止部材は、LEDチップが発する光の色(波長)と、光源として求められる光の色(波長)とに基づいて選択された材料を含む。例えば、LEDチップが青色LEDチップである場合に白色光を得るために、封止部材として、YAG(イットリウム・アルミニウム・ガーネット)系の黄色蛍光体粒子をシリコーン樹脂に分散させた蛍光体含有樹脂を用いることができる。これにより、黄色蛍光体粒子が青色LEDチップの青色光によって励起されて黄色光を放出するので、封止部材からは、励起された黄色光と青色LEDチップの青色光との合成光として白色光が放出される。なお、封止部材に、シリカ(SiO)などの光拡散材を含有させてもよい。 The sealing member includes a material selected based on the color (wavelength) of light emitted from the LED chip and the color (wavelength) of light required as a light source. For example, in order to obtain white light when the LED chip is a blue LED chip, a phosphor-containing resin obtained by dispersing YAG (yttrium, aluminum, garnet) -based yellow phosphor particles in a silicone resin is used as a sealing member. Can be used. As a result, the yellow phosphor particles are excited by the blue light of the blue LED chip to emit yellow light, so that the sealing member emits white light as a combined light of the excited yellow light and the blue light of the blue LED chip. Is released. The sealing member may contain a light diffusing material such as silica (SiO 2 ).

このように構成されるLED素子12は、正極及び負極の2つの電極端子を有しており、これらの電極端子と基板11に形成された金属配線とが電気的に接続されている。   The LED element 12 configured in this way has two electrode terminals of a positive electrode and a negative electrode, and these electrode terminals and the metal wiring formed on the substrate 11 are electrically connected.

金属配線(図示せず)は、複数のLED素子12のそれぞれに対して所定の電力を供給するための金属配線である。金属配線は、予め定められた形状でパターン形成されている。本実施の形態では、直管LEDランプ1は、給電用口金30のみの片側から筐体20内の全てのLED素子12に給電する片側給電方式を採用している。   The metal wiring (not shown) is a metal wiring for supplying predetermined power to each of the plurality of LED elements 12. The metal wiring is patterned in a predetermined shape. In the present embodiment, the straight tube LED lamp 1 employs a one-side power feeding method in which power is fed to all the LED elements 12 in the housing 20 from one side of the power feeding base 30 alone.

例えば、金属配線は、2本のリード線50(1対のリード線)によって給電用口金の1対の給電ピン32に接続される。例えば、リード線50の端部は、金属配線に半田付けされる。   For example, the metal wiring is connected to a pair of power supply pins 32 of a power supply base by two lead wires 50 (a pair of lead wires). For example, the end portion of the lead wire 50 is soldered to the metal wiring.

金属配線は、例えば、銅(Cu)などの高伝導率を有する金属から構成される。あるいは、金属配線は、ニッケル、アルミニウム若しくは金、又は、これらのうち2以上の金属からなる積層膜若しくは合金でもよい。   The metal wiring is made of a metal having high conductivity such as copper (Cu), for example. Alternatively, the metal wiring may be nickel, aluminum, gold, or a laminated film or alloy made of two or more metals among these.

点灯回路(図示せず)は、LEDモジュール10に実装されたLED素子12を点灯するためのLED点灯回路である。点灯回路は、1つ又は複数の回路素子(回路部品)から構成される。   The lighting circuit (not shown) is an LED lighting circuit for lighting the LED element 12 mounted on the LED module 10. The lighting circuit is composed of one or a plurality of circuit elements (circuit parts).

点灯回路は、例えば、リード線50を介して入力される直流電圧を、LED素子12を発光させるための所定の極性に調整して出力する。点灯回路から出力される直流電力は、例えば、基板11に形成された金属配線を介してLEDモジュール10のLED素子12に供給される。   For example, the lighting circuit adjusts and outputs a DC voltage input via the lead wire 50 to a predetermined polarity for causing the LED element 12 to emit light. The DC power output from the lighting circuit is supplied to the LED element 12 of the LED module 10 via, for example, a metal wiring formed on the substrate 11.

回路素子(図示せず)は、LEDモジュール10の基板11を利用して、基板11に直接実装されている。回路素子は、例えば、整流回路、検知抵抗又はヒューズ素子などである。その他必要に応じて、抵抗、コンデンサ、コイル、ダイオード又はトランジスタなどを用いてもよい。   A circuit element (not shown) is directly mounted on the substrate 11 using the substrate 11 of the LED module 10. The circuit element is, for example, a rectifier circuit, a detection resistor, or a fuse element. In addition, a resistor, a capacitor, a coil, a diode, a transistor, or the like may be used as necessary.

また、基板11とは別の基板(回路基板)に点灯回路を設けてもよい。この場合、回路基板と基板11とをリード線などで電気的に接続すればよい。   Further, the lighting circuit may be provided on a substrate (circuit substrate) different from the substrate 11. In this case, the circuit board and the board 11 may be electrically connected with a lead wire or the like.

また、LEDモジュール10の光取り出し効率を向上させるために、基板11の表面に白色塗料(白レジスト)を塗装してもよい。白レジストは、高光反射性を有するので、LEDモジュール10の光取り出し効率を向上させることができる。また、白レジストを形成することによって、基板11の絶縁性(耐圧)を向上させることができ、かつ、金属配線の酸化を抑制することができる。   In order to improve the light extraction efficiency of the LED module 10, a white paint (white resist) may be applied to the surface of the substrate 11. Since the white resist has high light reflectivity, the light extraction efficiency of the LED module 10 can be improved. Further, by forming the white resist, the insulating property (breakdown voltage) of the substrate 11 can be improved, and oxidation of the metal wiring can be suppressed.

[筐体]
筐体20は、内部に基板11が配置された長尺状の筐体である。具体的には、筐体20は、LEDモジュール10の一部を覆う透光性を有する長尺状の透光性カバーである。
[Case]
The case 20 is a long case in which the substrate 11 is disposed. Specifically, the housing 20 is a long translucent cover having translucency that covers a part of the LED module 10.

例えば、図1に示すように、筐体20は、両端部に開口を有する長尺状の筒体である。具体的には、筐体20は、直管状の外管であり、透明樹脂材料又はガラスから構成される。筐体20は、短手方向の断面(XZ断面)が円形の円筒である。なお、筐体20の長手方向の一方の端部は、給電用口金30に覆われている。また、筐体20の長手方向の他方の端部は、非給電用口金40に覆われている。   For example, as illustrated in FIG. 1, the housing 20 is a long cylindrical body having openings at both ends. Specifically, the housing 20 is a straight tubular outer tube and is made of a transparent resin material or glass. The casing 20 is a cylinder whose cross section in the short direction (XZ cross section) is circular. Note that one end of the casing 20 in the longitudinal direction is covered with a power supply cap 30. Further, the other end portion of the casing 20 in the longitudinal direction is covered with a non-power feeding base 40.

例えば、筐体20は、可視光に対して透明なシリカガラス製のガラスバルブ(クリアバルブ)である。この場合、筐体20内に配置されたLEDモジュール10は、筐体20の外側から視認することができる。   For example, the casing 20 is a glass bulb (clear bulb) made of silica glass that is transparent to visible light. In this case, the LED module 10 disposed in the housing 20 can be viewed from the outside of the housing 20.

具体的には、筐体20は、シリカが70〜72%のソーダ石灰ガラスを主成分として含み、熱伝導率が約1.0W/m・Kのガラス管(ガラスバルブ)である。あるいは、筐体20は、アクリル(PMMA)又はポリカーボネート(PC)などの樹脂材料を含むプラスチック管でもよい。   Specifically, the housing 20 is a glass tube (glass bulb) containing soda-lime glass having 70 to 72% silica as a main component and having a thermal conductivity of about 1.0 W / m · K. Alternatively, the housing 20 may be a plastic tube containing a resin material such as acrylic (PMMA) or polycarbonate (PC).

なお、LEDモジュール10からの光を拡散させるために、筐体20は光拡散機能を有してもよい。例えば、筐体20の内面又は外面に光拡散シート又は光拡散膜を形成すればよい。具体的には、シリカ若しくは炭酸カルシウムなどの光拡散材(微粒子)を含有する樹脂、又は、白色顔料を筐体20の内面又は外面に付着させることで、乳白色の光拡散膜を形成することができる。   In addition, in order to diffuse the light from the LED module 10, the housing | casing 20 may have a light-diffusion function. For example, a light diffusion sheet or a light diffusion film may be formed on the inner surface or the outer surface of the housing 20. Specifically, a milky white light diffusing film can be formed by attaching a resin containing a light diffusing material (fine particles) such as silica or calcium carbonate, or a white pigment to the inner surface or the outer surface of the housing 20. it can.

また、筐体20の内部若しくは外部に設けられたレンズ構造物、又は、筐体20の内面若しくは外面に形成された凹部若しくは凸部によって光拡散機能を実現してもよい。例えば、筐体20の内面又は外面にドットパターンを印刷し、又は、筐体20の一部を加工することで、光拡散機能を実現することができる。あるいは、光拡散材が分散された樹脂材料などを用いて筐体20そのものを成形することで、光拡散機能を実現することもできる。   Further, the light diffusing function may be realized by a lens structure provided inside or outside the housing 20, or a concave portion or a convex portion formed on the inner surface or the outer surface of the housing 20. For example, the light diffusion function can be realized by printing a dot pattern on the inner surface or the outer surface of the housing 20 or processing a part of the housing 20. Alternatively, the light diffusing function can be realized by molding the housing 20 itself using a resin material in which a light diffusing material is dispersed.

このように、筐体20に光拡散機能を持たせることによって、LEDモジュール10から放射された光を、筐体20を当該光が通過する際に拡散させることができる。例えば、本実施の形態のように、SMD型のLED素子12が離間して配置されていると、光のつぶつぶ感(輝度ばらつき)が発生する恐れがある。これに対して、筐体20に光拡散機能を持たせることで、光のつぶつぶ感を抑制することができる。   Thus, by providing the housing 20 with the light diffusing function, it is possible to diffuse the light emitted from the LED module 10 when the light passes through the housing 20. For example, if the SMD type LED elements 12 are arranged apart from each other as in the present embodiment, there is a possibility that a light crushing feeling (luminance variation) may occur. On the other hand, by providing the housing 20 with a light diffusing function, it is possible to suppress the feeling of being crushed.

[給電用口金]
給電用口金30は、LEDモジュール10に電力を供給するための給電用口金である。給電用口金30は、筐体20又は基板11の長手方向(Y軸方向)の一方の端部に設けられる。給電用口金30は、LED素子12を点灯させるための電力をランプ外部から受ける。
[Feeding cap]
The power supply base 30 is a power supply base for supplying power to the LED module 10. The feeding base 30 is provided at one end of the casing 20 or the substrate 11 in the longitudinal direction (Y-axis direction). The power supply cap 30 receives power for lighting the LED element 12 from the outside of the lamp.

給電用口金30は、筐体20の長手方向の一方の端部に蓋をするようにキャップ状に構成されている。つまり、給電用口金30は、有底筒形状であり、筐体20の長手方向の一方の端部を覆うように設けられる。例えば、給電用口金30は、接着剤によって筐体20の一方の端部に接着される。本実施の形態では、給電用口金30は、一方に開口を有し、他方に底部を有する円筒である。   The power supply cap 30 is configured in a cap shape so as to cover one end of the casing 20 in the longitudinal direction. That is, the power supply cap 30 has a bottomed cylindrical shape and is provided so as to cover one end of the housing 20 in the longitudinal direction. For example, the power supply cap 30 is bonded to one end of the housing 20 with an adhesive. In the present embodiment, the power supply cap 30 is a cylinder having an opening on one side and a bottom on the other side.

なお、給電用口金30と筐体20との接着に用いられる接着剤は、例えば、シリコーン樹脂である。例えば、給電用口金30と筐体20との接着に用いられる接着剤は、基板11と筐体20との接続に用いられる接着剤60と同じ材料から構成される。このとき、筐体20からはみ出た基板11の一方の端部と給電用口金30とを接着剤によって固定してもよい。   In addition, the adhesive agent used for adhesion | attachment with the nozzle | cap | die 30 for electric power feeding and the housing | casing 20 is a silicone resin, for example. For example, the adhesive used for bonding the power supply base 30 and the housing 20 is made of the same material as the adhesive 60 used for connecting the substrate 11 and the housing 20. At this time, one end portion of the substrate 11 protruding from the housing 20 and the power supply base 30 may be fixed with an adhesive.

以下では、給電用口金30の詳細な構成について、図2〜図3Cを用いて説明する。図2は、本発明の実施の形態1に係る給電用口金の一例を示す分解斜視図である。図3A〜図3Cは、本発明の実施の形態1に係る口金本体に設けられた貫通孔の一例を示す断面図である。   Below, the detailed structure of the nozzle | cap | die 30 for electric power feeding is demonstrated using FIGS. 2-3C. FIG. 2 is an exploded perspective view showing an example of the power supply cap according to the first embodiment of the present invention. 3A to 3C are cross-sectional views showing examples of through holes provided in the base body according to Embodiment 1 of the present invention.

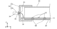
図2に示すように、給電用口金30は、口金本体31と、給電ピン32とを備える。   As shown in FIG. 2, the power supply base 30 includes a base body 31 and power supply pins 32.

口金本体31は、筐体20の長手方向の一方の端部に設けられる。例えば、口金本体31は、筒状の口金本体であり、給電用口金30の外郭をなす。口金本体31は、給電ピン32を保持する。   The base body 31 is provided at one end of the casing 20 in the longitudinal direction. For example, the base body 31 is a cylindrical base body and forms an outer shell of the power supply base 30. The base body 31 holds the power supply pin 32.

具体的には、口金本体31は、開口及び底部を有する筒状の口金本体である。本実施の形態に係る口金本体31は、有底円筒形状であり、円形の開口と円板状の底部とを有する。   Specifically, the base body 31 is a cylindrical base body having an opening and a bottom. The base body 31 according to the present embodiment has a bottomed cylindrical shape, and has a circular opening and a disc-shaped bottom.

口金本体31は、例えば、ポリブチレンテレフタレート(PBT)などの樹脂材料から構成される。ここで、給電用口金30は、例えば、給電ピン32と樹脂材料とを用いたインサート成形によって作製される。なお、樹脂成形体である口金本体31に給電ピン32を圧入することで、給電用口金30を作製することもできる。   The base body 31 is made of a resin material such as polybutylene terephthalate (PBT). Here, the power supply cap 30 is produced, for example, by insert molding using a power supply pin 32 and a resin material. Note that the power supply base 30 can be manufactured by press-fitting the power supply pins 32 into the base body 31 that is a resin molded body.

口金本体31には、貫通孔33が設けられている。貫通孔33は、リード線50が挿通される第1貫通孔の一例である。貫通孔33は、口金本体31の底部を貫通するように設けられている。2本のリード線50のそれぞれを挿通させるために、図2に示すように、口金本体31には2つの貫通孔33が設けられている。   A through hole 33 is provided in the base body 31. The through hole 33 is an example of a first through hole through which the lead wire 50 is inserted. The through hole 33 is provided so as to penetrate the bottom of the base body 31. In order to insert each of the two lead wires 50, as shown in FIG. 2, the base body 31 is provided with two through holes 33.

貫通孔33の少なくとも一部は、口金本体31の内側に露出した開口を有するテーパー孔であって、口金本体31の内側から外側に向かう方向を先端方向とするテーパー孔である。具体的には、図3Aに示すように、貫通孔33は、テーパー孔と、直孔とから構成されている。   At least a part of the through hole 33 is a tapered hole having an opening exposed to the inside of the base body 31, and is a tapered hole having a direction from the inside to the outside of the base body 31 as a tip direction. Specifically, as shown in FIG. 3A, the through-hole 33 is composed of a tapered hole and a straight hole.

テーパー孔は、口金本体31の内側に開口を有し、口金本体31の外側に向かって開口の径が漸次小さくなる。テーパー孔は、例えば、楕円筒形状の貫通孔である。   The tapered hole has an opening inside the base body 31, and the diameter of the opening gradually decreases toward the outside of the base body 31. The tapered hole is, for example, an elliptical cylindrical through hole.

直孔は、口金本体31の外側に開口を有し、径が略均一の円孔である。なお、テーパー孔の先端と直孔とは径が略同一である。また、直孔の径は、リード線50の径より大きい。   The straight hole is a circular hole having an opening outside the base body 31 and having a substantially uniform diameter. Note that the tip of the tapered hole and the straight hole have substantially the same diameter. Further, the diameter of the straight hole is larger than the diameter of the lead wire 50.

このように、口金本体31の内側にテーパー孔を設けることで、リード線50をスムーズに口金本体31の内側から外側に挿通させることができる。また、口金本体31の外側に直孔を設けることで、テーパー孔だけの場合に比べて口金本体31の強度を増すことができる。   As described above, by providing the tapered hole inside the base body 31, the lead wire 50 can be smoothly inserted from the inside of the base body 31 to the outside. Further, by providing a straight hole outside the base body 31, the strength of the base body 31 can be increased as compared with the case of only the tapered hole.

貫通孔33は、例えば、所定の金型と樹脂材料とを用いた成形方法により口金本体31と一体成形される。あるいは、樹脂を用いて口金本体31を成形後に、樹脂成形体である口金本体31に錐などを用いて貫通孔33を形成してもよい。   The through-hole 33 is integrally formed with the base body 31 by, for example, a molding method using a predetermined mold and a resin material. Alternatively, after forming the base body 31 using resin, the through-hole 33 may be formed using a cone or the like in the base body 31 that is a resin molded body.

なお、口金本体31には、図3Bに示すように、貫通孔33の代わりに貫通孔33aを設けてもよい。貫通孔33aは、口金本体31の内側から外側に向かう方向を先端とするテーパー孔である。先端の開口の径は、リード線50の径より大きい。   The base body 31 may be provided with a through hole 33a instead of the through hole 33, as shown in FIG. 3B. The through hole 33 a is a tapered hole having a tip in the direction from the inner side to the outer side of the base body 31. The diameter of the opening at the tip is larger than the diameter of the lead wire 50.

このように、口金本体31の内側にテーパー孔を設けることで、リード線50をスムーズに口金本体31の内側から外側に挿通させることができる。   As described above, by providing the tapered hole inside the base body 31, the lead wire 50 can be smoothly inserted from the inside of the base body 31 to the outside.

また、口金本体31には、図3Cに示すように、貫通孔33の代わりに貫通孔33bを設けてもよい。貫通孔33bは、径が略均一の直孔である。直孔の径は、リード線50の径より大きい。   Further, as shown in FIG. 3C, the base body 31 may be provided with a through hole 33 b instead of the through hole 33. The through hole 33b is a straight hole having a substantially uniform diameter. The diameter of the straight hole is larger than the diameter of the lead wire 50.

このように、口金本体31に直孔を設けることで、テーパー孔の場合に比べて口金本体31の薄い部分を減らすことができるので、口金本体31の強度を増すことができる。   Thus, by providing a straight hole in the base body 31, the thin portion of the base body 31 can be reduced compared to the case of a tapered hole, so that the strength of the base body 31 can be increased.

図2に戻り、給電ピン32は、口金ピンの一例であり、口金本体31の外方に露出するように口金本体31に固定されている。給電ピン32は、具体的には、LEDモジュール10を発光させるための電力を照明器具などの外部機器から受ける一対の導電ピンである。   Returning to FIG. 2, the power supply pin 32 is an example of a base pin, and is fixed to the base body 31 so as to be exposed to the outside of the base body 31. Specifically, the power supply pins 32 are a pair of conductive pins that receive power for causing the LED module 10 to emit light from an external device such as a lighting fixture.

例えば、給電ピン32は、真鍮などの金属材料から構成される。給電ピン32を照明器具の受金に装着することで、給電ピン32は、照明器具に内蔵された電源装置から直流電力を受けることができる。   For example, the power feed pin 32 is made of a metal material such as brass. By attaching the power supply pin 32 to the receiving fixture of the lighting fixture, the power supply pin 32 can receive DC power from a power supply device built in the lighting fixture.

給電ピン32は、口金本体31の底部を貫通しないように設けられている。すなわち、給電ピン32は、口金本体31の底部の外面から外方にのみ突出するように設けられている。つまり、給電ピン32は、口金本体31の内面側には突出又は露出しておらず、口金本体31に埋め込まれている。   The power supply pin 32 is provided so as not to penetrate the bottom of the base body 31. That is, the power supply pin 32 is provided so as to protrude only outward from the outer surface of the bottom portion of the base body 31. That is, the power feed pin 32 is not projected or exposed on the inner surface side of the base body 31 and is embedded in the base body 31.

なお、給電ピン32は、口金本体31の内面側に突出又は露出していてもよい。例えば、給電ピン32を口金本体31の内面側に突出させることで、口金本体31は、給電ピン32を強固に保持することができる。   The power supply pin 32 may protrude or be exposed on the inner surface side of the base body 31. For example, the base body 31 can hold the power supply pin 32 firmly by projecting the power supply pin 32 toward the inner surface of the base body 31.

給電ピン32には、貫通孔34が設けられている。貫通孔34は、リード線50が挿通される第2貫通孔の一例である。貫通孔34は、給電ピン32と口金本体31とを組み合わせたときに、貫通孔33に連続するような位置に設けられる。   A through hole 34 is provided in the power supply pin 32. The through hole 34 is an example of a second through hole through which the lead wire 50 is inserted. The through hole 34 is provided at a position continuous with the through hole 33 when the power supply pin 32 and the base body 31 are combined.

図2に示すように、給電ピン32は、L字部35と、平板部36とを備える。   As shown in FIG. 2, the power supply pin 32 includes an L-shaped portion 35 and a flat plate portion 36.

L字部35は、口金本体31から外方に向かって突出した部分である。L字部35は、直管LEDランプ1を照明器具に取り付ける際に、受金に取り付けられる。L字部35は、口金本体31の底部に略垂直となる第1平板部と、当該第1平板部の一端から略直角に延設された第2平板部とを有する。   The L-shaped portion 35 is a portion protruding outward from the base body 31. The L-shaped portion 35 is attached to a money receiver when the straight tube LED lamp 1 is attached to a lighting fixture. The L-shaped portion 35 includes a first flat plate portion that is substantially perpendicular to the bottom portion of the base body 31 and a second flat plate portion that extends substantially perpendicularly from one end of the first flat plate portion.

平板部36は、L字部35の端部(第1平板部の他端)から略直角に延設された第3平板部である。平板部36は、口金本体31の外面に接している。つまり、平板部36は、給電ピン32と口金本体31との接触面積を増やすために設けられた、口金本体31との接続部である。平板部36は、一部が露出するように口金本体31に埋め込まれている。   The flat plate portion 36 is a third flat plate portion that extends substantially at right angles from the end portion of the L-shaped portion 35 (the other end of the first flat plate portion). The flat plate portion 36 is in contact with the outer surface of the base body 31. That is, the flat plate portion 36 is a connection portion with the base body 31 provided to increase the contact area between the power supply pin 32 and the base body 31. The flat plate portion 36 is embedded in the base body 31 so that a part thereof is exposed.

貫通孔34は、平板部36に設けられている。貫通孔34は、口金本体31に設けられた貫通孔33と、貫通方向に連続している。貫通孔34は、例えば、所定の金型と金属材料とを用いた成形方法により給電ピン32と一体成形される。   The through hole 34 is provided in the flat plate portion 36. The through hole 34 is continuous with the through hole 33 provided in the base body 31 in the penetrating direction. The through hole 34 is integrally formed with the power supply pin 32 by a molding method using a predetermined mold and a metal material, for example.

なお、本実施の形態に係る給電用口金30は、「JIS C 7709−1」に準拠した直管LEDランプにおけるGX16t−5口金(L形ピン口金)であるので、給電ピン32は、L字形である。   Note that the power supply cap 30 according to the present embodiment is a GX16t-5 cap (L-shaped pin cap) in a straight tube LED lamp conforming to “JIS C 7709-1”. It is.

[非給電用口金]
非給電用口金40は、直管LEDランプ1を照明器具に取り付ける機能を有する非給電側の口金である。非給電用口金40は、図1に示すように、筐体20又は基板11の長手方向(Y軸方向)の他方の端部に設けられる。つまり、非給電用口金40は、給電用口金30が設けられる筐体20の長手方向の端部(一方の端部)の反対側の端部に設けられる。なお、非給電用口金40は、照明器具を介してLEDモジュール10の所定領域を接地(アース)してもよい。
[Non-powered cap]
The non-power supply base 40 is a non-power supply side base having a function of attaching the straight tube LED lamp 1 to a lighting fixture. As shown in FIG. 1, the non-power feeding base 40 is provided at the other end of the casing 20 or the substrate 11 in the longitudinal direction (Y-axis direction). That is, the non-power feeding base 40 is provided at the end opposite to the longitudinal end (one end) of the casing 20 where the power feeding base 30 is provided. Note that the non-power supply base 40 may ground (ground) a predetermined region of the LED module 10 via a lighting fixture.

非給電用口金40は、筐体20の長手方向の他方の端部に蓋をするようにキャップ状に構成されている。つまり、非給電用口金40は、有底筒形状であり、筐体20の長手方向の他方の端部を覆うように設けられる。例えば、非給電用口金40は、接着剤によって筐体20の他方の端部に接着される。本実施の形態では、非給電用口金40は、一方に開口を有し、他方に底部を有する円筒である。   The non-power feeding base 40 is configured in a cap shape so as to cover the other end in the longitudinal direction of the housing 20. That is, the non-power feeding base 40 has a bottomed cylindrical shape and is provided so as to cover the other end portion in the longitudinal direction of the housing 20. For example, the non-power supply base 40 is bonded to the other end of the housing 20 with an adhesive. In the present embodiment, the non-power feeding base 40 is a cylinder having an opening on one side and a bottom on the other side.

なお、非給電用口金40と筐体20との接着に用いられる接着剤は、例えば、シリコーン樹脂である。例えば、非給電用口金40と筐体20との接着に用いられる接着剤は、基板11と筐体20との接続に用いられる接着剤60と同じ材料から構成される。このとき、筐体20からはみ出た基板11の他方の端部と非給電用口金40とを接着剤によって固定してもよい。   The adhesive used for bonding the non-power feeding base 40 and the housing 20 is, for example, a silicone resin. For example, the adhesive used for bonding the non-power feeding base 40 and the housing 20 is made of the same material as the adhesive 60 used for connecting the substrate 11 and the housing 20. At this time, the other end of the substrate 11 protruding from the housing 20 and the non-power feeding base 40 may be fixed with an adhesive.

図1に示すように、非給電用口金40は、口金本体41と、非給電ピン42とを備える。   As shown in FIG. 1, the non-power supply base 40 includes a base body 41 and a non-power supply pin 42.

口金本体41は、筐体20の長手方向の他方の端部に設けられる。例えば、口金本体41は、筒状の口金本体であり、非給電用口金40の外郭をなす。口金本体41は、非給電ピン42を保持する。   The base body 41 is provided at the other end in the longitudinal direction of the housing 20. For example, the base body 41 is a cylindrical base body and forms an outer shell of the non-power feeding base 40. The base body 41 holds the non-power supply pin 42.

具体的には、口金本体41は、開口及び底部を有する筒状の口金本体である。本実施の形態に係る口金本体41は、有底円筒形状であり、円形の開口と円板状の底部とを有する。   Specifically, the base body 41 is a cylindrical base body having an opening and a bottom. The base body 41 according to the present embodiment has a bottomed cylindrical shape, and has a circular opening and a disk-shaped bottom.

口金本体41は、例えば、ポリブチレンテレフタレートなどの樹脂材料から構成される。ここで、非給電用口金40は、例えば、非給電ピン42と樹脂材料とを用いたインサート成形によって作製される。なお、樹脂成形体である口金本体41に非給電ピン42を圧入することで、非給電用口金40を作製することもできる。   The base body 41 is made of a resin material such as polybutylene terephthalate. Here, the non-power supply base 40 is produced by insert molding using the non-power supply pin 42 and a resin material, for example. In addition, the non-power feeding base 40 can also be produced by press-fitting the non-power feeding pins 42 into the base body 41 which is a resin molded body.

非給電ピン42は、口金ピンの一例であり、口金本体41の外方に露出するように口金本体41に固定されている。非給電ピン42は、直管LEDランプ1を照明器具に取り付けるための取り付けピンである。例えば、非給電ピン42は、真鍮などの金属材料から構成された断面T字状の導電ピンである。   The non-power supply pin 42 is an example of a cap pin, and is fixed to the base body 41 so as to be exposed to the outside of the base body 41. The non-power supply pin 42 is an attachment pin for attaching the straight tube LED lamp 1 to a lighting fixture. For example, the non-feed pin 42 is a conductive pin having a T-shaped cross section made of a metal material such as brass.

非給電ピン42は、口金本体41の底部から外方に向かって突出するように設けられている。非給電ピン42は、口金本体41の内面側には露出しておらず、口金本体41に埋め込まれている。なお、非給電ピン42は、口金本体41の底部を貫通するように設けられていてもよい。具体的には、非給電ピン42は、口金本体41の底部の外面から外方に向かって突出し、かつ、口金本体41の底部の内面から開口に向かって突出していてもよい。   The non-power supply pin 42 is provided so as to protrude outward from the bottom of the base body 41. The non-power supply pin 42 is not exposed on the inner surface side of the base body 41 and is embedded in the base body 41. Note that the non-power supply pin 42 may be provided so as to penetrate the bottom of the base body 41. Specifically, the non-power supply pin 42 may protrude outward from the outer surface of the bottom portion of the base body 41 and may protrude from the inner surface of the bottom portion of the base body 41 toward the opening.

[リード線と給電ピンとの接続]
続いて、本実施の形態に係るリード線50と給電ピン32との接続例について、図4及び図5を用いて説明する。図4は、本発明の実施の形態1に係るリード線と給電ピンとの接続の一例を示す概観斜視図である。図5は、本発明の実施の形態1に係るリード線と給電ピンとの接続の一例を示す断面図である。なお、図5は、基板11の主面に垂直な断面(YZ断面)であって、口金本体31に設けられた貫通孔33を通過する断面を示している。
[Connection between lead wire and power supply pin]
Subsequently, a connection example between the lead wire 50 and the power supply pin 32 according to the present embodiment will be described with reference to FIGS. 4 and 5. FIG. 4 is a schematic perspective view showing an example of the connection between the lead wire and the power feed pin according to Embodiment 1 of the present invention. FIG. 5 is a cross-sectional view showing an example of the connection between the lead wire and the power feed pin according to Embodiment 1 of the present invention. FIG. 5 shows a cross section (YZ cross section) perpendicular to the main surface of the substrate 11 and passing through the through hole 33 provided in the base body 31.

なお、リード線50は、一端が給電ピン32に接続され、他端が基板11に接続されたLED素子12に電力を供給するための導線である。具体的には、2本のリード線50のそれぞれの一端が、一対の導電ピンである給電ピン32に接続される。また、2本のリード線50のそれぞれの他端が、基板11の金属電極に接続される。   The lead wire 50 is a conducting wire for supplying power to the LED element 12 having one end connected to the power supply pin 32 and the other end connected to the substrate 11. Specifically, one end of each of the two lead wires 50 is connected to a power feed pin 32 that is a pair of conductive pins. Further, the other end of each of the two lead wires 50 is connected to the metal electrode of the substrate 11.

リード線50は、例えば、細い銅線などを撚り合わせたものであり、表面がポリ塩化ビニル又はシリコーンゴムなどの絶縁性部材で覆われている。具体的には、リード線50の両端は、導電性の金属線などが露出しており、両端を除く部分は、絶縁性部材に覆われている。リード線50は、金属の露出部分(両端部分)と、被覆部分(両端を除く部分)とを含んでいる。   The lead wire 50 is formed by twisting thin copper wires or the like, for example, and the surface is covered with an insulating member such as polyvinyl chloride or silicone rubber. Specifically, a conductive metal wire or the like is exposed at both ends of the lead wire 50, and a portion excluding both ends is covered with an insulating member. The lead wire 50 includes a metal exposed portion (both end portions) and a covering portion (portion excluding both ends).

なお、リード線50の端部に接続端子を設け、金属電極の代わりに基板11に設けられた接続端子に、リード線50をコネクタ接続してもよい。接続端子は、LED素子12を発光させるための直流電力を、LEDモジュール10の外部から受電する外部接続端子(電極端子)である。具体的には、接続端子は、樹脂型の口金と、直流電力を受電するための導電部(ピン)とを有するコネクタである。当該導電部は、金属配線を介して点灯回路に接続される。このように、リード線50の端部は、基板11の主面にコネクタ接続されてもよい。   Note that a connection terminal may be provided at the end of the lead wire 50, and the lead wire 50 may be connected to the connection terminal provided on the substrate 11 instead of the metal electrode. The connection terminal is an external connection terminal (electrode terminal) that receives DC power for causing the LED element 12 to emit light from the outside of the LED module 10. Specifically, the connection terminal is a connector having a resin-type base and a conductive portion (pin) for receiving DC power. The conductive portion is connected to the lighting circuit through a metal wiring. Thus, the end portion of the lead wire 50 may be connected to the main surface of the substrate 11 by a connector.

図4に示すように、リード線50は、貫通孔33及び貫通孔34に挿通されて、口金本体31の外側で給電ピン32に接続されている。具体的には、リード線50は、口金本体31の外側で給電ピン32に、半田70によって半田付けされている。より具体的には、リード線50は、給電ピン32の平板部36に半田付けされている。このとき、半田70は、貫通孔34を埋めるようにして、リード線50と給電ピン32とを電気的及び物理的に接続している。   As shown in FIG. 4, the lead wire 50 is inserted into the through hole 33 and the through hole 34, and is connected to the power supply pin 32 outside the base body 31. Specifically, the lead wire 50 is soldered to the power supply pin 32 by the solder 70 outside the base body 31. More specifically, the lead wire 50 is soldered to the flat plate portion 36 of the power supply pin 32. At this time, the solder 70 electrically and physically connects the lead wire 50 and the power supply pin 32 so as to fill the through hole 34.

平板部36は、少なくとも一部が露出するように、口金本体31に埋め込まれている。具体的には、平板部36のうち貫通孔34が形成されている部分が露出している。露出した部分に、半田70によってリード線50を半田付けすることで、給電ピン32とリード線50とを電気的に接続することができる。   The flat plate portion 36 is embedded in the base body 31 so that at least a part of the flat plate portion 36 is exposed. Specifically, a portion of the flat plate portion 36 where the through hole 34 is formed is exposed. By soldering the lead wire 50 to the exposed portion with the solder 70, the power supply pin 32 and the lead wire 50 can be electrically connected.

図5に示すように、口金本体31に設けられた貫通孔33と、給電ピン32に設けられた貫通孔34とは、貫通方向に連続している。例えば、貫通孔33の一方の開口面と、貫通孔34の一方の開口面とが一致し、かつ、貫通孔33の中心線と貫通孔34の中心線とが一致するように、貫通孔33及び貫通孔34が設けられている。   As shown in FIG. 5, the through-hole 33 provided in the base body 31 and the through-hole 34 provided in the power feed pin 32 are continuous in the penetration direction. For example, the through-hole 33 is formed such that one opening surface of the through-hole 33 and one opening surface of the through-hole 34 coincide with each other, and the center line of the through-hole 33 and the center line of the through-hole 34 coincide with each other. And the through-hole 34 is provided.

したがって、口金本体31の内方から貫通孔33に挿通されたリード線50は、そのまま貫通孔34にも挿通される。貫通孔33には、図5に示すようにテーパーが設けられているので、リード線50をスムーズに貫通孔33及び貫通孔34に挿通することができる。   Therefore, the lead wire 50 inserted into the through hole 33 from the inside of the base body 31 is inserted into the through hole 34 as it is. Since the through hole 33 is tapered as shown in FIG. 5, the lead wire 50 can be smoothly inserted into the through hole 33 and the through hole 34.

[筐体と給電用口金との組み立て]
続いて、本実施の形態に係る筐体20と給電用口金30との組み立て例について、図6を用いて説明する。図6は、本発明の実施の形態1に係る筐体20と給電用口金30との組み立て作業の一例を示す概観斜視図である。
[Assembly of housing and power supply cap]
Subsequently, an assembly example of the housing 20 and the power supply cap 30 according to the present embodiment will be described with reference to FIG. FIG. 6 is a schematic perspective view showing an example of assembling work between the casing 20 and the power supply cap 30 according to the first embodiment of the present invention.

図6の(a)に示すように、まず、給電用口金30と、LEDモジュール10が内部に固定された筐体20とを準備する。このとき、リード線50は、一端がLEDモジュール10に接続されている。例えば、リード線50の一端は、基板11の主面に設けられた金属電極に半田付けされている。   As shown in FIG. 6A, first, a power supply cap 30 and a housing 20 in which the LED module 10 is fixed are prepared. At this time, one end of the lead wire 50 is connected to the LED module 10. For example, one end of the lead wire 50 is soldered to a metal electrode provided on the main surface of the substrate 11.

なお、リード線50の長さは、筐体20と給電用口金30とを接続したときに、貫通孔33及び貫通孔34から端部が露出する程度の長さであればよい。例えば、リード線50の長さは、筐体20と給電用口金30とを接続した場合において、LEDモジュール10上の接続点(金属電極)から貫通孔33及び貫通孔34を通過して、給電ピン32上の接続点(貫通孔34の開口部分)に至る最短経路に略等しければよい。   The length of the lead wire 50 may be such a length that the end portion is exposed from the through hole 33 and the through hole 34 when the housing 20 and the power supply base 30 are connected. For example, the length of the lead wire 50 is such that when the housing 20 and the power supply cap 30 are connected, the lead wire 50 passes through the through hole 33 and the through hole 34 from the connection point (metal electrode) on the LED module 10 to supply power. What is necessary is just to be substantially equal to the shortest path | route which reaches the connection point on the pin 32 (opening part of the through-hole 34).

次に、図6の(b)に示すように、給電用口金30に筐体20を挿入する。このとき、リード線50が貫通孔33及び貫通孔34を挿通するように、筐体20を口金本体31に挿入する。このとき、貫通孔33には、図5に示すようにテーパーを設けているので、リード線50をスムーズに挿入することができる。   Next, as shown in FIG. 6B, the housing 20 is inserted into the power supply base 30. At this time, the housing 20 is inserted into the base body 31 so that the lead wire 50 passes through the through hole 33 and the through hole 34. At this time, since the through hole 33 is tapered as shown in FIG. 5, the lead wire 50 can be smoothly inserted.

そして、貫通孔34から口金本体31の外側に出たリード線50と、給電ピン32とを半田ごて80と半田81とを用いて半田付けする。口金本体31の外側で半田付けの作業ができるので、口金本体31の内部で半田付けする場合に比べて、自由に作業できる範囲も広く、視界も広いので、非常に作業効率が良い。   Then, the lead wire 50 coming out of the base body 31 from the through hole 34 and the power supply pin 32 are soldered using a soldering iron 80 and solder 81. Since the soldering work can be performed outside the base body 31, compared with the case of soldering inside the base body 31, the workable range is wide and the field of view is wide, so the working efficiency is very good.

なお、リード線50の半田付けを行う際に、リード線50を口金本体31の外側に十分に引き出しておくことで、口金本体31内のリード線50の余剰分を少なくすることができる。   Note that when the lead wire 50 is soldered, the lead wire 50 is sufficiently drawn out of the base body 31 to reduce the excess of the lead wire 50 in the base body 31.

さらに、図6の(c)に示すように、リード線50のうち余剰分をカットする。これにより、直管LEDランプ1を照明器具に取り付ける際に、外側にはみ出したリード線50が妨げとなることを抑制することができる。   Furthermore, as shown in (c) of FIG. 6, the surplus portion of the lead wire 50 is cut. Thereby, when attaching straight tube | pipe LED lamp 1 to a lighting fixture, it can suppress that the lead wire 50 which protruded on the outer side becomes obstructive.

以上のように、半田付けを口金本体31の外側で行うことができるので、組み立て作業を非常に効率良く行うことができる。さらに、リード線50の余剰分を口金本体31側に引き出し、カットすることができるので、口金本体31内に残るリード線50の長さも短くすることができる。   As described above, since the soldering can be performed outside the base body 31, the assembling work can be performed very efficiently. Furthermore, since the surplus portion of the lead wire 50 can be pulled out to the base body 31 side and cut, the length of the lead wire 50 remaining in the base body 31 can be shortened.

また、口金本体31の内部でリード線50を接続する場合には、リード線50は、給電用口金30と筐体20とが離れた状態で接続できるだけの長さが必要とされる。これに対して、本実施の形態では、リード線50の長さを、給電用口金30と筐体20とを接続した場合における2つの接続点間の最短経路に略等しくすることができる。このため、組み立て時に必要なリード線50の長さを短くすることができ、コストを削減することができる。   When the lead wire 50 is connected inside the base body 31, the lead wire 50 needs to be long enough to be connected in a state where the power supply base 30 and the housing 20 are separated from each other. In contrast, in the present embodiment, the length of the lead wire 50 can be made substantially equal to the shortest path between the two connection points when the power supply base 30 and the housing 20 are connected. For this reason, the length of the lead wire 50 required at the time of an assembly can be shortened, and cost can be reduced.

[効果など]
以上のように、本実施の形態に係る直管LEDランプ1は、LED素子12が配置された長尺状の基板11と、内部に基板11が配置された長尺状の筐体20と、筐体20の長手方向の端部に設けられた給電用口金30と、基板11と給電用口金30とを電気的に接続するリード線50とを備え、給電用口金30は、貫通孔33が設けられた有底筒状の口金本体31と、口金本体31の外方に露出するように口金本体31に固定された給電ピン32とを有し、リード線50は、貫通孔33に挿通され、口金本体31の外側で給電ピン32に接続される。
[Effects, etc.]
As described above, the straight tube LED lamp 1 according to the present embodiment includes a long substrate 11 in which the LED elements 12 are disposed, a long housing 20 in which the substrate 11 is disposed, The power supply cap 30 provided at the end in the longitudinal direction of the housing 20 and a lead wire 50 that electrically connects the substrate 11 and the power supply cap 30 are provided. The power supply cap 30 has a through hole 33. It has a bottomed cylindrical base body 31 provided and a power supply pin 32 fixed to the base body 31 so as to be exposed to the outside of the base body 31, and the lead wire 50 is inserted through the through hole 33. The power supply pin 32 is connected outside the base body 31.

これにより、リード線50は、貫通孔33に挿通されて、口金本体31の外側で給電ピン32に接続されるので、リード線50と給電ピン32との接続作業を口金本体31の外側で行うことができる。したがって、口金本体31の内側で行う場合に比べて、リード線50と給電ピン32との接続作業を非常に効率良く行うことができる。   As a result, the lead wire 50 is inserted into the through hole 33 and connected to the power supply pin 32 outside the base body 31, so that the connection work between the lead wire 50 and the power supply pin 32 is performed outside the base body 31. be able to. Therefore, compared with the case where it is performed inside the base body 31, the connection work between the lead wire 50 and the power supply pin 32 can be performed very efficiently.

さらに、給電ピン32に接続する前に、貫通孔33を介してリード線50を口金本体31の外側へ引き出すことができるので、口金本体31の内部に残るリード線50の長さを短くすることができる。したがって、LED素子12の発光時にリード線50が影になる可能性を低減することができ、光照射時の影の発生を抑制することができる。   Further, since the lead wire 50 can be pulled out to the outside of the base body 31 through the through hole 33 before connecting to the power supply pin 32, the length of the lead wire 50 remaining inside the base body 31 is shortened. Can do. Therefore, the possibility that the lead wire 50 becomes a shadow when the LED element 12 emits light can be reduced, and the occurrence of a shadow at the time of light irradiation can be suppressed.

また、本実施の形態に係る直管LEDランプ1では、給電ピン32には、貫通孔34が設けられ、リード線50は、貫通孔34にさらに挿通され、給電ピン32に接続される。   Further, in the straight tube LED lamp 1 according to the present embodiment, the feed pin 32 is provided with a through hole 34, and the lead wire 50 is further inserted through the through hole 34 and connected to the feed pin 32.

これにより、リード線50が、給電ピン32に設けられた貫通孔34にさらに挿通されて、給電ピン32に接続されているので、リード線50と給電ピン32とをより強固に接続することができる。   Thereby, since the lead wire 50 is further inserted through the through hole 34 provided in the power feed pin 32 and connected to the power feed pin 32, the lead wire 50 and the power feed pin 32 can be connected more firmly. it can.

また、本実施の形態に係る直管LEDランプ1では、貫通孔33と貫通孔34とは、貫通方向に連続している。   In the straight tube LED lamp 1 according to the present embodiment, the through hole 33 and the through hole 34 are continuous in the through direction.

これにより、貫通孔33及び貫通孔34が連続しているので、リード線50をより短い距離で口金本体31の内側から外側へ出すことができる。したがって、リード線50の長さをより短くすることができるので、コストを削減することができる。   Thereby, since the through-hole 33 and the through-hole 34 are continuing, the lead wire 50 can be taken out from the inner side to the outer side of the base body 31 at a shorter distance. Therefore, since the length of the lead wire 50 can be further shortened, the cost can be reduced.

また、本実施の形態に係る直管LEDランプ1では、給電ピン32は、口金本体31の外面から外方にのみ突出するように固定されている。   In the straight tube LED lamp 1 according to the present embodiment, the power feed pin 32 is fixed so as to protrude only outward from the outer surface of the base body 31.

これにより、口金本体31の内部の空間を有効に利用することができる。例えば、大きいサイズの回路部品などを口金本体31の内部に配置することができる。   Thereby, the space inside the base body 31 can be used effectively. For example, a large-sized circuit component or the like can be disposed inside the base body 31.

また、本実施の形態に係る直管LEDランプ1では、貫通孔33の少なくとも一部分は、口金本体31の内側に露出した開口を有し、口金本体31の内側から外側に向かう方向を先端方向とするテーパー孔である。   Further, in the straight tube LED lamp 1 according to the present embodiment, at least a part of the through-hole 33 has an opening exposed to the inside of the base body 31, and the direction from the inside to the outside of the base body 31 is the tip direction. This is a tapered hole.

これにより、貫通孔33の一部がテーパー孔であるから、リード線50をスムーズに貫通孔33に挿通させることができる。したがって、リード線50の接続作業をより効率良く行うことができる。   Thereby, since a part of through-hole 33 is a taper hole, the lead wire 50 can be smoothly inserted through the through-hole 33. Therefore, the connection work of the lead wire 50 can be performed more efficiently.

また、本実施の形態に係る直管LEDランプ1では、リード線50は、給電ピン32に半田付けによって接続される。   In the straight tube LED lamp 1 according to the present embodiment, the lead wire 50 is connected to the power supply pin 32 by soldering.

これにより、コネクタなどの部品を必要とせずに、容易にリード線50を給電ピン32に物理的かつ電気的に接続することができる。   As a result, the lead wire 50 can be easily and physically connected to the power feed pin 32 without requiring a component such as a connector.

(実施の形態1の変形例)
続いて、本発明の実施の形態1の変形例に係る給電用口金30aについて、図7を用いて説明する。図7は、本発明の実施の形態1の変形例に係るリード線と給電ピンとの接続の一例を示す概観斜視図である。
(Modification of Embodiment 1)
Next, a power supply cap 30a according to a modification of the first embodiment of the present invention will be described with reference to FIG. FIG. 7 is a schematic perspective view showing an example of the connection between the lead wire and the power supply pin according to the modification of the first embodiment of the present invention.

実施の形態1の変形例に係る給電用口金30aは、口金本体31aと、給電ピン32aとを備える。実施の形態1に比べて、給電ピン32aには、貫通孔が設けられていない点が異なっている。   The power supply base 30a according to the modification of the first embodiment includes a base body 31a and power supply pins 32a. Compared to the first embodiment, the feeding pin 32a is different in that no through hole is provided.

図7に示すように、リード線50は、貫通孔33に挿通されて、口金本体31aの外側で給電ピン32aに接続されている。具体的には、リード線50は、口金本体31aの外側で給電ピン32に、半田70によって半田付けされている。   As shown in FIG. 7, the lead wire 50 is inserted through the through hole 33 and connected to the power supply pin 32a outside the base body 31a. Specifically, the lead wire 50 is soldered to the power supply pin 32 by the solder 70 outside the base body 31a.

ここで、リード線50は、給電ピン32aの平板部36aに半田付けされている例について示したが、これに限らない。リード線50は、L字部35aに半田付けされていてもよい。   Here, an example in which the lead wire 50 is soldered to the flat plate portion 36a of the power supply pin 32a has been described, but the present invention is not limited thereto. The lead wire 50 may be soldered to the L-shaped portion 35a.

また、貫通孔33は、口金本体31aの底部を貫通するように設けられている。また、貫通孔33は、給電ピン32aの近傍に設けられていることが好ましい。これにより、リード線50の長さをより短くすることができる。なお、貫通孔33は、口金本体31aの側面部に設けられていてもよい。   The through hole 33 is provided so as to penetrate the bottom of the base body 31a. The through hole 33 is preferably provided in the vicinity of the power supply pin 32a. Thereby, the length of the lead wire 50 can be made shorter. The through hole 33 may be provided on the side surface of the base body 31a.

以上のように、本実施の形態の変形例に係る直管LEDランプでは、給電ピン32aに貫通孔が設けられていなくてもよい。すなわち、口金本体31aにのみ貫通孔が設けられていてもよい。   As described above, in the straight tube LED lamp according to the modification of the present embodiment, the feed pin 32a may not be provided with a through hole. That is, a through hole may be provided only in the base body 31a.

これにより、リード線50は、貫通孔33に挿通されて、口金本体31aの外側で給電ピン32aに接続されるので、リード線50と給電ピン32aとの接続作業を口金本体31aの外側で行うことができる。したがって、口金本体31aの内側で行う場合に比べて、リード線50と給電ピン32aとの接続作業を非常に効率良く行うことができる。   Thereby, the lead wire 50 is inserted into the through hole 33 and connected to the power supply pin 32a outside the base body 31a. Therefore, the connection work between the lead wire 50 and the power supply pin 32a is performed outside the base body 31a. be able to. Therefore, compared with the case where it is performed inside the base body 31a, the connection work between the lead wire 50 and the power feed pin 32a can be performed very efficiently.

さらに、給電ピン32aに接続する前に、貫通孔33を介してリード線50を口金本体31aの外側へ引き出すことができるので、口金本体31aの内部に残るリード線50の長さを短くすることができる。したがって、LED素子12の発光時にリード線50が影になる可能性を低減することができ、光照射時の影の発生を抑制することができる。   Furthermore, since the lead wire 50 can be pulled out of the base body 31a through the through-hole 33 before connecting to the power supply pin 32a, the length of the lead wire 50 remaining inside the base body 31a is shortened. Can do. Therefore, the possibility that the lead wire 50 becomes a shadow when the LED element 12 emits light can be reduced, and the occurrence of a shadow at the time of light irradiation can be suppressed.

(実施の形態2)
本発明の実施の形態2に係る照明装置は、上述の照明用光源を備える照明装置である。例えば、実施の形態2に係る照明装置は、実施の形態1に係る直管LEDランプ1を備える。
(Embodiment 2)
An illumination device according to Embodiment 2 of the present invention is an illumination device including the above-described illumination light source. For example, the illumination device according to the second embodiment includes the straight tube LED lamp 1 according to the first embodiment.

図8は、本発明の実施の形態2に係る照明装置2の一例を示す概観斜視図である。図8に示すように、実施の形態2に係る照明装置2は、ベースライトであり、直管LEDランプ1と、照明器具200とを備える。   FIG. 8 is a schematic perspective view showing an example of the illumination device 2 according to Embodiment 2 of the present invention. As illustrated in FIG. 8, the lighting device 2 according to the second embodiment is a base light, and includes a straight tube LED lamp 1 and a lighting fixture 200.

直管LEDランプ1は、実施の形態1に係る直管LEDランプ1であり、照明装置2の照明用光源として用いられる。なお、本実施の形態に係る照明装置2は、一例として2本の直管LEDランプ1を備える。   The straight tube LED lamp 1 is the straight tube LED lamp 1 according to Embodiment 1, and is used as an illumination light source of the illumination device 2. In addition, the illuminating device 2 which concerns on this Embodiment is provided with the two straight tube | pipe LED lamps 1 as an example.

照明器具200は、直管LEDランプ1と電気的に接続され、かつ、直管LEDランプ1を保持する一対の受金210と、受金210が取り付けられる器具本体220とを備える。   The lighting fixture 200 includes a pair of metal receivers 210 electrically connected to the straight tube LED lamp 1 and holding the straight tube LED lamp 1, and a device main body 220 to which the metal receiver 210 is attached.

器具本体220は、例えば、アルミ鋼板をプレス加工などすることによって成形することができる。また、その表面は、直管LEDランプ1から発せられた光を所定方向(例えば、下方)に反射させる反射面の機能を有する。   The instrument main body 220 can be formed by, for example, pressing an aluminum steel plate. Further, the surface has a function of a reflecting surface that reflects light emitted from the straight tube LED lamp 1 in a predetermined direction (for example, downward).

照明器具200は、例えば、天井などに固定具を介して装着される。なお、照明器具200には、直管LEDランプ1の点灯を制御するための回路などが内蔵されていてもよい、また、直管LEDランプ1を覆うようにカバー部材が設けられていてもよい。   The lighting fixture 200 is mounted on a ceiling or the like via a fixture, for example. The lighting fixture 200 may include a circuit for controlling lighting of the straight tube LED lamp 1 or the like, and a cover member may be provided so as to cover the straight tube LED lamp 1. .

以上のように、本実施の形態に係る照明装置2は、他の実施の形態と同様に、リード線50は、貫通孔33に挿通されて、口金本体31の外側で給電ピン32に接続されるので、リード線50と給電ピン32との接続作業を口金本体31の外側で行うことができる。したがって、口金本体31の内側で行う場合に比べて、リード線50と給電ピン32との接続作業を非常に効率良く行うことができる。   As described above, in the lighting device 2 according to the present embodiment, the lead wire 50 is inserted into the through-hole 33 and connected to the power supply pin 32 outside the base body 31 as in the other embodiments. Therefore, the connection work between the lead wire 50 and the power supply pin 32 can be performed outside the base body 31. Therefore, compared with the case where it is performed inside the base body 31, the connection work between the lead wire 50 and the power supply pin 32 can be performed very efficiently.

さらに、給電ピン32に接続する前に、貫通孔33を介してリード線50を口金本体31の外側へ引き出すことができるので、口金本体31の内部に残るリード線50の長さを短くすることができる。したがって、LED素子12の発光時にリード線50が影になる可能性を低減することができ、光照射時の影の発生を抑制することができる。   Further, since the lead wire 50 can be pulled out to the outside of the base body 31 through the through hole 33 before connecting to the power supply pin 32, the length of the lead wire 50 remaining inside the base body 31 is shortened. Can do. Therefore, the possibility that the lead wire 50 becomes a shadow when the LED element 12 emits light can be reduced, and the occurrence of a shadow at the time of light irradiation can be suppressed.

このように、本実施の形態に係る照明装置2によれば、組み立て時の作業効率の低下を抑制し、かつ、光照射時の影の発生を抑制することができる。   Thus, according to the illuminating device 2 which concerns on this Embodiment, the fall of the working efficiency at the time of an assembly can be suppressed, and generation | occurrence | production of the shadow at the time of light irradiation can be suppressed.

(その他)
以上、本発明に係る照明用光源及び照明装置について、上記実施の形態に基づいて説明したが、本発明は、上記の実施の形態に限定されるものではない。
(Other)
The illumination light source and the illumination device according to the present invention have been described based on the above embodiment, but the present invention is not limited to the above embodiment.

例えば、上記実施の形態及び変形例では、給電ピン32とリード線50との接続について示したが、これに限らない。例えば、非給電側でアースを取る場合にも適用できる。つまり、非給電用口金40とLEDモジュール10とを接続するリード線にも適用することができる。   For example, in the above-described embodiment and modification, the connection between the power supply pin 32 and the lead wire 50 has been described, but the present invention is not limited to this. For example, the present invention can be applied to grounding on the non-power supply side. That is, the present invention can also be applied to a lead wire that connects the non-power supply base 40 and the LED module 10.

具体的には、非給電用口金40の口金本体41に貫通孔を設ければよい。そして、当該貫通孔を通過したリード線を、口金本体41の外側で非給電ピン42に接続すればよい。なお、このときのリード線の一端は、非給電ピン42に接続され、他端は、基板11のアース用の金属配線に接続されている。   Specifically, a through hole may be provided in the base body 41 of the non-power feeding base 40. Then, the lead wire that has passed through the through hole may be connected to the non-feed pin 42 outside the base body 41. At this time, one end of the lead wire is connected to the non-feeding pin 42, and the other end is connected to the metal wiring for grounding the substrate 11.

また、上記実施の形態及び変形例では、給電ピン32は、口金本体31の外側に設けられ、内側には突出していない例について示したが、これに限らない。給電ピン32は、口金本体31を貫通していてもよい。   Moreover, although the electric power supply pin 32 was provided in the outer side of the nozzle | cap | die main body 31, and showed the example which is not protruded inside in the said embodiment and modification, it does not restrict to this. The power supply pin 32 may penetrate the base body 31.

また、上記実施の形態及び変形例では、給電ピン32の平板部36でリード線50が接続される例について示したが、これに限らない。例えば、給電ピン32は、平板部36を備えていなくてもよい、つまり、リード線50は、給電ピン32のL字部35に接続されていてもよい。   In the above-described embodiment and modification, the example in which the lead wire 50 is connected by the flat plate portion 36 of the power supply pin 32 has been described, but the present invention is not limited thereto. For example, the power supply pin 32 may not include the flat plate portion 36, that is, the lead wire 50 may be connected to the L-shaped portion 35 of the power supply pin 32.

また、上記実施の形態及び変形例では、リード線50は、給電ピン32に半田付けされている例について示したが、これに限らない。例えば、リード線50は、導電性接着剤を用いて給電ピン32に接続されてもよい。リード線50は、給電ピン32、又は、給電ピン32に電気的に接続された接続端子にコネクタ接続されてもよい。   In the above-described embodiment and modification, the lead wire 50 is shown as being soldered to the power supply pin 32, but the present invention is not limited to this. For example, the lead wire 50 may be connected to the power supply pin 32 using a conductive adhesive. The lead wire 50 may be connector-connected to the power supply pin 32 or a connection terminal electrically connected to the power supply pin 32.

また、上記実施の形態及び変形例では、貫通孔33及び貫通孔34が、断面円形である例について示したが、これに限らない。貫通孔33及び貫通孔34の断面は、矩形でもよい。   Moreover, in the said embodiment and modification, although the through-hole 33 and the through-hole 34 showed about the example which is circular in cross section, it is not restricted to this. The cross sections of the through hole 33 and the through hole 34 may be rectangular.

また、上記の実施の形態において、LEDモジュールが、パッケージ化されたLED素子を用いたSMD型のLEDモジュールである場合について説明したが、これに限らない。LEDモジュールは、基板上に複数のLEDチップが直接実装され、複数のLEDチップを蛍光体含有樹脂によって一括封止した構成であるCOB(Chip On Board)型のLEDモジュールでもよい。   In the above embodiment, the case where the LED module is an SMD type LED module using a packaged LED element has been described. However, the present invention is not limited to this. The LED module may be a COB (Chip On Board) type LED module in which a plurality of LED chips are directly mounted on a substrate and the plurality of LED chips are collectively sealed with a phosphor-containing resin.

また、筐体内に配置される基板(LEDモジュール)は、直列又は並列に2枚以上並べてもよい。この場合、接続端子を介してそれぞれの基板に設けられた金属配線を接続すればよい。   Two or more substrates (LED modules) arranged in the housing may be arranged in series or in parallel. In this case, metal wiring provided on each substrate may be connected via the connection terminal.

また、筐体は、例えば、LEDモジュールを覆う長尺状の透光性カバーと、基台とによって構成されてもよい。この場合、LEDモジュールは、例えば、基台に戴置される。つまり、筐体は、一体の筐体でなくてもよく、透光性カバーと基台とからなる筐体などの、複数に分割可能な筐体であってもよい。   Moreover, a housing | casing may be comprised by the elongate translucent cover which covers an LED module, and a base, for example. In this case, the LED module is placed on a base, for example. That is, the housing does not have to be an integral housing, and may be a housing that can be divided into a plurality of parts, such as a housing made of a translucent cover and a base.

また、上記実施の形態では、筐体及び口金が円筒である例について説明したが、これに限られない。例えば、筐体及び口金は、底部及び開口が矩形の角筒でもよい。   Moreover, although the said embodiment demonstrated the example in which a housing | casing and a nozzle | cap | die are cylinders, it is not restricted to this. For example, the casing and the base may be a rectangular tube having a rectangular bottom and opening.

また、上記実施の形態では、口金本体は、外径及び内径が略均一の円筒である例について示したが、これに限られない。例えば、口金本体の外径及び内径の少なくとも一方は、不均一でもよい。   In the above embodiment, the base body is an example of a cylinder having a substantially uniform outer diameter and inner diameter, but is not limited thereto. For example, at least one of the outer diameter and the inner diameter of the base body may be non-uniform.

また、筐体の端部が口金を覆ってもよい。つまり、口金の外径が筐体の端部の内径より小さくてもよい。   Moreover, the edge part of a housing | casing may cover a nozzle | cap | die. That is, the outer diameter of the base may be smaller than the inner diameter of the end portion of the casing.

また、例えば、上記の実施の形態では、給電用口金のみの片側から筐体内の全LEDに給電を行う片側給電方式を採用したが、両側の口金の両方とも給電ピンとするG13口金及びL形口金などの両側給電方式を採用してもよい。この場合、一方側の給電ピンも他方側の給電ピンも1ピンとするような構成でもよい。あるいは、一方側の給電ピンも他方側の給電ピンも一対の給電ピンとして両側から受電するような構成でもよい。また、一対の給電ピン又は非給電ピンは、棒状金属に限らず、平板金属などによって構成されてもよい。   Further, for example, in the above-described embodiment, a single-side power feeding method that feeds power to all LEDs in the housing from only one side of the power feeding base is adopted. However, both the bases on both sides use a G13 base and an L-shaped base. You may employ | adopt the both-sides electric power feeding system, such as. In this case, the power supply pin on one side and the power supply pin on the other side may be configured as one pin. Alternatively, the power supply pin on one side and the power supply pin on the other side may receive power from both sides as a pair of power supply pins. Further, the pair of power supply pins or non-power supply pins is not limited to a rod-shaped metal, and may be configured by a flat metal or the like.

さらに、上記給電方式の態様から、本発明に係る直管LEDランプでは、例えば、以下のバリエーションが挙げられる。すなわち、一方側がL形口金及び他方側が非給電ピンを持つ口金で構成された片側給電方式、両側がL形口金で構成された両側給電方式、両側がL形口金で構成された片側給電方式、G13口金で構成された両側給電方式、並びに、G13口金で構成された片側給電方式などである。   Furthermore, from the aspect of the power feeding method, the straight tube LED lamp according to the present invention includes, for example, the following variations. That is, one-sided feeding method composed of an L-shaped base on one side and a base having a non-feeding pin on the other side, a two-sided feeding method composed of L-shaped bases on both sides, a one-sided feeding system composed of L-shaped bases on both sides, These include a double-sided power feeding system configured with a G13 base and a one-sided power feeding system configured with a G13 base.

また、上記実施の形態に係る直管LEDランプは、外部電源から直流電力を受電する方式であるが、電源回路(AC−DCコンバータ回路)を内蔵することにより、外部電源から交流電力を受電する方式であってもよい。   In addition, the straight tube LED lamp according to the above embodiment is a system that receives DC power from an external power supply, but receives AC power from an external power supply by incorporating a power supply circuit (AC-DC converter circuit). It may be a method.

また、上記の実施の形態において、LEDモジュールは、青色LEDチップと黄色蛍光体とによって白色光を放出するように構成したが、これに限られない。例えば、赤色蛍光体及び緑色蛍光体を含有する蛍光体含有樹脂を用いて、これと青色LEDチップと組み合わせることによりに白色光を放出するように構成してもよい。また、青色以外の色を発光するLEDチップを用いてもよく、例えば、青色LEDチップが放出する青色光よりも短波長である紫外光を放出する紫外LEDチップを用いて、主に紫外光により励起されて青色光、赤色光及び緑色光を放出する青色蛍光体粒子、緑色蛍光体粒子及び赤色蛍光体粒子によって白色光を放出するように構成してもよい。   In the above embodiment, the LED module is configured to emit white light by the blue LED chip and the yellow phosphor. However, the present invention is not limited to this. For example, a phosphor-containing resin containing a red phosphor and a green phosphor may be used and combined with this and a blue LED chip to emit white light. Moreover, you may use the LED chip which light-emits colors other than blue, for example, using the ultraviolet LED chip which emits the ultraviolet light which is shorter wavelength than the blue light which a blue LED chip emits, mainly by ultraviolet light You may comprise so that white light may be discharge | released by the blue fluorescent substance particle which is excited, and discharge | releases blue light, red light, and green light, green fluorescent substance particle, and red fluorescent substance particle.

また、上記の実施の形態において、発光素子としてLEDを例示したが、半導体レーザなどの半導体発光素子、有機EL(Electro Luminescence)又は無機ELなどの発光素子を用いてもよい。   In the above embodiment, the LED is exemplified as the light emitting element. However, a semiconductor light emitting element such as a semiconductor laser, a light emitting element such as an organic EL (Electro Luminescence), or an inorganic EL may be used.

その他、各実施の形態に対して当業者が思いつく各種変形を施して得られる形態や、本発明の趣旨を逸脱しない範囲で各実施の形態における構成要素及び機能を任意に組み合わせることで実現される形態も本発明に含まれる。   In addition, the embodiment can be realized by arbitrarily combining the components and functions in each embodiment without departing from the scope of the present invention, or a form obtained by subjecting each embodiment to various modifications conceived by those skilled in the art. Forms are also included in the present invention.

1 直管LEDランプ(照明用光源)
2 照明装置
10 LEDモジュール
11 基板
12 LED素子
20 筐体
30、30a 給電用口金
31、31a、41 口金本体
32、32a 給電ピン(口金ピン)
33、33a、33b 貫通孔(第1貫通孔)
34 貫通孔(第2貫通孔)
35、35a L字部
36、36a 平板部
40 非給電用口金
42 非給電ピン
50 リード線
60 接着剤
70、81 半田
80 半田ごて
200 照明器具
210 受金
220 器具本体
1 Straight tube LED lamp (light source for illumination)
2 Illuminating device 10 LED module 11 Substrate 12 LED element 20 Housing 30, 30a Feed base 31, 31a, 41 Base body 32, 32a Feed pin (base pin)
33, 33a, 33b Through hole (first through hole)
34 Through hole (second through hole)
35, 35a L-shaped portion 36, 36a Flat plate portion 40 Non-feeding base 42 Non-feeding pin 50 Lead wire 60 Adhesive 70, 81 Solder 80 Soldering iron 200 Lighting fixture 210 Receipt 220 Appliance body

Claims (7)

発光素子が配置された長尺状の基板と、
内部に前記基板が配置された長尺状の筐体と、
前記筐体の長手方向の端部に設けられた口金と、
前記基板と前記口金とを電気的に接続するリード線とを備え、
前記口金は、
第1貫通孔が設けられた有底筒状の口金本体と、
前記口金本体の外方に露出するように前記口金本体に固定された口金ピンとを有し、
前記リード線は、前記第1貫通孔に挿通され、前記口金本体の外側で前記口金ピンに接続される
照明用光源。
A long substrate on which a light emitting element is arranged;
A long casing in which the substrate is disposed;
A base provided at an end in a longitudinal direction of the housing;
A lead wire for electrically connecting the substrate and the base;
The base is
A bottomed cylindrical base body provided with a first through hole;
A base pin fixed to the base body so as to be exposed to the outside of the base body;
The light source for illumination, wherein the lead wire is inserted into the first through hole and connected to the base pin outside the base body.
前記口金ピンには、第2貫通孔が設けられ、
前記リード線は、前記第2貫通孔にさらに挿通され、前記口金ピンに接続される
請求項1に記載の照明用光源。
The base pin is provided with a second through hole,
The illumination light source according to claim 1, wherein the lead wire is further inserted into the second through hole and connected to the cap pin.
前記第1貫通孔と前記第2貫通孔とは、貫通方向に連続している
請求項2に記載の照明用光源。
The illumination light source according to claim 2, wherein the first through hole and the second through hole are continuous in a through direction.
前記口金ピンは、前記口金本体の外面から外方にのみ突出するように固定されている
請求項1〜3のいずれか1項に記載の照明用光源。
The light source for illumination according to any one of claims 1 to 3, wherein the base pin is fixed so as to protrude only outward from an outer surface of the base body.
前記第1貫通孔の少なくとも一部分は、前記口金本体の内側に露出した開口を有し、前記口金本体の内側から外側に向かう方向を先端方向とするテーパー孔である
請求項1〜4のいずれか1項に記載の照明用光源。
The at least part of the first through hole is a tapered hole having an opening exposed on the inner side of the base body and having a direction from the inner side to the outer side of the base body as a tip direction. The light source for illumination according to item 1.
前記リード線は、前記口金ピンに半田付けによって接続される
請求項1〜5のいずれか1項に記載の照明用光源。
The illumination light source according to claim 1, wherein the lead wire is connected to the base pin by soldering.
請求項1〜6のいずれか1項に記載の照明用光源を備える照明装置。   An illuminating device provided with the light source for illumination of any one of Claims 1-6.
JP2014040682A 2014-03-03 2014-03-03 Illumination light source and illumination device Active JP6281815B2 (en)

Priority Applications (1)

Application Number Priority Date Filing Date Title
JP2014040682A JP6281815B2 (en) 2014-03-03 2014-03-03 Illumination light source and illumination device

Applications Claiming Priority (1)

Application Number Priority Date Filing Date Title
JP2014040682A JP6281815B2 (en) 2014-03-03 2014-03-03 Illumination light source and illumination device

Publications (2)

Publication Number Publication Date
JP2015167073A true JP2015167073A (en) 2015-09-24
JP6281815B2 JP6281815B2 (en) 2018-02-21

Family

ID=54257874

Family Applications (1)

Application Number Title Priority Date Filing Date
JP2014040682A Active JP6281815B2 (en) 2014-03-03 2014-03-03 Illumination light source and illumination device

Country Status (1)

Country Link
JP (1) JP6281815B2 (en)

Citations (5)

* Cited by examiner, † Cited by third party
Publication number Priority date Publication date Assignee Title
JPS61157247U (en) * 1985-03-22 1986-09-29
JP2011108384A (en) * 2009-11-13 2011-06-02 Smk Corp Led lighting device
JP2011113876A (en) * 2009-11-27 2011-06-09 Fdk Corp Led type illumination device
JP2012209114A (en) * 2011-03-29 2012-10-25 Nec Lighting Ltd Fluorescent lamp
JP2012238502A (en) * 2011-05-12 2012-12-06 Toshiba Lighting & Technology Corp Light-emitting device, lighting device, and lighting fixture

Patent Citations (5)

* Cited by examiner, † Cited by third party
Publication number Priority date Publication date Assignee Title
JPS61157247U (en) * 1985-03-22 1986-09-29
JP2011108384A (en) * 2009-11-13 2011-06-02 Smk Corp Led lighting device
JP2011113876A (en) * 2009-11-27 2011-06-09 Fdk Corp Led type illumination device
JP2012209114A (en) * 2011-03-29 2012-10-25 Nec Lighting Ltd Fluorescent lamp
JP2012238502A (en) * 2011-05-12 2012-12-06 Toshiba Lighting & Technology Corp Light-emitting device, lighting device, and lighting fixture

Also Published As

Publication number Publication date
JP6281815B2 (en) 2018-02-21

Similar Documents

Publication Publication Date Title
JP6288434B2 (en) Illumination light source and illumination device
JP6283910B2 (en) Illumination light source and illumination device
JP6213913B2 (en) Illumination light source and illumination device
JP2015065087A (en) Illumination light source and illumination device
JP2015149165A (en) Light source for lighting and lighting device
JP6198051B2 (en) Illumination light source and illumination device
JP2015164112A (en) Light source for lighting and lighting device
JP6281815B2 (en) Illumination light source and illumination device
JP6156741B2 (en) Illumination light source and illumination device
JP6206803B2 (en) Illumination light source and illumination device
JP6252758B2 (en) Illumination light source and illumination device
JP6260956B2 (en) Illumination light source and illumination device
JP6252732B2 (en) Illumination light source and illumination device
JP2015170463A (en) Light source of lighting and lighting device
JP6146714B2 (en) Illumination light source and illumination device
JP6152983B2 (en) Illumination light source and illumination device
JP6198128B2 (en) Illumination light source and illumination device
JP6268574B2 (en) Illumination light source and illumination device
JP6145731B2 (en) Illumination light source and illumination device
JP6152982B2 (en) Illumination light source and illumination device
JP2015167090A (en) Light source of lighting and lighting device
JP2015149248A (en) Illumination light source and illumination device
JP2015065094A (en) Light source for lighting and lighting device
JP2015149168A (en) Light source for lighting and lighting device
CN104832799B (en) Light source for illumination and illumination device

Legal Events

Date Code Title Description
A621 Written request for application examination

Free format text: JAPANESE INTERMEDIATE CODE: A621

Effective date: 20161219

A977 Report on retrieval

Free format text: JAPANESE INTERMEDIATE CODE: A971007

Effective date: 20170913

A131 Notification of reasons for refusal

Free format text: JAPANESE INTERMEDIATE CODE: A131

Effective date: 20170926

A521 Request for written amendment filed

Free format text: JAPANESE INTERMEDIATE CODE: A523

Effective date: 20171030

TRDD Decision of grant or rejection written
A01 Written decision to grant a patent or to grant a registration (utility model)

Free format text: JAPANESE INTERMEDIATE CODE: A01

Effective date: 20180109

A61 First payment of annual fees (during grant procedure)

Free format text: JAPANESE INTERMEDIATE CODE: A61

Effective date: 20180112

R151 Written notification of patent or utility model registration

Ref document number: 6281815

Country of ref document: JP

Free format text: JAPANESE INTERMEDIATE CODE: R151