JP2015081596A - 送風装置 - Google Patents
送風装置 Download PDFInfo
- Publication number
- JP2015081596A JP2015081596A JP2013221540A JP2013221540A JP2015081596A JP 2015081596 A JP2015081596 A JP 2015081596A JP 2013221540 A JP2013221540 A JP 2013221540A JP 2013221540 A JP2013221540 A JP 2013221540A JP 2015081596 A JP2015081596 A JP 2015081596A
- Authority
- JP
- Japan
- Prior art keywords
- motor
- bent
- cooling plate
- blower
- air
- Prior art date
- Legal status (The legal status is an assumption and is not a legal conclusion. Google has not performed a legal analysis and makes no representation as to the accuracy of the status listed.)
- Pending
Links
Images
Landscapes
- Structures Of Non-Positive Displacement Pumps (AREA)
Abstract
【課題】風量を落とすことなくモータの温度を下げることができる送風装置を提供すること。
【解決手段】吸気口3及び排気口4が形成された本体箱体21と、本体箱体21に組み込まれ、モータ22とモータ22の出力軸に取付けられた多翼遠心羽根28からなる遠心式送風機11と、多翼遠心羽根28を取り囲み、吸気口3から吸い込まれた空気を取り込む吸込口及び空気を排気口4へ吐き出す吐出口7を有する羽根ケーシング24、26と、を備え、モータ22は、吸込口の内側に位置し、端部が折り曲げられた折り曲げ冷却プレート30が取り付けられているものである。
【選択図】図4
【解決手段】吸気口3及び排気口4が形成された本体箱体21と、本体箱体21に組み込まれ、モータ22とモータ22の出力軸に取付けられた多翼遠心羽根28からなる遠心式送風機11と、多翼遠心羽根28を取り囲み、吸気口3から吸い込まれた空気を取り込む吸込口及び空気を排気口4へ吐き出す吐出口7を有する羽根ケーシング24、26と、を備え、モータ22は、吸込口の内側に位置し、端部が折り曲げられた折り曲げ冷却プレート30が取り付けられているものである。
【選択図】図4
Description
本発明は、換気扇、空気調和機等の送風装置に関し、特にモータの冷却性能の向上に関するものである。
従来、天井や壁等に埋め込み、室内の空気を換気する送風装置が用いられている。近年、この種の送風装置においては小型、軽量化をした上での高出力、使用環境温度の広範囲対応化が求められており、さらには法規制による外郭温度の規制への対応が必要となっている。
モータは、巻線による熱やモータシャフトを支えるベアリングの摩擦により発熱する。そして、モータの温度が上昇すると、ベアリング温度も同じく上昇するためグリスが劣化し、結果としてモータ寿命が短くなる。そのため、モータの発熱による発火等からの回避、またはモータ動作の安定化のためにモータから発生する熱を適切に放熱させることが要求される。
従来技術として、モータに放熱性の高いプレート(例えば鋼板性)を具備したり、強制的な通風を当てたりすることで、冷却性能を高める手段がある(例えば特許文献1参照)。
特許文献1に記載の送風装置は、強制的な通風によってモータの冷却性能を高めるため、本体内に強制的な通風用の機構(通風孔等)や、さらには補助ファンといった付加部品用のスペースが必要となり、本体の大型化やコストアップを引き起こす原因となっていた。
強制的な通風によってモータの小型化による発熱の増大分も放熱させることができれば、モータの小型化によりコストダウンできる。しかし、近年の小型化、高出力化が求められる使用環境においては、モータを限界領域の高出力で使用することが多く、強制的な通風による放熱は法規制の回避が限度であるため、モータの小型化までは困難である。
したがって、モータの小型化によるコストダウンは見込めず、強制的な通風用の機構はコストアップを引き起こす原因となってしまうため、小型化、低コスト化には、大がかりな通風装置を用いたモータの放熱は現実的に厳しいという課題があった。
強制的な通風によってモータの小型化による発熱の増大分も放熱させることができれば、モータの小型化によりコストダウンできる。しかし、近年の小型化、高出力化が求められる使用環境においては、モータを限界領域の高出力で使用することが多く、強制的な通風による放熱は法規制の回避が限度であるため、モータの小型化までは困難である。
したがって、モータの小型化によるコストダウンは見込めず、強制的な通風用の機構はコストアップを引き起こす原因となってしまうため、小型化、低コスト化には、大がかりな通風装置を用いたモータの放熱は現実的に厳しいという課題があった。
また、モータの冷却性能を高めるための安価な手段として、モータに取り付けられる放熱性を有する板材の冷却プレートが挙げられるが、放熱効果は冷却プレートの表面積に比例するため、近年の使用状況から右肩上がりに大型化する傾向がある。
また、両吸込型の遠心式送風機を組み込んだ送風装置では、モータ側の吸込口にはモータやその取り付け脚等があり、その狭小領域内にモータ放熱用の過大な冷却プレートを設置すると気流の乱れが生じやすくなる。そして、それが吸込口での抵抗となって風量が低下したり騒音が増大したりする原因となるため好ましくない。そのため、風量確保のためにはさらなる高出力化を強いられ、これが再び温度上昇を引き起こすという課題があった。
また、両吸込型の遠心式送風機を組み込んだ送風装置では、モータ側の吸込口にはモータやその取り付け脚等があり、その狭小領域内にモータ放熱用の過大な冷却プレートを設置すると気流の乱れが生じやすくなる。そして、それが吸込口での抵抗となって風量が低下したり騒音が増大したりする原因となるため好ましくない。そのため、風量確保のためにはさらなる高出力化を強いられ、これが再び温度上昇を引き起こすという課題があった。
本発明は、以上のような課題のうち少なくとも一つを解決するためになされたもので、風量を落とすことなくモータの温度を下げることができる送風装置を提供することを目的としている。
本発明に係る送風装置は、吸気口及び排気口が形成された本体箱体と、前記本体箱体に組み込まれ、モータと該モータの出力軸に取付けられた多翼遠心羽根からなる遠心式送風機と、前記多翼遠心羽根を取り囲み、前記吸気口から吸い込まれた空気を取り込む吸込口及び前記空気を前記排気口へ吐き出す吐出口を有する羽根ケーシングと、を備え、前記モータは、前記吸込口の内側に位置し、端部が折り曲げられた折り曲げ冷却プレートが取り付けられているものである。
本発明に係る送風装置によれば、折り曲げ冷却プレートをモータに取り付けることで、整流効果により吸込口での抵抗を減らすことができ、圧力損失も減らすことができる。そのため、風量を落とすことなくモータの温度を下げることができる。
以下、本発明の実施の形態を図面に基づいて説明する。なお、以下に説明する実施の形態によって本発明が限定されるものではない。また、以下の図面では各構成部材の大きさの関係が実際のものとは異なる場合がある。
実施の形態.
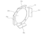
図1は、本発明の実施の形態に係る送風装置10aをモータ取り付け面側から見た斜視図、図2は、図1の送風装置10aにダクト1a、1bを接続し、モータ22から折り曲げ冷却プレート30を取り外した際のA−A断面図、図3は、本発明の実施の形態に係る折り曲げ冷却プレート30がモータ22に取り付けられた状態を示す斜視図、図4は、本発明の実施の形態に係る折り曲げ冷却プレート30の斜視図である。なお、図2中の矢印は、後述する空気の経路を示している。
実施の形態.
図1は、本発明の実施の形態に係る送風装置10aをモータ取り付け面側から見た斜視図、図2は、図1の送風装置10aにダクト1a、1bを接続し、モータ22から折り曲げ冷却プレート30を取り外した際のA−A断面図、図3は、本発明の実施の形態に係る折り曲げ冷却プレート30がモータ22に取り付けられた状態を示す斜視図、図4は、本発明の実施の形態に係る折り曲げ冷却プレート30の斜視図である。なお、図2中の矢印は、後述する空気の経路を示している。
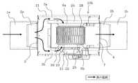
本実施の形態に係る送風装置10aは、建物の天井裏等の空間に設置されて、天井裏等に設けられたダクト1a、1bを介して室内の空気を吸込み室外へ排気して換気を行うものである。
本実施の形態に係る送風装置10aは、装置の外装を成すとともに外部ケーシングの働きもする直方体の本体箱体21を有し、長手方向に対向する2側面には吸気口3または排気口4が形成されている。そして、吸気口3にはダクト接続口2aが、排気口4にはダクト接続口2bがそれぞれ設けられており、ダクト接続口2aにはダクト1aが、ダクト接続口2bにはダクト1bがそれぞれ接続される。
本体箱体21内には、遠心式送風機11が組み込まれており、遠心式送風機11は、モータ取付け脚23で本体箱体21に取り付けられるモータ22と、その出力軸に取付けられた両吸込型の多翼遠心羽根28と、からなる。
多翼遠心羽根28は、吸込口6aを有し、モータ22とは逆側(すなわち反モータ側)に位置するスクロール形状の羽根ケーシング24と、吸込口6bを有し、モータ側に位置するスクロール形状の羽根ケーシング26と、で取り囲まれている。このとき、モータ22は、吸込口6bの内側に位置しており、吸込口6aと吸込口6bはモータ22の出力軸方向に対向している。
また、羽根ケーシング24、26で吐出口7を形成している。
また、羽根ケーシング24、26で吐出口7を形成している。
そして、遠心式送風機11は、多翼遠心羽根28が水平面(または垂直面)で回転するように設置され、本体箱体21の排気口4側に偏心して(片寄って)組込まれている。
また、モータ22の外周には図1及び図3に示すように、放熱させるための折り曲げ冷却プレート30が取り付けられている。この折り曲げ冷却プレート30は、図4に示すようにその端部30aが折り曲げられており、中央にはモータ22の外周に取り付けるための円形の穴30bが形成されている。
また、本体箱体21には、図示省略のアンカーボルト等により吊り固定するための天吊金具20が、例えば4個取り付けられている。
また、モータ22の外周には図1及び図3に示すように、放熱させるための折り曲げ冷却プレート30が取り付けられている。この折り曲げ冷却プレート30は、図4に示すようにその端部30aが折り曲げられており、中央にはモータ22の外周に取り付けるための円形の穴30bが形成されている。
また、本体箱体21には、図示省略のアンカーボルト等により吊り固定するための天吊金具20が、例えば4個取り付けられている。
本実施の形態に係る送風装置10aの運転時には、図2に示すように、両吸込型の多翼遠心羽根28の回転によりダクト1aを通じて吸気口3から送風装置10aに取り込まれた空気は、一旦分かれる。そして、その分かれた空気はそれぞれ本体箱体21内に形成された風路5a、5bを通り、吸込口6a、6bから遠心式送風機11内に入り、そこで合流する。その後、合流した空気は吐出口7から吐き出され、排気口4を通してダクト1bから屋外に排出されるという、吸気から排気への経路を直線的にした特徴をもつ。
図5は、モータ22に平型冷却プレート29を取り付けた従来の送風装置10bの断面図、図6は、モータ22に折り曲げ冷却プレート30を取り付け、外側に折り曲げた本実施の形態に係る送風装置10aの断面図、図7は、モータ22に折り曲げ冷却プレート30を取り付け、内側に折り曲げた本実施の形態に係る送風装置10aの断面図である。なお、図5〜図7中の矢印は、図2と同様に空気の経路を示している。
平型冷却プレート29は、図5に示すように折り曲げ面を有しておらず、折り曲げ冷却プレート30は、その端部30aが図6では送風装置10aの外側(多翼遠心羽根28と反対側)に、図7では送風装置10aの内側(多翼遠心羽根28側)に、それぞれ折り曲げられており、折り曲げ面を有している。
平型冷却プレート29は、図5に示すように折り曲げ面を有しておらず、折り曲げ冷却プレート30は、その端部30aが図6では送風装置10aの外側(多翼遠心羽根28と反対側)に、図7では送風装置10aの内側(多翼遠心羽根28側)に、それぞれ折り曲げられており、折り曲げ面を有している。
遠心式送風機11内に空気を取り込む際に、図5に示す従来の平型冷却プレート29では、気流の乱れが生じやすく、それが吸込口6bでの抵抗の増大となり、圧力損失の増大となっていた。それに対し、図6及び図7に示す折り曲げ冷却プレート30では、折り曲げ面に沿って空気が流れるため、気流の乱れが生じにくく整流効果が得られる。そのため、図5に示す平型冷却プレート29と比べ、整流効果により吸込口6bでの抵抗を減らすことができ、圧力損失も減らすことができるため、風量が低下することなく温度を下げることができ、さらには騒音の悪化も抑制することができる。
また、折り曲げ冷却プレート30は、その端部30aが折り曲げられているため、同じ外形寸法であっても表面積を増大させることができ、折り曲げ冷却プレート30の表面からのモータ22の放熱量を増大させることができるため、従来よりもモータ22の冷却性能を高めることができる。そして、風量についても吸込口6bでの抵抗を減らすことができ、圧力損失も減らすことができるため、必要換気量を満たすことができる。
折り曲げ冷却プレート30が、例えば端部30aを4つ有する場合、その折り曲げ箇所は、モータ温度の目標値から4つの端部30aのうち任意の数を折り曲げればよく、その折り曲げ角度も部品加工上、可能な範囲であれば特に制限されるものではないが、10度未満の鈍角曲げだと折り曲げによる効果が小さくなり好ましくない。また、折り曲げ方向も一方向に制限されるものではないが、一方向に揃えた方が部品加工コスト及び整流効果の両方において有利である。また、折り曲げ回数も特に制限されるものではないが、部品コスト及び加工上、本実施の形態のように1回曲げが好ましい。
図8は、従来及び本実施の形態に係る送風装置10a、10bの風量−静圧曲線図である。
図8は、プレートなしの従来の送風装置10b、平型冷却プレート29を取り付けた従来の送風装置10b、及び、折り曲げ冷却プレート30を取り付けた本実施の形態に係る送風装置10aそれぞれの風量−静圧曲線図であり、横軸はP:風量(m3/h)を、縦軸はQ:静圧(Pa)を示している。
ここで、風量とは、送風装置10a、10bが単位時間当たりに移動させる空気量のことであり、静圧とは、送風装置10a、10bにより空気に与えられた圧力で、空気が静止した状態で周囲を押す力のことである。
なお、平型冷却プレート29及び折り曲げ冷却プレート30の外形寸法は同じとする。
図8は、プレートなしの従来の送風装置10b、平型冷却プレート29を取り付けた従来の送風装置10b、及び、折り曲げ冷却プレート30を取り付けた本実施の形態に係る送風装置10aそれぞれの風量−静圧曲線図であり、横軸はP:風量(m3/h)を、縦軸はQ:静圧(Pa)を示している。
ここで、風量とは、送風装置10a、10bが単位時間当たりに移動させる空気量のことであり、静圧とは、送風装置10a、10bにより空気に与えられた圧力で、空気が静止した状態で周囲を押す力のことである。
なお、平型冷却プレート29及び折り曲げ冷却プレート30の外形寸法は同じとする。
図8に示すように、従来の平型冷却プレート29では、吸込口6bでの抵抗が増え、圧力損失も高くなるため、従来のプレートなしの場合と比較して風量、静圧ともに低くなる。一方、本実施の形態に係る折り曲げ冷却プレート30では、整流効果により吸込口6bでの抵抗を減らすことができ、圧力損失も減らすことができるため、従来のプレートなしの場合と比較して風量、静圧ともに高くなる。
以上より、本実施の形態に係る送風装置10aにおいて、折り曲げ冷却プレート30をモータ22に取り付けることで、整流効果により吸込口6bでの抵抗を減らすことができ、圧力損失も減らすことができる。そのため、風量を落とすことなくモータ22の温度を下げることができ、さらには騒音の悪化も抑制することができる。また、折り曲げ冷却プレート30は、その端部30aが折り曲げられているため、同じ外形寸法であっても表面積を増大させることができ、折り曲げ冷却プレート30の表面からのモータ22の放熱量を増大させることができる。そのため、従来よりもモータ22の冷却性能を高めることができる。また、モータ22の冷却性能が同じであれば、折り曲げ冷却プレート30の外形寸法を小さくできるため、送風装置10aの小型化、軽量化ができる。
そのため、本実施の形態に係る折り曲げ冷却プレート30は、モータ出力を高めた送風装置において、小型、軽量化を狙った上で安価にモータの放熱が必要な送風装置に有用である。
1a ダクト、1b ダクト、2a ダクト接続口、2b ダクト接続口、3 吸気口、4 排気口、5a 風路、5b 風路、6a 吸込口、6b 吸込口、7 吐出口、10a 送風装置、10b 送風装置、11 遠心式送風機、20 天井金具、21 本体箱体、22 モータ、23 モータ取付け脚、24 羽根ケーシング、26 羽根ケーシング、28 多翼遠心羽根、29 平型冷却プレート、30 折り曲げ冷却プレート、30a 端部、30b 穴。
Claims (8)
- 吸気口及び排気口が形成された本体箱体と、
前記本体箱体に組み込まれ、モータと該モータの出力軸に取付けられた多翼遠心羽根からなる遠心式送風機と、
前記多翼遠心羽根を取り囲み、前記吸気口から吸い込まれた空気を取り込む吸込口及び前記空気を前記排気口へ吐き出す吐出口を有する羽根ケーシングと、を備え、
前記モータは、
前記吸込口の内側に位置し、
端部が折り曲げられた折り曲げ冷却プレートが取り付けられている
ことを特徴とする送風装置。 - 前記羽根ケーシングは、
前記モータの出力軸方向に対向する前記吸込口を2つ備え、
前記モータは、
前記吸込口のうち一方の内側に位置している
ことを特徴とする請求項1に記載の送風装置。 - 前記折り曲げ冷却プレートは、
前記モータの外周に取り付けられている
ことを特徴とする請求項1または2に記載の送風装置。 - 前記折り曲げ冷却プレートは、
端部が前記多翼遠心羽根側に折り曲げられている
ことを特徴とする請求項1〜3のいずれか一項に記載の送風装置。 - 前記折り曲げ冷却プレートは、
端部が前記多翼遠心羽根と反対側に折り曲げられている
ことを特徴とする請求項1〜3のいずれか一項に記載の送風装置。 - 前記折り曲げ冷却プレートの端部の折り曲げ角度は10度以上である
ことを特徴とする請求項1〜5のいずれか一項に記載の送風装置。 - 前記折り曲げ冷却プレートは、
複数の端部を有し、該端部のうち任意の数が折り曲げられている
ことを特徴とする請求項1〜6のいずれか一項に記載の送風装置。 - 前記折り曲げ冷却プレートの端部は折り曲げ方向が一方向に揃えられている
ことを特徴とする請求項7に記載の送風装置。
Priority Applications (1)
| Application Number | Priority Date | Filing Date | Title |
|---|---|---|---|
| JP2013221540A JP2015081596A (ja) | 2013-10-24 | 2013-10-24 | 送風装置 |
Applications Claiming Priority (1)
| Application Number | Priority Date | Filing Date | Title |
|---|---|---|---|
| JP2013221540A JP2015081596A (ja) | 2013-10-24 | 2013-10-24 | 送風装置 |
Publications (1)
| Publication Number | Publication Date |
|---|---|
| JP2015081596A true JP2015081596A (ja) | 2015-04-27 |
Family
ID=53012331
Family Applications (1)
| Application Number | Title | Priority Date | Filing Date |
|---|---|---|---|
| JP2013221540A Pending JP2015081596A (ja) | 2013-10-24 | 2013-10-24 | 送風装置 |
Country Status (1)
| Country | Link |
|---|---|
| JP (1) | JP2015081596A (ja) |
Cited By (4)
| Publication number | Priority date | Publication date | Assignee | Title |
|---|---|---|---|---|
| CN105386990A (zh) * | 2015-12-16 | 2016-03-09 | 万鹏昌 | 一种节能风机组件 |
| CN107313951A (zh) * | 2017-08-04 | 2017-11-03 | 广东美的制冷设备有限公司 | 双离心风机及空调器 |
| CN107355422A (zh) * | 2017-08-04 | 2017-11-17 | 广东美的制冷设备有限公司 | 离心风轮及离心风机 |
| CN110259711A (zh) * | 2019-07-01 | 2019-09-20 | 肖志林 | 一种双叶轮低噪音风机 |
Citations (1)
| Publication number | Priority date | Publication date | Assignee | Title |
|---|---|---|---|---|
| JP2004245125A (ja) * | 2003-02-13 | 2004-09-02 | Mitsubishi Electric Corp | 送風装置 |
-
2013
- 2013-10-24 JP JP2013221540A patent/JP2015081596A/ja active Pending
Patent Citations (1)
| Publication number | Priority date | Publication date | Assignee | Title |
|---|---|---|---|---|
| JP2004245125A (ja) * | 2003-02-13 | 2004-09-02 | Mitsubishi Electric Corp | 送風装置 |
Cited By (4)
| Publication number | Priority date | Publication date | Assignee | Title |
|---|---|---|---|---|
| CN105386990A (zh) * | 2015-12-16 | 2016-03-09 | 万鹏昌 | 一种节能风机组件 |
| CN107313951A (zh) * | 2017-08-04 | 2017-11-03 | 广东美的制冷设备有限公司 | 双离心风机及空调器 |
| CN107355422A (zh) * | 2017-08-04 | 2017-11-17 | 广东美的制冷设备有限公司 | 离心风轮及离心风机 |
| CN110259711A (zh) * | 2019-07-01 | 2019-09-20 | 肖志林 | 一种双叶轮低噪音风机 |
Similar Documents
| Publication | Publication Date | Title |
|---|---|---|
| CN202835597U (zh) | 空调装置的室外单元 | |
| JP5252070B2 (ja) | 軸流ファン | |
| US10544790B2 (en) | Ceiling fan including a heat-dissipating device | |
| JP2015081596A (ja) | 送風装置 | |
| JP6234361B2 (ja) | 送風装置 | |
| DE602005014684D1 (de) | Ausseneinheit für klimaanlage der geteilten bauart | |
| JP2008050993A (ja) | 両吸込型遠心送風機 | |
| CN102918331B (zh) | 换气装置 | |
| KR20090115278A (ko) | 덕트형 공기조화기 | |
| US20200132313A1 (en) | Cooling system | |
| AU2017410135A1 (en) | Propeller fan and outdoor unit for air-conditioning apparatus | |
| CN101025164A (zh) | 换气扇 | |
| JP2014105901A (ja) | 空気調和機の室外機 | |
| JP4724101B2 (ja) | 送風装置 | |
| JP2009052856A (ja) | 空気調和機の室外機 | |
| JP2014238195A (ja) | 送風装置 | |
| JP6246118B2 (ja) | 送風装置 | |
| JP6974760B2 (ja) | モータ組立体、及び、空気調和装置 | |
| JP6502632B2 (ja) | 室外機及びこの室外機を備えた空気調和機 | |
| JP2008106611A (ja) | 遠心ファン | |
| JP5747149B2 (ja) | 消音ボックス付送風機 | |
| CN220506977U (zh) | 空调室内机及空调器 | |
| JP5524396B2 (ja) | 送風装置 | |
| JP2013214624A (ja) | 電気機器の冷却装置 | |
| JPH11223365A (ja) | 空気調和機 |
Legal Events
| Date | Code | Title | Description |
|---|---|---|---|
| A621 | Written request for application examination |
Free format text: JAPANESE INTERMEDIATE CODE: A621 Effective date: 20150713 |
|
| A977 | Report on retrieval |
Free format text: JAPANESE INTERMEDIATE CODE: A971007 Effective date: 20160422 |
|
| A131 | Notification of reasons for refusal |
Free format text: JAPANESE INTERMEDIATE CODE: A131 Effective date: 20160510 |
|
| A02 | Decision of refusal |
Free format text: JAPANESE INTERMEDIATE CODE: A02 Effective date: 20161108 |