JP2014224403A - Floor joint cover device - Google Patents

Floor joint cover device Download PDF

Info

Publication number
JP2014224403A
JP2014224403A JP2013104325A JP2013104325A JP2014224403A JP 2014224403 A JP2014224403 A JP 2014224403A JP 2013104325 A JP2013104325 A JP 2013104325A JP 2013104325 A JP2013104325 A JP 2013104325A JP 2014224403 A JP2014224403 A JP 2014224403A
Authority
JP
Japan
Prior art keywords
cover member
end side
wall
floor
base end
Prior art date
Legal status (The legal status is an assumption and is not a legal conclusion. Google has not performed a legal analysis and makes no representation as to the accuracy of the status listed.)
Granted
Application number
JP2013104325A
Other languages
Japanese (ja)
Other versions
JP6053158B2 (en
Inventor
謙太郎 山本
Kentaro Yamamoto
謙太郎 山本
Current Assignee (The listed assignees may be inaccurate. Google has not performed a legal analysis and makes no representation or warranty as to the accuracy of the list.)
Chubu Corp
Original Assignee
Chubu Corp
Priority date (The priority date is an assumption and is not a legal conclusion. Google has not performed a legal analysis and makes no representation as to the accuracy of the date listed.)
Filing date
Publication date
Application filed by Chubu Corp filed Critical Chubu Corp
Priority to JP2013104325A priority Critical patent/JP6053158B2/en
Publication of JP2014224403A publication Critical patent/JP2014224403A/en
Application granted granted Critical
Publication of JP6053158B2 publication Critical patent/JP6053158B2/en
Active legal-status Critical Current
Anticipated expiration legal-status Critical

Links

Images

Landscapes

  • Building Environments (AREA)

Abstract

【課題】2つの床躯体の間の目地をカバー部材により覆う床目地カバー装置において、構造簡単で床躯体とカバー部材の間に隙間が生じることがない構造を提供する。【解決手段】一方の床躯体Aに設けた第1凹部A1の受面A1a上に連結ロッド9を立設固定し、基端側となる側壁11aの内側に空間部12を形成したカバー部材10の基端側を、連結ロッドが空間部内に入るように受面上に載置して揺動可能に支持する。複数巻きのつる巻部15aとその両端部を延ばした2本の延長部15bよりなるトーションばね15を連結ロッドがつる巻部内を通るように空間部内に入れ、各延長部を互いに逆向きに回動されるように弾性変形させ、各延長部の先端部によりカバー部材の基端側の側壁の内面に弾性的押圧力を加え、この押圧力の反力を連結ロッドにより受け止めて、基端側の側壁を一方の床躯体の第1凹部の垂直面A1bに向けて弾性的に付勢する。【選択図】図1In a floor joint cover device that covers a joint between two floor casings with a cover member, a structure is simple and a structure in which no gap is generated between the floor casing and the cover member is provided. A cover member in which a connecting rod is erected and fixed on a receiving surface A1a of a first recess A1 provided in one floor case A, and a space portion 12 is formed inside a side wall 11a on the base end side. The base end side is placed on the receiving surface so that the connecting rod enters the space, and is swingably supported. A torsion spring 15 consisting of a plurality of vine winding portions 15a and two extension portions 15b extending at both ends thereof is inserted into the space portion so that the connecting rod passes through the winding portion, and the respective extension portions are rotated in opposite directions. It is elastically deformed so as to be moved, and an elastic pressing force is applied to the inner surface of the proximal side wall of the cover member by the distal end portion of each extension, and the reaction force of this pressing force is received by the connecting rod, Is elastically urged toward the vertical surface A1b of the first recess of one floor case. [Selection] Figure 1

Description

本発明は、少なくとも一方が免震装置を介して地盤上に設置され、所定幅の目地Cを隔てて水平方向に互いに向かい合い、通常は少なくとも何れか一方に建造物が設けられる第1及び第2床躯体と、この目地を覆うカバー部材よりなる床目地カバー装置に関する。   In the present invention, at least one is installed on the ground via a seismic isolation device, faces each other in the horizontal direction with a joint C having a predetermined width, and normally at least one of them is provided with a building. The present invention relates to a floor joint cover device including a floor frame and a cover member covering the joint.

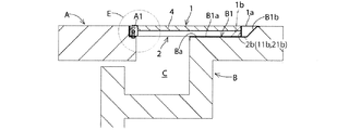
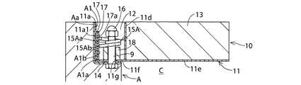
この種の床目地カバー装置としては、例えば特開2011−47103号公報(特許文献1)の図9に開示されたものがある。先ずこの背景技術を図14〜図19により説明する。図17及び図18にはこの床目地カバー装置の全体構造を示し、図14には図18の丸で囲った部分Eの拡大断面図を示している。少なくとも一方が免震装置を介して地盤上に設置された2つの床躯体A,Bは、所定幅の目地Cを隔てて水平方向に向かい合っており、目地Cは箱状のフレーム2を備えたカバー部材1により覆われている。   An example of this type of floor joint cover device is disclosed in FIG. 9 of Japanese Patent Application Laid-Open No. 2011-47103 (Patent Document 1). First, this background art will be described with reference to FIGS. 17 and 18 show the overall structure of the floor joint cover device, and FIG. 14 shows an enlarged cross-sectional view of a portion E surrounded by a circle in FIG. Two floor frames A and B, at least one of which is installed on the ground via a seismic isolation device, face each other in a horizontal direction with a joint C having a predetermined width, and the joint C includes a box-shaped frame 2. Covered by the cover member 1.

図14及び図18に示すように、第1床躯体Aの上面には目地Cに沿ってカバー部材1の第1床躯体A側となる基端部の厚さと実質的に同じ深さで受面A1aと垂直面A1bよりなる段状の第1凹部A1が形成され、その受面A1aには複数の連結ロッド9が立設固定されている。この第1凹部A1は断面がL字形に折曲された鋼板よりなる受枠板Aaが一体的に固着されて覆われ、六角ボルトよりなる複数の連結ロッド9は受枠板Aaの受面A1a側となる底板に設けた孔に下側から挿通され、頭部を底板の下面に当接して溶接固着されている。また、受枠板Aaの底板上には、カバー部材1の基端側を支持するゴム板などよりなる支持部材7が固着されている。   As shown in FIGS. 14 and 18, the upper surface of the first floor case A is received at a depth substantially the same as the thickness of the base end portion of the cover member 1 on the first floor case A side along the joint C. A step-shaped first recess A1 composed of a surface A1a and a vertical surface A1b is formed, and a plurality of connecting rods 9 are erected and fixed to the receiving surface A1a. The first recess A1 is covered with a receiving frame plate Aa made of a steel plate whose section is bent in an L shape, and the plurality of connecting rods 9 made of hexagon bolts are connected to the receiving surface A1a side of the receiving frame plate Aa. The bottom plate is inserted through a hole from below, and the head is brought into contact with the lower surface of the bottom plate and fixed by welding. A support member 7 made of a rubber plate or the like that supports the base end side of the cover member 1 is fixed on the bottom plate of the receiving frame plate Aa.

第2床躯体Bの上面には目地Cに沿って、カバー部材1の先端部の厚さと実質的に同じ深さで第1凹部A1よりも幅が広い第2凹部B1が形成され、この第2凹部B1は底面B1aと、その目地Cから最も離れた先端縁から第2床躯体Bの上面に向かって立ち上がる傾斜面B1bを有している。この第2凹部B1の底面B1a及び傾斜面B1b、並びに底面B1aの前縁より下向きに延びる第2床躯体Bの前面の一部及び傾斜面B1bの上縁より後向きに延びる第2床躯体Bの上面の一部は、折曲された鋼板よりなる摺動板Baが一体的に固着されて覆われている。   A second recess B1 having a depth substantially the same as the thickness of the tip of the cover member 1 and having a width wider than the first recess A1 is formed on the upper surface of the second floor frame B along the joint C. The two concave portions B1 have a bottom surface B1a and an inclined surface B1b that rises from the tip edge farthest from the joint C toward the upper surface of the second floor frame B. The bottom surface B1a and the inclined surface B1b of the second recess B1, and a part of the front surface of the second floor frame B extending downward from the front edge of the bottom surface B1a and the second floor frame B extending rearward from the upper edge of the inclined surface B1b. A part of the upper surface is covered with a sliding plate Ba made of a bent steel plate.

カバー部材1のフレーム2は、四角形の底板2eと、この底板2eの四辺に直交して固着されてカバー部材1の厚さを定める基端側の側壁2a、先端側の側壁2b及び左右の両側壁2cと、基端側の側壁2aの両端部付近と左右の両側壁2cの基端部近くの間に両端が連結されて直立方体形状の空間部3を形成する平面視においてL字形に折曲された仕切壁2dと、空間部3の下側を閉じる底壁2fよりなり、底壁2fには基端側の側壁2aと直交方向に長い長孔状で連結ロッド9を挿通する挿通孔2gが形成されている。底板2eの上側で各側壁2a〜2cにより形成される空間のうち仕切壁2dにより形成される空間部3を除く部分は、モルタルなどの充填材4a及びタイルなどの床仕上げ材4bよりなる舗装材4により充填されている。フレーム2には、断面形状がL形で短辺が先端側の側壁2bに固着され、長辺がその上縁より基端側とは反対向きに延びる先端部カバー板1aが設けられている。このフレーム2及び先端部カバー板1aの素材は何れも鋼板であり、溶接あるいはボルト止めなどにより一体的に連結されている。   The frame 2 of the cover member 1 includes a rectangular bottom plate 2e, a proximal side wall 2a, a distal side wall 2b, and left and right sides fixed to the four sides of the bottom plate 2e so as to determine the thickness of the cover member 1. Folded into an L shape in plan view in which the both ends are connected between the wall 2c and the vicinity of both end portions of the side wall 2a on the base end side and the base end portions of the left and right side walls 2c to form a space 3 having a rectangular shape. The bent partition wall 2d and the bottom wall 2f which closes the lower side of the space 3 are inserted into the bottom wall 2f in the shape of a long hole extending in a direction orthogonal to the proximal side wall 2a. 2g is formed. Of the space formed by the side walls 2a to 2c on the upper side of the bottom plate 2e, the portion excluding the space portion 3 formed by the partition wall 2d is a pavement made of a filler 4a such as mortar and a floor finishing material 4b such as tile. 4 is filled. The frame 2 is provided with a distal end cover plate 1a having an L-shaped cross section, a short side fixed to the side wall 2b on the distal end side, and a long side extending from the upper edge in the direction opposite to the proximal end side. The material of the frame 2 and the tip cover plate 1a is a steel plate, which are integrally connected by welding or bolting.

このようなカバー部材1は、連結ロッド9をフレーム2の底壁2fに形成した挿通孔2gを通して下側から空間部3内に挿入することにより第1床躯体Aに係合され、基端側の下面を第1床躯体Aの第1凹部A1の受面上に支持部材7を介して載置することにより、水平方向に多少移動可能で、この基端側を中心とする揺動が可能になるように支持される。また、カバー部材1の先端側は、図18に示すように地震などが起きていない目地Cの幅が正常な状態では、先端部カバー板1aの先端部の下面が第2床躯体Bの上面に当接して支持され、先端部カバー板1aを除く部分は第2床躯体Bの第2凹部B1内に収納されている。   Such a cover member 1 is engaged with the first floor case A by inserting the connecting rod 9 into the space portion 3 from the lower side through the insertion hole 2g formed in the bottom wall 2f of the frame 2, and the proximal side Is placed on the receiving surface of the first recess A1 of the first floor case A via the support member 7 so that it can move slightly in the horizontal direction and can swing around the base end side. To be supported. In addition, as shown in FIG. 18, the lower surface of the distal end portion of the distal end portion cover plate 1 a is the upper surface of the second floor case B at the distal end side of the cover member 1 when the width of the joint C is normal as shown in FIG. The portion excluding the front end cover plate 1a is accommodated in the second recess B1 of the second floor frame B.

カバー部材1を取り付ける際には、図14及び図18に示すように、連結ロッド9を底壁2fの挿通孔2gに挿通してカバー部材1の基端側を第1床躯体Aの第1凹部A1の受面A1aの上に載せ、フレーム2の基端側の側壁2aを第1凹部A1の垂直面A1bに当接させ、連結ロッド9を通すようにしてワッシャ5aとコイルばね5を底壁2fの上にセットし、ナット6を連結ロッド9の上端部にねじ込んで、底壁2fを受枠板Aaの底板上の支持部材7に軽く押圧する。空間部3上側の開口は、ゴムなどよりなるキャップ3aにより閉じられる。   When attaching the cover member 1, as shown in FIGS. 14 and 18, the connecting rod 9 is inserted into the insertion hole 2 g of the bottom wall 2 f so that the base end side of the cover member 1 is the first of the first floor case A. The washer 5a and the coil spring 5 are placed on the bottom surface A1a of the recess A1, with the side wall 2a on the base end side of the frame 2 in contact with the vertical surface A1b of the first recess A1 and through the connecting rod 9. Set on the wall 2f, screw the nut 6 into the upper end of the connecting rod 9, and lightly press the bottom wall 2f against the support member 7 on the bottom plate of the receiving frame plate Aa. The opening above the space 3 is closed by a cap 3a made of rubber or the like.

特開2011−47103号公報(段落〔0004〕、段落〔0006〕、図9)。JP2011-47103A (paragraph [0004], paragraph [0006], FIG. 9).

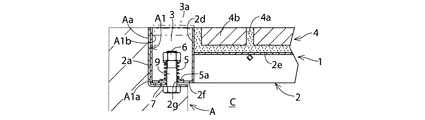
上述した特許文献1の技術では、図14に示すようにカバー部材1を取り付けた状態において、地震による横揺れなどにより両床躯体A,Bの間の目地Cの幅が変動すれば、連結ロッド9により第1床躯体Aに係合されたカバー部材1は第1床躯体Aとともに移動し、第2床躯体Bに対し相対移動する。図19に示すように両床躯体A,Bの目地Cの幅が大きく減少した場合には、カバー部材1のフレーム2の先端部が第2床躯体Bの傾斜面B1bの位置を越えてフレーム2の底面は傾斜面B1bの最上縁部により押し上げられ、カバー部材1はその基端側を中心として大きく揺動して跳ね上げられる。この状態では図19の丸で囲った部分Fの拡大断面図である図15に示すように、跳ね上げられたカバー部材1は、カバー部材1のフレーム2の基端側の側壁2aの外面の上縁が第1床躯体Aの第1凹部A1の垂直面A1bに当接し、この上縁付近を中心として揺動するので、基端側の側壁2a付近となるカバー部材1の底壁2fは支持部材7上を滑り、最も跳ね上げられた状態では、カバー部材1とこれを支持する支持部材7との間の当接線P(図15では基端側の側壁2aの外面の下縁)は第1凹部A1の垂直面A1bから距離Dだけ離れる。   In the technique of Patent Document 1 described above, if the width of the joint C between the two floor frames A and B changes due to a roll caused by an earthquake in the state where the cover member 1 is attached as shown in FIG. 9, the cover member 1 engaged with the first floor case A moves together with the first floor case A and moves relative to the second floor case B. As shown in FIG. 19, when the width of the joint C of both the floor frames A and B is greatly reduced, the tip of the frame 2 of the cover member 1 exceeds the position of the inclined surface B1 b of the second floor frame B. The bottom surface of No. 2 is pushed up by the uppermost edge of the inclined surface B1b, and the cover member 1 is swung up by being largely swung around its base end side. In this state, as shown in FIG. 15 which is an enlarged cross-sectional view of a portion F surrounded by a circle in FIG. 19, the cover member 1 that is flipped up is formed on the outer surface of the side wall 2 a on the base end side of the frame 2 of the cover member 1. Since the upper edge abuts on the vertical surface A1b of the first recess A1 of the first floor case A and swings about the vicinity of the upper edge, the bottom wall 2f of the cover member 1 near the side wall 2a on the base end side is In the state of sliding on the support member 7 and being most lifted up, the contact line P between the cover member 1 and the support member 7 supporting the cover member 1 (in FIG. 15, the lower edge of the outer surface of the side wall 2a on the base end side) is It is separated from the vertical surface A1b of the first recess A1 by a distance D.

この状態から地震が終わって目地Cの幅が元の状態に戻ると、カバー部材1は先端部カバー板1aの下面が第2床躯体Bの上面に当接して支持される水平状態に復帰するが、この際には支持部材7に対し基端側の側壁2a付近となるカバー部材1の底壁2fを滑らせる力は生じず、カバー部材1は図15に示す当接線Pを中心として揺動するので、カバー部材1の基端側の側壁2aの外面は、図16に示すように第1凹部A1の垂直面A1bから距離Dだけ離れた位置となり、第1凹部A1の垂直面A1bとカバー部材1の基端側の側壁2aの外面の間には少なからぬ隙間Dが生じる。このため、この隙間Dに歩行者のハイヒールの踵がはまり込むという問題が生じる。   When the earthquake ends from this state and the width of the joint C returns to the original state, the cover member 1 returns to the horizontal state in which the lower surface of the tip cover plate 1a is supported by contacting the upper surface of the second floor frame B. However, at this time, no force is generated to slide the bottom wall 2f of the cover member 1 in the vicinity of the side wall 2a on the base end side with respect to the support member 7, and the cover member 1 swings around the contact line P shown in FIG. As shown in FIG. 16, the outer surface of the side wall 2a on the base end side of the cover member 1 is located at a distance D from the vertical surface A1b of the first recess A1, and the vertical surface A1b of the first recess A1 There is a considerable gap D between the outer surfaces of the side wall 2a on the base end side of the cover member 1. For this reason, the problem that the heel of a pedestrian's high heel fits into this clearance gap D arises.

なお、以上においては、第2床躯体Bに形成される第2凹部B1の先端に傾斜面B1bが形成され、これと対向するフレーム2の先端側の側壁2bは底板2eに対し直角であるとして説明したが、フレーム2の先端側の側壁2bも傾斜面B1bとほぼ平行に傾斜し(2点鎖線1bに示した)、あるいはフレーム2の先端側の側壁2bだけが傾斜して第2凹部B1の先端は垂直に立ち上がる構造であっても、以上の説明はそのまま成立する。   In the above description, it is assumed that the inclined surface B1b is formed at the tip of the second recess B1 formed in the second floor frame B, and the side wall 2b on the tip side of the frame 2 facing this is perpendicular to the bottom plate 2e. As described above, the side wall 2b on the front end side of the frame 2 is also inclined substantially parallel to the inclined surface B1b (shown by a two-dot chain line 1b), or only the side wall 2b on the front end side of the frame 2 is inclined to form the second recess B1. The above description is valid as it is, even if the tip of the structure rises vertically.

上述した特許文献1の技術では、上述したように第1凹部A1の垂直面A1bとカバー部材1の基端部の間に少なからぬ隙間Dが開いてハイヒールの踵がはまり込むという問題を解決するために、保持受枠19の水平受縁19aに配設されて目地sの幅方向に沿って延在し、垂直縁19b方向に向けて下り勾配で傾斜する案内傾斜面21を備えた複数の案内部材20と、カバー体Cの一端の下部に配設され、案内部材20を下方から遊嵌可能な長孔状に形成されて、保持受枠19の垂直縁19b側に位置する孔端16aが案内部材20の案内傾斜面21上に当接する挿通孔16を備えた複数の連結板部18よりなる原位置復帰手段を設けている。この原位置復帰手段は、地震などによりカバー体Cが目地s方向にずれると、挿通孔16の孔端16aが案内部材20の案内傾斜面21上に乗り上げるが、カバー体Cの自重により孔端16aが案内傾斜面21上を水平受縁19aに向けて滑り落ちることにより、カバー体Cが原位置に戻るようにしたものである。この原位置復帰手段は、カバー体Cが目地s方向にずれることにより案内傾斜面21上に乗り上げた挿通孔16の孔端16aが、各部の摩擦抵抗などに打ち勝って自重により案内傾斜面21上を水平受縁19aに向けて滑り落ちることによりカバー体Cを原位置に戻すものであるので、案内傾斜面21の傾斜角を相当大きく(例えば40°〜50°)する必要がある。しかしながら図15及び図19で説明したのと同様、特許文献1のカバー体Cが跳ね上がる際にも、カバー体Cの後壁板8の外面の上縁が保持受枠19の垂直縁19bに当接し、この上縁付近を中心として揺動するが、この揺動に伴いカバー体Cの連結板部18の挿通孔16の孔端16aと案内傾斜面21の間の当接部には摩擦力を考慮すればきわめて強い力が生じるのでカバー体Cの円滑な跳ね上がりが期待できないという問題がある。この当接部の間に生じる力を小さくするには、案内傾斜面21の傾斜角を小さくすればよいが、そのようすると案内傾斜面21上に乗り上げた挿通孔16の孔端16aが各部の摩擦抵抗などに打ち勝って自重により案内傾斜面21上を水平受縁19aに向けて滑り落ちることによりカバー体Cを原位置に戻す作用が減少して実質的に失われるという同時解決が困難な問題を有している。   The technique of Patent Document 1 described above solves the problem that, as described above, a considerable gap D is opened between the vertical surface A1b of the first recess A1 and the base end portion of the cover member 1 and the heels of the high heels are caught. Therefore, a plurality of guides provided with a guide inclined surface 21 disposed on the horizontal receiving edge 19a of the holding receiving frame 19 and extending along the width direction of the joint s, and inclined downward in the direction of the vertical edge 19b. The member 20 is disposed in a lower portion of one end of the cover body C, and is formed in a long hole shape capable of loosely fitting the guide member 20 from below, and the hole end 16a positioned on the vertical edge 19b side of the holding receiving frame 19 is guided. In-situ position return means comprising a plurality of connecting plate portions 18 provided with insertion holes 16 that contact the guide inclined surface 21 of the member 20 is provided. When the cover body C is displaced in the joint s direction due to an earthquake or the like, the original position returning means is configured such that the hole end 16a of the insertion hole 16 rides on the guide inclined surface 21 of the guide member 20; The cover body C is returned to the original position when 16a slides down on the guide inclined surface 21 toward the horizontal receiving edge 19a. In this original position returning means, the hole end 16a of the insertion hole 16 that has ridden on the guide inclined surface 21 when the cover body C is displaced in the joint s direction overcomes the frictional resistance of each part and the like, and the weight of the insertion hole 16 on the guide inclined surface 21 by its own weight. Since the cover body C is returned to the original position by sliding down toward the horizontal receiving edge 19a, the inclination angle of the guide inclined surface 21 needs to be considerably large (for example, 40 ° to 50 °). However, as explained in FIGS. 15 and 19, even when the cover body C of Patent Document 1 jumps up, the upper edge of the outer surface of the rear wall plate 8 of the cover body C abuts on the vertical edge 19 b of the holding receiving frame 19. The upper rocker swings around the upper edge, and with this swinging, a frictional force is applied to the contact portion between the hole end 16a of the insertion hole 16 of the connecting plate portion 18 of the cover body C and the guide inclined surface 21. Considering this, a very strong force is generated, so that there is a problem that the cover body C cannot be expected to smoothly jump up. In order to reduce the force generated between the contact portions, the inclination angle of the guide inclined surface 21 may be reduced. In this case, the hole end 16a of the insertion hole 16 that rides on the guide inclined surface 21 is provided at each portion. The problem that it is difficult to solve simultaneously is that the action of returning the cover body C to the original position is reduced and lost substantially by overcoming the frictional resistance and sliding down on the guide inclined surface 21 toward the horizontal receiving edge 19a by its own weight. Have.

これに対し、特開2005−325611号公報及び特開2008−255578号公報には、カバー部材をその基端側を支持する床躯体側に向けてばね部材により弾性的に付勢することにより第1床躯体の垂直面とカバー部材の基端側の側壁2aの間に隙間が生じることを防ぐ技術が開示されており、そのようにすれば上述した問題を解決することができる。しかしながらこの2つの従来技術はいずれもばね部材の他に少なからぬ部品を必要とし、構造が複雑であるという問題がある。本発明はこのような各問題を解決して、構造が簡単でカバー部材をその基端側を支持する床躯体側に向けてばね部材により弾性的に付勢する床目地カバー装置を提供することを目的とする。   On the other hand, Japanese Patent Laying-Open No. 2005-325611 and Japanese Patent Laying-Open No. 2008-255578 disclose that a cover member is elastically biased by a spring member toward a floor housing side that supports the base end side. A technique for preventing a gap from being generated between the vertical surface of one floor frame and the side wall 2a on the base end side of the cover member is disclosed, and the above-described problems can be solved by doing so. However, both of these two prior arts require a number of parts in addition to the spring member, and there is a problem that the structure is complicated. The present invention solves each of the above problems and provides a floor joint cover device having a simple structure and elastically urging the cover member by a spring member toward the floor housing side supporting the base end side thereof. With the goal.

このために、本発明の床目地カバー装置は、少なくとも一方が免震装置を介して地盤上に設置され、所定幅の目地を隔てて水平方向に互いに向かい合う第1及び第2床躯体と、箱状のフレームを備え目地を覆うカバー部材よりなり、第1床躯体の上面には目地に沿って受面とその一側縁から立ち上がる垂直面よりなり、カバー部材の第1床躯体側となる基端部の厚さと実質的に同じ深さの段状の第1凹部を形成するとともに受面には複数の連結ロッドを立設固定し、第2床躯体の上面には目地に沿ってカバー部材の先端部の厚さと実質的に同じ深さで第1凹部よりも幅が広い第2凹部を形成し、カバー部材はそのフレームの基端側となる側壁の内側に形成された空間部内に連結ロッドが挿入されて係合されるように第1凹部の受面上にその基端側の下面を載置することによりこの基端側を中心とする揺動が可能になるように支持され、各カバー部材の先端部は第2凹部内に水平方向移動自在に支持され、カバー部材の先端部及びこれと向かい合う第2凹部の先端部の少なくとも何れか一方にはカバー部材または第2床躯体の上面に向かう上り勾配の傾斜面を形成した床目地カバー装置において、弾性に富む金属の針金よりなる複数巻きのつる巻部とその両端部をつる巻部の中心軸線と直交する方向に延ばした2本の延長部よりなる複数のトーションばねを備え、このトーションばねは連結ロッドがつる巻部内に挿通されるように空間部内に設け、2本の延長部が連結ロッド周りに互いに逆向きに回動されるようにトーションばねを弾性変形させ、各延長部の先端部が基端側の側壁の内面に当接してこれに弾性的押圧力を加えるとともに連結ロッドの外周面の目地と反対側となる一部がつる巻部の内周の一部に当接して弾性的付勢力の反力を受け止めるようにして、基端側の側壁を第1凹部の垂直面に向けて弾性的に付勢したことを特徴とするものである。   For this purpose, the floor joint cover device according to the present invention includes at least one of the first and second floor housings, which are installed on the ground via a seismic isolation device and face each other in a horizontal direction with a joint having a predetermined width, and a box And a cover member covering the joint. The upper surface of the first floor housing is formed of a receiving surface along the joint and a vertical surface rising from one side edge thereof, and is a base on the first floor housing side of the cover member. A step-shaped first recess having a depth substantially the same as the thickness of the end portion is formed, and a plurality of connecting rods are erected and fixed to the receiving surface, and a cover member is formed on the upper surface of the second floor frame along the joint. A second recess having a width substantially equal to the thickness of the first recess and wider than the first recess is formed, and the cover member is connected to a space formed inside the side wall on the base end side of the frame. The base on the receiving surface of the first recess so that the rod is inserted and engaged. The bottom surface of each cover member is supported so as to be swingable about the base end side, and the front end portion of each cover member is supported in the second recess so as to be movable in the horizontal direction. In the floor joint cover device in which at least one of the front end portion and the front end portion of the second recess facing the top surface of the cover member or the second floor frame is formed with an upwardly inclined slope surface, A plurality of torsion springs comprising a plurality of helical winding parts made of wire and two extension parts extending in the direction orthogonal to the central axis of the winding part at both ends thereof, the torsion springs being wound by the connecting rod The torsion spring is elastically deformed so that the two extensions are rotated in opposite directions around the connecting rod, and the distal end of each extension is on the proximal side. Side wall A part of the outer periphery of the connecting rod opposite to the joint on the outer surface of the connecting rod comes into contact with a part of the inner periphery of the coiled part to generate a reaction force of the elastic biasing force. It is characterized in that the base side wall is elastically biased toward the vertical surface of the first recess so as to be received.

上記のように構成した床目地カバー装置において、弾性に富む金属の針金よりなる複数巻きのつる巻部とその両端部をつる巻部の中心軸線と直交する方向に延ばした2本の延長部よりなる複数のトーションばねを備え、このトーションばねは連結ロッドがつる巻部内に挿通されるように空間部内に設け、2本の延長部が連結ロッド周りに互いに逆向きに回動されるようにトーションばねを弾性変形させ、各延長部の先端部が基端側の側壁の内面に当接してこれに弾性的押圧力を加えるとともに連結ロッドの外周面の目地と反対側となる一部がつる巻部の内周の一部に当接して弾性的付勢力の反力を受け止めるようにして、基端側の側壁を第1凹部の垂直面に向けて弾性的に付勢したので、通常時はカバー部材の基端側の側壁は外面の全面が第1凹部の垂直面に当接している。地震などによりカバー部材がその基端側を中心として揺動されて跳ね上げられた際にはカバー部材の基端側の側壁は外面の上縁が第1凹部の垂直面に当接され、側壁の外面の下縁は第1凹部の受面上を滑って垂直面から離れる。しかし、カバー部材が水平状態に復帰する過程においては、トーションばねの付勢力により、側壁は外面の上縁が第1凹部の垂直面に当接されたままで、外面の下縁が第1凹部の受面上を滑って第1凹部の垂直面に接近し、水平に戻った状態では側壁の外面は全面が第1凹部の垂直面に当接する。このように水平に復帰した状態では、カバー部材の基端側の側壁の外面は全面において第1凹部の垂直面に当接される。従って、第1凹部の垂直面とカバー部材の基端側の側壁の外面の間に隙間が生じて歩行者のハイヒールの踵がはまり込むという問題が生じることはない。また、カバー部材の基端側の側壁を第1床躯体の第1凹部の垂直面に向けて弾性的に付勢するトーションばねの反力は、第1凹部の受面に立設固定されてカバー部材を第1床躯体に揺動可能に係合する連結ロッドを利用して受け止めており、カバー部材の基端側の側壁を第1床躯体の第1凹部の垂直面に向けて弾性的に付勢するための機構は実質的にトーションばねだけであるので、前述した背景技術に比してこの付勢機構の構造を大幅に簡略化することができる。   In the floor joint cover device configured as described above, a plurality of vine winding parts made of a metal wire rich in elasticity and two extensions extending both ends thereof in a direction perpendicular to the central axis of the wrapping part. The torsion spring is provided in the space portion so that the connecting rod is inserted into the winding portion of the coil, and the two extension portions are rotated around the connecting rod in opposite directions. The spring is elastically deformed so that the distal end of each extension abuts against the inner surface of the side wall on the proximal end side and applies an elastic pressing force thereto, and a part of the connecting rod opposite the joint on the outer peripheral surface is suspended Since the base side wall is elastically urged toward the vertical surface of the first recess so as to contact a part of the inner periphery of the portion and receive the reaction force of the elastic urging force, The side wall on the base end side of the cover member is the entire outer surface. It is in contact with the vertical surface of the recess. When the cover member is swung up around the base end side due to an earthquake or the like, the side wall on the base end side of the cover member abuts the upper edge of the outer surface on the vertical surface of the first recess, and the side wall The lower edge of the outer surface slides away from the vertical surface on the receiving surface of the first recess. However, in the process of returning the cover member to the horizontal state, due to the biasing force of the torsion spring, the upper edge of the outer surface of the side wall remains in contact with the vertical surface of the first recess, and the lower edge of the outer surface is the first recess. In the state where it slides on the receiving surface and approaches the vertical surface of the first recess and returns to the horizontal surface, the entire outer surface of the side wall contacts the vertical surface of the first recess. In this state, the outer surface of the side wall on the base end side of the cover member is brought into contact with the vertical surface of the first recess on the entire surface. Therefore, there is no problem that a gap is generated between the vertical surface of the first recess and the outer surface of the side wall on the base end side of the cover member, and the heel of the pedestrian is stuck. In addition, the reaction force of the torsion spring that elastically biases the side wall on the base end side of the cover member toward the vertical surface of the first recess of the first floor frame is fixed upright on the receiving surface of the first recess. The cover member is received using a connecting rod that slidably engages with the first floor case, and the side wall on the base end side of the cover member is elastically directed toward the vertical surface of the first recess of the first floor case. Since the mechanism for biasing is substantially only a torsion spring, the structure of the biasing mechanism can be greatly simplified as compared with the background art described above.

上記のように構成した床目地カバー装置においては、カバー部材のフレームは、四角形の底板と、この底板の基端側及び左右の両側縁に直交して固着され底板の3方を囲んでカバー部材の厚さを定める基端側の側壁及び左右の両側壁と、底板の先端側の側縁に固着された先端側の側壁と、基端側の側壁の両端部付近と左右の両側壁の基端部近くの間に両端が連結されて基端側の側壁と両側壁との間に空間部を形成する仕切壁と、連結ロッドを通す挿通孔が形成されて空間部の下側を閉じる底壁よりなるものとし、底板の上側で各側壁により形成される空間のうち仕切壁及び底壁により形成される空間部を除く部分は舗装材により充填し、先端側の側壁にはその上縁より基端側とは反対向きに延びる先端部カバー板を固着することが好ましい。このようにしたときには、カバー部材はその底壁に形成された挿通孔に連結ロッドが挿通されて第1床躯体に係合され、カバー部材のフレームは上面の大部分が舗装材により充填され、フレームの先端部の先に続く第2床躯体上の第2凹部の先端部を先端部カバー板により隠すことができるので、床目地カバー装置の外観を向上させることができる。   In the floor joint cover device configured as described above, the frame of the cover member is fixed perpendicularly to the square bottom plate and the base end side and left and right side edges of the bottom plate, and surrounds the three sides of the bottom plate. The side wall on the base end side and the left and right side walls that determine the thickness of the base plate, the side wall on the front end side fixed to the side edge on the front end side of the bottom plate, the vicinity of both end portions of the side wall on the base end side, and the base on the left and right side walls A partition wall that is connected at both ends near the end portion to form a space portion between the side wall on the base end side and both side walls, and a bottom that closes the lower side of the space portion by forming an insertion hole through which the connecting rod passes. Of the space formed by each side wall on the upper side of the bottom plate, the part excluding the space formed by the partition wall and the bottom wall is filled with pavement, and the side wall on the tip side is filled with the upper edge It is preferable to fix the front end cover plate extending in the direction opposite to the base end side. When doing so, the cover member is inserted into the insertion hole formed in the bottom wall of the cover rod and engaged with the first floor frame, and the frame of the cover member is mostly filled with the paving material, Since the tip end portion of the second recess on the second floor frame following the tip end portion of the frame can be hidden by the tip portion cover plate, the appearance of the floor joint cover device can be improved.

上記のように構成した床目地カバー装置においては、トーションばねの各延長部の先端部とカバー部材の基端側の側壁の内面との間に少なくとも1枚の板状のスペーサを抜き差し可能に挿入することが好ましい。このようにしたときには、カバー部材の基端側の側壁と連結ロッドの間にトーションばねを挿入した後に、トーションばねの各延長部の先端部とカバー部材の基端側の側壁の内面との間に挿入するスペーサの厚さ及び枚数を選択することにより、トーションばねによるカバー部材の基端側の側壁に対する付勢力を調整することができる。また、カバー部材の基端側の側壁と連結ロッドの間にトーションばねを挿入する際の初期撓みを少なくして、床目地カバー装置に対するトーションばねの組付け作業を容易にすることができる。   In the floor joint cover device configured as described above, at least one plate-like spacer is detachably inserted between the distal end portion of each extension portion of the torsion spring and the inner surface of the side wall on the proximal end side of the cover member. It is preferable to do. In this case, after inserting the torsion spring between the base end side wall of the cover member and the connecting rod, between the tip of each extension of the torsion spring and the inner surface of the base end side wall of the cover member. By selecting the thickness and the number of spacers to be inserted into the cover, it is possible to adjust the biasing force of the torsion spring against the side wall on the base end side of the cover member. Moreover, the initial bending at the time of inserting the torsion spring between the side wall on the base end side of the cover member and the connecting rod can be reduced, and the assembly work of the torsion spring to the floor joint cover device can be facilitated.

上記のように構成した床目地カバー装置においては、トーションばねの下側にかさ上げ部材を設けて同トーションばねの位置を高くすることが好ましい。このようにしたときには、カバー部材の跳ね上げに伴うトーションばねの撓みを減少させることができ、これによりばね常数が大きいトーションばねを使用した場合でも、水平状態に戻った際にトーションばねによりカバー部材の基端側の側壁に対する所定の付勢力を得ることができる。   In the floor joint cover device configured as described above, it is preferable to provide a raised member below the torsion spring to increase the position of the torsion spring. When this is done, it is possible to reduce the bending of the torsion spring accompanying the springing up of the cover member, and even when using a torsion spring having a large spring constant, the cover member is returned by the torsion spring when it returns to the horizontal state. A predetermined urging force can be obtained with respect to the side wall on the base end side.

上記のように構成した床目地カバー装置においては、トーションばねの上側にこれと同様なつる巻部と延長部よりなり連結ロッドがそのつる巻部内に挿通されるとともにその延長部の先端が当接してカバー部材の基端側の側壁を第1凹部の垂直面に向けて弾性的に付勢する第2のトーションばねを設け、この2つのトーションばねの間に第2のかさ上げ部材を介装することが好ましい。このようにしたときには、2つのトーションばねはそれぞれが独立して作動してカバー部材の基端側の側壁を第1床躯体の第1凹部の垂直面に向けて弾性的に付勢するので、基端側の側壁に対する付勢力を増大することができ、また、各トーションばねの間に第2のかさ上げ部材を介装したので、2つのトーションばねが絡まるなどの不具合を避けることができる。さらに、この床目地カバー装置においては、上側のトーションばねのばね定数を下側のトーションばねのばね定数よりも大とすることが好ましい。上側の第2のトーションばねは下側のトーションばねに比してカバー部材の跳ね上げに伴うトーションばねの撓みが少ないのでばね定数を大きくしてもへたりを生じることはない。そのようにすれば水平状態に戻った際に上側のトーションばねによりカバー部材の基端側の側壁に対する付勢力を下側のトーションばねよりも大きくすることができ、これにより基端側の側壁に対する付勢力を一層増大することができる。   In the floor joint cover device constructed as described above, a connecting rod consisting of a helical winding portion and an extension portion similar to the above is inserted on the upper side of the torsion spring and the tip of the extension portion abuts. A second torsion spring that elastically biases the side wall on the base end side of the cover member toward the vertical surface of the first recess, and the second raising member is interposed between the two torsion springs. It is preferable to do. When this is done, the two torsion springs operate independently and elastically bias the side wall on the base end side of the cover member toward the vertical surface of the first recess of the first floor frame, The urging force with respect to the side wall on the base end side can be increased, and since the second raising member is interposed between the torsion springs, problems such as entanglement of the two torsion springs can be avoided. Furthermore, in this floor joint cover device, it is preferable that the spring constant of the upper torsion spring is larger than the spring constant of the lower torsion spring. Since the upper second torsion spring is less bent than the lower torsion spring, the torsion spring is not bent as the cover member springs up. In such a case, when returning to the horizontal state, the urging force on the base end side wall of the cover member can be made larger than the lower side torsion spring by the upper torsion spring. The biasing force can be further increased.

上記のように構成した床目地カバー装置においては、カバー部材のフレームは、四角形の底板と、この底板の基端側及び左右の両側縁に直交して固着され底板の3方を囲んでカバー部材の厚さを定める基端側の側壁及び左右の両側壁と、底板の先端側の側縁に固着された先端側の側壁と、基端側の側壁の両端部付近と左右の両側壁の基端部近くの間に両端が連結され上縁が各側壁の上縁よりも低い位置にあって基端側の側壁と両側壁との間に空間部を形成する仕切壁と、この空間部の上側を閉じる中間底板よりなるものとし、底板と各側壁により形成される空間のうち仕切壁及び中間底板により形成されて下側が解放された空間部を除く部分は舗装材により充填し、さらに先端側の側壁に固着されてその上縁より基端側とは反対向きに延びる先端部カバー板と、L字形に折曲された底壁と立ち上り壁よりなり、底壁には挿通孔が形成され、立ち上り壁の上縁には鈍角で底壁側に折曲された案内傾斜部が形成されて、フレームの空間部内に下側から挿入可能な付勢力伝達部材を備え、この各付勢力伝達部材は各連結ロッドがその挿通孔内を通るように第1凹部の受面上に載置されて、立ち上り壁が第1凹部の垂直面に当接する位置とそれから離れる位置の間で摺動自在とし、各トーションばねはそのつる巻部内に連結ロッドが挿通されるようにして付勢力伝達部材の底壁の上側に位置させ、その2本の延長部が連結ロッド周りに互いに逆向きに回動されるようにトーションばねを弾性変形させ、各延長部の先端部が付勢力伝達部材の立ち上り壁の内面に当接してこれに弾性的押圧力を加えるとともに連結ロッドの外周面の第2床躯体と反対側となる一部がつる巻部の内周の一部に当接して弾性的付勢力の反力を受け止めるようにして立ち上り壁を第1凹部の垂直面に向けて弾性的に付勢し、カバー部材はその基端側の側壁の外面を第1床躯体の第1凹部の垂直面に当接させ、下向きに移動させて基端側の側壁の下縁を付勢力伝達部材の立ち上り壁の案内部に当接させ、トーションばねによる付勢力に抗して付勢力伝達部材を後退させて第1凹部の垂直面と付勢力伝達部材の立ち上り壁の間に挿入して、基端側の側壁を付勢力伝達部材を介して第1床躯体の第1凹部の立ち上り壁面に弾性的に付勢するとともに、第1凹部の受面上にカバー部材の基端側の下面を載せることによりこの基端側を中心とする揺動が可能になるように支持することが好ましい。このようにしたときには、カバー部材のフレームの空間部は上側が中間底板により閉じられて下側が解放され、この空間部内に挿入される付勢力伝達部材の挿通孔に連結ロッドが挿通されて第1床躯体に係合されるので、カバー部材のフレームは上面の全面が舗装材により充填され、また、フレームの先端部の先に続く第2床躯体上の第2凹部の先端部を先端部カバー板により隠すことができるので、床目地カバー装置の外観を一層向上させることができる。このように床目地カバー装置の外観を一層向上させるためにカバー部材の基端側の側壁を第1床躯体の第1凹部の垂直面に向けて弾性的に付勢する機構に追加されるのは付勢力伝達部材だけであるので、前述した背景技術よりは構造が簡略化されたものとなる。   In the floor joint cover device configured as described above, the frame of the cover member is fixed perpendicularly to the square bottom plate and the base end side and left and right side edges of the bottom plate, and surrounds the three sides of the bottom plate. The side wall on the base end side and the left and right side walls that determine the thickness of the base plate, the side wall on the front end side fixed to the side edge on the front end side of the bottom plate, the vicinity of both end portions of the side wall on the base end side, and the base on the left and right side walls A partition wall which is connected at both ends between the ends and whose upper edge is lower than the upper edge of each side wall and forms a space between the side wall on the base end side and both side walls; It consists of an intermediate bottom plate that closes the upper side. Of the space formed by the bottom plate and each side wall, the portion excluding the space portion formed by the partition wall and the intermediate bottom plate and the lower side being released is filled with pavement, and the tip side It is fixed to the side wall and extends in the direction opposite to the base end side from the upper edge. It consists of an end cover plate, an L-shaped bent bottom wall and a rising wall. An insertion hole is formed in the bottom wall, and a guide slope bent at an obtuse angle on the rising wall at the bottom wall side. And a biasing force transmitting member that can be inserted into the space of the frame from below, and each of the biasing force transmitting members is provided on the receiving surface of the first recess so that each connecting rod passes through the insertion hole. So that the rising wall is slidable between a position where the rising wall abuts on the vertical surface of the first recess and a position where the rising wall separates from the vertical position, and each torsion spring is attached so that the connecting rod is inserted into the coiled portion. The torsion spring is elastically deformed so that the two extension portions are rotated in opposite directions around the connecting rod, and the tip portion of each extension portion transmits the urging force. Abutting against the inner surface of the rising wall of the member and applying elastic pressing force to it And the part of the outer peripheral surface of the connecting rod on the side opposite to the second floor frame abuts on a part of the inner periphery of the winding part to receive the reaction force of the elastic urging force. The cover member is elastically urged toward the vertical surface of the recess, and the cover member has its outer surface of the side wall on the base end side brought into contact with the vertical surface of the first recess of the first floor case and moved downward to be on the base end side. The lower edge of the side wall is brought into contact with the guide portion of the rising wall of the urging force transmission member, and the urging force transmission member is retracted against the urging force of the torsion spring, so that the vertical surface of the first recess and the urging force transmission member Inserted between the rising walls, elastically biasing the side wall on the proximal end side to the rising wall surface of the first recess of the first floor frame via the biasing force transmitting member, and on the receiving surface of the first recess By placing the bottom surface of the base end side of the cover member, it is possible to swing around the base end side. It is preferable to support. In this case, the space portion of the frame of the cover member is closed on the upper side by the intermediate bottom plate and the lower side is released, and the connecting rod is inserted into the insertion hole of the urging force transmitting member inserted into the space portion, so that the first Since the frame of the cover member is engaged with the floor frame, the entire upper surface of the cover member is filled with the paving material, and the tip of the second recess on the second floor frame following the tip of the frame is covered with the tip. Since it can hide with a board, the appearance of a floor joint cover apparatus can be improved further. As described above, in order to further improve the appearance of the floor joint cover device, a mechanism for elastically urging the side wall on the base end side of the cover member toward the vertical surface of the first recess of the first floor frame is added. Since only the urging force transmission member is used, the structure is simplified compared to the background art described above.

本発明よる床目地カバー装置の第1実施形態の主要部を示す側断面図である。It is a sectional side view which shows the principal part of 1st Embodiment of the floor joint cover apparatus by this invention. 図1に示す第1実施形態の主要部の平面図である。It is a top view of the principal part of 1st Embodiment shown in FIG. 図1に示す第1実施形態のカバー部材が跳ね上がった状態における主要部の側断面図である。It is a sectional side view of the principal part in the state where the cover member of 1st Embodiment shown in FIG. 1 jumped up. 図1に示す第1実施形態のカバー部材が跳ね上がった状態における主要部の平面図である。It is a top view of the principal part in the state where the cover member of 1st Embodiment shown in FIG. 1 jumped up. 図1に示す第1実施形態の第1の変形例の図1に相当する側断面図である。It is a sectional side view equivalent to FIG. 1 of the 1st modification of 1st Embodiment shown in FIG. 図5に示す第1の変形例の図2に相当する平面図である。It is a top view equivalent to FIG. 2 of the 1st modification shown in FIG. 図5に示す第1の変形例の図3に相当する側断面図である。FIG. 6 is a side sectional view corresponding to FIG. 3 of the first modification shown in FIG. 5. 図5に示す第1の変形例の図4に相当する平面図である。FIG. 6 is a plan view corresponding to FIG. 4 of the first modification shown in FIG. 5. 図1に示す第1実施形態の第2の変形例の図1に相当する側断面図である。It is a sectional side view equivalent to FIG. 1 of the 2nd modification of 1st Embodiment shown in FIG. 図1に示す第1実施形態の第3の変形例の図1に相当する側断面図である。It is a sectional side view equivalent to FIG. 1 of the 3rd modification of 1st Embodiment shown in FIG. 本発明よる床目地カバー装置の第2実施形態の図1に相当する側断面図である。It is a sectional side view equivalent to FIG. 1 of 2nd Embodiment of the floor joint cover apparatus by this invention. 図11に示す第2実施形態の図3に相当する側断面図である。FIG. 12 is a side sectional view corresponding to FIG. 3 of the second embodiment shown in FIG. 11. 図11に示す第2実施形態の主要部を示す分解図である。It is an exploded view which shows the principal part of 2nd Embodiment shown in FIG. 従来技術による床目地カバー装置の図1に相当する側断面図である。It is a sectional side view equivalent to FIG. 1 of the floor joint cover apparatus by a prior art. 図14に示す従来技術による床目地カバー装置の図3に相当する側断面図である。It is a sectional side view equivalent to FIG. 3 of the floor joint cover apparatus by a prior art shown in FIG. 図14に示す従来技術による床目地カバー装置のカバー部材が一旦跳ね上がった後に水平状態に戻った状態を示す側断面図である。FIG. 15 is a side cross-sectional view illustrating a state in which the cover member of the floor joint cover device according to the related art illustrated in FIG. 図14に示す従来技術による床目地カバー装置の全体構造を示す平面図である。It is a top view which shows the whole structure of the floor joint cover apparatus by the prior art shown in FIG. 図14の18−18線に沿った全体側断面図である。FIG. 19 is an overall side sectional view taken along line 18-18 in FIG. 14. 図14に示す従来技術による床目地カバー装置のカバー部材が跳ね上がった状態における全体構造を示す全体側断面図である。It is a whole sectional side view which shows the whole structure in the state in which the cover member of the floor joint cover apparatus by the prior art shown in FIG. 14 jumped up.

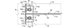
以下に、図1〜図13により、本発明による床目地カバー装置の説明をする。本発明による床目地カバー装置は、第1床躯体A、第2床躯体B、カバー部材10,20及びカバー部材10を第1床躯体A側に向けて弾性的に付勢するトーションばね15よりなり、第1床躯体A及び第2床躯体Bは先に図14〜図19により説明したものと同一構造であるので、個々の説明は省略する。また、先端部カバー板1aを含むカバー部材10,20の先端部も先に図17〜図19により説明したものと同一構造であるので、個々の説明は省略する。   Below, the floor joint cover apparatus by this invention is demonstrated with reference to FIGS. The floor joint cover device according to the present invention includes a first floor case A, a second floor case B, cover members 10 and 20, and a torsion spring 15 that elastically biases the cover member 10 toward the first floor case A. Therefore, the first floor case A and the second floor case B have the same structure as that described above with reference to FIGS. Moreover, since the front-end | tip part of the cover members 10 and 20 including the front-end | tip part cover board 1a is also the same structure as what was previously demonstrated by FIGS. 17-19, each description is abbreviate | omitted.

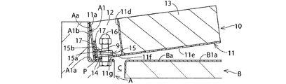
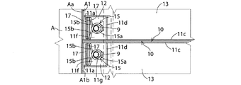
先ず図1〜図4により、本発明による床目地カバー装置の第1実施形態の説明をする。主として図1及び図2に示すように、この第1実施形態のカバー部材10のフレーム11は、四角形の底板11eと、この底板11eの四辺に下縁が固着され直角に立ち上がってカバー部材10の厚さを定める基端側の側壁11a、先端側の側壁11b(従来技術の図18に示した側壁2bと同じである)及び左右の両側壁11cと、基端側の側壁11aの両端部付近と左右の両側壁11cの基端部近くの間に両端が連結されて直立方体形状の空間部12を形成する平面視においてL字形に折曲された仕切壁11dと、底板11eと一体的に形成されて空間部12の下側を閉じる底壁11fよりなり、底壁11fには基端側の側壁11aに対し直交方向に延びる長穴状で連結ロッド9を通す挿通孔11gが形成されている。底板11eの上側で各側壁11a〜11cにより形成される空間のうち仕切壁11dにより形成される空間部12を除く部分は、前述した従来技術と同様、モルタルなどの充填材及びタイルなどの床仕上げ材よりなる舗装材13により充填されている。フレーム11の先端側の側壁11bの外面には、前述した従来技術と同様、断面形状がL形の先端部カバー板1aの短辺が固着され、長辺はその上縁から基端側とは反対向きに延びている。このフレーム11の各部材及び先端部カバー板1aの素材は何れも鋼板であり、溶接またはボルト止めにより一体的に結合されている。   First, a first embodiment of a floor joint cover device according to the present invention will be described with reference to FIGS. As shown mainly in FIGS. 1 and 2, the frame 11 of the cover member 10 according to the first embodiment has a rectangular bottom plate 11e and lower edges fixed to the four sides of the bottom plate 11e so that the frame 11 rises at a right angle. The proximal side wall 11a, the distal side wall 11b (same as the side wall 2b shown in FIG. 18 of the prior art), the left and right side walls 11c, and the vicinity of both ends of the proximal side wall 11a And a partition wall 11d bent in an L shape in plan view in which both ends are connected between the vicinity of the base ends of the left and right side walls 11c to form a rectangular cubic space portion 12, and a bottom plate 11e. The bottom wall 11f is formed and closes the lower side of the space portion 12. The bottom wall 11f is formed with an insertion hole 11g through which the connecting rod 9 is passed in a long hole shape extending in a direction orthogonal to the side wall 11a on the base end side. Yes. Of the space formed by the side walls 11a to 11c on the upper side of the bottom plate 11e, the portion excluding the space portion 12 formed by the partition wall 11d is a floor finish such as a filler such as mortar and tiles, as in the prior art described above. It is filled with a paving material 13 made of a material. The outer side of the side wall 11b on the distal end side of the frame 11 is fixed with the short side of the distal end cover plate 1a having an L-shaped cross section, as in the prior art, and the long side extends from the upper edge to the proximal end side. It extends in the opposite direction. Each member of the frame 11 and the material of the front end cover plate 1a are steel plates and are integrally coupled by welding or bolting.

このカバー部材10は、各連結ロッド9をフレーム11の基端側となる底壁11fに形成した挿通孔11gを通して下側から空間部12内に挿入することにより第1床躯体Aに対し多少距離水平方向に移動可能に係合され、基端側となる下面を第1床躯体Aの第1凹部A1上に固着した支持部材14上に載置することにより、基端側を中心とする揺動が可能になるように支持される。また、カバー部材10の先端側は、目地Cの幅が正常な状態では前述した従来技術と同様、先端部カバー板1aの先端部の下面が第2床躯体Bの上面に当接して支持され、先端部カバー板1aを除く部分は第2床躯体Bの第2凹部B1内に収納されている。   This cover member 10 is somewhat distanced from the first floor case A by inserting each connecting rod 9 into the space 12 from below through an insertion hole 11g formed in the bottom wall 11f on the base end side of the frame 11. By placing the lower surface, which is movably engaged in the horizontal direction and is the base end side, fixed on the first recess A1 of the first floor case A, the rocking centered on the base end side is placed. Supported to allow movement. Further, in the state where the width of the joint C is normal, the front end side of the cover member 10 is supported by the lower surface of the front end portion of the front end cover plate 1a being in contact with the upper surface of the second floor frame B, as in the prior art. The portion excluding the tip cover plate 1a is housed in the second recess B1 of the second floor frame B.

カバー部材10を第1床躯体A側に向けて弾性的に付勢するトーションばね15は、弾性に富む金属の針金よりなり、図1及び図2に示すように、複数巻きされたつる巻部15aとその両端部をつる巻部15aの中心軸線と直交する方向に延ばした2本の延長部15bにより構成されている。このトーションばね15は、前述のように各連結ロッド9を下側から空間部12内に挿入した状態で、各連結ロッド9がつる巻部15a内に挿通されるように空間部12内に設けたものである。トーションばね15においては、2本の延長部15bが図2に二点鎖線15cで示す自由状態から実線で示す位置まで連結ロッド9周りに互いに逆向きに回動されるように弾性変形させて、各延長部15bの先端部をフレーム11の基端側の側壁11aの内面に当接させることにより弾性的押圧力を加えるとともに、連結ロッド9の外周面の目地Cと反対側となる一部をつる巻部15aの内周の一部に当接させて弾性的付勢力の反力を受け止めて、カバー部材10の基端側の側壁11aを第1床躯体Aの第1凹部A1の垂直面A1bに向けて弾性的に付勢している。   The torsion spring 15 that elastically biases the cover member 10 toward the first floor case A side is made of a metal wire rich in elasticity, and as shown in FIGS. 15a and two extending portions 15b extending in a direction perpendicular to the central axis of the winding portion 15a that hangs both ends thereof. The torsion spring 15 is provided in the space portion 12 so that each connecting rod 9 is inserted into the winding portion 15a in a state where each connecting rod 9 is inserted into the space portion 12 from below as described above. It is a thing. In the torsion spring 15, the two extension portions 15 b are elastically deformed so that they are rotated in opposite directions around the connecting rod 9 from the free state shown by the two-dot chain line 15 c in FIG. 2 to the position shown by the solid line, An elastic pressing force is applied by bringing the distal end portion of each extension portion 15b into contact with the inner surface of the side wall 11a on the proximal end side of the frame 11, and a part of the outer peripheral surface of the connecting rod 9 opposite to the joint C is formed. The side wall 11a on the base end side of the cover member 10 is brought into contact with a part of the inner periphery of the vine winding portion 15a to receive the reaction force of the elastic biasing force, and the vertical surface of the first recess A1 of the first floor case A It is elastically biased toward A1b.

各連結ロッド9の先端部には、各トーションばね15が離脱するのを防止するために抜け止め部材(袋ナット)16がねじ込み固定されている。なお、フレーム11の基端側の側壁11aには、図1に二点鎖線で示すように、この側壁11aを弾性的に付勢する各トーションばね15の各延長部15bの先端部が上側にずれないように、連結ロッド9と直交方向に延びて内側に突出する突起11a1を形成するのがよい。図示は省略したが、空間部22上側の開口は、図14〜図16で説明した従来技術と同様のゴムなどの柔軟弾性体よりなるキャップ3aにより閉じられる。   A retaining member (cap nut) 16 is screwed and fixed to the tip of each connecting rod 9 in order to prevent the torsion springs 15 from being detached. In addition, on the side wall 11a on the base end side of the frame 11, as shown by a two-dot chain line in FIG. 1, the distal end portion of each extension portion 15b of each torsion spring 15 that elastically biases the side wall 11a is on the upper side. In order not to deviate, it is preferable to form a protrusion 11a1 extending in a direction orthogonal to the connecting rod 9 and protruding inward. Although not shown, the opening on the upper side of the space 22 is closed by a cap 3a made of a flexible elastic body such as rubber similar to the prior art described with reference to FIGS.

図1及び図2に示すように、カバー部材10が第1床躯体Aに取り付けられた状態では、その基端側の側壁11aの内面はトーションばね15により第1床躯体A側に向けて弾性的に付勢されているので、カバー部材10の基端側の側壁11aの外面は受枠板Aaが一体的に固着された第1凹部A1の垂直面A1bに、実質的に隙間なく当接される。   As shown in FIGS. 1 and 2, when the cover member 10 is attached to the first floor case A, the inner surface of the side wall 11 a on the base end side is elastic toward the first floor case A by the torsion spring 15. Therefore, the outer surface of the side wall 11a on the base end side of the cover member 10 is brought into contact with the vertical surface A1b of the first recess A1 to which the receiving frame plate Aa is integrally fixed, with substantially no gap. The

前述のように地震による横揺れなどにより両床躯体A,Bの間の目地Cの幅が大きく減少すれば、カバー部材10は、先に図19により説明したカバー部材1と同様、その基端側を中心として大きく揺動して跳ね上げられる。この状態では先に説明した図15に対応する図3に示すように、跳ね上げられたカバー部材10は、そのフレーム11の基端側の側壁11aの外面の上縁が第1床躯体Aの第1凹部A1の垂直面A1bに当接し、この上縁付近を中心として揺動するので、基端側の側壁11a付近となるカバー部材10の底板11e及び底壁11fは支持部材14上を滑り、基端側の側壁11aの外面の下縁は第1凹部A1の垂直面A1bから離れ連結ロッド9側に接近する。これによりトーションばね15の撓みは、図3及び図4に示すように増大するので、基端側の側壁11aに対するトーションばね15による付勢力は増大する。   As described above, if the width of the joint C between the two floor frames A and B is greatly reduced due to the rolling due to the earthquake or the like, the cover member 10 has its base end similar to the cover member 1 described above with reference to FIG. It swings up and swings around the side. In this state, as shown in FIG. 3 corresponding to FIG. 15 described above, the cover member 10 flipped up has the upper edge of the outer surface of the side wall 11a on the base end side of the frame 11 of the first floor case A. Since it abuts on the vertical surface A1b of the first recess A1 and swings around the vicinity of the upper edge, the bottom plate 11e and the bottom wall 11f of the cover member 10 near the proximal side wall 11a slide on the support member 14. The lower edge of the outer surface of the side wall 11a on the proximal end side is away from the vertical surface A1b of the first recess A1 and approaches the connecting rod 9 side. As a result, the bending of the torsion spring 15 increases as shown in FIGS. 3 and 4, so that the urging force of the torsion spring 15 against the proximal side wall 11 a increases.

この状態から地震が終わって目地Cの幅が元の状態に戻ると、カバー部材10は先端部カバー板1aの下面が第2床躯体Bの上面に当接して支持される水平状態に復帰するが、カバー部材10の側壁11aの内面はトーションばね15により第1床躯体A側に向けて弾性的に付勢されているので、水平状態に復帰するにつれて連結ロッド9から離れ、これとともに基端側の側壁11a付近となるカバー部材10の底板11e及び底壁11fは支持部材14上を滑って移動する。これにより基端側の側壁11aの外面の上縁が第1床躯体Aの第1凹部A1の垂直面A1bから離れることはなく、カバー部材10が水平状態に戻った状態では図1に示す状態に戻ってカバー部材10の基端側の側壁11aの外面と第1凹部A1の垂直面A1bは互いに当接されるので、それらの間に歩行者のハイヒールの踵がはまり込むという問題が生じることはない。   When the earthquake ends from this state and the width of the joint C returns to the original state, the cover member 10 returns to a horizontal state in which the lower surface of the tip cover plate 1a is supported by contacting the upper surface of the second floor frame B. However, since the inner surface of the side wall 11a of the cover member 10 is elastically biased toward the first floor housing A side by the torsion spring 15, it separates from the connecting rod 9 as it returns to the horizontal state, and with this, the base end The bottom plate 11e and the bottom wall 11f of the cover member 10 in the vicinity of the side wall 11a on the side slide on the support member 14 and move. Thereby, the upper edge of the outer surface of the side wall 11a on the base end side is not separated from the vertical surface A1b of the first recess A1 of the first floor case A, and the state shown in FIG. 1 when the cover member 10 returns to the horizontal state. Since the outer surface of the side wall 11a on the base end side of the cover member 10 and the vertical surface A1b of the first recess A1 are brought into contact with each other, there arises a problem that the heel of the pedestrian's high heel fits between them. There is no.

また、この第1実施形態では、カバー部材10の基端側の側壁11aに延長部15bの先端が当接されてこれを第1床躯体Aの第1凹部A1の垂直面A1bに向けて弾性的に付勢するトーションばね15の反力は、第1凹部A1の受面A1aに立設固定され、底壁11fに形成した挿通孔11gに挿通されてカバー部材10を第1床躯体Aに揺動可能に係合する連結ロッド9を利用して受け止めており、カバー部材10の基端側の側壁11aを第1床躯体Aの第1凹部A1の垂直面A1bに向けて弾性的に付勢するための機構は実質的にトーションばね15だけであるので、この付勢機構の構造を大幅に簡略化することができる。   In the first embodiment, the distal end of the extension 15b is brought into contact with the side wall 11a on the base end side of the cover member 10 and elastically moves toward the vertical surface A1b of the first recess A1 of the first floor case A. The reaction force of the torsion spring 15 that urges itself is erected and fixed to the receiving surface A1a of the first recess A1, and is inserted into the insertion hole 11g formed in the bottom wall 11f, so that the cover member 10 is moved to the first floor case A. It is received by using a connecting rod 9 that is slidably engaged, and the side wall 11a on the base end side of the cover member 10 is elastically attached toward the vertical surface A1b of the first recess A1 of the first floor case A. Since the mechanism for biasing is substantially only the torsion spring 15, the structure of the biasing mechanism can be greatly simplified.

上述した第1実施形態では、トーションばね15を空間部12内に入れて組み付ける過程で初期撓みを与えてカバー部材10の基端側の側壁11aを第1床躯体Aの垂直面A1bに弾性的に押圧する付勢力を生じさせているので、この付勢力を大きくする必要がある場合にはトーションばね15の組付けが困難になるという問題がある。図5〜図8に示す第1の変形例はこのような問題を解決するものである。この第1の変形例では四角い鋼板の断面において互いに対角線の位置となる2つの角部に板厚の半分以上となる面取り部を設けたスペーサ17を使用する。先ず上述した第1実施形態と同様にしてトーションばね15を組み付けた後に、図5に示すように、面取り部がトーションばね15側となるようにスペーサ17を基端側の側壁11aの内面に沿って挿入し、スペーサ17の後縁に打ち込み工具Tを当てて側壁11aの内面とトーションばね15の各延長部15bの先端の間に挿入する(図5及び図6の下半部参照)。これによりスペーサ17の板厚分だけトーションばね15が弾性変形するので、カバー部材10の基端側の側壁11aを第1床躯体Aの垂直面A1bに弾性的に押圧する付勢力は増大する。   In the first embodiment, the torsion spring 15 is inserted into the space portion 12 and is subjected to initial deflection in the process of assembling, and the side wall 11a on the base end side of the cover member 10 is elastically applied to the vertical surface A1b of the first floor case A. Since the urging force that presses the urging force is generated, there is a problem that it is difficult to assemble the torsion spring 15 when it is necessary to increase the urging force. The first modification shown in FIGS. 5 to 8 solves such a problem. In this first modification, a spacer 17 is used in which chamfered portions that are half or more of the plate thickness are provided at two corners that are diagonal to each other in the cross section of a square steel plate. First, after assembling the torsion spring 15 in the same manner as in the first embodiment described above, as shown in FIG. 5, the spacer 17 is arranged along the inner surface of the side wall 11a on the base end side so that the chamfered portion is on the torsion spring 15 side. Then, the driving tool T is applied to the rear edge of the spacer 17 and inserted between the inner surface of the side wall 11a and the tip of each extension portion 15b of the torsion spring 15 (see the lower half of FIGS. 5 and 6). As a result, the torsion spring 15 is elastically deformed by the thickness of the spacer 17, and the urging force that elastically presses the side wall 11 a on the base end side of the cover member 10 against the vertical surface A 1 b of the first floor case A increases.

また、すでに挿入したスペーサ17の後に、図5の二点鎖線17bに示すように2枚目のスペーサ17を当て、打ち込み工具Tによりすでに挿入したスペーサ17と側壁11aの内面の間に挿入すれば(図6の上半部参照)、トーションばね15はさらに弾性変形するので、カバー部材10の基端側の側壁11aを第1床躯体Aの垂直面A1bに弾性的に押圧する付勢力はさらに増大する。側壁11aの内面とトーションばね15の各延長部15bの先端の間に挿入するスペーサ17の厚さと枚数を選択することにより、カバー部材10の基端側の側壁11aを第1床躯体Aの垂直面A1bに弾性的に押圧する付勢力を任意に調整することができる。従って、トーションばね15の組付けを容易にするために組み付ける際の初期撓みを少なくしても、スペーサ17の挿入により基端側の側壁11aを垂直面A1bに弾性的に押圧する付勢力を所望の値とすることができる。図7及び図8は、カバー部材10が跳ね上げられた状態におけるこの第1の変形例の部分断面図及び部分平面図を示す。なお、図示は省略したが、スペーサ17の上縁付近には貫通孔を設けたときには、スペーサ17の引き抜き工具(図示省略)の先端をこの貫通孔に引っかけて、スペーサ17を容易に引き抜くことができる。   Further, after the spacer 17 already inserted, a second spacer 17 is applied as shown by a two-dot chain line 17b in FIG. 5, and the spacer 17 is inserted between the spacer 17 already inserted by the driving tool T and the inner surface of the side wall 11a. Since the torsion spring 15 is further elastically deformed (see the upper half of FIG. 6), the urging force for elastically pressing the side wall 11a on the base end side of the cover member 10 against the vertical surface A1b of the first floor case A is further increased. Increase. By selecting the thickness and the number of spacers 17 to be inserted between the inner surface of the side wall 11a and the tip of each extension portion 15b of the torsion spring 15, the side wall 11a on the base end side of the cover member 10 is perpendicular to the first floor case A. The biasing force that elastically presses the surface A1b can be arbitrarily adjusted. Therefore, even if the initial deflection at the time of assembly to reduce the assembly of the torsion spring 15 is reduced, a biasing force that elastically presses the proximal side wall 11a against the vertical surface A1b by inserting the spacer 17 is desired. Value. 7 and 8 show a partial cross-sectional view and a partial plan view of the first modification in a state where the cover member 10 is flipped up. Although not shown, when a through hole is provided near the upper edge of the spacer 17, the spacer 17 can be easily pulled out by hooking the tip of the extraction tool (not shown) of the spacer 17 to the through hole. it can.

また、上述した第1実施形態及びその第1の変形例では、トーションばね15はカバー部材10の底壁11fのすぐ上に設けられており、カバー部材10が跳ね上げられる際の揺動の中心となるフレーム11の基端側の側壁11aの外面の上縁から下方に離れているので、この揺動に伴い生じるトーションばね15の弾性変形が大きくなる。このためトーションばね15のばね定数を大きくするとカバー部材10が跳ね上げられる際にトーションばね15にへたりを生じて、カバー部材10を第1床躯体A側に付勢する弾性力が減少するおそれがある。図9に示す第2の変形例はこのような問題を解決するものである。この第2の変形例ではトーションばね15Aの下側に円筒状のかさ上げ部材18を設けてトーションばね15Aの位置を高くしており、トーションばね15Aのばね定数は第1実施形態及びその第1の変形例のトーションばね15よりも大きくしている。かさ上げ部材18とのトーションばね15Aの中を通る連結ロッド9の上端部には抜け止め部材(袋ナット)16がねじ込み固定されている。   In the first embodiment and the first modification described above, the torsion spring 15 is provided immediately above the bottom wall 11f of the cover member 10, and the center of swinging when the cover member 10 is flipped up is provided. Since it is separated downward from the upper edge of the outer surface of the side wall 11a on the base end side of the frame 11, the elastic deformation of the torsion spring 15 caused by this swinging is increased. For this reason, if the spring constant of the torsion spring 15 is increased, the torsion spring 15 may sag when the cover member 10 is flipped up, and the elastic force that urges the cover member 10 toward the first floor housing A may decrease. There is. The second modification shown in FIG. 9 solves such a problem. In the second modification, a cylindrical raising member 18 is provided below the torsion spring 15A to increase the position of the torsion spring 15A. The spring constant of the torsion spring 15A is the same as that of the first embodiment and the first embodiment. It is larger than the torsion spring 15 of the modified example. A retaining member (cap nut) 16 is screwed and fixed to the upper end portion of the connecting rod 9 passing through the torsion spring 15 </ b> A with the raising member 18.

この第2の変形例では、トーションばね15Aは位置が高くなることによりカバー部材10が跳ね上げられる際の揺動の中心となるフレーム11の基端側の側壁11aの外面の上縁に近づくので、カバー部材10が跳ね上げられる際の揺動角が同程度であれば、揺動に伴い生じるトーションばね15Aの弾性変形は小さくなる。これによりばね常数が大きいトーションばね15Aを使用した場合でも、カバー部材10が跳ね上げられる際にへたりが生じることがなくなるので、水平状態に戻った際にトーションばね15によりカバー部材10の基端側の側壁11aに対する所定の付勢力を得ることができる。なお、第2の変形例の基端側の側壁11aには、図1に二点鎖線で示す突起11a1と同一の突起11a1が形成され、また、第1の変形例と同じ2枚のスペーサ17には突起11a1と係合する突起17aが形成されている。このようにすれば各スペーサ17の位置が安定したものとなる。   In the second modified example, the torsion spring 15A approaches the upper edge of the outer surface of the side wall 11a on the base end side of the frame 11 which becomes the center of swinging when the cover member 10 is flipped up by increasing the position. If the swing angle when the cover member 10 is flipped up is approximately the same, the elastic deformation of the torsion spring 15A caused by the swing is small. Accordingly, even when the torsion spring 15A having a large spring constant is used, no sag occurs when the cover member 10 is flipped up. Therefore, the base end of the cover member 10 is returned by the torsion spring 15 when the cover member 10 returns to the horizontal state. A predetermined urging force against the side wall 11a can be obtained. Note that a protrusion 11a1 identical to the protrusion 11a1 indicated by a two-dot chain line in FIG. 1 is formed on the proximal end side wall 11a of the second modification, and the same two spacers 17 as in the first modification are provided. A projection 17a that engages with the projection 11a1 is formed on the plate. In this way, the position of each spacer 17 becomes stable.

図10に示す第3の変形例では、底壁11fの上に設けるかさ上げ部材18を高さが低いものとし、その上にトーションばね15と第2のかさ上げ部材18aと第2のトーションばね15Aを順に重ねて設け、連結ロッド9はそれらの中を通り、その上端部には抜け止め部材16がねじ込み固定されている。この第3の変形例によれば、2つのトーションばね15,15Aはそれぞれが独立して作動してカバー部材10の基端側の側壁11aを第1床躯体Aの第1凹部A1の垂直面A1bに向けて弾性的に付勢するので、基端側の側壁11aに対する付勢力を増大することができ、また、2つのトーションばね15,15Aの間に第2のかさ上げ部材18aを介装したので、2つのトーションばね15,15Aが絡まるなどの不具合を避けることができる。   In the third modification shown in FIG. 10, the raising member 18 provided on the bottom wall 11f has a low height, and the torsion spring 15, the second raising member 18a, and the second torsion spring are provided thereon. 15A are provided in an overlapping manner, the connecting rod 9 passes through them, and a retaining member 16 is screwed and fixed to the upper end portion thereof. According to the third modification, the two torsion springs 15 and 15A are independently operated, and the side wall 11a on the base end side of the cover member 10 is moved to the vertical surface of the first recess A1 of the first floor case A. The elastic biasing toward A1b can increase the biasing force against the side wall 11a on the base end side, and the second raising member 18a is interposed between the two torsion springs 15 and 15A. Therefore, it is possible to avoid problems such as entanglement of the two torsion springs 15 and 15A.

また、この第3の変形例では、上側のトーションばね15Aのばね定数を下側のトーションばね15のばね定数よりも大きくしており、このようにすれば上側の第2のトーションばね15Aは下側のトーションばね15に比してカバー部材10の跳ね上げに伴うトーションばね15の撓みが少ないのでばね定数を大きくしてもへたりを生じることはない。従って、水平状態に戻った際に上側のトーションばね15Aによりカバー部材10の基端側の側壁11aに対する付勢力を下側のトーションばね15よりも大きくすることができ、これにより基端側の側壁11aに対する付勢力を一層増大することができる。   In the third modification, the spring constant of the upper torsion spring 15A is made larger than the spring constant of the lower torsion spring 15. In this way, the upper second torsion spring 15A is lowered. Since the torsion spring 15 is less bent when the cover member 10 is flipped up than the torsion spring 15 on the side, no sag occurs even if the spring constant is increased. Therefore, when returning to the horizontal state, the urging force of the upper torsion spring 15A against the side wall 11a on the base end side of the cover member 10 can be made larger than that on the lower side torsion spring 15, thereby The urging force against 11a can be further increased.

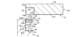
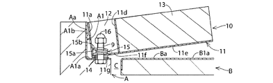
次に図11〜図13に示す第2実施形態の説明をする。以上に述べた第1実施形態及びその各変形例では、第1床躯体Aの第1凹部A1の受面A1aに連結ロッド9を立設固定し、カバー部材10の基端側に形成された空間部12の底壁11fに形成した挿通孔11gに下側から連結ロッド9を挿通して、カバー部材10の基端側の下面を受面A1a上に載置して揺動自在に支持した後に、カバー部材10の空間部12内に上側からトーションばね15,15Aを設置し、カバー部材10を第1凹部A1の垂直面A1b側に付勢して、連結ロッド9の上端部に抜け止め部材16をねじ込み固定している。これに対し、以下に述べる第2実施形態では、第1床躯体Aとカバー部材20の間に複数の付勢力伝達部材25を介在させている。この第2実施形態では、先ずこの各付勢力伝達部材25を第1凹部A1の受面A1上に載置して、連結ロッド9との間に設けたトーションばね15により第1凹部A1の垂直面A1bに向けて弾性的に付勢し、カバー部材20の基端側の側壁21aを上側から付勢力伝達部材25と垂直面A1bの間に差し込んで、カバー部材20の基端側を第1凹部A1の受面A1上に支持している。   Next, the second embodiment shown in FIGS. 11 to 13 will be described. In the first embodiment and the modifications thereof described above, the connecting rod 9 is erected and fixed to the receiving surface A1a of the first recess A1 of the first floor case A, and is formed on the base end side of the cover member 10. The connecting rod 9 is inserted into the insertion hole 11g formed in the bottom wall 11f of the space portion 12 from the lower side, and the lower surface on the base end side of the cover member 10 is placed on the receiving surface A1a and supported in a swingable manner. Later, the torsion springs 15, 15 </ b> A are installed from the upper side in the space 12 of the cover member 10, and the cover member 10 is urged toward the vertical surface A <b> 1 b side of the first recess A <b> 1 to prevent the connection rod 9 from coming off at the upper end. The member 16 is fixed by screwing. In contrast, in the second embodiment described below, a plurality of urging force transmission members 25 are interposed between the first floor case A and the cover member 20. In the second embodiment, first, each urging force transmission member 25 is placed on the receiving surface A1 of the first recess A1, and the torsion spring 15 provided between the connecting rod 9 and the vertical direction of the first recess A1. The cover member 20 is elastically biased toward the surface A1b, and the side wall 21a on the base end side of the cover member 20 is inserted between the biasing force transmission member 25 and the vertical surface A1b from above, and the base end side of the cover member 20 is set to the first end. It is supported on the receiving surface A1 of the recess A1.

図11〜図13に示すように、カバー部材20のフレーム21は、四角形の底板21eと、この底板21eの四辺に下縁が固着され直角に立ち上がってカバー部材20の厚さを定める基端側の側壁21a、先端側の側壁21b(従来技術の図18に示した側壁2bと同じである)及び左右の両側壁2cと、基端側の側壁21aの両端部付近と左右の両側壁21cの基端部近くの間に両端が連結され上縁が各側壁21a〜21cの上縁よりも低い位置にあって基端側の側壁21aと両側壁21cとの間に空間部22を形成する平面視においてL字形に折曲された仕切壁21dと、この空間部22の上側を閉じる中間底板21fにより形成されている。底板21eと各側壁21a〜21cにより形成される空間のうち仕切壁21d及び中間底板21fにより形成されて下側が解放された空間部22を除く部分は、前述した従来技術と同様、モルタルなどの充填材及びタイルなどの床仕上げ材よりなる舗装材23により充填されている。フレーム21の先端側の側壁21bの外面には、前述した従来技術と同様、断面形状がL形の先端部カバー板1aの短辺が固着され、長辺はその上縁から基端側とは反対向きに延びている。このフレーム21及び先端部カバー板1aの素材は何れも鋼板であり、溶接あるいはボルト止めにより結合されている。   As shown in FIGS. 11 to 13, the frame 21 of the cover member 20 includes a rectangular bottom plate 21 e and a base end side that determines the thickness of the cover member 20 by raising the lower edge to the four sides of the bottom plate 21 e and rising at a right angle. Side wall 21a, distal side wall 21b (same as side wall 2b shown in FIG. 18 of the prior art), left and right side walls 2c, near both ends of side wall 21a on the base end side, and left and right side walls 21c A plane in which both ends are connected between the vicinity of the base end portion and the upper edge is located at a position lower than the upper edge of each of the side walls 21a to 21c and the space portion 22 is formed between the side wall 21a on the base end side and the side walls 21c. It is formed by a partition wall 21d bent in an L shape in view and an intermediate bottom plate 21f that closes the upper side of the space 22. Of the space formed by the bottom plate 21e and the side walls 21a to 21c, the portion excluding the space 22 formed by the partition wall 21d and the intermediate bottom plate 21f and the lower side being released is filled with mortar or the like as in the above-described conventional technology. It is filled with a pavement material 23 made of a floor finish material such as wood and tile. The outer side of the side wall 21b on the front end side of the frame 21 is fixed to the short side of the front end cover plate 1a having an L-shaped cross section, as in the prior art, and the long side is from the upper edge to the base end side. It extends in the opposite direction. The material of the frame 21 and the tip cover plate 1a is a steel plate and is joined by welding or bolting.

付勢力伝達部材25は、互いに直角に折曲された底壁25a及び立ち上り壁25bとこの両壁25a,25bを連結する補強壁25cよりなり、底壁25aには立ち上り壁25bに対し直交方向に延びる長穴状の挿通孔25dが形成され、立ち上り壁25bの上縁には鈍角で底壁25a側に折曲された案内傾斜部25b1が形成されて、多少の隙間をおいてフレーム21の空間部22内に下側から挿入可能である。この各付勢力伝達部材25は各連結ロッド9が付勢力伝達部材25の挿通孔25d内を通るように第1凹部A1の受面A1上に載置されて、立ち上り壁25bが第1凹部A1の垂直面A1bに当接する位置とそれから離れる位置の間で摺動自在である。   The urging force transmission member 25 includes a bottom wall 25a and a rising wall 25b that are bent at right angles to each other, and a reinforcing wall 25c that connects both the walls 25a and 25b. The bottom wall 25a is orthogonal to the rising wall 25b. An elongated hole-like insertion hole 25d is formed, and an upper edge of the rising wall 25b is formed with a guide inclined portion 25b1 bent to the bottom wall 25a side at an obtuse angle, and the space of the frame 21 with a slight gap. It can be inserted into the portion 22 from below. Each urging force transmission member 25 is placed on the receiving surface A1 of the first recess A1 so that each connecting rod 9 passes through the insertion hole 25d of the urging force transmission member 25, and the rising wall 25b is the first recess A1. It is slidable between a position where it abuts on the vertical plane A1b and a position away from it.

各トーションばね15は第1実施形態で述べたのと同一形状で、各付勢力伝達部材25の底壁25aの上側に位置させ、第1実施形態の場合と同様、そのつる巻部15a内に各連結ロッド9を挿入し、2本の延長部15bが自由状態から実線で示す位置まで連結ロッド9周りに互いに逆向きに回動されるように弾性変形させて、各延長部15bの先端部を付勢力伝達部材25の立ち上り壁25bの内面に当接させることにより弾性的押圧力を加えるとともに、連結ロッド9の外周面の目地Cと反対側となる一部をつる巻部15aの内周の一部に当接させて弾性的付勢力の反力を受け止めて、付勢力伝達部材25の立ち上り壁25bの外面を第1床躯体Aの第1凹部A1の垂直面A1bに向けて弾性的に付勢している。   Each torsion spring 15 has the same shape as described in the first embodiment, and is positioned above the bottom wall 25a of each urging force transmission member 25. Like the case of the first embodiment, each torsion spring 15 is placed in the helical winding portion 15a. Each connecting rod 9 is inserted and elastically deformed so that the two extending portions 15b are rotated in opposite directions around the connecting rod 9 from the free state to the position indicated by the solid line, and the distal end portion of each extending portion 15b Is applied to the inner surface of the rising wall 25b of the urging force transmitting member 25 to apply an elastic pressing force, and the inner periphery of the winding portion 15a that hangs a part of the outer peripheral surface of the connecting rod 9 opposite to the joint C. The outer surface of the rising wall 25b of the urging force transmission member 25 is elastically directed toward the vertical surface A1b of the first recess A1 of the first floor case A. Is energized.

このように付勢力伝達部材25が第1床躯体Aの第1凹部A1の受面A1a上に載置されてその立ち上り壁25bの外面がトーションばね15により第1凹部A1の垂直面A1bに向けて弾性的に付勢された状態において、カバー部材20の基端側の側壁21aの外面を第1凹部A1の垂直面A1bに当接させる。そしてカバー部材20を下向きに移動させて基端側の側壁21aの下縁を付勢力伝達部材25の立ち上り壁25bの案内傾斜部25b1に当接させ、トーションばね15による付勢力に抗して付勢力伝達部材25を後退させて基端側の側壁21aを第1床躯体Aの第1凹部A1の垂直面A1bと付勢力伝達部材25の立ち上り壁25bの間に挿入して、基端側の側壁21aを付勢力伝達部材25を介して第1床躯体Aの第1凹部A1の立ち上り壁面に弾性的に付勢するとともに、第1床躯体Aの第1凹部A1の受面上にカバー部材20の基端側の下面を載せることにより、カバー部材20をその基端側を中心とする揺動が可能になるように支持することにより、この第2実施形態の組付けは完了する。   Thus, the urging force transmission member 25 is placed on the receiving surface A1a of the first recess A1 of the first floor case A, and the outer surface of the rising wall 25b is directed to the vertical surface A1b of the first recess A1 by the torsion spring 15. In an elastically biased state, the outer surface of the side wall 21a on the base end side of the cover member 20 is brought into contact with the vertical surface A1b of the first recess A1. Then, the cover member 20 is moved downward so that the lower edge of the side wall 21a on the base end side is brought into contact with the guide inclined portion 25b1 of the rising wall 25b of the biasing force transmitting member 25, and is applied against the biasing force by the torsion spring 15. The force transmission member 25 is retracted and the proximal side wall 21a is inserted between the vertical surface A1b of the first recess A1 of the first floor case A and the rising wall 25b of the urging force transmission member 25, and the proximal side wall 21a is inserted. The side wall 21a is elastically biased to the rising wall surface of the first recess A1 of the first floor case A via the biasing force transmission member 25, and the cover member is placed on the receiving surface of the first recess A1 of the first floor case A. By mounting the lower surface of the base end side of 20 to support the cover member 20 so that the cover member 20 can swing around the base end side, the assembly of the second embodiment is completed.

前述のように地震による横揺れなどにより両床躯体A,Bの間の目地Cの幅が大きく減少すれば、カバー部材20はその基端側を中心として大きく揺動して跳ね上げられる。この状態では図12に示すように、カバー部材20はそのフレーム21の基端側の側壁21aの外面の上縁が第1床躯体Aの第1凹部A1の垂直面A1bに当接し、この上縁付近を中心として揺動するので、基端側の側壁21aの下縁は、垂直面A1bから離れるように第1凹部A1の受面A1aの支持部材14(図11参照)上を滑り、付勢力伝達部材25はこの基端側の側壁21aの下縁により押されて移動される。これによりトーションばね15の撓みは増大するので、付勢力伝達部材25を介して基端側の側壁21aに伝達されるトーションばね15による付勢力は増大する。   As described above, if the width of the joint C between the two floor frame bodies A and B is greatly reduced due to the rolling due to the earthquake or the like, the cover member 20 is greatly swung around the base end side and flipped up. In this state, as shown in FIG. 12, the cover member 20 has the upper edge of the outer surface of the side wall 21a on the base end side of the frame 21 in contact with the vertical surface A1b of the first recess A1 of the first floor case A. Since it swings around the edge, the lower edge of the proximal side wall 21a slides on the support member 14 (see FIG. 11) of the receiving surface A1a of the first recess A1 so as to be separated from the vertical surface A1b. The force transmission member 25 is pushed and moved by the lower edge of the proximal side wall 21a. As a result, the deflection of the torsion spring 15 increases, so that the biasing force by the torsion spring 15 transmitted to the side wall 21a on the base end side via the biasing force transmitting member 25 increases.

この状態から地震が終わって目地Cの幅が元の状態に戻ると、カバー部材20は先端部カバー板1aの下面が第2床躯体Bの上面に当接して支持される水平状態に復帰するが、付勢力伝達部材25の立ち上り壁25bの内面はトーションばね15により第1床躯体A側に向けて弾性的に付勢されているので、水平状態に復帰するにつれて連結ロッド9から離れ、これとともに基端側の側壁21a下縁付近となるカバー部材20の底板21eは支持部材14上を滑って移動する。これにより基端側の側壁21aの外面の上縁が第1床躯体Aの第1凹部A1の垂直面A1bから離れることはなく、カバー部材20が水平状態に戻った状態では図11に示す状態に戻るので、カバー部材20の基端側の側壁21aの外面と第1凹部A1の垂直面A1bの間に歩行者のハイヒールの踵がはまり込むという問題が生じることはない。   When the earthquake ends from this state and the width of the joint C returns to the original state, the cover member 20 returns to a horizontal state in which the lower surface of the tip cover plate 1a is supported by contacting the upper surface of the second floor frame B. However, since the inner surface of the rising wall 25b of the urging force transmission member 25 is elastically urged toward the first floor housing A by the torsion spring 15, it separates from the connecting rod 9 as it returns to the horizontal state. At the same time, the bottom plate 21e of the cover member 20 near the lower edge of the side wall 21a on the base end side slides on the support member 14 and moves. As a result, the upper edge of the outer surface of the side wall 21a on the proximal end side does not leave the vertical surface A1b of the first recess A1 of the first floor case A, and the state shown in FIG. 11 when the cover member 20 returns to the horizontal state. Therefore, the problem that the heel of the pedestrian is caught between the outer surface of the side wall 21a on the base end side of the cover member 20 and the vertical surface A1b of the first recess A1 does not occur.

また、この第2実施形態では、カバー部材20のフレーム21の空間部22は上側が中間底板21fにより閉じられて下側が解放され、この空間部22内に下側から挿入される各付勢力伝達部材25の挿通孔25dに連結ロッド9が挿通されて第1床躯体Aに係合されるので、カバー部材20のフレーム21は上面の全面を舗装材23により充填することができ、またフレーム21の先端部の先に続く第2床躯体B上の第2凹部B1の先端部を先端部カバー板1aにより隠すことができるので、床目地カバー装置の外観を一層向上させることができる。   Further, in this second embodiment, the space portion 22 of the frame 21 of the cover member 20 is closed on the upper side by the intermediate bottom plate 21f and released on the lower side, and each urging force transmission inserted into the space portion 22 from the lower side. Since the connecting rod 9 is inserted into the insertion hole 25d of the member 25 and engaged with the first floor case A, the frame 21 of the cover member 20 can be filled with the pavement material 23 on the entire upper surface. Since the tip of the second recess B1 on the second floor frame B following the tip of the tip can be concealed by the tip cover plate 1a, the appearance of the floor joint cover device can be further improved.

なお、この第2実施形態では、付勢力伝達部材25の立ち上り壁25bの外面を第1凹部A1の垂直面A1bに当接し、トーションばね15により弾性的に付勢されるようにセットした状態で、カバー部材20の基端側の側壁21aを第1床躯体Aの第1凹部A1の垂直面A1bと付勢力伝達部材25の立ち上り壁25bの間に挿入しているので、トーションばね15は付勢力伝達部材25をセットした状態よりカバー部材20の側壁21aの厚さの分だけ余分に撓み、カバー部材20の側壁21aの外面を第1凹部A1の垂直面A1bに押圧する力はその分だけ増大する。従って、第1実施形態の第1の変形例の場合と同様、トーションばね15の組付けを容易にするために組み付ける際の初期撓みを少なくしても、第1凹部A1の垂直面A1bと付勢力伝達部材25の立ち上り壁25bの間にカバー部材20の側壁21aを挿入することにより基端側の側壁21aを垂直面A1bに弾性的に押圧する付勢力の減少を回復することができる。そして各付勢力伝達部材25と対応する基端側の側壁21aの内面に板状のスペーサを固着し、その厚さと枚数及び付勢力伝達部材25の案内傾斜部25b1の長さを調整すれば、カバー部材20の側壁21aの外面を第1凹部A1の垂直面A1bに押圧する力の大きさを所望の値とすることができる。   In the second embodiment, the outer surface of the rising wall 25b of the urging force transmission member 25 is in contact with the vertical surface A1b of the first recess A1 and is set so as to be elastically urged by the torsion spring 15. The side wall 21a on the base end side of the cover member 20 is inserted between the vertical surface A1b of the first recess A1 of the first floor case A and the rising wall 25b of the urging force transmission member 25, so that the torsion spring 15 is attached. More than the state where the force transmission member 25 is set, the thickness of the side wall 21a of the cover member 20 bends excessively, and the force that presses the outer surface of the side wall 21a of the cover member 20 against the vertical surface A1b of the first recess A1 is that much. Increase. Therefore, as in the case of the first modification of the first embodiment, even if the initial deflection at the time of assembly is reduced in order to facilitate the assembly of the torsion spring 15, it is attached to the vertical surface A1b of the first recess A1. By inserting the side wall 21a of the cover member 20 between the rising walls 25b of the force transmission member 25, it is possible to recover the decrease in the urging force that elastically presses the proximal side wall 21a against the vertical plane A1b. Then, if a plate-like spacer is fixed to the inner surface of the side wall 21a on the base end side corresponding to each urging force transmission member 25, and the thickness and the number of the spacers and the length of the guide inclined portion 25b1 of the urging force transmission member 25 are adjusted, The magnitude of the force that presses the outer surface of the side wall 21a of the cover member 20 against the vertical surface A1b of the first recess A1 can be set to a desired value.

上記の各実施形態においては、第1凹部A1の受面A1aに六角ボルトよりなる連結ロッド9を設け、連結ロッド9をカバー部材10,20のフレーム11,21の基端側となる側壁11a,21aの内側に形成された空間部12,22内に下側から挿入するようにしたが、本発明はこれに限られるものでなく、第1凹部A1の受面A1aにナットを固着し、カバー部材10,20のフレーム11,21の基端部を第1凹部A1の受面A1aに載置し、トーションばね15,15Aを挿通した六角ボルトよりなる連結ロッド9を空間部12,22内に上側から挿通孔11gを通してナットに螺着させたものであってもよく、このようにしたときにも同様の作用効果を得ることができる。   In each of the above embodiments, the connecting rod 9 made of hexagonal bolts is provided on the receiving surface A1a of the first recess A1, and the connecting rod 9 is a side wall 11a that becomes the base end side of the frames 11, 21 of the cover members 10, 20. Although it was made to insert into the space parts 12 and 22 formed inside 21a from the lower side, the present invention is not limited to this, and a nut is fixed to the receiving surface A1a of the first recess A1 to cover the cover. The base end portions of the frames 11 and 21 of the members 10 and 20 are placed on the receiving surface A1a of the first recess A1, and the connecting rod 9 made of a hexagonal bolt inserted through the torsion springs 15 and 15A is placed in the space portions 12 and 22. The screw may be screwed onto the nut from the upper side through the insertion hole 11g, and the same function and effect can be obtained even in this case.

1a…先端部カバー板、9…連結ロッド、10,20…カバー部材、11,21…フレーム、11a,21a…基端側の側壁、11b,21b…先端側の側壁、11c,21c…左右の両側壁、11d,21d…仕切壁、11e,21e…底板、11f…底壁、11g…挿通孔、12,22…空間部、13,23舗装材、15…トーションばね、15A…第2のトーションばね、15a,15Aa…つる巻部、15b,15Ab…延長部、17…スペーサ、18…かさ上げ部材、18a…第2のかさ上げ部材、21f…中間底板、25…付勢力伝達部材、25a…底壁、25b…立ち上り壁、25b1…案内傾斜部、25d…挿通孔、A…第1床躯体、A1…第1凹部、A1a…受面、A1b…垂直面、B…第2床躯体、B1…第2凹部、B1a…底面、B1b…傾斜面、C…目地。 DESCRIPTION OF SYMBOLS 1a ... End part cover plate, 9 ... Connecting rod, 10, 20 ... Cover member, 11, 21 ... Frame, 11a, 21a ... Base end side wall, 11b, 21b ... End side wall, 11c, 21c ... Left and right Both side walls, 11d, 21d ... partition wall, 11e, 21e ... bottom plate, 11f ... bottom wall, 11g ... insertion hole, 12, 22 ... space, 13, 23 pavement, 15 ... torsion spring, 15A ... second torsion Spring, 15a, 15Aa ... helical winding, 15b, 15Ab ... extension, 17 ... spacer, 18 ... raised member, 18a ... second raised member, 21f ... intermediate bottom plate, 25 ... urging force transmitting member, 25a ... Bottom wall, 25b ... rise wall, 25b1 ... guide slope, 25d ... insertion hole, A ... first floor housing, A1 ... first recess, A1a ... receiving surface, A1b ... vertical surface, B ... second floor housing, B1 ... Second recess, B a ... bottom, B1b ... inclined surface, C ... joints.

Claims (7)

少なくとも一方が免震装置を介して地盤上に設置され、所定幅の目地を隔てて水平方向に互いに向かい合う第1及び第2床躯体と、箱状のフレームを備え前記目地を覆うカバー部材よりなり、
前記第1床躯体の上面には前記目地に沿って受面とその一側縁から立ち上がる垂直面よりなり、前記カバー部材の前記第1床躯体側となる基端部の厚さと実質的に同じ深さの段状の第1凹部を形成するとともに前記受面には複数の連結ロッドを立設固定し、
前記第2床躯体の上面には前記目地に沿って前記カバー部材の先端部の厚さと実質的に同じ深さで前記第1凹部よりも幅が広い第2凹部を形成し、
前記カバー部材はそのフレームの基端側となる側壁の内側に形成された空間部内に前記連結ロッドが挿入されて係合されるように前記第1凹部の受面上にその基端側の下面を載置することによりこの基端側を中心とする揺動が可能になるように支持され、前記各カバー部材の先端部は前記第2凹部内に水平方向移動自在に支持され、
前記カバー部材の先端部及びこれと向かい合う前記第2凹部の先端部の少なくとも何れか一方には前記カバー部材または第2床躯体の上面に向かう上り勾配の傾斜面を形成した床目地カバー装置において、
弾性に富む金属の針金よりなる複数巻きのつる巻部とその両端部を前記つる巻部の中心軸線と直交する方向に延ばした2本の延長部よりなる複数のトーションばねを備え、
このトーションばねは前記連結ロッドが前記つる巻部内に挿通されるように前記空間部内に設け、前記2本の延長部が前記連結ロッド周りに互いに逆向きに回動されるようにトーションばねを弾性変形させ、前記各延長部の先端部が前記基端側の側壁の内面に当接してこれに弾性的押圧力を加えるとともに前記連結ロッドの外周面の前記目地と反対側となる一部が前記つる巻部の内周の一部に当接して前記弾性的付勢力の反力を受け止めるようにして、前記基端側の側壁を前記第1凹部の垂直面に向けて弾性的に付勢したことを特徴とする床目地カバー装置。
At least one is installed on the ground via a seismic isolation device, and includes a first and second floor frame facing each other in a horizontal direction with a joint having a predetermined width, and a cover member having a box-shaped frame and covering the joint. ,
The upper surface of the first floor frame is composed of a receiving surface and a vertical surface rising from one side edge along the joint, and is substantially the same as the thickness of the base end portion of the cover member on the first floor frame side. Forming a stepped first recess having a depth and fixing a plurality of connecting rods upright on the receiving surface;
On the upper surface of the second floor frame, a second recess having a width substantially the same as the thickness of the tip of the cover member along the joint and wider than the first recess is formed,
The cover member has a lower surface on the base end side on the receiving surface of the first recess so that the connecting rod is inserted into and engaged with a space formed inside the side wall on the base end side of the frame. Is supported so as to be able to swing around the base end side, and the distal end portion of each cover member is supported in the second recess so as to be movable in the horizontal direction,
In the floor joint cover device in which an inclined surface having an upward slope toward the upper surface of the cover member or the second floor frame is formed on at least one of the tip of the cover member and the tip of the second recess facing the cover member,
A plurality of torsion springs composed of a plurality of helical winding parts made of elastic metal wires and two extension parts extending at both ends thereof in a direction perpendicular to the central axis of the helical winding part,
The torsion spring is provided in the space so that the connecting rod is inserted into the helical winding, and the torsion spring is elastically arranged so that the two extension portions are rotated in opposite directions around the connecting rod. The distal end portion of each extension portion is in contact with the inner surface of the side wall on the proximal end side and applies an elastic pressing force thereto, and a part of the outer peripheral surface of the connecting rod opposite to the joint is the portion The side wall on the base end side is elastically urged toward the vertical surface of the first recess so as to contact a part of the inner periphery of the helical winding portion and receive the reaction force of the elastic urging force. A floor joint cover device characterized by that.
請求項1に記載の床目地カバー装置において、
前記カバー部材のフレームは、四角形の底板と、この底板の基端側及び左右の両側縁に直交して固着され前記底板の3方を囲んで前記カバー部材の厚さを定める前記基端側の側壁及び左右の両側壁と、前記底板の先端側の側縁に固着された先端側の側壁と、前記基端側の側壁の両端部付近と前記左右の両側壁の基端部近くの間に両端が連結されて前記基端側の側壁と両側壁との間に前記空間部を形成する仕切壁と、前記連結ロッドを通す挿通孔が形成されて前記空間部の下側を閉じる底壁よりなるものとし、
前記底板の上側で前記各側壁により形成される空間のうち前記仕切壁及び底壁により形成される前記空間部を除く部分は舗装材により充填し、
前記先端側の側壁にはその上縁より基端側とは反対向きに延びる先端部カバー板を固着したことを特徴とする床目地カバー装置。
The floor joint cover device according to claim 1,
The frame of the cover member is fixed to the rectangular bottom plate at right angles to the base end side and the left and right side edges of the base plate, and surrounds the three sides of the base plate to determine the thickness of the cover member. Between the side walls and the left and right side walls, the side wall on the front end side fixed to the side edge on the front end side of the bottom plate, and between the vicinity of both end portions of the side wall on the base end side and the base end portions of the left and right side walls. A partition wall that is connected at both ends to form the space portion between the base-side side wall and both side walls, and a bottom wall that has an insertion hole through which the connecting rod passes to close the lower side of the space portion. Shall be
Of the space formed by the side walls on the upper side of the bottom plate, the portion excluding the space portion formed by the partition wall and the bottom wall is filled with a paving material,
A floor joint cover device, wherein a distal end cover plate extending in a direction opposite to the base end side from an upper edge thereof is fixed to the distal end side wall.
請求項1または請求項2に記載の床目地カバー装置において、
前記トーションばねの各延長部の先端部と前記カバー部材の基端側の側壁の内面との間に少なくとも1枚の板状のスペーサを抜き差し可能に挿入したことを特徴とする床目地カバー装置。
In the floor joint cover device according to claim 1 or 2,
A floor joint cover device, wherein at least one plate-like spacer is detachably inserted between a distal end portion of each extension portion of the torsion spring and an inner surface of a side wall on the proximal end side of the cover member.
請求項1〜請求項3の何れか1項に記載の床目地カバー装置において、
前記トーションばねの下側にかさ上げ部材を設けて同トーションばねの位置を高くしたことを特徴とする床目地カバー装置。
In the floor joint cover device according to any one of claims 1 to 3,
A floor joint cover device, wherein a raised member is provided below the torsion spring to raise the position of the torsion spring.
請求項1〜請求項4の何れか1項に記載の床目地カバー装置において、
前記トーションばねの上側にこれと同様なつる巻部と延長部よりなり前記連結ロッドがそのつる巻部内に挿通されるとともにその延長部の先端が当接して前記カバー部材の基端側の側壁を前記第1凹部の垂直面に向けて弾性的に付勢する第2のトーションばねを設け、この2つのトーションばねの間に第2のかさ上げ部材を介装したことを特徴とする床目地カバー装置。
In the floor joint cover device according to any one of claims 1 to 4,
On the upper side of the torsion spring, the connecting rod is formed of a similar helical winding portion and extension portion, and the connecting rod is inserted into the helical winding portion, and the distal end of the extension portion comes into contact with the side wall on the proximal end side of the cover member. A floor joint cover characterized in that a second torsion spring that elastically biases toward the vertical surface of the first recess is provided, and a second lifting member is interposed between the two torsion springs. apparatus.
請求項5に記載の床目地カバー装置において、
上側のトーションばねのばね定数を下側のトーションばねのばね定数よりも大きくしたことを特徴とする床目地カバー装置。
The floor joint cover device according to claim 5,
A floor joint cover device, wherein a spring constant of an upper torsion spring is made larger than a spring constant of a lower torsion spring.
請求項1に記載の床目地カバー装置において、
前記カバー部材のフレームは、四角形の底板と、この底板の基端側及び左右の両側縁に直交して固着され前記底板の3方を囲んで前記カバー部材の厚さを定める前記基端側の側壁及び左右の両側壁と、前記底板の先端側の側縁に固着された先端側の側壁と、前記基端側の側壁の両端部付近と前記左右の両側壁の基端部近くの間に両端が連結され上縁が前記各側壁の上縁よりも低い位置にあって前記基端側の側壁と両側壁との間に前記空間部を形成する仕切壁と、この空間部の上側を閉じる中間底板よりなり、
前記底板と前記各側壁により形成される空間のうち前記仕切壁及び中間底板により形成されて下側が解放された前記空間部を除く部分は舗装材により充填し、
さらに前記先端側の側壁に固着されてその上縁より基端側とは反対向きに延びる先端部カバー板と、
L字形に折曲された底壁と立ち上り壁よりなり、前記底壁には挿通孔が形成され、立ち上り壁の上縁には鈍角で前記底壁側に折曲された案内傾斜部が形成されて、前記フレームの空間部内に下側から挿入可能な付勢力伝達部材を備え、
この各付勢力伝達部材は前記各連結ロッドが前記挿通孔内を通るように前記第1凹部の受面上に載置されて、前記立ち上り壁が前記第1凹部の垂直面に当接する位置とそれから離れる位置の間で摺動自在とし、
前記各トーションばねはそのつる巻部内に前記連結ロッドが挿通されるようにして前記付勢力伝達部材の底壁の上側に位置させ、その2本の延長部が前記連結ロッド周りに互いに逆向きに回動されるように前記トーションばねを弾性変形させ、前記各延長部の先端部が前記付勢力伝達部材の立ち上り壁の内面に当接してこれに弾性的押圧力を加えるとともに前記連結ロッドの外周面の前記第2床躯体と反対側となる一部が前記つる巻部の内周の一部に当接して前記弾性的付勢力の反力を受け止めるようにして前記立ち上り壁を前記第1凹部の垂直面に向けて弾性的に付勢し、
前記カバー部材はその基端側の側壁の外面を前記第1床躯体の第1凹部の垂直面に当接させ、下向きに移動させて前記基端側の側壁の下縁を前記付勢力伝達部材の立ち上り壁の案内部に当接させ、トーションばねによる付勢力に抗して前記付勢力伝達部材を後退させて第1凹部の垂直面と付勢力伝達部材の立ち上り壁の間に挿入して、前記基端側の側壁を前記付勢力伝達部材を介して前記第1床躯体の第1凹部の立ち上り壁面に弾性的に付勢するとともに、前記第1凹部の受面上に前記カバー部材の基端側の下面を載せることによりこの基端側を中心とする揺動が可能になるように支持したことを特徴とする床目地カバー装置。
The floor joint cover device according to claim 1,
The frame of the cover member is fixed to the rectangular bottom plate at right angles to the base end side and the left and right side edges of the base plate, and surrounds the three sides of the base plate to determine the thickness of the cover member. Between the side walls and the left and right side walls, the side wall on the front end side fixed to the side edge on the front end side of the bottom plate, and between the vicinity of both end portions of the side wall on the base end side and the base end portions of the left and right side walls. A partition wall that is connected at both ends and whose upper edge is lower than the upper edge of each side wall to form the space portion between the side wall on the base end side and both side walls, and closes the upper side of the space portion Consisting of an intermediate bottom plate,
Of the space formed by the bottom plate and the side walls, the portion excluding the space portion formed by the partition wall and the intermediate bottom plate and released at the lower side is filled with a paving material,
Further, a tip cover plate fixed to the side wall on the tip end side and extending in the opposite direction from the base end side from the upper edge thereof;
The bottom wall is formed with an L-shaped bent wall and a rising wall. An insertion hole is formed in the bottom wall, and a guide inclined portion bent toward the bottom wall at an obtuse angle is formed on the upper edge of the rising wall. An urging force transmission member that can be inserted into the space portion of the frame from below;
The urging force transmitting members are placed on the receiving surface of the first recess so that the connecting rods pass through the insertion hole, and the rising wall abuts the vertical surface of the first recess. Slidable between positions away from it,
Each of the torsion springs is positioned above the bottom wall of the urging force transmission member so that the connecting rod is inserted into the helical winding portion, and the two extensions are opposite to each other around the connecting rod. The torsion spring is elastically deformed so as to be rotated, and the distal end portion of each extension abuts against the inner surface of the rising wall of the urging force transmission member to apply an elastic pressing force to the outer periphery of the connecting rod. A part of the surface opposite to the second floor frame is in contact with a part of the inner periphery of the helical winding part to receive the reaction force of the elastic urging force, so that the rising wall Elastically biased toward the vertical surface of
The cover member abuts the outer surface of the side wall on the base end side against the vertical surface of the first recess of the first floor frame, and moves downward so that the lower edge of the side wall on the base end side is the biasing force transmitting member. Abutting against the guide portion of the rising wall, and retreating the biasing force transmission member against the biasing force of the torsion spring and inserting between the vertical surface of the first recess and the rising wall of the biasing force transmission member, The side wall on the base end side is elastically biased to the rising wall surface of the first recess of the first floor frame via the biasing force transmission member, and the base of the cover member is placed on the receiving surface of the first recess. A floor joint cover device characterized by being supported so as to be able to swing around the base end side by placing a lower surface on the end side.
JP2013104325A 2013-05-16 2013-05-16 Floor joint cover device Active JP6053158B2 (en)

Priority Applications (1)

Application Number Priority Date Filing Date Title
JP2013104325A JP6053158B2 (en) 2013-05-16 2013-05-16 Floor joint cover device

Applications Claiming Priority (1)

Application Number Priority Date Filing Date Title
JP2013104325A JP6053158B2 (en) 2013-05-16 2013-05-16 Floor joint cover device

Publications (2)

Publication Number Publication Date
JP2014224403A true JP2014224403A (en) 2014-12-04
JP6053158B2 JP6053158B2 (en) 2016-12-27

Family

ID=52123263

Family Applications (1)

Application Number Title Priority Date Filing Date
JP2013104325A Active JP6053158B2 (en) 2013-05-16 2013-05-16 Floor joint cover device

Country Status (1)

Country Link
JP (1) JP6053158B2 (en)

Citations (12)

* Cited by examiner, † Cited by third party
Publication number Priority date Publication date Assignee Title
JPS60138910U (en) * 1984-02-27 1985-09-13 株式会社日本アルミ building expansion joint equipment
JPS61221435A (en) * 1985-03-26 1986-10-01 理研軽金属工業株式会社 Expansion joint
JPH0960129A (en) * 1995-08-25 1997-03-04 Nippon Alum Co Ltd Expansion joint device
JPH1018448A (en) * 1996-07-02 1998-01-20 Marutoku Sangyo Kk Joint of outside-plate panel
JP2000064441A (en) * 1998-08-21 2000-02-29 Kaneso Co Ltd Joint cover device for floor
JP2005155073A (en) * 2003-11-21 2005-06-16 Nippon Alum Co Ltd Expansion joint device
JP2005325611A (en) * 2004-05-14 2005-11-24 Abc Trading Co Ltd Construction part connection structure
JP2008255578A (en) * 2007-04-02 2008-10-23 Dooei Gaiso Kk Floor joint device
JP2010095850A (en) * 2008-10-14 2010-04-30 Toshiichi Daimatsu Base isolation expansion joint floor
JP2011047104A (en) * 2009-08-25 2011-03-10 Kaneso Co Ltd Floor joint cover device
JP2011047103A (en) * 2009-08-25 2011-03-10 Kaneso Co Ltd Joint cover device for floor
JP2011157722A (en) * 2010-02-01 2011-08-18 Dooei Gaiso Kk Joint plate

Patent Citations (12)

* Cited by examiner, † Cited by third party
Publication number Priority date Publication date Assignee Title
JPS60138910U (en) * 1984-02-27 1985-09-13 株式会社日本アルミ building expansion joint equipment
JPS61221435A (en) * 1985-03-26 1986-10-01 理研軽金属工業株式会社 Expansion joint
JPH0960129A (en) * 1995-08-25 1997-03-04 Nippon Alum Co Ltd Expansion joint device
JPH1018448A (en) * 1996-07-02 1998-01-20 Marutoku Sangyo Kk Joint of outside-plate panel
JP2000064441A (en) * 1998-08-21 2000-02-29 Kaneso Co Ltd Joint cover device for floor
JP2005155073A (en) * 2003-11-21 2005-06-16 Nippon Alum Co Ltd Expansion joint device
JP2005325611A (en) * 2004-05-14 2005-11-24 Abc Trading Co Ltd Construction part connection structure
JP2008255578A (en) * 2007-04-02 2008-10-23 Dooei Gaiso Kk Floor joint device
JP2010095850A (en) * 2008-10-14 2010-04-30 Toshiichi Daimatsu Base isolation expansion joint floor
JP2011047104A (en) * 2009-08-25 2011-03-10 Kaneso Co Ltd Floor joint cover device
JP2011047103A (en) * 2009-08-25 2011-03-10 Kaneso Co Ltd Joint cover device for floor
JP2011157722A (en) * 2010-02-01 2011-08-18 Dooei Gaiso Kk Joint plate

Also Published As

Publication number Publication date
JP6053158B2 (en) 2016-12-27

Similar Documents

Publication Publication Date Title
US9066591B2 (en) Fixing device for a slide assembly
KR102045421B1 (en) A method of assembling resilient floorboards which are provided with a mechanical locking system
KR20200079210A (en) Window frame combined type cat tower
JP6815004B2 (en) Sliding door upper guide device
KR101410355B1 (en) High tension coil spring of bed matress with means for preventing the friction noise
CN105962664A (en) Furniture sliding rail
JP6053158B2 (en) Floor joint cover device
KR20090076813A (en) Slab foam device
US20070158036A1 (en) Vertical blind having carrier mechanism
JP2009107760A (en) Man conveyor truss support device
JP6021076B2 (en) Panel mounting device
JP6935095B2 (en) Floor joint cover device
JP4012786B2 (en) Floor joint cover device
KR102088625B1 (en) Floor deck system using wood
KR101107753B1 (en) Flooring frames and floorings for dampproof and durable flooring
KR100865038B1 (en) Panel support device for all-weather skating rink
JP2004211530A (en) Base isolation structure of building
JP2017040349A (en) Vertical seismic isolator
JP2008114985A (en) Truss support device for passenger conveyor
JP6063621B2 (en) Vibration control partition panel device
JP5307769B2 (en) Self-running mechanism
KR100720809B1 (en) Flooring structure
CN215760567U (en) Assembled prefabricated component positioning device for building construction
KR102746457B1 (en) Deck structure
JP5231971B2 (en) Joint cover device

Legal Events

Date Code Title Description
A621 Written request for application examination

Free format text: JAPANESE INTERMEDIATE CODE: A621

Effective date: 20160212

TRDD Decision of grant or rejection written
A977 Report on retrieval

Free format text: JAPANESE INTERMEDIATE CODE: A971007

Effective date: 20161116

A01 Written decision to grant a patent or to grant a registration (utility model)

Free format text: JAPANESE INTERMEDIATE CODE: A01

Effective date: 20161122

A61 First payment of annual fees (during grant procedure)

Free format text: JAPANESE INTERMEDIATE CODE: A61

Effective date: 20161128

R150 Certificate of patent or registration of utility model

Ref document number: 6053158

Country of ref document: JP

Free format text: JAPANESE INTERMEDIATE CODE: R150

R250 Receipt of annual fees

Free format text: JAPANESE INTERMEDIATE CODE: R250

R250 Receipt of annual fees

Free format text: JAPANESE INTERMEDIATE CODE: R250

R250 Receipt of annual fees

Free format text: JAPANESE INTERMEDIATE CODE: R250

R250 Receipt of annual fees

Free format text: JAPANESE INTERMEDIATE CODE: R250

R250 Receipt of annual fees

Free format text: JAPANESE INTERMEDIATE CODE: R250

R250 Receipt of annual fees

Free format text: JAPANESE INTERMEDIATE CODE: R250

R250 Receipt of annual fees

Free format text: JAPANESE INTERMEDIATE CODE: R250