JP2014216617A - Swing stopper - Google Patents

Swing stopper Download PDF

Info

Publication number
JP2014216617A
JP2014216617A JP2013095549A JP2013095549A JP2014216617A JP 2014216617 A JP2014216617 A JP 2014216617A JP 2013095549 A JP2013095549 A JP 2013095549A JP 2013095549 A JP2013095549 A JP 2013095549A JP 2014216617 A JP2014216617 A JP 2014216617A
Authority
JP
Japan
Prior art keywords
oil
filled transformer
base
facing
portions
Prior art date
Legal status (The legal status is an assumption and is not a legal conclusion. Google has not performed a legal analysis and makes no representation as to the accuracy of the status listed.)
Granted
Application number
JP2013095549A
Other languages
Japanese (ja)
Other versions
JP5943873B2 (en
Inventor
将 ▲高▼比良
将 ▲高▼比良
Susumu Takahira
秀勇 松原
Shuyu Matsubara
秀勇 松原
Current Assignee (The listed assignees may be inaccurate. Google has not performed a legal analysis and makes no representation or warranty as to the accuracy of the list.)
Mitsubishi Electric Corp
Original Assignee
Mitsubishi Electric Corp
Priority date (The priority date is an assumption and is not a legal conclusion. Google has not performed a legal analysis and makes no representation as to the accuracy of the date listed.)
Filing date
Publication date
Application filed by Mitsubishi Electric Corp filed Critical Mitsubishi Electric Corp
Priority to JP2013095549A priority Critical patent/JP5943873B2/en
Publication of JP2014216617A publication Critical patent/JP2014216617A/en
Application granted granted Critical
Publication of JP5943873B2 publication Critical patent/JP5943873B2/en
Expired - Fee Related legal-status Critical Current
Anticipated expiration legal-status Critical

Links

Images

Classifications

    • HELECTRICITY
    • H01ELECTRIC ELEMENTS
    • H01FMAGNETS; INDUCTANCES; TRANSFORMERS; SELECTION OF MATERIALS FOR THEIR MAGNETIC PROPERTIES
    • H01F27/00Details of transformers or inductances, in general
    • H01F27/06Mounting, supporting or suspending transformers, reactors or choke coils not being of the signal type

Landscapes

  • Engineering & Computer Science (AREA)
  • Power Engineering (AREA)
  • Housings And Mounting Of Transformers (AREA)

Abstract

【課題】既設の油入変圧器にも適用しやすく、コストの増加を抑えてより簡単に油入変圧器の上部の固定を図ることができる揺れ止め具を得ること。【解決手段】揺れ止め具30は、第1の方向に沿って延びる基部31と、基部31の両端のそれぞれに形成されて、第1の方向と垂直な第2の方向に沿って延びる対向部32と、それぞれの対向部32の先端に形成されて、互いに離れる方向かつ第1の方向に沿って延びるとともに、第2の方向と平行な方向に貫通する貫通穴34が形成された固定部33と、基部31と対向部32との角に突出形成された接続座35と、を備え、対向部32同士の間隔Pは、平面視において方形形状を呈するとともに1の対向する辺同士に吊手が形成された油入変圧器の方形部のうち、吊手が形成されていない第1辺の長さと略等しく、基部31から対向部32の先端までの距離Qは、第1辺から吊手までの距離と略等しい。【選択図】図3An anti-sway tool that can be easily applied to an existing oil-filled transformer and can more easily fix the upper portion of the oil-filled transformer without increasing the cost. An anti-sway tool 30 includes a base 31 extending along a first direction and opposing portions formed at both ends of the base 31 and extending along a second direction perpendicular to the first direction. 32 and a fixed portion 33 formed at the tip of each opposing portion 32 and extending in a direction away from each other and in the first direction and penetrating in a direction parallel to the second direction. And a connection seat 35 protruding at the corners of the base portion 31 and the facing portion 32, and the interval P between the facing portions 32 has a rectangular shape in plan view and is suspended by one opposing side. Of the square part of the oil-filled transformer formed with the length of the first side where the hand is not formed, the distance Q from the base part 31 to the tip of the facing part 32 is approximately the same as the length of the first side. Is approximately equal to the distance to [Selection] Figure 3

Description

本発明は、揺れ止め具に関する。   The present invention relates to an anti-sway tool.

従来、内部に収容された巻線の冷却のために絶縁油が内部に充填された油入変圧器が用いられている(例えば、特許文献1を参照)。油入変圧器は、上部にブッシングが設けられており、そのブッシングには電線が接続される。また、油入変圧器は、地震時の移動や転倒対策として、本体の下部に設けられた据付足が、ボルト等で床面に固定されている。   Conventionally, an oil-filled transformer filled with insulating oil is used to cool the windings housed inside (see, for example, Patent Document 1). The oil-filled transformer is provided with a bushing at the top, and an electric wire is connected to the bushing. The oil-filled transformer is fixed to the floor surface with bolts or the like, as a countermeasure against movement or toppling during an earthquake.

特開2001−143933号公報JP 2001-143933 A

油入変圧器は、ボルト等で床面に固定されているため、地震時に移動や転倒はしにくいものの、固定されていない本体の上部が、床面に対して大きく揺れてしまう場合がある。本体の上部が揺れることで、ブッシングや電線に負荷が加わり破損してしまう場合がある。   Since the oil-filled transformer is fixed to the floor surface with bolts or the like, it is difficult for the oil-filled transformer to move or overturn during an earthquake, but the upper part of the unfixed main body may shake greatly with respect to the floor surface. When the upper part of the main body is shaken, a load may be applied to the bushing or the electric wire, which may be damaged.

そこで、地震時にブッシングや電線の破損を防ぐために、上部の揺れ幅を考慮した遊びを電線長に持たせることも考えられるが、遊びを大きくしすぎると電線間の絶縁距離を確保することが難しくなり、遊びを小さくしすぎるとブッシングや電線に加わる負荷の軽減が不十分となる。また、油入変圧器の設置場所や地震の強度によっても適切な遊びの長さは変化するため、適切な遊びの長さを算出することが困難である。   Therefore, in order to prevent bushing and breakage of the wire in the event of an earthquake, it may be possible to give the wire length a play that takes into account the upper swaying width, but it is difficult to secure an insulation distance between the wires if the play is too large. If the play is too small, the load applied to the bushing and the electric wire is not sufficiently reduced. In addition, since the appropriate play length varies depending on the installation location of the oil-filled transformer and the intensity of the earthquake, it is difficult to calculate the appropriate play length.

また、油入変圧器の上部を固定可能にするために、油入変圧器の構造を変更した場合、設計変更によるコストの増加や、標準仕様と異なる専用品としての製造によるコストの増加を招くおそれがある。また、既設の油入変圧器の上部を固定することができない。   In addition, if the structure of the oil-filled transformer is changed so that the upper part of the oil-filled transformer can be fixed, the cost will increase due to the design change and the cost will increase due to manufacturing as a dedicated product different from the standard specification. There is a fear. Moreover, the upper part of the existing oil-filled transformer cannot be fixed.

本発明は、上記に鑑みてなされたものであって、既設の油入変圧器にも適用しやすく、コストの増加を抑えてより簡単に油入変圧器の上部の固定を図ることができる揺れ止め具を得ることを目的とする。   The present invention has been made in view of the above, and can be easily applied to an existing oil-filled transformer, and can easily fix the upper portion of the oil-filled transformer without increasing the cost. The purpose is to obtain a stop.

上述した課題を解決し、目的を達成するために、本発明は、第1の方向に沿って延びる基部と、基部の両端のそれぞれに形成されて、第1の方向と垂直な第2の方向に沿って延びる対向部と、それぞれの対向部の先端に形成されて、互いに離れる方向かつ第1の方向に沿って延びるとともに、第2の方向と平行な方向に貫通する貫通穴が形成された固定部と、基部と対向部との角に突出形成された接続座と、を備え、対向部同士の間隔は、平面視において方形形状を呈するとともに1の対向する辺同士に吊手が形成された油入変圧器の方形部のうち、吊手が形成されていない第1辺の長さと略等しく、基部から対向部の先端までの距離は、第1辺から吊手までの距離と略等しいことを特徴とする。   In order to solve the above-described problems and achieve the object, the present invention provides a base portion extending along the first direction and a second direction formed on each of both ends of the base portion and perpendicular to the first direction. And a through-hole that extends in the direction away from each other and in the first direction and penetrates in the direction parallel to the second direction is formed. A fixed portion and a connection seat formed to project at the corners of the base portion and the opposed portion, and the interval between the opposed portions has a rectangular shape in plan view, and a hand is formed between one opposing side. Of the square part of the oil-filled transformer, the length of the first side where the handle is not formed is substantially equal, and the distance from the base part to the tip of the facing part is substantially the same as the distance from the first side to the handle. It is characterized by that.

本発明によれば、既設の油入変圧器にも適用しやすく、コストの増加を抑えてより簡単に油入変圧器の上部の固定を図ることができる揺れ止め具を得ることができるという効果を奏する。   According to the present invention, it is easy to apply to an existing oil-filled transformer, and it is possible to obtain an anti-sway tool that can more easily fix the upper portion of the oil-filled transformer without increasing the cost. Play.

図1は、油入変圧器の正面図である。FIG. 1 is a front view of an oil-filled transformer. 図2は、図1に示すA−A線に沿った矢視断面図である。2 is a cross-sectional view taken along the line AA shown in FIG. 図3は、本発明の実施の形態1にかかる揺れ止め具の平面図である。FIG. 3 is a plan view of the anti-sway tool according to the first embodiment of the present invention. 図4は、揺れ止め具が取り付けられた状態の油入変圧器の正面図である。FIG. 4 is a front view of the oil-filled transformer with the anti-sway tool attached. 図5は、図4に示すB−B線に沿って見た矢視断面図である。FIG. 5 is a cross-sectional view taken along the line BB shown in FIG.

以下に、本発明の実施の形態にかかる揺れ止め具を図面に基づいて詳細に説明する。なお、この実施の形態によりこの発明が限定されるものではない。   Hereinafter, a rocking stopper according to an embodiment of the present invention will be described in detail with reference to the drawings. Note that the present invention is not limited to the embodiments.

実施の形態1.
まず、本発明の実施の形態にかかる揺れ止め具が取り付けられる油入変圧器について説明する。図1は、油入変圧器の正面図である。油入変圧器50は、箱(本体)1、蓋5を備える。箱1の内部には、図示しない鉄心や巻線が収容される。また、箱1の内部には、巻線の冷却のために絶縁油が充填されている。
Embodiment 1 FIG.
First, an oil-filled transformer to which an anti-sway tool according to an embodiment of the present invention is attached will be described. FIG. 1 is a front view of an oil-filled transformer. The oil-filled transformer 50 includes a box (main body) 1 and a lid 5. Inside the box 1, an iron core and windings (not shown) are accommodated. The box 1 is filled with insulating oil for cooling the windings.

箱1の上側は、蓋5によって閉塞される。蓋5の上部からは、高圧ブッシング(ブッシング)6と低圧ブッシング7とが突出されている。高圧ブッシング6には、高圧側受電ケーブル(電線)8が接続される。低圧ブッシング7には、低圧側受電ケーブル(電線)9が接続される。ブッシング6,7を介して、箱1内の巻線とケーブル8,9とが電気的に接続される。   The upper side of the box 1 is closed by a lid 5. A high pressure bushing (bushing) 6 and a low pressure bushing 7 protrude from the top of the lid 5. The high-voltage bushing 6 is connected to a high-voltage power receiving cable (electric wire) 8. A low voltage side power receiving cable (electric wire) 9 is connected to the low voltage bushing 7. The windings in the box 1 and the cables 8 and 9 are electrically connected via the bushings 6 and 7.

箱1の下部には、据付穴3が形成された据付足2が設けられている。図示しないボルト等を用いて、据付足2を床面11に固定することで、油入変圧器50が固定される。箱1には、吊手4が形成されている。   In the lower part of the box 1, there are provided installation feet 2 in which installation holes 3 are formed. The oil-filled transformer 50 is fixed by fixing the installation foot 2 to the floor surface 11 using a bolt or the like (not shown). The box 1 is formed with a handle 4.

図2は、図1に示すA−A線に沿った矢視断面図である。図2に示すように、箱1は、平面視において方形形状を呈する方形部を有する。なお、図2において、箱1の内部の詳細な構造は省略し、全体をハッチングで示している。   2 is a cross-sectional view taken along the line AA shown in FIG. As shown in FIG. 2, the box 1 has a square portion that has a square shape in plan view. In FIG. 2, the detailed structure inside the box 1 is omitted, and the whole is shown by hatching.

吊手4は、方形部の外周を構成する4つの辺のうち、一の対向する辺(第2辺1b)から突出するように形成されている。他方の対向する辺(第1辺1a)には、吊手4は形成されていない。吊手4には、油入変圧器50の搬入時等に、吊具等を引っ掛けることができるように、下向きの凹部4aが形成されている。   The hanging hand 4 is formed so as to protrude from one opposing side (second side 1b) among the four sides constituting the outer periphery of the rectangular portion. On the other opposing side (first side 1a), the handle 4 is not formed. A downward recess 4 a is formed in the hanging hand 4 so that a hanging tool or the like can be hooked when the oil-filled transformer 50 is carried in.

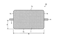
次に、本発明の実施の形態にかかる揺れ止め具について説明する。図3は、本発明の実施の形態1にかかる揺れ止め具の平面図である。揺れ止め具30は、基部31、対向部32、固定部33、接続座35を備える。揺れ止め具30は、鋼板の折り曲げや溶接によって成形され、油入変圧器50に取り付けて用いられる。   Next, the anti-sway tool according to the embodiment of the present invention will be described. FIG. 3 is a plan view of the anti-sway tool according to the first embodiment of the present invention. The anti-sway tool 30 includes a base portion 31, a facing portion 32, a fixing portion 33, and a connection seat 35. The anti-sway tool 30 is formed by bending or welding a steel plate and attached to the oil-filled transformer 50 for use.

基部31は、矢印Xに示す方向(第1の方向)に沿って延びる。対向部32は、基部31の両端のそれぞれに形成される。対向部32は、矢印Xと垂直な矢印Yに示す方向(第2の方向)に沿って延びる。基部31と対向部32は、平面視において全体としてコ字形状を呈する。コ字形状を呈する基部31と対向部32との内側面には、ゴム等の緩衝材15が貼り付けられている。   The base 31 extends along the direction indicated by the arrow X (first direction). The facing portion 32 is formed at each of both ends of the base portion 31. The facing portion 32 extends along a direction (second direction) indicated by an arrow Y perpendicular to the arrow X. The base 31 and the opposing part 32 exhibit a U-shape as a whole in plan view. A cushioning material 15 such as rubber is affixed to the inner side surfaces of the base portion 31 and the facing portion 32 having a U-shape.

固定部33は、それぞれの対向部32の先端に形成され、矢印Xに示す方向に沿うとともに互いに離れる方向に延びる。固定部33には、矢印Yに示す方向に貫通する貫通穴34が形成される。接続座35は、基部31と対向部32との角に突出形成される。接続座35には、後述するワイヤを固定するための接続穴36が形成される。   The fixing portion 33 is formed at the tip of each facing portion 32 and extends in a direction along the direction indicated by the arrow X and away from each other. A through hole 34 that penetrates in the direction indicated by the arrow Y is formed in the fixing portion 33. The connection seat 35 is formed to project at the corner between the base portion 31 and the facing portion 32. A connection hole 36 for fixing a wire to be described later is formed in the connection seat 35.

揺れ止め具30において、対向部32同士の間隔Pは、油入変圧器50の方形部における第1辺1aの長さR(図2も参照)と略等しい。また、基部31から対向部32の先端までの距離Qは、油入変圧器50の方形部における第1辺1aから吊手4までの距離S(図2も参照)と略等しい。   In the anti-sway tool 30, the interval P between the opposing parts 32 is substantially equal to the length R (see also FIG. 2) of the first side 1 a in the square part of the oil-filled transformer 50. Further, the distance Q from the base portion 31 to the tip of the facing portion 32 is substantially equal to the distance S (see also FIG. 2) from the first side 1a to the suspension 4 in the rectangular portion of the oil-filled transformer 50.

図4は、揺れ止め具30が取り付けられた状態の油入変圧器50の正面図である。図5は、図4に示すB−B線に沿って見た矢視断面図である。図5に示すように、油入変圧器50には、2つの揺れ止め具30が取り付けられる。   FIG. 4 is a front view of the oil-filled transformer 50 with the anti-sway tool 30 attached. FIG. 5 is a cross-sectional view taken along the line BB shown in FIG. As shown in FIG. 5, two anti-swaying tools 30 are attached to the oil-filled transformer 50.

油入変圧器50の両側から、対向部32の間に方形部が差し込まれるように揺れ止め具30が取り付けられる。基部31が方形部の第1辺1aに当接されるまで揺れ止め具30が押し込まれると、吊手4が固定部33に挟み込まれるようになる。   The anti-swaying tool 30 is attached from both sides of the oil-filled transformer 50 so that the square part is inserted between the opposed parts 32. When the anti-sway tool 30 is pushed in until the base portion 31 comes into contact with the first side 1 a of the square portion, the suspension 4 is sandwiched between the fixing portions 33.

この状態で、固定部33に形成された貫通穴34と吊手4に形成された凹部4aとが連通する。連通した貫通穴34と凹部4aとにボルト13を挿通させ、そのボルト13の軸部にナット14をねじ込むことで、揺れ止め具30が油入変圧器50に固定される。   In this state, the through hole 34 formed in the fixing portion 33 and the recess 4a formed in the suspension 4 communicate with each other. The bolt 13 is inserted into the through hole 34 and the recess 4 a that are in communication, and the nut 14 is screwed into the shaft portion of the bolt 13, whereby the anti-sway tool 30 is fixed to the oil-filled transformer 50.

そして、図4に示すように、建屋の壁構造や盤等の壁面10に設けられた固定具41と、揺れ止め具30に形成された接続座35とをワイヤ40で連結することで、油入変圧器50を上部で固定することができる。   And as shown in FIG. 4, the fixture 41 provided in the wall surface 10 of a building, a board, etc., and the connection seat 35 formed in the anti-sway tool 30 are connected by the wire 40, and oil is obtained. The input transformer 50 can be fixed at the top.

接続座35は、油入変圧器50の方形部の4つの角それぞれに対応して設けられることとなる。そのため、ワイヤ40によって張力を付加すれば、油入変圧器50を四方から引っ張ることができ、地震時等の油入変圧器50の上部の揺れ幅を低減することができる。油入変圧器50の上部の揺れ幅が低減されれば、ブッシングや電線に加わる負荷も低減できるため、ブッシングや電線が破損しにくくなる。   The connection seat 35 is provided corresponding to each of the four corners of the square part of the oil-filled transformer 50. Therefore, if tension | tensile_strength is added with the wire 40, the oil-filled transformer 50 can be pulled from four directions, and the swing width of the upper part of the oil-filled transformer 50 at the time of an earthquake, etc. can be reduced. If the swing width of the upper part of the oil-filled transformer 50 is reduced, the load applied to the bushing and the electric wire can be reduced, so that the bushing and the electric wire are not easily damaged.

また、油入変圧器50に揺れ止め具30を取り付けるだけで済むので、既設の油入変圧器にも適用することができる。また、吊手4を挟んで揺れ止め具30が固定されるので、揺れ止め具30を取り付けるうえで吊手4が邪魔になりにくい。また、油入変圧器50に対して特別な設計変更を行ったり、専用品としたりする必要もないため、コストの増加を抑えることができる。   Moreover, since it is only necessary to attach the anti-sway tool 30 to the oil-filled transformer 50, it can be applied to an existing oil-filled transformer. Moreover, since the anti-swaying tool 30 is fixed across the hanger 4, the hanger 4 is less likely to get in the way when the anti-swaying tool 30 is attached. Moreover, since it is not necessary to make a special design change with respect to the oil-filled transformer 50 or to make it a dedicated product, an increase in cost can be suppressed.

また、揺れ止め具30のうち、油入変圧器50の方形部に当接する面に緩衝材15が貼り付けられているので、油入変圧器50の塗装の損傷や、油入変圧器50の部品の一つである鉄心の磁歪により運転時に発生する振動がワイヤ40等を通じて壁面10等へ伝わるのを防ぐことができる。なお、緩衝材15には、ゴム以外のものを用いてもよい。また、緩衝材15を省略しても、油入変圧器50の上部の揺れ幅を低減する効果を得ることができる。   Moreover, since the shock absorbing material 15 is affixed on the surface which contact | abuts the square part of the oil-filled transformer 50 among the vibration stoppers 30, the damage of the coating of the oil-filled transformer 50, the oil-filled transformer 50 It is possible to prevent vibration generated during operation due to magnetostriction of the iron core, which is one of the parts, from being transmitted to the wall surface 10 through the wire 40 or the like. Note that a material other than rubber may be used for the buffer material 15. Even if the buffer material 15 is omitted, the effect of reducing the swing width of the upper part of the oil-filled transformer 50 can be obtained.

以上のように、本発明にかかる揺れ止め具は、油入変圧器の上部の固定に有用である。   As described above, the anti-sway device according to the present invention is useful for fixing the upper part of the oil-filled transformer.

1 箱、1a 第1辺、1b 第2辺、2 据付足、3 据付穴、4 吊手、4a 凹部、5 蓋、6 高圧ブッシング(ブッシング)、7 低圧ブッシング(ブッシング)、8 高圧側受電ケーブル(電線)、9 低圧側受電ケーブル(電線)、10 壁面、11 床面、13 ボルト、14 ナット、15 緩衝材、30 揺れ止め具、31 基部、32 対向部、33 固定部、34 貫通穴、35 接続座、36 接続穴、40 ワイヤ、41 固定具、50 油入変圧器。   1 box, 1a first side, 1b second side, 2 installation feet, 3 installation holes, 4 suspension, 4a recess, 5 lid, 6 high pressure bushing (bushing), 7 low pressure bushing (bushing), 8 high voltage side power receiving cable (Electric wire), 9 Low voltage side receiving cable (Electric wire), 10 Wall surface, 11 Floor surface, 13 Bolt, 14 Nut, 15 Shock absorber, 30 Anti-sway tool, 31 Base part, 32 Opposing part, 33 Fixing part, 34 Through hole, 35 connection seat, 36 connection hole, 40 wires, 41 fixture, 50 oil-filled transformer.

Claims (2)

第1の方向に沿って延びる基部と、
前記基部の両端のそれぞれに形成されて、前記第1の方向と垂直な第2の方向に沿って延びる対向部と、
それぞれの前記対向部の先端に形成されて、互いに離れる方向かつ前記第1の方向に沿って延びるとともに、前記第2の方向と平行な方向に貫通する貫通穴が形成された固定部と、
前記基部と前記対向部との角に突出形成された接続座と、を備え、
前記対向部同士の間隔は、平面視において方形形状を呈するとともに1の対向する辺同士に吊手が形成された油入変圧器の方形部のうち、前記吊手が形成されていない第1辺の長さと略等しく、
前記基部から前記対向部の先端までの距離は、前記第1辺から前記吊手までの距離と略等しいことを特徴とする揺れ止め具。
A base extending along the first direction;
Opposing portions formed at both ends of the base portion and extending along a second direction perpendicular to the first direction;
A fixing portion formed at the tip of each of the facing portions, extending in a direction away from each other and in the first direction, and having a through hole penetrating in a direction parallel to the second direction;
A connection seat formed to project at the corners of the base and the facing portion;
The interval between the facing portions is a first side where the handle is not formed among the square portions of the oil-filled transformer which has a square shape in plan view and has a handle formed on one facing side. Is approximately equal to the length of
The anti-swaying tool, wherein a distance from the base to the tip of the facing part is substantially equal to a distance from the first side to the suspension.
前記基部のうち前記第2の方向側となる面、および前記対向部同士が対向する面には、緩衝材が設けられていることを特徴とする請求項1に記載の揺れ止め具。   The anti-swaying tool according to claim 1, wherein a cushioning material is provided on a surface of the base portion on the second direction side and a surface where the facing portions face each other.
JP2013095549A 2013-04-30 2013-04-30 Anti-sway tool Expired - Fee Related JP5943873B2 (en)

Priority Applications (1)

Application Number Priority Date Filing Date Title
JP2013095549A JP5943873B2 (en) 2013-04-30 2013-04-30 Anti-sway tool

Applications Claiming Priority (1)

Application Number Priority Date Filing Date Title
JP2013095549A JP5943873B2 (en) 2013-04-30 2013-04-30 Anti-sway tool

Publications (2)

Publication Number Publication Date
JP2014216617A true JP2014216617A (en) 2014-11-17
JP5943873B2 JP5943873B2 (en) 2016-07-05

Family

ID=51942062

Family Applications (1)

Application Number Title Priority Date Filing Date
JP2013095549A Expired - Fee Related JP5943873B2 (en) 2013-04-30 2013-04-30 Anti-sway tool

Country Status (1)

Country Link
JP (1) JP5943873B2 (en)

Cited By (1)

* Cited by examiner, † Cited by third party
Publication number Priority date Publication date Assignee Title
CN108726352A (en) * 2018-08-22 2018-11-02 镇江天力变压器有限公司 A kind of novel American Unit Substation hoisting structure

Citations (5)

* Cited by examiner, † Cited by third party
Publication number Priority date Publication date Assignee Title
JPS56147415A (en) * 1980-04-18 1981-11-16 Daihen Corp Oil saving transformer
JPS5936911A (en) * 1982-08-25 1984-02-29 Hitachi Ltd Steady bracing apparatus for body of electric device
JPS60160518U (en) * 1984-04-04 1985-10-25 株式会社東芝 Transformer contents fixing device
JP2008103578A (en) * 2006-10-20 2008-05-01 Hitachi Industrial Equipment Systems Co Ltd Transformer
JP2012009486A (en) * 2010-06-22 2012-01-12 Hitachi Industrial Equipment Systems Co Ltd Stacked transformer

Patent Citations (5)

* Cited by examiner, † Cited by third party
Publication number Priority date Publication date Assignee Title
JPS56147415A (en) * 1980-04-18 1981-11-16 Daihen Corp Oil saving transformer
JPS5936911A (en) * 1982-08-25 1984-02-29 Hitachi Ltd Steady bracing apparatus for body of electric device
JPS60160518U (en) * 1984-04-04 1985-10-25 株式会社東芝 Transformer contents fixing device
JP2008103578A (en) * 2006-10-20 2008-05-01 Hitachi Industrial Equipment Systems Co Ltd Transformer
JP2012009486A (en) * 2010-06-22 2012-01-12 Hitachi Industrial Equipment Systems Co Ltd Stacked transformer

Cited By (1)

* Cited by examiner, † Cited by third party
Publication number Priority date Publication date Assignee Title
CN108726352A (en) * 2018-08-22 2018-11-02 镇江天力变压器有限公司 A kind of novel American Unit Substation hoisting structure

Also Published As

Publication number Publication date
JP5943873B2 (en) 2016-07-05

Similar Documents

Publication Publication Date Title
JP6952537B2 (en) Seismic damping device for electric power equipment
KR20150121405A (en) Aseismicity apparatus for electric power equipment
KR101227947B1 (en) Seismic proof switchgear and controlgear
KR101712571B1 (en) Vibration-proof type mold transformer
CN110566616A (en) passive variable-rigidity non-smooth vibration absorber
JP5943873B2 (en) Anti-sway tool
RU2279584C1 (en) Rubber vibration isolator for equipment
CN104332280A (en) Anti-vibration connecting device of transformer for ship
CN207397868U (en) A kind of noise reduction clamp device of dry-type transformer
CN202132431U (en) Wire rope shock absorber
JP2023011134A (en) Shock-absorbing mechanism and shock-absorbing method for electronic device protection box
CN103368086B (en) A kind of switchgear damping device
RU2303721C1 (en) Vibration isolator
CN103287684A (en) Shock-resistant packing box
CN202833838U (en) Vibration damping device
JP6101616B2 (en) Transformer
KR101719128B1 (en) Earthquake-proof type cable tray and duct system of wire base for earthquake-proof design
JP6738764B2 (en) Hoisting machine and elevator device, and assembling method of anti-vibration mechanism and overturning prevention mechanism of hoisting machine
CN104753011A (en) Anti-vibration hammer for high-voltage transmission line
CN203608495U (en) Capacitor supporting structure
JP3171679U (en) Transformer seismic structure
KR101427443B1 (en) Core mounting apparatus for transformer
CN203585179U (en) Multilayer board assembly damping device
KR20220138459A (en) Seismic retrofit frame for power substation
CN203488629U (en) Underslung type vibration damper

Legal Events

Date Code Title Description
A621 Written request for application examination

Free format text: JAPANESE INTERMEDIATE CODE: A621

Effective date: 20150710

TRDD Decision of grant or rejection written
A01 Written decision to grant a patent or to grant a registration (utility model)

Free format text: JAPANESE INTERMEDIATE CODE: A01

Effective date: 20160426

A977 Report on retrieval

Free format text: JAPANESE INTERMEDIATE CODE: A971007

Effective date: 20160428

A61 First payment of annual fees (during grant procedure)

Free format text: JAPANESE INTERMEDIATE CODE: A61

Effective date: 20160524

R150 Certificate of patent or registration of utility model

Ref document number: 5943873

Country of ref document: JP

Free format text: JAPANESE INTERMEDIATE CODE: R150

R250 Receipt of annual fees

Free format text: JAPANESE INTERMEDIATE CODE: R250

R250 Receipt of annual fees

Free format text: JAPANESE INTERMEDIATE CODE: R250

LAPS Cancellation because of no payment of annual fees