JP2014195790A - 排ガス処理方法 - Google Patents
排ガス処理方法 Download PDFInfo
- Publication number
- JP2014195790A JP2014195790A JP2013073476A JP2013073476A JP2014195790A JP 2014195790 A JP2014195790 A JP 2014195790A JP 2013073476 A JP2013073476 A JP 2013073476A JP 2013073476 A JP2013073476 A JP 2013073476A JP 2014195790 A JP2014195790 A JP 2014195790A
- Authority
- JP
- Japan
- Prior art keywords
- exhaust gas
- concentration
- gas
- alkaline agent
- acid gas
- Prior art date
- Legal status (The legal status is an assumption and is not a legal conclusion. Google has not performed a legal analysis and makes no representation as to the accuracy of the status listed.)
- Granted
Links
Images
Landscapes
- Chimneys And Flues (AREA)
- Treating Waste Gases (AREA)
Abstract
Description
塩化水素および二酸化硫黄を含む酸性ガスを含有する排ガス中の前記酸性ガス濃度を計測して、第一の計測値を得る第一の濃度計測工程と、
第一濃度計測工程後の排ガスをガス冷却塔で冷却する冷却工程と、
前記ガス冷却塔内の排ガスに液状アルカリ剤を供給して、前記酸性ガスの少なくとも一部を中和する第一の酸性ガス除去工程と、
前記第一の酸性ガス除去工程後の排ガスに粉末状アルカリ剤を供給して、前記酸性ガスと粉末状アルカリ剤との反応生成物を得る第二の酸性ガス除去工程と、
前記第二の酸性ガス除去工程後の排ガス中の前記反応生成物を集塵機で集塵して除去する集塵工程と、
前記集塵機から排出され煙突に流入される排ガス中の酸性ガス濃度を計測して、第二の計測値を得る第二の濃度計測工程とを具備する排ガス処理方法であって、
前記第一の酸性ガス除去工程で、前記第一の計測値に基づいて、塩化水素濃度および二酸化硫黄濃度と、前記液状アルカリ剤の設定すべき当量比との予め定められた関係から導かれる1.0未満の当量比に前記液状アルカリ剤の供給量を制御し、
前記第二の酸性ガス除去工程で、前記第二の計測値に基づいて、排ガス中の塩化水素濃度および二酸化硫黄濃度をそれぞれの所定の目標濃度以下とするように前記粉末状アルカリ剤の供給量を制御することを特徴とする。
塩化水素および二酸化硫黄を含む酸性ガスを含有する排ガス中の前記酸性ガス濃度を計測して、第一の計測値を得る第一の濃度計測工程と、
第一濃度計測工程後の排ガスをガス冷却塔で冷却する冷却工程と、
前記ガス冷却塔内の排ガスに液状アルカリ剤を供給して、前記酸性ガスの少なくとも一部を中和する第一の酸性ガス除去工程と、
前記第一の酸性ガス除去工程後の排ガスに粉末状アルカリ剤を供給して、前記酸性ガスと粉末状アルカリ剤との反応生成物を得る第二の酸性ガス除去工程と、
前記第二の酸性ガス除去工程後の排ガス中の前記反応生成物を集塵機で集塵して除去する集塵工程と、
前記集塵機から排出され煙突に流入される排ガス中の酸性ガス濃度を計測して、第二の計測値を得る第二の濃度計測工程とを具備する排ガス処理方法であって、
粉末状アルカリ剤は、消石灰および重曹から選択され、
前記第一の酸性ガス除去工程で、前記第一の計測値に基づいて、塩化水素濃度および二酸化硫黄濃度と、前記液状アルカリ剤の設定すべき当量比との予め定められた関係から導かれる1.0未満の当量比に前記液状アルカリ剤の供給量を制御し、
前記第二の酸性ガス除去工程で、前記第一の計測値が所定値以下の場合に粉末状アルカリ剤として消石灰を供給し、前記第一の計測値が所定値を超える場合に粉末状アルカリ剤として重曹を供給して、前記第二の計測値に基づいて排ガス中の酸性ガス濃度を所定の目標濃度以下とするように、前記粉末状アルカリ剤の供給量を制御することを特徴とする。
前記第二の酸性ガス除去工程で前記第二の計測値が所定値を超える場合、消石灰の供給量を固定量として供給するとともに重曹を供給して、前記第二の計測値に基づき排ガス中の酸性ガス濃度を所定の目標濃度以下とするように前記重曹の供給量を制御することを特徴とする。
塩化水素および二酸化硫黄を含む酸性ガスを含有する排ガス中の前記酸性ガス濃度を計測して、第一の計測値を得る第一の濃度計測工程と、
第一濃度計測工程後の排ガスをガス冷却塔で冷却する冷却工程と、
前記ガス冷却塔内の排ガスに液状アルカリ剤を供給して、前記酸性ガスの少なくとも一部を中和する第一の酸性ガス除去工程と、
前記第一の酸性ガス除去工程後の排ガスに粉末状アルカリ剤を供給して、前記酸性ガスと粉末状アルカリ剤との反応生成物を得る第二の酸性ガス除去工程と、
前記第二の酸性ガス除去工程後の排ガス中の前記反応生成物を集塵機で集塵して除去する集塵工程と、
前記集塵機から排出され煙突に流入される排ガス中の酸性ガス濃度を計測して、第二の計測値を得る第二の濃度計測工程とを具備する排ガス処理方法であって、
粉末状アルカリ剤は、消石灰および重曹から選択され、
前記第一の酸性ガス除去工程で、前記第一の計測値に基づいて、前記液状アルカリ剤の供給量を制御し、
前記第二の酸性ガス除去工程で、前記第一の計測値が所定値以下の場合に粉末状アルカリ剤として消石灰を供給し、前記第一の計測値が所定値を超える場合に粉末状アルカリ剤として重曹を供給して、前記第二の計測値に基づいて排ガス中の酸性ガス濃度を所定の目標濃度以下とするように、前記粉末状アルカリ剤の供給量を制御することを特徴とする。
前記第二の酸性ガス除去工程で、前記第二の計測値が所定値を超える場合、消石灰の供給量を固定量として供給するとともに重曹を供給して、前記第二の計測値に基づき排ガス中の酸性ガス濃度を所定の目標濃度以下とするように前記重曹の供給量を制御することを特徴とする。
SO2+2NaOH+1/2O2→Na2SO4+H2O (2)
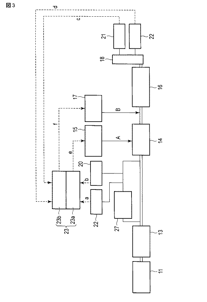
その後、ガス冷却塔14の出口からバグフィルタ16の入口までの間の煙道またはバグフィルタ16の入口で、消石灰供給装置17から排ガス中に消石灰が噴霧される(実線矢印B)。消石灰が排ガスに噴霧されることにより、排ガス中に残存する酸性ガスが中和され、塩化水素が消石灰と反応してCaCl2が生成され、二酸化硫黄が消石灰と反応して亜硫酸カルシウム(CaSO3)が生成される(第二酸性ガス除去工程)。
16…バグフィルタ; 17…消石灰供給装置; 18…煙突
19…第一の塩化水素濃度計: 20…第一の二酸化硫黄濃度計
21…第一の塩化水素濃度計: 22…第一の二酸化硫黄濃度計
23…アルカリ剤供給量制御装置; 23a…苛性ソーダ供給量制御部
23b…消石灰供給量制御部; 23c…消石灰重曹供給量制御部
25…重曹供給装置; 27…小型除塵装置。
Claims (5)
- 塩化水素および二酸化硫黄を含む酸性ガスを含有する排ガス中の前記酸性ガス濃度を計測して、第一の計測値を得る第一の濃度計測工程と、
第一濃度計測工程後の排ガスをガス冷却塔で冷却する冷却工程と、
前記ガス冷却塔内の排ガスに液状アルカリ剤を供給して、前記酸性ガスの少なくとも一部を中和する第一の酸性ガス除去工程と、
前記第一の酸性ガス除去工程後の排ガスに粉末状アルカリ剤を供給して、前記酸性ガスと粉末状アルカリ剤との反応生成物を得る第二の酸性ガス除去工程と、
前記第二の酸性ガス除去工程後の排ガス中の前記反応生成物を集塵機で集塵して除去する集塵工程と、
前記集塵機から排出され煙突に流入される排ガス中の酸性ガス濃度を計測して、第二の計測値を得る第二の濃度計測工程とを具備する排ガス処理方法であって、
前記第一の酸性ガス除去工程で、前記第一の計測値に基づいて、塩化水素濃度および二酸化硫黄濃度と、前記液状アルカリ剤の設定すべき当量比との予め定められた関係から導かれる1.0未満の当量比に前記液状アルカリ剤の供給量を制御し、
前記第二の酸性ガス除去工程で、前記第二の計測値に基づいて、排ガス中の塩化水素濃度および二酸化硫黄濃度をそれぞれの所定の目標濃度以下とするように前記粉末状アルカリ剤の供給量を制御することを特徴とする排ガス処理方法。 - 塩化水素および二酸化硫黄を含む酸性ガスを含有する排ガス中の前記酸性ガス濃度を計測して、第一の計測値を得る第一の濃度計測工程と、
第一濃度計測工程後の排ガスをガス冷却塔で冷却する冷却工程と、
前記ガス冷却塔内の排ガスに液状アルカリ剤を供給して、前記酸性ガスの少なくとも一部を中和する第一の酸性ガス除去工程と、
前記第一の酸性ガス除去工程後の排ガスに粉末状アルカリ剤を供給して、前記酸性ガスと粉末状アルカリ剤との反応生成物を得る第二の酸性ガス除去工程と、
前記第二の酸性ガス除去工程後の排ガス中の前記反応生成物を集塵機で集塵して除去する集塵工程と、
前記集塵機から排出され煙突に流入される排ガス中の酸性ガス濃度を計測して、第二の計測値を得る第二の濃度計測工程とを具備する排ガス処理方法であって、
粉末状アルカリ剤は、消石灰および重曹から選択され、
前記第一の酸性ガス除去工程で、前記第一の計測値に基づいて、塩化水素濃度および二酸化硫黄濃度と、前記液状アルカリ剤の設定すべき当量比との予め定められた関係から導かれる1.0未満の当量比に前記液状アルカリ剤の供給量を制御し、
前記第二の酸性ガス除去工程で、前記第一の計測値が所定値以下の場合に粉末状アルカリ剤として消石灰を供給し、前記第一の計測値が所定値を超える場合に粉末状アルカリ剤として重曹を供給して、前記第二の計測値に基づいて排ガス中の酸性ガス濃度を所定の目標濃度以下とするように、前記粉末状アルカリ剤の供給量を制御することを特徴とする排ガス処理方法。 - 前記第二の酸性ガス除去工程で前記第二の計測値が所定値を超える場合、消石灰の供給量を固定量として供給するとともに重曹を供給して、前記第二の計測値に基づき排ガス中の酸性ガス濃度を所定の目標濃度以下とするように前記重曹の供給量を制御することを特徴とする請求項2に記載の排ガス処理方法。
- 塩化水素および二酸化硫黄を含む酸性ガスを含有する排ガス中の前記酸性ガス濃度を計測して、第一の計測値を得る第一の濃度計測工程と、
第一濃度計測工程後の排ガスをガス冷却塔で冷却する冷却工程と、
前記ガス冷却塔内の排ガスに液状アルカリ剤を供給して、前記酸性ガスの少なくとも一部を中和する第一の酸性ガス除去工程と、
前記第一の酸性ガス除去工程後の排ガスに粉末状アルカリ剤を供給して、前記酸性ガスと粉末状アルカリ剤との反応生成物を得る第二の酸性ガス除去工程と、
前記第二の酸性ガス除去工程後の排ガス中の前記反応生成物を集塵機で集塵して除去する集塵工程と、
前記集塵機から排出され煙突に流入される排ガス中の酸性ガス濃度を計測して、第二の計測値を得る第二の濃度計測工程とを具備する排ガス処理方法であって、
粉末状アルカリ剤は、消石灰および重曹から選択され、
前記第一の酸性ガス除去工程で、前記第一の計測値に基づいて、前記液状アルカリ剤の供給量を制御し、
前記第二の酸性ガス除去工程で、前記第一の計測値が所定値以下の場合に粉末状アルカリ剤として消石灰を供給し、前記第一の計測値が所定値を超える場合に粉末状アルカリ剤として重曹を供給して、前記第二の計測値に基づいて排ガス中の酸性ガス濃度を所定の目標濃度以下とするように、前記粉末状アルカリ剤の供給量を制御することを特徴とする排ガス処理方法。 - 前記第二の酸性ガス除去工程で、前記第二の計測値が所定値を超える場合、消石灰の供給量を固定量として供給するとともに重曹を供給して、前記第二の計測値に基づき排ガス中の酸性ガス濃度を所定の目標濃度以下とするように前記重曹の供給量を制御することを特徴とする請求項4に記載の排ガス処理方法。
Priority Applications (1)
| Application Number | Priority Date | Filing Date | Title |
|---|---|---|---|
| JP2013073476A JP6020305B2 (ja) | 2013-03-29 | 2013-03-29 | 排ガス処理方法 |
Applications Claiming Priority (1)
| Application Number | Priority Date | Filing Date | Title |
|---|---|---|---|
| JP2013073476A JP6020305B2 (ja) | 2013-03-29 | 2013-03-29 | 排ガス処理方法 |
Publications (2)
| Publication Number | Publication Date |
|---|---|
| JP2014195790A true JP2014195790A (ja) | 2014-10-16 |
| JP6020305B2 JP6020305B2 (ja) | 2016-11-02 |
Family
ID=52357036
Family Applications (1)
| Application Number | Title | Priority Date | Filing Date |
|---|---|---|---|
| JP2013073476A Active JP6020305B2 (ja) | 2013-03-29 | 2013-03-29 | 排ガス処理方法 |
Country Status (1)
| Country | Link |
|---|---|
| JP (1) | JP6020305B2 (ja) |
Cited By (5)
| Publication number | Priority date | Publication date | Assignee | Title |
|---|---|---|---|---|
| JP2016140837A (ja) * | 2015-02-03 | 2016-08-08 | Jfeエンジニアリング株式会社 | 排ガス処理装置及び排ガス処理方法 |
| JP2017124348A (ja) * | 2016-01-12 | 2017-07-20 | 株式会社プランテック | ごみ焼却炉排ガス処理方法、ならびにごみ焼却炉排ガス処理設備 |
| WO2018101030A1 (ja) * | 2016-12-02 | 2018-06-07 | 日立造船株式会社 | 排ガス処理装置、焼却設備および排ガス処理方法 |
| CN108224450A (zh) * | 2016-12-22 | 2018-06-29 | 内蒙古大学 | 全封闭式的垃圾焚烧方法及其装置 |
| KR102663614B1 (ko) * | 2024-01-08 | 2024-05-08 | 엠함안 주식회사 | 정량 투입 제어 수단이 구비된 테이블피더 시스템 |
Citations (4)
| Publication number | Priority date | Publication date | Assignee | Title |
|---|---|---|---|---|
| JPS5230783A (en) * | 1975-09-05 | 1977-03-08 | Mitsubishi Heavy Ind Ltd | Wet desulfurization process of exhaust gas |
| JP2010221150A (ja) * | 2009-03-24 | 2010-10-07 | Kurita Water Ind Ltd | 燃焼排ガスの処理方法及び装置 |
| JP2010227749A (ja) * | 2009-03-26 | 2010-10-14 | Jfe Engineering Corp | 排ガス処理方法 |
| JP2012223668A (ja) * | 2011-04-15 | 2012-11-15 | Mitsubishi Heavy Industries Environmental & Chemical Engineering Co Ltd | 乾式脱硫方法及び装置 |
-
2013
- 2013-03-29 JP JP2013073476A patent/JP6020305B2/ja active Active
Patent Citations (4)
| Publication number | Priority date | Publication date | Assignee | Title |
|---|---|---|---|---|
| JPS5230783A (en) * | 1975-09-05 | 1977-03-08 | Mitsubishi Heavy Ind Ltd | Wet desulfurization process of exhaust gas |
| JP2010221150A (ja) * | 2009-03-24 | 2010-10-07 | Kurita Water Ind Ltd | 燃焼排ガスの処理方法及び装置 |
| JP2010227749A (ja) * | 2009-03-26 | 2010-10-14 | Jfe Engineering Corp | 排ガス処理方法 |
| JP2012223668A (ja) * | 2011-04-15 | 2012-11-15 | Mitsubishi Heavy Industries Environmental & Chemical Engineering Co Ltd | 乾式脱硫方法及び装置 |
Cited By (8)
| Publication number | Priority date | Publication date | Assignee | Title |
|---|---|---|---|---|
| JP2016140837A (ja) * | 2015-02-03 | 2016-08-08 | Jfeエンジニアリング株式会社 | 排ガス処理装置及び排ガス処理方法 |
| JP2017124348A (ja) * | 2016-01-12 | 2017-07-20 | 株式会社プランテック | ごみ焼却炉排ガス処理方法、ならびにごみ焼却炉排ガス処理設備 |
| WO2018101030A1 (ja) * | 2016-12-02 | 2018-06-07 | 日立造船株式会社 | 排ガス処理装置、焼却設備および排ガス処理方法 |
| CN110022965A (zh) * | 2016-12-02 | 2019-07-16 | 日立造船株式会社 | 废气处理装置、焚烧设备和废气处理方法 |
| JPWO2018101030A1 (ja) * | 2016-12-02 | 2019-10-17 | 日立造船株式会社 | 排ガス処理装置、焼却設備および排ガス処理方法 |
| CN108224450A (zh) * | 2016-12-22 | 2018-06-29 | 内蒙古大学 | 全封闭式的垃圾焚烧方法及其装置 |
| CN108224450B (zh) * | 2016-12-22 | 2021-02-05 | 内蒙古大学 | 全封闭式垃圾焚烧方法及其装置 |
| KR102663614B1 (ko) * | 2024-01-08 | 2024-05-08 | 엠함안 주식회사 | 정량 투입 제어 수단이 구비된 테이블피더 시스템 |
Also Published As
| Publication number | Publication date |
|---|---|
| JP6020305B2 (ja) | 2016-11-02 |
Similar Documents
| Publication | Publication Date | Title |
|---|---|---|
| JP6418495B2 (ja) | 排ガス処理装置及び排ガス処理方法 | |
| JP5024735B2 (ja) | 排ガス処理方法 | |
| JP6020305B2 (ja) | 排ガス処理方法 | |
| JP6090766B2 (ja) | ごみ焼却処理施設の燃焼排ガス処理装置及び処理方法 | |
| JP5991677B2 (ja) | 排ガス処理装置 | |
| KR100375198B1 (ko) | 배출가스의처리방법 | |
| CA2719520A1 (en) | Air pollution control system and method for removing mercury in flue gas | |
| TWI450754B (zh) | 酸性氣體的處理方法 | |
| KR20160062707A (ko) | 습식 연도 가스 탈황 폐수로부터 가스 배출을 감소시키기 위한 시스템 및 방법 | |
| JPWO2014046079A1 (ja) | 排煙処理方法および排煙処理装置 | |
| JP5029923B2 (ja) | 排ガス処理方法 | |
| JP6062463B2 (ja) | 排ガス処理方法及び排ガス処理装置 | |
| TWI845824B (zh) | 排氣處理系統及排氣處理方法 | |
| JP6767055B2 (ja) | 排ガス処理装置ならびに排ガス処理方法 | |
| WO2024166700A1 (ja) | 廃棄物焼却設備 | |
| JP6458298B2 (ja) | 焼却設備 | |
| JP6939677B2 (ja) | 薬剤の添加量制御方法 | |
| JP2011012875A (ja) | 廃棄物ガス化溶融炉における塩化水素ガス発生抑制方法および装置 | |
| JP2019027672A (ja) | 燃焼排ガスの処理装置 | |
| JP2006046825A (ja) | 塩素化合物の処理方法および処理装置 | |
| JP7272382B2 (ja) | 燃焼排ガスの処理方法、及び燃焼排ガスの処理装置 | |
| JPH0445311A (ja) | 燃焼排ガスの処理設備 | |
| JP2019027671A (ja) | 燃焼排ガスの処理装置 | |
| JP2025164021A (ja) | 焼却装置 | |
| TWI597458B (zh) | Incineration of iodine fumes produced by the combustion method |
Legal Events
| Date | Code | Title | Description |
|---|---|---|---|
| A621 | Written request for application examination |
Free format text: JAPANESE INTERMEDIATE CODE: A621 Effective date: 20150825 |
|
| A977 | Report on retrieval |
Free format text: JAPANESE INTERMEDIATE CODE: A971007 Effective date: 20160420 |
|
| A131 | Notification of reasons for refusal |
Free format text: JAPANESE INTERMEDIATE CODE: A131 Effective date: 20160524 |
|
| A521 | Written amendment |
Free format text: JAPANESE INTERMEDIATE CODE: A523 Effective date: 20160720 |
|
| TRDD | Decision of grant or rejection written | ||
| A01 | Written decision to grant a patent or to grant a registration (utility model) |
Free format text: JAPANESE INTERMEDIATE CODE: A01 Effective date: 20160906 |
|
| A61 | First payment of annual fees (during grant procedure) |
Free format text: JAPANESE INTERMEDIATE CODE: A61 Effective date: 20160919 |
|
| R150 | Certificate of patent or registration of utility model |
Ref document number: 6020305 Country of ref document: JP Free format text: JAPANESE INTERMEDIATE CODE: R150 |
|
| S531 | Written request for registration of change of domicile |
Free format text: JAPANESE INTERMEDIATE CODE: R313531 |
|
| R350 | Written notification of registration of transfer |
Free format text: JAPANESE INTERMEDIATE CODE: R350 |
