JP2014188568A - Hemming processing device and hemming processing method - Google Patents

Hemming processing device and hemming processing method Download PDF

Info

Publication number
JP2014188568A
JP2014188568A JP2013068215A JP2013068215A JP2014188568A JP 2014188568 A JP2014188568 A JP 2014188568A JP 2013068215 A JP2013068215 A JP 2013068215A JP 2013068215 A JP2013068215 A JP 2013068215A JP 2014188568 A JP2014188568 A JP 2014188568A
Authority
JP
Japan
Prior art keywords
cam
workpiece
hem
prehem
blade
Prior art date
Legal status (The legal status is an assumption and is not a legal conclusion. Google has not performed a legal analysis and makes no representation as to the accuracy of the status listed.)
Granted
Application number
JP2013068215A
Other languages
Japanese (ja)
Other versions
JP6120636B2 (en
Inventor
Nobuhiro Furuse
信浩 古瀬
Muneo Katake
宗生 鹿嶽
Current Assignee (The listed assignees may be inaccurate. Google has not performed a legal analysis and makes no representation or warranty as to the accuracy of the list.)
Daihatsu Motor Co Ltd
Original Assignee
Daihatsu Motor Co Ltd
Priority date (The priority date is an assumption and is not a legal conclusion. Google has not performed a legal analysis and makes no representation as to the accuracy of the date listed.)
Filing date
Publication date
Application filed by Daihatsu Motor Co Ltd filed Critical Daihatsu Motor Co Ltd
Priority to JP2013068215A priority Critical patent/JP6120636B2/en
Publication of JP2014188568A publication Critical patent/JP2014188568A/en
Application granted granted Critical
Publication of JP6120636B2 publication Critical patent/JP6120636B2/en
Active legal-status Critical Current
Anticipated expiration legal-status Critical

Links

Images

Landscapes

  • Mounting, Exchange, And Manufacturing Of Dies (AREA)

Abstract

【課題】上型を高速で降下させた場合でも、プリヘム加工を確実に施す。
【解決手段】下型200aと、昇降可能な上型200bと、下型200aに設けられ、水平方向にスライド可能なプリヘム刃221と、上型200bに設けられたカムドライバ223と、カムドライバ223で下向きに押圧することにより、プリヘム刃221をワークに向けてスライドさせるカム機構とを備えたヘミング加工装置であって、互いに当接するカムドライバ223の下面223d及びカム機構222の上側カム225の上面225aに、水平方向の平坦面を設けた。
【選択図】図6
[PROBLEMS] To reliably perform prehem processing even when an upper die is lowered at high speed.
A lower die 200a, an upper die 200b that can be moved up and down, a prehem blade 221 that is provided on the lower die 200a and that can slide in a horizontal direction, a cam driver 223 provided on the upper die 200b, and a cam driver 223. And a cam mechanism that slides the pre-hem blade 221 toward the workpiece by pressing downward with the lower surface 223d of the cam driver 223 and the upper surface of the upper cam 225 of the cam mechanism 222. A flat surface in the horizontal direction was provided on 225a.
[Selection] Figure 6

Description

本発明は、ヘミング加工装置及びヘミング加工方法に関する。   The present invention relates to a hemming processing apparatus and a hemming processing method.

ヘミング加工は、下部ワークの周縁を折り曲げて、その上に配置された上部ワークと一体化する加工方法であり、例えば、車体のドアのインナパネルとアウタパネルとを一体化する場合に用いられる。   Hemming is a processing method in which the periphery of the lower work is bent and integrated with the upper work disposed thereon, and is used, for example, when the inner panel and the outer panel of the door of the vehicle body are integrated.

例えば特許文献1には、図16に示すように、下型301及び上型302を備えたヘミング加工装置300が示されている。下型301にはプリヘム加工ユニット303が設けられ、上型302には、本ヘム刃308及びカムドライバ307が設けられる。カムドライバ307には、側方に山型に突出したカム307aが設けられる。上型302を降下させると、カム307aがプリヘム加工ユニット303に当接する{図16(a)参照}。そのまま上型302を降下させ続けることにより、カム307aでプリヘム加工ユニット303が駆動され、プリヘム刃304が下型301側(図中左側)に移動し、下部ワークW1のフランジ部W1aを内側に押圧してプリヘム加工が施される{図16(b)参照}。その後、さらに上型302を降下させると、山型のカム307aがプリヘム加工ユニットを通過し、プリヘム刃304が元の位置に戻る。これと共に、本ヘム刃308が上方から下部ワークW1のフランジ部W1aを押圧して折り曲げ、上部ワークW2のフランジ部W2aを挟み込むことで、本ヘム加工が施される{図16(c)参照}。   For example, Patent Document 1 shows a hemming apparatus 300 including a lower mold 301 and an upper mold 302 as shown in FIG. The lower die 301 is provided with a prehem processing unit 303, and the upper die 302 is provided with a main hem blade 308 and a cam driver 307. The cam driver 307 is provided with a cam 307a protruding in a mountain shape on the side. When the upper mold 302 is lowered, the cam 307a comes into contact with the pre-hem processing unit 303 {see FIG. 16A}. By continuing to lower the upper die 302 as it is, the pre-hem processing unit 303 is driven by the cam 307a, the pre-hem blade 304 moves to the lower die 301 side (left side in the figure), and presses the flange portion W1a of the lower workpiece W1 inward. Then, pre-hem processing is performed {see FIG. 16B}. Thereafter, when the upper die 302 is further lowered, the mountain-shaped cam 307a passes through the prehem processing unit, and the prehem blade 304 returns to the original position. At the same time, the main hem blade 308 presses and bends the flange portion W1a of the lower workpiece W1 from above and sandwiches the flange portion W2a of the upper workpiece W2, thereby performing the main hem processing {see FIG. 16C}. .

特開2011−78992号公報JP 2011-78992 A

上記のように、カムドライバ307から側方に突出した山型のカム307aでプリヘム加工ユニット303を駆動することで、プリヘム刃304のワーク側へのスライド(プリヘム加工)と、プリヘム刃304のワークからの離反を、上型302の一回の降下により行うことができる。しかし、この場合、カム307aとプリヘム加工ユニット303のローラとが傾斜面(カム307aの傾斜面)を介して当接するため{図16(a)参照}、タクトタイムの短縮を図るべく上型302を高速で降下させると、カム307aとの衝突によりプリヘム機構303のローラが弾かれてしまい、プリヘム加工が十分に施されない恐れがある。   As described above, the prehem processing unit 303 is driven by the mountain-shaped cam 307a protruding laterally from the cam driver 307, so that the prehem blade 304 slides toward the workpiece (prehem processing) and the prehem blade 304 works. Separation from can be performed by a single descent of the upper mold 302. However, in this case, since the cam 307a and the roller of the pre-hem processing unit 303 come into contact with each other via an inclined surface (the inclined surface of the cam 307a) {see FIG. 16A}, the upper die 302 is intended to shorten the tact time. Is lowered at a high speed, the roller of the prehem mechanism 303 is repelled by the collision with the cam 307a, and there is a possibility that the prehem processing is not sufficiently performed.

本発明が解決すべき技術的課題は、上型を高速で降下させた場合でも、プリヘム加工を確実に施すことにある。   The technical problem to be solved by the present invention is to reliably perform the prehem processing even when the upper die is lowered at a high speed.

前記課題を解決するために、本発明は、下型と、前記下型に対して昇降可能な上型と、前記下型にセットされたワークに対して側方から接近離反する方向にスライド可能なプリヘム刃と、前記上型に設けられたカムドライバと、前記カムドライバで下向きに押圧することにより、プリヘム刃をワークに向けてスライドさせるカム機構とを備えたヘミング加工装置であって、互いに当接する前記カムドライバの下面及びカム機構の上面に、水平方向の平坦面を設けたヘミング加工装置を提供する。   In order to solve the above-mentioned problems, the present invention is capable of sliding in a direction in which the lower mold, the upper mold that can be moved up and down relative to the lower mold, and the workpiece set in the lower mold are approached and separated from the side A hemming processing apparatus comprising: a pre-hem blade, a cam driver provided in the upper mold, and a cam mechanism that slides the pre-hem blade toward a workpiece by pressing downward with the cam driver, Provided is a hemming processing device in which a horizontal flat surface is provided on the lower surface of the cam driver and the upper surface of the cam mechanism.

このように、カムドライバとカム機構とを水平方向の平坦面同士で当接させることにより、上型を高速で降下させた場合でも、カムドライバの押し下げ力を確実にカム機構に伝えることができるため、ワークに対してプリヘム加工を確実に施すことができる。   As described above, the cam driver and the cam mechanism are brought into contact with each other between the flat surfaces in the horizontal direction, so that the pressing force of the cam driver can be reliably transmitted to the cam mechanism even when the upper die is lowered at a high speed. Therefore, pre-hem processing can be reliably performed on the workpiece.

ところで、プリヘム加工が完了したら、プリヘム刃をワークから離反させて、その後の本ヘム加工において本ヘム刃とプリヘム刃との干渉を回避する必要がある。上記のように、カムドライバとプリヘム機構とが水平方向の平坦面同士で当接する場合、プリヘム加工完了後にプリヘム刃をワークから離反させるためには、上型及びカムドライバを一旦上昇させる必要がある。その後の本ヘム加工を行う際に、カムドライバとプリヘム機構が当接すると、プリヘム刃が再びワーク側にスライドして本ヘム刃とプリヘム刃とが干渉する恐れがある。従って、本ヘム加工を行う際には、カムドライバとプリヘム機構が当接しない位置までしか上型を降下させることができないため、本ヘム加工時の金型動作が制限されてしまう。   By the way, when the pre-hem processing is completed, it is necessary to separate the pre-hem blade from the workpiece to avoid interference between the main hem blade and the pre-hem blade in the subsequent main hem processing. As described above, when the cam driver and the prehem mechanism are in contact with each other on the flat surfaces in the horizontal direction, it is necessary to raise the upper die and the cam driver once in order to separate the prehem blade from the work after the prehem processing is completed. . If the cam driver and the pre-hem mechanism come into contact with each other during the subsequent real hem processing, the pre-hem blade may slide again toward the workpiece side, and the main hem blade and the pre-hem blade may interfere with each other. Therefore, when performing the actual hem processing, the upper die can be lowered only to a position where the cam driver and the pre-hem mechanism do not come into contact with each other, so that the mold operation during the actual hem processing is limited.

そこで、上型を停止させた状態で、上下方向で対向するカムドライバの下面とカム機構の上面との上下方向距離を変更可能とすれば、以下の手順でヘミング加工を行うことができる。すなわち、上型を降下させて前記カムドライバで前記カム機構を下向きに押圧することにより、前記プリヘム刃をスライドさせてワークにプリヘム加工を施すステップ(図7参照)と、前記上型を上昇させて前記プリヘム刃をワークから離反させるステップと、前記上型を停止させた状態で、上下方向で対向する前記カムドライバの下面と前記カム機構の上面との上下方向距離を広げるステップ(以上、図8参照)と、前記上型を、前記プリヘム加工を施した位置よりも下方まで降下させるステップ(図9参照)とを順に経て行うことができる。   Therefore, if the vertical distance between the lower surface of the cam driver and the upper surface of the cam mechanism that are opposed in the vertical direction can be changed while the upper die is stopped, hemming can be performed by the following procedure. That is, the upper die is lowered and the cam mechanism is pressed downward by the cam driver to slide the prehem blade to pre-hem the workpiece (see FIG. 7), and the upper die is raised. The step of separating the pre-hem blade from the workpiece and the step of increasing the vertical distance between the lower surface of the cam driver and the upper surface of the cam mechanism facing each other in the vertical direction with the upper die stopped (refer to FIG. 8) and a step (see FIG. 9) of lowering the upper die below the position where the pre-hem processing is performed (see FIG. 9).

このように、プリヘム加工の後、上型を一旦上昇させ、上型を停止させた状態でカムドライバの下面とカム機構の上面との上下方向距離を大きくすることにより、カムドライバとカム機構とを当接させることなく、すなわちプリヘム刃をワークから退避させた状態のまま、プリヘム加工を施した位置よりも下方まで上型を降下させることができる。これにより、本ヘム加工時の金型動作の自由度を高めることができる。   As described above, after the prehem processing, the upper die is once raised, and the distance between the cam driver and the cam mechanism is increased by increasing the vertical distance between the lower surface of the cam driver and the upper surface of the cam mechanism with the upper die stopped. The upper die can be lowered to a position lower than the position where the pre-hem processing has been performed without bringing the pre-hem into contact, that is, with the pre-hem blade retracted from the workpiece. Thereby, the freedom degree of metal mold | die operation | movement at the time of this hem processing can be raised.

以上のように、本発明のヘミング加工装置によれば、上型を高速で降下させた場合でも、ワークに対してプリヘム加工を確実に施すことができる。   As described above, according to the hemming processing apparatus of the present invention, even when the upper mold is lowered at a high speed, the prehem processing can be reliably performed on the workpiece.

ワークの断面図である。It is sectional drawing of a workpiece | work. ヘミング加工装置の側面図であり、図4のA方向から見た図である。It is the side view of a hemming processing apparatus, and the figure seen from the A direction of FIG. ヘミング加工装置の側面図であり、図4のB方向から見た図である。It is the side view of a hemming processing apparatus, and the figure seen from the B direction of FIG. ヘミング加工装置の下型の上面図である。It is a top view of the lower mold | type of a hemming processing apparatus. ヘミング加工装置の上型の下面図である。It is a bottom view of the upper model of a hemming processing device. ヘミング加工装置の断面図である(プリヘム加工直前)。It is sectional drawing of a hemming processing apparatus (just before prehem processing). ヘミング加工装置の断面図である(プリヘム加工時)。It is sectional drawing of a hemming processing apparatus (at the time of prehem processing). ヘミング加工装置の断面図である(プリヘム加工後)。It is sectional drawing of a hemming processing apparatus (after prehem processing). ヘミング加工装置の断面図である(本ヘム加工直前)。It is sectional drawing of a hemming processing apparatus (just before this hem processing). (a)は、図7のA−A線における断面図、(b)は、図7のB−B線における断面図である。(A) is sectional drawing in the AA line of FIG. 7, (b) is sectional drawing in the BB line of FIG. ヘミング加工装置のロック機構の断面図である。It is sectional drawing of the locking mechanism of a hemming processing apparatus. ヘミング加工装置の断面図である(本ヘム加工直前)。It is sectional drawing of a hemming processing apparatus (just before this hem processing). ヘミング加工装置の断面図である(本ヘム加工時)。It is sectional drawing of a hemming processing apparatus (at the time of this hem processing). 他の実施形態に係るヘミング加工装置の断面図である。It is sectional drawing of the hemming processing apparatus which concerns on other embodiment. 他の実施形態に係るヘミング加工装置の断面図である。It is sectional drawing of the hemming processing apparatus which concerns on other embodiment. 従来のヘミング加工装置による加工手順を示す断面図であり、(a)はプリヘム加工前、(b)はプリヘム加工時、(c)は本ヘム加工時を示す。It is sectional drawing which shows the process sequence by the conventional hemming apparatus, (a) is before prehem processing, (b) is the time of prehem processing, (c) shows the time of this hem processing.

以下、本発明の実施形態を図面に基づいて説明する。   Hereinafter, embodiments of the present invention will be described with reference to the drawings.

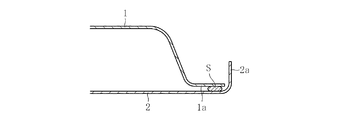
本実施形態では、ワークが自動車車体のドアのインナパネル1及びアウタパネル2であり(図1参照)、アウタパネル2のフランジ部2aにヘミング加工を施すことによりインナパネル1と一体化するヘミング加工方法を示す。このヘミング加工方法は、ヘミング加工装置200を用いて行われる。   In this embodiment, the workpieces are the inner panel 1 and the outer panel 2 of the door of the automobile body (see FIG. 1), and the hemming method is integrated with the inner panel 1 by hemming the flange portion 2a of the outer panel 2. Show. This hemming processing method is performed using a hemming processing apparatus 200.

ヘミング加工装置200は、互いに接近離反可能な一対の金型(下型200a及び上型200b)と、一対の金型を駆動するプレス機とを備える。本実施形態のヘミング加工装置200は、図2及び図3に示すように、ベース201、ラム202、及びラム202を昇降駆動する第1駆動手段205を有するプレス機と、ベース201に設けられた下型200a及びラム202に設けられた上型200bとを備える。下型200a及び上型200bは、ワークの形状によって異なる汎用部であり、それぞれベース201及びラム202に対して着脱可能とされる。   The hemming apparatus 200 includes a pair of molds (a lower mold 200a and an upper mold 200b) that can approach and separate from each other, and a press machine that drives the pair of molds. As shown in FIGS. 2 and 3, the hemming apparatus 200 according to the present embodiment is provided in the base 201 and a press machine having a base 201, a ram 202, and first driving means 205 that drives the ram 202 up and down. A lower mold 200a and an upper mold 200b provided on the ram 202. The lower mold 200a and the upper mold 200b are general-purpose portions that differ depending on the shape of the workpiece, and can be attached to and detached from the base 201 and the ram 202, respectively.

ベース201は、床面に載置される第1ベース201aと、第1ベース201aの上方に配された第2ベース201bと、第2ベース201bの上方に配された第3ベース208aとを有する。第1ベース201aは、平面視で略矩形状を成し、第1ベース201aの上面の四隅にガイド部材207が立設される。第2ベース201bは、平面視で略矩形状を成した枠体である。第2ベース201bの上面には、平行に延びる複数のレール201dが配される。第3ベース208aは、略矩形状を成した板材であり、中央に穴を有する。第3ベース208aは、レール201dの上に載置され、図示しない固定手段により第2ベース201bに固定される。   The base 201 has a first base 201a placed on the floor surface, a second base 201b disposed above the first base 201a, and a third base 208a disposed above the second base 201b. . The first base 201a has a substantially rectangular shape in plan view, and guide members 207 are erected at the four corners of the upper surface of the first base 201a. The second base 201b is a frame that has a substantially rectangular shape in plan view. A plurality of rails 201d extending in parallel are arranged on the upper surface of the second base 201b. The third base 208a is a plate material having a substantially rectangular shape, and has a hole in the center. The third base 208a is placed on the rail 201d and fixed to the second base 201b by fixing means (not shown).

下型200aは、可動ベース208bと、下部成形型として機能するワーク受け部203とを備える。可動ベース208bは、第3ベース208aの中央に設けられた穴に配され、ベース201に対して昇降可能とされる。可動ベース208bが第3ベース208aの穴に嵌合することで、一枚のプレート208として一体化される。可動ベース208bは、後述する第2駆動手段により昇降駆動される。可動ベース208bの四隅にはガイド208aが設けられ、第3ベース208aにはガイド受け201eが設けられる。ガイド208aとガイド受け201eとが摺動することにより、可動ベース208bの第3ベース208aに対する昇降がガイドされる。   The lower mold 200a includes a movable base 208b and a work receiving portion 203 that functions as a lower mold. The movable base 208 b is disposed in a hole provided in the center of the third base 208 a and can be moved up and down with respect to the base 201. The movable base 208b is integrated into the hole of the third base 208a, thereby being integrated as a single plate 208. The movable base 208b is driven up and down by second driving means described later. Guides 208a are provided at the four corners of the movable base 208b, and guide receivers 201e are provided at the third base 208a. As the guide 208a and the guide receiver 201e slide, the up and down of the movable base 208b with respect to the third base 208a is guided.

下型200aは、レール201dに沿ってベース201に対してスライド可能とされる。成形型(本実施形態ではワーク受け部203)等を交換する際には、第2ベース201bと第3ベース208aとを固定する固定手段(図示省略)を解除し、下型200a及び第3ベース208aを、レール201d上を図4の上下方向にスライドさせてベース201から取り外す。そして、可動ベース208b上のワーク受け部203等を交換した後、下型200aを、レール201d上を図4の上下方向にスライドさせてベース201上の所定位置に配し、第2ベース201bと第3ベース208aとを図示しない固定手段で固定する。   The lower mold 200a is slidable with respect to the base 201 along the rail 201d. When exchanging the forming die (work receiving portion 203 in this embodiment) or the like, the fixing means (not shown) for fixing the second base 201b and the third base 208a is released, and the lower die 200a and the third base are released. 208a is removed from the base 201 by sliding it on the rail 201d in the vertical direction of FIG. Then, after replacing the workpiece receiving portion 203 and the like on the movable base 208b, the lower mold 200a is slid in the vertical direction in FIG. 4 on the rail 201d and arranged at a predetermined position on the base 201, and the second base 201b and The third base 208a is fixed by fixing means (not shown).

ワーク受け部203は、可動ベース208bの上面に固定される。ワーク受け部203は、ワークを下方から支持するものであり、図示例では、環状部203aと、環状部203aの内側に設けられた複数の補助部203bとからなる。環状部203aは、インナパネル1及びアウタパネル2の周縁部(フランジ部1a,2a)を下方から支持する位置に設けられる。環状部203aは、上型200bに設けられた本ヘム刃204と協働してワークにプレス加工を施す成形型として機能する。環状部203a及び補助部203bの上面は、アウタパネル2の形状に倣って形成される。尚、図示例では、簡略化のため、アウタパネル2やこれを押圧するワーク受け部203の上面及び本ヘム刃204の下面を平坦面で示しているが、実際にはこれらの面は曲面である。   The work receiving part 203 is fixed to the upper surface of the movable base 208b. The workpiece receiving portion 203 supports the workpiece from below. In the illustrated example, the workpiece receiving portion 203 includes an annular portion 203a and a plurality of auxiliary portions 203b provided inside the annular portion 203a. The annular portion 203a is provided at a position that supports the peripheral portions (flange portions 1a, 2a) of the inner panel 1 and the outer panel 2 from below. The annular portion 203a functions as a mold that presses the workpiece in cooperation with the main hem blade 204 provided in the upper mold 200b. The upper surfaces of the annular portion 203a and the auxiliary portion 203b are formed following the shape of the outer panel 2. In the illustrated example, for the sake of simplicity, the upper surface of the outer panel 2 and the work receiving portion 203 that presses the outer panel 2 and the lower surface of the main hem blade 204 are shown as flat surfaces. However, these surfaces are actually curved surfaces. .

第2駆動手段206は、下型200aをベース201に対して昇降駆動するものである。第2駆動手段206は、第1駆動手段205よりも出力が大きいものが使用され、本実施形態では油圧シリンダ206a及びこれを駆動するサーボモータ206bで構成される(図2参照)。第2駆動手段206は、第1ベース201aと可動ベース208bとの間の空間に収容される。油圧シリンダ206aの本体は第1ベース201aに固定される。油圧シリンダ206aのピン206a1の上端は、可動ベース208bの下方に隙間を介して配される。油圧シリンダ206aを駆動してピン206a1を上昇させることで、ピン206a1の上端で可動ベース208bが押し上げられる。第2駆動手段206は例えば複数箇所に設けられ、本実施形態では4箇所に設けられる(図4参照)。   The second driving means 206 drives the lower mold 200a up and down relative to the base 201. The second drive means 206 has a larger output than the first drive means 205, and in this embodiment is constituted by a hydraulic cylinder 206a and a servo motor 206b for driving the hydraulic cylinder 206a (see FIG. 2). The second driving means 206 is accommodated in a space between the first base 201a and the movable base 208b. The main body of the hydraulic cylinder 206a is fixed to the first base 201a. The upper end of the pin 206a1 of the hydraulic cylinder 206a is disposed below the movable base 208b via a gap. The movable base 208b is pushed up at the upper end of the pin 206a1 by driving the hydraulic cylinder 206a to raise the pin 206a1. The second driving means 206 is provided at a plurality of locations, for example, and is provided at four locations in the present embodiment (see FIG. 4).

ラム202は、ベース201に対して型締め型開き方向でスライド可能とされ、本実施形態では昇降可能とされる。ラム202は、図5に示すように平面視で略矩形状をなし、四隅にガイド部材207が挿通されるガイド穴202aが設けられる。ガイド部材207は、鉛直方向に延びる棒状部材であり、ガイド穴202aと摺動することでラム202の昇降をガイドしている。各ガイド部材207の上端は水平方向に延びる連結部材207aで連結される(図2参照)。尚、ガイド部材207は、必ずしも四隅に設ける必要はなく、例えば対角2箇所のみに設けてもよい。   The ram 202 is slidable with respect to the base 201 in the direction in which the mold is closed, and can be raised and lowered in the present embodiment. As shown in FIG. 5, the ram 202 has a substantially rectangular shape in plan view, and is provided with guide holes 202a through which the guide members 207 are inserted at the four corners. The guide member 207 is a bar-like member extending in the vertical direction, and guides the ascending and descending of the ram 202 by sliding with the guide hole 202a. The upper ends of the guide members 207 are connected by a connecting member 207a extending in the horizontal direction (see FIG. 2). The guide members 207 are not necessarily provided at the four corners, and may be provided only at two diagonal positions, for example.

上型200bは、ラム202に固定されるプレート209と、上部成形型として機能する本ヘム刃204とを備える。プレート209は、ラム202の下面中央部に着脱可能に固定される。本ヘム刃204は、本ヘム加工を行うものであり、プレート209の下面に固定される。本ヘム刃204は、アウタパネル2の周縁に沿って環状に設けられ、ワーク受け部203の環状部203aと上下方向で対向している。   The upper mold 200b includes a plate 209 fixed to the ram 202 and a main hem blade 204 that functions as an upper mold. The plate 209 is detachably fixed to the central portion of the lower surface of the ram 202. The main hem blade 204 performs the main hem processing and is fixed to the lower surface of the plate 209. The hem blade 204 is provided in an annular shape along the periphery of the outer panel 2 and faces the annular portion 203a of the workpiece receiving portion 203 in the vertical direction.

第1駆動手段205は、ラム202及び上型200bを昇降するものであり、第2駆動手段206よりも駆動速度が速いものが使用される。本実施形態の第1駆動手段205は、チェーン及びこれを駆動するモータとで構成され、具体的には、図3に示すように一対のチェーン205aと、一対のチェーン205aを駆動するモータ205bと、各チェーン205aを収容する一対の収容箱205cとからなる。各収容箱205cから供給された一対のチェーン205aが、各収容箱205cの間で互いに噛み合って一本の鉛直方向の棒状部分205dが形成され、この棒状部分205dの上端にラム202が取り付けられる。モータ205bを図3の矢印方向に回転させることにより、各チェーン205aが収容箱205cから棒状部分205dに供給されて棒状部分205dが上方に延び、これにより上型200bが上昇する。一方、モータ205bを上記と反対方向に回転させることにより、各チェーン205aが棒状部分205dから収容箱205cに戻されて棒状部分が縮みながら降下し、これにより上型200bが降下する。   The first driving means 205 moves up and down the ram 202 and the upper mold 200b, and a driving speed higher than that of the second driving means 206 is used. The first drive means 205 of the present embodiment includes a chain and a motor that drives the chain. Specifically, as shown in FIG. 3, a pair of chains 205a and a motor 205b that drives the pair of chains 205a And a pair of storage boxes 205c for storing the chains 205a. A pair of chains 205a supplied from each storage box 205c mesh with each other between the storage boxes 205c to form a single vertical bar portion 205d, and a ram 202 is attached to the upper end of the bar portion 205d. By rotating the motor 205b in the direction of the arrow in FIG. 3, each chain 205a is supplied from the storage box 205c to the rod-shaped portion 205d, and the rod-shaped portion 205d extends upward, thereby raising the upper mold 200b. On the other hand, by rotating the motor 205b in the direction opposite to the above, each chain 205a is returned from the rod-shaped portion 205d to the storage box 205c, and the rod-shaped portion is lowered while being contracted, whereby the upper mold 200b is lowered.

ヘミング加工装置200には、プリヘム機構220が設けられる。本実施形態のプリヘム機構220は、図6に示すように、下型200a側(プレート208上)に設けられたプリヘム刃221及びカム機構222と、上型200bに設けられたカムドライバ223とからなる。プリヘム刃221は、図4に示すようにワーク受け部203の周囲に設けられ、水平方向でワークに接近離反する方向にスライド自在とされる。図示例では、略矩形のベース201(第3ベース208a)の各辺に沿ってプリヘム刃221が設けられ、各プリヘム刃221が、ベース201の各辺と直交する方向にスライド自在とされる。   The hemming apparatus 200 is provided with a prehem mechanism 220. As shown in FIG. 6, the prehem mechanism 220 of the present embodiment includes a prehem blade 221 and a cam mechanism 222 provided on the lower mold 200a side (on the plate 208), and a cam driver 223 provided on the upper mold 200b. Become. As shown in FIG. 4, the pre-hem blade 221 is provided around the workpiece receiving portion 203, and is slidable in a direction in which the workpiece moves toward and away from the workpiece in the horizontal direction. In the illustrated example, a prehem blade 221 is provided along each side of a substantially rectangular base 201 (third base 208 a), and each prehem blade 221 is slidable in a direction orthogonal to each side of the base 201.

カム機構222は、上型200bの降下による押し下げ力を、プリヘム刃221をワーク側へスライドさせる力に変換するものである。本実施形態のカム機構222は、プレート208(図示例では第3ベース208a)に固定された下側カム224と、下側カム224に沿ってスライドする上側カム225とからなる。上側カム225の上面225aには、水平方向の平坦面が設けられる。上側カム225の下面及び下側カム224の上面には、下方に向けて内側(ワーク側)へ傾斜した平行且つ平坦な傾斜面225b,224aが設けられる。上側カム225は、下側カム224の傾斜面224aに沿ってスライド可能とされる。上側カム225のワーク側の側面に、プリヘム刃221が固定される。   The cam mechanism 222 converts the push-down force caused by the lowering of the upper mold 200b into a force that slides the pre-hem blade 221 toward the workpiece. The cam mechanism 222 of this embodiment includes a lower cam 224 fixed to a plate 208 (third base 208 a in the illustrated example), and an upper cam 225 that slides along the lower cam 224. A flat surface in the horizontal direction is provided on the upper surface 225a of the upper cam 225. On the lower surface of the upper cam 225 and the upper surface of the lower cam 224, parallel and flat inclined surfaces 225b and 224a that are inclined inward (workpiece side) are provided. The upper cam 225 is slidable along the inclined surface 224 a of the lower cam 224. A prehem blade 221 is fixed to the side surface of the upper cam 225 on the workpiece side.

カム機構222には、プリヘム刃221のワークに近接する側の移動を所定位置で規制するストッパ226が設けられる。図示例では、下側カム224の傾斜面224aの下端に、上側カム225の斜め下方向へのスライドを規制するストッパ226が設けられる。カム機構222には、上側カム225及びプリヘム刃221をワークから離反する側(図6の右側)に付勢する付勢手段227が設けられる。図示例では、付勢手段227がエアシリンダで構成され、上側カム225及びプリヘム刃221がワークから離反する側に常に付勢される。   The cam mechanism 222 is provided with a stopper 226 that restricts the movement of the prehem blade 221 on the side close to the workpiece at a predetermined position. In the illustrated example, a stopper 226 is provided at the lower end of the inclined surface 224a of the lower cam 224 to restrict the upper cam 225 from sliding obliquely downward. The cam mechanism 222 is provided with a biasing means 227 that biases the upper cam 225 and the pre-hem blade 221 toward the side away from the workpiece (the right side in FIG. 6). In the illustrated example, the urging means 227 is constituted by an air cylinder, and the upper cam 225 and the pre-hem blade 221 are always urged to the side away from the workpiece.

カムドライバ223は、上型200bのプレート209に固定された本体部223aと、本体部223aの下端に設けられた可動部223bとを有する。可動部223bは、カム機構222に当接する位置としない位置との間で移動可能とされる。図示例では、可動部223bが、図示しない駆動部によりピン223cを中心に回転可能とされる。本体部223a及び可動部223bの下面には、水平方向の平坦面が設けられる。   The cam driver 223 includes a main body part 223a fixed to the plate 209 of the upper mold 200b, and a movable part 223b provided at the lower end of the main body part 223a. The movable portion 223b is movable between a position where it abuts on the cam mechanism 222 and a position where it does not contact the cam mechanism 222. In the illustrated example, the movable part 223b can be rotated around the pin 223c by a driving part (not shown). A flat surface in the horizontal direction is provided on the lower surfaces of the main body 223a and the movable portion 223b.

互いに摺動するカムドライバ223の可動部223bの下面223dと上側カム225の上面225aの一方には、摺動方向(図6の左右方向)に延びるガイド溝が設けられ、他方には摺動方向に延びる突起が設けられる。本実施形態では、図10(a)に示すように、カムドライバ223の可動部223bの下面223dに、摺動方向に延びる突起223d1が設けられ、上側カム225の上面225aに、摺動方向に延びるガイド溝225a1が設けられる。また、互いに摺動する上側カム225の傾斜面225bと下側カム224の傾斜面224aの一方には、摺動方向(図6の傾斜面225b,224aの延在方向)に延びるガイド溝が設けられ、他方には摺動方向に延びる突起が設けられる。本実施形態では、図10(b)に示すように、上側カム225の傾斜面225bに、摺動方向に延びる突起225b1が設けられ、下側カム224の傾斜面224aに、摺動方向に延びるガイド溝224a1が設けられる。   One of the lower surface 223d of the movable portion 223b of the cam driver 223 and the upper surface 225a of the upper cam 225 that slide with each other is provided with a guide groove extending in the sliding direction (left-right direction in FIG. 6), and the other in the sliding direction. Protrusions extending in the direction are provided. In this embodiment, as shown in FIG. 10A, a protrusion 223d1 extending in the sliding direction is provided on the lower surface 223d of the movable portion 223b of the cam driver 223, and the upper surface 225a of the upper cam 225 is provided in the sliding direction. An extending guide groove 225a1 is provided. In addition, a guide groove extending in the sliding direction (the extending direction of the inclined surfaces 225b and 224a in FIG. 6) is provided on one of the inclined surface 225b of the upper cam 225 and the inclined surface 224a of the lower cam 224 that slide relative to each other. The other is provided with a protrusion extending in the sliding direction. In this embodiment, as shown in FIG. 10B, the inclined surface 225b of the upper cam 225 is provided with a protrusion 225b1 extending in the sliding direction, and the inclined surface 224a of the lower cam 224 extends in the sliding direction. A guide groove 224a1 is provided.

ヘミング加工装置200は、ベース201とラム202とを連結してラム202の上昇を規制するロック機構230を有する。ロック機構230は、矩形状のベース201及びラム202の各コーナー付近に設けられる。ロック機構230は、図6及び図7に示すように、ラム202に設けられた上側ロック部材231と、ベース201に設けられた下側ロック部材232と、両ロック部材231,232を上下方向でロックする係止手段233とを有する。本実施形態では、図16に示すように、両ロック部材231,232に水平方向の貫通穴231a,232aが形成される。各貫通穴231a,232aは、それぞれ同径の円筒面状の内周面を有する。図示例では、各ロック機構230において、上側ロック部材231の両側に下側ロック部材232が設けられる。上側ロック部材231の上端には水平方向に突出した突出部231bが設けられ、この突出部231bをラム202に上方から当接させることにより、上側ロック部材231がラム202に吊り下げ状態で取り付けられる。下側ロック部材232は、第3ベース208aの上面に固定される。   The hemming processing apparatus 200 includes a lock mechanism 230 that connects the base 201 and the ram 202 to restrict the ascent of the ram 202. The lock mechanism 230 is provided in the vicinity of each corner of the rectangular base 201 and the ram 202. As shown in FIGS. 6 and 7, the lock mechanism 230 moves the upper lock member 231 provided in the ram 202, the lower lock member 232 provided in the base 201, and both lock members 231 and 232 in the vertical direction. And locking means 233 for locking. In the present embodiment, as shown in FIG. 16, horizontal through holes 231 a and 232 a are formed in both lock members 231 and 232. Each of the through holes 231a and 232a has a cylindrical inner peripheral surface having the same diameter. In the illustrated example, in each lock mechanism 230, a lower lock member 232 is provided on both sides of the upper lock member 231. A protrusion 231b that protrudes in the horizontal direction is provided at the upper end of the upper lock member 231, and the upper lock member 231 is attached to the ram 202 in a suspended state by bringing the protrusion 231b into contact with the ram 202 from above. . The lower lock member 232 is fixed to the upper surface of the third base 208a.

係止手段233は、ロック部材231,232の双方と上下方向で係合することで、これらの相対的な上下方向移動(特に型開き方向の移動)を規制するものである。本実施形態では、係止手段233が、係止ピン233aと、係止ピン233aを水平方向に進退させる駆動部233b(例えば電動シリンダやエアシリンダ)とで構成される。係止ピン233aは、円筒面状の外周面を有し、本実施形態では中実の円柱状を成している。係止ピン233aの外径は、第1及び第2ロック部材231,232の貫通穴231a,232aの内径よりも若干小さい。図8及び図9に示すように、各係止ピン233a及び貫通穴231a,232aの軸心方向Pは、当該係止ピン233aとラム202の中心O(ベース201の中心とほぼ一致)とを結ぶ直線L(本実施形態では、ベース201及びラム202の各コーナーにおける対角線)と略直交している。   The engaging means 233 regulates the relative vertical movement (particularly movement in the mold opening direction) by engaging both the lock members 231 and 232 in the vertical direction. In the present embodiment, the locking means 233 includes a locking pin 233a and a driving unit 233b (for example, an electric cylinder or an air cylinder) that moves the locking pin 233a back and forth in the horizontal direction. The locking pin 233a has a cylindrical outer peripheral surface, and in the present embodiment, forms a solid columnar shape. The outer diameter of the locking pin 233a is slightly smaller than the inner diameter of the through holes 231a, 232a of the first and second lock members 231, 232. As shown in FIGS. 8 and 9, the axial center direction P of each locking pin 233a and the through holes 231a and 232a is the same as the locking pin 233a and the center O of the ram 202 (substantially coincident with the center of the base 201). It is substantially orthogonal to the connecting straight line L (in this embodiment, diagonal lines at the corners of the base 201 and the ram 202).

以下、本実施形態のヘミング加工方法の手順を説明する。   Hereinafter, the procedure of the hemming method according to the present embodiment will be described.

まず、アウタパネル2のフランジ部2aの内側にシーラSを供給した後、そのシーラSの上にインナパネル1を重ねて配置する。このアウタパネル1及びインナパネル2をヘミング加工装置200に搬入して、ワーク受け部203の上にセットする。この状態で、第1駆動手段205を駆動して上型200bを上端位置から降下させることにより、ワークに対してプリヘム加工を施す。このとき、図6に示すように、カムドライバ223は、その下面223dとカム機構222の上面(上側カム225の上面225a)との上下方向距離を小さくした状態となっている。具体的には、カムドライバ223の可動部223bを、カム機構222に当接可能な位置(本体部223aの下方)に配した状態となっている。この状態で上型200bを降下させることで、上型200bに設けたカムドライバ223がカム機構222の上側カム225の上方から当接する(図6の点線参照)。このとき、カムドライバ223の下面223dと上側カム225の上面225aとを水平方向の平坦面同士で当接させることで、上型200bを高速で降下させても、確実に上側カム225を押し下げることができる。   First, after supplying the sealer S to the inner side of the flange portion 2a of the outer panel 2, the inner panel 1 is placed on the sealer S in an overlapping manner. The outer panel 1 and the inner panel 2 are carried into the hemming apparatus 200 and set on the work receiving portion 203. In this state, the first driving means 205 is driven to lower the upper die 200b from the upper end position, thereby pre-heming the workpiece. At this time, as shown in FIG. 6, the cam driver 223 is in a state in which the vertical distance between the lower surface 223d and the upper surface of the cam mechanism 222 (the upper surface 225a of the upper cam 225) is reduced. Specifically, the movable portion 223b of the cam driver 223 is in a state of being disposed at a position where it can contact the cam mechanism 222 (below the main body portion 223a). By lowering the upper die 200b in this state, the cam driver 223 provided on the upper die 200b abuts from above the upper cam 225 of the cam mechanism 222 (see the dotted line in FIG. 6). At this time, the lower surface 223d of the cam driver 223 and the upper surface 225a of the upper cam 225 are brought into contact with each other with the flat surfaces in the horizontal direction, so that the upper cam 225 is surely pushed down even when the upper die 200b is lowered at high speed. Can do.

そのまま上型200bを降下させ続けることでカムドライバ223が上側カム225を下向きに押圧し、上側カム225及びプリヘム刃221が下側カム224の傾斜面224aに沿って内側(ワーク側)にスライドする(図7参照)。このとき、下側カム224の傾斜面224aと上側カム225の傾斜面225bとを面接触させていることで、上型200bを高速で降下させてカムドライバ223との衝突により下側カム224に衝撃が加わった場合でも、傾斜面224aに沿って上側カム225を斜め下方向にスライドさせてプリヘム刃221を内側に確実にスライドさせることができる。また、カムドライバ223の下面223dの突起223d1と上側カム225の上面225aのガイド溝225a1、及び、上側カム225の傾斜面225bの突起225b1と下側カム224の傾斜面224aのガイド溝224a1がそれぞれ嵌合することにより(図10参照)、上側カム225のスライド方向がガイドされる。以上により、プリヘム刃221でアウタパネル2のフランジ部2aが内側に折り曲げられ、プリヘム加工が施される。尚、プリヘム加工を施す間、本ヘム刃204はワーク(特にアウタパネル2のフランジ部2a)に当接しない。   By continuing to lower the upper die 200b as it is, the cam driver 223 presses the upper cam 225 downward, and the upper cam 225 and the pre-hem blade 221 slide inward (work side) along the inclined surface 224a of the lower cam 224. (See FIG. 7). At this time, the inclined surface 224a of the lower cam 224 and the inclined surface 225b of the upper cam 225 are brought into surface contact with each other, so that the upper die 200b is lowered at a high speed and the lower cam 224 collides with the cam driver 223. Even when an impact is applied, the pre-hem blade 221 can be reliably slid inward by sliding the upper cam 225 obliquely downward along the inclined surface 224a. Further, a protrusion 223d1 on the lower surface 223d of the cam driver 223 and a guide groove 225a1 on the upper surface 225a of the upper cam 225, and a protrusion 225b1 on the inclined surface 225b of the upper cam 225 and a guide groove 224a1 on the inclined surface 224a of the lower cam 224, respectively. By fitting (see FIG. 10), the sliding direction of the upper cam 225 is guided. Thus, the flange portion 2a of the outer panel 2 is bent inward by the pre-hem blade 221 and pre-hem processing is performed. Note that the hem blade 204 does not contact the workpiece (particularly the flange portion 2a of the outer panel 2) during the pre-hem processing.

プリヘム加工が完了したら、上型200bを第1駆動手段205により一旦上昇させる(図8参照)。このとき、プリヘム機構222の付勢手段227の付勢力で、上側カム225及びプリヘム刃221がワークから離反する側に移動し、初期位置に戻される。そして、上型200bを停止させた状態で、カムドライバ223の下面223dとカム機構222の上面(上側カム225の上面225a)との上下方向距離を大きくする。具体的には、カムドライバ223の可動部223bをピン223cを中心に回転させて、可動部223bをカム機構222と当接しない位置(本体部223aの側方)に退避させる。これにより、上下方向で対向するカムドライバ223の下面223d(本体部223aの下面)とカム機構222の上側カム225の上面225aとの上下方向距離H2が、可動部223bを回転させる前の上下方向距離H1よりも大きくなる(H2>H1)。尚、可動部223bの回転方向は、図示のようにワークから離反する方向に限らず、例えばプレート部208の辺に沿った方向(図8の紙面と直交する方向)に退避させてもよい。この状態で再び上型200bを第1駆動手段205により降下させ、アウタパネル2のフランジ部2aの直上に本ヘム刃204が配されたら、上型200bを停止する(図9参照)。このとき、カムドライバ223と上側カム225は当接せず、プリヘム刃221はワークから退避した位置(詳しくは、本ヘム刃204及びワーク受け部203の上下方向間から退避した位置)に保持される。   When the prehem processing is completed, the upper die 200b is once raised by the first driving means 205 (see FIG. 8). At this time, the upper cam 225 and the prehem blade 221 are moved away from the workpiece by the biasing force of the biasing means 227 of the prehem mechanism 222 and returned to the initial position. Then, with the upper mold 200b stopped, the vertical distance between the lower surface 223d of the cam driver 223 and the upper surface of the cam mechanism 222 (the upper surface 225a of the upper cam 225) is increased. Specifically, the movable portion 223b of the cam driver 223 is rotated about the pin 223c, and the movable portion 223b is retracted to a position where it does not contact the cam mechanism 222 (side of the main body portion 223a). Thus, the vertical distance H2 between the lower surface 223d of the cam driver 223 (the lower surface of the main body 223a) and the upper surface 225a of the upper cam 225 of the cam mechanism 222 is the vertical direction before the movable portion 223b is rotated. It becomes larger than the distance H1 (H2> H1). Note that the rotation direction of the movable portion 223b is not limited to the direction away from the workpiece as shown in the figure, and may be retracted in, for example, a direction along the side of the plate portion 208 (a direction orthogonal to the paper surface of FIG. 8). In this state, the upper die 200b is lowered again by the first driving means 205, and when the main hem blade 204 is disposed immediately above the flange portion 2a of the outer panel 2, the upper die 200b is stopped (see FIG. 9). At this time, the cam driver 223 and the upper cam 225 are not in contact with each other, and the pre-hem blade 221 is held at a position retracted from the workpiece (specifically, a position retracted from the vertical direction between the main hem blade 204 and the workpiece receiving portion 203). The

このように、プリヘム加工を施した後、カムドライバ223とカム機構222との上下方向距離を広げることで、上型200bを、プリヘム加工完了位置(図7参照)よりも下方まで降下させることができる(図9参照)。これにより、後述する本ヘム加工におけるワーク受け部203及び可動ベース208の上昇ストロークを小さくすることができる。   Thus, after pre-hem processing is performed, the upper die 200b can be lowered below the pre-hem processing completion position (see FIG. 7) by increasing the vertical distance between the cam driver 223 and the cam mechanism 222. Yes (see FIG. 9). Thereby, the rising stroke of the workpiece receiving part 203 and the movable base 208 in the main hem processing described later can be reduced.

上記のように上型200bを停止させて本ヘム刃204をアウタパネル2のフランジ部2aの直上に配したとき、図11に示すように、ロック機構230を構成する上側ロック部材231が下側ロック部材232の間に挿入され、上側ロック部材231の下端が下側ロック部材232に当接することで、両ロック部材231,232の貫通穴231a,232aが同心上に配された状態となる。この状態で、ベース201とラム202とをロック機構230で連結する。本実施形態では、係止手段233の駆動部233bを駆動して係止ピン233aを前進させ、係止ピン233aが両ロック部材231,232の貫通穴231a,232aに挿通される(図11の点線参照)。こうして係止ピン233aが両ロック部材231,232と上下方向で係合することにより、ベース201とラム202との相対的な上下方向移動(本実施形態ではラム202の上昇)が規制される。   When the upper die 200b is stopped as described above and the hem blade 204 is disposed directly above the flange portion 2a of the outer panel 2, as shown in FIG. 11, the upper lock member 231 constituting the lock mechanism 230 is locked to the lower lock. When inserted between the members 232 and the lower end of the upper lock member 231 contacts the lower lock member 232, the through holes 231a and 232a of the lock members 231 and 232 are concentrically arranged. In this state, the base 201 and the ram 202 are connected by the lock mechanism 230. In the present embodiment, the driving portion 233b of the locking means 233 is driven to advance the locking pin 233a, and the locking pin 233a is inserted into the through holes 231a and 232a of both lock members 231 and 232 (see FIG. 11). (See dotted line). Thus, when the locking pin 233a engages with the lock members 231 and 232 in the vertical direction, the relative vertical movement of the base 201 and the ram 202 (in this embodiment, the ram 202 is lifted) is restricted.

こうしてベース201とラム202とがロック機構230で連結された状態で、アウタパネル2のフランジ部2aに本ヘム加工を施す。具体的には、図12及び図13に示すように、ロック機構230によりベース201とラム202とを連結した状態で、第2駆動手段206により下型200aを押し上げる。これにより、ベース201、ロック機構230、ラム202、及び本ヘム刃204を固定した状態で、可動ベース208b、ワーク受け部203、及びワーク(インナパネル1及びアウタパネル2)が上昇し、プリヘム加工が施されたアウタパネル2のフランジ部2aが本ヘム刃204に下方から押し付けられて、フランジ部2aがさらに折り曲げられる。このとき、複数(図示例では4個)の油圧シリンダ206aのピン206a1の突出量が等しくなるように、すなわち可動ベース208bが水平状態のまま上昇するように、各油圧シリンダ206aに接続されたサーボモータ206bが制御される。そして、第2駆動手段206の油圧シリンダ206a内の圧力が所定値となったら、サーボモータ206bを停止する。このとき、各油圧シリンダ206aを停止する圧力の所定値は、各部位に応じた値に設定される。以上により、アウタパネル2のフランジ部2aが完全に折り曲げられ、本ヘム加工が完了する。尚、図12及び図13では、便宜上、第2ベース201bやレール201dを省略している。   With the base 201 and the ram 202 thus connected by the lock mechanism 230, this hem processing is performed on the flange portion 2 a of the outer panel 2. Specifically, as shown in FIGS. 12 and 13, the lower mold 200 a is pushed up by the second driving means 206 in a state where the base 201 and the ram 202 are connected by the lock mechanism 230. Thereby, in a state where the base 201, the lock mechanism 230, the ram 202, and the main hem blade 204 are fixed, the movable base 208b, the work receiving portion 203, and the work (the inner panel 1 and the outer panel 2) are raised, and the prehem processing is performed. The flange portion 2a of the applied outer panel 2 is pressed against the main hem blade 204 from below, and the flange portion 2a is further bent. At this time, servos connected to the respective hydraulic cylinders 206a so that the protruding amounts of the pins 206a1 of a plurality (four in the illustrated example) of the hydraulic cylinders 206a become equal, that is, the movable base 208b rises in a horizontal state. The motor 206b is controlled. When the pressure in the hydraulic cylinder 206a of the second driving means 206 reaches a predetermined value, the servo motor 206b is stopped. At this time, the predetermined value of the pressure for stopping each hydraulic cylinder 206a is set to a value corresponding to each part. By the above, the flange part 2a of the outer panel 2 is completely bent, and this hem processing is completed. In FIGS. 12 and 13, the second base 201b and the rail 201d are omitted for convenience.

本発明は、上記の実施形態に限られない。例えば、ワークは車体のドアのインナパネル1及びアウタパネル2に限られないことはもちろんであり、例えば車体のフードやバックドアのインナパネル及びアウタパネルであってもよい。   The present invention is not limited to the above embodiment. For example, the workpiece is not limited to the inner panel 1 and the outer panel 2 of the door of the vehicle body, and may be, for example, the hood of the vehicle body or the inner panel and the outer panel of the back door.

また、図14に示す実施形態では、カムドライバ223の可動部223bの上下方向寸法が、上記の実施形態よりも大きい。この可動部223bを本体部223aの側方に退避させることにより、上下方向で対向するカムドライバ223の下面とカム機構222の上側カム225の上面225aとの上下方向距離を大きく広げることができる。その後の本ヘム加工において上型200bを降下させることにより、カムドライバ223とカム機構222とを当接させない状態で、本ヘム刃204でアウタパネル2のフランジ部2aに本ヘム加工を施すことができる(図14の点線参照)。この場合、ワーク受け部203を上昇させる必要がないため、可動ベース208bを省略し、プレート208を一体化することができる。   In the embodiment shown in FIG. 14, the vertical dimension of the movable portion 223b of the cam driver 223 is larger than that in the above embodiment. By retracting the movable portion 223b to the side of the main body 223a, the vertical distance between the lower surface of the cam driver 223 and the upper surface 225a of the upper cam 225 of the cam mechanism 222 can be greatly increased. By lowering the upper die 200b in the subsequent main hem processing, the main hem processing can be performed on the flange portion 2a of the outer panel 2 with the main hem blade 204 in a state where the cam driver 223 and the cam mechanism 222 are not brought into contact with each other. (See dotted line in FIG. 14). In this case, since it is not necessary to raise the workpiece receiving portion 203, the movable base 208b can be omitted and the plate 208 can be integrated.

また、図15に示す実施形態では、カムドライバ223が可動部を有さない一体品である。この実施形態では、プリヘム加工完了後、プリヘム刃221が本ヘム刃204とワーク受け部203との間から退避するまで上型200bを上昇させる。この状態でベース201とラム202とをロックして、ワーク受け部203及び可動ベース208を上昇させることにより、本ヘム刃204とワーク受け部203とでアウタパネル2のフランジ部2aに本ヘム加工を施す(図15の点線参照)。この場合、プリヘム加工完了後に上型200bを一旦上昇させた後、上型200bを再び降下させる工程を省略できる一方で、本ヘム加工時におけるワーク受け部203の上昇ストロークが上記の実施形態よりも長くなる。従って、ワーク受け部203の上昇ストロークを短くしたい場合は、上記の実施形態(図6〜13参照)を採用すればよい。   In the embodiment shown in FIG. 15, the cam driver 223 is an integrated product having no movable part. In this embodiment, after the prehem processing is completed, the upper die 200b is raised until the prehem blade 221 is retracted from between the main hem blade 204 and the work receiving portion 203. In this state, the base 201 and the ram 202 are locked and the work receiving portion 203 and the movable base 208 are raised, so that the main hem blade 204 and the work receiving portion 203 perform the main hem processing on the flange portion 2a of the outer panel 2. (See dotted line in FIG. 15). In this case, the step of raising the upper die 200b once after the completion of the prehem machining and then lowering the upper die 200b again can be omitted, while the raising stroke of the workpiece receiving portion 203 during the hemming is more than that in the above embodiment. become longer. Therefore, when it is desired to shorten the rising stroke of the workpiece receiving portion 203, the above embodiment (see FIGS. 6 to 13) may be employed.

また、上記の実施形態では、カムドライバ223に可動部223bを設けることで、上下方向で対向するカムドライバ223の下面223dとカム機構222の上面225aとの上下方向距離を変更可能としたが、これに限らず、この上下方向距離をカム機構222側で変更可能としてもよい(図示省略)。例えば、カム機構222の上側カム225に、上面の高さを変更するような可動部を設けることで、カムドライバ223の下面との上下方向距離を変更可能としてもよい。   In the above embodiment, the cam driver 223 is provided with the movable portion 223b, so that the vertical distance between the lower surface 223d of the cam driver 223 and the upper surface 225a of the cam mechanism 222 that are opposed in the vertical direction can be changed. However, the distance in the vertical direction may be changed on the cam mechanism 222 side (not shown). For example, the upper cam 225 of the cam mechanism 222 may be provided with a movable part that changes the height of the upper surface so that the vertical distance from the lower surface of the cam driver 223 can be changed.

また、上記の実施形態では、下側カム224をプレート208に固定し、上側カム225をスライドさせてプリヘム刃221をワーク側へ移動させる場合を示したが、これに限られない。例えば、図示は省略するが、下側カム224及び上側カム225の傾斜面224a,225bを上記の実施形態とは反対向きに傾斜した傾斜面とし(すなわち、ワーク側へ向けて上昇させた傾斜面とし)、上側カム225を鉛直下方に降下させることで、下側カム224をワーク側へスライドさせて、この下側カム224でプリヘム刃221をワーク側へ押し込む構成としてもよい(図示省略)。   In the above-described embodiment, the case where the lower cam 224 is fixed to the plate 208 and the upper cam 225 is slid to move the prehem blade 221 to the workpiece side is shown, but the present invention is not limited to this. For example, although not shown, the inclined surfaces 224a and 225b of the lower cam 224 and the upper cam 225 are inclined surfaces that are inclined in the opposite direction to the above embodiment (that is, inclined surfaces that are raised toward the workpiece side). The lower cam 224 may be slid toward the workpiece by lowering the upper cam 225 vertically downward, and the prehem blade 221 may be pushed into the workpiece with the lower cam 224 (not shown).

1 インナパネル
2 アウタパネル
200 ヘミング加工装置
200a 下型
200b 上型
201 ベース
202 ラム
203 ワーク受け部
204 本ヘム刃
205 第1駆動手段
206 第2駆動手段
207 ガイド部材
208b 可動ベース
210 ガイドピン
220 プリヘム機構
221 プリヘム刃
222 カム機構
223 カムドライバ
224 下側カム
225 上側カム
230 ロック機構
DESCRIPTION OF SYMBOLS 1 Inner panel 2 Outer panel 200 Hemming processing apparatus 200a Lower mold 200b Upper mold 201 Base 202 Ram 203 Work receiving part 204 This hem blade 205 First drive means 206 Second drive means 207 Guide member 208b Movable base 210 Guide pin 220 Prehem mechanism 221 Pre-hem blade 222 Cam mechanism 223 Cam driver 224 Lower cam 225 Upper cam 230 Lock mechanism

Claims (3)

下型と、前記下型に対して昇降可能な上型と、前記下型にセットされたワークに対して側方から接近離反する方向にスライド可能なプリヘム刃と、前記上型に設けられたカムドライバと、前記カムドライバで下向きに押圧されることにより、プリヘム刃をワークに向けてスライドさせるカム機構とを備えたヘミング加工装置であって、
互いに当接する前記カムドライバの下面及びカム機構の上面に、水平方向の平坦面を設けたヘミング加工装置。
Provided in the upper die, a lower die, an upper die that can be raised and lowered relative to the lower die, a prehem blade that is slidable in a direction approaching and moving away from the side with respect to a workpiece set in the lower die. A hemming processing apparatus comprising a cam driver and a cam mechanism that slides a pre-hem blade toward a workpiece by being pressed downward by the cam driver,
A hemming apparatus in which a horizontal flat surface is provided on the lower surface of the cam driver and the upper surface of the cam mechanism which are in contact with each other.
前記上型を停止させた状態で、上下方向で対向する前記カムドライバの下面と前記カム機構の上面との上下方向距離を変更可能とした請求項1記載のヘミング加工装置。   The hemming processing apparatus according to claim 1, wherein a vertical distance between a lower surface of the cam driver and an upper surface of the cam mechanism facing each other in the vertical direction can be changed in a state where the upper mold is stopped. 下型と、前記下型に対して昇降可能な上型と、前記下型に設けられ、前記下型にセットされたワークに対して側方から接近離反する方向にスライド可能なプリヘム刃と、前記上型に設けられたカムドライバと、プリヘム刃をワークに向けてスライドさせるカム機構とを備え、互いに当接する前記カムドライバの下面及びカム機構の上面に、水平方向の平坦面を設けたヘミング加工装置を用いて行うヘミング加工方法であって、
前記上型を降下させて前記カムドライバで前記カム機構を下向きに押圧することにより、前記プリヘム刃をスライドさせてワークにプリヘム加工を施すステップと、前記上型を上昇させて前記プリヘム刃をワークから離反させるステップと、前記上型を停止させた状態で、上下方向で対向する前記カムドライバの下面と前記カム機構の上面との上下方向距離を広げるステップと、前記上型を、前記プリヘム加工を施した位置よりも下方まで降下させるステップとを順に経て行うヘミング加工方法。
A lower die, an upper die that can be raised and lowered with respect to the lower die, a prehem blade that is provided in the lower die and is slidable in a direction approaching and separating from a side with respect to a workpiece set in the lower die; Hemming provided with a cam driver provided on the upper die and a cam mechanism for sliding a pre-hem blade toward the workpiece, and a flat surface in the horizontal direction provided on the lower surface of the cam driver and the upper surface of the cam mechanism that contact each other A hemming method performed using a processing apparatus,
The upper die is lowered and the cam mechanism is pressed downward by the cam driver to slide the prehem blade to prehem the workpiece, and the upper die is raised to move the prehem blade to the workpiece. Separating the upper mold, increasing the vertical distance between the lower surface of the cam driver and the upper surface of the cam mechanism facing each other in the vertical direction with the upper mold stopped, and the pre-hem processing of the upper mold The hemming processing method which goes through the step which descends below from the position which gave.
JP2013068215A 2013-03-28 2013-03-28 Hemming processing apparatus and hemming processing method Active JP6120636B2 (en)

Priority Applications (1)

Application Number Priority Date Filing Date Title
JP2013068215A JP6120636B2 (en) 2013-03-28 2013-03-28 Hemming processing apparatus and hemming processing method

Applications Claiming Priority (1)

Application Number Priority Date Filing Date Title
JP2013068215A JP6120636B2 (en) 2013-03-28 2013-03-28 Hemming processing apparatus and hemming processing method

Publications (2)

Publication Number Publication Date
JP2014188568A true JP2014188568A (en) 2014-10-06
JP6120636B2 JP6120636B2 (en) 2017-04-26

Family

ID=51835443

Family Applications (1)

Application Number Title Priority Date Filing Date
JP2013068215A Active JP6120636B2 (en) 2013-03-28 2013-03-28 Hemming processing apparatus and hemming processing method

Country Status (1)

Country Link
JP (1) JP6120636B2 (en)

Cited By (5)

* Cited by examiner, † Cited by third party
Publication number Priority date Publication date Assignee Title
CN105642761A (en) * 2016-04-01 2016-06-08 广东远见精密五金股份有限公司 Flanging die
CN110125247A (en) * 2019-06-26 2019-08-16 上海瑞挚汽车模具有限公司 A kind of independent lateral pressing flange body quickly going out sample recycling
CN111902224A (en) * 2017-12-31 2020-11-06 常君斌 Manufacturing Equipment
CN114290590A (en) * 2022-01-10 2022-04-08 绍兴市华顺通信技术有限公司 Crystal head compression molding machine
WO2022183316A1 (en) * 2021-03-01 2022-09-09 惠州市诚业家具有限公司 Automatic forming process and forming mold for storage basket

Citations (7)

* Cited by examiner, † Cited by third party
Publication number Priority date Publication date Assignee Title
JPS5737523U (en) * 1980-08-13 1982-02-27
JPS6038617U (en) * 1983-08-22 1985-03-18 富士通株式会社 Bending mold
JPS61222638A (en) * 1985-03-27 1986-10-03 Honda Motor Co Ltd Edge bending device
JPH0189812U (en) * 1987-12-08 1989-06-13
JPH0276614U (en) * 1988-11-25 1990-06-12
JPH11138222A (en) * 1997-10-31 1999-05-25 Hirotec Corp Hemmingdevice
JP2011078992A (en) * 2009-10-05 2011-04-21 Kanto Auto Works Ltd Hemming processing device

Patent Citations (7)

* Cited by examiner, † Cited by third party
Publication number Priority date Publication date Assignee Title
JPS5737523U (en) * 1980-08-13 1982-02-27
JPS6038617U (en) * 1983-08-22 1985-03-18 富士通株式会社 Bending mold
JPS61222638A (en) * 1985-03-27 1986-10-03 Honda Motor Co Ltd Edge bending device
JPH0189812U (en) * 1987-12-08 1989-06-13
JPH0276614U (en) * 1988-11-25 1990-06-12
JPH11138222A (en) * 1997-10-31 1999-05-25 Hirotec Corp Hemmingdevice
JP2011078992A (en) * 2009-10-05 2011-04-21 Kanto Auto Works Ltd Hemming processing device

Cited By (6)

* Cited by examiner, † Cited by third party
Publication number Priority date Publication date Assignee Title
CN105642761A (en) * 2016-04-01 2016-06-08 广东远见精密五金股份有限公司 Flanging die
CN111902224A (en) * 2017-12-31 2020-11-06 常君斌 Manufacturing Equipment
CN111902224B (en) * 2017-12-31 2024-03-22 常君斌 Manufacturing equipment for processing slide rail travel stop points
CN110125247A (en) * 2019-06-26 2019-08-16 上海瑞挚汽车模具有限公司 A kind of independent lateral pressing flange body quickly going out sample recycling
WO2022183316A1 (en) * 2021-03-01 2022-09-09 惠州市诚业家具有限公司 Automatic forming process and forming mold for storage basket
CN114290590A (en) * 2022-01-10 2022-04-08 绍兴市华顺通信技术有限公司 Crystal head compression molding machine

Also Published As

Publication number Publication date
JP6120636B2 (en) 2017-04-26

Similar Documents

Publication Publication Date Title
JP6120636B2 (en) Hemming processing apparatus and hemming processing method
WO2008047764A1 (en) Press-working method, and press-working apparatus
CN105382068B (en) The device and method of the cut surface with burr on finishing stamping parts or fine part
CN202316752U (en) Tapered wedge structure for punching holes in two directions
KR100440161B1 (en) Cam type press system
JP4972374B2 (en) Press working apparatus and press working method
JP2007283333A (en) Press working method and press working apparatus
JP2011083807A (en) Method for manufacturing component having hat-shaped cross section
JP2015066584A (en) Press molding method and press mold
CN104870116A (en) Deburring tool for laser beam machine and deburring method therefor
JP6075768B2 (en) Press working method and jig used therefor
JP2012176432A (en) Press forming die
JP2015006679A (en) Press molding method and press molding metal mold method
JP4970900B2 (en) Press working method and molding apparatus used therefor
JP6401620B2 (en) Bending method, back gauge device, and press brake
KR20090116893A (en) Headrest Stay Rod Bending Machine
JP6086481B2 (en) Hemming processing equipment
CN109530543A (en) Upward flange body, stamping die and stamping equipment
JP5128106B2 (en) Press working method and press working apparatus
KR100801113B1 (en) Punching and Bending Simultaneous Machine for Automobile Door Weather Strip Bonding Bar
JP2010207891A (en) Press machine
JP5547430B2 (en) Parts molding press with safety device
JP5843712B2 (en) Mold and trim processing method
JP5000256B2 (en) Press working method and press working apparatus
CN214983605U (en) Eccentric rotary taping machine

Legal Events

Date Code Title Description
A621 Written request for application examination

Free format text: JAPANESE INTERMEDIATE CODE: A621

Effective date: 20160304

A977 Report on retrieval

Free format text: JAPANESE INTERMEDIATE CODE: A971007

Effective date: 20161125

A131 Notification of reasons for refusal

Free format text: JAPANESE INTERMEDIATE CODE: A131

Effective date: 20161228

A521 Request for written amendment filed

Free format text: JAPANESE INTERMEDIATE CODE: A523

Effective date: 20170117

TRDD Decision of grant or rejection written
A01 Written decision to grant a patent or to grant a registration (utility model)

Free format text: JAPANESE INTERMEDIATE CODE: A01

Effective date: 20170328

A61 First payment of annual fees (during grant procedure)

Free format text: JAPANESE INTERMEDIATE CODE: A61

Effective date: 20170328

R150 Certificate of patent or registration of utility model

Ref document number: 6120636

Country of ref document: JP

Free format text: JAPANESE INTERMEDIATE CODE: R150

R250 Receipt of annual fees

Free format text: JAPANESE INTERMEDIATE CODE: R250

R250 Receipt of annual fees

Free format text: JAPANESE INTERMEDIATE CODE: R250

R250 Receipt of annual fees

Free format text: JAPANESE INTERMEDIATE CODE: R250

R250 Receipt of annual fees

Free format text: JAPANESE INTERMEDIATE CODE: R250

R250 Receipt of annual fees

Free format text: JAPANESE INTERMEDIATE CODE: R250

R250 Receipt of annual fees

Free format text: JAPANESE INTERMEDIATE CODE: R250