JP2014121808A - レーザ加工装置を備えた枚葉オフセット印刷機 - Google Patents

レーザ加工装置を備えた枚葉オフセット印刷機 Download PDF

Info

Publication number
JP2014121808A
JP2014121808A JP2012278078A JP2012278078A JP2014121808A JP 2014121808 A JP2014121808 A JP 2014121808A JP 2012278078 A JP2012278078 A JP 2012278078A JP 2012278078 A JP2012278078 A JP 2012278078A JP 2014121808 A JP2014121808 A JP 2014121808A
Authority
JP
Japan
Prior art keywords
sheet
laser
offset printing
laser processing
printing machine
Prior art date
Legal status (The legal status is an assumption and is not a legal conclusion. Google has not performed a legal analysis and makes no representation as to the accuracy of the status listed.)
Granted
Application number
JP2012278078A
Other languages
English (en)
Other versions
JP6108070B2 (ja
Inventor
Kazuaki Ishibashi
和晃 石橋
Current Assignee (The listed assignees may be inaccurate. Google has not performed a legal analysis and makes no representation or warranty as to the accuracy of the list.)
Dai Nippon Printing Co Ltd
Original Assignee
Dai Nippon Printing Co Ltd
Priority date (The priority date is an assumption and is not a legal conclusion. Google has not performed a legal analysis and makes no representation as to the accuracy of the date listed.)
Filing date
Publication date
Application filed by Dai Nippon Printing Co Ltd filed Critical Dai Nippon Printing Co Ltd
Priority to JP2012278078A priority Critical patent/JP6108070B2/ja
Publication of JP2014121808A publication Critical patent/JP2014121808A/ja
Application granted granted Critical
Publication of JP6108070B2 publication Critical patent/JP6108070B2/ja
Active legal-status Critical Current
Anticipated expiration legal-status Critical

Links

Images

Landscapes

  • Laser Beam Processing (AREA)
  • Supply, Installation And Extraction Of Printed Sheets Or Plates (AREA)
  • Delivering By Means Of Belts And Rollers (AREA)
  • Feeding Of Articles By Means Other Than Belts Or Rollers (AREA)

Abstract

【課題】レーザ光による打ち抜き加工をインラインで行え、更に、打ち抜き加工後の枚葉紙の搬送距離を短くできる枚葉オフセット印刷機を提供する。
【解決手段】枚葉オフセット印刷機1は、レーザ光を照射するレーザユニットを有するレーザ加工装置2と、レーザ加工装置2のレーザユニット20によって打ち抜き加工を施す枚葉紙を吸着搬送する吸着搬送ベルト3を備える。吸着搬送ベルト3は、デリバリチェーン15と速度同調がとられ、デリバリチェーン15で搬送される枚葉紙を吸着搬送するように設置されている。また、レーザ加工装置2のレーザユニット20は、デリバリ部のデリバリチェーン15で搬送される枚葉紙にレーザ光を照射するように設置されている。
【選択図】図1

Description

本発明は、枚葉オフセット印刷機上で枚葉紙にレーザ光を照射して打ち抜き加工を行うための技術に関する。
現在、枚葉オフセット印刷機の印刷機としての性能はすでに飽和している状態で、印刷機メーカー各社の実力も大差がなくなった。このため、印刷機メーカーは、オフセット印刷の機能の他に、ニス・コーター加工、通数番号印刷や簡単な打ち抜き加工などをインラインで行える枚葉オフセット印刷機を開発するようになった。
例えば、打ち抜き加工の一つであるミシン加工をインラインで行える枚葉オフセット印刷機として、特許文献1では、オフセット印刷後に乾燥を行った枚葉紙を打ち抜き用の圧胴で保持し、該圧胴上の枚葉紙をミシン刃胴でミシン目加工する枚葉オフセット印刷機が開示されている。
しかし、特許文献1で開示されている枚葉オフセット印刷機のように、打ち抜き刃を用いた打ち抜き加工をインラインで行う構成にすると、以下の問題が生じてしまう。
(問題点1)打ち抜き刃の摩耗により加工精度が悪化する。
(問題点2)打ち抜き加工で発生した紙粉が打ち抜き刃と対向する圧胴上にたまってしまい、紙粉を該圧胴上から除去するために枚葉オフセット印刷機を停止させると、生産効率が悪化する。
(問題点3)打ち抜き刃を用いた打ち抜き加工では、複雑な形状をインラインで打ち抜き加工できない。
(問題点4)ニック(つなぎ)を入れる打ち抜き加工の場合、打ち抜き刃と対向する圧胴からデリバリ部に枚葉紙が搬送される間に、枚葉紙から紙片が落下する危険性がある。
特開平8−207247号公報
上述した問題点1から問題点3は、打ち抜き加工に打ち抜き刃を用いることに起因する問題点であるため、上述した問題点1から問題点3を解決できると考えられる。また、上述した問題点4は、打ち抜き加工後の枚葉紙の搬送距離を短くすれば解決できると考えられる。
打ち抜き刃を用いない打ち抜き加工としてはレーザ加工が開発されているため、本発明は、レーザ光による打ち抜き加工をインラインで行え、更に、打ち抜き加工後の枚葉紙の搬送距離を短くできる枚葉オフセット印刷機を提供することを目的とする。
上述した課題を解決する第1の発明は、レーザ光を照射するレーザユニットを有するレーザ加工装置と、レーザ光の照射箇所を通過する枚葉紙を吸着搬送する吸着搬送機構を備え、前記レーザ加工装置のレーザユニットと前記吸着搬送機構をデリバリ部に設置したことを特徴とする枚葉オフセット印刷機である。
更に、第2の発明は、第1の発明の態様で、前記吸着搬送機構を吸着搬送ベルトとし、前記吸着搬送ベルトは、前記グリッパーチェーンと速度同調がとられ、デリバリ部のグリッパーチェーンの下段で搬送される枚葉紙を吸着搬送するように設置され、前記レーザ加工装置のレーザユニットは、グリッパーチェーンの下段で搬送される枚葉紙にレーザ光を照射するように設置されていることを特徴とする。
更に、第3の発明は、第2の発明とは異なる第1の発明の態様で、前記吸着搬送機構を吸着ローラとし、前記吸着ローラは、デリバリ部のグリッパーチェーンに枚葉紙を受け渡すように設置され、前記レーザ加工装置は前記吸着ローラ上の枚葉紙にレーザ光を照射するように設置されていることを特徴とする。
上述した発明によれば、レーザ光による打ち抜き加工をインラインで行え、更に、打ち抜き加工後の枚葉紙の搬送距離が短くなる枚葉オフセット印刷機を提供できる。
本実施形態にかかる枚葉オフセット印刷機を説明する図。 レーザ加工装置を説明する図。 吸着搬送機構の他形態を説明する図。
ここから、本発明の好適な実施形態を記載する。なお、以下の記載は本発明の範囲を束縛するものでなく、理解を助けるために記述するものである。
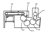
図1は、本実施形態にかかる枚葉オフセット印刷機1を説明する図である。図1(a)は、本実施形態にかかる枚葉オフセット印刷機1の外観を説明する図で、図1(a)に図示したように、本実施形態にかかる枚葉オフセット印刷機1のデリバリ部には、枚葉オフセット印刷機1の各印刷部16で印刷された枚葉紙にレーザ光を照射するレーザユニット20とレーザ光の照射を制御する制御機器21とから少なくとも構成されるレーザ加工装置2が備えられている。
枚葉紙の打ち抜き加工にレーザ加工装置2を用いることで、打ち抜き加工精度の経時変化を抑えられ、紙粉の発生もなくなるばかりか、インラインで複雑な形状も打ち抜き加工できるようになる。
また、ニック(つなぎ)を入れる打ち抜き加工の場合、打ち抜き加工を行う位置からデリバリ部間までの搬送距離が長いと、打ち抜き加工後の枚葉紙を搬送している間に紙片が落下するリスクが高まるため、本実施形態では、レーザ加工装置2をデリバリ部に配置することで、打ち抜き加工後の枚葉紙の搬送距離が短くなるようにしている。
なお、印刷インキの裏移りを防止するためのパウダーを枚葉紙に塗布することもあるが、レーザ加工時にパウダーが発火する危険性があるため、印刷の乾燥方式としてはUV方式を用いることが望ましい。
図1(b)は、本実施形態にかかる枚葉オフセット印刷機1のデリバリ部を説明する図である。図1(b)のデリバリ部は、版胴10、ブランケット胴11および印刷圧胴12を用いて印刷された枚葉紙を、第1の排紙胴13および第2の排紙胴14を介してグリッパーチェーン15に受け渡して集積するように構成されており、本実施形態のレーザ加工装置2のレーザユニット20は、グリッパーチェーン15の上段と下段の間に配置され、グリッパーチェーン15の下段で搬送される枚葉紙にレーザ光を照射する。
しかし、図1(b)のようにレーザ加工装置2のレーザユニット20を配置すると、レーザ光を照射する際に枚葉紙がばたつく恐れがある。そこで、レーザ光を照射する枚葉紙のばたつきを抑えるために、本実施形態の枚葉オフセット印刷機1には、レーザ光の照射箇所を通過する枚葉紙を吸着搬送する吸着搬送機構となる吸着搬送ベルト3が設けられている。吸着搬送ベルト3は、グリッパーチェーン15と速度同調がとられ、図1(b)では、グリッパーチェーン15の下段で搬送される枚葉紙を吸着搬送するように設置されている。
なお、図1で図示した吸着搬送ベルト3は吸着搬送機構の一例に過ぎず、枚葉オフセット印刷機1のデリバリ部の構造に応じて吸着搬送機構の形態を変えることができる。図3は、吸着搬送機構の他形態を説明する図である。図3では、図1(b)で図示した第2の排紙胴14を吸着搬送機構として利用するために、図1(b)で図示した第2の排紙胴14を吸引ローラ3aにしている。
図3では、吸着ローラ3aは、グリッパーチェーン15に枚葉紙を受け渡すように設置され、レーザ加工装置2のレーザユニット20は吸着ローラ3a上の枚葉紙にレーザ光を照射できるように設置されている。
ここから、枚葉オフセット印刷機1に備えられるレーザ加工装置2について説明する。図2は、本実施形態にかかる枚葉オフセット印刷機1に備えられるレーザ加工装置2を説明する図である。本実施形態にかかるレーザ加工装置2は、特開2012-101228号公報に記載された装置と同様な装置である。
レーザ加工装置2のレーザユニット20は、枚葉紙の打ち抜き加工に適した波長のレーザ光を発振するレーザ発振器200と、シャッターなどを用いてレーザ光の照射をそれぞれが独立して制御できるように構成された複数のレーザヘッド201を備え、複数のレーザヘッド201は枚葉紙の送り方向に対して直交するように配置されている。
レーザ加工装置2の制御機器201には、印刷開始前に、打ち抜き加工する形状とその枚葉紙上の座標が記憶された図面データが登録される。枚葉オフセット印刷機1にてオフセット印刷が開始されると、レーザ加工装置2の制御機器201は、枚葉オフセット印刷機1に設けられたエンコーダの信号などを利用して、グリッパーチェーン15で搬送される枚葉紙の送り方向の位置を特定し、図面データに合わせて各レーザヘッド201のレーザ光の照射を制御することで、グリッパーチェーン15で搬送される枚葉紙に打ち抜き加工を行う。
1 枚葉オフセット印刷機
10 版胴
11 ブランケット胴
12 印刷圧胴
13 第1の排紙胴
14 第2の排紙胴
15 グリッパーチェーン
16 印刷部
2 レーザ加工装置
20 レーザユニット
201 レーザヘッド
21 制御機器
3 吸着搬送ベルト
3a 吸着ローラ

Claims (3)

  1. レーザ光を照射するレーザユニットを有するレーザ加工装置と、レーザ光の照射箇所を通過する枚葉紙を吸着搬送する吸着搬送機構を備え、前記レーザ加工装置のレーザユニットと前記吸着搬送機構をデリバリ部に設置したことを特徴とする枚葉オフセット印刷機。
  2. 前記吸着搬送機構を吸着搬送ベルトとし、前記吸着搬送ベルトは、デリバリ部のグリッパーチェーンと速度同調がとられ、グリッパーチェーンの下段で搬送される枚葉紙を吸着搬送するように設置され、前記レーザ加工装置のレーザユニットは、グリッパーチェーンの下段で搬送される枚葉紙にレーザ光を照射するように設置されていることを特徴とする、請求項1に記載した枚葉オフセット印刷機。
  3. 前記吸着搬送機構を吸着ローラとし、前記吸着ローラは、デリバリ部のグリッパーチェーンに枚葉紙を受け渡すように設置され、前記レーザ加工装置は前記吸着ローラ上の枚葉紙にレーザ光を照射するように設置されていることを特徴とする、請求項1に記載した枚葉オフセット印刷機。
JP2012278078A 2012-12-20 2012-12-20 レーザ加工装置を備えた枚葉オフセット印刷機 Active JP6108070B2 (ja)

Priority Applications (1)

Application Number Priority Date Filing Date Title
JP2012278078A JP6108070B2 (ja) 2012-12-20 2012-12-20 レーザ加工装置を備えた枚葉オフセット印刷機

Applications Claiming Priority (1)

Application Number Priority Date Filing Date Title
JP2012278078A JP6108070B2 (ja) 2012-12-20 2012-12-20 レーザ加工装置を備えた枚葉オフセット印刷機

Publications (2)

Publication Number Publication Date
JP2014121808A true JP2014121808A (ja) 2014-07-03
JP6108070B2 JP6108070B2 (ja) 2017-04-05

Family

ID=51402734

Family Applications (1)

Application Number Title Priority Date Filing Date
JP2012278078A Active JP6108070B2 (ja) 2012-12-20 2012-12-20 レーザ加工装置を備えた枚葉オフセット印刷機

Country Status (1)

Country Link
JP (1) JP6108070B2 (ja)

Cited By (4)

* Cited by examiner, † Cited by third party
Publication number Priority date Publication date Assignee Title
CN105437731A (zh) * 2015-12-08 2016-03-30 东莞市力泰自动化科技有限公司 一种自动化多头套色印刷机
CN105946360A (zh) * 2016-06-21 2016-09-21 天津长荣印刷设备股份有限公司 一种多工位激光模压工艺及激光模压机
CN106079873A (zh) * 2016-06-21 2016-11-09 天津长荣印刷设备股份有限公司 一种多工位激光模压工艺及模切烫印机
CN111940920A (zh) * 2019-10-08 2020-11-17 广东利元亨智能装备股份有限公司 激光切割装置

Citations (4)

* Cited by examiner, † Cited by third party
Publication number Priority date Publication date Assignee Title
JPH06211402A (ja) * 1992-11-25 1994-08-02 Heidelberger Druckmas Ag 枚葉紙印刷機のチェーンコンベヤ
JPH08245049A (ja) * 1994-11-29 1996-09-24 Heidelberger Druckmas Ag 印刷機において紙を成形加工する方法と装置
JP2005035269A (ja) * 2003-07-16 2005-02-10 Heidelberger Druckmas Ag 枚葉紙を処理する機械
JP2008500901A (ja) * 2004-04-22 2008-01-17 カーベーアー−ジオリ ソシエテ アノニム レーザ穿孔による印刷機械

Patent Citations (4)

* Cited by examiner, † Cited by third party
Publication number Priority date Publication date Assignee Title
JPH06211402A (ja) * 1992-11-25 1994-08-02 Heidelberger Druckmas Ag 枚葉紙印刷機のチェーンコンベヤ
JPH08245049A (ja) * 1994-11-29 1996-09-24 Heidelberger Druckmas Ag 印刷機において紙を成形加工する方法と装置
JP2005035269A (ja) * 2003-07-16 2005-02-10 Heidelberger Druckmas Ag 枚葉紙を処理する機械
JP2008500901A (ja) * 2004-04-22 2008-01-17 カーベーアー−ジオリ ソシエテ アノニム レーザ穿孔による印刷機械

Cited By (4)

* Cited by examiner, † Cited by third party
Publication number Priority date Publication date Assignee Title
CN105437731A (zh) * 2015-12-08 2016-03-30 东莞市力泰自动化科技有限公司 一种自动化多头套色印刷机
CN105946360A (zh) * 2016-06-21 2016-09-21 天津长荣印刷设备股份有限公司 一种多工位激光模压工艺及激光模压机
CN106079873A (zh) * 2016-06-21 2016-11-09 天津长荣印刷设备股份有限公司 一种多工位激光模压工艺及模切烫印机
CN111940920A (zh) * 2019-10-08 2020-11-17 广东利元亨智能装备股份有限公司 激光切割装置

Also Published As

Publication number Publication date
JP6108070B2 (ja) 2017-04-05

Similar Documents

Publication Publication Date Title
JP6108070B2 (ja) レーザ加工装置を備えた枚葉オフセット印刷機
JP2008030952A (ja) 後縁制動装置
KR20170052683A (ko) 결합된 인쇄기
RU2374079C2 (ru) Печатная машина с лазерным перфорированием
JP2007331223A (ja) 枚葉印刷機
JP2009137298A (ja) 枚葉紙印刷機の運転方法
EP1579989B1 (en) Apparatus for providing printed sheets with holes
JP2008273680A (ja) 紙受け装置
JP2007216456A (ja) 枚葉紙印刷機用乾燥装置
JP2007050692A (ja) 枚葉紙印刷機
JP2013119257A (ja) プリンター装置及びその使用方法
JP2010089455A (ja) デジタル印刷機の乾燥装置
JP4916694B2 (ja) 両面印刷装置
US11559978B2 (en) Printing machine and system for rotary screen printing including a screen-printing cylinder having flexible surface elements
JP5551559B2 (ja) 印刷機
JP5471460B2 (ja) 枚葉印刷機および横針規制の不良検出方法
JP2010194727A (ja) 印刷機における乾燥装置
JP2006272873A (ja) 複合印刷機及び印刷システム並びに印刷方法
JP6468685B2 (ja) 枚葉印刷機
JP2017042977A (ja) 印刷機
JP2012232526A (ja) 印刷機構、印刷装置および印刷方法
JP5931565B2 (ja) 印刷機
JP6117669B2 (ja) 印刷機の制御装置
KR20200005227A (ko) 비닐인쇄기의 인쇄제어방법
JP2016083904A (ja) 印刷機

Legal Events

Date Code Title Description
A621 Written request for application examination

Free format text: JAPANESE INTERMEDIATE CODE: A621

Effective date: 20151029

A977 Report on retrieval

Free format text: JAPANESE INTERMEDIATE CODE: A971007

Effective date: 20160721

A131 Notification of reasons for refusal

Free format text: JAPANESE INTERMEDIATE CODE: A131

Effective date: 20160726

A521 Request for written amendment filed

Free format text: JAPANESE INTERMEDIATE CODE: A523

Effective date: 20160906

TRDD Decision of grant or rejection written
A01 Written decision to grant a patent or to grant a registration (utility model)

Free format text: JAPANESE INTERMEDIATE CODE: A01

Effective date: 20170208

A61 First payment of annual fees (during grant procedure)

Free format text: JAPANESE INTERMEDIATE CODE: A61

Effective date: 20170221

R150 Certificate of patent or registration of utility model

Ref document number: 6108070

Country of ref document: JP

Free format text: JAPANESE INTERMEDIATE CODE: R150