JP2014118680A - Fitting device for exterior material of curtain wall - Google Patents

Fitting device for exterior material of curtain wall Download PDF

Info

Publication number
JP2014118680A
JP2014118680A JP2012272149A JP2012272149A JP2014118680A JP 2014118680 A JP2014118680 A JP 2014118680A JP 2012272149 A JP2012272149 A JP 2012272149A JP 2012272149 A JP2012272149 A JP 2012272149A JP 2014118680 A JP2014118680 A JP 2014118680A
Authority
JP
Japan
Prior art keywords
curtain wall
exterior material
bracket
tapping
wall
Prior art date
Legal status (The legal status is an assumption and is not a legal conclusion. Google has not performed a legal analysis and makes no representation as to the accuracy of the status listed.)
Pending
Application number
JP2012272149A
Other languages
Japanese (ja)
Inventor
Ichiro Nishioka
市朗 西岡
Haruhisa Kamata
晴久 鎌田
Current Assignee (The listed assignees may be inaccurate. Google has not performed a legal analysis and makes no representation or warranty as to the accuracy of the list.)
Lixil Corp
Original Assignee
Lixil Corp
Priority date (The priority date is an assumption and is not a legal conclusion. Google has not performed a legal analysis and makes no representation as to the accuracy of the date listed.)
Filing date
Publication date
Application filed by Lixil Corp filed Critical Lixil Corp
Priority to JP2012272149A priority Critical patent/JP2014118680A/en
Publication of JP2014118680A publication Critical patent/JP2014118680A/en
Pending legal-status Critical Current

Links

Images

Landscapes

  • Load-Bearing And Curtain Walls (AREA)
  • Building Awnings And Sunshades (AREA)

Abstract

【課題】ユニット式カーテンウォールにおいても任意の高さに任意の数の外装材を取付けることが可能となり、もって意匠性や日照遮蔽機能等の省エネルギー効果を高めることが可能となるカーテンウォールの外装材の取付け構造を提供する。
【解決手段】カーテンウォール3の縦枠3a,3bに、外装材取付け用の係合溝3i,3jを長手方向に形成する。ブラケット15,16に係合溝3i,3jに係合させる結合部15a,16aを設けると共に、室外側に縦方向に形成されたタッピング溝15a,15bおよび16a,16bを設ける。ブラケット15,16の係合部15a,15bを係合溝3i,3jに係合させ、固定具17,18によってブラケット15,16を縦枠3a,3bに固定する。ブラケットのタッピング溝15a,15bおよび16a,16bに螺合するタッピングねじ19,20により、外装材13をブラケット15,16に固定する。
【選択図】図4
An exterior material for a curtain wall that can be attached with an arbitrary number of exterior materials at an arbitrary height even in a unit-type curtain wall, and thus can enhance energy saving effects such as a design property and a sunlight shielding function. Provides an installation structure.
Engagement grooves 3i and 3j for attaching exterior materials are formed in the longitudinal direction in longitudinal frames 3a and 3b of a curtain wall 3. The brackets 15 and 16 are provided with coupling portions 15a and 16a to be engaged with the engagement grooves 3i and 3j, and tapping grooves 15a and 15b and 16a and 16b formed in the vertical direction on the outdoor side. The engaging portions 15a and 15b of the brackets 15 and 16 are engaged with the engaging grooves 3i and 3j, and the brackets 15 and 16 are fixed to the vertical frames 3a and 3b by the fixtures 17 and 18, respectively. The exterior member 13 is fixed to the brackets 15 and 16 by tapping screws 19 and 20 that are screwed into the tapping grooves 15a and 15b and 16a and 16b of the bracket.
[Selection] Figure 4

Description

本発明は、ビルの外壁を構成するユニット式カーテンウォールの外面に庇、フィンあるいはカバー等の外装材を取付ける構造に関する。   The present invention relates to a structure in which an exterior material such as a ridge, a fin, or a cover is attached to the outer surface of a unit curtain wall constituting the outer wall of a building.

ビルの外壁には、日照を遮蔽あるいは制限するための目的を持って庇を取付けたり、意匠上の目的を持って庇より突出幅が短いフィンを取付けたり、横線や縦線を強調するためにカバーと称される意匠部材を外装材として取付ける場合がある。庇を取付ける構造として、現地で組み立てるノックダウン方式のカーテンウォールにおいて、特許文献1には、方立の一部をガラスパネルより室外側に突出させ、その突出部に縦方向に連続する溝を設け、その溝に庇取付け用のボルトの頭部を上下動可能に嵌合し、そのボルトの軸側を室外側に突出させ、その突出したボルトの軸部に庇の縦板部に設けたボルト挿通孔を嵌め、ボルトに螺合するナットにより庇の縦板部を方立の室外側に固定した構造が開示されている。この従来構造においては、庇の取付け位置を上下方向に調整することが可能である。   For the purpose of shielding or restricting sunshine on the building's outer wall, to install a ridge, or for design purposes, to install a fin with a shorter protruding width than the ridge, or to emphasize horizontal and vertical lines A design member called a cover may be attached as an exterior material. In the knockdown curtain wall that is assembled on site as a structure for attaching the ridge, Patent Document 1 discloses that a part of the vertical wall protrudes from the glass panel to the outdoor side, and a groove that continues in the vertical direction is provided in the protruding portion. The head of the bolt for attaching the hook is fitted in the groove so that the head can be moved up and down, the shaft side of the bolt protrudes to the outdoor side, and the bolt provided on the vertical plate portion of the hook There is disclosed a structure in which a vertical plate portion of a ridge is fixed to a vertical outdoor side by a nut fitted with an insertion hole and screwed into a bolt. In this conventional structure, it is possible to adjust the attachment position of the scissors vertically.

一方、ノックダウン方式のカーテンウォールではなく、ユニット式カーテンウォールは、工場においてカーテンウォールを予め組み立てておき、施工の段階でカーテンウォールをビルの外壁部に吊り込んで躯体に取付ける施工工程をとるものであり、これにより、現場施工の工程、工期を短縮することができ、施工が容易になるというメリットがある。このようなユニット式カーテンウォールにおいては、従来、図11に示す庇、フィンあるいはカバーの取付け構造が採用されてきた。   On the other hand, instead of knockdown curtain walls, unit curtain walls take a construction process in which a curtain wall is assembled in advance at the factory, and the curtain wall is hung on the outer wall of the building and attached to the building at the construction stage. As a result, there is an advantage that the on-site construction process and construction period can be shortened, and the construction becomes easy. In such a unit type curtain wall, the attachment structure of the scissors, fins, or cover shown in FIG. 11 has been conventionally employed.

図11において、3eはカーテンウォール3を構成する横枠であり、この横枠3eはユニットとして構成されるカーテンウォール3の中間に設置されるものであり、3fはこの横枠3eより上方に組み込まれた1重のガラスパネル、3gは横枠3eの上方に組み込まれた耐火ボード、3hは横枠3eより下方に組み込まれた2重のガラスパネルである。51,52はそれぞれガラスパネル3f,3hを横枠3eに取付けるために横枠3eに組み付けられた押縁である。50はカーテンウォール3の外面に取付けられる庇である。   In FIG. 11, 3e is a horizontal frame constituting the curtain wall 3, and this horizontal frame 3e is installed in the middle of the curtain wall 3 configured as a unit, and 3f is incorporated above the horizontal frame 3e. The single glass panel 3g is a refractory board incorporated above the horizontal frame 3e, and 3h is a double glass panel incorporated below the horizontal frame 3e. Reference numerals 51 and 52 denote pressing edges assembled to the horizontal frame 3e in order to attach the glass panels 3f and 3h to the horizontal frame 3e, respectively. Reference numeral 50 denotes a gutter attached to the outer surface of the curtain wall 3.

この庇50を取付けるため、従来は押縁51,52に庇50の取付け部51a,52aを設け、庇50の室内側に設けた係合部50a,50bをこれらの取付け部51a,52aに係止させると共に、不図示のタッピングねじにより庇50を押縁51,52に固定して取付ける構造を有していた。   In order to attach the flange 50, conventionally, the attaching portions 51a and 52a of the flange 50 are provided on the pressing edges 51 and 52, and the engaging portions 50a and 50b provided on the indoor side of the flange 50 are locked to the attachment portions 51a and 52a. In addition, the flange 50 is fixedly attached to the pressing edges 51 and 52 with a tapping screw (not shown).

実公昭62−37881号公報Japanese Utility Model Publication No. 62-37881

しかしながら、前述した特許文献1に記載の庇の取付け構造は、ビルの躯体を構成する方立を室外側に露出させてその露出部に庇を取付けるノックダウン方式であるため、方立の室外に露出面が少ないユニット式カーテンウォールには適用できない。   However, since the mounting structure of the fence described in Patent Document 1 described above is a knock-down system in which the vertical that constitutes the building's frame is exposed to the outside of the room and the vertical wall is attached to the exposed portion, Not applicable to unit curtain walls with few exposed surfaces.

一方、図11に示す従来構造においては、横枠3eに組み付ける押縁51,52に庇50を取付けるための取付け部51a,52aを設けて庇50を取付ける構造であるため、横枠3eを設ける箇所にしか庇50等の外装材を設けることができず、より好ましい位置に外装材を設けたり、1つのカーテンウォール3の異なる高さの複数箇所に外装材を取付けて意匠性や日照遮蔽機能等を高めるという要求に応えることができないという問題点がある。   On the other hand, in the conventional structure shown in FIG. 11, the mounting portions 51a and 52a for attaching the flange 50 to the pressing edges 51 and 52 assembled to the horizontal frame 3e are provided and the flange 50 is attached. It is only possible to provide an exterior material such as a cocoon ridge 50, and an exterior material is provided at a more preferable position, or an exterior material is attached to a plurality of locations at different heights of one curtain wall 3 to provide a design property, a sunlight shielding function, etc. There is a problem that it is not possible to meet the demand to improve the quality.

本発明は、上記問題点に鑑み、ユニット式カーテンウォールにおいても任意の高さに任意の数の外装材を取付けることが可能となり、もって意匠性や日照遮蔽機能等の省エネルギー効果を高めることが可能となるカーテンウォールの外装材の取付け構造を提供することを目的とする。   In view of the above problems, the present invention makes it possible to attach an arbitrary number of exterior materials to an arbitrary height even in a unit-type curtain wall, thereby enhancing energy saving effects such as design properties and sunlight shielding function. It is an object of the present invention to provide a curtain wall exterior material mounting structure.

請求項1のカーテンウォールの外装材の取付け構造は、
ユニット式カーテンウォールの外壁に庇、フィンまたはカバーとしての外装材を取付ける構造において、
カーテンウォールの縦枠に、外装材取付け用のブラケットを係合させる係合溝を長手方向に形成し、
前記ブラケットの室内側端部に設けた取付け部を、前記縦枠の前記係合溝に取付け高さ調整可能に係合させて固定具によって固定することにより、前記ブラケットの一部を前記外壁から室外側に突出させ、
前記ブラケットにおける前記外壁より外側に突出した部分に前記外装材を取付けたことを特徴とする。
The curtain wall exterior material mounting structure according to claim 1 comprises:
In the structure to attach the exterior material as a ridge, fin or cover to the outer wall of the unit type curtain wall,
In the longitudinal frame of the curtain wall, an engagement groove for engaging the bracket for mounting the exterior material is formed in the longitudinal direction,
A mounting portion provided at an end portion on the indoor side of the bracket is engaged with the engagement groove of the vertical frame so that the mounting height can be adjusted, and is fixed by a fixing tool, whereby a part of the bracket is detached from the outer wall. Project outside,
The exterior material is attached to a portion of the bracket that protrudes outward from the outer wall.

請求項2のカーテンウォールの外装材の取付け構造は、請求項1に記載のカーテンウォールの外装材の取付け構造において、
前記ブラケットは押出形材でなり、前記外壁より突出した部分に縦方向にタッピング溝を有し、
前記タッピング溝の上下端を切欠いて前記ブラケットにおけるタッピング溝形成部の上下の板幅より前記タッピング溝の上下幅を短く形成し、
前記外装材の上板部および下板部の端部で前記タッピング溝を挟むと共に、前記端部を前記ブラケットの板面に当接させ、かつ前記端部を、前記上板部と前記下板部の少なくともいずれか一方に設けた貫通孔を通して前記タッピング溝に螺入するねじにより固定したことを特徴とする。
The curtain wall exterior material mounting structure according to claim 2 is the curtain wall exterior material mounting structure according to claim 1,
The bracket is made of an extruded shape, and has a tapping groove in a vertical direction in a portion protruding from the outer wall,
The upper and lower widths of the tapping groove are formed shorter than the upper and lower plate widths of the tapping groove forming portion in the bracket by cutting out the upper and lower ends of the tapping groove,
The tapping groove is sandwiched between end portions of the upper and lower plate portions of the exterior material, the end portions are brought into contact with the plate surface of the bracket, and the end portions are connected to the upper plate portion and the lower plate. It is characterized by being fixed by a screw that is screwed into the tapping groove through a through hole provided in at least one of the parts.

請求項1の発明によれば、カーテンウォールの縦枠に外装材取付け用ブラケットの係合溝を設け、この係合溝にブラケットを上下方向の位置変更可能にブラケットを係合させ、固定具によりブラケットを縦枠に固定するように構成したので、外装材の取付け位置がカーテンウォールの横枠の部位に限定されることなく、横枠の無い箇所にも取付け可能となる。このため、個々のビルにとって省エネ上好ましい位置、あるいは意匠上優れた位置に外装材を施工することができる。また、外装材の取付け部位が横枠の設置個所に限定されないため、1つのカーテンウォールの縦枠に対して上下に間隔を有して複数の外装材を取付けることが可能となり、省エネ効果を高めたり、意匠性を高めた外観のカーテンウォールを提供することが可能となる。   According to the first aspect of the present invention, the vertical wall of the curtain wall is provided with the engagement groove of the bracket for mounting the exterior material, and the bracket is engaged with the engagement groove so that the position of the bracket can be changed in the vertical direction. Since the bracket is configured to be fixed to the vertical frame, the mounting position of the exterior material is not limited to the portion of the horizontal frame of the curtain wall, and can be attached to a portion without the horizontal frame. For this reason, an exterior material can be constructed in a position preferable for energy saving for each building or a position excellent in design. In addition, since the mounting part of the exterior material is not limited to the installation location of the horizontal frame, it becomes possible to attach a plurality of exterior materials with a vertical space with respect to the vertical frame of one curtain wall, and the energy saving effect is enhanced. In addition, it is possible to provide a curtain wall having an appearance with improved design.

請求項2の発明によれば、ブラケットのタッピング溝の上下端を切欠き、外装材の上板部、下板部の端部をブラケットの板面に突き合わせて外装材をブラケットに取付けるようにしたので、外装材のねじ挿通孔とタッピング溝との位置合わせが容易となり、外装材の取付け作業が容易となる。   According to the invention of claim 2, the upper and lower ends of the tapping groove of the bracket are notched and the end portions of the upper plate portion and the lower plate portion of the exterior material are butted against the plate surface of the bracket so that the exterior material is attached to the bracket. Therefore, the positioning of the screw insertion hole of the exterior material and the tapping groove is facilitated, and the exterior material is easily attached.

本発明の外装材の取付け構造を適用したカーテンウォールの一例を示すビルの部分正面図である。It is a partial front view of the building which shows an example of the curtain wall to which the attachment structure of the exterior material of this invention is applied. 図1のE−E断面図である。It is EE sectional drawing of FIG. 本発明のカーテンウォールの外装材の取付け構造の一実施の形態を示す図1のF−F拡大断面図である。It is FF expanded sectional drawing of FIG. 1 which shows one Embodiment of the attachment structure of the exterior material of the curtain wall of this invention. 図3の要部拡大断面図である。It is a principal part expanded sectional view of FIG. 図4の一部拡大断面図である。It is a partially expanded sectional view of FIG. (A)は本実施の形態のブラケットの平面図、(B)はブラケットの正面図、(C)は(B)の部分拡大図である。(A) is a top view of the bracket of this Embodiment, (B) is a front view of a bracket, (C) is the elements on larger scale of (B). (A)は本実施の形態の庇の構造を示す縦断面図、(B)はその端部におけるブラケットとの結合構造を示す縦断面図である。(A) is a longitudinal cross-sectional view which shows the structure of the collar of this Embodiment, (B) is a longitudinal cross-sectional view which shows the connection structure with the bracket in the edge part. 本実施の形態の外装材の取付け構造を、庇の突き合わせ部における片側の庇を分解して示す斜視図である。It is a perspective view which decomposes | disassembles the collar of the one side in the butting | matching part of a collar, and the attachment structure of the exterior material of this Embodiment. 本実施の形態の外装材の取付け構造を、庇の突き合わせ部における片側のみについて示す斜視図である。It is a perspective view which shows the attachment structure of the exterior material of this Embodiment only about the one side in the butting | matching part of a collar. 本実施の形態において、異なる厚さの庇を取付けた状態を示す側面図である。In this Embodiment, it is a side view which shows the state which attached the collar of different thickness. 従来の外装材の取付け構造を示す側面図である。It is a side view which shows the attachment structure of the conventional exterior material.

図1は本発明の外装材の取付け構造を適用したカーテンウォールの一例を示すビルの部分正面図、図2は図1のE−E断面図である。図1、図2において、3はビルの外面に設置されて外壁を構成するカーテンウォールであり、ユニット式に構成されるものである。   FIG. 1 is a partial front view of a building showing an example of a curtain wall to which an exterior material mounting structure of the present invention is applied, and FIG. 2 is a cross-sectional view taken along line EE in FIG. 1 and 2, reference numeral 3 denotes a curtain wall which is installed on the outer surface of a building and forms an outer wall, and is configured in a unit type.

本実施の形態のカーテンウォール3は、押出形材でなる左右の縦枠3a,3bとの間に、押出形材でなる上枠3cと下枠3dおよび中間の横枠3eとをタッピングねじ4(図3参照)により結合して枠組みし、左右の縦枠3a,3bと上枠3cと中間の横枠3eとの間に1重のガラスパネル3fと耐火ボード3gとを組み込み、左右の縦枠3a,3bと中間の横枠3eと下枠3dの間に2重構造のガラスパネル3hを組み込んで構成される。   The curtain wall 3 according to the present embodiment includes an upper frame 3c, a lower frame 3d, and an intermediate horizontal frame 3e made of extruded material between the left and right vertical frames 3a and 3b made of extruded material. (Refer to FIG. 3), and a single glass panel 3f and a fire-resistant board 3g are incorporated between the left and right vertical frames 3a, 3b, the upper frame 3c, and the intermediate horizontal frame 3e. A double-structured glass panel 3h is incorporated between the frames 3a and 3b, the intermediate horizontal frame 3e, and the lower frame 3d.

図2において、5は躯体を構成する鋼材でなる梁、1は梁5により支持された鉄筋コンクリート製の床材である。2は床材1または梁5等の躯体に不図示のボルト、ナットまたは溶接により固定されたベースプレート、6は縦枠3a,3bとベースプレート2との間に設けられたカーテンウォールの取付け装置である。   In FIG. 2, reference numeral 5 denotes a beam made of steel constituting the frame, and 1 denotes a reinforced concrete floor material supported by the beam 5. Reference numeral 2 denotes a base plate fixed to a casing such as the flooring 1 or the beam 5 by bolts, nuts or welding (not shown), and 6 denotes a curtain wall mounting device provided between the vertical frames 3a and 3b and the base plate 2. .

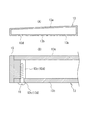
図3は本発明のカーテンウォールの外装材の取付け構造の一実施の形態を示す図1のF−F拡大断面図、図4は図3の要部拡大断面図、図5は図4の一部拡大断面図である。図3に示すように、カーテンウォール3を躯体に取付ける装置6は、ベースプレート2に固定されたファスナー6aと、隣接するカーテンウォールの縦枠3a,3bにそれぞれ取付けられ、ファスナー6aに組み付けるブラケット6bとからなる。   3 is an enlarged cross-sectional view taken along the line FF of FIG. 1 showing an embodiment of the curtain wall exterior material mounting structure of the present invention, FIG. 4 is an enlarged cross-sectional view of the main part of FIG. 3, and FIG. FIG. As shown in FIG. 3, the device 6 for attaching the curtain wall 3 to the housing includes a fastener 6a fixed to the base plate 2, and brackets 6b attached to the vertical frames 3a and 3b of the adjacent curtain wall and assembled to the fastener 6a. Consists of.

図4において、8,9はそれぞれ縦枠3a,3bに組み付けられたガラスパネル3f取付け用の室内側、室外側押縁である。10は室内側押縁8とガラスパネル3fとの間の隙間を封止する湿式シール材、11はこの湿式シール材10の室内側への漏れを防止する内部スペーサ、12は室外側押縁9とガラスパネル3fとの間を封止する乾式シール材である。13は庇、15,16は庇13の両端を縦枠3a,3bに取付けるためのブラケットであり、押出形材でなるものである。   In FIG. 4, 8 and 9 are indoor side and outdoor side pressing edges for attaching the glass panel 3f assembled to the vertical frames 3a and 3b, respectively. Reference numeral 10 denotes a wet sealant that seals the gap between the indoor side pushing edge 8 and the glass panel 3f, 11 denotes an internal spacer that prevents leakage of the wet sealing material 10 to the indoor side, and 12 denotes an outdoor outside pushing edge 9 and glass. It is a dry sealing material that seals between the panel 3f. Reference numeral 13 denotes a flange, and 15 and 16 denote brackets for attaching both ends of the flange 13 to the vertical frames 3a and 3b, which are made of extruded shapes.

図5は図4の部分拡大断面図、図6(A)はブラケット15,16を示す平面図、同(B)はその各正面図、同(C)は図6(B)の部分拡大正面図である。図5に示すように、縦枠3a,3bには、ブラケット15,16をそれぞれ縦枠3a,3bに取付けるための係合溝3i,3jを形成する。また。縦枠3a,3bにおける係合溝3i,3jの近傍には、後述のねじまたはボルトからなるねじ式固定具17,18を螺合するねじ孔3k,3mを設ける。   5 is a partially enlarged cross-sectional view of FIG. 4, FIG. 6A is a plan view showing brackets 15 and 16, FIG. 5B is a front view thereof, and FIG. 5C is a partially enlarged front view of FIG. FIG. As shown in FIG. 5, the vertical frames 3a and 3b are formed with engaging grooves 3i and 3j for attaching the brackets 15 and 16 to the vertical frames 3a and 3b, respectively. Also. In the vicinity of the engagement grooves 3i and 3j in the vertical frames 3a and 3b, screw holes 3k and 3m are provided for screwing screw-type fixtures 17 and 18 made of screws or bolts described later.

ブラケット15,16の構造は、図6(A)、(B)に示すように、その各基部に、係合溝3iに上下位置調整可能に係合させるための係合部15a,16aを形成すると共に、固定具17,18を挿通する貫通孔15b,16bを設ける。また、ブラケット15,16のガラスパネルより室外側に突出した部分の形状は、図7(A)の縦断面図に示す庇13の端面形状に等しく形成する。   As shown in FIGS. 6 (A) and 6 (B), the brackets 15 and 16 are formed with engaging portions 15a and 16a for engaging with the engaging grooves 3i so that the vertical position can be adjusted. In addition, through holes 15b and 16b through which the fixtures 17 and 18 are inserted are provided. Moreover, the shape of the part which protruded to the outdoor side from the glass panel of the brackets 15 and 16 is formed equal to the end surface shape of the flange 13 shown in the longitudinal sectional view of FIG.

また、図6(B)に示すように、ブラケット15,16の一方の板面には、縦溝としてのタッピング溝15c,15dおよび16c,16dを形成する。そして図6(C)に示すように、これらのタッピング溝15c,15dの上下端をΔHに示す長さにわたって切除する。この切除部分の長さΔHは、図7(A)に示す庇13の縦断面図の上板部13aや下板部13bの厚さと等しくする。   Further, as shown in FIG. 6B, tapping grooves 15c and 15d and 16c and 16d as vertical grooves are formed on one plate surface of the brackets 15 and 16, respectively. Then, as shown in FIG. 6C, the upper and lower ends of these tapping grooves 15c and 15d are cut out over a length indicated by ΔH. The length ΔH of the cut portion is equal to the thickness of the upper plate portion 13a and the lower plate portion 13b of the vertical cross-sectional view of the ridge 13 shown in FIG.

図5に示すように、ブラケット15,16は、その基部に設けた結合部15a,16aをそれぞれ縦枠3a,3bの係合溝3i、3jに係合させ、ブラケット15,16に設けた貫通孔15b,16bに固定具17,18を通して縦枠3a,3bに設けたねじ孔3k,3mに螺合することにより、ブラケット15,16を縦枠3a,3bに固定する。   As shown in FIG. 5, the brackets 15 and 16 have coupling portions 15a and 16a provided at the bases thereof engaged with the engaging grooves 3i and 3j of the vertical frames 3a and 3b, respectively, and penetrated through the brackets 15 and 16. The brackets 15 and 16 are fixed to the vertical frames 3a and 3b by screwing into the holes 15b and 16b and screw holes 3k and 3m provided in the vertical frames 3a and 3b through the fixtures 17 and 18, respectively.

図8、図9はブラケット15,16に庇13の両端を取付ける構造を示す斜視図である。図8、図9に示すように、庇13のブラケット15,16への固定は、庇13の下板部13bに設けた貫通孔13c,13dにタッピングねじ19,19または20,20を挿通して図4に示すようにタッピングねじ19,19または20,20をブラケット15,16のタッピング溝15c,15dまたは16c,16dに螺入してブラケット15,16に庇13の両端を固定する。   8 and 9 are perspective views showing a structure for attaching both ends of the flange 13 to the brackets 15 and 16. As shown in FIGS. 8 and 9, the hook 13 is fixed to the brackets 15 and 16 by inserting the tapping screws 19, 19 or 20, 20 into the through holes 13 c and 13 d provided in the lower plate portion 13 b of the hook 13. As shown in FIG. 4, the tapping screws 19, 19, 20, 20 are screwed into the tapping grooves 15 c, 15 d or 16 c, 16 d of the brackets 15, 16 to fix both ends of the flange 13 to the brackets 15, 16.

このように庇13をブラケット15,16に取付ける際、図7(B)にブラケット15について代表して示すように、庇13の端部を、ブラケット15の板面に当てると共に、庇13の上板部13aと下板部13bでタッピング溝15c,15dを挟む。このような状態で庇13の室外側端部をブラケット15の室外側端部に合わせれば、下板部13bに設けた貫通孔13c,13dの中心にタッピング溝15c,15dの中心が合致するように構成しているので、タッピングねじ19による庇13のブラケット15への取付けが容易に行なえる。ブラケット16についても同様である。   When attaching the flange 13 to the brackets 15 and 16 as described above, as shown as a representative of the bracket 15 in FIG. 7B, the end of the flange 13 is brought into contact with the plate surface of the bracket 15 and The tapping grooves 15c and 15d are sandwiched between the plate portion 13a and the lower plate portion 13b. In this state, when the outdoor side end portion of the flange 13 is aligned with the outdoor side end portion of the bracket 15, the centers of the tapping grooves 15c and 15d are aligned with the centers of the through holes 13c and 13d provided in the lower plate portion 13b. Therefore, it is possible to easily attach the flange 13 to the bracket 15 by the tapping screw 19. The same applies to the bracket 16.

このような構成とすれば、本実施の形態で示すように、横枠3eの部分に庇13を取付ける構造に限定されず、図2に2点鎖線13Xで示すように、横枠3eより下の部分に取付けることや、2点鎖線13Yに示すように、横枠3eと上枠3cとの間に庇13を取付けることも可能となる。このため、個々のビルにとって省エネ上好ましい位置、あるいは意匠上優れた位置に庇13を施工することができる。   With such a configuration, as shown in the present embodiment, the structure is not limited to the structure in which the collar 13 is attached to the portion of the horizontal frame 3e, but is lower than the horizontal frame 3e as shown by a two-dot chain line 13X in FIG. It is also possible to attach the flange 13 between the horizontal frame 3e and the upper frame 3c as shown by a two-dot chain line 13Y. For this reason, the eaves 13 can be constructed at a position that is preferable for energy saving or an excellent design for each building.

また、庇13の取付け部位が横枠3c,3d,3eの設置個所に限定されないため、1つのカーテンウォール3の縦枠3a,3bに対して上下に間隔を有して複数の庇13を取付けることが可能となり、省エネ効果を高めたり、意匠性を高めた外観のカーテンウォールを提供することが可能となる。   Moreover, since the attachment site | part of the eaves 13 is not limited to the installation location of the horizontal frames 3c, 3d, and 3e, the some eaves 13 are attached to the vertical frames 3a and 3b of one curtain wall 3 at intervals up and down. Thus, it becomes possible to provide a curtain wall having an external appearance with improved energy saving effect and improved design.

また、従来構造の場合、庇の縦幅は横枠の上下幅の制限を受けるので、サイズの異なる庇の取付けは困難となるが、本発明の構造によれば、ブラケット15,16の縦幅の制限が解消されるため、図10に示すように、前述した庇13,13Xの縦幅H1より広い縦幅H2の庇13Yを、広幅のブラケット16Yを用いて取付けることも可能となり、庇の適用範囲が拡大される。   In the case of the conventional structure, since the vertical width of the eaves is limited by the vertical width of the horizontal frame, it is difficult to attach eaves of different sizes. However, according to the structure of the present invention, the vertical widths of the brackets 15 and 16 As shown in FIG. 10, it is also possible to attach the collar 13Y having a width H2 wider than the aforementioned width H1 of the collars 13 and 13X using the wide bracket 16Y, as shown in FIG. The scope of application is expanded.

なお、上記実施の形態においては、下板部13bに貫通孔13c,13dを設けてタッピングねじ19,20によりブラケット15,16に庇13を固定する構造としたが、上板部13aに貫通孔を設けてその貫通孔を用いて庇13をブラケット15,16に固定する構造としたり、上板部13aと下板部13bの両者に貫通孔を設けてタッピングねじ19,20により固定する構造としてもよい。また、庇13は複数枚のカーテンウォール3にまたがる横幅としてもよい。   In the above embodiment, the through holes 13c and 13d are provided in the lower plate portion 13b and the flanges 13 are fixed to the brackets 15 and 16 by the tapping screws 19 and 20, but the through holes are formed in the upper plate portion 13a. And a structure in which the flange 13 is fixed to the brackets 15 and 16 using the through holes, or a structure in which through holes are provided in both the upper plate portion 13a and the lower plate portion 13b and fixed by the tapping screws 19 and 20. Also good. Further, the ridge 13 may have a lateral width extending over a plurality of curtain walls 3.

以上本発明を実施の形態を庇により説明したが、本発明は庇の代わりにフィンやカバーを施工する場合にも適用可能である。また、本発明を実施する場合、本発明の要旨を逸脱しない範囲において、構成部材やその組み合わせについて、種々の変更、付加が可能である。   Although the present invention has been described with reference to the embodiment of the present invention, the present invention can also be applied to the case where a fin or cover is constructed instead of the flange. Moreover, when implementing this invention, a various change and addition are possible about a structural member and its combination in the range which does not deviate from the summary of this invention.

1:床材、3:カーテンウォール、3a,3b:縦枠、3c:上枠、3d:下枠、3e:横枠、3f,3h:ガラスパネル、3g:耐火ボード、3i,3j:係合溝、3k,3m:ねじ孔、4:タッピングねじ、5:床材、6:カーテンウォールの取付け装置、8,9:押縁、13:庇(外装材)、13i,13j:係合溝、15,16:ブラケット、15a,16a:係合部、15b,16b:貫通孔、15c,15d,16c,16d:タッピング溝、17,18:固定具、19,20:タッピングねじ 1: floor material, 3: curtain wall, 3a, 3b: vertical frame, 3c: upper frame, 3d: lower frame, 3e: horizontal frame, 3f, 3h: glass panel, 3g: fireproof board, 3i, 3j: engagement Groove, 3k, 3m: screw hole, 4: tapping screw, 5: floor material, 6: curtain wall mounting device, 8, 9: pressing edge, 13: collar (exterior material), 13i, 13j: engagement groove, 15 , 16: bracket, 15a, 16a: engaging portion, 15b, 16b: through hole, 15c, 15d, 16c, 16d: tapping groove, 17, 18: fixing tool, 19, 20: tapping screw

Claims (2)

ユニット式カーテンウォールの外壁に庇、フィンまたはカバーとしての外装材を取付ける構造において、
カーテンウォールの縦枠に、外装材取付け用のブラケットを係合させる係合溝を長手方向に形成し、
前記ブラケットの室内側端部に設けた取付け部を、前記縦枠の前記係合溝に取付け高さ調整可能に係合させて固定具によって固定することにより、前記ブラケットの一部を前記外壁から室外側に突出させ、
前記ブラケットにおける前記外壁より外側に突出した部分に前記外装材を取付けたことを特徴とするカーテンウォールの外装材の取付け構造。
In the structure to attach the exterior material as a ridge, fin or cover to the outer wall of the unit type curtain wall,
In the longitudinal frame of the curtain wall, an engagement groove for engaging the bracket for mounting the exterior material is formed in the longitudinal direction,
A mounting portion provided at an end portion on the indoor side of the bracket is engaged with the engagement groove of the vertical frame so that the mounting height can be adjusted, and fixed by a fixture, so that a part of the bracket is detached from the outer wall. Project outside,
A mounting structure for an exterior material of a curtain wall, wherein the exterior material is attached to a portion of the bracket that protrudes outward from the outer wall.
請求項1に記載のカーテンウォールの外装材の取付け構造において、
前記ブラケットは押出形材でなり、前記外壁より突出した部分に縦方向にタッピング溝を有し、
前記タッピング溝の上下端を切欠いて前記ブラケットにおけるタッピング溝形成部の上下の板幅より前記タッピング溝の上下幅を短く形成し、
前記外装材の上板部および下板部の端部で前記タッピング溝を挟むと共に、前記端部を前記ブラケットの板面に当接させ、かつ前記端部を、前記上板部と前記下板部の少なくともいずれか一方に設けた貫通孔を通して前記タッピング溝に螺入するねじにより固定したことを特徴とするカーテンウォールの外装材の取付け構造。
In the curtain wall exterior material mounting structure according to claim 1,
The bracket is made of an extruded shape, and has a tapping groove in a vertical direction in a portion protruding from the outer wall,
The upper and lower widths of the tapping groove are formed shorter than the upper and lower plate widths of the tapping groove forming portion in the bracket by cutting out the upper and lower ends of the tapping groove,
The tapping groove is sandwiched between end portions of the upper and lower plate portions of the exterior material, the end portions are brought into contact with the plate surface of the bracket, and the end portions are connected to the upper plate portion and the lower plate. A curtain wall exterior material mounting structure characterized by being fixed by a screw screwed into the tapping groove through a through hole provided in at least one of the sections.
JP2012272149A 2012-12-13 2012-12-13 Fitting device for exterior material of curtain wall Pending JP2014118680A (en)

Priority Applications (1)

Application Number Priority Date Filing Date Title
JP2012272149A JP2014118680A (en) 2012-12-13 2012-12-13 Fitting device for exterior material of curtain wall

Applications Claiming Priority (1)

Application Number Priority Date Filing Date Title
JP2012272149A JP2014118680A (en) 2012-12-13 2012-12-13 Fitting device for exterior material of curtain wall

Publications (1)

Publication Number Publication Date
JP2014118680A true JP2014118680A (en) 2014-06-30

Family

ID=51173765

Family Applications (1)

Application Number Title Priority Date Filing Date
JP2012272149A Pending JP2014118680A (en) 2012-12-13 2012-12-13 Fitting device for exterior material of curtain wall

Country Status (1)

Country Link
JP (1) JP2014118680A (en)

Cited By (5)

* Cited by examiner, † Cited by third party
Publication number Priority date Publication date Assignee Title
JP2016020327A (en) * 2014-06-17 2016-02-04 株式会社ダイセル Oily cosmetics
CN106149999A (en) * 2016-08-17 2016-11-23 亚萨合莱国强(山东)五金科技有限公司 Building curtain wall shading system rod member support means
CN111997246A (en) * 2020-08-21 2020-11-27 苏州市华丽美登装饰装璜有限公司 Steel round pipe single-column universal multi-dimensional special-shaped curtain wall construction structure and method
TWI745216B (en) * 2021-01-07 2021-11-01 瑋呈工程有限公司 Horizontal and straight material connecting unit of built-in skeleton glass curtain
CN114108896A (en) * 2021-11-18 2022-03-01 安徽锦恒装饰幕墙科技有限公司 Curtain wall structure with heat insulation material

Cited By (8)

* Cited by examiner, † Cited by third party
Publication number Priority date Publication date Assignee Title
JP2016020327A (en) * 2014-06-17 2016-02-04 株式会社ダイセル Oily cosmetics
CN106149999A (en) * 2016-08-17 2016-11-23 亚萨合莱国强(山东)五金科技有限公司 Building curtain wall shading system rod member support means
CN106149999B (en) * 2016-08-17 2018-08-24 亚萨合莱国强(山东)五金科技有限公司 Building curtain wall shading system rod piece support device
CN111997246A (en) * 2020-08-21 2020-11-27 苏州市华丽美登装饰装璜有限公司 Steel round pipe single-column universal multi-dimensional special-shaped curtain wall construction structure and method
CN111997246B (en) * 2020-08-21 2022-02-01 苏州市华丽美登装饰装璜有限公司 Steel round pipe single-column universal multi-dimensional special-shaped curtain wall construction structure and method
TWI745216B (en) * 2021-01-07 2021-11-01 瑋呈工程有限公司 Horizontal and straight material connecting unit of built-in skeleton glass curtain
CN114108896A (en) * 2021-11-18 2022-03-01 安徽锦恒装饰幕墙科技有限公司 Curtain wall structure with heat insulation material
CN114108896B (en) * 2021-11-18 2023-01-24 安徽锦恒装饰幕墙科技有限公司 Curtain wall structure with heat insulation material

Similar Documents

Publication Publication Date Title
US12012751B2 (en) Dynamic, fire-resistance-rated thermally insulating and sealing system for use with curtain wall structures
KR101045648B1 (en) Joining structure of steel curtain wall
US9140007B2 (en) Rain screen framing system
US20130291465A1 (en) Vented wall girts
US20070251181A1 (en) Panel attachment system
JP2014118680A (en) Fitting device for exterior material of curtain wall
JP2016130451A (en) Coping ventilation component
JP6444762B2 (en) Mounting fixtures and mounting structures for building accessories
KR101590093B1 (en) Mounting apparatus for open-joint type finishing panel
JP2009221789A (en) Curtain wall and building
CN210067131U (en) Three-wall and two-empty prefabricated wall system
JP6044988B2 (en) Mounting method of ceiling panel for retrofitting and ceiling structure
CN112814216A (en) Horizontal clamping type wall capable of accommodating pipeline and construction method
JP2001065129A (en) Parapet waterproof structure
JP2016094791A (en) Joint structure between outer wall panels
RU67134U1 (en) DEVICE FOR FASTENING FRONT PLATES
CN212507197U (en) A outer facade structure and decorative board for elevator well
AU2010242547B2 (en) Facade system
KR100557478B1 (en) Arch roof structure and construction method of arch roof using same
JP3921400B2 (en) curtain wall
JP6604773B2 (en) Fixture frame mounting structure of building
JP2016094789A (en) Fireproof panel connection structure
JP7533891B2 (en) How to attach the gasket temporary fixing clip and gasket
JP2020051182A (en) Wall structure of temporary building
JP7655477B2 (en) How to extend a building