JP2014097778A - Caster with brake function - Google Patents

Caster with brake function Download PDF

Info

Publication number
JP2014097778A
JP2014097778A JP2012263559A JP2012263559A JP2014097778A JP 2014097778 A JP2014097778 A JP 2014097778A JP 2012263559 A JP2012263559 A JP 2012263559A JP 2012263559 A JP2012263559 A JP 2012263559A JP 2014097778 A JP2014097778 A JP 2014097778A
Authority
JP
Japan
Prior art keywords
rotation
caster
wheel
shaft
braking
Prior art date
Legal status (The legal status is an assumption and is not a legal conclusion. Google has not performed a legal analysis and makes no representation as to the accuracy of the status listed.)
Pending
Application number
JP2012263559A
Other languages
Japanese (ja)
Inventor
Mitsuo Kanazawa
光雄 金澤
Current Assignee (The listed assignees may be inaccurate. Google has not performed a legal analysis and makes no representation or warranty as to the accuracy of the list.)
Kanazawa Manufacturing Co Ltd
Original Assignee
Kanazawa Manufacturing Co Ltd
Priority date (The priority date is an assumption and is not a legal conclusion. Google has not performed a legal analysis and makes no representation as to the accuracy of the date listed.)
Filing date
Publication date
Application filed by Kanazawa Manufacturing Co Ltd filed Critical Kanazawa Manufacturing Co Ltd
Priority to JP2012263559A priority Critical patent/JP2014097778A/en
Publication of JP2014097778A publication Critical patent/JP2014097778A/en
Pending legal-status Critical Current

Links

Images

Landscapes

  • Braking Arrangements (AREA)

Abstract

PROBLEM TO BE SOLVED: To provide a caster with a brake function whose rolling function is controlled and which is attached to, especially, furniture, office appliances, medical equipment in hospital, medical beds, walkers for rehabilitation and so on, responses weakly to small vibration of earthquake, and can roll with the brake function to large vibration.SOLUTION: A brake member 6 for braking rotation of a wheel 4 supported by a shaft 5 whose both ends are fixed to frames 2 is interposed between the wheel and the shaft. Following to rotation of a dial 3 disposed on a side face of one frame so as to freely rotate, the brake member moves to adjust friction between the wheel and the shaft.

Description

本発明は制動機構付キャスターに関し、特に家具、事務用機器、病院内の医療機器、医療用ベッド、リハビリ用歩行器、等に取付けられたキャスターの転動機能を制御できるものであって、地震の小さな揺れに対しては応答性が弱く、大きな揺れに対して制動機能を発揮しながら転動することのできる制動機能付キャスターに関する。  The present invention relates to a caster with a braking mechanism, and in particular, can control the rolling function of casters attached to furniture, office equipment, hospital medical equipment, medical beds, rehabilitation walker, etc. The present invention relates to a caster with a braking function, which is weak in response to small swings and can roll while exhibiting a braking function against large swings.

制動機構のないキャスターは地震等の小さな揺れに対しても応答性がよく、回転が納まりにくいときがあって、危険を生じることがあった。
このため、キャスターにある程度の制動機能を付与する装置が提案されている。
A caster without a braking mechanism has good responsiveness to a small shake such as an earthquake, and sometimes rotation is difficult to be settled.
For this reason, an apparatus for providing a certain degree of braking function to the casters has been proposed.

特開2009−67110号公報  JP 2009-67110 A

前記せる制動器付きキャスターでは車輪にローラーを押し付けて車輪の回転を制御するものであるので、キャスターの上部や側面に突出する部品を付設しなければならないものであった。  In the caster with a brake to be described above, a roller is pressed against the wheel to control the rotation of the wheel, so that a part protruding from the upper part or the side surface of the caster has to be attached.

このため、部品数も多く操作しづらく、キャスター本体より突出する部分は危険性を生ずることがあった。  For this reason, it is difficult to operate with a large number of parts, and the portion protruding from the caster body may be dangerous.

本発明は前記せる課題を解決するために鋭意研究の結果なされたものであり、地震の大きな揺れに対して制振機能を発揮できる制動機能付キャスターを提供するものである。  The present invention has been made as a result of intensive studies to solve the above-described problems, and provides a caster with a braking function that can exhibit a damping function against a large earthquake shake.

両端をフレームに固定されたシャフトに軸支された車輪の回転を制動するための制動部材が、車輪とシャフトの間に介挿されており、一方のフレームの側面に回動自在に配置されたダイヤルの回転に伴って該制動部材が移動して車輪とシャフトの間の摩擦を調整できるように構成したことを特徴とし、ダイヤルの回転と一体的に回転するプッシュ部材の内側ネジと制動部材の先端外側に設けられたネジとが歯合しており、ダイヤルの回転に伴って制動部材を移動するように構成したことを特徴とし、フレームの両サイドに回転自在のダイヤルが配置されており、該ダイヤルの回転によりネジ切り部と歯合する双方のプッシュ部材がそれぞれ車輪の側面を指圧する摩擦を調整できるように構成したことを特徴とし、プッシュ部材がスプリングワッシャーを介して車輪を押圧して摩擦を調整できるように構成したことを特徴とし、トッププレートとスライダーに挿通される筺体固定軸が、スライダーの先端部に形成されたネジ切り部に螺着されたナットの螺着度によって回転が調整されるように構成したことを特徴とし、且つ、筺体固定軸の下端に円錐体が一体的に形成され、該円錐の接触部のトッププレートとの摩擦力で筺体固定軸の回転が制御されるように構成したことを特徴とする制動機能付キャスターを提供する。  A braking member for braking the rotation of a wheel pivotally supported by a shaft fixed to the frame at both ends is interposed between the wheel and the shaft, and is disposed rotatably on one side of the frame. The brake member moves with the rotation of the dial so that the friction between the wheel and the shaft can be adjusted, and the inner screw of the push member that rotates integrally with the rotation of the dial and the brake member The screw provided on the outside of the tip is meshed, and the brake member is moved with the rotation of the dial, and a rotatable dial is arranged on both sides of the frame. The push member that is engaged with the threaded portion by rotation of the dial is configured to be able to adjust the friction that applies finger pressure to the side surface of the wheel. The structure is such that friction can be adjusted by pressing the wheel through a shear. The rotation is adjusted by the degree of screwing of the nut, and a cone is integrally formed at the lower end of the housing fixing shaft, and the frictional force between the contact portion of the cone and the top plate A caster with a braking function is provided in which the rotation of the housing fixed shaft is controlled.

本発明の制動機能付キャスターによれば、車輪の回転が摩擦力で制動されているので、車輪が小さな振動や揺れに対していつまでも転動することがなく、地震等の大きな揺れに対しては制動機能を発揮しながら車輪が徐徐に回転するキャスターを提供することができるので、いつまでも転動して他の機器に衝突するようなことがない。  According to the caster with a braking function of the present invention, since the rotation of the wheel is braked by the frictional force, the wheel does not roll indefinitely for small vibrations and shakes, and for large shakes such as earthquakes. A caster in which the wheel rotates slowly while exhibiting the braking function can be provided, so that it does not roll and collide with other devices indefinitely.

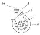
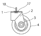
本発明に係る制動機能付キャスターの側面図である。  It is a side view of the caster with a braking function according to the present invention. 図1の第1実施例断面図である。  It is sectional drawing of 1st Example of FIG. 図1の第1実施例断面図である。  It is sectional drawing of 1st Example of FIG. 図2の拡大断面図である。  It is an expanded sectional view of FIG. 図3の拡大断面図である。  It is an expanded sectional view of FIG. 図1の第2実施例断面図である。  It is sectional drawing of 2nd Example of FIG. 図1の第2実施例断面図である。  It is sectional drawing of 2nd Example of FIG. 図1の第3実施例断面図である。  FIG. 4 is a sectional view of the third embodiment of FIG. 1. 図1の第3実施例断面図である。  FIG. 4 is a sectional view of the third embodiment of FIG. 1. 本発明に係る制動機能付キャスターの筺体個体軸の側面図である。  It is a side view of the housing individual shaft of the caster with a braking function according to the present invention. 筺体固定軸の拡大断面図である。  It is an expanded sectional view of a housing fixed shaft. 筺体固定軸の拡大断面図である。  It is an expanded sectional view of a housing fixed shaft. 本発明に係る制動機能付キャスターの筺体固定軸の側面図である。  It is a side view of the housing fixed shaft of the caster with a braking function according to the present invention. 図13の部分拡大断面図である。  It is a partial expanded sectional view of FIG. 本発明に係る制動機能付キャスターの筺体固定軸の側面図である。  It is a side view of the housing fixed shaft of the caster with a braking function according to the present invention. 図15の部分拡大断面図である。  It is a partial expanded sectional view of FIG. 図2乃至図3の制動部材の断面図である。  FIG. 4 is a cross-sectional view of the braking member of FIGS. 2 to 3.

図1乃至図3に示す第1の実施例について以下に説明する。
両端をフレーム2,2に固定されたシャフト5に軸支された車輪4の回転を制動するための制動部材6が、車輪4とシャフト5の間に介挿されており、一方のフレーム2の側面に回動自在に配置されたダイヤル3の回転に伴って該制動部材6が移動して車輪4とシャフト5の間の摩擦を調整することができる。
The first embodiment shown in FIGS. 1 to 3 will be described below.
A braking member 6 for braking the rotation of the wheel 4 supported by the shaft 5 fixed at both ends to the frames 2 and 2 is interposed between the wheel 4 and the shaft 5. The brake member 6 moves in accordance with the rotation of the dial 3 that is rotatably arranged on the side surface, and the friction between the wheel 4 and the shaft 5 can be adjusted.

すなわち、図2に示す状態では車輪4と制動部材6との間に間隙部41があるので、車輪4の回転に対して摩擦力は強く働かないが、図3に示すようにダイヤル3の回動により制動部材6が移動し、間隙部41がなくなり車輪4と制動部材6との間に摩擦が生じる。  That is, in the state shown in FIG. 2, since there is a gap 41 between the wheel 4 and the braking member 6, the frictional force does not act strongly against the rotation of the wheel 4, but as shown in FIG. The braking member 6 is moved by the movement, and the gap 41 disappears and friction is generated between the wheel 4 and the braking member 6.

制動部材6は弾力性のあるプラスチックで形成されており、且つ、図17に示すように縦方向にスリット61が設けられている。  The braking member 6 is made of elastic plastic, and has a slit 61 in the vertical direction as shown in FIG.

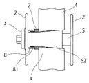
図4乃至図5に示す第2の実施例について以下に説明する。
両端をフレーム2,2に固定されたシャフト5がテーパー部材62に挿通されており、ダイヤル3の回転と一体的に回転するプッシュ部材8の内側ネジとテーパー部材62の先端外側に設けられたネジ切り部81とが歯合しており、ダイヤル3の回転によってテーパー部材62がストパー7に抗して移動し、間隙部41がなくなり車輪4とテーパー部材62との間に摩擦が生じる。
The second embodiment shown in FIGS. 4 to 5 will be described below.
The shaft 5 having both ends fixed to the frames 2 and 2 is inserted into the taper member 62, and the inner screw of the push member 8 that rotates integrally with the rotation of the dial 3 and the screw provided outside the tip of the taper member 62. The taper member 62 moves against the stop 7 by the rotation of the dial 3, and the gap portion 41 disappears and friction is generated between the wheel 4 and the taper member 62.

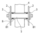
図6乃至図7に示す第3の実施例について以下に説明する。
フレーム2、2の両サイドに回転自在のダイヤル3、3が配置されており、該ダイヤル3、3の回転によりネジ切り部81と歯合する双方のプッシュ部材8、8がそれぞれ車輪4の側面を押圧する摩擦を調整することができる。
A third embodiment shown in FIGS. 6 to 7 will be described below.
The rotatable dials 3 and 3 are arranged on both sides of the frames 2 and 2, and the push members 8 and 8 that mesh with the threaded portion 81 by the rotation of the dials 3 and 3 are respectively side surfaces of the wheel 4. It is possible to adjust the friction for pressing.

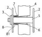
図8乃至図9に示す第4の実施例について以下に説明する。
第4の実施例では、図6乃至図7に示す第3の実施例図面に更にスプリングワッシャー9,9を介在させた構成になっている。
A fourth embodiment shown in FIGS. 8 to 9 will be described below.
In the fourth embodiment, spring washers 9 and 9 are further interposed in the third embodiment drawings shown in FIGS.

すなわち、ダイヤル3、3の回転によりネジ切り部81と歯合する双方のプッシュ部材8、8がそれぞれスプリングワッシャー9を介して車輪4の側面を押圧して摩擦を調整できるように構成さRふえているので、車輪4は弾力的に回転する。  In other words, the two push members 8 and 8 that mesh with the threaded portion 81 by rotating the dials 3 and 3 can adjust the friction by pressing the side surfaces of the wheels 4 via the spring washers 9, respectively. Therefore, the wheel 4 rotates elastically.

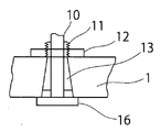
図10乃至図12に示す第5の実施例について以下に説明する。
トッププレート1に挿通されて固定される筺体固定軸10は、筺体固定軸頭部16およびナット12によって固定されている。
The fifth embodiment shown in FIGS. 10 to 12 will be described below.
The housing fixing shaft 10 inserted and fixed in the top plate 1 is fixed by a housing fixing shaft head 16 and a nut 12.

トッププレートと制動部材13に挿通さる筺体固定軸10が、制動部材13の先端部に形成されたネジ切り部11に螺着されたナット12の螺着度によって回転が調整される。  The rotation of the housing fixing shaft 10 inserted through the top plate and the braking member 13 is adjusted by the screwing degree of the nut 12 screwed into the threaded portion 11 formed at the tip of the braking member 13.

ナット12の締め付けを増せば制動部材13とトッププレート1との摩擦力が強くなり筺体固定軸10の回動が制御されるのでキャスター本体が軽く回転することがなくなる。  If the tightening of the nut 12 is increased, the frictional force between the braking member 13 and the top plate 1 is increased and the rotation of the housing fixing shaft 10 is controlled, so that the caster body does not rotate lightly.

図13乃至図14に示す第6の実施例について以下に説明する。
トッププレート1に挿通されて固定される筺体固定軸10は、筺体固定軸頭部16およびナット12によって固定されている。
A sixth embodiment shown in FIGS. 13 to 14 will be described below.
The housing fixing shaft 10 inserted and fixed in the top plate 1 is fixed by a housing fixing shaft head 16 and a nut 12.

ナット12は弾力性ワッシャー15を介して螺合部14に螺合されており、弾力性ワッシャー15の摩擦力で筺体固定軸10の回動が制御される。  The nut 12 is screwed into the screwing portion 14 via the elastic washer 15, and the rotation of the housing fixing shaft 10 is controlled by the frictional force of the elastic washer 15.

図15乃至図16に示す第7の実施例について以下に説明する。
トッププレート1に挿通されて固定される筺体固定軸10は、筺体固定軸頭部16および円錐状部17によって固定されている。
The seventh embodiment shown in FIGS. 15 to 16 will be described below.
The housing fixing shaft 10 inserted and fixed in the top plate 1 is fixed by a housing fixing shaft head 16 and a conical portion 17.

円錐状部17は筺体固定軸10と一体的に形成されており、該円錐状部17とトッププレート1との接触部の摩擦力で筺体固定軸10の回転が制御されるように構成されている。  The conical portion 17 is formed integrally with the housing fixing shaft 10 and is configured such that the rotation of the housing fixing shaft 10 is controlled by the frictional force of the contact portion between the conical portion 17 and the top plate 1. Yes.

しかし、ダイヤル3の操作で車輪4の回転が規制されている場合は、地震の初期微動では車輪4の回転より先に円錐状部17の接触部18が回転動作する。  However, when the rotation of the wheel 4 is restricted by the operation of the dial 3, the contact portion 18 of the conical portion 17 rotates before the rotation of the wheel 4 in the initial fine movement of the earthquake.

1 トッププレート
2 フレーム
3 ダイヤル
4 車輪
41 間隙部
5 シャフト
6 制動部材
61 スリット
62 テーパー部
7 ストッパー
8 プッシュ部材
81 ネジ切り部
9 スプリングワッシャー
10 筺体固定軸
11 ネジ切り部
12 ナット
13 制動部材
14 螺合部
15 ワッシャー
16 筺体固定軸頭部
17 円錐状部
18 接触部
DESCRIPTION OF SYMBOLS 1 Top plate 2 Frame 3 Dial 4 Wheel 41 Gap part 5 Shaft 6 Braking member 61 Slit 62 Tapered part 7 Stopper 8 Push member 81 Threaded part 9 Spring washer 10 Housing fixing shaft 11 Threaded part 12 Nut 13 Braking member 14 Threaded Part 15 Washer 16 Body fixed shaft head part 17 Conical part 18 Contact part

Claims (6)

両端をフレームに固定されたシャフトに軸支された車輪の回転を制動するための制動部材が、車輪とシャフトの間に介挿されており、一方のフレームの側面に回動自在に配置されたダイヤルの回転に伴って該制動部材が移動して車輪とシャフトの間の摩擦を調整できるように構成したことを特徴とする制動機能付キャスター。  A braking member for braking the rotation of a wheel pivotally supported by a shaft fixed to the frame at both ends is interposed between the wheel and the shaft, and is disposed rotatably on one side of the frame. A caster with a braking function, characterized in that the brake member moves with the rotation of the dial to adjust the friction between the wheel and the shaft. ダイヤルの回転と一体的に回転するプッシュ部材の内側ネジと制動部材の先端外側に設けられたネジとが歯合しており、ダイヤルの回転に伴って制動部材を移動するように構成したことを特徴とする請求項1記載の制動機能付キャスター。  The inner screw of the push member that rotates integrally with the rotation of the dial meshes with the screw provided on the outer end of the brake member, and the brake member is moved as the dial rotates. The caster with a braking function according to claim 1. フレームの両サイドに回転自在のダイヤルが配置されており、該ダイヤルの回転によりネジ切り部と歯合する双方のプッシュ部材がそれぞれ車輪の側面を押圧する摩擦を調整できるように構成したことを特徴とする請求項1記載の制動機能付キャスター。  A rotatable dial is arranged on both sides of the frame, and the configuration is such that both of the push members engaged with the threaded portion can adjust the friction of pressing the side surfaces of the wheels by the rotation of the dial. The caster with a braking function according to claim 1. プッシュ部材がスプリングワッシャーを介して車輪を押圧して摩擦を調整できるように構成したことを特徴とする請求項1記載の制動機能付キャスター。  2. The caster with a braking function according to claim 1, wherein the push member is configured to adjust friction by pressing a wheel via a spring washer. トッププレートと制動部材に挿通される筺体固定軸が、制動部材の先端部に形成されたネジ切り部に螺着されたナットの螺着度によって回転が調整されるように構成したことを特徴とする請求項1記載の制動機能付キャスター。  The housing fixed shaft inserted through the top plate and the braking member is configured such that the rotation is adjusted by the screwing degree of the nut screwed into the threaded portion formed at the tip of the braking member. The caster with a braking function according to claim 1. 筺体固定軸の下端に円錐体が一体的に形成され、該円錐の接触部のトッププレートとの摩擦力で筺体固定軸の回転が制御されるように構成したことを特徴とする請求項1記載の制動機能付キャスター。  2. The structure according to claim 1, wherein a cone is integrally formed at a lower end of the casing fixing shaft, and the rotation of the casing fixing shaft is controlled by a frictional force with a top plate of a contact portion of the cone. Caster with braking function.
JP2012263559A 2012-11-13 2012-11-13 Caster with brake function Pending JP2014097778A (en)

Priority Applications (1)

Application Number Priority Date Filing Date Title
JP2012263559A JP2014097778A (en) 2012-11-13 2012-11-13 Caster with brake function

Applications Claiming Priority (1)

Application Number Priority Date Filing Date Title
JP2012263559A JP2014097778A (en) 2012-11-13 2012-11-13 Caster with brake function

Publications (1)

Publication Number Publication Date
JP2014097778A true JP2014097778A (en) 2014-05-29

Family

ID=50940188

Family Applications (1)

Application Number Title Priority Date Filing Date
JP2012263559A Pending JP2014097778A (en) 2012-11-13 2012-11-13 Caster with brake function

Country Status (1)

Country Link
JP (1) JP2014097778A (en)

Cited By (3)

* Cited by examiner, † Cited by third party
Publication number Priority date Publication date Assignee Title
JP2016022862A (en) * 2014-07-22 2016-02-08 オイレス工業株式会社 caster
JP2016120808A (en) * 2014-12-24 2016-07-07 オイレス工業株式会社 caster
CN114407577A (en) * 2021-12-30 2022-04-29 杭州重力脚轮科技有限公司 A vibration damping buffer type universal caster structure

Citations (4)

* Cited by examiner, † Cited by third party
Publication number Priority date Publication date Assignee Title
JPS4816546Y1 (en) * 1969-08-11 1973-05-11
JPS56127002U (en) * 1980-02-27 1981-09-28
JPS57188501U (en) * 1981-05-27 1982-11-30
US5275472A (en) * 1992-06-11 1994-01-04 Hicks Jimmy L Shopping cart wheel with adjustable friction

Patent Citations (4)

* Cited by examiner, † Cited by third party
Publication number Priority date Publication date Assignee Title
JPS4816546Y1 (en) * 1969-08-11 1973-05-11
JPS56127002U (en) * 1980-02-27 1981-09-28
JPS57188501U (en) * 1981-05-27 1982-11-30
US5275472A (en) * 1992-06-11 1994-01-04 Hicks Jimmy L Shopping cart wheel with adjustable friction

Cited By (3)

* Cited by examiner, † Cited by third party
Publication number Priority date Publication date Assignee Title
JP2016022862A (en) * 2014-07-22 2016-02-08 オイレス工業株式会社 caster
JP2016120808A (en) * 2014-12-24 2016-07-07 オイレス工業株式会社 caster
CN114407577A (en) * 2021-12-30 2022-04-29 杭州重力脚轮科技有限公司 A vibration damping buffer type universal caster structure

Similar Documents

Publication Publication Date Title
JP5689949B2 (en) System and method for console braking
JP2014097778A (en) Caster with brake function
US20170087043A1 (en) Walking aid device
ATE530806T1 (en) BALL SCREW UNIT
US20170342734A1 (en) Base isolation supporting device
JP2014111974A (en) Base isolation member
JP3200968U (en) Seismic isolation rail structure
CN103697045A (en) Pretensioning device
JP2009135356A (en) Running torque regulation apparatus of rotary knob for mobile communication apparatus
JP2015000673A (en) Caster
JP2010247720A (en) caster
JP6199632B2 (en) Seismic isolation support device
JP6354133B2 (en) Seismic isolation support device
JP5445893B2 (en) Vibration control device
KR20090069853A (en) Panel support device using electromagnetic braking device
TWI542800B (en) Electromagnetic frictional damping module
JP6325844B2 (en) Displacement suppression device and seismic isolation device
JP5033230B2 (en) Seismic isolation device
CN203035816U (en) Speed-difference brake
JP6595267B2 (en) Seismic isolation rail structure
JP6405229B2 (en) caster
JP2012056420A (en) Braking torque limiting device, and caster including the same
JP2014114916A (en) Aseismic base isolation member
CN205651892U (en) Wheel
JP3212371U (en) Spherical rolling bearing

Legal Events

Date Code Title Description
A621 Written request for application examination

Free format text: JAPANESE INTERMEDIATE CODE: A621

Effective date: 20151104

A621 Written request for application examination

Free format text: JAPANESE INTERMEDIATE CODE: A621

Effective date: 20151104

A977 Report on retrieval

Free format text: JAPANESE INTERMEDIATE CODE: A971007

Effective date: 20160527

A131 Notification of reasons for refusal

Free format text: JAPANESE INTERMEDIATE CODE: A131

Effective date: 20160607

A521 Written amendment

Free format text: JAPANESE INTERMEDIATE CODE: A523

Effective date: 20160712

A521 Written amendment

Free format text: JAPANESE INTERMEDIATE CODE: A523

Effective date: 20161226

A131 Notification of reasons for refusal

Free format text: JAPANESE INTERMEDIATE CODE: A131

Effective date: 20170207

A02 Decision of refusal

Free format text: JAPANESE INTERMEDIATE CODE: A02

Effective date: 20170808