JP2014078897A - Rectangular waveguide - Google Patents

Rectangular waveguide Download PDF

Info

Publication number
JP2014078897A
JP2014078897A JP2012226545A JP2012226545A JP2014078897A JP 2014078897 A JP2014078897 A JP 2014078897A JP 2012226545 A JP2012226545 A JP 2012226545A JP 2012226545 A JP2012226545 A JP 2012226545A JP 2014078897 A JP2014078897 A JP 2014078897A
Authority
JP
Japan
Prior art keywords
peripheral surface
bending
metal pipe
rectangular
outer peripheral
Prior art date
Legal status (The legal status is an assumption and is not a legal conclusion. Google has not performed a legal analysis and makes no representation as to the accuracy of the status listed.)
Pending
Application number
JP2012226545A
Other languages
Japanese (ja)
Inventor
Norihiro Yoneda
典宏 米田
Current Assignee (The listed assignees may be inaccurate. Google has not performed a legal analysis and makes no representation or warranty as to the accuracy of the list.)
Mitsubishi Electric Corp
Original Assignee
Mitsubishi Electric Corp
Priority date (The priority date is an assumption and is not a legal conclusion. Google has not performed a legal analysis and makes no representation as to the accuracy of the date listed.)
Filing date
Publication date
Application filed by Mitsubishi Electric Corp filed Critical Mitsubishi Electric Corp
Priority to JP2012226545A priority Critical patent/JP2014078897A/en
Publication of JP2014078897A publication Critical patent/JP2014078897A/en
Pending legal-status Critical Current

Links

Images

Landscapes

  • Waveguides (AREA)

Abstract

【課題】中空形材の曲げ加工において、電波が矩形導波管内を伝達する効率を損なうことなく、曲げ外周側の割れと曲げ内周側のしわの発生を抑制する。
【解決手段】第1側面、第2側面、第3側面および第4側面を有し、相対向する第1側面と第3側面をそれぞれ外周側と内周側にして湾曲している、断面が矩形状の金属パイプと、金属パイプの一端に固定され、第1の矩形開口部が設けられている第1フランジと、金属パイプの他端に固定され、第2の矩形開口部が設けられている第2フランジとを備えている矩形導波管。第1側面と第3側面の板厚は、第2側面と第4側面の板厚よりも厚いものである。
【選択図】図3
In bending a hollow shape member, cracks on the outer periphery of the bending and wrinkles on the inner periphery of the bending are suppressed without impairing the efficiency with which radio waves are transmitted through the rectangular waveguide.
A cross section having a first side surface, a second side surface, a third side surface, and a fourth side surface, wherein the first side surface and the third side surface facing each other are curved with the outer peripheral side and the inner peripheral side, respectively. A rectangular metal pipe, a first flange fixed to one end of the metal pipe and provided with a first rectangular opening, and fixed to the other end of the metal pipe and provided with a second rectangular opening. A rectangular waveguide comprising a second flange. The plate thickness of the first side surface and the third side surface is thicker than the plate thickness of the second side surface and the fourth side surface.
[Selection] Figure 3

Description

本発明は、矩形導波管に関し、特に、矩形導波管を構成する金属製の中空形材の曲げ加工に関する。   The present invention relates to a rectangular waveguide, and more particularly, to bending of a metal hollow shape constituting the rectangular waveguide.

人工衛星では、通信機器の間で電波を伝達する経路として多くの矩形導波管が用いられている。この矩形導波管は、電波を伝播する矩形の金属パイプ(中空形材)と矩形導波管を接続するためのフランジから構成される。通常、通信機器を接続するのに複数本の矩形導波管を使用する。人工衛星の規格により、数10本から1000本を超える矩形導波管が一台の人工衛星に用いられる。矩形導波管の素材は主に軽量なアルミ合金であるが、矩形導波管の質量が人工衛星の質量の5%以上を占めることがある。矩形導波管の軽量化は人工衛星の軽量化に繋がる。   In an artificial satellite, many rectangular waveguides are used as a path for transmitting radio waves between communication devices. This rectangular waveguide is composed of a rectangular metal pipe (hollow shape member) for propagating radio waves and a flange for connecting the rectangular waveguide. Usually, a plurality of rectangular waveguides are used to connect communication devices. According to the standard of artificial satellites, rectangular waveguides of several tens to over 1,000 are used for one artificial satellite. The material of the rectangular waveguide is mainly a lightweight aluminum alloy, but the mass of the rectangular waveguide may occupy 5% or more of the mass of the artificial satellite. The weight reduction of the rectangular waveguide leads to the weight reduction of the artificial satellite.

矩形導波管に肉厚の薄い中空形材を使用することは人工衛星の軽量化に有効である。通信機器を接続する経路を確保するために、矩形導波管は任意の角度で曲げられている。電波を効率よく伝達するためには矩形導波管の縦横寸法が重要で、縦横寸法の極端に大きな変化を避ける必要がある。曲げ部分では、曲げ外周側の割れと曲げ内周側のしわの発生を抑えることが要求されている。中空形材を曲げる加工方法には、プレス曲げ、押付け曲げ、引曲げ、引張曲げ等の方法が挙げられる。各方法には、曲げ部分における割れやしわの発生を抑えるために、拘束具、型形状等の工夫が施され、より高品質な曲げ加工が提案されている。   Use of a thin hollow material for the rectangular waveguide is effective for reducing the weight of the satellite. The rectangular waveguide is bent at an arbitrary angle in order to secure a path for connecting communication equipment. In order to transmit radio waves efficiently, the vertical and horizontal dimensions of the rectangular waveguide are important, and it is necessary to avoid extremely large changes in the vertical and horizontal dimensions. In the bent portion, it is required to suppress the occurrence of cracks on the outer periphery side of the bend and wrinkles on the inner periphery side of the bend. Examples of the processing method for bending the hollow shape include methods such as press bending, pressing bending, drawing bending, and tensile bending. In each method, in order to suppress the occurrence of cracks and wrinkles in the bent portion, devices such as restraints and mold shapes are applied, and higher-quality bending is proposed.

一方、近年、軽量化、小型化のため、中空形材の薄肉化とともに、曲げ加工において曲げ半径を小さくする傾向が進んでいる。このような傾向により、中空形材の曲げ加工においては、縦横寸法の極端な変化、曲げ外周側の割れ、曲げ内周側のしわの発生といった先述した現象が生じやすくなっている。逆に言えば、薄肉化、曲げ半径の縮小化により、これまでの曲げ加工方法で曲げ加工を行うと、中空形材には割れやしわといった現象が生じる。   On the other hand, in recent years, the trend of reducing the bending radius in bending work is progressing along with the thinning of the hollow shape material in order to reduce the weight and size. Due to such a tendency, the aforementioned phenomena such as extreme changes in vertical and horizontal dimensions, cracking on the outer periphery of the bending, and generation of wrinkles on the inner periphery of the bending are likely to occur in the bending of the hollow shape member. In other words, when bending is performed by the conventional bending method due to thinning and reduction of the bending radius, phenomena such as cracks and wrinkles occur in the hollow shape material.

これらの現象を防止、抑制する方法の提案と開発は急務である。例えば、特許文献1では、縦横寸法の極端に大きな変化を避け、曲げ外周側の割れ、或いは曲げ内周側のしわの発生を抑える方法として、曲げ外側となる部分が曲げ外側に向かって張り出した円弧状の形状を持つような中空形材を提案している。   There is an urgent need to propose and develop methods to prevent and control these phenomena. For example, in Patent Document 1, as a method of avoiding extremely large changes in vertical and horizontal dimensions and suppressing the generation of cracks on the outer periphery of the bend or wrinkles on the inner periphery of the bend, the portion that becomes the outer side of the bend protrudes toward the outer side of the bend We have proposed a hollow shape that has an arc shape.

特開2002−225651号公報Japanese Patent Laid-Open No. 2002-225651

肉厚を薄肉化した中空形材を、背景技術で述べたような曲げ加工方法により、曲げ加工を行うと、曲げ外周側に割れが発生したり、曲げ内周側にしわが生じたりするといった現象が生じる。補強方法として、中空形材の管内に樹脂、砂、氷といった物体を充填したり、金属剛体のマンドレルを挿入したりする方法が考案されている。十分な肉厚を与えられた中空形材では、割れやしわ等が発生し難いのに対し、軽量化のため、薄肉化された材料においては、同じ曲げ半径においても、割れとしわが発生し易い。また、小型化のため、曲げ半径が縮小化されると、肉厚が同じであっても、割れやしわが発生しやすくなる。つ
まり、これまでの曲げ加工の製造方法における加工条件の改善のみでは、良好な曲げ加工を十分に行えない状態になってきている。
Phenomenon that cracks occur on the outer periphery of the bending or wrinkles occur on the inner periphery of the bending when bending the hollow profile with a reduced thickness by the bending method described in the background art Occurs. As a reinforcing method, methods have been devised in which a hollow shaped tube is filled with an object such as resin, sand, or ice, or a metal mandrel is inserted. A hollow profile that has a sufficient thickness is less likely to crack or wrinkle, whereas a material that has been thinned to reduce weight is likely to crack and wrinkle even at the same bending radius. . Further, if the bending radius is reduced for miniaturization, cracks and wrinkles are likely to occur even if the wall thickness is the same. In other words, it has become a state where satisfactory bending cannot be performed sufficiently only by improving the processing conditions in the conventional manufacturing methods for bending.

そこで、曲げ加工を行う材料に前述した課題を解決するための提案がなされている。特許文献1のように、曲げ外側となる部分が曲げ外側に向かって張り出した円弧状の形状を持つような中空形材とすることで、特に曲げ外側の割れを抑制することが可能となる。あるいは、中空形材の内側中空部にリブを設けて補強する手段も提案されている。中空形材が略日形、略目形、略田形の断面形状を有することで、特に縦横寸法の変化を抑制する効果が得られる。   Therefore, proposals have been made to solve the above-described problems for materials to be bent. As in Patent Document 1, it is possible to suppress cracks on the outer side of the bend, particularly by using a hollow shape having an arcuate shape in which a portion on the outer side of the bend protrudes toward the outer side of the bend. Alternatively, a means for reinforcing the inner hollow portion of the hollow shape member by providing a rib has been proposed. Since the hollow shape member has a cross-sectional shape of a substantially daily shape, a substantially square shape, and a substantially square shape, an effect of particularly suppressing changes in the vertical and horizontal dimensions can be obtained.

しかし、これらの技術においては、課題を解決する手段を設けることで、それ以前の形状に比べ、断面積が大きくなり、重量が増加するという新たな課題が生じる。さらに、矩形導波管等の中空形材では、電波を効率よく伝達するために、管内縦横寸法と管内側口形の断面形状を変化させることができない。また、円弧状に張り出しを設けたり、略日形、略目形、略田形等のリブを設けることもできない。   However, in these techniques, by providing means for solving the problems, there arises a new problem that the cross-sectional area becomes larger and the weight increases compared to the previous shape. Furthermore, in a hollow shape material such as a rectangular waveguide, in order to efficiently transmit radio waves, the vertical and horizontal dimensions in the tube and the cross-sectional shape of the tube inner mouth shape cannot be changed. Further, it is not possible to provide an overhang in an arc shape, or to provide ribs such as an approximate day shape, an approximate eye shape, and an approximate field shape.

本発明に係る矩形導波管は、第1側面、第2側面、第3側面および第4側面を有し、相対向する第1側面と第3側面をそれぞれ外周側と内周側にして湾曲している、断面が矩形状の金属パイプと、金属パイプの一端に固定され第1の矩形開口部が設けられている第1フランジと、金属パイプの他端に固定され第2の矩形開口部が設けられている第2フランジとを備えている。第1側面と第3側面の板厚は、第2側面と第4側面の板厚よりも厚いものである。   The rectangular waveguide according to the present invention has a first side surface, a second side surface, a third side surface, and a fourth side surface, and is curved with the first side surface and the third side surface facing each other as the outer peripheral side and the inner peripheral side, respectively. A metal pipe having a rectangular cross section, a first flange fixed to one end of the metal pipe and provided with a first rectangular opening, and a second rectangular opening fixed to the other end of the metal pipe And a second flange provided. The plate thickness of the first side surface and the third side surface is thicker than the plate thickness of the second side surface and the fourth side surface.

この発明によれば、中空形材の曲げ加工において、電波が矩形導波管内を伝達する性能(効率)を損なうことなく、曲げ外周側の割れと曲げ内周側のしわの発生を抑制することができるようになる。   According to the present invention, in bending of a hollow shape member, it is possible to suppress generation of cracks on the outer periphery of the bending and wrinkles on the inner periphery of the bending without impairing the performance (efficiency) of transmitting radio waves in the rectangular waveguide. Will be able to.

実施の形態1に係る矩形導波管を示す概観斜視図である。1 is a schematic perspective view showing a rectangular waveguide according to a first embodiment. 実施の形態1に係る矩形金属パイプを示す概観斜視図である。1 is an overview perspective view showing a rectangular metal pipe according to Embodiment 1. FIG. 実施の形態1に係る矩形金属パイプを示す断面図である。4 is a cross-sectional view showing a rectangular metal pipe according to Embodiment 1. FIG. 実施の形態2に係る矩形金属パイプの形態を示す断面図である。FIG. 6 is a cross-sectional view showing a form of a rectangular metal pipe according to Embodiment 2. 実施の形態2に係る矩形金属パイプの別の形態を示す断面図である。It is sectional drawing which shows another form of the rectangular metal pipe which concerns on Embodiment 2. FIG. 実施の形態3に係る矩形導波管を示す概観斜視図である。FIG. 10 is a schematic perspective view showing a rectangular waveguide according to a third embodiment. 実施の形態3に係る矩形金属パイプを示す断面図である。6 is a cross-sectional view showing a rectangular metal pipe according to Embodiment 3. FIG. 実施の形態4に係る矩形金属パイプの別の形態を示す断面図である。It is sectional drawing which shows another form of the rectangular metal pipe which concerns on Embodiment 4. FIG. 実施の形態4に係る矩形金属パイプの更に別の形態を示す断面図である。It is sectional drawing which shows another form of the rectangular metal pipe which concerns on Embodiment 4. FIG.

以下に本発明にかかる矩形導波管の実施の形態を図面に基づいて詳細に説明する。なお、本発明は以下の既述に限定されるものではなく、本発明の要旨を逸脱しない範囲において適宜変更可能である。   Embodiments of a rectangular waveguide according to the present invention will be described below in detail with reference to the drawings. In addition, this invention is not limited to the following description, In the range which does not deviate from the summary of this invention, it can change suitably.

実施の形態1.
図1は本発明の実施の形態1に係る矩形(方形)導波管を示す概観斜視図である。矩形導波管100は、矩形金属パイプ(中空形材)1、第1フランジ12および第2フランジ13から構成されている。電波は、矩形開口部12aが設けられている第1フランジ12から入射し、矩形開口部13aが設けられている第2フランジ13から出射する。矩形金属パイプ1は、主にアルミニウムあるいはアルミニウム合金を用いて、押出し加工や引き抜き加工により形成されている。アルミニウムあるいはアルミニウム合金には、伸び性能を向上させるため、通常400℃前後で完全焼き鈍し処理を行っている。金属製の矩形金属
パイプ1の肉厚は0.3〜1.0mm程度であり、特に限定するものではない。口径寸法としては、一辺10〜70mmの範囲のものが主である。矩形金属パイプ1は、曲げ加工が施されていて湾曲している。
Embodiment 1 FIG.
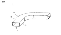
FIG. 1 is a schematic perspective view showing a rectangular (rectangular) waveguide according to Embodiment 1 of the present invention. The rectangular waveguide 100 includes a rectangular metal pipe (hollow shape member) 1, a first flange 12 and a second flange 13. The radio wave enters from the first flange 12 provided with the rectangular opening 12a and exits from the second flange 13 provided with the rectangular opening 13a. The rectangular metal pipe 1 is formed by extrusion or drawing using mainly aluminum or aluminum alloy. Aluminum or aluminum alloy is usually fully annealed at around 400 ° C. in order to improve elongation performance. The thickness of the metal rectangular metal pipe 1 is about 0.3 to 1.0 mm and is not particularly limited. As the aperture size, those having a side of 10 to 70 mm are mainly used. The rectangular metal pipe 1 is bent and curved.

図2は本発明の実施の形態1に係る矩形金属パイプを示す概観斜視図である。矩形金属パイプ1は、外周面2、上面4、内周面3および下面5から構成されていて、曲げ加工を行う前には直管状態にある。曲げ加工を行うさいに外周側となる面を外周面2、内周側となる面を内周面3とし、それぞれに直行し、曲げ加工が施されない面を、上面4および下面5とする。上面4と下面5は、曲げ加工設備内の拘束物により、成形する際に管外側へ膨れることが抑制される。また管内に充填物(砂、鉄球、氷、樹脂等)や芯金となる剛体のマンドレルを挿入することで、全ての側面が管内側へ倒れこむことが抑制される。   FIG. 2 is a schematic perspective view showing a rectangular metal pipe according to Embodiment 1 of the present invention. The rectangular metal pipe 1 includes an outer peripheral surface 2, an upper surface 4, an inner peripheral surface 3, and a lower surface 5, and is in a straight pipe state before bending. When performing the bending process, the outer peripheral surface is the outer peripheral surface 2, the inner peripheral surface is the inner peripheral surface 3, and the surfaces that are orthogonal to each other and are not subjected to the bending process are the upper surface 4 and the lower surface 5. The upper surface 4 and the lower surface 5 are restrained from bulging to the outside of the pipe during molding due to restraints in the bending equipment. Further, by inserting a rigid mandrel as a filler (sand, iron ball, ice, resin, etc.) or a cored bar into the pipe, it is possible to prevent all side surfaces from falling into the pipe.

図3は本発明の実施の形態1に係る矩形金属パイプの断面図である。曲げ加工が施される外周面2と内周面3の肉厚を厚くし、上面4と下面5については、逆に薄肉化している。曲げ加工により、引張り応力がかかる外周面2および圧縮応力が加わる内周面3を厚肉化することにより、外周面2の割れと内周面3のしわの発生が抑制される。一方、曲げ加工により極端に大きな引張り応力、および圧縮応力がかからない上面4および下面5については、薄肉化することにより、重量の増加を抑えて、軽量化するといった目標を達成することができる。矩形に配置された4つの側面がすべて同じ肉厚を持っているとして曲げ加工を行うと、肉厚を薄肉化すればするほど、あるいは、曲げRを縮小化すればするほど、外周面2には割れが、内周面3にはしわが、発生しやすくなる。   FIG. 3 is a cross-sectional view of the rectangular metal pipe according to Embodiment 1 of the present invention. The outer peripheral surface 2 and the inner peripheral surface 3 to be bent are made thicker, and the upper surface 4 and the lower surface 5 are made thinner. By thickening the outer peripheral surface 2 to which tensile stress is applied and the inner peripheral surface 3 to which compressive stress is applied by bending, cracking of the outer peripheral surface 2 and wrinkles of the inner peripheral surface 3 are suppressed. On the other hand, the upper surface 4 and the lower surface 5 that are not subjected to extremely large tensile stress and compressive stress by bending can achieve the goal of reducing the weight and reducing the weight by reducing the thickness. When bending is performed assuming that all four side surfaces arranged in a rectangle have the same wall thickness, the thinner the wall thickness or the smaller the bending radius R, the closer to the outer peripheral surface 2. Cracks tend to occur on the inner peripheral surface 3.

外周側の割れと内周側のしわの発生を抑制する手段として、矩形金属パイプの内部に略日形、略目形、略田形といった補強リブを設ける方法が用いられている。人工衛星用の矩形導波管においては、管内の電波を効率よく伝達するために、矩形金属パイプの内面形状と寸法を変更することは不可である。本発明によれば、矩形金属パイプの内面形状と寸法を変える必要がないため、電波の伝達性能を損なうことなく、曲げ外周面の割れと内周面のしわを抑制することが可能となる。   As a means for suppressing the occurrence of cracks on the outer peripheral side and wrinkles on the inner peripheral side, a method of providing reinforcing ribs such as a substantially daily shape, a substantially square shape, and a substantially square shape inside the rectangular metal pipe is used. In a rectangular waveguide for an artificial satellite, it is impossible to change the inner shape and dimensions of a rectangular metal pipe in order to efficiently transmit radio waves in the tube. According to the present invention, since it is not necessary to change the inner shape and dimensions of the rectangular metal pipe, it is possible to suppress cracking of the bent outer peripheral surface and wrinkles of the inner peripheral surface without impairing the radio wave transmission performance.

実施の形態2.
図4と図5は本発明の実施の形態2に係る矩形金属パイプの断面図である。良好な曲げ加工を行うには、外周面2と内周面3の肉厚は必ずしも同じである必要はない。図4は、外周面2の肉厚が内周面3の肉厚よりも厚いことを示している。図5は、外周面2の肉厚が内周面3の肉厚よりも薄いことを示している。口径寸法によっては、曲げ外周面の割れ、内周面のしわのどちらか一方が顕著に発生する場合がある。断面積が大きくならない範囲において、外周面、内周面、上面、下面の肉厚は、曲げ加工に係わる諸条件により、適宜選択すれば良い。
Embodiment 2. FIG.
4 and 5 are sectional views of a rectangular metal pipe according to Embodiment 2 of the present invention. In order to perform good bending, the outer peripheral surface 2 and the inner peripheral surface 3 do not necessarily have the same thickness. FIG. 4 shows that the thickness of the outer peripheral surface 2 is larger than the thickness of the inner peripheral surface 3. FIG. 5 shows that the thickness of the outer peripheral surface 2 is thinner than the thickness of the inner peripheral surface 3. Depending on the bore size, either the bending outer peripheral surface crack or the inner peripheral surface wrinkle may occur remarkably. In the range where the cross-sectional area does not increase, the thickness of the outer peripheral surface, the inner peripheral surface, the upper surface, and the lower surface may be appropriately selected according to various conditions related to bending.

実施の形態3.
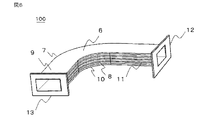
図6は本発明の実施の形態3に係る矩形導波管を示す概観斜視図である。実施の形態3では矩形金属パイプ6の外周面7と内周面8の管外側にリブ11を設けている。リブ11は矩形金属パイプ6の長手方向に伸びている。矩形金属パイプ6は、素材に主としてアルミニウムあるいはアルミニウム合金が用いられる。材料の伸び性能が優れているため、通常400℃前後で完全焼き鈍し処理が行われる。肉厚は0.3〜1.0mm程度であり、特に限定するものではないが、口径寸法としては、一辺10〜70mmの範囲のものが主である。実施の形態1と2と同様に、曲げ加工が行われる側面のうち、外周側となる面を外周面7、内周側となる面を内周面8とし、それぞれに直行し、曲げ加工が施されない面を、上面9および下面10とする。
Embodiment 3 FIG.
FIG. 6 is a schematic perspective view showing a rectangular waveguide according to Embodiment 3 of the present invention. In the third embodiment, ribs 11 are provided on the outside of the outer peripheral surface 7 and inner peripheral surface 8 of the rectangular metal pipe 6. The rib 11 extends in the longitudinal direction of the rectangular metal pipe 6. The rectangular metal pipe 6 is mainly made of aluminum or an aluminum alloy. Because of the excellent elongation performance of the material, complete annealing is usually performed at around 400 ° C. The wall thickness is about 0.3 to 1.0 mm and is not particularly limited, but the diameter is mainly in the range of 10 to 70 mm on a side. As in the first and second embodiments, out of the side surfaces to be bent, the outer peripheral surface is the outer peripheral surface 7 and the inner peripheral surface is the inner peripheral surface 8. The surfaces that are not provided are the upper surface 9 and the lower surface 10.

図7に本発明の実施の形態3における曲げ加工用の矩形金属パイプの断面図を示す。矩形金属パイプは、主に押出し加工、引き抜き加工により成形される。実施の形態1において、述べたように、曲げ加工を行う際には、曲げ加工設備内の拘束物により、上面9と下面10が管外側へ膨れることを抑制する。管内側に砂、鉄球、氷、樹脂等の充填物や芯金となる剛体のマンドレルを挿入することで、全ての側面が管内側へ倒れこむことを抑制する。外周面と内周面については、4枚の側面がすべて同じ肉厚を持つとして曲げ加工を行うと、肉厚が薄肉化されればされるほど、あるいは、曲げRが縮小化されればされるほど、外周面7には割れが発生し、内周面8にはしわが発生する。   FIG. 7 shows a sectional view of a rectangular metal pipe for bending according to Embodiment 3 of the present invention. The rectangular metal pipe is mainly formed by extrusion and drawing. In the first embodiment, as described above, when bending is performed, the upper surface 9 and the lower surface 10 are prevented from expanding to the outside of the pipe due to the restraint in the bending processing facility. By inserting a solid mandrel as a filler, such as sand, iron ball, ice, or resin, into the inside of the tube, all sides are prevented from falling into the inside of the tube. As for the outer peripheral surface and the inner peripheral surface, if bending is performed assuming that all four side surfaces have the same thickness, the thinner the wall thickness is, or the smaller the bending R is. As the amount increases, cracks occur on the outer peripheral surface 7 and wrinkles occur on the inner peripheral surface 8.

実施の形態1においては、曲げ加工が施される外周面2と内周面3の肉厚を厚くし、上面4および下面5については、逆に薄肉化したのに対し、実施の形態3では、外周面7と内周面8の管外側にリブ11を設けている。このリブ11により、外周面7おおび内周面8の断面剛性を大きくすることができ、外周面の割れと内周面のしわを抑制することができる。実施の形態1と同様に、上面9と下面10については、全体の総断面積が増加しない程度に薄肉化されているため、重量は増加せず、軽量化の目的も達成することが可能である。実施の形態1と2と同様に、矩形金属パイプの内面形状と寸法を変える必要がないため、電波の伝達性能を損なうことなく、曲げ外周面の割れと内周面のしわを抑制することが可能となり、良好な曲げ加工を行うことができる。   In the first embodiment, the outer peripheral surface 2 and the inner peripheral surface 3 to be bent are made thicker, and the upper surface 4 and the lower surface 5 are thinned on the contrary, while in the third embodiment, The ribs 11 are provided on the outer sides of the outer peripheral surface 7 and the inner peripheral surface 8. By this rib 11, the cross-sectional rigidity of the outer peripheral surface 7 and the inner peripheral surface 8 can be increased, and cracks on the outer peripheral surface and wrinkles on the inner peripheral surface can be suppressed. Similar to the first embodiment, the upper surface 9 and the lower surface 10 are thinned to such an extent that the total cross-sectional area does not increase, so that the weight does not increase and the purpose of reducing the weight can be achieved. is there. Similar to the first and second embodiments, it is not necessary to change the inner shape and dimensions of the rectangular metal pipe, so that it is possible to suppress bending outer peripheral surface cracks and inner peripheral surface wrinkles without impairing radio wave transmission performance. It becomes possible, and a favorable bending process can be performed.

実施の形態4.
図8と図9は本発明の実施の形態4に係る矩形金属パイプの断面図である。良好な曲げ加工を行うには、リブは外周面7と内周面8の両側に設ける必要はない。図8は、外周面7にリブ11を設け、内周面8にはリブを設けていないことを示している。図9は、外周面7にリブを設けていないが、内周面8にはリブ11を設けていることを示している。口径寸法によっては、曲げ外周面の割れ、内周面のしわのどちらか一方が顕著に発生する場合がある。断面積が大きくならない範囲において、外周面、内周面に設けるリブはどちらか一方のみでもよく、リブのサイズも曲げ加工に係わる諸条件により、適宜選択すれば良い。
Embodiment 4 FIG.
8 and 9 are sectional views of a rectangular metal pipe according to Embodiment 4 of the present invention. In order to perform a favorable bending process, it is not necessary to provide ribs on both sides of the outer peripheral surface 7 and the inner peripheral surface 8. FIG. 8 shows that the rib 11 is provided on the outer peripheral surface 7 and no rib is provided on the inner peripheral surface 8. FIG. 9 shows that the outer peripheral surface 7 is not provided with ribs, but the inner peripheral surface 8 is provided with ribs 11. Depending on the bore size, either the bending outer peripheral surface crack or the inner peripheral surface wrinkle may occur remarkably. As long as the cross-sectional area does not increase, only one of the ribs provided on the outer peripheral surface or the inner peripheral surface may be provided, and the size of the rib may be appropriately selected according to various conditions related to bending.

なお、本発明は、その発明の範囲内において、実施の形態を自由に組み合わせたり、各実施の形態を適宜、変形、省略することが可能である。   It should be noted that the present invention can be freely combined with each other within the scope of the invention, and each embodiment can be appropriately modified or omitted.

この発明に関わる矩形金属パイプは、人工衛星用の矩形導波管のほかに、自動車用フレームをおよびその他の構造部材として使用される。   The rectangular metal pipe according to the present invention is used as an automobile frame and other structural members in addition to a rectangular waveguide for an artificial satellite.

1 矩形金属パイプ、2 外周面、3 内周面、4 上面、5 下面、6 矩形金属パイプ、7 外周面、8 内周面、9 上面、10 下面、11 リブ 、12 第1フランジ、13 第2フランジ、100 矩形導波管   1 rectangular metal pipe, 2 outer peripheral surface, 3 inner peripheral surface, 4 upper surface, 5 lower surface, 6 rectangular metal pipe, 7 outer peripheral surface, 8 inner peripheral surface, 9 upper surface, 10 lower surface, 11 rib, 12 first flange, 13 first 2 flange, 100 rectangular waveguide

Claims (4)

第1側面、第2側面、第3側面および第4側面を有し、相対向する前記第1側面と前記第3側面をそれぞれ外周側と内周側にして湾曲している、断面が矩形状の金属パイプと、前記金属パイプの一端に固定され、第1の矩形開口部が設けられている第1フランジと、
前記金属パイプの他端に固定され、第2の矩形開口部が設けられている第2フランジとを備え、
前記第1側面と前記第3側面の板厚は、前記第2側面と前記第4側面の板厚よりも厚いことを特徴とする矩形導波管。
It has a first side surface, a second side surface, a third side surface, and a fourth side surface, and is curved with the first side surface and the third side surface facing each other facing the outer peripheral side and the inner peripheral side, respectively, and the cross section is rectangular A metal pipe, and a first flange fixed to one end of the metal pipe and provided with a first rectangular opening,
A second flange fixed to the other end of the metal pipe and provided with a second rectangular opening;
The rectangular waveguide characterized in that the plate thickness of the first side surface and the third side surface is thicker than the plate thickness of the second side surface and the fourth side surface.
前記第1側面の板厚は、前記第3側面の板厚よりも厚いことを特徴とする請求項1に記載の矩形導波管。   The rectangular waveguide according to claim 1, wherein the plate thickness of the first side surface is thicker than the plate thickness of the third side surface. 前記第1側面の板厚は、前記第3側面の板厚よりも薄いことを特徴とする請求項1に記載の矩形導波管。   The rectangular waveguide according to claim 1, wherein the plate thickness of the first side surface is thinner than the plate thickness of the third side surface. 前記第1側面または前記第3側面の管外側に、前記金属パイプの長手方向に伸びるリブが形成されていることを特徴とする請求項1ないし3のいずれか1項に記載の矩形導波管。   The rectangular waveguide according to any one of claims 1 to 3, wherein a rib extending in a longitudinal direction of the metal pipe is formed outside the tube on the first side surface or the third side surface. .
JP2012226545A 2012-10-12 2012-10-12 Rectangular waveguide Pending JP2014078897A (en)

Priority Applications (1)

Application Number Priority Date Filing Date Title
JP2012226545A JP2014078897A (en) 2012-10-12 2012-10-12 Rectangular waveguide

Applications Claiming Priority (1)

Application Number Priority Date Filing Date Title
JP2012226545A JP2014078897A (en) 2012-10-12 2012-10-12 Rectangular waveguide

Publications (1)

Publication Number Publication Date
JP2014078897A true JP2014078897A (en) 2014-05-01

Family

ID=50783861

Family Applications (1)

Application Number Title Priority Date Filing Date
JP2012226545A Pending JP2014078897A (en) 2012-10-12 2012-10-12 Rectangular waveguide

Country Status (1)

Country Link
JP (1) JP2014078897A (en)

Citations (3)

* Cited by examiner, † Cited by third party
Publication number Priority date Publication date Assignee Title
JPS6137604U (en) * 1984-08-10 1986-03-08 日本電信電話株式会社 hollow square waveguide
JPH0521506U (en) * 1991-08-30 1993-03-19 八木アンテナ株式会社 Waveguide structure
JP2003301230A (en) * 2002-02-05 2003-10-24 Furukawa Electric Co Ltd:The Aluminum alloy tube with excellent multi-stage formability

Patent Citations (3)

* Cited by examiner, † Cited by third party
Publication number Priority date Publication date Assignee Title
JPS6137604U (en) * 1984-08-10 1986-03-08 日本電信電話株式会社 hollow square waveguide
JPH0521506U (en) * 1991-08-30 1993-03-19 八木アンテナ株式会社 Waveguide structure
JP2003301230A (en) * 2002-02-05 2003-10-24 Furukawa Electric Co Ltd:The Aluminum alloy tube with excellent multi-stage formability

Similar Documents

Publication Publication Date Title
TWI464022B (en) Forming a metal member excellent in shape freezing property of the method
CN106740610B (en) Bumper
JP6515352B2 (en) Joint and manufacturing method of joint
KR101970423B1 (en) Press-formed article, method of manufacturing the press-formed article, and manufacturing facility column
JPWO2013191256A1 (en) Manufacturing method and manufacturing apparatus of press-molded body
JP6330930B1 (en) Press forming method
JPWO2015053036A1 (en) Method for producing press-molded body and press-molding apparatus
JP5009363B2 (en) Hydroform processing method
JP5157556B2 (en) Box pillar manufacturing method and box pillar
JP4930620B2 (en) Impact energy absorbing structure
WO2016133156A1 (en) Metal pipe having thickened end portion, and method of manufacturing same
EP3970873A1 (en) Press-forming method
US20170165735A1 (en) Press forming method and method of manufacturing press formed product
KR101118738B1 (en) Flange processing method of pipe connecter
JP2011251324A (en) Method for bending square pipe
JP2014078897A (en) Rectangular waveguide
WO2014142205A1 (en) Roll-formed rectangular steel tube
JP5290097B2 (en) Brace type damping damper
JP2012025311A (en) Roof panel structure for vehicle
JP6397614B2 (en) Shock absorbing member
US8740008B2 (en) Pressure vessel
JP5306614B2 (en) Fiber optic cable
WO2018025666A1 (en) Member machining method and member joining method
JP3130849U (en) Hollow aluminum frame
JP2004106025A (en) Hydroforming material pipe, method and apparatus for forming hydroforming material pipe

Legal Events

Date Code Title Description
A621 Written request for application examination

Free format text: JAPANESE INTERMEDIATE CODE: A621

Effective date: 20141128

A977 Report on retrieval

Free format text: JAPANESE INTERMEDIATE CODE: A971007

Effective date: 20150812

A131 Notification of reasons for refusal

Free format text: JAPANESE INTERMEDIATE CODE: A131

Effective date: 20150908

A02 Decision of refusal

Free format text: JAPANESE INTERMEDIATE CODE: A02

Effective date: 20160119