JP2014065443A - トルクロッドブラケットの構造 - Google Patents
トルクロッドブラケットの構造 Download PDFInfo
- Publication number
- JP2014065443A JP2014065443A JP2012213319A JP2012213319A JP2014065443A JP 2014065443 A JP2014065443 A JP 2014065443A JP 2012213319 A JP2012213319 A JP 2012213319A JP 2012213319 A JP2012213319 A JP 2012213319A JP 2014065443 A JP2014065443 A JP 2014065443A
- Authority
- JP
- Japan
- Prior art keywords
- power unit
- torque rod
- unit side
- vehicle body
- rod bracket
- Prior art date
- Legal status (The legal status is an assumption and is not a legal conclusion. Google has not performed a legal analysis and makes no representation as to the accuracy of the status listed.)
- Pending
Links
Images
Landscapes
- Arrangement Or Mounting Of Propulsion Units For Vehicles (AREA)
- Body Structure For Vehicles (AREA)
Abstract
【課題】トルクロッドブラケットの構造において、トルクロッドヘの被水や飛石を防止し、トルクロッドの耐久性を高め、また、トルクロッドブラケットの剛性を高め、車両の振動騒音性能を向上することにある。
【解決手段】トルクロッドブラケット28は、パワーユニット4の下部に固定ボルト33、33によって固定される固定板と、この固定板の左右両側端から下方へ延びてトルクロッド11のパワーユニット側防振ブッシュ13を両側から挟み込んでパワーユニット側防振ブッシュ13のパワーユニット側内筒部に連結する一対の側板とからなる。トルクロッドブラケット28の固定ボルト33、33とパワーユニット側防振ブッシュ13との間には、固定板と一対の側板とを連結する補強板40を配置している。
【選択図】図5
【解決手段】トルクロッドブラケット28は、パワーユニット4の下部に固定ボルト33、33によって固定される固定板と、この固定板の左右両側端から下方へ延びてトルクロッド11のパワーユニット側防振ブッシュ13を両側から挟み込んでパワーユニット側防振ブッシュ13のパワーユニット側内筒部に連結する一対の側板とからなる。トルクロッドブラケット28の固定ボルト33、33とパワーユニット側防振ブッシュ13との間には、固定板と一対の側板とを連結する補強板40を配置している。
【選択図】図5
Description
この発明は、トルクロッドブラケットの構造に係り、特にトルクロッドの防振ブッシュを保護するトルクロッドブラケットの構造に関する。
車両にあっては、パワーユニットの下部とこのパワーユニットよりも後方の車体との間を連結するトルクロッドを設けた構造のものがある。
トルクロッドは、一端側に車体側内筒部と車体側外筒部との間を車体側弾性部材で連結された車体側防振ブッシュと、他端側にパワーユニット側内筒部とパワーユニット側外筒部との間をパワーユニット側弾性部材で連結されたパワーユニット側防振ブッシュとを備えている。
トルクロッドの両端の車体側防振ブッシュとパワーユニット側防振ブッシュとの間は、棹部で連結されている。
また、トルクロッドとパワーユニットとの間には、トルクロッドのパワーユニット側防振ブッシュが連結されるとともにパワーユニットに固定されるトルクロッドブラケットを設けている。
このようなトルクロッドブラケットの構造としては、以下の先行技術文献がある。
トルクロッドは、一端側に車体側内筒部と車体側外筒部との間を車体側弾性部材で連結された車体側防振ブッシュと、他端側にパワーユニット側内筒部とパワーユニット側外筒部との間をパワーユニット側弾性部材で連結されたパワーユニット側防振ブッシュとを備えている。
トルクロッドの両端の車体側防振ブッシュとパワーユニット側防振ブッシュとの間は、棹部で連結されている。
また、トルクロッドとパワーユニットとの間には、トルクロッドのパワーユニット側防振ブッシュが連結されるとともにパワーユニットに固定されるトルクロッドブラケットを設けている。
このようなトルクロッドブラケットの構造としては、以下の先行技術文献がある。
特許文献1に係る防振装置は、車体とパワーユニットを構成するエンジンとの間に介在される構造であって、出力軸を車両左右方向に向けたパワートレインの下部にトルクロッドを配置したものである。
ところが、上記の特許文献1では、トルクロッドがパワーユニットの下部に配置されるため、車両走行中に飛石や落下物がトルクロッドと接触して、トルクロッドが破損する不具合があった。
また、近年の車両は、軽量化のためにトルクロッドに樹脂材を使用しており、このため、水や、融雪材を樹脂材のトルクロッドが吸収してしまい、トルクロッドの耐久性が低下する不具合があった。
更に、トルクロッドの端部をパワーユニットの下部に連結するトルクロッドブラケットが逆U字形状の断面であり、且つトルクロッドブラケットをパワーユニットに固定する固定ボルトが、小玉部(トルクロッドの小径側の防振ブッシュ:パワーユニット側防振ブッシュ)よりも前方に配置されるブラケット形状の場合、トルクロッドブラケットの車両左右方向の固定値が低くなり、振動騒音(NV)性能が悪くなる傾向がある。
また、近年の車両は、軽量化のためにトルクロッドに樹脂材を使用しており、このため、水や、融雪材を樹脂材のトルクロッドが吸収してしまい、トルクロッドの耐久性が低下する不具合があった。
更に、トルクロッドの端部をパワーユニットの下部に連結するトルクロッドブラケットが逆U字形状の断面であり、且つトルクロッドブラケットをパワーユニットに固定する固定ボルトが、小玉部(トルクロッドの小径側の防振ブッシュ:パワーユニット側防振ブッシュ)よりも前方に配置されるブラケット形状の場合、トルクロッドブラケットの車両左右方向の固定値が低くなり、振動騒音(NV)性能が悪くなる傾向がある。
そこで、この発明の目的は、トルクロッドヘの被水や飛石を防止し、トルクロッドの耐久性を高め、また、トルクロッドブラケットの剛性を高め、車両の振動騒音性能を向上することができるトルクロッドブラケットの構造を提供することにある。
この発明は、パワーユニットの下部とこのパワーユニットよりも後方の車体との間を連結するトルクロッドを設け、前記トルクロッドは、一端側に車体側内筒部と車体側外筒部との間を車体側弾性部材で連結された車体側防振ブッシュと、他端側にパワーユニット側内筒部とパワーユニット側外筒部との間をパワーユニット側弾性部材で連結されたパワーユニット側防振ブッシュとを備え、前記トルクロッドの両端の前記車体側防振ブッシュと前記パワーユニット側防振ブッシュとの間を棹部で連結し、前記トルクロッドの前記パワーユニット側防振ブッシュが連結されるとともに前記パワーユニットに固定されるトルクロッドブラケットを設けたトルクロッドブラケットの構造において、前記トルクロッドブラケットは、前記パワーユニットの下部に固定ボルトによって固定される固定板と、の固定板の左右両側端から下方へ延びて前記トルクロッドの前記パワーユニット側防振ブッシュを両側から挟み込んで前記パワーユニット側防振ブッシュの前記パワーユニット側内筒部に連結する一対の側板とからなり、前記トルクロッドブラケットを前記パワーユニットの下部に固定する前記固定ボルトと前記パワーユニット側防振ブッシュとの間には、前記固定板と前記一対の側板とを連結する補強板を配置したことを特徴とする。
この発明は、トルクロッドヘの被水や飛石を防止し、トルクロッドの耐久性を高め、また、トルクロッドブラケットの剛性を高め、車両の振動騒音性能を向上することができる。
この発明は、トルクロッドヘの被水や飛石を防止し、トルクロッドの耐久性を高め、また、トルクロッドブラケットの剛性を高め、車両の振動騒音性能を向上する目的を、トルクロッドのパワーユニット側防振ブッシュの前方に補強板を配置して実現するものである。
図1〜図13は、この発明の実施例を示すものである。
図1〜図3に示すように、車両1には、車体2を構成するサスペンションフレーム3で、このサスペンションフレーム3よりも車両前後方向Xの前方に配置するパワーユニット4が支持されている。
サスペンションフレーム3は、図12に示すように、断面が水平方向で直線状の下側フレーム部5と、この下側フレーム部5上に取り付けられた上側フレーム部6とによって構成されている。この上側フレーム部6には、下側フレーム部5の上方に突出してフレーム空間7を形成するハット形状の突出部8を備えている。
パワーユニット4は、エンジン(4気筒)9とこのエンジン9に連結した変速機10とから構成され、長手方向が車両左右方向Yに向き且つ後方のサスペンションフレーム3と略平行に配置されている。
図1〜図3に示すように、車両1には、車体2を構成するサスペンションフレーム3で、このサスペンションフレーム3よりも車両前後方向Xの前方に配置するパワーユニット4が支持されている。
サスペンションフレーム3は、図12に示すように、断面が水平方向で直線状の下側フレーム部5と、この下側フレーム部5上に取り付けられた上側フレーム部6とによって構成されている。この上側フレーム部6には、下側フレーム部5の上方に突出してフレーム空間7を形成するハット形状の突出部8を備えている。
パワーユニット4は、エンジン(4気筒)9とこのエンジン9に連結した変速機10とから構成され、長手方向が車両左右方向Yに向き且つ後方のサスペンションフレーム3と略平行に配置されている。
パワーユニット4の下部とこのパワーユニット4よりも後方の車体2を構成するサスペンションフレーム3との間は、トルクロッド11で連結されている。
このトルクロッド11は、図6、図7に示すように、両端に防振ブッシュを備えるものであって、一端側に車体側防振ブッシュ12を備えるとともに、他端側にパワーユニット側防振ブッシュ13を備える。
車体側防振ブッシュ12は、図6に示すように、大径(大玉)側防振ブッシュであって、車体側内筒部14と車体側外筒部15との間を車体側弾性部材16で連結して構成され、図1、図2、図12に示すように、サスペンションフレーム3の上側フレーム部6の突出部8の側部に形成した防振ブッシュ用挿入口17からフレーム空間7内へ挿入され、第1取付具18としての第1固定ボルト19と第1固定ナット20とによってサスペンションフレーム3に連結されている。
パワーユニット側防振ブッシュ13は、図7に示すように、小径(小玉)側防振ブッシュであって、パワーユニット側内筒部21とパワーユニット側外筒部22との間をパワーユニット側弾性部材23で連結して構成されている。
トルクロッド11において、両端の防振ブッシュである車体側防振ブッシュ12とパワーユニット側防振ブッシュ13との間は、棹部24で連結されている。
トルクロッド11の一端側の車体側防振ブッシュ12をサスペンションフレーム3に連結するために、図12に示すように、棹部24の一端部にボルト挿通孔25を形成するとともに、このボルト挿通孔25に対応させてサスペンションフレーム3の下側フレーム部5に下側ボルト孔26及び上側フレーム6の突出部8の頂部に上側ボルト孔27を形成する。なお、第1固定ナット20は、下側フレーム部5の下面に固着されている。
このトルクロッド11は、図6、図7に示すように、両端に防振ブッシュを備えるものであって、一端側に車体側防振ブッシュ12を備えるとともに、他端側にパワーユニット側防振ブッシュ13を備える。
車体側防振ブッシュ12は、図6に示すように、大径(大玉)側防振ブッシュであって、車体側内筒部14と車体側外筒部15との間を車体側弾性部材16で連結して構成され、図1、図2、図12に示すように、サスペンションフレーム3の上側フレーム部6の突出部8の側部に形成した防振ブッシュ用挿入口17からフレーム空間7内へ挿入され、第1取付具18としての第1固定ボルト19と第1固定ナット20とによってサスペンションフレーム3に連結されている。
パワーユニット側防振ブッシュ13は、図7に示すように、小径(小玉)側防振ブッシュであって、パワーユニット側内筒部21とパワーユニット側外筒部22との間をパワーユニット側弾性部材23で連結して構成されている。
トルクロッド11において、両端の防振ブッシュである車体側防振ブッシュ12とパワーユニット側防振ブッシュ13との間は、棹部24で連結されている。
トルクロッド11の一端側の車体側防振ブッシュ12をサスペンションフレーム3に連結するために、図12に示すように、棹部24の一端部にボルト挿通孔25を形成するとともに、このボルト挿通孔25に対応させてサスペンションフレーム3の下側フレーム部5に下側ボルト孔26及び上側フレーム6の突出部8の頂部に上側ボルト孔27を形成する。なお、第1固定ナット20は、下側フレーム部5の下面に固着されている。
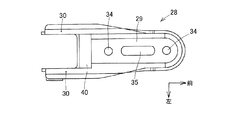
トルクロッド11のパワーユニット側防振ブッシュ13には、トルクロッドブラケット28が連結される。また、このトルクロッドブラケット28は、パワーユニット4に固定される。
図8〜図10に示すように、トルクロッドブラケット28は、固定板29と、一対の側板30・30とからなる。
固定板29は、パワーユニット4の下部のボルト穴31・31に第2取付具32としての一対の第2固定ボルト33・33を螺着することにより、パワーユニット4の下部に固定される。このため、固定板29には、第2固定ボルト33・33を挿通するための固定用孔34・34が離間して形成されている。また、固定板29には、固定用孔34・34間で肉抜き孔35が形成されている。
一対の側板30・30は、固定板29の左右両側端から下方へ延びてトルクロッド11のパワーユニット側防振ブッシュ13を両側から挟み込んでパワーユニット側防振ブッシュ13のパワーユニット側内筒部21に連結される。このため、図13に示すように、棹部24の他端部には、連結ボルト36を挿通する連結用挿通孔37が形成されている。また、一対の側板30・30には、図8に示すように、連結用挿通孔37に対応した連結ボルト用孔38・38が形成されている。連結ボルト36は、先端部位が一対の側板30・30の一方に固着された連結用ナット39が螺着される。
図4、図7に示すように、トルクロッドブラケット28をパワーユニット4の下部に固定する第2固定ボルト33・33とパワーユニット側防振ブッシュ13との間には、固定板29と一対の側板30・30とを連結する補強板40が配置される。この補強板40は、図11に示すように、固定板29と一対の側板30・30とに溶接によって固着されている。このように、補強板40を固定板29と一対の側板30・30とに溶接することにより、トルクロッドブラケット28が車両左右方向Yの変形モードに対して突っ張り形状となり、トルクロッドブラケット28の固有値を上げ、振動騒音(NV)性能を向上できる。
図8〜図10に示すように、トルクロッドブラケット28は、固定板29と、一対の側板30・30とからなる。
固定板29は、パワーユニット4の下部のボルト穴31・31に第2取付具32としての一対の第2固定ボルト33・33を螺着することにより、パワーユニット4の下部に固定される。このため、固定板29には、第2固定ボルト33・33を挿通するための固定用孔34・34が離間して形成されている。また、固定板29には、固定用孔34・34間で肉抜き孔35が形成されている。
一対の側板30・30は、固定板29の左右両側端から下方へ延びてトルクロッド11のパワーユニット側防振ブッシュ13を両側から挟み込んでパワーユニット側防振ブッシュ13のパワーユニット側内筒部21に連結される。このため、図13に示すように、棹部24の他端部には、連結ボルト36を挿通する連結用挿通孔37が形成されている。また、一対の側板30・30には、図8に示すように、連結用挿通孔37に対応した連結ボルト用孔38・38が形成されている。連結ボルト36は、先端部位が一対の側板30・30の一方に固着された連結用ナット39が螺着される。
図4、図7に示すように、トルクロッドブラケット28をパワーユニット4の下部に固定する第2固定ボルト33・33とパワーユニット側防振ブッシュ13との間には、固定板29と一対の側板30・30とを連結する補強板40が配置される。この補強板40は、図11に示すように、固定板29と一対の側板30・30とに溶接によって固着されている。このように、補強板40を固定板29と一対の側板30・30とに溶接することにより、トルクロッドブラケット28が車両左右方向Yの変形モードに対して突っ張り形状となり、トルクロッドブラケット28の固有値を上げ、振動騒音(NV)性能を向上できる。
上記の構造により、トルクロッド11のパワーユニット側防振ブッシュ13の前方に補強板40を配置することができ、車両走行中の被水、飛石からパワーユニット側防振ブッシュ13を保護することができる。
また、補強板40で固定板29と一対の側板30・30とを連結することで、トルクロッド11のパワーユニット側防振ブッシュ13を挟み込んでいる一対の側板30・30の変形を防止し、トルクロッドブラケット28全体の剛性を高めることができる。
また、補強板40で固定板29と一対の側板30・30とを連結することで、トルクロッド11のパワーユニット側防振ブッシュ13を挟み込んでいる一対の側板30・30の変形を防止し、トルクロッドブラケット28全体の剛性を高めることができる。
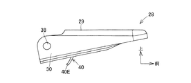
図4に示すように、補強板40は、車両上下方向Zの下側の下端部40Eは、車両上下方向Zにおいて、トルクロッド11のパワーユニット側防振ブッシュ13の最下端部13Eよりも距離Hで下方に突出している。
このような構造により、補強板40をトルクロッド11のパワーユニット側防振ブッシュ13よりも下方向に延ばすことで、被水、飛石からパワーユニット側防振ブッシュ13を保護する範囲を広げ、より保護効果を高めることができる。
このような構造により、補強板40をトルクロッド11のパワーユニット側防振ブッシュ13よりも下方向に延ばすことで、被水、飛石からパワーユニット側防振ブッシュ13を保護する範囲を広げ、より保護効果を高めることができる。
補強板40は、図4、図7に示すように、下端部40Eがトルクロッド11のパワーユニット側防振ブッシュ13に近づくように、所定の曲率半径Rで湾曲した形状に形成されている。
このような構造において、補強板40を湾曲した形状にすることで、被水がスムースに後方に流れやすくなり、パワーユニット側防振ブッシュ13ヘの被水を防止することができる。
また、補強板40を湾曲した形状にすることで、障害物の衝突などに衝撃を受け流しやすくなり、車両1への振動伝播を軽減することができる。
更に、補強板40を湾曲した形状にすることで直線状(平板)よりも補強板40の断面積が増え、側板の補強をより強固にすることができる。
このような構造において、補強板40を湾曲した形状にすることで、被水がスムースに後方に流れやすくなり、パワーユニット側防振ブッシュ13ヘの被水を防止することができる。
また、補強板40を湾曲した形状にすることで、障害物の衝突などに衝撃を受け流しやすくなり、車両1への振動伝播を軽減することができる。
更に、補強板40を湾曲した形状にすることで直線状(平板)よりも補強板40の断面積が増え、側板の補強をより強固にすることができる。
この発明に係るトルクロッドブラケットの構造を、各種車両に適用可能である。
1 車両
2 車体
3 サスペンションフレーム
4 パワーユニット
9 エンジン
10 変速機
11 トルクロッド
12 車体側防振ブッシュ
13 パワーユニット側防振ブッシュ
14 車体側内筒部
15 車体側外筒部
16 車体側弾性部材
17 防振ブッシュ用挿入口
19 第1固定ボルト
20 第1固定ナット
21 パワーユニット側内筒部
22 パワーユニット側外筒部
23 パワーユニット側弾性部材
24 棹部
28 トルクロッドブラケット
29 固定板
30・30 一対の側板
33・33 第2固定ボルト
40 補強板
2 車体
3 サスペンションフレーム
4 パワーユニット
9 エンジン
10 変速機
11 トルクロッド
12 車体側防振ブッシュ
13 パワーユニット側防振ブッシュ
14 車体側内筒部
15 車体側外筒部
16 車体側弾性部材
17 防振ブッシュ用挿入口
19 第1固定ボルト
20 第1固定ナット
21 パワーユニット側内筒部
22 パワーユニット側外筒部
23 パワーユニット側弾性部材
24 棹部
28 トルクロッドブラケット
29 固定板
30・30 一対の側板
33・33 第2固定ボルト
40 補強板
Claims (3)
- パワーユニットの下部とこのパワーユニットよりも後方の車体との間を連結するトルクロッドを設け、前記トルクロッドは、一端側に車体側内筒部と車体側外筒部との間を車体側弾性部材で連結された車体側防振ブッシュと、他端側にパワーユニット側内筒部とパワーユニット側外筒部との間をパワーユニット側弾性部材で連結されたパワーユニット側防振ブッシュとを備え、前記トルクロッドの両端の前記車体側防振ブッシュと前記パワーユニット側防振ブッシュとの間を棹部で連結し、前記トルクロッドの前記パワーユニット側防振ブッシュが連結されるとともに前記パワーユニットに固定されるトルクロッドブラケットを設けたトルクロッドブラケットの構造において、前記トルクロッドブラケットは、前記パワーユニットの下部に固定ボルトによって固定される固定板と、この固定板の左右両側端から下方へ延びて前記トルクロッドの前記パワーユニット側防振ブッシュを両側から挟み込んで前記パワーユニット側防振ブッシュの前記パワーユニット側内筒部に連結する一対の側板とからなり、前記トルクロッドブラケットを前記パワーユニットの下部に固定する前記固定ボルトと前記パワーユニット側防振ブッシュとの間には、前記固定板と前記一対の側板とを連結する補強板を配置したことを特徴とするトルクロッドブラケットの構造。
- 前記補強板は、車両上下方向の下側の下端部が車両上下方向において前記トルクロッドの前記パワーユニット側防振ブッシュの最下端部よりも下方に突出していることを特徴とする請求項1に記載のトルクロッドブラケットの構造。
- 前記補強板は、下端部が前記トルクロッドの前記パワーユニット側防振ブッシュに近づくように、湾曲した形状に形成されたことを特徴とする請求項1又は請求項2に記載のトルクロッドブラケットの構造。
Priority Applications (2)
| Application Number | Priority Date | Filing Date | Title |
|---|---|---|---|
| JP2012213319A JP2014065443A (ja) | 2012-09-27 | 2012-09-27 | トルクロッドブラケットの構造 |
| CN201320587815.5U CN203543624U (zh) | 2012-09-27 | 2013-09-23 | 扭矩杆托架的结构 |
Applications Claiming Priority (1)
| Application Number | Priority Date | Filing Date | Title |
|---|---|---|---|
| JP2012213319A JP2014065443A (ja) | 2012-09-27 | 2012-09-27 | トルクロッドブラケットの構造 |
Publications (1)
| Publication Number | Publication Date |
|---|---|
| JP2014065443A true JP2014065443A (ja) | 2014-04-17 |
Family
ID=50461787
Family Applications (1)
| Application Number | Title | Priority Date | Filing Date |
|---|---|---|---|
| JP2012213319A Pending JP2014065443A (ja) | 2012-09-27 | 2012-09-27 | トルクロッドブラケットの構造 |
Country Status (2)
| Country | Link |
|---|---|
| JP (1) | JP2014065443A (ja) |
| CN (1) | CN203543624U (ja) |
Families Citing this family (4)
| Publication number | Priority date | Publication date | Assignee | Title |
|---|---|---|---|---|
| JP2017024531A (ja) * | 2015-07-21 | 2017-02-02 | スズキ株式会社 | トルクロッドの取付け構造 |
| US11104386B2 (en) * | 2017-05-31 | 2021-08-31 | Honda Motor Co., Ltd. | Torque rod mounting structure |
| CN107963131B (zh) * | 2017-12-26 | 2024-03-29 | 重庆小康工业集团股份有限公司 | 轻量型汽车后扭力杆悬置托架 |
| CN115366652A (zh) * | 2021-05-20 | 2022-11-22 | 本田技研工业株式会社 | 扭矩杆 |
-
2012
- 2012-09-27 JP JP2012213319A patent/JP2014065443A/ja active Pending
-
2013
- 2013-09-23 CN CN201320587815.5U patent/CN203543624U/zh not_active Expired - Fee Related
Also Published As
| Publication number | Publication date |
|---|---|
| CN203543624U (zh) | 2014-04-16 |
Similar Documents
| Publication | Publication Date | Title |
|---|---|---|
| CN108349539B (zh) | 前副车架结构 | |
| JP6288044B2 (ja) | フロントサブフレーム構造 | |
| EP2749478B1 (en) | Structure for front section of vehicle body | |
| KR101448788B1 (ko) | 엔진룸 인캡슐레이션 보강유닛 | |
| JP6304503B2 (ja) | 車両の側部車体構造 | |
| JP5949043B2 (ja) | フロントサブフレーム構造 | |
| CN110920752B (zh) | 悬架副车架结构 | |
| CN217778747U (zh) | 前副车架及车辆 | |
| JP2013203241A (ja) | フロントサブフレーム構造 | |
| JP2014065443A (ja) | トルクロッドブラケットの構造 | |
| JP5622045B2 (ja) | パワートレインの支持装置 | |
| JP7063210B2 (ja) | サスペンションサブフレーム構造 | |
| KR100911406B1 (ko) | 차량의 프론트 서스펜션용 서브 프레임 | |
| JP2012051431A (ja) | パワートレインの支持装置 | |
| KR20100058165A (ko) | 차량의 전방 차체 구조 | |
| KR100643961B1 (ko) | 차량의 쇽업소버 장착브라켓의 보강구조 | |
| CN203996427U (zh) | 蝶形副车架 | |
| CN202966433U (zh) | 汽车前纵梁加强结构 | |
| KR100992815B1 (ko) | 차량용 트레일링 암 마운팅 유닛 | |
| KR20110136524A (ko) | 차량의 프론트 서스펜션용 서브 프레임 | |
| KR20120019958A (ko) | 차량의 서스펜션용 서브 프레임 | |
| CN102963425A (zh) | 一种用于汽车前纵梁的加强结构 | |
| KR101189353B1 (ko) | 리어 서스펜션 암 장착부 구조 | |
| KR100868606B1 (ko) | 맥퍼슨 스트럿형 현가장치용 서브 프레임 및 이를 포함하는차량 | |
| KR101261951B1 (ko) | 차량용 프레임 보강유닛 |