JP2014051912A - Pump control device - Google Patents

Pump control device Download PDF

Info

Publication number
JP2014051912A
JP2014051912A JP2012196257A JP2012196257A JP2014051912A JP 2014051912 A JP2014051912 A JP 2014051912A JP 2012196257 A JP2012196257 A JP 2012196257A JP 2012196257 A JP2012196257 A JP 2012196257A JP 2014051912 A JP2014051912 A JP 2014051912A
Authority
JP
Japan
Prior art keywords
fuel
discharge amount
plunger
pressure
discharge
Prior art date
Legal status (The legal status is an assumption and is not a legal conclusion. Google has not performed a legal analysis and makes no representation as to the accuracy of the status listed.)
Granted
Application number
JP2012196257A
Other languages
Japanese (ja)
Other versions
JP5799919B2 (en
Inventor
Kazumasa Watanabe
一雅 渡邉
Current Assignee (The listed assignees may be inaccurate. Google has not performed a legal analysis and makes no representation or warranty as to the accuracy of the list.)
Denso Corp
Original Assignee
Denso Corp
Priority date (The priority date is an assumption and is not a legal conclusion. Google has not performed a legal analysis and makes no representation as to the accuracy of the date listed.)
Filing date
Publication date
Application filed by Denso Corp filed Critical Denso Corp
Priority to JP2012196257A priority Critical patent/JP5799919B2/en
Priority to DE102013109419.8A priority patent/DE102013109419B4/en
Publication of JP2014051912A publication Critical patent/JP2014051912A/en
Application granted granted Critical
Publication of JP5799919B2 publication Critical patent/JP5799919B2/en
Active legal-status Critical Current
Anticipated expiration legal-status Critical

Links

Images

Classifications

    • FMECHANICAL ENGINEERING; LIGHTING; HEATING; WEAPONS; BLASTING
    • F02COMBUSTION ENGINES; HOT-GAS OR COMBUSTION-PRODUCT ENGINE PLANTS
    • F02DCONTROLLING COMBUSTION ENGINES
    • F02D41/00Electrical control of supply of combustible mixture or its constituents
    • F02D41/30Controlling fuel injection
    • F02D41/38Controlling fuel injection of the high pressure type
    • F02D41/3809Common rail control systems
    • F02D41/3836Controlling the fuel pressure
    • F02D41/3845Controlling the fuel pressure by controlling the flow into the common rail, e.g. the amount of fuel pumped
    • FMECHANICAL ENGINEERING; LIGHTING; HEATING; WEAPONS; BLASTING
    • F02COMBUSTION ENGINES; HOT-GAS OR COMBUSTION-PRODUCT ENGINE PLANTS
    • F02DCONTROLLING COMBUSTION ENGINES
    • F02D41/00Electrical control of supply of combustible mixture or its constituents
    • F02D41/22Safety or indicating devices for abnormal conditions
    • F02D41/221Safety or indicating devices for abnormal conditions relating to the failure of actuators or electrically driven elements
    • FMECHANICAL ENGINEERING; LIGHTING; HEATING; WEAPONS; BLASTING
    • F02COMBUSTION ENGINES; HOT-GAS OR COMBUSTION-PRODUCT ENGINE PLANTS
    • F02MSUPPLYING COMBUSTION ENGINES IN GENERAL WITH COMBUSTIBLE MIXTURES OR CONSTITUENTS THEREOF
    • F02M59/00Pumps specially adapted for fuel-injection and not provided for in groups F02M39/00 -F02M57/00, e.g. rotary cylinder-block type of pumps
    • F02M59/20Varying fuel delivery in quantity or timing
    • F02M59/36Varying fuel delivery in quantity or timing by variably-timed valves controlling fuel passages to pumping elements or overflow passages
    • F02M59/366Valves being actuated electrically
    • F02M59/368Pump inlet valves being closed when actuated
    • FMECHANICAL ENGINEERING; LIGHTING; HEATING; WEAPONS; BLASTING
    • F02COMBUSTION ENGINES; HOT-GAS OR COMBUSTION-PRODUCT ENGINE PLANTS
    • F02MSUPPLYING COMBUSTION ENGINES IN GENERAL WITH COMBUSTIBLE MIXTURES OR CONSTITUENTS THEREOF
    • F02M63/00Other fuel-injection apparatus having pertinent characteristics not provided for in groups F02M39/00 - F02M57/00 or F02M67/00; Details, component parts, or accessories of fuel-injection apparatus, not provided for in, or of interest apart from, the apparatus of groups F02M39/00 - F02M61/00 or F02M67/00; Combination of fuel pump with other devices, e.g. lubricating oil pump
    • F02M63/02Fuel-injection apparatus having several injectors fed by a common pumping element, or having several pumping elements feeding a common injector; Fuel-injection apparatus having provisions for cutting-out pumps, pumping elements, or injectors; Fuel-injection apparatus having provisions for variably interconnecting pumping elements and injectors alternatively
    • F02M63/0225Fuel-injection apparatus having a common rail feeding several injectors ; Means for varying pressure in common rails; Pumps feeding common rails
    • FMECHANICAL ENGINEERING; LIGHTING; HEATING; WEAPONS; BLASTING
    • F02COMBUSTION ENGINES; HOT-GAS OR COMBUSTION-PRODUCT ENGINE PLANTS
    • F02DCONTROLLING COMBUSTION ENGINES
    • F02D41/00Electrical control of supply of combustible mixture or its constituents
    • F02D41/22Safety or indicating devices for abnormal conditions
    • F02D2041/224Diagnosis of the fuel system
    • FMECHANICAL ENGINEERING; LIGHTING; HEATING; WEAPONS; BLASTING
    • F02COMBUSTION ENGINES; HOT-GAS OR COMBUSTION-PRODUCT ENGINE PLANTS
    • F02DCONTROLLING COMBUSTION ENGINES
    • F02D2200/00Input parameters for engine control
    • F02D2200/02Input parameters for engine control the parameters being related to the engine
    • F02D2200/06Fuel or fuel supply system parameters
    • F02D2200/0602Fuel pressure

Landscapes

  • Engineering & Computer Science (AREA)
  • Chemical & Material Sciences (AREA)
  • Combustion & Propulsion (AREA)
  • Mechanical Engineering (AREA)
  • General Engineering & Computer Science (AREA)
  • Fuel-Injection Apparatus (AREA)
  • Electrical Control Of Air Or Fuel Supplied To Internal-Combustion Engine (AREA)

Abstract

PROBLEM TO BE SOLVED: To provide a pump control device in which it shows a high responsibility of actual fuel pressure in respect to a desired fuel pressure even in a case that a discharging of fuel from a certain plunger is stopped and an over-shoot of a fuel pressure is prevented.SOLUTION: A pump control device takes a rail pressure (S400), calculates en engine rpm (S402), calculates an injection amount from a fuel injection valve on the basis of the engine rpm and an accelerator opening (S404), and calculates a desired rail pressure (S406). The pump control device calculates an injection pressure feeding ratio except a plunger not discharging fuel (S410) in a case that there is a plunger not discharging fuel while an electric conduction for a rate valve of a fuel supplying pump is stopped (S408:Yes), multiplies the injection pressure feeding ratio in respect to a discharging amount (S414) required for the fuel supply pump calculated under a feed forward control and a feed back control to calculate a command discharge amount in respect to the plunger for discharging the fuel (416).

Description

本発明は、複数のプランジャのそれぞれに設置された調量弁を制御して燃料供給ポンプの吐出量を調量するポンプ制御装置に関する。   The present invention relates to a pump control device that controls a metering valve installed in each of a plurality of plungers to meter a discharge amount of a fuel supply pump.

電磁駆動式の調量弁を制御して燃料供給ポンプの吐出量を調量することが知られている(例えば、特許文献1参照。)。特許文献1には、多気筒エンジンにおいて燃料を噴射する気筒を減少させる減筒運転を行う場合、調量弁を制御して燃料供給ポンプの吐出量を減量する技術が開示されている。   It is known to control the electromagnetically driven metering valve to meter the discharge amount of the fuel supply pump (see, for example, Patent Document 1). Patent Document 1 discloses a technique for reducing the discharge amount of a fuel supply pump by controlling a metering valve when performing a reduced-cylinder operation that reduces the number of cylinders that inject fuel in a multi-cylinder engine.

燃料供給ポンプにおいても、例えば複数のプランジャのそれぞれに設置された調量弁の一部に異常が検出されると、異常な調量弁への通電制御を停止し対応するプランジャからの燃料吐出を停止する制御が行われることがある。燃料吐出を停止するプランジャが存在すると、要求吐出量に対して燃料供給ポンプの吐出量が不足する。この場合、従来の吐出量制御では、フィードバック制御により燃料供給ポンプの吐出量の不足を補おうとしている。   Also in the fuel supply pump, for example, when an abnormality is detected in a part of the metering valves installed in each of the plurality of plungers, the energization control to the abnormal metering valves is stopped and the fuel is discharged from the corresponding plungers. Control to stop may be performed. If there is a plunger for stopping fuel discharge, the discharge amount of the fuel supply pump is insufficient with respect to the required discharge amount. In this case, in the conventional discharge amount control, the shortage of the discharge amount of the fuel supply pump is compensated by feedback control.

特開2000−110612号公報JP 2000-110612 A

しかしながら、燃料吐出を停止するプランジャが存在する状態でフィードバック制御による吐出量制御を行っても要求吐出量に対して実際の吐出量(以下、「実吐出量」とも言う。)が不足するので、目標燃料圧力に対する実際の燃料圧力(以下、「実燃料圧力」とも言う。)の応答性が低いという問題がある。また、要求噴射量に対して実吐出量が不足するためにフィードバック積分項が過度に大きくなり、目標燃料圧力に対して燃料圧力がオーバーシュートするおそれがある。   However, even if the discharge amount control by feedback control is performed in a state where there is a plunger for stopping fuel discharge, the actual discharge amount (hereinafter also referred to as “actual discharge amount”) is insufficient with respect to the required discharge amount. There is a problem that the responsiveness of the actual fuel pressure (hereinafter also referred to as “actual fuel pressure”) with respect to the target fuel pressure is low. Further, since the actual discharge amount is insufficient with respect to the required injection amount, the feedback integral term becomes excessively large, and the fuel pressure may overshoot the target fuel pressure.

本発明は上記課題を解決するためになされたものであり、一部のプランジャからの燃料吐出が停止する場合にも、目標燃料圧力に対する実燃料圧力の応答性が高く、燃料圧力のオーバーシュートを防止するポンプ制御装置を提供することを目的とする。   The present invention has been made to solve the above-described problem. Even when fuel discharge from some of the plungers stops, the response of the actual fuel pressure to the target fuel pressure is high, and the overshoot of the fuel pressure is prevented. An object of the present invention is to provide a pump control device for preventing the above.

本発明のポンプ制御装置によると、燃料噴射弁の噴射回数と燃料供給ポンプの圧送回数との比である噴射圧送比を算出し、燃料吐出が停止しているプランジャが存在する場合、圧送回数の対象から燃料吐出が停止するプランジャを除く。尚、燃料供給ポンプの圧送回数はプランジャからの燃料吐出回数を表わしている。   According to the pump control device of the present invention, the injection pumping ratio, which is the ratio of the number of injections of the fuel injection valve and the number of pumping of the fuel supply pump, is calculated. Excludes the plunger from which fuel discharge stops. Note that the number of pumping times of the fuel supply pump represents the number of fuel discharges from the plunger.

そして、噴射圧送比に基づいて、調量弁が作動して燃料を吐出するプランジャに燃料供給ポンプの吐出量を分配する。
これにより、調量弁の作動が停止して燃料を吐出しないプランジャからの吐出量を、調量弁が作動して燃料を吐出するプランジャに分配できるので、燃料を吐出しないプランジャが存在しても吐出量の不足を解消できる。その結果、目標燃料圧力に対する実燃料圧力の応答性が向上する。さらに、フィードバック積分項が過度に大きくなることを防止できるので、目標燃料圧力に対して燃料圧力がオーバーシュートすることを防止できる。
Then, based on the injection pumping ratio, the metering valve operates to distribute the discharge amount of the fuel supply pump to the plunger that discharges the fuel.
As a result, the amount of discharge from the plunger that stops the operation of the metering valve and does not discharge fuel can be distributed to the plunger that operates the metering valve and discharges fuel. The shortage of discharge amount can be solved. As a result, the response of the actual fuel pressure to the target fuel pressure is improved. Furthermore, since the feedback integral term can be prevented from becoming excessively large, it is possible to prevent the fuel pressure from overshooting the target fuel pressure.

尚、本発明に備わる複数の手段の各機能は、構成自体で機能が特定されるハードウェア資源、プログラムにより機能が特定されるハードウェア資源、またはそれらの組合せにより実現される。また、これら複数の手段の各機能は、各々が物理的に互いに独立したハードウェア資源で実現されるものに限定されない。   The functions of the plurality of means provided in the present invention are realized by hardware resources whose functions are specified by the configuration itself, hardware resources whose functions are specified by a program, or a combination thereof. The functions of the plurality of means are not limited to those realized by hardware resources that are physically independent of each other.

本実施形態による燃料噴射システムを示すブロック図。The block diagram which shows the fuel-injection system by this embodiment. 通常時と一部停止時との噴射と吐出との関係を示すタイムチャート。The time chart which shows the relationship between the injection at normal time and the time of a partial stop, and discharge. 通常時と一部停止時との噴射と吐出との関係を示す他のタイムチャート。The other time chart which shows the relationship between the injection at normal time and the time of a partial stop, and discharge. (A)は本実施形態と比較例とのレール圧力の変化を示すタイムチャート、(B)はF/B積分項の変化を示すタイムチャート。(A) is a time chart which shows the change of the rail pressure of this embodiment and a comparative example, (B) is a time chart which shows the change of F / B integral term. 吐出量制御処理を示すフローチャート。The flowchart which shows discharge amount control processing.

以下、本発明の実施の形態を図に基づいて説明する。
(燃料噴射システム)
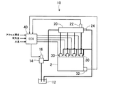
図1に示す燃料噴射システム10は、例えば、自動車用の4気筒のディーゼルエンジン(以下、単に「エンジン」ともいう。)2に燃料を噴射するためのものである。燃料噴射システム10は、燃料供給ポンプ14と、コモンレール20と、燃料噴射弁30と、電子制御装置(Electronic Control Unit:ECU)40とを備えている。
Hereinafter, embodiments of the present invention will be described with reference to the drawings.
(Fuel injection system)
A fuel injection system 10 shown in FIG. 1 is for injecting fuel into, for example, a four-cylinder diesel engine (hereinafter also simply referred to as “engine”) 2 for an automobile. The fuel injection system 10 includes a fuel supply pump 14, a common rail 20, a fuel injection valve 30, and an electronic control unit (ECU) 40.

燃料供給ポンプ14は、燃料タンク12から燃料を汲み上げるフィードポンプを内蔵している。燃料供給ポンプ14には複数のプランジャが設けられており、カムシャフトのカムの回転に伴いプランジャが往復移動することにより、フィードポンプから加圧室に吸入した燃料を加圧して圧送する公知のポンプである。本実施形態の燃料供給ポンプ14は、2個のプランジャを備えている。   The fuel supply pump 14 incorporates a feed pump that pumps fuel from the fuel tank 12. The fuel supply pump 14 is provided with a plurality of plungers, and a known pump that pressurizes and feeds fuel sucked from the feed pump into the pressurizing chamber by reciprocating the plunger as the camshaft cam rotates. It is. The fuel supply pump 14 of the present embodiment includes two plungers.

調量アクチュエータとしての調量弁16は、通電されることにより閉弁する電磁弁であり、プランジャ毎に1個、合計2個設置されている。燃料供給ポンプ14の圧送行程において調量弁16の閉弁タイミングを調整することにより、各プランジャからの吐出量が調量される。調量弁16への通電を停止すると調量弁16は閉弁しないので、対応するプランジャから燃料は吐出されない。   The metering valve 16 serving as a metering actuator is a solenoid valve that closes when energized, and one metering valve is installed for each plunger. By adjusting the valve closing timing of the metering valve 16 in the pressure feed stroke of the fuel supply pump 14, the amount of discharge from each plunger is metered. When energization to the metering valve 16 is stopped, the metering valve 16 does not close, so that fuel is not discharged from the corresponding plunger.

コモンレール20は、燃料供給ポンプ14から圧送される燃料を蓄圧する蓄圧室を形成する中空の部材である。コモンレール20には、内部の燃料圧力(レール圧力)を検出する圧力センサ22、および、コモンレール20から燃料を排出してレール圧力を減圧するための減圧弁24が設けられている。   The common rail 20 is a hollow member that forms a pressure accumulating chamber that accumulates fuel pumped from the fuel supply pump 14. The common rail 20 is provided with a pressure sensor 22 that detects internal fuel pressure (rail pressure), and a pressure reducing valve 24 that discharges fuel from the common rail 20 to reduce the rail pressure.

エンジン2には、運転状態を検出するセンサとして、エンジン2の所定の回転角度毎に回転角信号を発生する回転角センサ32が設置されている。ECU40は、回転角センサ32が所定の回転角度毎に出力する回転角信号に基づいてエンジン回転数を算出する。したがって、回転角センサ32は回転数センサとして機能する。   The engine 2 is provided with a rotation angle sensor 32 that generates a rotation angle signal for each predetermined rotation angle of the engine 2 as a sensor for detecting an operation state. The ECU 40 calculates the engine speed based on the rotation angle signal output by the rotation angle sensor 32 at every predetermined rotation angle. Therefore, the rotation angle sensor 32 functions as a rotation speed sensor.

さらに燃料噴射システム10には、運転状態を検出する他のセンサとして、運転者によるアクセルペダルの操作量であるアクセル開度(ACCP)を検出するアクセルセンサ、冷却水の温度(水温)および吸入空気の温度(吸気温)をそれぞれ検出する温度センサ等が設けられている。   Further, in the fuel injection system 10, as other sensors for detecting the driving state, an accelerator sensor for detecting an accelerator opening (ACCP) which is an operation amount of an accelerator pedal by a driver, a temperature (water temperature) of cooling water, and intake air. A temperature sensor or the like for detecting the temperature (intake air temperature) is provided.

燃料噴射弁30は、エンジン2の各気筒に設置されており、コモンレール20で蓄圧された燃料を気筒内に噴射する。燃料噴射弁30は、例えば、噴孔を開閉するノズルニードルのリフトを制御室の圧力で制御する公知の電磁駆動式弁である。燃料噴射弁30の噴射量は、ECU40から指令される噴射指令信号のパルス幅によって制御される。噴射指令信号のパルス幅が長くなると噴射量が増加する。   The fuel injection valve 30 is installed in each cylinder of the engine 2 and injects fuel accumulated in the common rail 20 into the cylinder. The fuel injection valve 30 is, for example, a known electromagnetically driven valve that controls the lift of the nozzle needle that opens and closes the nozzle hole with the pressure in the control chamber. The injection amount of the fuel injection valve 30 is controlled by the pulse width of the injection command signal commanded from the ECU 40. As the pulse width of the injection command signal increases, the injection amount increases.

ECU40は、CPU、RAM、ROM、フラッシュメモリ等を中心とするマイクロコンピュータにより主に構成されている。ECU40は、ROMまたはフラッシュメモリに記憶されている制御プログラムをCPUが実行することにより、圧力センサ22、回転角センサ32を含む各種センサから取り込んだ出力信号に基づき、燃料噴射システム10の各種制御を実行する。   The ECU 40 is mainly configured by a microcomputer centering on a CPU, RAM, ROM, flash memory and the like. The ECU 40 executes various control of the fuel injection system 10 based on output signals taken from various sensors including the pressure sensor 22 and the rotation angle sensor 32 when the CPU executes a control program stored in the ROM or the flash memory. Run.

例えば、ECU40は、調量弁16に通電して閉弁させるタイミングを制御することにより、燃料供給ポンプ14の吐出量を調量する。
また、ECU40は、燃料噴射弁30に噴射を指令する噴射指令信号のパルス幅(T)と噴射量(Q)との相関を示す所謂TQマップを、レール圧力の所定の圧力領域毎にROMまたはフラッシュメモリに記憶している。そして、ECU40は、エンジン回転数およびアクセル開度に基づいて燃料噴射弁30の目標噴射量が決定されると、圧力センサ22が検出するレール圧力に応じて該当する圧力領域のTQマップを参照し、目標噴射量を燃料噴射弁30に指令する噴射指令信号のパルス幅をTQマップから取得する。
For example, the ECU 40 controls the discharge amount of the fuel supply pump 14 by controlling the timing at which the metering valve 16 is energized and closed.
In addition, the ECU 40 stores a so-called TQ map indicating the correlation between the pulse width (T) of the injection command signal for instructing the fuel injection valve 30 and the injection amount (Q) for each predetermined pressure region of the rail pressure in the ROM or Stored in flash memory. Then, when the target injection amount of the fuel injection valve 30 is determined based on the engine speed and the accelerator opening, the ECU 40 refers to the TQ map of the corresponding pressure region according to the rail pressure detected by the pressure sensor 22. The pulse width of the injection command signal for commanding the target injection amount to the fuel injection valve 30 is acquired from the TQ map.

(噴射圧送比)
次に、燃料供給ポンプ14の吐出量制御に使用される噴射圧送比について説明する。噴射圧送比は、燃料噴射弁30の噴射回数とプランジャからの燃料吐出回数を表わす燃料供給ポンプ14の圧送回数との比を表わしている。
(Injection pumping ratio)
Next, the injection pumping ratio used for the discharge amount control of the fuel supply pump 14 will be described. The injection pumping ratio represents the ratio between the number of injections of the fuel injection valve 30 and the number of pumping of the fuel supply pump 14 representing the number of fuel discharges from the plunger.

図2の(A)に示すように、2個の調量弁16が作動する通常時において、エンジン2の該当する気筒の上死点(TDC)付近で燃料噴射弁30が1回噴射する制御期間において燃料供給ポンプ14から1回圧送する場合、噴射圧送比は1である。   As shown in FIG. 2A, in the normal time when the two metering valves 16 operate, the fuel injection valve 30 performs a single injection near the top dead center (TDC) of the corresponding cylinder of the engine 2. When pumping once from the fuel supply pump 14 during the period, the injection pumping ratio is 1.

これに対し、図2の(B)に示すように、2個のうち一方の調量弁16が異常等により通電を停止され、対応するプランジャからの燃料吐出が停止される場合、燃料噴射弁30が2回噴射する制御期間において燃料供給ポンプ14は燃料を1回圧送するので、噴射圧送比は2になる。   On the other hand, as shown in FIG. 2B, when one of the two metering valves 16 is de-energized due to an abnormality or the like, and fuel discharge from the corresponding plunger is stopped, the fuel injection valve In the control period in which 30 is injected twice, the fuel supply pump 14 pumps the fuel once, so the injection pumping ratio is 2.

また、図3の(A)に示すように、2個の調量弁16が作動する通常時において、エンジン2の該当する気筒の上死点(TDC)付近で燃料噴射弁30が1回噴射する制御期間において燃料供給ポンプ14から2回圧送する場合、噴射圧送比は0.5である。   Further, as shown in FIG. 3A, the fuel injection valve 30 injects once near the top dead center (TDC) of the corresponding cylinder of the engine 2 at the normal time when the two metering valves 16 are operated. When pumping twice from the fuel supply pump 14 during the control period, the injection pumping ratio is 0.5.

これに対し、図3の(B)に示すように、2個のうち一方の調量弁16が異常等により通電を停止され、対応するプランジャからの燃料吐出が停止される場合、燃料噴射弁30が1回噴射する制御期間において燃料供給ポンプ14は燃料を1回圧送するので、噴射圧送比は1になる。   On the other hand, as shown in FIG. 3B, when one of the two metering valves 16 is deenergized due to an abnormality or the like and the fuel discharge from the corresponding plunger is stopped, the fuel injection valve Since the fuel supply pump 14 pumps the fuel once in the control period in which 30 is injected once, the injection pumping ratio becomes 1.

すなわち、図2および図3において、2個のうち1個のプランジャからの燃料吐出が停止すると、噴射圧送比は2倍になる。したがって、噴射圧送比に基づいて燃料供給ポンプ14の吐出量を分配すると、調量弁16が作動して燃料を吐出するプランジャに指令される吐出量は2倍になる。   That is, in FIGS. 2 and 3, when the fuel discharge from one of the two plungers is stopped, the injection pumping ratio is doubled. Therefore, when the discharge amount of the fuel supply pump 14 is distributed based on the injection pumping ratio, the discharge amount commanded to the plunger for operating the metering valve 16 to discharge the fuel is doubled.

このように、本実施形態では、一部のプランジャからの燃料吐出が停止する場合、燃料吐出を停止するプランジャを圧送回数の対象から除いて算出した噴射圧送比により、燃料吐出を停止するプランジャからの吐出量を燃料を吐出するプランジャに分配する。したがって、燃料を吐出するプランジャからの吐出量が増加する。   As described above, in this embodiment, when the fuel discharge from some of the plungers is stopped, the plunger for stopping the fuel discharge is calculated based on the injection pumping ratio calculated by excluding the plunger for stopping the fuel discharge from the target of the number of times of pumping. Is distributed to the plunger for discharging the fuel. Therefore, the discharge amount from the plunger that discharges the fuel increases.

これに対し、燃料吐出を停止するプランジャを考慮せず、燃料吐出を停止するプランジャからの吐出量を燃料を吐出するプランジャに分配しない場合には、燃料供給ポンプ14に要求される吐出量に対し、燃料を吐出するプランジャからの吐出量が不足する。   On the other hand, when the discharge amount from the plunger that stops fuel discharge is not distributed to the plunger that discharges fuel without considering the plunger that stops fuel discharge, the discharge amount required for the fuel supply pump 14 The amount of discharge from the plunger that discharges fuel is insufficient.

図4の(A)に、目標レール圧力に対し2個のうち一方のプランジャからの燃料吐出が停止した場合の本実施形態のレール圧力の変化特性210と、燃料吐出を停止するプランジャからの吐出量を燃料を吐出するプランジャに分配しない比較例のレール圧力の変化特性212とを示す。符号200は、2個のプランジャの両方から燃料を吐出する場合のレール圧力の変化特性を示している。   FIG. 4A shows the rail pressure change characteristic 210 of the present embodiment when the fuel discharge from one of the two plungers is stopped with respect to the target rail pressure, and the discharge from the plunger that stops the fuel discharge. The rail pressure change characteristic 212 of the comparative example which does not distribute quantity to the plunger which discharges fuel is shown. Reference numeral 200 indicates a change characteristic of the rail pressure when fuel is discharged from both of the two plungers.

図4の(A)では、燃料供給ポンプ14に対する要求吐出量が多いために調量弁16に対して途中まで全量吐出が指令される例を示しているので、2個のプランジャの両方から燃料を吐出する変化特性200が、1個のプランジャだけから燃料を吐出する本実施形態の変化特性210および比較例の変化特性212よりも応答性は高くなっている。また、全量吐出が指令される期間、本実施形態の変化特性210と比較例の変化特性212との応答性は殆ど変わらない。   FIG. 4A shows an example in which full discharge is commanded to the metering valve 16 halfway because the required discharge amount to the fuel supply pump 14 is large. Therefore, the fuel is supplied from both of the two plungers. Is more responsive than the change characteristic 210 of this embodiment and the change characteristic 212 of the comparative example in which fuel is discharged from only one plunger. In addition, during the period in which the full discharge is commanded, the responsiveness between the change characteristic 210 of the present embodiment and the change characteristic 212 of the comparative example hardly changes.

しかし、目標レール圧力と実レール圧力との差圧が小さくなり燃料供給ポンプ14に要求される吐出量が減少すると、燃料吐出を停止するプランジャからの吐出量を燃料を吐出するプランジャに分配しない比較例では、1個のプランジャに指令される吐出量が全量吐出量よりも減少する。   However, when the differential pressure between the target rail pressure and the actual rail pressure is reduced and the discharge amount required for the fuel supply pump 14 is reduced, the comparison does not distribute the discharge amount from the plunger that stops fuel discharge to the plunger that discharges fuel. In the example, the discharge amount commanded to one plunger is smaller than the total discharge amount.

一方、燃料吐出を停止するプランジャの吐出量を燃料を吐出するプランジャに分配する本実施形態では、比較例よりも長く全量吐出を継続する。その結果、本実施形態の変化特性210の方が比較例の変化特性212に比べ、実レール圧力が目標レール圧力に速やかに到達する。   On the other hand, in the present embodiment in which the discharge amount of the plunger that stops the fuel discharge is distributed to the plunger that discharges the fuel, the full amount discharge is continued longer than in the comparative example. As a result, the actual rail pressure reaches the target rail pressure more quickly in the change characteristic 210 of the present embodiment than in the change characteristic 212 of the comparative example.

また、図4の(A)においては、全量吐出を指令する場合にフィードバック(F/B)制御の積分項を算出しない制御を採用している。そのため、実レール圧力が目標レール圧力に近づくまで全量吐出で制御される本実施形態では、図4の(B)における積分項の変化特性220が示すように積分項が殆ど積算されていない。その結果、本実施形態では、実レール圧力が目標レール圧力に近づいたときにレール圧力がオーバーシュートすることを防止できる。   Further, in FIG. 4A, control is employed in which an integral term of feedback (F / B) control is not calculated when commanding full discharge. Therefore, in this embodiment in which the full rail discharge is controlled until the actual rail pressure approaches the target rail pressure, the integral term is hardly accumulated as shown by the integral term change characteristic 220 in FIG. As a result, in this embodiment, it is possible to prevent the rail pressure from overshooting when the actual rail pressure approaches the target rail pressure.

これに対し、比較例では、実レール圧力が目標レール圧力に近づくと、本実施形態よりも全量吐出が終了するタイミングが早くなりF/B積分項を算出するので、図4の(B)に示す積分項の変化特性222のように、実レール圧力が目標レール圧力に近づくにしたがい積分項が積算されていく。その結果、比較例では、実レール圧力が目標レール圧力に近づいたときにレール圧力がオーバーシュートする可能性がある。   On the other hand, in the comparative example, when the actual rail pressure approaches the target rail pressure, the timing at which the discharge of the entire amount ends is earlier than in this embodiment, and the F / B integral term is calculated. The integral term is integrated as the actual rail pressure approaches the target rail pressure, as shown by the integral term change characteristic 222 shown. As a result, in the comparative example, the rail pressure may overshoot when the actual rail pressure approaches the target rail pressure.

尚、全量吐出してもF/B制御の積分項を算出する場合にも、本実施形態の方が比較例よりも長く全量吐出を継続する。また、燃料供給ポンプ14に対する要求吐出量が減少し各プランジャに対する指令吐出量が全量吐出量より少ない場合にも、本実施形態の方が比較例よりもプランジャからの吐出量が多いので、燃料供給ポンプ14に対する要求吐出量と実吐出量との差は小さい。   Even in the case where the integral term of the F / B control is calculated even if the entire amount is discharged, the present embodiment continues the full amount discharge longer than the comparative example. Further, even when the required discharge amount for the fuel supply pump 14 decreases and the command discharge amount for each plunger is smaller than the total discharge amount, the present embodiment has a larger discharge amount from the plunger than the comparative example. The difference between the required discharge amount for the pump 14 and the actual discharge amount is small.

これにより、本実施形態の方が比較例よりも目標レール圧力に対する実レール圧力の応答性は高くなる。その結果、本実施形態の方が比較例よりもF/B制御の積分項は小さくなるので、実レール圧力が目標レール圧力に近づいたときにレール圧力がオーバーシュートすることを防止できる。   Thereby, the responsiveness of the actual rail pressure with respect to the target rail pressure is higher in the present embodiment than in the comparative example. As a result, since the integral term of the F / B control is smaller in the present embodiment than in the comparative example, it is possible to prevent the rail pressure from overshooting when the actual rail pressure approaches the target rail pressure.

(吐出量制御処理)
次に、ECU40が実行する吐出量制御処理につて説明する。図5のフローチャートは所定周期で実行される。図5において「S」はステップを表わしている。
(Discharge rate control process)
Next, the discharge amount control process executed by the ECU 40 will be described. The flowchart of FIG. 5 is executed at a predetermined cycle. In FIG. 5, “S” represents a step.

ECU40は、圧力センサ22の出力信号からレール圧力を取得し(S400)、回転角センサ32の出力信号からエンジン回転数を算出する(S402)。そして、エンジン回転数とアクセル開度とに基づいて燃料噴射弁30からの噴射量を算出するとともに(S404)、目標レール圧力を算出する(S406)。   The ECU 40 acquires the rail pressure from the output signal of the pressure sensor 22 (S400), and calculates the engine speed from the output signal of the rotation angle sensor 32 (S402). Then, the injection amount from the fuel injection valve 30 is calculated based on the engine speed and the accelerator opening (S404), and the target rail pressure is calculated (S406).

そして、調量弁16への通電が停止され調量弁16の作動が停止しているために燃料を吐出しないプランジャが存在する場合(S408:Yes)、ECU40は、図2および図3で説明したように、制御期間において噴射圧送比を算出し(S410)、S412に処理を移行する。   When there is a plunger that does not discharge fuel because the current supply to the metering valve 16 is stopped and the operation of the metering valve 16 is stopped (S408: Yes), the ECU 40 will be described with reference to FIGS. As described above, the injection pumping ratio is calculated in the control period (S410), and the process proceeds to S412.

調量弁16への通電が停止され調量弁16の作動が停止している原因の一つとして、調量弁16を通電制御する電気系に異常があるために、ECU40が調量弁16への通電を停止することが考えられる。   As one of the reasons that the current supply to the metering valve 16 is stopped and the operation of the metering valve 16 is stopped, there is an abnormality in the electric system that controls the current supply to the metering valve 16. It is conceivable to stop energization of the.

他の原因として、燃料噴射弁30の噴射量が少量であり燃料供給ポンプ14に対する要求吐出量が所定量以下の場合、ECU40が一部の調量弁16への通電を停止することが考えられる。この場合、一部の調量弁16への通電制御を停止することにより、電力消費を低減できる。   As another cause, when the injection amount of the fuel injection valve 30 is small and the required discharge amount to the fuel supply pump 14 is equal to or less than a predetermined amount, the ECU 40 may stop energizing some of the metering valves 16. . In this case, power consumption can be reduced by stopping the energization control to some of the metering valves 16.

一方、すべての調量弁16の作動が正常であり、燃料を吐出しないプランジャが存在しない場合(S408:No)、ECU40は噴射圧送比を変更せずにS412に処理を移行する。   On the other hand, when the operation of all the metering valves 16 is normal and there is no plunger that does not discharge fuel (S408: No), the ECU 40 proceeds to S412 without changing the injection pumping ratio.

S412においてECU40は、エンジン回転数およびアクセル開度により設定される燃料噴射量と、目標レール圧力と圧力センサ22が検出する実レール圧力との差圧と、燃料噴射システム10の燃料リーク量とから、フィードフォワード(F/F)制御により、燃料供給ポンプ14に要求される吐出量を算出する。   In S412, the ECU 40 determines from the fuel injection amount set by the engine speed and the accelerator opening, the differential pressure between the target rail pressure and the actual rail pressure detected by the pressure sensor 22, and the fuel leak amount of the fuel injection system 10. The discharge amount required for the fuel supply pump 14 is calculated by feed forward (F / F) control.

さらに、ECU40は、今回のレール圧力と前回のレール圧力との差圧に基づいてF/B制御により、燃料供給ポンプ14に要求される吐出量を算出する(S414)。
そして、S412とS414とで算出した吐出量を加算した燃料供給ポンプ14に要求される吐出量に噴射圧送比を乗算することにより、燃料を吐出するプランジャに対する指令吐出量を算出する(S416)。
Further, the ECU 40 calculates a discharge amount required for the fuel supply pump 14 by F / B control based on the differential pressure between the current rail pressure and the previous rail pressure (S414).
And the command discharge amount with respect to the plunger which discharges a fuel is calculated by multiplying the discharge amount requested | required of the fuel supply pump 14 which added the discharge amount calculated by S412 and S414 by the injection pressure sending ratio (S416).

以上説明したように、本実施形態では、燃料の吐出を停止するプランジャが存在する場合、制御ロジックを変更することなく燃料供給ポンプ14に要求される吐出量に噴射圧送比を乗算することにより、一部の調量弁16の作動が停止して燃料吐出を停止するプランジャからの吐出量が、燃料を吐出するプランジャに分配される。   As described above, in the present embodiment, when there is a plunger for stopping the fuel discharge, by multiplying the discharge amount required for the fuel supply pump 14 by the injection pumping ratio without changing the control logic, The discharge amount from the plunger that stops the fuel discharge by stopping the operation of some of the metering valves 16 is distributed to the plunger that discharges the fuel.

これにより、燃料を吐出しないプランジャが存在しても吐出量の不足を解消できる。その結果、目標レール圧力に対する実レール圧力の応答性が向上する。さらに、F/B制御の積分項が過度に大きくなることを防止できるので、目標圧力に対して燃料圧力がオーバーシュートすることを防止できる。   Thereby, even if there is a plunger that does not discharge fuel, the shortage of discharge amount can be solved. As a result, the response of the actual rail pressure to the target rail pressure is improved. Furthermore, since the integral term of the F / B control can be prevented from becoming excessively large, it is possible to prevent the fuel pressure from overshooting the target pressure.

[他の実施形態]
燃料供給ポンプ14のプランジャの数は複数であれば2個に限らず3個以上でもよい。この場合にも、プランジャ毎に設置された調量弁16が各プランジャからの吐出量を調量する構成が採用される。そして、調量弁16の作動が停止しているために燃料吐出を停止するプランジャが存在する場合には、燃料吐出を停止するプランジャを圧送回数の対象から除いて噴射圧送比を算出する。
[Other Embodiments]
The number of plungers of the fuel supply pump 14 is not limited to two as long as it is plural, and may be three or more. Also in this case, a configuration is employed in which the metering valve 16 installed for each plunger regulates the discharge amount from each plunger. If there is a plunger that stops the fuel discharge because the operation of the metering valve 16 is stopped, the injection pumping ratio is calculated by removing the plunger that stops the fuel discharge from the target of the number of times of pumping.

このように、本発明は、上記実施形態に限定されるものではなく、その要旨を逸脱しない範囲で種々の実施形態に適用可能である。   As described above, the present invention is not limited to the above-described embodiment, and can be applied to various embodiments without departing from the gist thereof.

14:燃料供給ポンプ、16:調量弁、30:燃料噴射弁、40:ECU(ポンプ制御装置、吐出量設定手段、判定手段、算出手段、吐出量分配手段、調量弁制御手段、フィードフォワード制御手段、フィードバック制御手段) 14: fuel supply pump, 16: metering valve, 30: fuel injection valve, 40: ECU (pump control device, discharge amount setting means, determination means, calculation means, discharge amount distribution means, metering valve control means, feed forward Control means, feedback control means)

Claims (4)

複数のプランジャの往復移動により吸入した燃料を加圧して圧送する燃料供給ポンプ(14)の吐出量を、前記プランジャ毎に設置された調量弁(16)を制御することにより調量するポンプ制御装置(40)であって、
前記燃料供給ポンプの吐出量を設定する吐出量設定手段(S412、S414)と、
複数の前記調量弁のうち一部の前記調量弁の作動が停止して燃料吐出が停止している前記プランジャが存在するか否かを判定する判定手段(S408)と、
前記燃料供給ポンプが圧送する燃料を噴射する燃料噴射弁(30)の噴射回数と前記燃料供給ポンプの圧送回数との比である噴射圧送比を算出し、燃料吐出が停止している前記プランジャが存在すると前記判定手段が判定する場合、前記圧送回数の対象から燃料吐出が停止する前記プランジャを除く算出手段(S410)と、
前記算出手段が算出する前記噴射圧送比に基づいて、前記調量弁が作動して燃料を吐出する前記プランジャに前記吐出量設定手段が設定する吐出量を分配する吐出量分配手段(S416)と、
を備えることを特徴とするポンプ制御装置。
Pump control for metering the discharge amount of a fuel supply pump (14) that pressurizes and pumps fuel sucked by reciprocating movement of a plurality of plungers by controlling a metering valve (16) installed for each plunger. A device (40) comprising:
Discharge amount setting means (S412, S414) for setting the discharge amount of the fuel supply pump;
A determination unit (S408) for determining whether or not there is the plunger in which the operation of some of the metering valves among the plurality of metering valves is stopped and fuel discharge is stopped;
An injection pumping ratio, which is a ratio between the number of injections of the fuel injection valve (30) for injecting fuel pumped by the fuel supply pump and the number of pumping of the fuel supply pump, is calculated, When the determination means determines that it exists, calculation means (S410) excluding the plunger from which fuel discharge stops from the target of the number of pumping times;
Discharge amount distribution means (S416) for distributing the discharge amount set by the discharge amount setting means to the plunger for operating the metering valve to discharge fuel based on the injection pressure ratio calculated by the calculation means; ,
A pump control device comprising:
異常な前記調量弁の作動を停止する調量弁制御手段(S408)を備えることを特徴とする請求項1に記載のポンプ制御装置。   The pump control device according to claim 1, further comprising a metering valve control means (S408) for stopping the operation of the abnormal metering valve. 前記吐出量設定手段が設定する吐出量が所定量以下の場合、一部の前記調量弁の作動を停止する調量弁制御手段(S408)を備えることを特徴とする請求項1または2に記載のポンプ制御装置。   3. A metering valve control means (S408) for stopping the operation of some of the metering valves when the discharge amount set by the discharge amount setting means is a predetermined amount or less. The pump control device described. 前記吐出量設定手段は、前記燃料噴射弁からの噴射量、ならびに燃料圧力の目標圧力と実際の燃料圧力との差圧に基づいて前記燃料供給ポンプの吐出量を制御するフィードフォワード制御手段(S412)と、前回の燃料圧力と今回の燃料圧力との差圧に基づいて前記燃料供給ポンプの吐出量を制御するフィードバック制御手段(S414)と、を有することを特徴とする請求項1から3のいずれか一項に記載のポンプ制御装置。   The discharge amount setting means feed-forward control means (S412) for controlling the discharge amount of the fuel supply pump based on the injection amount from the fuel injection valve and the differential pressure between the target pressure of the fuel pressure and the actual fuel pressure. And feedback control means (S414) for controlling the discharge amount of the fuel supply pump based on the differential pressure between the previous fuel pressure and the current fuel pressure. The pump control apparatus as described in any one.
JP2012196257A 2012-09-06 2012-09-06 Pump control device Active JP5799919B2 (en)

Priority Applications (2)

Application Number Priority Date Filing Date Title
JP2012196257A JP5799919B2 (en) 2012-09-06 2012-09-06 Pump control device
DE102013109419.8A DE102013109419B4 (en) 2012-09-06 2013-08-30 Pump control device and pumping method

Applications Claiming Priority (1)

Application Number Priority Date Filing Date Title
JP2012196257A JP5799919B2 (en) 2012-09-06 2012-09-06 Pump control device

Publications (2)

Publication Number Publication Date
JP2014051912A true JP2014051912A (en) 2014-03-20
JP5799919B2 JP5799919B2 (en) 2015-10-28

Family

ID=50098579

Family Applications (1)

Application Number Title Priority Date Filing Date
JP2012196257A Active JP5799919B2 (en) 2012-09-06 2012-09-06 Pump control device

Country Status (2)

Country Link
JP (1) JP5799919B2 (en)
DE (1) DE102013109419B4 (en)

Cited By (1)

* Cited by examiner, † Cited by third party
Publication number Priority date Publication date Assignee Title
JP2016037943A (en) * 2014-08-11 2016-03-22 日産自動車株式会社 Control device for internal combustion engine with supercharger

Families Citing this family (3)

* Cited by examiner, † Cited by third party
Publication number Priority date Publication date Assignee Title
JP6973010B2 (en) * 2017-12-13 2021-11-24 トヨタ自動車株式会社 Fuel pump controller
JP6922713B2 (en) * 2017-12-13 2021-08-18 トヨタ自動車株式会社 Fuel pump controller
US11788476B1 (en) 2022-06-01 2023-10-17 Honeywell International Inc. Fluid system with variable pump discharge pressure and method

Citations (4)

* Cited by examiner, † Cited by third party
Publication number Priority date Publication date Assignee Title
JPH08319871A (en) * 1995-05-24 1996-12-03 Nippondenso Co Ltd Pressure accumulation type fuel injection device of internal combustion engine
JP2006083823A (en) * 2004-09-17 2006-03-30 Yanmar Co Ltd Fuel injection device
JP2006242028A (en) * 2005-03-01 2006-09-14 Mitsubishi Electric Corp Fuel pressure control device for multi-cylinder internal combustion engine
JP2010242506A (en) * 2009-03-31 2010-10-28 Honda Motor Co Ltd Internal combustion engine

Family Cites Families (3)

* Cited by examiner, † Cited by third party
Publication number Priority date Publication date Assignee Title
DE19646581A1 (en) 1996-11-12 1998-05-14 Bosch Gmbh Robert Fuel injection system
JP4082801B2 (en) 1998-10-08 2008-04-30 株式会社日立製作所 Fuel injection control system for direct injection gasoline engine
US6866025B1 (en) 1999-11-18 2005-03-15 Siemens Vdo Automotive Corp. High pressure fuel pump delivery control by piston deactivation

Patent Citations (4)

* Cited by examiner, † Cited by third party
Publication number Priority date Publication date Assignee Title
JPH08319871A (en) * 1995-05-24 1996-12-03 Nippondenso Co Ltd Pressure accumulation type fuel injection device of internal combustion engine
JP2006083823A (en) * 2004-09-17 2006-03-30 Yanmar Co Ltd Fuel injection device
JP2006242028A (en) * 2005-03-01 2006-09-14 Mitsubishi Electric Corp Fuel pressure control device for multi-cylinder internal combustion engine
JP2010242506A (en) * 2009-03-31 2010-10-28 Honda Motor Co Ltd Internal combustion engine

Cited By (1)

* Cited by examiner, † Cited by third party
Publication number Priority date Publication date Assignee Title
JP2016037943A (en) * 2014-08-11 2016-03-22 日産自動車株式会社 Control device for internal combustion engine with supercharger

Also Published As

Publication number Publication date
JP5799919B2 (en) 2015-10-28
DE102013109419B4 (en) 2018-05-09
DE102013109419A1 (en) 2014-03-06

Similar Documents

Publication Publication Date Title
JP5131265B2 (en) Fuel pressure control device
JP4333549B2 (en) Fuel injection control device for internal combustion engine
JP2009074435A (en) Fuel injection control device and fuel injection system using the same
JP5939227B2 (en) Pump control device
US7565898B2 (en) Controller for direct injection engine and controlling method
JP5212502B2 (en) Fuel injection device
JP5799919B2 (en) Pump control device
JP5692131B2 (en) High pressure pump control device
JP4572950B2 (en) Common rail pressure control device and fuel injection system using the same
JP2015014221A (en) Control device of high pressure pump
JP4985673B2 (en) Fuel pressure control device
JP2009138593A (en) Accumulating type fuel injection device
JP4985674B2 (en) Fuel pressure control device
JP4900287B2 (en) Fuel supply control device and fuel supply system using the same
JP4605182B2 (en) Pump control device and fuel injection system using the same
JP2004218611A (en) Fuel injection device for internal-combustion engine
JP2011144711A (en) Fuel injection device
JP3982516B2 (en) Fuel injection device for internal combustion engine
JP5110109B2 (en) Fuel pressure control device
JP5310624B2 (en) Fuel pressure control device
JP6303944B2 (en) Fuel injection control device
JP5441999B2 (en) Common rail pressure control device and control method, and accumulator fuel injection device
JP4735621B2 (en) Injection amount learning device
JP2011185125A (en) Control device of accumulator fuel injection device
JP5585548B2 (en) Fuel injection control device

Legal Events

Date Code Title Description
A621 Written request for application examination

Free format text: JAPANESE INTERMEDIATE CODE: A621

Effective date: 20140522

A977 Report on retrieval

Free format text: JAPANESE INTERMEDIATE CODE: A971007

Effective date: 20150205

A131 Notification of reasons for refusal

Free format text: JAPANESE INTERMEDIATE CODE: A131

Effective date: 20150224

A521 Request for written amendment filed

Free format text: JAPANESE INTERMEDIATE CODE: A523

Effective date: 20150424

TRDD Decision of grant or rejection written
A01 Written decision to grant a patent or to grant a registration (utility model)

Free format text: JAPANESE INTERMEDIATE CODE: A01

Effective date: 20150728

A61 First payment of annual fees (during grant procedure)

Free format text: JAPANESE INTERMEDIATE CODE: A61

Effective date: 20150810

R151 Written notification of patent or utility model registration

Ref document number: 5799919

Country of ref document: JP

Free format text: JAPANESE INTERMEDIATE CODE: R151

R250 Receipt of annual fees

Free format text: JAPANESE INTERMEDIATE CODE: R250

R250 Receipt of annual fees

Free format text: JAPANESE INTERMEDIATE CODE: R250

R250 Receipt of annual fees

Free format text: JAPANESE INTERMEDIATE CODE: R250

R250 Receipt of annual fees

Free format text: JAPANESE INTERMEDIATE CODE: R250

R250 Receipt of annual fees

Free format text: JAPANESE INTERMEDIATE CODE: R250

R250 Receipt of annual fees

Free format text: JAPANESE INTERMEDIATE CODE: R250

R250 Receipt of annual fees

Free format text: JAPANESE INTERMEDIATE CODE: R250