JP2014020413A - Wheel bearing device - Google Patents

Wheel bearing device Download PDF

Info

Publication number
JP2014020413A
JP2014020413A JP2012157651A JP2012157651A JP2014020413A JP 2014020413 A JP2014020413 A JP 2014020413A JP 2012157651 A JP2012157651 A JP 2012157651A JP 2012157651 A JP2012157651 A JP 2012157651A JP 2014020413 A JP2014020413 A JP 2014020413A
Authority
JP
Japan
Prior art keywords
seal
metal ring
wheel
mounting flange
lip
Prior art date
Legal status (The legal status is an assumption and is not a legal conclusion. Google has not performed a legal analysis and makes no representation as to the accuracy of the status listed.)
Granted
Application number
JP2012157651A
Other languages
Japanese (ja)
Other versions
JP5988738B2 (en
Inventor
Tomoya Yamada
智哉 山田
Current Assignee (The listed assignees may be inaccurate. Google has not performed a legal analysis and makes no representation or warranty as to the accuracy of the list.)
NTN Corp
Original Assignee
NTN Corp
NTN Toyo Bearing Co Ltd
Priority date (The priority date is an assumption and is not a legal conclusion. Google has not performed a legal analysis and makes no representation as to the accuracy of the date listed.)
Filing date
Publication date
Application filed by NTN Corp, NTN Toyo Bearing Co Ltd filed Critical NTN Corp
Priority to JP2012157651A priority Critical patent/JP5988738B2/en
Publication of JP2014020413A publication Critical patent/JP2014020413A/en
Application granted granted Critical
Publication of JP5988738B2 publication Critical patent/JP5988738B2/en
Expired - Fee Related legal-status Critical Current
Anticipated expiration legal-status Critical

Links

Images

Classifications

    • FMECHANICAL ENGINEERING; LIGHTING; HEATING; WEAPONS; BLASTING
    • F16ENGINEERING ELEMENTS AND UNITS; GENERAL MEASURES FOR PRODUCING AND MAINTAINING EFFECTIVE FUNCTIONING OF MACHINES OR INSTALLATIONS; THERMAL INSULATION IN GENERAL
    • F16CSHAFTS; FLEXIBLE SHAFTS; ELEMENTS OR CRANKSHAFT MECHANISMS; ROTARY BODIES OTHER THAN GEARING ELEMENTS; BEARINGS
    • F16C33/00Parts of bearings; Special methods for making bearings or parts thereof
    • F16C33/72Sealings
    • F16C33/76Sealings of ball or roller bearings
    • F16C33/78Sealings of ball or roller bearings with a diaphragm, disc, or ring, with or without resilient members
    • F16C33/7869Sealings of ball or roller bearings with a diaphragm, disc, or ring, with or without resilient members mounted with a cylindrical portion to the inner surface of the outer race and having a radial portion extending inward
    • F16C33/7879Sealings of ball or roller bearings with a diaphragm, disc, or ring, with or without resilient members mounted with a cylindrical portion to the inner surface of the outer race and having a radial portion extending inward with a further sealing ring
    • FMECHANICAL ENGINEERING; LIGHTING; HEATING; WEAPONS; BLASTING
    • F16ENGINEERING ELEMENTS AND UNITS; GENERAL MEASURES FOR PRODUCING AND MAINTAINING EFFECTIVE FUNCTIONING OF MACHINES OR INSTALLATIONS; THERMAL INSULATION IN GENERAL
    • F16CSHAFTS; FLEXIBLE SHAFTS; ELEMENTS OR CRANKSHAFT MECHANISMS; ROTARY BODIES OTHER THAN GEARING ELEMENTS; BEARINGS
    • F16C33/00Parts of bearings; Special methods for making bearings or parts thereof
    • F16C33/72Sealings
    • F16C33/76Sealings of ball or roller bearings
    • F16C33/768Sealings of ball or roller bearings between relatively stationary parts, i.e. static seals
    • FMECHANICAL ENGINEERING; LIGHTING; HEATING; WEAPONS; BLASTING
    • F16ENGINEERING ELEMENTS AND UNITS; GENERAL MEASURES FOR PRODUCING AND MAINTAINING EFFECTIVE FUNCTIONING OF MACHINES OR INSTALLATIONS; THERMAL INSULATION IN GENERAL
    • F16CSHAFTS; FLEXIBLE SHAFTS; ELEMENTS OR CRANKSHAFT MECHANISMS; ROTARY BODIES OTHER THAN GEARING ELEMENTS; BEARINGS
    • F16C33/00Parts of bearings; Special methods for making bearings or parts thereof
    • F16C33/72Sealings
    • F16C33/76Sealings of ball or roller bearings
    • F16C33/80Labyrinth sealings
    • F16C33/805Labyrinth sealings in addition to other sealings, e.g. dirt guards to protect sealings with sealing lips
    • FMECHANICAL ENGINEERING; LIGHTING; HEATING; WEAPONS; BLASTING
    • F16ENGINEERING ELEMENTS AND UNITS; GENERAL MEASURES FOR PRODUCING AND MAINTAINING EFFECTIVE FUNCTIONING OF MACHINES OR INSTALLATIONS; THERMAL INSULATION IN GENERAL
    • F16CSHAFTS; FLEXIBLE SHAFTS; ELEMENTS OR CRANKSHAFT MECHANISMS; ROTARY BODIES OTHER THAN GEARING ELEMENTS; BEARINGS
    • F16C19/00Bearings with rolling contact, for exclusively rotary movement
    • F16C19/02Bearings with rolling contact, for exclusively rotary movement with bearing balls essentially of the same size in one or more circular rows
    • F16C19/14Bearings with rolling contact, for exclusively rotary movement with bearing balls essentially of the same size in one or more circular rows for both radial and axial load
    • F16C19/18Bearings with rolling contact, for exclusively rotary movement with bearing balls essentially of the same size in one or more circular rows for both radial and axial load with two or more rows of balls
    • F16C19/181Bearings with rolling contact, for exclusively rotary movement with bearing balls essentially of the same size in one or more circular rows for both radial and axial load with two or more rows of balls with angular contact
    • F16C19/183Bearings with rolling contact, for exclusively rotary movement with bearing balls essentially of the same size in one or more circular rows for both radial and axial load with two or more rows of balls with angular contact with two rows at opposite angles
    • F16C19/184Bearings with rolling contact, for exclusively rotary movement with bearing balls essentially of the same size in one or more circular rows for both radial and axial load with two or more rows of balls with angular contact with two rows at opposite angles in O-arrangement
    • F16C19/186Bearings with rolling contact, for exclusively rotary movement with bearing balls essentially of the same size in one or more circular rows for both radial and axial load with two or more rows of balls with angular contact with two rows at opposite angles in O-arrangement with three raceways provided integrally on parts other than race rings, e.g. third generation hubs
    • FMECHANICAL ENGINEERING; LIGHTING; HEATING; WEAPONS; BLASTING
    • F16ENGINEERING ELEMENTS AND UNITS; GENERAL MEASURES FOR PRODUCING AND MAINTAINING EFFECTIVE FUNCTIONING OF MACHINES OR INSTALLATIONS; THERMAL INSULATION IN GENERAL
    • F16CSHAFTS; FLEXIBLE SHAFTS; ELEMENTS OR CRANKSHAFT MECHANISMS; ROTARY BODIES OTHER THAN GEARING ELEMENTS; BEARINGS
    • F16C2326/00Articles relating to transporting
    • F16C2326/01Parts of vehicles in general
    • F16C2326/02Wheel hubs or castors

Landscapes

  • Engineering & Computer Science (AREA)
  • General Engineering & Computer Science (AREA)
  • Mechanical Engineering (AREA)
  • Sealing Of Bearings (AREA)
  • Rolling Contact Bearings (AREA)

Abstract

【課題】シールの密封性能の向上を図り、軸受性能を長期間に亘って維持することができる車輪用軸受装置を提供する。
【解決手段】外方部材2の端部外周に所定の傾斜角からなるテーパ面16が形成されると共に、金属環12が、ハブ輪の肩部4eに外嵌される円筒状の嵌合部12aと、基部6bの形状に対応して円弧状に形成された湾曲部12bと、この湾曲部12bから径方向外方に延び、車輪取付フランジ6の側面6cに密着される円板部12cと、この円板部12cの外径部から車輪取付フランジ6に対して軸方向に離間し、径方向外方に傾斜して延びる傘部12dと、この傘部12dから径方向外方に突出して形成された折曲部12eを備え、この折曲部12eにシール部材17が一体に接合され、このシール部材17が径方向内方に傾斜して延びるシールリップ17aを一体に有し、外方部材2のテーパ面16に摺接されている。
【選択図】図2
A wheel bearing device capable of improving the sealing performance of a seal and maintaining the bearing performance over a long period of time is provided.
A cylindrical fitting portion in which a tapered surface 16 having a predetermined inclination angle is formed on an outer periphery of an end portion of an outer member 2 and a metal ring 12 is fitted on a shoulder portion 4e of a hub wheel. 12a, a curved portion 12b formed in an arc shape corresponding to the shape of the base portion 6b, and a disc portion 12c extending radially outward from the curved portion 12b and closely contacting the side surface 6c of the wheel mounting flange 6. An umbrella portion 12d that is axially spaced from the outer diameter portion of the disc portion 12c with respect to the wheel mounting flange 6 and that extends obliquely outward in the radial direction, and protrudes radially outward from the umbrella portion 12d. A bent portion 12e formed, a seal member 17 is integrally joined to the bent portion 12e, and the seal member 17 integrally has a seal lip 17a extending radially inward and extending outward. It is in sliding contact with the tapered surface 16 of the member 2.
[Selection] Figure 2

Description

本発明は、自動車等の車輪を回転自在に支承する車輪用軸受装置、特に、密封性能の向上を図った車輪用軸受装置に関するものである。   The present invention relates to a wheel bearing device for rotatably supporting a wheel of an automobile or the like, and more particularly to a wheel bearing device with improved sealing performance.

従来から自動車等の車輪を支持する車輪用軸受装置は、車輪を取り付けるためのハブ輪を転がり軸受を介して回転自在に支承するもので、駆動輪用と従動輪用とがある。構造上の理由から、駆動輪用では内輪回転方式が、従動輪用では内輪回転と外輪回転の両方式が一般的に採用されている。この車輪用軸受装置には、所望の軸受剛性を有し、ミスアライメントに対しても耐久性を発揮すると共に、燃費向上の観点から回転トルクが小さい複列アンギュラ玉軸受が多用されている。一方、オフロードカーやトラック等、車体重量が嵩む車両には複列円錐ころ軸受が使用されている。   2. Description of the Related Art Conventionally, a wheel bearing device for supporting a wheel of an automobile or the like is such that a hub wheel for mounting a wheel is rotatably supported via a rolling bearing, and there are a drive wheel and a driven wheel. For structural reasons, an inner ring rotation method is generally used for driving wheels, and an inner ring rotation method and an outer ring rotation method are generally used for driven wheels. As the wheel bearing device, a double-row angular ball bearing having a desired bearing rigidity, exhibiting durability against misalignment, and having a small rotational torque from the viewpoint of improving fuel efficiency is often used. On the other hand, double row tapered roller bearings are used in vehicles such as off-road cars and trucks that have a heavy vehicle body weight.

これらの車輪用軸受装置は泥水等がかかり易い部位に配置されるため、シール装置が装着されて外方部材と内方部材との間を密封するように構成されている。一般的に、シール装置は、シールリップを備えたシール部材が固定側部材となる外方部材に装着され、シールリップが内方部材の外周面に摺接されている。   Since these wheel bearing devices are arranged at sites where muddy water or the like is easily applied, a seal device is mounted to seal between the outer member and the inner member. Generally, in a sealing device, a sealing member having a sealing lip is attached to an outer member serving as a stationary member, and the sealing lip is slidably contacted with an outer peripheral surface of the inner member.

こうしたシールの一例を図19に示す。このシール108は、車輪取付フランジ106の基部106bに嵌着された金属環112に摺接するように配設されている。シール108は、外方部材102の端部内周に嵌合される芯金113と、この芯金113に加硫接着等により一体に接合されたシール部材114とからなる。   An example of such a seal is shown in FIG. The seal 108 is disposed so as to be in sliding contact with the metal ring 112 fitted to the base portion 106 b of the wheel mounting flange 106. The seal 108 includes a core metal 113 fitted to the inner periphery of the end portion of the outer member 102 and a seal member 114 integrally joined to the core metal 113 by vulcanization adhesion or the like.

シール部材114は、芯金113の外周部に接合され、径方向外方に傾斜して延びる一対のサイドリップ114a、114bと、芯金113の内縁部に接合され、軸受内方側に傾斜して延びるグリースリップ114cとを有している。これらのサイドリップ114a、114bおよびグリースリップ114cは、車輪取付フランジ106の基部106bに嵌着された金属環112に摺接されている。   The seal member 114 is joined to the outer peripheral portion of the cored bar 113, joined to a pair of side lips 114a and 114b extending obliquely outward in the radial direction, and the inner edge of the cored bar 113, and tilted to the bearing inward side. And a grease lip 114c extending in the direction. The side lips 114 a and 114 b and the grease lip 114 c are in sliding contact with the metal ring 112 fitted to the base portion 106 b of the wheel mounting flange 106.

金属環112は、耐食性を有する鋼板からプレス加工にて形成され、ハブ輪104の肩部104eに外嵌される円筒状の嵌合部112aと、円弧状に形成された基部106bに対応して円弧状に形成された湾曲部112bと、この湾曲部112bから径方向外方に延び、車輪取付フランジ106の側面106cに密着される円板部112cと、この円板部112cの外径部から車輪取付フランジ106に対して軸方向に離間して延びる傘部112dと、この傘部112dから径方向外方に突出して形成された折曲部112eとを備えている。   The metal ring 112 is formed by press working from a steel plate having corrosion resistance, and corresponds to a cylindrical fitting portion 112a that is externally fitted to the shoulder portion 104e of the hub wheel 104 and a base portion 106b that is formed in an arc shape. From a curved portion 112b formed in an arc shape, a disk portion 112c extending radially outward from the curved portion 112b and being in close contact with the side surface 106c of the wheel mounting flange 106, and an outer diameter portion of the disk portion 112c An umbrella portion 112d extending away from the wheel mounting flange 106 in the axial direction is provided, and a bent portion 112e formed to protrude radially outward from the umbrella portion 112d.

基部106bは、ハブ輪104の肩部104eと車輪取付フランジ106との間の角部に所定の曲率半径rからなる円弧面に形成されている。そして、この円弧面に対応して、金属環112の湾曲部112bは所定の曲率半径Rからなる円弧面からなり、それぞれの曲率半径R、rがR≧rになるように設定されている。これにより、金属環112を基部106bに嵌合した時に基部106bの円弧面に金属環112の湾曲部112bが干渉して浮き上がるのを防止している。したがって、車輪取付フランジ106の側面106cと金属環112の円板部112cとの間に隙間が生じるのが防止されて両者が密着し、サイドリップ114a、114bのシメシロのバラツキを抑えて安定した密封性を確保することができる。   The base portion 106 b is formed in an arc surface having a predetermined radius of curvature r at a corner portion between the shoulder portion 104 e of the hub wheel 104 and the wheel mounting flange 106. Corresponding to this arc surface, the curved portion 112b of the metal ring 112 is formed of an arc surface having a predetermined curvature radius R, and the respective curvature radii R and r are set such that R ≧ r. Thus, when the metal ring 112 is fitted to the base portion 106b, the curved portion 112b of the metal ring 112 is prevented from interfering with the arc surface of the base portion 106b and rising. Therefore, a gap is prevented from being generated between the side surface 106c of the wheel mounting flange 106 and the disk portion 112c of the metal ring 112, and both are brought into close contact with each other, and the stable squeezing is suppressed by suppressing variations in the side lips 114a and 114b. Sex can be secured.

また、外方部材102のアウター側の端部外周に所定の傾斜角θ1からなるテーパ面102cが形成されている。一方、金属環112の傘部112dは、この外方部材102のテーパ面102cに対応して所定の傾斜角θ2が設けられ、端部に向って漸次拡径するテーパ状に形成されている。そして、テーパ面102cとの間に僅かな環状の隙間Aが形成され、ラビリンスシールが構成されている。傾斜角θ1、θ2は、略同一角度になるように15°〜30°の範囲に設定されると共に、隙間Aは0.05〜1.0mm(直径)の範囲に設定されている。   Further, a tapered surface 102c having a predetermined inclination angle θ1 is formed on the outer periphery of the outer end portion of the outer member 102. On the other hand, the umbrella portion 112d of the metal ring 112 has a predetermined inclination angle θ2 corresponding to the tapered surface 102c of the outer member 102, and is formed in a tapered shape that gradually increases in diameter toward the end portion. A slight annular gap A is formed between the tapered surface 102c and a labyrinth seal. The inclination angles θ1 and θ2 are set in a range of 15 ° to 30 ° so as to be substantially the same angle, and the gap A is set in a range of 0.05 to 1.0 mm (diameter).

このように、傘部112dの内周面と外方部材102のテーパ面102cとによって形成されたラビリンス効果により、シール108と金属環112との摺接部に泥水等が浸入するのを防止することができると共に、この僅かな隙間Aから金属環112の内部に泥水等が浸入したとしても、図中矢印にて示すように、金属環112の回転に伴う遠心力によって容易に外部に排出され、サイドリップ114a上に滞留することはない。したがって、泥水等がサイドリップ114aの摺接面に付着して摩耗するのを防止し、長期間に亘って安定した密封性を保持することができる(例えば、特許文献1参照。)。   Thus, the labyrinth effect formed by the inner peripheral surface of the umbrella portion 112d and the tapered surface 102c of the outer member 102 prevents muddy water or the like from entering the sliding contact portion between the seal 108 and the metal ring 112. In addition, even if muddy water or the like enters the inside of the metal ring 112 from the slight gap A, it is easily discharged to the outside by the centrifugal force accompanying the rotation of the metal ring 112 as shown by the arrow in the figure. , It does not stay on the side lip 114a. Therefore, muddy water or the like can be prevented from adhering to the sliding contact surface of the side lip 114a and being worn, and a stable sealing performance can be maintained over a long period of time (see, for example, Patent Document 1).

特開2010−032013号公報JP 2010-032013 A

然しながら、こうした従来の車輪用軸受装置のシール108では、ハブ輪104側から伝わってくる泥水が軸受内部に浸入するのを防止することができるが、外方部材102側から伝わってくる泥水に対しては、金属環112と外方部材102間のすきまから浸入する恐れがあり、長期間に亘って安定した密封性を保持するのは難しい。   However, the seal 108 of such a conventional wheel bearing device can prevent the muddy water transmitted from the hub wheel 104 side from entering the bearing, but the muddy water transmitted from the outer member 102 side can be prevented. Therefore, there is a risk of entering from the gap between the metal ring 112 and the outer member 102, and it is difficult to maintain a stable sealing property over a long period of time.

本発明は、このような事情に鑑みてなされたもので、シールの密封性能の向上を図り、軸受性能を長期間に亘って維持することができる車輪用軸受装置を提供することを目的としている。   This invention is made | formed in view of such a situation, and aims at the improvement of the sealing performance of a seal | sticker, and it aims at providing the wheel bearing apparatus which can maintain bearing performance over a long period of time. .

係る目的を達成すべく、本発明のうち請求項1記載の発明は、外周に懸架装置に取り付けられるための車体取付フランジを一体に有し、内周に複列の外側転走面が一体に形成された外方部材と、一端部に車輪を取り付けるための車輪取付フランジを一体に有し、外周に小径段部が形成されたハブ輪、およびこのハブ輪に嵌合された内輪または等速自在継手の外側継手部材からなり、外周に前記複列の外側転走面に対向する複列の内側転走面が形成された内方部材と、この内方部材と前記外方部材の両転走面間に保持器を介して転動自在に収容された複列の転動体と、前記外方部材と内方部材との間に形成される環状空間の両側開口部に装着されたシールとを備え、前記車輪取付フランジのインナー側の基部が円弧状に形成され、この基部に鋼板からプレス加工にて形成された金属環が嵌着されると共に、前記シールのうちアウター側のシールが、前記外方部材の端部内周に嵌合される芯金と、この芯金に加硫接着により一体に接合され、径方向外方に傾斜して延びるサイドリップと、軸受内方側に傾斜して延びるグリースリップとを有するシール部材からなり、このシール部材のサイドリップが前記金属環に摺接された車輪用軸受装置において、前記金属環が、前記ハブ輪の肩部に外嵌される円筒状の嵌合部と、前記基部の形状に対応して円弧状に形成された湾曲部と、この湾曲部から径方向外方に延び、前記車輪取付フランジのインナー側の側面に装着される円板部と、この円板部の外径部から前記車輪取付フランジに対して軸方向に離間し、径方向外方に傾斜して延びる傘部とを備え、この傘部の先端部にシール部材が加硫接着により一体に接合され、このシール部材が径方向内方に傾斜して延びるシールリップを一体に有し、前記外方部材の端部外周に摺接されている。   In order to achieve such an object, the invention according to claim 1 of the present invention has a vehicle body mounting flange integrally attached to the suspension on the outer periphery, and a double row outer rolling surface integrally on the inner periphery. A formed outer member and a hub wheel integrally having a wheel mounting flange for mounting a wheel at one end and a small-diameter stepped portion formed on the outer periphery, and an inner ring or a constant speed fitted to the hub ring An inner member comprising an outer joint member of a universal joint and having a double-row inner rolling surface facing the double-row outer rolling surface on the outer periphery, and both the inner member and the outer member. A double-row rolling element accommodated between the running surfaces via a cage, and a seal attached to both side openings of an annular space formed between the outer member and the inner member; The base portion on the inner side of the wheel mounting flange is formed in an arc shape, and the base portion is made of steel. A metal ring formed by press working is fitted, and the outer seal of the seals is fitted to the inner periphery of the end of the outer member, and the core is vulcanized. The seal member comprises a seal member having a side lip that is joined integrally by adhesion and that extends obliquely outward in the radial direction and a grease lip that extends obliquely inward of the bearing, and the side lip of the seal member is attached to the metal ring. In the wheel bearing device slidably contacted, the metal ring includes a cylindrical fitting portion that is fitted on a shoulder portion of the hub wheel, and a curved portion that is formed in an arc shape corresponding to the shape of the base portion. And a disc portion extending radially outward from the curved portion and attached to the inner side surface of the wheel mounting flange, and an axial direction from the outer diameter portion of the disc portion to the wheel mounting flange. An umbrella portion that is spaced apart and extends obliquely outward in the radial direction; A seal member is integrally joined to the tip of the umbrella portion by vulcanization adhesion, and the seal member integrally has a seal lip extending inwardly in the radial direction, and the outer periphery of the end of the outer member Is in sliding contact.

このように、車輪取付フランジのインナー側の基部が円弧状に形成され、この基部に鋼板からプレス加工にて形成された金属環が嵌着されると共に、アウター側のシールが、外方部材の端部内周に嵌合される芯金と、この芯金に一体に接合され、径方向外方に傾斜して延びるサイドリップと、軸受内方側に傾斜して延びるグリースリップとを有するシール部材からなり、このシール部材のサイドリップが金属環に摺接された車輪用軸受装置において、金属環が、ハブ輪の肩部に外嵌される円筒状の嵌合部と、基部の形状に対応して円弧状に形成された湾曲部と、この湾曲部から径方向外方に延び、車輪取付フランジのインナー側の側面に装着される円板部と、この円板部の外径部から車輪取付フランジに対して軸方向に離間し、径方向外方に傾斜して延びる傘部とを備え、この傘部の先端部にシール部材が加硫接着により一体に接合され、このシール部材が径方向内方に傾斜して延びるシールリップを一体に有し、外方部材の端部外周に摺接されているので、アウター側のシールと金属環との摺接部に泥水等が浸入するのを確実に防止することができ、泥水等がサイドリップの摺接面に付着して摩耗するのを防止することができると共に、シールの密封性能の向上を図り、軸受性能を長期間に亘って維持することができる車輪用軸受装置を提供することができる。   In this way, the base portion on the inner side of the wheel mounting flange is formed in an arc shape, and a metal ring formed by pressing from a steel plate is fitted to this base portion, and the seal on the outer side is attached to the outer member. Seal member having a metal core fitted to the inner periphery of the end, a side lip integrally joined to the metal core, extending obliquely outward in the radial direction, and a grease lip extending inclined toward the inner side of the bearing In the wheel bearing device in which the side lip of the seal member is slidably contacted with the metal ring, the metal ring corresponds to the shape of the cylindrical fitting portion and the base portion that are fitted on the shoulder portion of the hub wheel. A curved portion formed in an arc shape, a disc portion extending radially outward from the curved portion and mounted on the inner side surface of the wheel mounting flange, and a wheel from the outer diameter portion of the disc portion Separated axially from the mounting flange and radially outward An umbrella portion extending obliquely, a seal member is integrally joined to the tip portion of the umbrella portion by vulcanization adhesion, and this seal member integrally has a seal lip extending inwardly in the radial direction, Since the outer member is in sliding contact with the outer periphery of the end portion, it is possible to reliably prevent muddy water from entering the sliding contact portion between the outer seal and the metal ring. It is possible to provide a wheel bearing device that can prevent adhesion and wear on a contact surface, improve the sealing performance of the seal, and maintain the bearing performance for a long period of time.

好ましくは、請求項2に記載の発明のように、前記外方部材のアウター側の端部外周に所定の円弧面または所定の傾斜角からなるテーパ面が形成されると共に、前記傘部の先端部から径方向外方に突出して折曲部が形成され、この折曲部に前記シール部材が接合され、前記シールリップが前記外方部材の円弧面またはテーパ面に摺接されていれば、金属環の剛性を向上させると共に、金属環の寸法・形状精度を高めることができる。   Preferably, as in the invention according to claim 2, a predetermined arc surface or a tapered surface having a predetermined inclination angle is formed on the outer periphery of the outer end portion of the outer member, and the tip of the umbrella portion If the bent portion is formed projecting radially outward from the portion, the seal member is joined to the bent portion, and the seal lip is in sliding contact with the arc surface or the tapered surface of the outer member, While improving the rigidity of a metal ring, the dimension and shape precision of a metal ring can be improved.

また、請求項3に記載の発明のように、前記金属環のシール部材が露出する外表面を覆うように接合されていれば、シール部材の加硫性を容易にすることができると共に、金属環の耐腐食性を高めることができる。   Further, as in the invention according to claim 3, if the sealing member of the metal ring is joined so as to cover the exposed outer surface, the vulcanizability of the sealing member can be facilitated, and the metal Corrosion resistance of the ring can be increased.

また、請求項4に記載の発明のように、前記金属環のシール部材が、前記シールリップに加え、このシールリップの内径側に、さらに径方向内方に傾斜して延び、前記外方部材に摺接するシールリップを一体に有していれば、アウター側のシールの耐泥水性を高めることができる。   According to a fourth aspect of the present invention, in addition to the seal lip, the seal member of the metal ring extends to the inner diameter side of the seal lip and further inclines radially inward, and the outer member If the seal lip that is in sliding contact with the outer seal is integrally provided, the muddy water resistance of the outer seal can be increased.

また、請求項5に記載の発明のように、前記金属環のシールリップに予めグリースが塗布されていれば、軸受回転トルクを低減することができると共に、シールリップの耐摩耗性を向上させることができ、長期間に亘って安定した密封性を保持することができる。   Further, as in the fifth aspect of the present invention, if grease is previously applied to the seal lip of the metal ring, it is possible to reduce the bearing rotational torque and improve the wear resistance of the seal lip. And a stable sealing property can be maintained over a long period of time.

また、請求項6に記載の発明のように、前記外方部材のアウター側の端部外周に所定の円弧面が形成され、この円弧面が軸受中心Oを中心とする曲率半径に形成されると共に、前記金属環の傘部との間に僅かな環状の隙間が形成されてラビリンスを構成していれば、車両の旋回時に車軸が傾いた場合でも、環状の隙間が変化するのを抑制し、アウター側のシールと金属環との摺接部に泥水等が浸入するのを防止することができる。   In addition, as in the invention described in claim 6, a predetermined arc surface is formed on the outer periphery of the outer side end portion of the outer member, and the arc surface is formed with a radius of curvature centered on the bearing center O. In addition, if a slight annular gap is formed between the metal ring umbrella and the labyrinth, a change in the annular gap is suppressed even when the axle is tilted when the vehicle turns. Further, it is possible to prevent muddy water or the like from entering the sliding contact portion between the outer side seal and the metal ring.

また、請求項7に記載の発明のように、前記車輪取付フランジのインナー側の基部が所定の曲率半径rからなる円弧面に形成されると共に、この円弧面に対応して前記金属環の湾曲部が所定の曲率半径Rからなる円弧面に形成され、それぞれの曲率半径R、rがR≧rになるように設定されていれば、金属環を基部に嵌合した時に基部の円弧面に金属環の湾曲部が干渉して浮き上がるのを防止することができ、車輪取付フランジの側面と金属環の円板部との間に隙間が生じるのを防止することができる。これにより、両者が密着してサイドリップのシメシロのバラツキを抑え、安定した密封性を確保することができる。   Further, as in the invention according to claim 7, the base portion on the inner side of the wheel mounting flange is formed in an arc surface having a predetermined radius of curvature r, and the curve of the metal ring is corresponding to the arc surface. If the part is formed on a circular arc surface having a predetermined radius of curvature R and each of the curvature radii R and r is set to satisfy R ≧ r, the metal ring is fitted to the base part when the metal ring is fitted to the base part. It is possible to prevent the curved portion of the metal ring from interfering and floating, and to prevent a gap from being generated between the side surface of the wheel mounting flange and the disk portion of the metal ring. As a result, both can be in close contact with each other to suppress the unevenness of the side lip and to ensure stable sealing.

また、請求項8に記載の発明のように、前記金属環の円板部から傘部に亙って弾性部材が加硫接着によって一体に接合され、前記車輪取付フランジのインナー側の側面に弾性接触されていれば、車輪取付フランジの側面と金属環の円板部との間から異物が浸入するのを防止して基部および金属環の装着部の発錆を長期間に亘って防止することができる。   Further, as in the invention described in claim 8, the elastic member is integrally joined by vulcanization bonding from the disk portion of the metal ring to the umbrella portion, and elastically applied to the inner side surface of the wheel mounting flange. If contacted, prevent foreign matter from entering from between the side surface of the wheel mounting flange and the disk part of the metal ring, and prevent rusting of the base part and the metal ring mounting part for a long period of time. Can do.

本発明に係る車輪用軸受装置は、外周に懸架装置に取り付けられるための車体取付フランジを一体に有し、内周に複列の外側転走面が一体に形成された外方部材と、一端部に車輪を取り付けるための車輪取付フランジを一体に有し、外周に小径段部が形成されたハブ輪、およびこのハブ輪に嵌合された内輪または等速自在継手の外側継手部材からなり、外周に前記複列の外側転走面に対向する複列の内側転走面が形成された内方部材と、この内方部材と前記外方部材の両転走面間に保持器を介して転動自在に収容された複列の転動体と、前記外方部材と内方部材との間に形成される環状空間の両側開口部に装着されたシールとを備え、前記車輪取付フランジのインナー側の基部が円弧状に形成され、この基部に鋼板からプレス加工にて形成された金属環が嵌着されると共に、前記シールのうちアウター側のシールが、前記外方部材の端部内周に嵌合される芯金と、この芯金に加硫接着により一体に接合され、径方向外方に傾斜して延びるサイドリップと、軸受内方側に傾斜して延びるグリースリップとを有するシール部材からなり、このシール部材のサイドリップが前記金属環に摺接された車輪用軸受装置において、前記金属環が、前記ハブ輪の肩部に外嵌される円筒状の嵌合部と、前記基部の形状に対応して円弧状に形成された湾曲部と、この湾曲部から径方向外方に延び、前記車輪取付フランジのインナー側の側面に装着される円板部と、この円板部の外径部から前記車輪取付フランジに対して軸方向に離間し、径方向外方に傾斜して延びる傘部とを備え、この傘部の先端部にシール部材が加硫接着により一体に接合され、このシール部材が径方向内方に傾斜して延びるシールリップを一体に有し、前記外方部材の端部外周に摺接されているので、アウター側のシールと金属環との摺接部に泥水等が浸入するのを確実に防止することができ、泥水等がサイドリップの摺接面に付着して摩耗するのを防止することができると共に、シールの密封性能の向上を図り、軸受性能を長期間に亘って維持することができる車輪用軸受装置を提供することができる。   A wheel bearing device according to the present invention has an outer member integrally formed with a vehicle body mounting flange for mounting to a suspension device on the outer periphery, and an outer member formed integrally with a double row outer rolling surface on the inner periphery, and one end A hub ring integrally having a wheel mounting flange for mounting a wheel on the part, and a outer ring member of an inner ring or a constant velocity universal joint fitted to the hub ring, and a small-diameter stepped portion formed on the outer periphery, An inner member in which a double row inner rolling surface facing the outer rolling surface of the double row is formed on the outer periphery, and a cage is provided between both rolling surfaces of the inner member and the outer member. A plurality of rolling elements accommodated in a freely rolling manner, and seals attached to both side openings of an annular space formed between the outer member and the inner member; The base on the side is formed in an arc shape, and this base is formed by pressing from a steel plate. A metal ring is fitted, and a seal on the outer side of the seal is integrally joined to a core metal fitted to an inner periphery of an end of the outer member by vulcanization adhesion, A wheel bearing comprising a seal member having a side lip extending obliquely outward in the radial direction and a grease lip extending inclined toward the inner side of the bearing, wherein the side lip of the seal member is in sliding contact with the metal ring. In the apparatus, the metal ring includes a cylindrical fitting portion that is fitted on a shoulder portion of the hub wheel, a curved portion formed in an arc shape corresponding to the shape of the base portion, and a diameter from the curved portion. A disk part that extends outward in the direction and is mounted on the inner side surface of the wheel mounting flange, and is axially spaced from the outer diameter part of the disk part with respect to the wheel mounting flange. And an umbrella portion extending at an angle to the tip of the umbrella portion. The seal member is integrally joined by vulcanization adhesion, and the seal member integrally has a seal lip extending inwardly in the radial direction, and is in sliding contact with the outer periphery of the end portion of the outer member. Muddy water or the like can be reliably prevented from entering the sliding contact portion between the outer side seal and the metal ring, and muddy water can be prevented from adhering to the sliding surface of the side lip and wearing away. In addition, it is possible to provide a wheel bearing device capable of improving the sealing performance of the seal and maintaining the bearing performance over a long period of time.

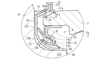
本発明に係る車輪用軸受装置の第1の実施形態を示す縦断面図である。It is a longitudinal section showing a 1st embodiment of a bearing device for wheels concerning the present invention. 図1のシール部を示す要部拡大図である。It is a principal part enlarged view which shows the seal part of FIG. 図2のシールの変形例を示す要部拡大図である。It is a principal part enlarged view which shows the modification of the seal | sticker of FIG. 同上、図2のシールの他の変形例を示す要部拡大図である。FIG. 9 is an enlarged view of the main part showing another modification of the seal of FIG. 同上、図2のシールの他の変形例を示す要部拡大図である。FIG. 9 is an enlarged view of the main part showing another modification of the seal of FIG. 同上、図2のシールの他の変形例を示す要部拡大図である。FIG. 9 is an enlarged view of the main part showing another modification of the seal of FIG. 同上、図2のシールの他の変形例を示す要部拡大図である。FIG. 9 is an enlarged view of the main part showing another modification of the seal of FIG. 本発明に係る車輪用軸受装置の第2の実施形態を示す縦断面図である。It is a longitudinal cross-sectional view which shows 2nd Embodiment of the wheel bearing apparatus which concerns on this invention. 図8のシール部を示す要部拡大図である。It is a principal part enlarged view which shows the seal part of FIG. 図9のシールの変形例を示す要部拡大図である。It is a principal part enlarged view which shows the modification of the seal | sticker of FIG. 同上、図9のシールの他の変形例を示す要部拡大図である。FIG. 10 is an enlarged view of a main part showing another modified example of the seal of FIG. 同上、図9のシールの他の変形例を示す要部拡大図である。FIG. 10 is an enlarged view of a main part showing another modified example of the seal of FIG. 同上、図9のシールの他の変形例を示す要部拡大図である。FIG. 10 is an enlarged view of a main part showing another modified example of the seal of FIG. 同上、図9のシールの他の変形例を示す要部拡大図である。FIG. 10 is an enlarged view of a main part showing another modified example of the seal of FIG. 同上、図9のシールの他の変形例を示す要部拡大図である。FIG. 10 is an enlarged view of a main part showing another modified example of the seal of FIG. 同上、図9のシールの他の変形例を示す要部拡大図である。FIG. 10 is an enlarged view of a main part showing another modified example of the seal of FIG. 同上、図9のシールの他の変形例を示す要部拡大図である。FIG. 10 is an enlarged view of a main part showing another modified example of the seal of FIG. 同上、図9のシールの他の変形例を示す要部拡大図である。FIG. 10 is an enlarged view of a main part showing another modified example of the seal of FIG. 従来の車輪用軸受装置の密封装置を示す要部拡大図である。It is a principal part enlarged view which shows the sealing device of the conventional wheel bearing apparatus.

外周に懸架装置に取り付けられるための車体取付フランジを一体に有し、内周に複列の外側転走面が一体に形成された外方部材と、一端部に車輪を取り付けるための車輪取付フランジを一体に有し、外周に前記複列の外側転走面の一方に対向する内側転走面と、この内側転走面から軸方向に延びる小径段部が形成されたハブ輪、およびこのハブ輪に所定のシメシロを介して圧入され、外周に前記複列の外側転走面の他方に対向する内側転走面が形成された内輪からなる内方部材と、この内方部材と前記外方部材の両転走面間に保持器を介して転動自在に収容された複列の転動体と、前記外方部材と内方部材とで形成される環状空間の開口部に装着されたシールとを備え、前記車輪取付フランジのインナー側の基部が円弧状に形成され、この基部に鋼板からプレス加工にて形成された金属環が嵌着されると共に、前記シールのうちアウター側のシールが、前記外方部材の端部内周に嵌合される芯金と、この芯金に一体に接合され、径方向外方に傾斜して延びるサイドリップと、軸受内方側に傾斜して延びるグリースリップを有するシール部材からなり、このシール部材のサイドリップが前記金属環に摺接された車輪用軸受装置において、前記外方部材のアウター側の端部外周に所定の傾斜角からなるテーパ面が形成されると共に、前記金属環が、前記ハブ輪の肩部に外嵌される円筒状の嵌合部と、前記基部の形状に対応して円弧状に形成された湾曲部と、この湾曲部から径方向外方に延び、前記車輪取付フランジのインナー側の側面に装着される円板部と、この円板部の外径部から前記車輪取付フランジに対して軸方向に離間し、径方向外方に傾斜して延びる傘部と、この傘部の先端部から径方向外方に突出して形成された折曲部を備え、この折曲部にシール部材が加硫接着により一体に接合され、このシール部材が径方向内方に傾斜して延びるシールリップを一体に有し、前記外方部材のテーパ面に摺接されている。   An outer member integrally having a vehicle body mounting flange to be attached to the suspension device on the outer periphery, a double row outer rolling surface formed integrally on the inner periphery, and a wheel mounting flange for attaching a wheel to one end And a hub wheel in which an inner rolling surface facing one of the double row outer rolling surfaces and a small-diameter step portion extending in the axial direction from the inner rolling surface are formed on the outer periphery, and the hub An inner member formed of an inner ring that is press-fitted into a ring through a predetermined squeeze and has an inner rolling surface that faces the other of the outer rolling surfaces of the double row on the outer periphery, and the inner member and the outer A seal attached to an opening portion of an annular space formed by a double row rolling element that is rotatably accommodated between both rolling surfaces of the member via a cage, and the outer member and the inner member. And a base portion on the inner side of the wheel mounting flange is formed in an arc shape. A metal ring formed by pressing from a steel plate is fitted on the outer side of the seal, and a core metal fitted to the inner periphery of the end of the outer member, and the core metal The seal member has a side lip that is integrally joined and extends to incline radially outward and a grease lip that inclines and extends inward of the bearing, and the side lip of the seal member is in sliding contact with the metal ring. In the wheel bearing device according to the present invention, a tapered surface having a predetermined inclination angle is formed on the outer periphery of the outer end of the outer member, and the metal ring is externally fitted to the shoulder of the hub wheel. A fitting portion, a curved portion formed in an arc shape corresponding to the shape of the base portion, and a circle extending radially outward from the curved portion and attached to the inner side surface of the wheel mounting flange From the plate part and the outer diameter part of this disk part An umbrella portion that is axially spaced from the wheel mounting flange and extends obliquely outward in the radial direction, and a bent portion that protrudes radially outward from the tip portion of the umbrella portion. A sealing member is integrally joined to the curved portion by vulcanization bonding, and this sealing member integrally has a sealing lip extending inclining radially inward, and is in sliding contact with the tapered surface of the outer member.

以下、本発明の実施の形態を図面に基づいて詳細に説明する。
図1は、本発明に係る車輪用軸受装置の第1の実施形態を示す縦断面図、図2は、図1のシール部を示す要部拡大図、図3は、図2のシールの変形例を示す要部拡大図、図4〜7は、図2のシールの他の変形例を示す要部拡大図である。なお、以下の説明では、車両に組み付けた状態で車両の外側寄りとなる側をアウター側(図1の左側)、中央寄り側をインナー側(図1の右側)という。
Hereinafter, embodiments of the present invention will be described in detail with reference to the drawings.
1 is a longitudinal sectional view showing a first embodiment of a wheel bearing device according to the present invention, FIG. 2 is an enlarged view of a main part showing a seal part of FIG. 1, and FIG. 3 is a modification of the seal of FIG. The principal part enlarged view which shows an example, FIGS. 4-7 is a principal part enlarged view which shows the other modification of the seal | sticker of FIG. In the following description, the side closer to the outer side of the vehicle when assembled to the vehicle is referred to as the outer side (left side in FIG. 1), and the side closer to the center is referred to as the inner side (right side in FIG. 1).

図1に示す車輪用軸受装置は第3世代と呼称される駆動輪用であって、内方部材1と、この内方部材1に複列の転動体(ボール)3を介して外挿された外方部材2とを備えている。内方部材1は、ハブ輪4と、このハブ輪4に固定された内輪5とからなる。   The wheel bearing device shown in FIG. 1 is for a drive wheel called a third generation, and is externally inserted into the inner member 1 and the inner member 1 through double-row rolling elements (balls) 3. The outer member 2 is provided. The inner member 1 includes a hub ring 4 and an inner ring 5 fixed to the hub ring 4.

ハブ輪4は、アウター側の端部に車輪(図示せず)を取り付けるための車輪取付フランジ6を一体に有し、外周に一方(アウター側)の内側転走面4aと、この内側転走面4aから軸方向に延びる小径段部4bが形成され、内周にトルク伝達用のセレーション(またはスプライン)4cが形成されている。車輪取付フランジ6にはハブボルト6aが周方向等配に植設されている。内輪5は、外周に他方(インナー側)の内側転走面5aが形成されると共に、ハブ輪4の小径段部4bに所定のシメシロを介して圧入され、小径段部4bの端部を径方向外方に塑性変形させて形成した加締部4dによって所定の軸受予圧が付与された状態でハブ輪4に対して軸方向に固定されている。   The hub wheel 4 integrally has a wheel mounting flange 6 for mounting a wheel (not shown) at an end portion on the outer side, and has one (outer side) inner rolling surface 4a on the outer periphery and the inner rolling surface. A small diameter step 4b extending in the axial direction from the surface 4a is formed, and a serration (or spline) 4c for torque transmission is formed on the inner periphery. Hub bolts 6a are planted on the wheel mounting flange 6 at equal intervals in the circumferential direction. The inner ring 5 is formed with the other (inner side) inner rolling surface 5a on the outer periphery, and is press-fitted into the small-diameter step portion 4b of the hub wheel 4 through a predetermined shimoshiro, and the end portion of the small-diameter step portion 4b has a diameter. A predetermined bearing preload is applied to the hub wheel 4 in the axial direction by a caulking portion 4d formed by plastic deformation outward in the direction.

ハブ輪4はS53C等の炭素0.40〜0.80wt%を含む中高炭素鋼で形成され、車輪取付フランジ6のインナー側の基部6bから小径段部4bに亙って高周波焼入れによって表面硬さを58〜64HRCの範囲に硬化処理されている。なお、加締部4dは鍛造加工後の表面硬さのままで未焼入れ部とされている。これにより、車輪取付フランジ6に負荷される回転曲げ荷重に対して充分な機械的強度を有し、内輪5の嵌合部となる小径段部4bの耐フレッティング性が向上すると共に、加締加工によって加締部4dに微小クラック等が発生するのを防止している。   The hub wheel 4 is made of medium and high carbon steel containing 0.40 to 0.80 wt% of carbon such as S53C, and has a surface hardness by induction quenching from the base 6b on the inner side of the wheel mounting flange 6 to the small diameter step 4b. Is cured in the range of 58 to 64 HRC. The caulking portion 4d is an unquenched portion with the surface hardness after forging. This has sufficient mechanical strength against the rotational bending load applied to the wheel mounting flange 6, improves the fretting resistance of the small-diameter stepped portion 4b serving as the fitting portion of the inner ring 5, and performs caulking. A micro crack or the like is prevented from occurring in the caulking portion 4d due to the processing.

外方部材2は、外周にナックル(図示せず)に取り付けられるための車体取付フランジ2bを一体に有し、内周に内方部材1の複列の内側転走面4a、5aに対向する複列の外側転走面2a、2aが一体に形成されている。この外方部材2はS53C等の炭素0.40〜0.80wt%を含む中高炭素鋼で形成され、少なくとも複列の外側転走面2a、2aが高周波焼入れによって表面硬さを58〜64HRCの範囲に硬化処理されている。そして、外方部材2と内方部材1の両転走面間に複列の転動体3、3が収容され、保持器7、7によって転動自在に保持されて背面合せタイプの複列アンギュラ玉軸受を構成している。なお、内輪5および転動体3はSUJ2等の高炭素クロム鋼で形成され、ズブ焼入れによって芯部まで58〜64HRCの範囲に硬化処理されている。   The outer member 2 integrally has a vehicle body mounting flange 2b to be attached to a knuckle (not shown) on the outer periphery, and faces the double row inner rolling surfaces 4a and 5a of the inner member 1 on the inner periphery. Double row outer rolling surfaces 2a, 2a are integrally formed. The outer member 2 is formed of medium-high carbon steel containing 0.40 to 0.80 wt% of carbon such as S53C, and at least the double row outer rolling surfaces 2a and 2a have a surface hardness of 58 to 64 HRC by induction hardening. Hardened to range. And the double row rolling elements 3 and 3 are accommodated between both rolling surfaces of the outer member 2 and the inner member 1, and are held by the cages 7 and 7 so as to roll freely. It constitutes a ball bearing. The inner ring 5 and the rolling element 3 are made of high carbon chrome steel such as SUJ2, and are hardened in the range of 58 to 64 HRC to the core part by quenching.

また、外方部材2と内方部材1との間に形成される環状空間の開口部にはシール8、9が装着されている。これらのシール8、9によって、軸受内部に封入されたグリースの外部への漏洩と、外部から雨水やダスト等が軸受内部に浸入するのを防止している。インナー側シール9は、断面が略L字状をなして互いに対向配置された環状のシール板10とスリンガ11とからなる、所謂パックシールを構成している。   Further, seals 8 and 9 are attached to the opening of the annular space formed between the outer member 2 and the inner member 1. These seals 8 and 9 prevent the grease sealed inside the bearing from leaking outside and preventing rainwater, dust, and the like from entering the bearing from the outside. The inner side seal 9 constitutes a so-called pack seal composed of an annular seal plate 10 and a slinger 11 which are substantially L-shaped in cross section and arranged to face each other.

ここで、本実施形態では、車輪取付フランジ6のインナー側の基部6bに金属環12が嵌着され、アウター側のシール8は、この金属環12に摺接するように配設されている。シール8は、図2に拡大して示すように、外方部材2のアウター側の端部内周に嵌合される芯金13と、この芯金13に加硫接着等により一体に接合されたシール部材14とからなる。芯金13は、オーステナイト系ステンレス鋼板(JIS規格のSUS304系等)、あるいは、防錆処理された冷間圧延鋼板(JIS規格のSPCC系等)からプレス加工にて断面が略コの字状に形成されている。   Here, in the present embodiment, the metal ring 12 is fitted to the inner side base portion 6 b of the wheel mounting flange 6, and the outer side seal 8 is disposed so as to be in sliding contact with the metal ring 12. As shown in an enlarged view in FIG. 2, the seal 8 is integrally joined to the core bar 13 fitted to the inner periphery of the outer end of the outer member 2 by vulcanization bonding or the like. And a seal member 14. The core 13 is made of an austenitic stainless steel plate (JIS standard SUS304, etc.) or a rust-proof cold-rolled steel plate (JIS standard SPCC, etc.), and the cross section is substantially U-shaped by pressing. Is formed.

一方、シール部材14は、芯金13の外周部に接合され、径方向外方に傾斜して延びる一対のサイドリップ14a、14bと、芯金13の内縁部に接合され、軸受内方側に傾斜して延びるグリースリップ14cを有している。これらのサイドリップ14a、14bおよびグリースリップ14cは、車輪取付フランジ6のインナー側の基部6bに嵌着された金属環12に摺接されている。なお、芯金13の嵌合部にはシール部材14が回り込んで接合され、外方部材2と芯金13との嵌合部から泥水等の異物が軸受内部に浸入するのを防止している。   On the other hand, the seal member 14 is joined to the outer peripheral portion of the cored bar 13 and joined to the pair of side lips 14a and 14b extending obliquely outward in the radial direction and the inner edge part of the cored bar 13, and to the bearing inner side. It has a grease lip 14c extending in an inclined manner. These side lips 14 a and 14 b and the grease lip 14 c are in sliding contact with the metal ring 12 fitted to the base portion 6 b on the inner side of the wheel mounting flange 6. The seal member 14 is wrapped around and joined to the fitting portion of the core metal 13 to prevent foreign matter such as muddy water from entering the bearing from the fitting portion of the outer member 2 and the core metal 13. Yes.

金属環12は、耐食性を有する鋼板、例えば、オーステナイト系ステンレス鋼板、あるいは、防錆処理された冷間圧延鋼板からプレス加工にて形成され、ハブ輪4の肩部4eに外嵌される円筒状の嵌合部12aと、円弧状に形成された基部6bに対応して円弧状に形成された湾曲部12bと、この湾曲部12bから径方向外方に延び、車輪取付フランジ6のインナー側の側面6cに密着(装着)される円板部12cと、この円板部12cの外径部から車輪取付フランジ6に対して軸方向に離間し、傾斜して延びる傘部12dと、この傘部12dから径方向外方に突出して形成された折曲部12eを備えている。この折曲部12eは、金属環12の剛性を向上させるために設けられたもので、金属環12の寸法・形状精度を高めることができる。   The metal ring 12 is formed from a steel plate having corrosion resistance, for example, an austenitic stainless steel plate, or a cold-rolled steel plate that has been rust-proofed by pressing, and is a cylindrical shape that is externally fitted to the shoulder 4e of the hub ring 4. A fitting portion 12a, a curved portion 12b formed in an arc shape corresponding to the base portion 6b formed in an arc shape, and extending radially outward from the curved portion 12b, on the inner side of the wheel mounting flange 6 A disc portion 12c that is in close contact with (attached to) the side surface 6c, an umbrella portion 12d that extends from the outer diameter portion of the disc portion 12c in the axial direction with respect to the wheel mounting flange 6, and that extends at an angle, and the umbrella portion A bent portion 12e is formed so as to protrude radially outward from 12d. The bent portion 12e is provided in order to improve the rigidity of the metal ring 12, and can improve the dimensional and shape accuracy of the metal ring 12.

なお、この金属環12は、素材となる鋼板の表面粗さがRa0.2〜0.6の範囲に設定されている。これにより、良好なシール摺接面を得ることができ、リップ摩耗を抑制すると共に、劣悪な環境で使用されても、シール8の密封性能の維持を図ることができる。なお、Raは、JISの粗さ形状パラメータの一つで(JIS B0601−1994)、算術平均粗さのことで、平均線から絶対値偏差の平均値を言う。   In addition, as for this metal ring 12, the surface roughness of the steel plate used as a raw material is set to the range of Ra0.2-0.6. Thereby, a favorable seal sliding contact surface can be obtained, lip wear can be suppressed, and the sealing performance of the seal 8 can be maintained even when used in a poor environment. Note that Ra is one of JIS roughness shape parameters (JIS B0601-1994), and is an arithmetic average roughness, which means an average value of absolute value deviations from an average line.

基部6bは、ハブ輪4の肩部4eと車輪取付フランジ6のインナー側の側面6cとの間の角部に所定の曲率半径rからなる円弧面に形成されている。そして、この円弧面に対応して、金属環12の湾曲部12bは所定の曲率半径Rからなる円弧面からなり、それぞれの曲率半径R、rがR≧rになるように設定されている。これにより、金属環12を基部6bに嵌合した時に基部6bの円弧面に金属環12の湾曲部12bが干渉して浮き上がるのを防止している。したがって、車輪取付フランジ6の側面6cと金属環12の円板部12cとの間に隙間が生じるのが防止されて両者が密着し、サイドリップ14a、14bのシメシロのバラツキを抑えて安定した密封性を確保することができる。   The base portion 6 b is formed in an arc surface having a predetermined radius of curvature r at a corner portion between the shoulder portion 4 e of the hub wheel 4 and the inner side surface 6 c of the wheel mounting flange 6. Corresponding to the arc surface, the curved portion 12b of the metal ring 12 is formed of an arc surface having a predetermined radius of curvature R, and the respective curvature radii R and r are set such that R ≧ r. Thereby, when the metal ring 12 is fitted to the base portion 6b, the curved portion 12b of the metal ring 12 is prevented from interfering with the arc surface of the base portion 6b and rising. Therefore, a gap is prevented from being generated between the side surface 6c of the wheel mounting flange 6 and the disk portion 12c of the metal ring 12, and the both are brought into close contact with each other, and the stable sealing is achieved by suppressing variations in the side lips 14a and 14b. Sex can be secured.

また、本実施形態では、金属環12の円板部12cから傘部12dに亙って合成ゴム等からなる弾性部材(パッキン)15が加硫接着によって一体に接合されている。そして、車輪取付フランジ6の側面6cに弾性接触されている。これにより、車輪取付フランジ6の側面6cと金属環12の円板部12cとの間から異物が浸入するのを防止して基部6bおよび金属環12の装着部の発錆を長期間に亘って防止することができる。   Moreover, in this embodiment, the elastic member (packing) 15 which consists of synthetic rubber etc. is integrally joined by the vulcanization adhesion ranging from the disc part 12c of the metal ring 12 to the umbrella part 12d. And it is in elastic contact with the side surface 6 c of the wheel mounting flange 6. This prevents foreign matter from entering from between the side surface 6c of the wheel mounting flange 6 and the disc portion 12c of the metal ring 12, and rusting of the mounting portion of the base portion 6b and the metal ring 12 over a long period of time. Can be prevented.

ここで、外方部材2のアウター側の端部外周に所定の傾斜角θ3からなるテーパ面16が形成されている。一方、金属環12の傘部12dは、この外方部材2のテーパ面16に対応して所定の傾斜角θ4が設けられ、折曲部12eに向って漸次拡径するテーパ状に形成され、金属環12の折曲部12eに合成ゴム等からなるシール部材17が加硫接着によって一体に接合されている。そして、このシール部材17は径方向内方に傾斜して延び、外方部材2のテーパ面16に摺接するシールリップ17aを一体に有している。なお、傾斜角θ3、θ4は、略同一角度になるように15°〜30°の範囲に設定されている。   Here, a tapered surface 16 having a predetermined inclination angle θ3 is formed on the outer periphery of the outer end portion of the outer member 2. On the other hand, the umbrella portion 12d of the metal ring 12 is provided with a predetermined inclination angle θ4 corresponding to the tapered surface 16 of the outer member 2, and is formed in a tapered shape that gradually increases in diameter toward the bent portion 12e. A seal member 17 made of synthetic rubber or the like is integrally joined to the bent portion 12e of the metal ring 12 by vulcanization adhesion. The seal member 17 extends inward in the radial direction and integrally includes a seal lip 17 a that is in sliding contact with the tapered surface 16 of the outer member 2. The inclination angles θ3 and θ4 are set in a range of 15 ° to 30 ° so as to be substantially the same angle.

このように、金属環12に接合されたシール部材17のシールリップ17aが外方部材2のテーパ面16に摺接されていることにより、シール8と金属環12との摺接部に泥水等が浸入するのを確実に防止することができ、泥水等がサイドリップ14aの摺接面に付着して摩耗するのを防止し、長期間に亘って安定した密封性を保持することができる。   In this way, the seal lip 17a of the seal member 17 joined to the metal ring 12 is in sliding contact with the tapered surface 16 of the outer member 2, so that muddy water or the like is formed in the sliding contact portion between the seal 8 and the metal ring 12. Can be reliably prevented from entering, muddy water or the like can be prevented from adhering to the sliding contact surface of the side lip 14a and worn, and a stable sealing performance can be maintained over a long period of time.

なお、ここでは、車輪用軸受装置として従動輪側の第3世代構造を例示したが、本発明に係る車輪用軸受装置はこれに限らず、適用可能な構造であれば第2世代あるいは第4世代であっても良い。さらに、本実施形態では、転動体3にボールを使用した複列アンギュラ玉軸受で構成されたものを例示したが、無論これに限らず、転動体に円錐ころを使用した複列円錐ころ軸受で構成されていても良い。   Here, the third generation structure on the driven wheel side is exemplified as the wheel bearing device, but the wheel bearing device according to the present invention is not limited to this, and the second generation or the fourth generation is applicable as long as the structure is applicable. It may be a generation. Furthermore, in the present embodiment, an example of a double-row angular contact ball bearing using balls as the rolling elements 3 is illustrated, but it is not limited to this, and a double-row tapered roller bearing using tapered rollers as the rolling elements is used. It may be configured.

図3に変形例を示す。この実施形態は基本的には前述した実施形態(図2)のシール部材17の構成が異なるだけで、その他同一部品同一部位あるいは同様の機能を有する部品や部位には同じ符号を付して詳細な説明を省略する。   FIG. 3 shows a modification. This embodiment is basically the same as the above-described embodiment (FIG. 2) except that the configuration of the seal member 17 is different, and other parts and parts having the same parts or parts having the same functions are denoted by the same reference numerals. The detailed explanation is omitted.

金属環12は、前述した実施形態と同様、ハブ輪4の肩部4eに外嵌される円筒状の嵌合部12aと、円弧状に形成された基部6bに対応して円弧状に形成された湾曲部12bと、この湾曲部12bから径方向外方に延び、車輪取付フランジ6のインナー側の側面6cに密着される円板部12cと、この円板部12cの外径部から車輪取付フランジ6に対して軸方向に離間し、傾斜して延びる傘部12dと、この傘部12dから径方向外方に突出して形成された折曲部12eとを備えている。そして、折曲部12eに合成ゴム等からなるシール部材18が加硫接着によって一体に接合され、径方向内方に傾斜して延び、外方部材2のテーパ面16に摺接するシールリップ17aを一体に有している。   The metal ring 12 is formed in an arc shape corresponding to the cylindrical fitting portion 12a fitted on the shoulder portion 4e of the hub wheel 4 and the base portion 6b formed in an arc shape, as in the embodiment described above. A curved portion 12b, a disk portion 12c extending radially outward from the curved portion 12b and in close contact with the inner side surface 6c of the wheel mounting flange 6, and a wheel mounting from the outer diameter portion of the disk portion 12c. An umbrella portion 12d that is spaced apart from the flange 6 in the axial direction and extends in an inclined manner, and a bent portion 12e that protrudes radially outward from the umbrella portion 12d are provided. Then, a sealing member 18 made of synthetic rubber or the like is integrally joined to the bent portion 12e by vulcanization adhesion, and a sealing lip 17a that extends inwardly in the radial direction and slidably contacts the tapered surface 16 of the outer member 2 is provided. It has one.

ここで、シール部材18は、金属環12の折曲部12eの露出する外表面を覆うように接合されている。これにより、シール部材18の加硫性を容易にすることができると共に、折曲部12eの耐腐食性を高めることができる。   Here, the seal member 18 is joined so as to cover the exposed outer surface of the bent portion 12 e of the metal ring 12. Thereby, while being able to make the vulcanization property of the sealing member 18 easy, the corrosion resistance of the bending part 12e can be improved.

図4に他の変形例を示す。この実施形態は基本的には前述した実施形態(図2)のシール部材17の構成が一部異なるだけで、その他同一部品同一部位あるいは同様の機能を有する部品や部位には同じ符号を付して詳細な説明を省略する。   FIG. 4 shows another modification. In this embodiment, basically only the configuration of the seal member 17 of the above-described embodiment (FIG. 2) is partially different, and the same reference numerals are given to the same parts or parts having the same functions or parts having the same functions. Detailed description is omitted.

金属環12は、前述した実施形態と同様、ハブ輪4の肩部4eに外嵌される円筒状の嵌合部12aと、円弧状に形成された基部6bに対応して円弧状に形成された湾曲部12bと、この湾曲部12bから径方向外方に延び、車輪取付フランジ6のインナー側の側面6cに密着される円板部12cと、この円板部12cの外径部から車輪取付フランジ6に対して軸方向に離間し、傾斜して延びる傘部12dと、この傘部12dから径方向外方に突出して形成された折曲部12eとを備えている。そして、折曲部12eに合成ゴム等からなるシール部材19が加硫接着によって一体に接合され、径方向内方に傾斜して延び、外方部材2のテーパ面16に摺接するシールリップ17aを一体に有している。   The metal ring 12 is formed in an arc shape corresponding to the cylindrical fitting portion 12a fitted on the shoulder portion 4e of the hub wheel 4 and the base portion 6b formed in an arc shape, as in the embodiment described above. A curved portion 12b, a disk portion 12c extending radially outward from the curved portion 12b and in close contact with the inner side surface 6c of the wheel mounting flange 6, and a wheel mounting from the outer diameter portion of the disk portion 12c. An umbrella portion 12d that is spaced apart from the flange 6 in the axial direction and extends in an inclined manner, and a bent portion 12e that protrudes radially outward from the umbrella portion 12d are provided. Then, a sealing member 19 made of synthetic rubber or the like is integrally joined to the bent portion 12e by vulcanization adhesion, and a sealing lip 17a that extends inwardly in the radial direction and slidably contacts the tapered surface 16 of the outer member 2 is provided. It has one.

ここで、シール部材19は、シールリップ17aに加え、このシールリップ17aの内径側に、さらに径方向内方に傾斜して延び、外方部材2のテーパ面16に摺接するシールリップ19aを一体に有している。これにより、シール8の耐泥水性を高めることができる。   Here, in addition to the seal lip 17a, the seal member 19 extends further inwardly in the radial direction on the inner diameter side of the seal lip 17a, and the seal lip 19a that is in sliding contact with the tapered surface 16 of the outer member 2 is integrated. Have. Thereby, the mud water resistance of the seal 8 can be increased.

図5に他の変形例を示す。この実施形態は基本的には前述した実施形態(図2)の金属環の構成が一部異なるだけで、その他同一部品同一部位あるいは同様の機能を有する部品や部位には同じ符号を付して詳細な説明を省略する。   FIG. 5 shows another modification. In this embodiment, basically, the structure of the metal ring of the above-described embodiment (FIG. 2) is only partially different, and the same parts are denoted by the same reference numerals for the same parts or parts having the same functions. Detailed description is omitted.

金属環12’は、ハブ輪4の肩部4eに外嵌される円筒状の嵌合部12aと、円弧状に形成された基部6bに対応して円弧状に形成された湾曲部12bと、この湾曲部12bから径方向外方に延び、車輪取付フランジ6のインナー側の側面6cに密着される円板部12cと、この円板部12cの外径部から車輪取付フランジ6に対して軸方向に離間し、傾斜して延びる傘部12dとを備えている。そして、この傘部12dに合成ゴム等からなるシール部材20が加硫接着によって一体に接合され、径方向内方に傾斜して延び、外方部材2のテーパ面16に摺接するシールリップ20aを一体に有している。   The metal ring 12 ′ includes a cylindrical fitting portion 12 a that is externally fitted to the shoulder portion 4 e of the hub wheel 4, a curved portion 12 b that is formed in an arc shape corresponding to the base portion 6 b that is formed in an arc shape, A disc portion 12c that extends radially outward from the curved portion 12b and is in close contact with the side surface 6c on the inner side of the wheel mounting flange 6, and a shaft with respect to the wheel mounting flange 6 from the outer diameter portion of the disc portion 12c. And an umbrella portion 12d extending in an inclined manner. Then, a sealing member 20 made of synthetic rubber or the like is integrally joined to the umbrella portion 12d by vulcanization bonding, extends in a radially inward direction, and has a sealing lip 20a slidably contacting the tapered surface 16 of the outer member 2. It has one.

ここで、シール部材20は、金属環12’の傘部12dの露出する外表面を覆うように接合されている。これにより、金属環12’の成形性とシール部材20の加硫性を容易にすることができると共に、傘部12dの耐腐食性を高めることができる。   Here, the seal member 20 is joined so as to cover the exposed outer surface of the umbrella portion 12d of the metal ring 12 '. Thereby, the moldability of the metal ring 12 ′ and the vulcanization property of the seal member 20 can be facilitated, and the corrosion resistance of the umbrella portion 12 d can be enhanced.

図6に他の変形例を示す。この実施形態は基本的には前述した実施形態(図2)のシール部材17の構成が一部異なるだけで、その他同一部品同一部位あるいは同様の機能を有する部品や部位には同じ符号を付して詳細な説明を省略する。   FIG. 6 shows another modification. In this embodiment, basically only the configuration of the seal member 17 of the above-described embodiment (FIG. 2) is partially different, and the same reference numerals are given to the same parts or parts having the same functions or parts having the same functions. Detailed description is omitted.

金属環12は、前述した実施形態と同様、ハブ輪4の肩部4eに外嵌される円筒状の嵌合部12aと、円弧状に形成された基部6bに対応して円弧状に形成された湾曲部12bと、この湾曲部12bから径方向外方に延び、車輪取付フランジ6のインナー側の側面6cに密着される円板部12cと、この円板部12cの外径部から車輪取付フランジ6に対して軸方向に離間し、傾斜して延びる傘部12dと、この傘部12dから径方向外方に突出して形成された折曲部12eとを備えている。そして、この折曲部12eに合成ゴム等からなるシール部材21が加硫接着によって一体に接合されている。シール部材21は、径方向内方に傾斜して延び、外方部材2のテーパ面16に僅かな隙間Cを介して対向するシールリップ21aを一体に有し、ラビリンスを構成している。この隙間Cが大きくなると泥水等が浸入し易くなるため、片側(半径)で0.5mm以下に設定されている。   The metal ring 12 is formed in an arc shape corresponding to the cylindrical fitting portion 12a fitted on the shoulder portion 4e of the hub wheel 4 and the base portion 6b formed in an arc shape, as in the embodiment described above. A curved portion 12b, a disk portion 12c extending radially outward from the curved portion 12b and in close contact with the inner side surface 6c of the wheel mounting flange 6, and a wheel mounting from the outer diameter portion of the disk portion 12c. An umbrella portion 12d that is spaced apart from the flange 6 in the axial direction and extends in an inclined manner, and a bent portion 12e that protrudes radially outward from the umbrella portion 12d are provided. And the sealing member 21 which consists of synthetic rubber etc. is integrally joined to this bending part 12e by vulcanization adhesion. The seal member 21 extends obliquely inward in the radial direction, and integrally has a seal lip 21a opposed to the tapered surface 16 of the outer member 2 with a slight gap C to constitute a labyrinth. When this gap C becomes large, muddy water or the like easily enters, so that one side (radius) is set to 0.5 mm or less.

このように、シールリップ21aと外方部材2のテーパ面16とによって形成されたラビリンス効果により、シール8と金属環12との摺接部に泥水等が浸入するのを防止することができると共に、軸受回転トルクを低減することができる。したがって、泥水等がサイドリップ14aの摺接面に付着して摩耗するのを防止し、長期間に亘って安定した密封性を保持することができる。   Thus, the labyrinth effect formed by the seal lip 21a and the tapered surface 16 of the outer member 2 can prevent muddy water and the like from entering the sliding contact portion between the seal 8 and the metal ring 12. The bearing rotational torque can be reduced. Therefore, muddy water or the like can be prevented from adhering to the sliding contact surface of the side lip 14a and being worn, and a stable sealing performance can be maintained over a long period of time.

図7に他の変形例を示す。この実施形態は基本的には前述した実施形態(図2)のシールリップ部17aの構成が異なるだけで、その他同一部品同一部位あるいは同様の機能を有する部品や部位には同じ符号を付して詳細な説明を省略する。   FIG. 7 shows another modification. This embodiment basically differs only in the configuration of the seal lip portion 17a of the above-described embodiment (FIG. 2), and the same reference numerals are given to the same parts or parts having the same functions or parts having the same functions. Detailed description is omitted.

金属環12は、前述した実施形態と同様、ハブ輪4の肩部4eに外嵌される円筒状の嵌合部12aと、円弧状に形成された基部6bに対応して円弧状に形成された湾曲部12bと、この湾曲部12bから径方向外方に延び、車輪取付フランジ6のインナー側の側面6cに密着される円板部12cと、この円板部12cの外径部から車輪取付フランジ6に対して軸方向に離間し、傾斜して延びる傘部12dと、この傘部12dから径方向外方に突出して形成された折曲部12eとを備えている。そして、折曲部12eに合成ゴム等からなるシール部材17が加硫接着によって一体に接合され、径方向内方に傾斜して延び、外方部材2のテーパ面16に摺接するシールリップ17aを一体に有している。   The metal ring 12 is formed in an arc shape corresponding to the cylindrical fitting portion 12a fitted on the shoulder portion 4e of the hub wheel 4 and the base portion 6b formed in an arc shape, as in the embodiment described above. A curved portion 12b, a disk portion 12c extending radially outward from the curved portion 12b and in close contact with the inner side surface 6c of the wheel mounting flange 6, and a wheel mounting from the outer diameter portion of the disk portion 12c. An umbrella portion 12d that is spaced apart from the flange 6 in the axial direction and extends in an inclined manner, and a bent portion 12e that protrudes radially outward from the umbrella portion 12d are provided. Then, a sealing member 17 made of synthetic rubber or the like is integrally joined to the bent portion 12e by vulcanization adhesion, and a sealing lip 17a that extends inwardly in the radial direction and slidably contacts the tapered surface 16 of the outer member 2 is provided. It has one.

ここで、シールリップ17aに、予めグリース22が塗布されている。これにより、軸受回転トルクを低減することができると共に、シールリップ17aの耐摩耗性を向上させることができ、長期間に亘って安定した密封性を保持することができる。   Here, grease 22 is applied in advance to the seal lip 17a. As a result, the rotational torque of the bearing can be reduced, the wear resistance of the seal lip 17a can be improved, and the stable sealing performance can be maintained over a long period of time.

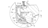
図8は、本発明に係る車輪用軸受装置の第2の実施形態を示す縦断面図、図9は、図8のシール部を示す要部拡大図、図10は、図9のシールの変形例を示す要部拡大図、図11〜18は、図9のシールの他の変形例を示す要部拡大図である。なお、前述した実施形体と同一部品同一部位あるいは同様の機能を有する部品や部位には同じ符号を付して詳細な説明を省略する。   8 is a longitudinal sectional view showing a second embodiment of the wheel bearing device according to the present invention, FIG. 9 is an enlarged view of a main part showing the seal part of FIG. 8, and FIG. 10 is a modification of the seal of FIG. The principal part enlarged view which shows an example, FIGS. 11-18 are principal part enlarged views which show the other modification of the seal | sticker of FIG. The same parts and parts as those of the above-described embodiment or parts and parts having the same functions are denoted by the same reference numerals and detailed description thereof is omitted.

図8に示す車輪用軸受装置は第3世代と呼称される駆動輪用であって、内方部材1と、この内方部材1に複列の転動体3を介して外挿された外方部材23とを備えている。内方部材1は、ハブ輪4と、このハブ輪4に固定された内輪5とからなる。   The wheel bearing device shown in FIG. 8 is for a driving wheel called the third generation, and is an inner member 1 and an outer member externally inserted into the inner member 1 through double-row rolling elements 3. And a member 23. The inner member 1 includes a hub ring 4 and an inner ring 5 fixed to the hub ring 4.

外方部材23は、外周に車体取付フランジ2bを一体に有し、内周に内方部材1の複列の内側転走面4a、5aに対向する複列の外側転走面2a、2aが一体に形成されている。この外方部材23はS53C等の炭素0.40〜0.80wt%を含む中高炭素鋼で形成されている。   The outer member 23 integrally has a vehicle body mounting flange 2b on the outer periphery, and the double row outer rolling surfaces 2a, 2a facing the double row inner rolling surfaces 4a, 5a of the inner member 1 on the inner periphery. It is integrally formed. The outer member 23 is made of medium-high carbon steel containing 0.40 to 0.80 wt% of carbon such as S53C.

また、外方部材23と内方部材1との間に形成される環状空間の開口部にはシール8、9が装着されている。これらのシール8、9によって、軸受内部に封入されたグリースの外部への漏洩と、外部から雨水やダスト等が軸受内部に浸入するのを防止している。本実施形態では、車輪取付フランジ6のインナー側の基部6bに金属環24が嵌着され、アウター側のシール8は、この金属環24に摺接するように配設されている。   Further, seals 8 and 9 are attached to an opening portion of an annular space formed between the outer member 23 and the inner member 1. These seals 8 and 9 prevent the grease sealed inside the bearing from leaking outside and preventing rainwater, dust, and the like from entering the bearing from the outside. In the present embodiment, the metal ring 24 is fitted to the inner side base portion 6 b of the wheel mounting flange 6, and the outer side seal 8 is disposed so as to be in sliding contact with the metal ring 24.

金属環24は、図9に拡大して示すように、ハブ輪4の肩部4eに外嵌される円筒状の嵌合部12aと、円弧状に形成された基部6bに対応して円弧状に形成された湾曲部12bと、この湾曲部12bから径方向外方に延び、車輪取付フランジ6のインナー側の側面6cに密着される円板部12cと、この円板部12cの外径部から車輪取付フランジ6に対して軸方向に離間し、所定の円弧面からなる傘部24aと、この傘部24aから径方向外方に突出して形成された折曲部12eとを備えている。   As shown in an enlarged view in FIG. 9, the metal ring 24 has an arcuate shape corresponding to a cylindrical fitting portion 12a fitted on the shoulder portion 4e of the hub wheel 4 and a base portion 6b formed in an arc shape. A curved portion 12b formed on the outer circumferential portion, a disc portion 12c extending radially outward from the curved portion 12b and closely contacting the inner side surface 6c of the wheel mounting flange 6, and an outer diameter portion of the disc portion 12c. The wheel mounting flange 6 is separated from the wheel mounting flange 6 in the axial direction, and is provided with an umbrella portion 24a made of a predetermined arc surface and a bent portion 12e formed to protrude radially outward from the umbrella portion 24a.

ここで、外方部材23のアウター側の端部外周に、軸受中心Oを中心とする曲率半径R0からなる円弧面25が形成されている。一方、金属環24の傘部24aは、この外方部材2の円弧面25に対応して、軸受中心Oを中心とする曲率半径R1に形成されている。これらの曲率半径R0、R1は、R0<R1に設定され、金属環24の傘部24aと外方部材23の円弧面25との間に僅かな環状の隙間D(D=R1−R0)が形成され、ラビリンスを構成している。隙間Dは0.03〜0.5mm(半径)の範囲に設定されている。隙間Dが0.03mm未満となると金属環24や外方部材23の寸法バラツキや偏心等により、傘部24aが外方部材23に干渉する恐れがあると共に、0.5mmを超えると泥水等が浸入し易くなるので好ましくない。   Here, on the outer periphery of the outer end of the outer member 23, an arcuate surface 25 having a radius of curvature R0 with the bearing center O as the center is formed. On the other hand, the umbrella portion 24 a of the metal ring 24 is formed with a radius of curvature R <b> 1 centering on the bearing center O corresponding to the circular arc surface 25 of the outer member 2. These radii of curvature R0, R1 are set to R0 <R1, and a slight annular gap D (D = R1-R0) is provided between the umbrella portion 24a of the metal ring 24 and the arc surface 25 of the outer member 23. Formed and constitutes a labyrinth. The gap D is set in a range of 0.03 to 0.5 mm (radius). If the gap D is less than 0.03 mm, the umbrella portion 24a may interfere with the outer member 23 due to dimensional variation or eccentricity of the metal ring 24 or the outer member 23. It is not preferable because it easily enters.

このように、金属環24の傘部24aと外方部材23の円弧面25が軸受中心Oを中心とする曲率半径R1、R0に形成され、傘部24aと外方部材23の円弧面25との間に僅かな環状の隙間Dが形成されてラビリンスを構成しているので、車両の旋回時に車軸が傾いた場合でも、環状の隙間Dが変化するのを抑制し、シール8と金属環24との摺接部に泥水等が浸入するのを防止することができる。   In this way, the umbrella portion 24a of the metal ring 24 and the arc surface 25 of the outer member 23 are formed at the radii of curvature R1 and R0 with the bearing center O as the center, and the umbrella portion 24a and the arc surface 25 of the outer member 23 Since a slight annular gap D is formed between them to form a labyrinth, even if the axle is tilted when the vehicle turns, the annular gap D is suppressed from changing, and the seal 8 and the metal ring 24 are suppressed. It is possible to prevent muddy water or the like from entering the sliding contact portion.

図10に他の変形例を示す。この実施形態は基本的には前述した実施形態(図9)の金属環24の一部の構成が異なるだけで、その他同一部品同一部位あるいは同様の機能を有する部品や部位には同じ符号を付して詳細な説明を省略する。   FIG. 10 shows another modification. In this embodiment, basically only the configuration of a part of the metal ring 24 of the above-described embodiment (FIG. 9) is different, and the same reference numerals are given to the same parts or parts having the same function. Therefore, detailed description is omitted.

金属環24’は、ハブ輪4の肩部4eに外嵌される円筒状の嵌合部12aと、円弧状に形成された基部6bに対応して円弧状に形成された湾曲部12bと、この湾曲部12bから径方向外方に延び、車輪取付フランジ6のインナー側の側面6cに密着される円板部12cと、この円板部12cの外径部から車輪取付フランジ6に対して軸方向に離間し、所定の円弧面からなる傘部24aを備えている。   The metal ring 24 ′ includes a cylindrical fitting portion 12 a that is fitted on the shoulder portion 4 e of the hub wheel 4, a curved portion 12 b that is formed in an arc shape corresponding to the base portion 6 b that is formed in an arc shape, A disc portion 12c that extends radially outward from the curved portion 12b and is in close contact with the side surface 6c on the inner side of the wheel mounting flange 6, and a shaft with respect to the wheel mounting flange 6 from the outer diameter portion of the disc portion 12c. It is provided with an umbrella portion 24a that is spaced in the direction and has a predetermined arc surface.

ここで、外方部材23のアウター側の端部外周に、軸受中心Oを中心とする曲率半径R0からなる円弧面25が形成されると共に、金属環24の傘部24aが軸受中心Oを中心とする曲率半径R1に形成されている。そして、傘部24aと円弧面25との間に僅かな環状の隙間Dが形成され、ラビリンスを構成している。   Here, on the outer periphery of the outer end portion of the outer member 23, an arc surface 25 having a radius of curvature R0 centered on the bearing center O is formed, and the umbrella portion 24a of the metal ring 24 is centered on the bearing center O. It is formed in the curvature radius R1. A slight annular gap D is formed between the umbrella portion 24a and the circular arc surface 25, thereby constituting a labyrinth.

このように、金属環24の傘部24aと外方部材23の円弧面25が軸受中心Oを中心とする曲率半径R1、R0に形成され、傘部24aと外方部材23の円弧面25との間に僅かな環状の隙間Dが形成されてラビリンスを構成しているので、車両の旋回時に車軸が傾いた場合でも、環状の隙間Dが変化するのを抑制し、シール8と金属環24との摺接部に泥水等が浸入するのを防止することができる。   In this way, the umbrella portion 24a of the metal ring 24 and the arc surface 25 of the outer member 23 are formed at the radii of curvature R1 and R0 with the bearing center O as the center, and the umbrella portion 24a and the arc surface 25 of the outer member 23 Since a slight annular gap D is formed between them to form a labyrinth, even if the axle is tilted when the vehicle turns, the annular gap D is suppressed from changing, and the seal 8 and the metal ring 24 are suppressed. It is possible to prevent muddy water or the like from entering the sliding contact portion.

図11に他の変形例を示す。この実施形態は基本的には前述した実施形態(図9)の金属環24の一部の構成が異なるだけで、その他同一部品同一部位あるいは同様の機能を有する部品や部位には同じ符号を付して詳細な説明を省略する。   FIG. 11 shows another modification. In this embodiment, basically only the configuration of a part of the metal ring 24 of the above-described embodiment (FIG. 9) is different, and the same reference numerals are given to the same parts or parts having the same function. Therefore, detailed description is omitted.

金属環24は、前述した実施形態と同様、ハブ輪4の肩部4eに外嵌される円筒状の嵌合部12aと、円弧状に形成された基部6bに対応して円弧状に形成された湾曲部12bと、この湾曲部12bから径方向外方に延び、車輪取付フランジ6のインナー側の側面6cに密着される円板部12cと、この円板部12cの外径部から車輪取付フランジ6に対して軸方向に離間し、所定の円弧面からなる傘部24aと、この傘部24aから径方向外方に突出して形成された折曲部12eとを備えている。   The metal ring 24 is formed in an arc shape corresponding to the cylindrical fitting portion 12a fitted on the shoulder portion 4e of the hub wheel 4 and the base portion 6b formed in an arc shape, as in the above-described embodiment. A curved portion 12b, a disk portion 12c extending radially outward from the curved portion 12b and in close contact with the inner side surface 6c of the wheel mounting flange 6, and a wheel mounting from the outer diameter portion of the disk portion 12c. An umbrella portion 24a that is spaced apart from the flange 6 in the axial direction and has a predetermined arc surface, and a bent portion 12e that protrudes radially outward from the umbrella portion 24a are provided.

ここで、折曲部12eの露出する外表面を覆うように合成ゴム等からなる被覆部材26が加硫接着によって一体に接合されている。これにより、金属環24の成形性を容易にすると共に、折曲部12eの耐腐食性を高めることができる。   Here, a covering member 26 made of synthetic rubber or the like is integrally joined by vulcanization adhesion so as to cover the exposed outer surface of the bent portion 12e. Thereby, while making moldability of the metal ring 24 easy, corrosion resistance of the bending part 12e can be improved.

図12に他の変形例を示す。この実施形態は基本的には前述した実施形態(図9)の金属環24の一部の構成が異なるだけで、その他同一部品同一部位あるいは同様の機能を有する部品や部位には同じ符号を付して詳細な説明を省略する。   FIG. 12 shows another modification. In this embodiment, basically only the configuration of a part of the metal ring 24 of the above-described embodiment (FIG. 9) is different, and the same reference numerals are given to the same parts or parts having the same function. Therefore, detailed description is omitted.

本実施形態では、傘部24aと折曲部12eの露出する内表面を覆うように合成ゴム等からなる被覆部材27が加硫接着によって一体に接合されている。そして、この被覆部材27の内表面が軸受中心Oを中心とする曲率半径R2に形成されている。これにより、傘部24aと折曲部12eの耐腐食性を高めることができる。   In the present embodiment, the covering member 27 made of synthetic rubber or the like is integrally joined by vulcanization adhesion so as to cover the exposed inner surfaces of the umbrella portion 24a and the bent portion 12e. The inner surface of the covering member 27 is formed with a radius of curvature R2 centered on the bearing center O. Thereby, the corrosion resistance of the umbrella part 24a and the bending part 12e can be improved.

図13に他の変形例を示す。この実施形態は基本的には前述した実施形態(図9)の金属環24の構成が異なるだけで、その他同一部品同一部位あるいは同様の機能を有する部品や部位には同じ符号を付して詳細な説明を省略する。   FIG. 13 shows another modification. This embodiment is basically the same as the above-described embodiment (FIG. 9) except that the structure of the metal ring 24 is different, and other parts and parts having the same parts or parts having the same functions are denoted by the same reference numerals. The detailed explanation is omitted.

金属環12は、前述した実施形態と同様、ハブ輪4の肩部4eに外嵌される円筒状の嵌合部12aと、円弧状に形成された基部6bに対応して円弧状に形成された湾曲部12bと、この湾曲部12bから径方向外方に延び、車輪取付フランジ6のインナー側の側面6cに密着される円板部12cと、この円板部12cの外径部から車輪取付フランジ6に対して軸方向に離間し、傾斜して延びる傘部12dと、この傘部12dから径方向外方に突出して形成された折曲部12eとを備えている。   The metal ring 12 is formed in an arc shape corresponding to the cylindrical fitting portion 12a fitted on the shoulder portion 4e of the hub wheel 4 and the base portion 6b formed in an arc shape, as in the embodiment described above. A curved portion 12b, a disk portion 12c extending radially outward from the curved portion 12b and in close contact with the inner side surface 6c of the wheel mounting flange 6, and a wheel mounting from the outer diameter portion of the disk portion 12c. An umbrella portion 12d that is spaced apart from the flange 6 in the axial direction and extends in an inclined manner, and a bent portion 12e that protrudes radially outward from the umbrella portion 12d are provided.

ここで、傘部12dと折曲部12eの露出する内表面を覆うように合成ゴム等からなる被覆部材28が加硫接着によって一体に接合されている。そして、この被覆部材28の内表面が軸受中心Oを中心とする曲率半径R2に形成されている。これにより、傘部12dと折曲部12eの耐腐食性を高めることができると共に、車両の旋回時に車軸が傾いた場合でも、環状の隙間Dが変化するのを抑制することができる。   Here, a covering member 28 made of synthetic rubber or the like is integrally joined by vulcanization adhesion so as to cover the exposed inner surfaces of the umbrella portion 12d and the bent portion 12e. The inner surface of the covering member 28 is formed with a radius of curvature R2 centered on the bearing center O. Thereby, while being able to improve the corrosion resistance of the umbrella part 12d and the bending part 12e, even when an axle tilts at the time of turning of a vehicle, it can suppress that the cyclic | annular clearance gap D changes.

図14に他の変形例を示す。この実施形態は基本的には前述した実施形態(図9)の金属環24の構成が異なるだけで、その他同一部品同一部位あるいは同様の機能を有する部品や部位には同じ符号を付して詳細な説明を省略する。   FIG. 14 shows another modification. This embodiment is basically the same as the above-described embodiment (FIG. 9) except that the structure of the metal ring 24 is different, and other parts and parts having the same parts or parts having the same functions are denoted by the same reference numerals. The detailed explanation is omitted.

金属環12は、前述した実施形態と同様、ハブ輪4の肩部4eに外嵌される円筒状の嵌合部12aと、円弧状に形成された基部6bに対応して円弧状に形成された湾曲部12bと、この湾曲部12bから径方向外方に延び、車輪取付フランジ6のインナー側の側面6cに密着される円板部12cと、この円板部12cの外径部から車輪取付フランジ6に対して軸方向に離間し、傾斜して延びる傘部12dと、この傘部12dから径方向外方に突出して形成された折曲部12eとを備えている。   The metal ring 12 is formed in an arc shape corresponding to the cylindrical fitting portion 12a fitted on the shoulder portion 4e of the hub wheel 4 and the base portion 6b formed in an arc shape, as in the embodiment described above. A curved portion 12b, a disk portion 12c extending radially outward from the curved portion 12b and in close contact with the inner side surface 6c of the wheel mounting flange 6, and a wheel mounting from the outer diameter portion of the disk portion 12c. An umbrella portion 12d that is spaced apart from the flange 6 in the axial direction and extends in an inclined manner, and a bent portion 12e that protrudes radially outward from the umbrella portion 12d are provided.

本実施形態のように、外方部材23のアウター側の端部外周に、軸受中心Oを中心とする曲率半径R0からなる円弧面25が形成されていれば、金属環12の傘部12dが円弧面ではなくストレート形状であっても、車両の旋回時に車軸が傾いた場合、環状の隙間Dが変化するのを抑制し、シール8と金属環12との摺接部に泥水等が浸入するのを防止することができる。   If the circular arc surface 25 having the curvature radius R0 with the bearing center O as the center is formed on the outer periphery of the outer end portion of the outer member 23 as in the present embodiment, the umbrella portion 12d of the metal ring 12 is formed. Even if it is not a circular arc surface but a straight shape, if the axle is tilted when the vehicle turns, the annular gap D is prevented from changing, and muddy water or the like enters the sliding contact portion between the seal 8 and the metal ring 12. Can be prevented.

図15に他の変形例を示す。この実施形態は基本的には前述した実施形態(図9)の金属環24の構成が異なるだけで、その他同一部品同一部位あるいは同様の機能を有する部品や部位には同じ符号を付して詳細な説明を省略する。   FIG. 15 shows another modification. This embodiment is basically the same as the above-described embodiment (FIG. 9) except that the structure of the metal ring 24 is different, and other parts and parts having the same parts or parts having the same functions are denoted by the same reference numerals. The detailed explanation is omitted.

金属環24”は、ハブ輪4の肩部4eに外嵌される円筒状の嵌合部12aと、円弧状に形成された基部6bに対応して円弧状に形成された湾曲部12bと、この湾曲部12bから径方向外方に延び、車輪取付フランジ6のインナー側の側面6cに密着される円板部12cと、この円板部12cの外径部から車輪取付フランジ6に対して軸方向に離間し、所定の円弧面からなる傘部24a’と、この傘部24a’から径方向外方に突出して形成された折曲部12eとを備えている。   The metal ring 24 ″ includes a cylindrical fitting portion 12a that is externally fitted to the shoulder portion 4e of the hub wheel 4, a curved portion 12b that is formed in an arc shape corresponding to the base portion 6b that is formed in an arc shape, A disc portion 12c that extends radially outward from the curved portion 12b and is in close contact with the side surface 6c on the inner side of the wheel mounting flange 6, and a shaft with respect to the wheel mounting flange 6 from the outer diameter portion of the disc portion 12c. An umbrella portion 24a ′ made of a predetermined arc surface and spaced apart in the direction is provided, and a bent portion 12e formed to protrude radially outward from the umbrella portion 24a ′.

ここで、外方部材23のアウター側の端部外周に、軸受中心Oを中心とする曲率半径R0からなる円弧面25が形成されると共に、金属環24”の傘部24a’が軸受中心Oより僅かにアウター側にシフトした位置を中心とする曲率半径R3に形成されている。そして、傘部24a’と円弧面25との間に僅かな環状の隙間D’が形成され、ノズル状のラビリンスを構成している。   Here, on the outer periphery of the outer end portion of the outer member 23, an arc surface 25 having a radius of curvature R0 with the bearing center O as the center is formed, and the umbrella portion 24a ′ of the metal ring 24 ″ is formed at the bearing center O. It is formed with a radius of curvature R3 centered on a position slightly shifted to the outer side, and a slight annular gap D ′ is formed between the umbrella portion 24a ′ and the arcuate surface 25, and the nozzle-like shape It constitutes a labyrinth.

このように、金属環24”の傘部24a’と外方部材23の円弧面25との間に僅かな環状の隙間D’が形成されてノズル状のラビリンスを構成しているので、例え、シール8と金属環24”との摺接部に泥水等が浸入しても、金属環24”の回転に伴う遠心力によって容易に外部に排出され、サイドリップ14a上に滞留することはない。したがって、泥水等がサイドリップ14aの摺接面に付着して摩耗するのを防止し、長期間に亘って安定した密封性を保持することができる。   In this way, a slight annular gap D ′ is formed between the umbrella portion 24a ′ of the metal ring 24 ″ and the arc surface 25 of the outer member 23 to form a nozzle-like labyrinth. Even if muddy water or the like enters the sliding contact portion between the seal 8 and the metal ring 24 ″, it is easily discharged to the outside by the centrifugal force accompanying the rotation of the metal ring 24 ″ and does not stay on the side lip 14a. Therefore, muddy water or the like can be prevented from adhering to the sliding contact surface of the side lip 14a and being worn, and a stable sealing performance can be maintained over a long period of time.

図16に他の変形例を示す。この実施形態は基本的には前述した実施形態(図9)の外方部材23の一部の構成が異なるだけで、その他同一部品同一部位あるいは同様の機能を有する部品や部位には同じ符号を付して詳細な説明を省略する。   FIG. 16 shows another modification. In this embodiment, basically only the configuration of a part of the outer member 23 of the above-described embodiment (FIG. 9) is different, and the same reference numerals are given to the same parts or parts having the same function. Detailed description will be omitted.

金属環24は、ハブ輪4の肩部4eに外嵌される円筒状の嵌合部12aと、円弧状に形成された基部6bに対応して円弧状に形成された湾曲部12bと、この湾曲部12bから径方向外方に延び、車輪取付フランジ6のインナー側の側面6cに密着される円板部12cと、この円板部12cの外径部から車輪取付フランジ6に対して軸方向に離間し、所定の円弧面からなる傘部24aと、この傘部24aから径方向外方に突出して形成された折曲部12eとを備えている。   The metal ring 24 includes a cylindrical fitting portion 12a that is fitted on the shoulder portion 4e of the hub wheel 4, a curved portion 12b that is formed in an arc shape corresponding to the base portion 6b that is formed in an arc shape, A disc portion 12c that extends radially outward from the curved portion 12b and is in close contact with the inner side surface 6c of the wheel mounting flange 6, and an axial direction from the outer diameter portion of the disc portion 12c to the wheel mounting flange 6 And an umbrella portion 24a having a predetermined arc surface, and a bent portion 12e formed to protrude radially outward from the umbrella portion 24a.

ここで、外方部材23’のアウター側の端部外周に、軸受中心Oを中心とする曲率半径R0からなる円弧面25が形成されると共に、この円弧面25の近傍に環状溝29が形成されている。これにより、外方部材23’の外周面を伝ってきた泥水等がこの樋状の環状溝29に沿って下部(路面側)に流れて排出されるので、ラビリンス内に浸入するのを抑制し、シール8と金属環24との摺接部に泥水等が浸入するのを防止することができる。   Here, an arc surface 25 having a radius of curvature R0 with the bearing center O as the center is formed on the outer periphery of the outer end portion of the outer member 23 ′, and an annular groove 29 is formed in the vicinity of the arc surface 25. Has been. As a result, muddy water or the like that has traveled on the outer peripheral surface of the outer member 23 ′ flows and is discharged to the lower part (road surface side) along the bowl-shaped annular groove 29, thereby preventing intrusion into the labyrinth. The muddy water or the like can be prevented from entering the sliding contact portion between the seal 8 and the metal ring 24.

図17に他の変形例を示す。この実施形態は基本的には前述した実施形態(図9)の金属環24の構成が異なるだけで、その他同一部品同一部位あるいは同様の機能を有する部品や部位には同じ符号を付して詳細な説明を省略する。   FIG. 17 shows another modification. This embodiment is basically the same as the above-described embodiment (FIG. 9) except that the structure of the metal ring 24 is different, and other parts and parts having the same parts or parts having the same functions are denoted by the same reference numerals. The detailed explanation is omitted.

金属環24は、ハブ輪4の肩部4eに外嵌される円筒状の嵌合部12aと、円弧状に形成された基部6bに対応して円弧状に形成された湾曲部12bと、この湾曲部12bから径方向外方に延び、車輪取付フランジ6のインナー側の側面6cに密着される円板部12cと、この円板部12cの外径部から車輪取付フランジ6に対して軸方向に離間し、所定の円弧面からなる傘部24aと、この傘部24aから径方向外方に突出して形成された折曲部12eとを備えている。   The metal ring 24 includes a cylindrical fitting portion 12a that is fitted on the shoulder portion 4e of the hub wheel 4, a curved portion 12b that is formed in an arc shape corresponding to the base portion 6b that is formed in an arc shape, A disc portion 12c that extends radially outward from the curved portion 12b and is in close contact with the inner side surface 6c of the wheel mounting flange 6, and an axial direction from the outer diameter portion of the disc portion 12c to the wheel mounting flange 6 And an umbrella portion 24a having a predetermined arc surface, and a bent portion 12e formed to protrude radially outward from the umbrella portion 24a.

ここで、外方部材23”のアウター側の端部外周に、軸受中心Oより僅かにインナー側にシフトした位置を中心とする曲率半径R4からなる円弧面25’が形成されると共に、金属環24の傘部24aが軸受中心Oを中心とする曲率半径R1に形成されている。そして、傘部24aと円弧面25’との間に僅かな環状の隙間D’が形成され、ノズル状のラビリンスを構成している。   Here, on the outer periphery of the outer end portion of the outer member 23 ″, an arcuate surface 25 ′ having a radius of curvature R4 with a position slightly shifted to the inner side from the bearing center O is formed, and a metal ring 24 umbrella parts 24a are formed with a radius of curvature R1 centered on the bearing center O. A slight annular gap D 'is formed between the umbrella part 24a and the arcuate surface 25', and the nozzle-like It constitutes a labyrinth.

このように、金属環24の傘部24aと外方部材23”の円弧面25’との間に僅かな環状の隙間D’が形成されてノズル状のラビリンスを構成しているので、例え、シール8と金属環24との摺接部に泥水等が浸入しても、金属環24の回転に伴う遠心力によって容易に外部に排出され、サイドリップ14a上に滞留することはない。   Thus, since a slight annular gap D ′ is formed between the umbrella portion 24a of the metal ring 24 and the circular arc surface 25 ′ of the outer member 23 ″ to constitute a nozzle-like labyrinth, Even if muddy water or the like enters the sliding contact portion between the seal 8 and the metal ring 24, it is easily discharged to the outside by the centrifugal force accompanying the rotation of the metal ring 24 and does not stay on the side lip 14a.

図18に他の変形例を示す。この実施形態は基本的には前述した実施形態(図9)の金属環24の構成が異なるだけで、その他同一部品同一部位あるいは同様の機能を有する部品や部位には同じ符号を付して詳細な説明を省略する。   FIG. 18 shows another modification. This embodiment is basically the same as the above-described embodiment (FIG. 9) except that the structure of the metal ring 24 is different, and other parts and parts having the same parts or parts having the same functions are denoted by the same reference numerals. The detailed explanation is omitted.

金属環12は、前述した実施形態と同様、ハブ輪4の肩部4eに外嵌される円筒状の嵌合部12aと、円弧状に形成された基部6bに対応して円弧状に形成された湾曲部12bと、この湾曲部12bから径方向外方に延び、車輪取付フランジ6のインナー側の側面6cに密着される円板部12cと、この円板部12cの外径部から車輪取付フランジ6に対して軸方向に離間し、傾斜して延びる傘部12dと、この傘部12dから径方向外方に突出して形成された折曲部12eとを備えている。   The metal ring 12 is formed in an arc shape corresponding to the cylindrical fitting portion 12a fitted on the shoulder portion 4e of the hub wheel 4 and the base portion 6b formed in an arc shape, as in the embodiment described above. A curved portion 12b, a disk portion 12c extending radially outward from the curved portion 12b and in close contact with the inner side surface 6c of the wheel mounting flange 6, and a wheel mounting from the outer diameter portion of the disk portion 12c. An umbrella portion 12d that is spaced apart from the flange 6 in the axial direction and extends in an inclined manner, and a bent portion 12e that protrudes radially outward from the umbrella portion 12d are provided.

金属環12の折曲部12eには合成ゴム等からなるシール部材17が加硫接着によって一体に接合されている。そして、このシール部材17は径方向内方に傾斜して延び、外方部材2の円弧面25に摺接するシールリップ17aを一体に有している。   A seal member 17 made of synthetic rubber or the like is integrally joined to the bent portion 12e of the metal ring 12 by vulcanization adhesion. The seal member 17 extends inward in the radial direction, and integrally includes a seal lip 17 a that is in sliding contact with the arcuate surface 25 of the outer member 2.

このように、金属環12に接合されたシール部材17のシールリップ17aが外方部材2の円弧面25に摺接されていることにより、車両の旋回時に車軸が傾いた場合でも、シールリップ17aのシメシロが変化するのを防止し、シール8と金属環12との摺接部に泥水等が浸入するのを防止することができる。   As described above, the seal lip 17a of the seal member 17 joined to the metal ring 12 is in sliding contact with the circular arc surface 25 of the outer member 2, so that the seal lip 17a can be obtained even when the axle is tilted when the vehicle turns. Therefore, it is possible to prevent muddy water or the like from entering the sliding contact portion between the seal 8 and the metal ring 12.

以上、本発明の実施の形態について説明を行ったが、本発明はこうした実施の形態に何等限定されるものではなく、あくまで例示であって、本発明の要旨を逸脱しない範囲内において、さらに種々なる形態で実施し得ることは勿論のことであり、本発明の範囲は、特許請求の範囲の記載によって示され、さらに特許請求の範囲に記載の均等の意味、および範囲内のすべての変更を含む。   The embodiment of the present invention has been described above, but the present invention is not limited to such an embodiment, and is merely an example, and various modifications can be made without departing from the scope of the present invention. Of course, the scope of the present invention is indicated by the description of the scope of claims, and further, the equivalent meanings described in the scope of claims and all modifications within the scope of the scope of the present invention are included. Including.

本発明に係る車輪用軸受装置は、内輪回転タイプの第2乃至第4世代の車輪用軸受装置に適用することができる。   The wheel bearing device according to the present invention can be applied to second to fourth generation wheel bearing devices of the inner ring rotation type.

1 内方部材
2、23、23’、23” 外方部材
2a 外側転走面
2b 車体取付フランジ
3 転動体
4 ハブ輪
4a、5a 内側転走面
4b 小径段部
4c セレーション
4d 加締部
4e 肩部
5 内輪
6 車輪取付フランジ
6a ハブボルト
6b 車輪取付フランジのインナー側の基部
6c 車輪取付フランジのインナー側の側面
7 保持器
8 アウター側のシール
9 インナー側のシール
10 シール板
11 スリンガ
12、12’、24、24’、24” 金属環
12a 嵌合部
12b 湾曲部
12c 円板部
12d、24a、24a’ 傘部
12e 折曲部
13 芯金
14 シール部材
14a、14b サイドリップ
14c グリースリップ
15 弾性部材
16 テーパ面
17、18、19、20、21 シール部材
17a、19a、20a、21a シールリップ
22 グリース
25、25’ 円弧面
26、27、28 被覆部材
29 環状溝
102 外方部材
102c テーパ面
104 ハブ輪
106 車輪取付フランジ
106b 車輪取付フランジの基部
106c 車輪取付フランジの側面
108 シール
112 金属環
112a 嵌合部
112b 湾曲部
112c 円板部
112d 傘部
112e 折曲部
113 芯金
114 シール部材
114a、114b サイドリップ
114c グリースリップ
A、C、D、D’ 環状の隙間
O 軸受中心
R 金属環の湾曲部の曲率半径
R0、R4 円弧面の曲率半径
R1、R2、R3 傘部の曲率半径
r 基部の曲率半径
θ1、θ3 テーパ面の傾斜角
θ2、θ4 傘部の傾斜角
DESCRIPTION OF SYMBOLS 1 Inner member 2, 23, 23 ', 23 "Outer member 2a Outer rolling surface 2b Car body mounting flange 3 Rolling body 4 Hub wheel 4a, 5a Inner rolling surface 4b Small diameter step part 4c Serration 4d Clamping part 4e Shoulder Part 5 Inner ring 6 Wheel mounting flange 6a Hub bolt 6b Base part 6c on the inner side of the wheel mounting flange Side surface 7 on the inner side of the wheel mounting flange Cage 8 Seal on the outer side 9 Seal on the inner side 10 Seal plate 11 Slinger 12, 12 ', 24, 24 ', 24 "Metal ring 12a Fitting portion 12b Curved portion 12c Disk portion 12d, 24a, 24a' Umbrella portion 12e Bending portion 13 Core 14 Seal member 14a, 14b Side lip 14c Grease lip 15 Elastic member 16 Tapered surfaces 17, 18, 19, 20, 21 Seal members 17a, 19a, 20a, 21a Seal lip 22 Grease 25 25 'Arc surface 26, 27, 28 Cover member 29 Annular groove 102 Outer member 102c Tapered surface 104 Hub wheel 106 Wheel mounting flange 106b Wheel mounting flange base 106c Wheel mounting flange side surface 108 Seal 112 Metal ring 112a Fitting portion 112b Curved part 112c Disk part 112d Umbrella part 112e Bent part 113 Core metal 114 Seal member 114a, 114b Side lip 114c Grease lip A, C, D, D ′ Annular gap O Bearing center R Curvature of metal ring curved part Radius R0, R4 Arc surface curvature radius R1, R2, R3 Umbrella curvature radius r Base radius of curvature θ1, θ3 Inclination angle of taper surface θ2, θ4 Inclination angle of umbrella

Claims (8)

外周に懸架装置に取り付けられるための車体取付フランジを一体に有し、内周に複列の外側転走面が一体に形成された外方部材と、
一端部に車輪を取り付けるための車輪取付フランジを一体に有し、外周に小径段部が形成されたハブ輪、およびこのハブ輪に嵌合された内輪または等速自在継手の外側継手部材からなり、外周に前記複列の外側転走面に対向する複列の内側転走面が形成された内方部材と、
この内方部材と前記外方部材の両転走面間に保持器を介して転動自在に収容された複列の転動体と、
前記外方部材と内方部材との間に形成される環状空間の両側開口部に装着されたシールとを備え、
前記車輪取付フランジのインナー側の基部が円弧状に形成され、この基部に鋼板からプレス加工にて形成された金属環が嵌着されると共に、
前記シールのうちアウター側のシールが、前記外方部材の端部内周に嵌合される芯金と、この芯金に加硫接着により一体に接合され、径方向外方に傾斜して延びるサイドリップと、軸受内方側に傾斜して延びるグリースリップとを有するシール部材からなり、このシール部材のサイドリップが前記金属環に摺接された車輪用軸受装置において、
前記金属環が、前記ハブ輪の肩部に外嵌される円筒状の嵌合部と、前記基部の形状に対応して円弧状に形成された湾曲部と、この湾曲部から径方向外方に延び、前記車輪取付フランジのインナー側の側面に装着される円板部と、この円板部の外径部から前記車輪取付フランジに対して軸方向に離間し、径方向外方に傾斜して延びる傘部とを備え、この傘部の先端部にシール部材が加硫接着により一体に接合され、このシール部材が径方向内方に傾斜して延びるシールリップを一体に有し、前記外方部材の端部外周に摺接されていることを特徴とする車輪用軸受装置。
An outer member integrally having a vehicle body mounting flange to be attached to the suspension device on the outer periphery, and an outer rolling surface of a double row integrally formed on the inner periphery;
It consists of a hub wheel that has a wheel mounting flange for mounting a wheel at one end and a small-diameter step on the outer periphery, and an outer ring member of an inner ring or constant velocity universal joint that is fitted to this hub ring. An inner member in which a double row inner rolling surface facing the double row outer rolling surface is formed on the outer periphery;
A double row rolling element housed between the rolling surfaces of the inner member and the outer member so as to be freely rollable via a cage;
A seal mounted on both side openings of an annular space formed between the outer member and the inner member;
The base portion on the inner side of the wheel mounting flange is formed in an arc shape, and a metal ring formed by pressing from a steel plate is fitted to the base portion,
Outer side seal among the seals is a core metal fitted to the inner periphery of the end portion of the outer member, and a side that is integrally joined to the core metal by vulcanization adhesion and extends obliquely outward in the radial direction. In the wheel bearing device, comprising a seal member having a lip and a grease lip extending inclinedly toward the bearing inward side, and the side lip of the seal member is in sliding contact with the metal ring,
A cylindrical fitting portion in which the metal ring is fitted on the shoulder portion of the hub wheel, a curved portion formed in an arc shape corresponding to the shape of the base portion, and a radially outward direction from the curved portion A disc portion mounted on the inner side surface of the wheel mounting flange, and an axially spaced from the outer diameter portion of the disc portion to the wheel mounting flange and inclined radially outward. And a sealing member integrally joined to the tip of the umbrella portion by vulcanization adhesion, and the sealing member integrally has a sealing lip extending inwardly in the radial direction. A wheel bearing device characterized by being in sliding contact with the outer periphery of the end of the side member.
前記外方部材のアウター側の端部外周に所定の円弧面または所定の傾斜角からなるテーパ面が形成されると共に、前記傘部の先端部から径方向外方に突出して折曲部が形成され、この折曲部に前記シール部材が接合され、前記シールリップが前記外方部材の円弧面またはテーパ面に摺接されている請求項1に記載の車輪用軸受装置。   A tapered surface having a predetermined arc surface or a predetermined inclination angle is formed on the outer periphery of the outer side end portion of the outer member, and a bent portion is formed by projecting radially outward from the tip of the umbrella portion. The wheel bearing device according to claim 1, wherein the seal member is joined to the bent portion, and the seal lip is slidably contacted with an arc surface or a tapered surface of the outer member. 前記金属環のシール部材が露出する外表面を覆うように接合されている請求項1または2に記載の車輪用軸受装置。   The wheel bearing device according to claim 1, wherein the metal ring seal member is joined so as to cover an exposed outer surface. 前記金属環のシール部材が、前記シールリップに加え、このシールリップの内径側に、さらに径方向内方に傾斜して延び、前記外方部材に摺接するシールリップを一体に有している請求項1乃至3いずれかに記載の車輪用軸受装置。   In addition to the seal lip, the seal member of the metal ring integrally includes a seal lip extending inwardly in the radial direction on the inner diameter side of the seal lip and in sliding contact with the outer member. Item 4. The wheel bearing device according to any one of Items 1 to 3. 前記金属環のシールリップに予めグリースが塗布されている請求項1乃至4いずれかに記載の車輪用軸受装置。   The wheel bearing device according to claim 1, wherein grease is preliminarily applied to a seal lip of the metal ring. 前記外方部材のアウター側の端部外周に所定の円弧面が形成され、この円弧面が軸受中心Oを中心とする曲率半径に形成されると共に、前記金属環の傘部との間に僅かな環状の隙間が形成されてラビリンスを構成している請求項1に記載の車輪用軸受装置。   A predetermined arc surface is formed on the outer periphery of the outer end of the outer member, and the arc surface is formed with a radius of curvature centered on the bearing center O and slightly between the umbrella portion of the metal ring. The wheel bearing device according to claim 1, wherein a labyrinth is formed by forming an annular gap. 前記車輪取付フランジのインナー側の基部が所定の曲率半径rからなる円弧面に形成されると共に、この円弧面に対応して前記金属環の湾曲部が所定の曲率半径Rからなる円弧面に形成され、それぞれの曲率半径R、rがR≧rになるように設定されている請求項1に記載の車輪用軸受装置。   A base portion on the inner side of the wheel mounting flange is formed on an arc surface having a predetermined radius of curvature r, and a curved portion of the metal ring is formed on an arc surface having a predetermined radius of curvature R corresponding to the arc surface. The wheel bearing device according to claim 1, wherein the curvature radii R and r are set such that R ≧ r. 前記金属環の円板部から傘部に亙って弾性部材が加硫接着によって一体に接合され、前記車輪取付フランジのインナー側の側面に弾性接触されている請求項1に記載の車輪用軸受装置。   The wheel bearing according to claim 1, wherein the elastic member is integrally joined by vulcanization bonding from the disk portion of the metal ring to the umbrella portion, and elastically contacts the inner side surface of the wheel mounting flange. apparatus.
JP2012157651A 2012-07-13 2012-07-13 Wheel bearing device Expired - Fee Related JP5988738B2 (en)

Priority Applications (1)

Application Number Priority Date Filing Date Title
JP2012157651A JP5988738B2 (en) 2012-07-13 2012-07-13 Wheel bearing device

Applications Claiming Priority (1)

Application Number Priority Date Filing Date Title
JP2012157651A JP5988738B2 (en) 2012-07-13 2012-07-13 Wheel bearing device

Publications (2)

Publication Number Publication Date
JP2014020413A true JP2014020413A (en) 2014-02-03
JP5988738B2 JP5988738B2 (en) 2016-09-07

Family

ID=50195572

Family Applications (1)

Application Number Title Priority Date Filing Date
JP2012157651A Expired - Fee Related JP5988738B2 (en) 2012-07-13 2012-07-13 Wheel bearing device

Country Status (1)

Country Link
JP (1) JP5988738B2 (en)

Cited By (4)

* Cited by examiner, † Cited by third party
Publication number Priority date Publication date Assignee Title
CN107975538A (en) * 2016-10-24 2018-05-01 斯凯孚公司 The bearing-hub assembly of wheel
US10208802B2 (en) * 2015-06-12 2019-02-19 Nok Corporation Sealing device
JP2022149859A (en) * 2021-03-25 2022-10-07 Ntn株式会社 Wheel bearing device
WO2024048552A1 (en) 2022-08-31 2024-03-07 Nok株式会社 Sealing structure

Citations (6)

* Cited by examiner, † Cited by third party
Publication number Priority date Publication date Assignee Title
JPH1193961A (en) * 1997-09-24 1999-04-06 Koyo Chicago Lowhide Kk Seal device
JP2003240003A (en) * 2002-02-18 2003-08-27 Nsk Ltd Bearing seals, sealed bearings and hub unit bearings
JP2006132684A (en) * 2004-11-08 2006-05-25 Uchiyama Mfg Corp Seal member for bearing
JP2008223783A (en) * 2007-03-08 2008-09-25 Jtekt Corp Seal structure of wheel support device
WO2010013439A1 (en) * 2008-07-30 2010-02-04 Ntn株式会社 Wheel-bearing device
JP2010032013A (en) * 2008-07-30 2010-02-12 Ntn Corp Bearing device for wheel

Patent Citations (6)

* Cited by examiner, † Cited by third party
Publication number Priority date Publication date Assignee Title
JPH1193961A (en) * 1997-09-24 1999-04-06 Koyo Chicago Lowhide Kk Seal device
JP2003240003A (en) * 2002-02-18 2003-08-27 Nsk Ltd Bearing seals, sealed bearings and hub unit bearings
JP2006132684A (en) * 2004-11-08 2006-05-25 Uchiyama Mfg Corp Seal member for bearing
JP2008223783A (en) * 2007-03-08 2008-09-25 Jtekt Corp Seal structure of wheel support device
WO2010013439A1 (en) * 2008-07-30 2010-02-04 Ntn株式会社 Wheel-bearing device
JP2010032013A (en) * 2008-07-30 2010-02-12 Ntn Corp Bearing device for wheel

Cited By (7)

* Cited by examiner, † Cited by third party
Publication number Priority date Publication date Assignee Title
US10208802B2 (en) * 2015-06-12 2019-02-19 Nok Corporation Sealing device
CN114635915A (en) * 2015-06-12 2022-06-17 Nok株式会社 Sealing device
CN114635915B (en) * 2015-06-12 2024-05-10 Nok株式会社 Sealing device
CN107975538A (en) * 2016-10-24 2018-05-01 斯凯孚公司 The bearing-hub assembly of wheel
JP2022149859A (en) * 2021-03-25 2022-10-07 Ntn株式会社 Wheel bearing device
JP7787645B2 (en) 2021-03-25 2025-12-17 Ntn株式会社 Wheel bearing device
WO2024048552A1 (en) 2022-08-31 2024-03-07 Nok株式会社 Sealing structure

Also Published As

Publication number Publication date
JP5988738B2 (en) 2016-09-07

Similar Documents

Publication Publication Date Title
JP4371429B2 (en) Wheel bearing device
JP6603078B2 (en) Wheel bearing device
JP6228756B2 (en) Wheel bearing device
JP5836584B2 (en) Wheel bearing device
JP6275465B2 (en) SEALING DEVICE AND WHEEL BEARING DEVICE HAVING THE SAME
WO2010013439A1 (en) Wheel-bearing device
JP2010053893A (en) Wheel-bearing device
JP2012056411A (en) Wheel bearing device
JP6336768B2 (en) SEALING DEVICE AND WHEEL BEARING DEVICE HAVING THE SAME
JP6392531B2 (en) Wheel bearing device
JP5468751B2 (en) Wheel bearing device
JP2011088513A (en) Bearing seal for wheels and bearing device for wheels equipped with the same
JP2017013706A (en) Wheel bearing device
JP5988738B2 (en) Wheel bearing device
JP5468753B2 (en) Wheel bearing device
JP2016003709A (en) Wheel bearing device
JP2010043670A (en) Wheel-bearing device
JP6629545B2 (en) Wheel bearing device
JP6309228B2 (en) Manufacturing method of wheel bearing device
JP4812112B2 (en) Wheel bearing device
JP4679325B2 (en) Wheel bearing device
JP5414964B2 (en) Wheel bearing device
JP2018080840A (en) Sealing device and bearing device for wheel having the same
JP2011149530A (en) Bearing device for wheel
JP2008095766A (en) Wheel bearing

Legal Events

Date Code Title Description
A621 Written request for application examination

Free format text: JAPANESE INTERMEDIATE CODE: A621

Effective date: 20150515

A977 Report on retrieval

Free format text: JAPANESE INTERMEDIATE CODE: A971007

Effective date: 20160216

A131 Notification of reasons for refusal

Free format text: JAPANESE INTERMEDIATE CODE: A131

Effective date: 20160226

A521 Request for written amendment filed

Free format text: JAPANESE INTERMEDIATE CODE: A523

Effective date: 20160330

TRDD Decision of grant or rejection written
A01 Written decision to grant a patent or to grant a registration (utility model)

Free format text: JAPANESE INTERMEDIATE CODE: A01

Effective date: 20160715

A61 First payment of annual fees (during grant procedure)

Free format text: JAPANESE INTERMEDIATE CODE: A61

Effective date: 20160809

R150 Certificate of patent or registration of utility model

Ref document number: 5988738

Country of ref document: JP

Free format text: JAPANESE INTERMEDIATE CODE: R150

R250 Receipt of annual fees

Free format text: JAPANESE INTERMEDIATE CODE: R250

R250 Receipt of annual fees

Free format text: JAPANESE INTERMEDIATE CODE: R250

R250 Receipt of annual fees

Free format text: JAPANESE INTERMEDIATE CODE: R250

R250 Receipt of annual fees

Free format text: JAPANESE INTERMEDIATE CODE: R250

R250 Receipt of annual fees

Free format text: JAPANESE INTERMEDIATE CODE: R250

LAPS Cancellation because of no payment of annual fees