JP2014018801A - Hole piercing method, method for manufacturing structure with hole, and structure with hole - Google Patents

Hole piercing method, method for manufacturing structure with hole, and structure with hole Download PDF

Info

Publication number
JP2014018801A
JP2014018801A JP2012156393A JP2012156393A JP2014018801A JP 2014018801 A JP2014018801 A JP 2014018801A JP 2012156393 A JP2012156393 A JP 2012156393A JP 2012156393 A JP2012156393 A JP 2012156393A JP 2014018801 A JP2014018801 A JP 2014018801A
Authority
JP
Japan
Prior art keywords
hole
diameter
cooling
drilling
workpiece
Prior art date
Legal status (The legal status is an assumption and is not a legal conclusion. Google has not performed a legal analysis and makes no representation as to the accuracy of the status listed.)
Pending
Application number
JP2012156393A
Other languages
Japanese (ja)
Inventor
Toshifumi Matsuda
俊史 松田
Current Assignee (The listed assignees may be inaccurate. Google has not performed a legal analysis and makes no representation or warranty as to the accuracy of the list.)
Honda Motor Co Ltd
Original Assignee
Honda Motor Co Ltd
Priority date (The priority date is an assumption and is not a legal conclusion. Google has not performed a legal analysis and makes no representation as to the accuracy of the date listed.)
Filing date
Publication date
Application filed by Honda Motor Co Ltd filed Critical Honda Motor Co Ltd
Priority to JP2012156393A priority Critical patent/JP2014018801A/en
Priority to US13/938,429 priority patent/US20140017443A1/en
Publication of JP2014018801A publication Critical patent/JP2014018801A/en
Pending legal-status Critical Current

Links

Images

Classifications

    • BPERFORMING OPERATIONS; TRANSPORTING
    • B21MECHANICAL METAL-WORKING WITHOUT ESSENTIALLY REMOVING MATERIAL; PUNCHING METAL
    • B21DWORKING OR PROCESSING OF SHEET METAL OR METAL TUBES, RODS OR PROFILES WITHOUT ESSENTIALLY REMOVING MATERIAL; PUNCHING METAL
    • B21D28/00Shaping by press-cutting; Perforating
    • B21D28/24Perforating, i.e. punching holes
    • B21D28/26Perforating, i.e. punching holes in sheets or flat parts
    • BPERFORMING OPERATIONS; TRANSPORTING
    • B21MECHANICAL METAL-WORKING WITHOUT ESSENTIALLY REMOVING MATERIAL; PUNCHING METAL
    • B21DWORKING OR PROCESSING OF SHEET METAL OR METAL TUBES, RODS OR PROFILES WITHOUT ESSENTIALLY REMOVING MATERIAL; PUNCHING METAL
    • B21D22/00Shaping without cutting, by stamping, spinning, or deep-drawing
    • B21D22/02Stamping using rigid devices or tools
    • B21D22/022Stamping using rigid devices or tools by heating the blank or stamping associated with heat treatment
    • BPERFORMING OPERATIONS; TRANSPORTING
    • B21MECHANICAL METAL-WORKING WITHOUT ESSENTIALLY REMOVING MATERIAL; PUNCHING METAL
    • B21DWORKING OR PROCESSING OF SHEET METAL OR METAL TUBES, RODS OR PROFILES WITHOUT ESSENTIALLY REMOVING MATERIAL; PUNCHING METAL
    • B21D35/00Combined processes according to or processes combined with methods covered by groups B21D1/00 - B21D31/00
    • B21D35/001Shaping combined with punching, e.g. stamping and perforating
    • YGENERAL TAGGING OF NEW TECHNOLOGICAL DEVELOPMENTS; GENERAL TAGGING OF CROSS-SECTIONAL TECHNOLOGIES SPANNING OVER SEVERAL SECTIONS OF THE IPC; TECHNICAL SUBJECTS COVERED BY FORMER USPC CROSS-REFERENCE ART COLLECTIONS [XRACs] AND DIGESTS
    • Y10TECHNICAL SUBJECTS COVERED BY FORMER USPC
    • Y10TTECHNICAL SUBJECTS COVERED BY FORMER US CLASSIFICATION
    • Y10T428/00Stock material or miscellaneous articles
    • Y10T428/24Structurally defined web or sheet [e.g., overall dimension, etc.]
    • Y10T428/24273Structurally defined web or sheet [e.g., overall dimension, etc.] including aperture

Landscapes

  • Engineering & Computer Science (AREA)
  • Mechanical Engineering (AREA)
  • Physics & Mathematics (AREA)
  • Thermal Sciences (AREA)
  • Shaping Metal By Deep-Drawing, Or The Like (AREA)

Abstract

【課題】熱間プレスを用いて孔開け加工を容易に行う孔開け加工方法、孔を備えた構造体の製造方法および孔を備えた構造体を提供する。
【解決手段】熱間プレス成形方法であって、ワークWを加熱する加熱工程S1と、ピアス刃24aでワークWに孔開け加工を行う切断加工工程S4と、切断加工工程S4で開けた孔Hの周囲に、孔Hを拡径させる凹部Cを形成する凹部加工工程S5と、ワークWを冷却する冷却工程S6と、を含み、凹部加工工程S5によって形成された凹部Cによる孔Hの拡径量は、冷却工程S6による縮径量よりも大きい。
【選択図】図1
A drilling method for easily performing a drilling process using a hot press, a method for manufacturing a structure with holes, and a structure with holes.
SOLUTION: A hot press forming method, a heating step S1 for heating a workpiece W, a cutting step S4 for punching the workpiece W with a piercing blade 24a, and a hole H opened in the cutting step S4. Including a recess processing step S5 for forming a recess C for expanding the hole H and a cooling step S6 for cooling the workpiece W, and the diameter of the hole H by the recess C formed by the recess processing step S5 is increased. The amount is larger than the diameter reduction by the cooling step S6.
[Selection] Figure 1

Description

本発明は、加熱した構造体をプレスした後に冷却して焼入れを行う熱間プレスを用いた孔開け加工方法、孔を備えた構造体の製造方法および孔を備えた構造体に関する。   The present invention relates to a drilling method using a hot press in which a heated structure is pressed and then cooled and quenched, a method for manufacturing a structure with holes, and a structure with holes.

熱間プレスを用いて構造体を製造する手法が知られている。熱間プレスでは、まず構造体を約1000℃などに加熱し、加熱された構造体に対してプレス加工を行い、次に構造体を冷却して、鋼板組織を加熱時のオーステナイト組織からマルテンサイト組織に変態させる焼入れを行い、プレス加工後の構造体を高硬度に形成する。   A technique for manufacturing a structure using a hot press is known. In the hot pressing, the structure is first heated to about 1000 ° C., and the heated structure is pressed, and then the structure is cooled to change the steel sheet structure from the austenite structure during heating to martensite. Quenching that transforms the structure is performed, and the pressed structure is formed with high hardness.

ここで従来、熱間プレスを用いて車体部品などの構造体を製造する際に、穿孔やトリミングを行う工具を長寿命化する技術が開示されている(例えば、特許文献1参照)。
特許文献1に開示された技術では、加熱された構造体を金型によってフォーム成形するときに、同時に工具による構造体の加工を行う。
この技術によると、構造体が冷却による焼入れで高硬度に形成される前に、工具による構造体の加工を行うので、工具負担を軽減させ、工具を長寿命化することができる。
Conventionally, a technique for extending the life of a tool for drilling or trimming when a structure such as a vehicle body part is manufactured using a hot press has been disclosed (for example, see Patent Document 1).
In the technique disclosed in Patent Document 1, when a heated structure is formed by a mold, the structure is processed by a tool at the same time.
According to this technique, since the structure is processed with the tool before the structure is formed with high hardness by quenching by cooling, the burden on the tool can be reduced and the life of the tool can be extended.

特開2005−248253号公報JP 2005-248253 A

しかしながら、特許文献1に開示された技術であっても、構造体に孔を開けることは容易ではない。   However, even with the technique disclosed in Patent Document 1, it is not easy to make holes in the structure.

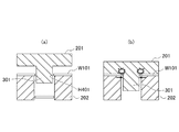
図5は、従来技術の熱間プレスを用いた孔開け加工方法およびその問題点を示す図であり、(a)は孔開け加工工程を示し、(b)は問題点を示す。   FIG. 5 is a diagram showing a drilling method using a hot press according to the prior art and its problems. (A) shows a drilling process and (b) shows a problem.

図5(a)に示すように、加熱された構造体W101を下型202に載置し、上型201を下死点に移動させることによってプレス成形するときに、上型201に一体的に構成されたピアス刃301によって構造体W101に孔開け加工を行う。
ピアス刃301によって構造体W101に孔H401を開けた後、温度低下に起因する収縮によって構造体W101に変形が生じることを防止するため、上型201を下死点に保持することがある。
As shown in FIG. 5A, when the heated structure W101 is placed on the lower mold 202 and press molding is performed by moving the upper mold 201 to the bottom dead center, the upper structure 201 is integrated with the upper mold 201. The structure W101 is drilled by the configured piercing blade 301.
After the hole H401 is opened in the structure W101 by the piercing blade 301, the upper mold 201 may be held at the bottom dead center in order to prevent the structure W101 from being deformed due to shrinkage caused by a temperature drop.

しかしながら、上型201が下死点に保持された状態、すなわちピアス刃301が孔H401に挿入されている状態で、構造体W101を冷却して焼入れを行うと、構造体W101が収縮して孔H401が縮径し、図5(b)に示すように、ピアス刃301は縮径した孔H401に拘束される。
このため、縮径した孔H401に拘束されたピアス刃301を構造体W101から分離することは困難であった。
However, when the structure W101 is cooled and quenched with the upper mold 201 held at the bottom dead center, that is, with the piercing blade 301 inserted into the hole H401, the structure W101 contracts and the hole The diameter of H401 is reduced, and as shown in FIG. 5B, the piercing blade 301 is restrained by the reduced diameter hole H401.
For this reason, it is difficult to separate the piercing blade 301 constrained by the reduced diameter hole H401 from the structure W101.

本発明は上記課題を解決するためのものであり、その目的は、熱間プレスを用いて孔開け加工を容易に行う孔開け加工方法、孔を備えた構造体の製造方法および孔を備えた構造体を提供することにある。   The present invention is for solving the above-mentioned problems, and the object thereof is to provide a drilling method for easily performing a drilling process using a hot press, a method for manufacturing a structure having holes, and a hole. It is to provide a structure.

(1) 熱間プレスを用いる孔開け加工方法であって、切断刃(例えば、後述のピアス刃24a)で構造体(例えば、後述のワークW)に孔開け加工を行う孔開け工程(例えば、後述の切断加工工程S4)と、前記構造体の前記孔開け工程で開けた孔(例えば、後述の孔H)の周囲に、前記孔を拡径させる凹凸部(例えば、後述の凹部C)を形成する凹凸加工工程(例えば、後述の凹部加工工程S5)と、前記構造体を冷却する冷却工程(例えば、後述の冷却工程S6)と、を含むことを特徴とする孔開け加工方法。   (1) A drilling method using a hot press, in which a punching process (for example, a piercing blade 24a described later) is performed on a structure (for example, a workpiece W described later) by a drilling process (for example, An uneven portion (for example, a recess C described later) for expanding the diameter of the hole is formed around a hole (for example, a hole H described later) opened in the hole forming step of the structure, which will be described later. A drilling method characterized by including a concave / convex processing step (for example, a concave processing step S5 described later) and a cooling step (for example, a cooling step S6 described later) for cooling the structure.

(1)の発明によると、孔の周囲に凹凸部を形成することによって孔を微小分だけ拡径するので、冷却工程で冷却された構造体が収縮しても、孔が切断刃の径よりも小さく縮径しない。よって、孔開け加工を行った後に切断刃を孔に挿入した状態で冷却工程を行っても、切断刃が孔に拘束されることがなく、切断刃を高硬度に形成された構造体から容易に分離することができる。したがって、熱間プレスを用いて孔開け加工を容易に行うことができる。   According to the invention of (1), since the diameter of the hole is increased by a minute amount by forming an uneven portion around the hole, the hole is smaller than the diameter of the cutting blade even if the structure cooled in the cooling process contracts. The diameter is not reduced. Therefore, even if the cooling process is performed with the cutting blade inserted into the hole after drilling, the cutting blade is not constrained by the hole, and the cutting blade can be easily formed from a structure with high hardness. Can be separated. Therefore, a hole punching process can be easily performed using a hot press.

(2) 前記凹凸加工工程によって形成された前記凹凸部による前記孔の拡径量は、前記冷却工程による縮径量よりも大きいことを特徴とする(1)記載の孔開け加工方法。   (2) The hole drilling method according to (1), wherein an amount of diameter expansion of the hole by the uneven portion formed by the unevenness processing step is larger than an amount of diameter reduction by the cooling step.

(2)の発明によると、凹凸部による孔の拡径量は、冷却工程による縮径量よりも大きいので、冷却工程によって冷却された構造体が収縮しても、孔を拡径させておくことができる。   According to the invention of (2), since the diameter of the hole due to the uneven portion is larger than the diameter reduced by the cooling process, the diameter of the hole is expanded even if the structure cooled by the cooling process contracts. be able to.

(3) 前記凹凸加工工程によって形成された前記凹凸部による前記孔の拡径量は、前記冷却工程による径方向の縮径量が大きい方向ほど大きいことを特徴とする(1)または(2)記載の孔開け加工方法。   (3) (1) or (2), wherein the diameter expansion amount of the hole by the uneven portion formed by the unevenness processing step is larger in a direction in which the diameter reduction amount in the radial direction by the cooling step is larger. The drilling method described.

(3)の発明によると、凹凸部による孔の拡径量は、冷却工程による径方向の縮径量が大きい方向ほど大きいので、冷却工程による径方向の縮径量が異なる場合であっても、孔の形状は孔開け工程で開けたときの形状から大きく変形しない。   According to the invention of (3), since the diameter expansion amount of the hole due to the concavo-convex portion is larger as the diameter reduction amount in the radial direction by the cooling process is larger, even if the diameter reduction amount in the radial direction by the cooling process is different. The shape of the hole is not greatly deformed from the shape when it is opened in the hole making process.

(4) 熱間プレスを用いて製造される孔(例えば、後述の孔H)を備えた構造体(例えば、後述のワークW)の製造方法であって、前記構造体を加熱する加熱工程(例えば、後述の加熱工程S1)と、切断刃(例えば、後述のピアス刃24a)で前記構造体に孔開け加工を行う孔開け工程(例えば、後述の切断加工工程S4)と、前記孔の周囲に、前記構造体の前記孔開け工程で開けた孔を拡径させる凹凸部(例えば、後述の凹部C)を形成する凹凸加工工程(例えば、後述の凹部加工工程S5)と、前記切断刃を前記孔に挿入した状態で、前記構造体を冷却する冷却工程(例えば、後述の冷却工程S6)と、を含み、前記凹凸加工工程によって形成された前記凹凸部による前記孔の拡径量は、前記冷却工程による縮径量よりも大きいことを特徴とする孔を備えた構造体の製造方法。   (4) A method of manufacturing a structure (for example, a work W described later) provided with a hole (for example, a hole H described later) manufactured using a hot press, the heating step for heating the structure ( For example, a heating step S1) to be described later, a drilling step (for example, a cutting step S4 to be described later) for punching the structure with a cutting blade (for example, a piercing blade 24a to be described later), and a periphery of the hole An uneven processing step (for example, a recess processing step S5 described later) for forming an uneven portion (for example, a recess C described later) for expanding the diameter of the hole formed in the hole forming step of the structure, and the cutting blade A cooling step (for example, cooling step S6 to be described later) for cooling the structure in a state of being inserted into the hole, and the diameter expansion amount of the hole by the uneven portion formed by the uneven processing step is It is larger than the diameter reduction by the cooling process. Method for producing a structure with a hole, characterized.

(4)の発明によると、孔の周囲に孔の拡径量が冷却工程による縮径量よりも大きい凹凸部を形成することによって孔を微小分だけ拡径するので、冷却工程で冷却された構造体が収縮しても、孔を拡径させておくことができる。よって、孔開け加工を行った後に切断刃を孔に挿入して冷却工程を行っても、切断刃は拡径された孔に拘束されることがなく、切断刃を高硬度に形成された構造体から容易に分離することができる。したがって、熱間プレスを用いて孔開け加工を容易に行うことができる。   According to the invention of (4), the diameter of the hole is increased by a minute amount by forming an uneven part in which the diameter of the hole is larger than the amount of diameter reduction by the cooling process around the hole. Even if the structure contracts, the diameter of the hole can be increased. Therefore, even if the cutting blade is inserted into the hole after the drilling process and the cooling process is performed, the cutting blade is not restrained by the expanded diameter hole, and the cutting blade is formed with high hardness. It can be easily separated from the body. Therefore, a hole punching process can be easily performed using a hot press.

(5) 熱間プレスを用いて製造される孔(例えば、後述の孔H)を備えた構造体(例えば、後述のワークW)であって、熱間プレスにおける前記構造体を加熱する加熱工程(例えば、後述の加熱工程S1)の後であって前記構造体を冷却する冷却工程(例えば、後述の冷却工程S6)の前に形成された、切断刃(例えば、後述のピアス刃24a)での孔開け加工による孔と、前記孔の周囲の前記孔を拡径させる凹凸部(例えば、後述の凹部C)と、を備えたことを特徴とする孔を備えた構造体。   (5) A heating process for heating the structure in the hot press, which is a structure (for example, a work W described later) provided with a hole (for example, a hole H described later) manufactured using a hot press. With a cutting blade (for example, a piercing blade 24a, which will be described later) formed after the cooling process (for example, a cooling step S6, which will be described later) after the heating process (for example, a heating step S1 which will be described later). A structure provided with a hole, comprising: a hole formed by drilling a hole; and a concavo-convex part (for example, a concave part C described later) for expanding the diameter of the hole around the hole.

(5)の発明によると、(1)の発明と同様な効果を奏する。   According to invention of (5), there exists an effect similar to invention of (1).

(6) 熱間プレスを用いて製造される孔(例えば、後述の孔H)を備えた構造体(例えば、後述のワークW)であって、熱間プレスにおける前記構造体を加熱する加熱工程(例えば、後述の加熱工程S1)の後に切断刃(例えば、後述のピアス刃24a)での孔開け加工によって形成され、前記切断刃を前記孔に挿入した状態で、前記構造体を冷却する冷却工程(例えば、後述の冷却工程S6)を経る孔と、前記孔開け加工後に前記孔の周囲に形成され、前記冷却工程による縮径量よりも大きい拡径量で前記孔を拡径させる凹凸部(例えば、後述の凹部C)と、を備えたことを特徴とする孔を備えた構造体。   (6) A heating process for heating the structure in the hot press, which is a structure (for example, a work W described later) provided with a hole (for example, a hole H described later) manufactured using a hot press. Cooling that is formed by drilling with a cutting blade (for example, a piercing blade 24a described later) after (for example, heating step S1 described later), and cools the structure in a state where the cutting blade is inserted into the hole. A hole that undergoes a process (for example, cooling process S6 described later), and an uneven part that is formed around the hole after the drilling process, and expands the hole by a larger diameter than the diameter reduced by the cooling process. (For example, a concave portion C described later), and a structure including a hole.

(6)の発明によると、(4)の発明と同様な効果を奏する。   According to the invention of (6), the same effect as the invention of (4) is produced.

本発明によれば、熱間プレスを用いて孔開け加工を容易に行う孔開け加工方法、孔を備えた構造体の製造方法および孔を備えた構造体を提供することができる。   ADVANTAGE OF THE INVENTION According to this invention, the drilling method which performs a drilling process easily using a hot press, the manufacturing method of the structure provided with the hole, and the structure provided with the hole can be provided.

本発明の実施形態に係る熱間プレス成形方法における各工程を示す図である。It is a figure which shows each process in the hot press molding method which concerns on embodiment of this invention. 上記実施形態に係る熱間プレス成形方法の工程図である。It is process drawing of the hot press molding method which concerns on the said embodiment. 上記実施形態に係る凹部が形成されたワークの孔周辺拡大図である。It is a hole periphery enlarged view of the workpiece | work in which the recessed part which concerns on the said embodiment was formed. 上記実施形態に係る熱間プレス成形方法によって製造されたワークの孔周辺拡大図である。It is a hole periphery enlarged view of the workpiece | work manufactured by the hot press molding method which concerns on the said embodiment. 従来技術の熱間プレスを用いた孔開け加工方法およびその問題点を示す図である。It is a figure which shows the drilling method using the hot press of a prior art, and its problem.

以下に図面を参照して本発明の実施形態を説明する。
まず、熱間プレス成形方法に用いられる金型1について説明する。
図1は、本発明の実施形態に係る熱間プレス成形方法における各工程を示す図であり、(a)は載置工程、(b)はフォーム成形工程、(c)は切断加工工程、(d)は凹部加工工程をそれぞれ示す。
Embodiments of the present invention will be described below with reference to the drawings.
First, the metal mold | die 1 used for the hot press molding method is demonstrated.
FIG. 1 is a diagram showing each step in a hot press molding method according to an embodiment of the present invention, where (a) is a placement step, (b) is a foam molding step, (c) is a cutting step, d) shows a recessed part processing process, respectively.

熱間プレス成形方法によって成形されるワークWは、高張力鋼板を材料とした車体部品などの構造体であり、熱間プレス成形方法によるプレス成形を経ると高い引っ張り強さを有する高硬度な構造体に製造される。   The workpiece W formed by the hot press forming method is a structure such as a vehicle body part made of a high-tensile steel plate, and has a high hardness structure having high tensile strength after press forming by the hot press forming method. Manufactured to the body.

熱間プレス成形方法に用いられる金型1は、図1に示すように、上型2と下型3とを備える。上型2は、プレス実施時に下降する可動型であり、下型3は、固定型である。   A mold 1 used in the hot press molding method includes an upper mold 2 and a lower mold 3 as shown in FIG. The upper die 2 is a movable die that descends during pressing, and the lower die 3 is a fixed die.

上型2は、下型3の後述する下成形表面3aと協働してワークWに略円錐台形状のフォーム成形を行う上成形表面21aを有するパッド21を備える。パッド21は、上型2に弾性体22を介して取り付けられている。弾性体22は、後述するフォーム成形工程の後に収縮してパッド21を上型2に近接させる。   The upper mold 2 includes a pad 21 having an upper molding surface 21a that forms a substantially frustoconical form on the workpiece W in cooperation with a lower molding surface 3a (described later) of the lower mold 3. The pad 21 is attached to the upper mold 2 via an elastic body 22. The elastic body 22 contracts after a foam molding process, which will be described later, to bring the pad 21 close to the upper mold 2.

上型2は、フォーム成形を行うパッド21の周辺領域に上トリム部23を備え、パッド21の略中央部にピアス部24およびスコアパンチ部25を備える。   The upper die 2 includes an upper trim portion 23 in a peripheral region of the pad 21 where foam molding is performed, and includes a piercing portion 24 and a score punch portion 25 at a substantially central portion of the pad 21.

上トリム部23は、パッド21の周辺領域に配置され、上型2に一体的に取り付けられている。上トリム部23は、ワークWに端部の切断加工を行う上トリム刃23aを有する。
上トリム刃23aは、下トリム刃31aと協働してワークWの端部を挟んで切断する。
The upper trim portion 23 is disposed in the peripheral region of the pad 21 and is integrally attached to the upper mold 2. The upper trim portion 23 has an upper trim blade 23a for cutting the end portion of the workpiece W.
The upper trim blade 23a cooperates with the lower trim blade 31a and cuts with the end portion of the workpiece W interposed therebetween.

ピアス部24は、パッド21の略中央部に設けられた穴部21bの中央に配置され、上型2に一体的に取り付けられている。ピアス部24は、ワークWに径φAの正円形状の孔H(図3参照)の孔開け加工を行うピアス刃24aを有する。
ピアス刃24aは、円形の端面であり、後述する下型3の穴部33に収容される際にワークWに孔Hを開ける。
The pierce portion 24 is disposed at the center of a hole portion 21 b provided at a substantially central portion of the pad 21 and is integrally attached to the upper mold 2. The piercing portion 24 has a piercing blade 24a for drilling a circular hole H (see FIG. 3) having a diameter φA in the work W.
The piercing blade 24a is a circular end face, and opens a hole H in the workpiece W when being accommodated in a hole 33 of the lower mold 3 described later.

スコアパンチ部25は、パッド21の略中央部に設けられた穴部21bにおいてピアス部24の周囲に略円環状に配置され、上型2に一体的に取り付けられている。スコアパンチ部25は、ワークWに後述する凹部Cを形成するスコアパンチ25aを有する。
スコアパンチ25aは、ワークWの孔Hの周囲に凹みを点在させて形成する半球形の凸部であってよい。
The score punch portion 25 is disposed in a substantially annular shape around the piercing portion 24 in a hole portion 21 b provided in a substantially central portion of the pad 21, and is integrally attached to the upper mold 2. The score punch unit 25 includes a score punch 25a that forms a later-described recess C in the workpiece W.
The score punch 25a may be a hemispherical convex portion formed by interspersing dents around the hole H of the workpiece W.

上トリム部23およびピアス部24は、上型2が下降して、スコアパンチ25aがワークWに凹部Cを形成する前に、上トリム刃23aおよびピアス刃24aがワークWに切断加工を行うように構成されている。上トリム刃23aによる切断加工とピアス刃24aによる切断加工は、ほぼ同じタイミングで行うように構成されていてよい。
すなわち、上トリム部23は、ピアス部24より下方に突出しているが、ピアス刃24aによってワークWに切断加工を行うのとほぼ同じタイミングで上トリム刃23aによってワークWに切断加工を行う位置に配置されていてよい。
The upper trim portion 23 and the piercing portion 24 are formed so that the upper trim blade 23a and the piercing blade 24a cut the workpiece W before the upper die 2 is lowered and the score punch 25a forms the recess C in the workpiece W. It is configured. The cutting process by the upper trim blade 23a and the cutting process by the piercing blade 24a may be configured to be performed at substantially the same timing.
In other words, the upper trim portion 23 protrudes downward from the piercing portion 24, but at a position where the workpiece W is cut by the upper trim blade 23a at substantially the same timing as the cutting of the workpiece W by the piercing blade 24a. It may be arranged.

ピアス部24は、スコアパンチ部25がスコアパンチ25aによってワークWに凹部Cを形成する前に、ピアス刃24aによってワークWに切断加工を行うために、スコアパンチ部25よりも下方に突出している。   The piercing portion 24 protrudes below the score punch portion 25 in order to cut the workpiece W by the piercing blade 24a before the score punch portion 25 forms the recess C in the workpiece W by the score punch 25a. .

スコアパンチ部25は、ピアス刃24aによってワークWに切断加工を行って孔Hを形成した後、上型2が下死点に至るタイミングでワークWの孔Hの周囲に凹部Cを形成するように配置されている。   The score punch unit 25 cuts the workpiece W with the piercing blade 24a to form the hole H, and then forms the recess C around the hole H of the workpiece W at the timing when the upper mold 2 reaches the bottom dead center. Is arranged.

下型3は、床面に固定され、パッド21の上成形表面21aと協働してワークWにフォーム成形を行う下成形表面3aを有する。   The lower mold 3 is fixed to the floor surface, and has a lower molding surface 3a that forms the workpiece W in cooperation with the upper molding surface 21a of the pad 21.

下型3は、パッド21の下方に下トリム部31を備え、上トリム部23の下方にトレイ32を備え、ピアス部24の下方に穴部33を備え、スコアパンチ部25の下方に凹部34を備える。   The lower die 3 includes a lower trim portion 31 below the pad 21, a tray 32 below the upper trim portion 23, a hole 33 below the piercing portion 24, and a recess 34 below the score punch portion 25. Is provided.

下トリム部31は、上トリム部23よりも金型1の内側に配置され、下型3に一体的に取り付けられている。下トリム部31は、上トリム刃23aと協働してワークWを挟んでワークWに端部の切断加工を行う下トリム刃31aを有する。   The lower trim portion 31 is disposed inside the mold 1 with respect to the upper trim portion 23 and is integrally attached to the lower die 3. The lower trim portion 31 has a lower trim blade 31a that cuts an end portion of the workpiece W with the workpiece W interposed therebetween in cooperation with the upper trim blade 23a.

トレイ32は、上下のトリム刃23a,31aに挟まれて切断されることによって落下したワークWの切断片Eを受ける。   The tray 32 receives a cut piece E of the workpiece W dropped by being sandwiched and cut between the upper and lower trim blades 23a and 31a.

穴部33は、ピアス刃24aによって孔開けされて落下したワークWの孔片Dを下方に流す。   The hole 33 allows the hole piece D of the workpiece W that has been drilled and dropped by the piercing blade 24a to flow downward.

凹部34は、半球形の凹みであってよく、下型3の下成形表面3aの穴部33の周囲において、スコアパンチ25aが凹部Cを形成するときにスコアパンチ25aの先端が押し込まれる位置に設けられていてよい。   The recess 34 may be a hemispherical recess, and is positioned around the hole 33 of the lower molding surface 3a of the lower mold 3 at a position where the tip of the score punch 25a is pushed when the score punch 25a forms the recess C. It may be provided.

スコアパンチ25aが上型2に設けられるとともに凹部34が下型3の下成形表面3aに設けられ、下成形表面3a上に突起物が設けられていないため、凹部34上に載置されるワークWは下型3の下成形表面3aに浮き上がらず保持される。このため、後述するフォーム成形工程S3や切断加工工程S4では、ワークWの浮き上がりによるずれが生じず、ワークWの製品精度を悪化させない。   Since the score punch 25a is provided on the upper mold 2 and the recess 34 is provided on the lower molding surface 3a of the lower mold 3, and no protrusion is provided on the lower molding surface 3a, the workpiece placed on the recess 34 W is held on the lower molding surface 3a of the lower mold 3 without being lifted. For this reason, in the foam forming step S3 and the cutting step S4, which will be described later, a shift due to the lifting of the workpiece W does not occur, and the product accuracy of the workpiece W does not deteriorate.

次に、本実施形態に係る熱間プレス成形方法を説明する。
図2は、本実施形態に係る熱間プレス成形方法の工程図である。
Next, the hot press molding method according to this embodiment will be described.
FIG. 2 is a process diagram of the hot press molding method according to the present embodiment.

(加熱工程S1)
熱間プレス成形方法では、まず、ワークWを約1000℃などに加熱する。
(Heating step S1)
In the hot press molding method, first, the workpiece W is heated to about 1000 ° C. or the like.

(載置工程S2)
そして図1(a)に示すように、加熱されたワークWを、上型2が上死点まで持ち上げられて型開きした状態の下型3の下成形表面3aの所定の位置に載置する。
(Installation process S2)
Then, as shown in FIG. 1A, the heated workpiece W is placed at a predetermined position on the lower molding surface 3a of the lower mold 3 in a state where the upper mold 2 is lifted to the top dead center and the mold is opened. .

(フォーム成形工程S3)
次に、上型2を上死点から下降させて行き、図1(b)に示すように、上型2のパッド21を下型3に載置されたワークWに当接させ、ワークWをパッド21および下型3で押圧し、ワークWに上成形表面21aおよび下成形表面3aに倣ったフォーム成形を行う。
(Form forming step S3)
Next, the upper die 2 is lowered from the top dead center, and the pad 21 of the upper die 2 is brought into contact with the workpiece W placed on the lower die 3 as shown in FIG. Is pressed by the pad 21 and the lower mold 3 to form the workpiece W in accordance with the upper molding surface 21a and the lower molding surface 3a.

(切断加工工程S4)
さらに上型2を下降させて行くと、図1(c)に示すように、パッド21によるワークWへの当接を維持した状態で、弾性体22が収縮し、上型2の上トリム部23の上トリム刃23aをワークWに当接させ、上下のトリム刃23a,31aでワークWの端部を挟んで切断する切断加工を行う。
またほぼ同時に、上型2のピアス部24のピアス刃24aをワークWに当接させ、ピアス刃24aでワークWに径φAの孔Hを開ける孔開け加工を行う。
(Cutting process S4)
When the upper die 2 is further lowered, as shown in FIG. 1C, the elastic body 22 contracts in a state where the contact with the work W by the pad 21 is maintained, and the upper trim portion of the upper die 2 is contracted. 23, the upper trim blade 23a is brought into contact with the workpiece W, and cutting processing is performed in which the upper and lower trim blades 23a and 31a sandwich the end portion of the workpiece W and cut.
At almost the same time, the piercing blade 24a of the piercing portion 24 of the upper mold 2 is brought into contact with the workpiece W, and a drilling process is performed in which a hole H having a diameter φA is formed in the workpiece W by the piercing blade 24a.

(凹部加工工程S5)
さらに上型2を下死点まで下降させ、図1(d)に示すように、上型2のスコアパンチ部25のスコアパンチ25aをワークWに当接させ、スコアパンチ25aでワークWの一部を下型3の凹部34に押し付けて凹部Cを形成する。
(Concavity processing step S5)
Further, the upper die 2 is lowered to the bottom dead center, and the score punch 25a of the score punch portion 25 of the upper die 2 is brought into contact with the workpiece W as shown in FIG. The concave portion C is formed by pressing the portion against the concave portion 34 of the lower mold 3.

ここで、凹部Cが形成されたワークWについて説明する。
図3は、本実施形態に係る凹部Cが形成されたワークWの孔H周辺拡大図であり、(a)は斜視図であり、(b)は断面図である。
図3に示すように、ワークWのピアス刃24aによって切断加工された孔Hの周囲に、凹部Cが点在して形成される。
Here, the workpiece | work W in which the recessed part C was formed is demonstrated.
3A and 3B are enlarged views around the hole H of the workpiece W in which the recess C according to the present embodiment is formed. FIG. 3A is a perspective view and FIG. 3B is a cross-sectional view.
As shown in FIG. 3, the recesses C are formed around the holes H cut by the piercing blades 24 a of the workpiece W.

凹部Cは、ワークWの図示破線の径φAの孔Hの周囲の肉を孔Hの外径側の凹部Cに引き込んで孔Hを図示実線の径φBに微小分だけ拡径させるものであり、凹部Cによる孔Hの拡径量は、冷却工程S6による縮径量よりも大きく設定される。
また、凹部Cは、冷却工程S6による径方向の縮径量が大きい方向ほど、多く形成されることが好ましい。すなわち、ワークWにおける孔Hの位置が略中央部ではなく、ワークWの曲げ部に近いときなど、孔Hの冷却工程S6による径方向の縮径量が異なる場合に、凹部Cによる孔Hの拡径量は、冷却工程S6による径方向の縮径量が大きい方向ほど、大きく設定されることが好ましい。
凹部Cによって拡径された径φBの孔Hの形状は、凹部Cが多く形成された領域ほど径方向の拡径量は大きくなり、凹部Cは冷却工程S6の後に孔Hを所望の形状(例えば、切断加工工程S4で開けたときの径φAの正円形状から一回り大きいだけで大きく変形しない正円形状)になるように配置されている。
The concave portion C is for drawing the meat around the hole H of the broken line diameter φA of the workpiece W into the concave portion C on the outer diameter side of the hole H and expanding the hole H by a minute amount to the diameter φB of the solid line illustrated. The diameter expansion amount of the hole H by the recess C is set larger than the diameter reduction amount by the cooling step S6.
Moreover, it is preferable that more concave portions C are formed in the direction in which the amount of diameter reduction in the radial direction in the cooling step S6 is larger. That is, when the amount of diameter reduction in the radial direction by the cooling step S6 of the hole H is different, such as when the position of the hole H in the work W is not the substantially central portion but close to the bent portion of the work W, It is preferable that the diameter expansion amount is set to be larger as the direction in which the diameter reduction in the radial direction in the cooling step S6 is larger.
The shape of the hole H having a diameter φB expanded by the recess C is such that the larger the amount of the recess C, the larger the amount of diameter expansion in the radial direction, and the recess C forms the hole H in a desired shape after the cooling step S6 ( For example, they are arranged so as to have a circular shape with a diameter φA that is opened in the cutting process S4 and that is only one size larger and does not deform significantly.

次に、図2に示す熱間プレス成形方法の工程の説明に戻る。
(冷却工程S6)
凹部Cの加工後に、温度低下に起因する収縮によるワークWの変形を防止するため、上型2を下死点に維持した状態で、金型1ごとワークWを冷却する。
この冷却によってワークWが収縮すると、凹部Cによる径方向の拡径量に応じて拡径されていた径φBの孔Hは、径方向の縮径量に応じて縮径し、少なくとも径φAよりも大きいほぼ正円形状の径φC(図4(a)参照)に形成される。
Next, it returns to description of the process of the hot press molding method shown in FIG.
(Cooling step S6)
After the recess C is processed, the workpiece W is cooled together with the mold 1 in a state where the upper die 2 is maintained at the bottom dead center in order to prevent the deformation of the workpiece W due to shrinkage caused by a temperature drop.
When the workpiece W is contracted by this cooling, the hole H having a diameter φB that has been expanded according to the radial expansion amount by the recess C is reduced according to the radial reduction amount, and at least from the diameter φA. Is formed to have a substantially substantially circular shape diameter φC (see FIG. 4A).

このとき、ワークWの孔Hに挿入されていたピアス刃24aは、孔Hが冷却工程S6による縮径量に抗って凹部Cによって拡径されている(径φC>径φA)ので、ワークWの収縮によって孔Hが縮径されても拘束されず、ワークWから容易に分離可能である。   At this time, the piercing blade 24a inserted into the hole H of the workpiece W is expanded by the recess C against the amount of diameter reduction by the cooling step S6 (diameter φC> diameter φA). Even if the diameter of the hole H is reduced by the shrinkage of W, the hole H is not restricted and can be easily separated from the workpiece W.

そして、上型2を上死点まで型開きし、ピアス刃24aが径φCの孔Hに接触することなく引き抜かれ、ワークWを金型1から取り出す。   Then, the upper mold 2 is opened to the top dead center, the piercing blade 24a is pulled out without contacting the hole H having the diameter φC, and the workpiece W is taken out from the mold 1.

次に、熱間プレス成形方法によって製造されたワークWについて説明する。
図4(a)は、本実施形態に係る熱間プレス成形方法によって製造されたワークWの孔H周辺拡大図である。
図4(a)に示すように、熱間プレス成形方法によって製造された孔Hを備えたワークWは、加熱工程S1の後の切断加工工程S4においてピアス刃24aでの孔開け加工によって形成され、ピアス刃24aを孔Hに挿入した状態で、ワークWを冷却する冷却工程S6を経る孔Hと、孔開け加工後の凹部加工工程S5において孔Hの周囲に形成され、冷却工程S6による縮径量よりも大きい拡径量で孔を拡径させる凹部Cと、を備えている。
Next, the workpiece | work W manufactured by the hot press molding method is demonstrated.
FIG. 4A is an enlarged view around the hole H of the workpiece W manufactured by the hot press molding method according to the present embodiment.
As shown in FIG. 4A, the workpiece W having the holes H manufactured by the hot press forming method is formed by drilling with the piercing blade 24a in the cutting process S4 after the heating process S1. In the state where the piercing blade 24a is inserted into the hole H, the hole H is formed around the hole H in the cooling step S6 for cooling the workpiece W and in the recess processing step S5 after the drilling process. And a recess C that expands the hole by a diameter expansion amount larger than the diameter amount.

そして、図4(a)に示すように、ピアス刃24aによって孔開け加工された孔径およびそれにほぼ等しいピアス刃24aの外径を図示破線の径φA、凹部Cによって拡径された孔径を図示二点鎖線の径φB、冷却によって縮径した孔径を図示実線の径φC、とすると、径φB>径φC>径φAの関係が成立している。
径φB>径φC>径φAの関係は、冷却工程S6を経た高硬度に形成したワークWにおいて、径φAの外径のピアス刃24aを径φCの孔Hから引き抜くことを容易にする。
Then, as shown in FIG. 4 (a), the hole diameter drilled by the piercing blade 24a and the outer diameter of the piercing blade 24a substantially equal to the hole diameter are indicated by the broken line diameter φA, and the hole diameter expanded by the recess C is shown in FIG. If the diameter φB of the chain line and the hole diameter reduced by cooling are the diameter φC of the solid line in the figure, the relationship of diameter φB> diameter φC> diameter φA is established.
The relationship of diameter φB> diameter φC> diameter φA makes it easy to pull out the piercing blade 24a having the outer diameter of diameter φA from the hole H having the diameter φC in the work W formed with high hardness after the cooling step S6.

以上の本実施形態に係る熱間プレス成形方法によれば、以下の効果を奏する。   According to the hot press molding method according to the present embodiment described above, the following effects are obtained.

(1)孔Hの周囲に孔Hの拡径量が冷却工程S6による縮径量よりも大きい凹部Cを形成することによって孔Hを微小分だけ拡径するので、冷却工程S6で冷却されたワークWが収縮しても、孔Hを拡径させておくことができる(径φC>径φA)。よって、孔開け加工を行った後にピアス刃24aを孔Hに挿入して冷却工程S6を経ても、ピアス刃24aは拡径された孔Hに拘束されることがなく、ピアス刃24aを高硬度に形成されたワークWから容易に分離することができる。したがって、熱間プレス成形方法において孔開け加工を容易に行うことができる。   (1) Since the diameter of the hole H is increased by a minute amount by forming a recess C in which the diameter of the hole H is larger than the amount of diameter reduction in the cooling step S6 around the hole H, the hole H is cooled in the cooling step S6. Even if the workpiece W contracts, the hole H can be expanded (diameter φC> diameter φA). Therefore, even if the piercing blade 24a is inserted into the hole H after the perforating process and the cooling process S6 is performed, the piercing blade 24a is not restrained by the expanded hole H, and the piercing blade 24a has a high hardness. It can be easily separated from the workpiece W formed in the above. Therefore, it is possible to easily perform drilling in the hot press molding method.

(2)凹部Cによる孔Hの拡径量は、冷却工程S6による縮径量よりも大きいので、冷却工程S6によって冷却されたワークWが収縮しても、孔Hを拡径させておくことができる。   (2) Since the diameter expansion amount of the hole H by the recessed part C is larger than the diameter reduction amount by the cooling step S6, the hole H should be expanded even if the workpiece W cooled by the cooling step S6 contracts. Can do.

(3)凹部Cによる孔Hの拡径量は、冷却工程S6による径方向の縮径量が大きい方向ほど大きいので、冷却工程S6による径方向の縮径量が異なる場合であっても、孔Hの形状は切断加工工程S4で開けたときの形状から大きく変形しない。   (3) Since the diameter expansion amount of the hole H by the concave portion C is larger as the diameter reduction amount in the radial direction by the cooling step S6 is larger, the hole diameter is reduced even when the diameter reduction amount by the cooling step S6 is different. The shape of H is not greatly deformed from the shape when opened in the cutting step S4.

なお、本発明は上記実施形態に限定されず、本発明の目的を達成できる範囲で変形、改良などを行っても、本発明の範囲に包含される。   Note that the present invention is not limited to the above-described embodiment, and modifications, improvements, and the like within the scope that can achieve the object of the present invention are included in the scope of the present invention.

上記実施形態では、孔Hの周囲にスコアパンチ25aによって凹部Cを形成していたが、これに限られず、孔Hを拡径させるものであれば、凸部や凹凸部などを形成してもよい。   In the above embodiment, the concave portion C is formed around the hole H by the score punch 25a. However, the present invention is not limited to this, and the convex portion and the uneven portion may be formed as long as the diameter of the hole H is increased. Good.

上記実施形態では、凹部Cは、冷却工程S6による径方向の縮径量が大きい方向ほど、多く形成されるものであったが、これに限られず、凹部Cは、冷却工程S6による径方向の縮径量が大きい方向ほど、図4(b)に示すように大きく(加工量あるいは加工面積を大きく)形成されるものであってもよいし、また同時に多く形成されてもよい。すなわち、凹部Cによる孔Hの拡径量が、冷却工程S6による径方向の縮径量が大きい方向ほど、大きく設定されるとよい。   In the said embodiment, although the recessed part C was formed so that the amount of diameter reduction of radial direction by cooling process S6 was large, it is not limited to this, but the recessed part C is radial direction by cooling process S6. As shown in FIG. 4B, the smaller the amount of diameter reduction, the larger (the amount of processing or the processing area) may be formed, or more may be formed at the same time. That is, it is preferable that the diameter expansion amount of the hole H by the concave portion C is set to be larger as the diameter reduction amount in the radial direction by the cooling step S6 is larger.

上記実施形態では、凹部Cは、冷却工程S6による径方向の縮径量が大きい方向ほど、多く形成されるものであったが、これに限られず、凹部Cは、冷却工程S6による径方向の縮径量が等しければ、図4(c)に示すように孔Hの周囲の孔Hの中心から等半径位置に等間隔で複数点在させたり、図4(d)に示すように孔Hの周囲を囲む環状に形成したりしてもよい。この場合には、熱間プレス成形方法の各工程においても孔径を常に正円形状に維持することができ、焼入れ後の孔Hの形状を所望の正円形状に形成し易い。   In the said embodiment, although the recessed part C was formed so that the amount of diameter reduction of radial direction by cooling process S6 was large, it is not limited to this, but the recessed part C is radial direction by cooling process S6. If the amount of diameter reduction is equal, as shown in FIG. 4 (c), a plurality of dots are scattered at equal intervals from the center of the hole H around the hole H, or as shown in FIG. 4 (d). It may be formed in an annular shape surrounding the periphery of the. In this case, the hole diameter can always be maintained in a perfect circular shape in each step of the hot press forming method, and the shape of the hole H after quenching can be easily formed in a desired perfect circular shape.

また上記実施形態では、上下のトリム刃23a,31aによるワークWの端部の切断加工のタイミングと、ピアス刃24aによるワークWの孔開け加工のタイミングとは、ほぼ同じであったが、これに限られず、異なるタイミングで両加工を行うものであってもよい。
また上記実施形態では、フォーム成形と切断加工とを同時に行ったが、これに限られない。成形はフォーム成形以外の例えば絞り成形などの成形であってもよく、また成形と切断加工とを同時に行わなくてもよい。
Moreover, in the said embodiment, although the timing of the cutting process of the edge part of the workpiece | work W by the upper and lower trim blades 23a and 31a and the timing of the drilling process of the workpiece | work W by the piercing blade 24a were substantially the same, It is not limited, and both processes may be performed at different timings.
Moreover, in the said embodiment, although foam shaping | molding and cutting were performed simultaneously, it is not restricted to this. The molding may be molding other than foam molding, such as drawing molding, and the molding and cutting may not be performed simultaneously.

H…孔
C…凹部加工(凹凸部)
24a…ピアス刃(切断刃)
W…ワーク(構造体)
S1…加熱工程
S4…切断加工工程(孔開け工程)
S5…凹部加工工程(凹凸加工工程)
S6…冷却工程
H ... Hole C ... Concave processing (Uneven portion)
24a ... Piercing blade (cutting blade)
W ... Work (structure)
S1 ... heating process S4 ... cutting process (drilling process)
S5: Concave processing step (concave / convex processing step)
S6 ... Cooling process

Claims (6)

熱間プレスを用いる孔開け加工方法であって、
切断刃で構造体に孔開け加工を行う孔開け工程と、
前記構造体の前記孔開け工程で開けた孔の周囲に、前記孔を拡径させる凹凸部を形成する凹凸加工工程と、
前記構造体を冷却する冷却工程と、を含むことを特徴とする孔開け加工方法。
A drilling method using a hot press,
A drilling step of drilling a structure with a cutting blade;
A concavo-convex processing step for forming a concavo-convex portion for expanding the diameter of the hole around the hole formed in the hole-piercing step of the structure,
And a cooling step for cooling the structure.
前記凹凸加工工程によって形成された前記凹凸部による前記孔の拡径量は、前記冷却工程による縮径量よりも大きいことを特徴とする請求項1記載の孔開け加工方法。   2. The drilling method according to claim 1, wherein an amount of diameter expansion of the hole by the uneven portion formed by the unevenness processing step is larger than an amount of diameter reduction by the cooling step. 前記凹凸加工工程によって形成された前記凹凸部による前記孔の拡径量は、前記冷却工程による径方向の縮径量が大きい方向ほど大きいことを特徴とする請求項1または2記載の孔開け加工方法。   3. The drilling process according to claim 1, wherein an amount of diameter expansion of the hole by the uneven portion formed by the unevenness processing step is larger in a direction in which the amount of diameter reduction in the radial direction by the cooling step is larger. Method. 熱間プレスを用いて製造される孔を備えた構造体の製造方法であって、
前記構造体を加熱する加熱工程と、
切断刃で前記構造体に孔開け加工を行う孔開け工程と、
前記孔の周囲に、前記構造体の前記孔開け工程で開けた孔を拡径させる凹凸部を形成する凹凸加工工程と、
前記切断刃を前記孔に挿入した状態で、前記構造体を冷却する冷却工程と、を含み、
前記凹凸加工工程によって形成された前記凹凸部による前記孔の拡径量は、前記冷却工程による縮径量よりも大きいことを特徴とする孔を備えた構造体の製造方法。
A method of manufacturing a structure with holes manufactured using a hot press,
A heating step of heating the structure;
A drilling step of drilling the structure with a cutting blade;
A concavo-convex processing step for forming a concavo-convex portion for expanding the diameter of the hole formed in the perforating step of the structure around the hole,
A cooling step of cooling the structure with the cutting blade inserted into the hole,
A method for manufacturing a structure having holes, wherein the amount of diameter expansion of the hole by the uneven portion formed by the unevenness processing step is larger than the amount of diameter reduction by the cooling step.
熱間プレスを用いて製造される孔を備えた構造体であって、
熱間プレスにおける前記構造体を加熱する加熱工程の後であって前記構造体を冷却する冷却工程の前に形成された、切断刃での孔開け加工による孔と、前記孔の周囲の前記孔を拡径させる凹凸部と、を備えたことを特徴とする孔を備えた構造体。
A structure with holes produced using a hot press,
A hole formed by drilling with a cutting blade after the heating step of heating the structure in a hot press and before the cooling step of cooling the structure, and the hole around the hole A structure provided with a hole, characterized by comprising an uneven portion for expanding the diameter.
熱間プレスを用いて製造される孔を備えた構造体であって、
熱間プレスにおける前記構造体を加熱する加熱工程の後に切断刃での孔開け加工によって形成され、前記切断刃を前記孔に挿入した状態で、前記構造体を冷却する冷却工程を経る孔と、
前記孔開け加工後に前記孔の周囲に形成され、前記冷却工程による縮径量よりも大きい拡径量で前記孔を拡径させる凹凸部と、を備えたことを特徴とする孔を備えた構造体。
A structure with holes produced using a hot press,
A hole that is formed by drilling with a cutting blade after a heating step for heating the structure in a hot press, and undergoes a cooling step for cooling the structure with the cutting blade inserted into the hole;
A structure having a hole, comprising: an uneven portion that is formed around the hole after the drilling process and expands the hole by a diameter expansion amount larger than a diameter reduction amount by the cooling step. body.
JP2012156393A 2012-07-12 2012-07-12 Hole piercing method, method for manufacturing structure with hole, and structure with hole Pending JP2014018801A (en)

Priority Applications (2)

Application Number Priority Date Filing Date Title
JP2012156393A JP2014018801A (en) 2012-07-12 2012-07-12 Hole piercing method, method for manufacturing structure with hole, and structure with hole
US13/938,429 US20140017443A1 (en) 2012-07-12 2013-07-10 Piercing method, production method for structure having hole, and structure having hole

Applications Claiming Priority (1)

Application Number Priority Date Filing Date Title
JP2012156393A JP2014018801A (en) 2012-07-12 2012-07-12 Hole piercing method, method for manufacturing structure with hole, and structure with hole

Publications (1)

Publication Number Publication Date
JP2014018801A true JP2014018801A (en) 2014-02-03

Family

ID=49914210

Family Applications (1)

Application Number Title Priority Date Filing Date
JP2012156393A Pending JP2014018801A (en) 2012-07-12 2012-07-12 Hole piercing method, method for manufacturing structure with hole, and structure with hole

Country Status (2)

Country Link
US (1) US20140017443A1 (en)
JP (1) JP2014018801A (en)

Cited By (8)

* Cited by examiner, † Cited by third party
Publication number Priority date Publication date Assignee Title
WO2016136909A1 (en) * 2015-02-25 2016-09-01 新日鐵住金株式会社 Shearing method
CN106077303A (en) * 2016-08-24 2016-11-09 昆山电子羽电业制品有限公司 Backboard punching shaving die
JP2017080807A (en) * 2015-10-26 2017-05-18 マツダ株式会社 Press working apparatus
JP2018069305A (en) * 2016-11-01 2018-05-10 マツダ株式会社 Pressing device
WO2021200923A1 (en) * 2020-04-03 2021-10-07 日本製鉄株式会社 Hot press device and method for manufacturing hot press molded article
JP2022104117A (en) * 2020-12-28 2022-07-08 株式会社ジーテクト Hot press molding apparatus, motor vehicle body component, hot press molding method, and manufacturing method for motor vehicle body component
WO2023105883A1 (en) * 2021-12-06 2023-06-15 株式会社三五 Method for molding cylindrical body having tapered part
CN120755248A (en) * 2025-09-09 2025-10-10 山东天鸿模具股份有限公司 Cold stamping die and stamping method for automobile parts

Families Citing this family (11)

* Cited by examiner, † Cited by third party
Publication number Priority date Publication date Assignee Title
DE102006040224A1 (en) * 2006-08-28 2008-03-20 Magna Automotive Services Gmbh Method and tool for hot working a metal workpiece
ES2870544T3 (en) 2013-10-21 2021-10-27 Magna Int Inc Method for trimming a hot formed part
CN106001259A (en) * 2016-06-30 2016-10-12 东莞市豪顺精密科技有限公司 Bulge and hole punching mechanism
FR3053612B1 (en) * 2016-07-06 2018-07-13 Peugeot Citroen Automobiles Sa TOOLING FOR A STAMPING PRESS REALIZING TWO VARIANTS OF WORKPIECES
WO2018055182A1 (en) * 2016-09-26 2018-03-29 Trumpf Werkzeugmaschinen Gmbh + Co. Kg Tool, machine tool, and method for cutting and/or forming planar workpieces
EP3520917A1 (en) * 2016-11-01 2019-08-07 Unipres Corporation Hot press processing device and hot press processing method
FR3076471B1 (en) * 2018-01-08 2019-12-13 Psa Automobiles Sa COMBINED CUTTING AND CALIBRATION OF A MOUTHPIECE
CN108555061A (en) * 2018-06-23 2018-09-21 东莞理工学院 All-in-one is collected to stripping and slicing that can healthily maintain
WO2020071303A1 (en) * 2018-10-02 2020-04-09 日本発條株式会社 Disc spring, disc spring device, and method for manufacturing disc spring
CN109351863B (en) * 2018-11-15 2020-09-22 江西江铃底盘股份有限公司 Automobile driving rear axle brake dust cover composite die and composite process
CN110788236A (en) * 2019-11-12 2020-02-14 扬中市国鹰电器有限公司 Continuous processing equipment for U-shaped heating pipe

Family Cites Families (9)

* Cited by examiner, † Cited by third party
Publication number Priority date Publication date Assignee Title
US1204096A (en) * 1912-10-26 1916-11-07 Carl Richard Waller Metal sheet for acoustic purposes and method of making same.
US2133445A (en) * 1935-12-07 1938-10-18 Douglas Aircraft Co Inc Method for cutting and forming sheet material
US3670383A (en) * 1971-04-26 1972-06-20 Curtiss Wright Corp Method of manufacture of an oil seal ring having dual scraper elements for rotary piston mechanisms
DE3324680A1 (en) * 1983-07-08 1985-01-24 DAKO-Werkzeugfabriken David Kotthaus GmbH & Co KG, 5630 Remscheid METHOD FOR FINE CUTTING WORKPIECES AND FINE CUTTING TOOL FOR EXERCISING THE METHOD
US4876402A (en) * 1986-11-03 1989-10-24 Union Carbide Chemicals And Plastics Company Inc. Improved aldehyde hydrogenation process
JP2864469B2 (en) * 1990-08-06 1999-03-03 曙ブレーキ工業株式会社 Press machine for chamfering
JP2002241835A (en) * 2001-02-20 2002-08-28 Aisin Takaoka Ltd Method for partially strengthening work
EP2042249B1 (en) * 2007-09-26 2010-03-17 Feintool Intellectual Property AG Method and device for manufacturing stamping parts with a largely smooth cutting plane and larger functional area
JP2009202272A (en) * 2008-02-27 2009-09-10 Toyota Motor Corp Die, tool set and pressing method

Cited By (22)

* Cited by examiner, † Cited by third party
Publication number Priority date Publication date Assignee Title
WO2016136909A1 (en) * 2015-02-25 2016-09-01 新日鐵住金株式会社 Shearing method
KR20170106422A (en) * 2015-02-25 2017-09-20 신닛테츠스미킨 카부시키카이샤 Shear working method
CN107249774A (en) * 2015-02-25 2017-10-13 新日铁住金株式会社 Shearing method
JPWO2016136909A1 (en) * 2015-02-25 2017-11-09 新日鐵住金株式会社 Shearing method
KR102000859B1 (en) * 2015-02-25 2019-07-16 닛폰세이테츠 가부시키가이샤 Shear working method
JP2019150882A (en) * 2015-02-25 2019-09-12 日本製鉄株式会社 Shearing method
US10639698B2 (en) 2015-02-25 2020-05-05 Nippon Steel Corporation Shearing method
JP2017080807A (en) * 2015-10-26 2017-05-18 マツダ株式会社 Press working apparatus
CN106077303A (en) * 2016-08-24 2016-11-09 昆山电子羽电业制品有限公司 Backboard punching shaving die
JP2018069305A (en) * 2016-11-01 2018-05-10 マツダ株式会社 Pressing device
WO2021200923A1 (en) * 2020-04-03 2021-10-07 日本製鉄株式会社 Hot press device and method for manufacturing hot press molded article
JPWO2021200923A1 (en) * 2020-04-03 2021-10-07
KR20220146640A (en) * 2020-04-03 2022-11-01 닛폰세이테츠 가부시키가이샤 Hot press apparatus and method for manufacturing hot press-formed products
CN115362038A (en) * 2020-04-03 2022-11-18 日本制铁株式会社 Hot press device and method for manufacturing hot press molded article
US12263516B2 (en) 2020-04-03 2025-04-01 Nippon Steel Corporation Hot press apparatus and method of manufacturing hot-press-formed product
JP7688621B2 (en) 2020-04-03 2025-06-04 日本製鉄株式会社 HOT PRESS APPARATUS AND METHOD FOR MANUFACTURING HOT PRESS FORMED PRODUCT
KR102817374B1 (en) * 2020-04-03 2025-06-09 닛폰세이테츠 가부시키가이샤 Hot press device and method for manufacturing hot press molded products
JP2022104117A (en) * 2020-12-28 2022-07-08 株式会社ジーテクト Hot press molding apparatus, motor vehicle body component, hot press molding method, and manufacturing method for motor vehicle body component
WO2023105883A1 (en) * 2021-12-06 2023-06-15 株式会社三五 Method for molding cylindrical body having tapered part
JPWO2023105883A1 (en) * 2021-12-06 2023-06-15
JP7558394B2 (en) 2021-12-06 2024-09-30 株式会社三五 Method for forming cylindrical body having tapered portion
CN120755248A (en) * 2025-09-09 2025-10-10 山东天鸿模具股份有限公司 Cold stamping die and stamping method for automobile parts

Also Published As

Publication number Publication date
US20140017443A1 (en) 2014-01-16

Similar Documents

Publication Publication Date Title
JP2014018801A (en) Hole piercing method, method for manufacturing structure with hole, and structure with hole
JP4135397B2 (en) Method and apparatus for quenching pressed parts
JP6050382B2 (en) Apparatus and method for deep drawing in which cutting is performed in the lower and frame regions during the drawing operation of the shell part
KR102043343B1 (en) Panel shaped article and its manufacturing method
JP5740099B2 (en) Manufacturing method of hot press products
JP6314926B2 (en) Press machine
JP6978263B2 (en) How to make hot pressed products
JP5898411B2 (en) Insert color molding method
KR20110122679A (en) Method for manufacturing press quench hardened metal parts
KR20140056374A (en) Method for manufacturing press-molded article and press molding equipment
US20130228000A1 (en) Press-die and press working method
KR101454793B1 (en) Two step shearing method of hot-stamped ultra-high-strength material for preventing damage of press cutting mold
JP6256571B1 (en) Press machine
KR20130064125A (en) Press-molded article and method for producing same
JP2009039750A (en) Method for forging short cylindrical part with flange or the like
CN102773674B (en) Hot forging, cold drawing composite molding process of bowl-shaped piece
KR101464873B1 (en) Hot stamping method and hot stamping appratus for easy to trim holes
RU2017101001A (en) METHOD FOR PRODUCING CUTLERY AND CUTTING TOOLS FOR CUTLERY
JP2010000536A (en) Forming die apparatus for hot press, and hot press-forming method
JP2014012286A (en) Mold and trimming method
KR101209393B1 (en) Forging processing method of clutch for tractor
KR102034525B1 (en) Armature manufacturing method for actuator of automobile
JP2010094698A (en) Method of manufacturing high strength member, hot press molding die used for the method of manufacturing high strength member, and semifinished molded body in method of manufacturing high strength part
JP2006205234A (en) Burring mold and burring method
JP6279889B2 (en) Hole formation method