JP2013241803A - Force bearing wall - Google Patents

Force bearing wall Download PDF

Info

Publication number
JP2013241803A
JP2013241803A JP2012116530A JP2012116530A JP2013241803A JP 2013241803 A JP2013241803 A JP 2013241803A JP 2012116530 A JP2012116530 A JP 2012116530A JP 2012116530 A JP2012116530 A JP 2012116530A JP 2013241803 A JP2013241803 A JP 2013241803A
Authority
JP
Japan
Prior art keywords
perforated steel
bearing wall
fixing tool
column
steel plate
Prior art date
Legal status (The legal status is an assumption and is not a legal conclusion. Google has not performed a legal analysis and makes no representation as to the accuracy of the status listed.)
Granted
Application number
JP2012116530A
Other languages
Japanese (ja)
Other versions
JP5921954B2 (en
Inventor
Sumihito Saito
純人 西塔
Masaya Fujii
雅也 藤井
Takeshi Miyamoto
武 宮本
Motohiro Kojima
基弘 小島
Hideo Hosokawa
英雄 細川
Current Assignee (The listed assignees may be inaccurate. Google has not performed a legal analysis and makes no representation or warranty as to the accuracy of the list.)
Daiwa House Industry Co Ltd
Original Assignee
Daiwa House Industry Co Ltd
Priority date (The priority date is an assumption and is not a legal conclusion. Google has not performed a legal analysis and makes no representation as to the accuracy of the date listed.)
Filing date
Publication date
Application filed by Daiwa House Industry Co Ltd filed Critical Daiwa House Industry Co Ltd
Priority to JP2012116530A priority Critical patent/JP5921954B2/en
Publication of JP2013241803A publication Critical patent/JP2013241803A/en
Application granted granted Critical
Publication of JP5921954B2 publication Critical patent/JP5921954B2/en
Active legal-status Critical Current
Anticipated expiration legal-status Critical

Links

Images

Landscapes

  • Load-Bearing And Curtain Walls (AREA)

Abstract

【課題】 壁表面に固着具の頭が露出せず、固着具の止め付け強度も十分に確保することができる有孔鋼板を用いた耐力壁を提供する。木造軸組構造の建物等に適用される。
【解決手段】 複数の孔が分布して設けられた有孔鋼板2を、隣り合う木質の柱10,10間に配置して耐力壁1を構成する。有孔鋼板2は両側縁に柱10側面に接して固着具4で固定される折り曲げ部3を有する。折り曲げ部3は、その先端部で内側に折り返して重ねた2重折り曲げ部とされる。
【選択図】 図1
PROBLEM TO BE SOLVED: To provide a bearing wall using a perforated steel plate in which the head of the fixing tool is not exposed on the wall surface and the fixing strength of the fixing tool can be sufficiently secured. Applicable to buildings with wooden frames.
SOLUTION: A perforated steel plate 2 in which a plurality of holes are distributed is arranged between adjacent wooden columns 10 and 10 to constitute a bearing wall 1. The perforated steel plate 2 has bent portions 3 that are in contact with the side surfaces of the column 10 and fixed by the fixing tools 4 on both side edges. The bent portion 3 is a double bent portion that is folded back and overlapped at the tip.
[Selection] Figure 1

Description

この発明は、木造軸組造等の柱間に設置される有孔鋼板を用いた耐力壁に関する。   The present invention relates to a load-bearing wall using a perforated steel plate installed between columns such as a wooden frame structure.

従来、複数の孔が分布して設けられた有孔鋼板を用いた耐力壁として、図7のように、鉄骨軸組造の柱20,20間に有孔鋼板21を配置して、これをビス22で止め付けた構成のものが知られている。同図の場合、角形鋼管からなる柱20の側面に溝形鋼からなるパネルフレーム23を配置し、このパネルフレーム23の内向きに突出するフランジ部23aの外向き面に有孔鋼板21を重ね、これをビス22でフランジ部23aに止め付けている。   Conventionally, as a load-bearing wall using a perforated steel plate in which a plurality of holes are distributed, a perforated steel plate 21 is arranged between columns 20 and 20 of a steel frame structure as shown in FIG. The thing of the structure fastened with screw 22 is known. In the case of the figure, a panel frame 23 made of grooved steel is arranged on the side surface of a column 20 made of square steel pipe, and a perforated steel plate 21 is overlapped on the outward face of a flange portion 23a projecting inwardly of the panel frame 23. This is fixed to the flange portion 23a with a screw 22.

特許第3737368号公報Japanese Patent No. 3737368

上記した有孔鋼板を用いた耐力壁を木造軸組工法に転用する場合、例えば図8のように、隣り合う木質の柱30,30間に配置した有孔鋼板21を、各柱30の外向き面に重ねてビス22で止め付ける構造が考えられる。しかし、この構造の場合、柱30の外向き面側にビス頭が露出するため、外装材や内装材を重ねて施工する際に納まりが悪いという問題がある。   When the bearing wall using the above-mentioned perforated steel plate is diverted to the wooden frame construction method, for example, the perforated steel plate 21 arranged between the adjacent wooden columns 30 and 30 as shown in FIG. A structure is conceivable in which the screws 22 are stacked on the facing surface and fixed with screws 22. However, in the case of this structure, since the screw head is exposed on the outward face side of the pillar 30, there is a problem that the housing is poor when the exterior material and the interior material are overlapped.

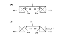
上記課題を解決するために、例えば図9(A)のように、有孔鋼板21の両側縁を折り曲げて各柱30の側面に接する折り曲げ部21aとすることで、両柱30,30間に有孔鋼板21を真壁仕様で納まるように配置し、前記折り曲げ部21aをビス22で柱30の側面に止め付ける構造を考えた。この構造の場合、柱30の外向き面にビス頭が露出するのを解消できるが、図9(B)のように水平荷重Fを受けた場合に、有孔鋼板21の折り曲げ部21aが柱30の側面から浮き上がってしまい、止め付け強度が低下するという問題がある。さらに、柱30がやせた場合にも、柱30の側面と有孔鋼板21の折り曲げ部21aとの間に隙間が生じてしまう。   In order to solve the above-mentioned problem, for example, as shown in FIG. 9 (A), by bending both side edges of the perforated steel plate 21 to be a bent portion 21a that contacts the side surface of each column 30, The perforated steel plate 21 is arranged so as to fit in the true wall specification, and a structure in which the bent portion 21a is fastened to the side surface of the pillar 30 with a screw 22 is considered. In the case of this structure, it is possible to eliminate the exposure of the screw head on the outward face of the column 30, but when the horizontal load F is received as shown in FIG. There arises a problem that it is lifted from the side face of 30 and the fastening strength is lowered. Further, even when the column 30 is thin, a gap is generated between the side surface of the column 30 and the bent portion 21 a of the perforated steel plate 21.

この発明の目的は、壁表面に固着具の頭が露出せず、固着具の止め付け強度も十分に確保することができる有孔鋼板を用いた耐力壁を提供することである。   An object of the present invention is to provide a load-bearing wall using a perforated steel plate in which the head of the fixing tool is not exposed on the wall surface and the fixing strength of the fixing tool can be sufficiently secured.

この発明の耐力壁は、複数の孔が分布して設けられた有孔鋼板を、隣り合う木質の柱間に配置してなる耐力壁であって、前記有孔鋼板は両側縁に柱側面に接して固着具で固定される折り曲げ部を有し、前記折り曲げ部はその先端部で内側に折り返して重ねた2重折り曲げ部とされていることを特徴とする。
この構成によると、隣り合う木質の柱間に配置される有孔鋼板が、その両側縁に、柱側面に接して固着具で固定される折り曲げ部を有するので、壁表面に固着具の頭部を露出させることなく、有孔鋼板を柱に固定することができ、外装材や内装材を重ねて施工する場合でも納まり良く施工できる。特に、前記折り曲げ部は、その先端部で内側へ折り返して重ねた2重折り曲げ部とされているので、柱の木痩せによる固着具の緩みを防ぐことができ、固着具の柱への止め付け強度を十分に確保することができる。また、有孔鋼板の主面部を薄板としたまま接合部である折り曲げ部を補強できるため、構造性能(水平荷重−変形関係など)をコントロールし易くなる。また、補助部材を併用することなく、有孔鋼板のみで柱へ固定できるので、柱の高さが変化しても容易に対応することができ、施工性が高まる。
The bearing wall according to the present invention is a bearing wall in which a perforated steel plate provided with a plurality of holes is arranged between adjacent wooden columns, and the perforated steel plate is provided on both sides of the column side. It has a bent portion that comes into contact and is fixed by a fixing tool, and the bent portion is a double bent portion that is folded back and overlapped at the tip end portion.
According to this configuration, the perforated steel sheet disposed between the adjacent wooden columns has bent portions that are fixed to the side surfaces of the columns with the fixing tools on both side edges thereof, so that the head of the fixing tool is provided on the wall surface. It is possible to fix the perforated steel plate to the pillar without exposing the surface, and it is possible to perform the construction with good fit even when the exterior material and the interior material are overlapped. In particular, since the bent portion is a double bent portion that is folded inward at the front end portion thereof, it is possible to prevent loosening of the fixing tool due to the thinning of the pillar, and to fix the fixing tool to the column. Sufficient strength can be secured. Moreover, since the bent part which is a junction part can be reinforced with the main surface part of a perforated steel plate being a thin plate, it becomes easy to control structural performance (horizontal load-deformation relationship, etc.). Moreover, since it can fix to a pillar only with a perforated steel plate without using an auxiliary member together, even if the height of a pillar changes, it can respond easily and workability improves.

この発明において、前記固着具が、前記有孔鋼板の前記2重折り曲げ部を貫通して前記柱にねじ込まれたドリル付き木工用ビスであっても良い。   In this invention, the fixing tool may be a woodworking screw with a drill that is screwed into the column through the double-folded portion of the perforated steel plate.

この発明において、前記2重折り曲げ部が、前記柱への取付前の自然状態で、前記柱側面に接する外側折り曲げ片と前記内側へ折り返された内側折り返し片との間に隙間を形成した断面溝形であり、前記固着具で前記柱に固定された状態では、この固着具で固定された部分で前記内側折り返し片が前記外側折り曲げ片に接触して断面三角形状となるものとしても良い。
この構成の場合、前記折り曲げ部は、柱への取付前の自然状態で、柱側面に接する外側折り曲げ片と内側へ折り返された内側折り返し片との間に隙間を有する断面溝形とされているので、固着具で柱に固定した状態では前記隙間がなくなり、固着具の緩み止め効果が上がる。そのため、柱への止め付け強度をさらに高めることができる。さらに、前記折り曲げ部は、固着具で柱に固定された状態では、この固着具で固定された部分で前記内側折り返し片が前記外側折り曲げ片に接触して断面三角形状となることから、水平方向の荷重を受けた時に折り曲げ部が柱側面から浮き上がるのを、前記断面三角形状の構造部により軽減することができ、この点からも柱への止め付け強度をさらに高めることができる。
In the present invention, the double-folded portion has a cross-sectional groove in which a gap is formed between an outer bent piece in contact with the column side surface and an inner folded piece folded inward in a natural state before being attached to the column. In the state of being fixed to the column with the fixing tool, the inner folded piece may come into contact with the outer bent piece at the portion fixed by the fixing tool to have a triangular cross section.
In the case of this configuration, the bent portion is formed in a cross-sectional groove shape having a gap between an outer bent piece in contact with the column side surface and an inner folded piece folded inward in a natural state before being attached to the column. Therefore, in the state fixed to the column with the fixing tool, the gap is eliminated, and the effect of preventing the locking tool from loosening is improved. Therefore, the fastening strength to the pillar can be further increased. Further, in the state where the bent portion is fixed to the column with a fixing tool, the inner folded piece comes into contact with the outer bent piece at the portion fixed with the fixing tool, and thus has a triangular shape in the horizontal direction. It is possible to reduce the bending portion from being lifted from the side surface of the column when the load is applied by the structure portion having the triangular cross section, and the fastening strength to the column can be further increased from this point.

この発明において、隣り合う木質の柱間に、前記有孔鋼板を複数枚隙間を介して重ねて配置しても良い。
このように、必要な耐力に応じて有孔鋼板の枚数を加減することにより、耐力をコントロールすることができる。
In the present invention, a plurality of the perforated steel plates may be arranged with a plurality of gaps between adjacent wooden columns.
Thus, the yield strength can be controlled by adjusting the number of perforated steel sheets according to the required yield strength.

この発明の耐力壁は、複数の孔が分布して設けられた有孔鋼板を、隣り合う木質の柱間に配置してなる耐力壁であって、前記有孔鋼板は両側縁に柱側面に接して固着具で固定される折り曲げ部を有し、前記折り曲げ部はその先端部で内側に折り返して重ねた2重折り曲げ部とされているため、壁表面に固着具の頭が露出せず、固着具の止め付け強度も十分に確保することができる。   The bearing wall according to the present invention is a bearing wall in which a perforated steel plate provided with a plurality of holes is arranged between adjacent wooden columns, and the perforated steel plate is provided on both sides of the column side. Since it has a bent portion that is in contact and fixed with a fixing tool, and the bent portion is a double bent portion that is folded back and overlapped at the tip, the head of the fixing tool is not exposed on the wall surface, The fixing strength of the fixing tool can be sufficiently secured.

この発明の一実施形態にかかる耐力壁の水平断面図である。It is a horizontal sectional view of a bearing wall concerning one embodiment of this invention. (A)は同耐力壁の柱への取付前の状態を示す部分拡大断面図、(B)は同耐力壁の柱への取付後状態を示す部分拡大断面図である。(A) is a partial expanded sectional view which shows the state before attachment to the pillar of the same load-bearing wall, (B) is a partial enlarged sectional view which shows the state after attachment to the pillar of the same load-bearing wall. (A)は同耐力壁に用いる有孔鋼板の一例の正面図、(B)は同側面図、(C)は同底面図、(D)は(C)におけるE部の拡大図である。(A) is a front view of an example of the perforated steel sheet used for the bearing wall, (B) is the side view, (C) is the bottom view, and (D) is an enlarged view of the E part in (C). (A)は図3の有孔鋼板を用いた耐力壁の具体例を示す正面図、(B)は同平面図、(C)は(A)のIVc −IVc 矢視断面図、(D)はIVd −IVd 矢視断面図である。(A) is a front view showing a concrete example of a bearing wall using the perforated steel sheet of FIG. 3, (B) is the same plan view, (C) is a sectional view taken along the arrow IVc-IVc of (A), (D) Is a cross-sectional view taken along the line IVd-IVd. (A)は同耐力壁の有孔鋼板を1枚配置した例の斜視図、(B),(C)はは同耐力壁の有孔鋼板を複数枚配置した例の斜視図である。(A) is a perspective view of the example which has arrange | positioned one perforated steel plate of the same load-bearing wall, (B), (C) is a perspective view of the example which has arrange | positioned several perforated steel plates of the same load-bearing wall. 同耐力壁の他の実施形態を示す斜視図である。It is a perspective view which shows other embodiment of the same load bearing wall. 従来例の水平断面図である。It is a horizontal sectional view of a conventional example. 提案例の水平断面図である。It is a horizontal sectional view of a proposal example. (A)は他の提案例の水平断面図、(B)は同提案例が水平荷重を受けた場合の水平断面図である。(A) is a horizontal sectional view of another proposed example, and (B) is a horizontal sectional view when the proposed example receives a horizontal load.

この発明の一実施形態を図1ないし図5と共に説明する。図1はこの発明の耐力壁の一実施形態の水平断面図を示し、図2はその一部を拡大して示す。この実施形態の耐力壁1は、複数の孔2aが分布して設けられた有孔鋼板2を、木造軸組造における隣り合う木質の柱10,10間に配置して構成されたものである。有孔鋼板2は、その両側縁に前記柱10の側面に接してビスなどの固着具4で固定される折り曲げ部3を有する。折り曲げ部3は、その先端部で内側に折り返して重ねた2重折り曲げ部である。   An embodiment of the present invention will be described with reference to FIGS. FIG. 1 is a horizontal sectional view of an embodiment of the load-bearing wall of the present invention, and FIG. 2 is an enlarged view of a part thereof. The bearing wall 1 of this embodiment is configured by arranging a perforated steel plate 2 provided with a plurality of holes 2a distributed between adjacent wooden pillars 10 and 10 in a wooden shaft structure. . The perforated steel plate 2 has bent portions 3 that are in contact with the side surfaces of the pillars 10 and fixed by fixing tools 4 such as screws on both side edges. The bent portion 3 is a double bent portion that is folded back and overlapped at the front end portion.

前記折り曲げ部3は、より具体的には、図2(A)に拡大して示すように、柱10への取付前の自然状態では柱10の側面に接する外側折り曲げ片3aと、この外側折り曲げ片3aの先端から内側へ折り返された内側折り返し片3bとの間に隙間Gを有する断面溝形とされている。外側折り曲げ片3aおよび内側折り返し片3bには、互いに重なる位置に前記固着具4を挿通させる挿通孔5が設けられている。固着具4は、木ねじ等である。固着具4として、有孔鋼板2の折り曲げ部3を貫通して柱10にねじ込まれるドリル付き木工用ビスを用いた場合は、固着具4のねじ込み前の挿通孔5の形成は不要である。   More specifically, as shown in an enlarged view in FIG. 2A, the bent portion 3 includes an outer bent piece 3a that is in contact with the side surface of the column 10 in a natural state before being attached to the column 10, and the outer bent portion. A cross-sectional groove shape having a gap G between the tip of the piece 3a and the inner folded piece 3b folded inward. The outer bent piece 3a and the inner folded piece 3b are provided with an insertion hole 5 through which the fixing tool 4 is inserted at a position overlapping each other. The fixing tool 4 is a wood screw or the like. When a woodworking screw with a drill that passes through the bent portion 3 of the perforated steel plate 2 and is screwed into the column 10 is used as the fixing tool 4, it is not necessary to form the insertion hole 5 before the fixing tool 4 is screwed.

前記有孔鋼板2の具体例を図3に示す。図3(A)は同有孔鋼板2の正面図、図3(B)は同側面図、図3(C)は底面図であり、図3(C)のE部を拡大して図3(D)に示している。ここでは,有孔鋼板2の孔2aは丸孔とされている。図4には、木造軸組造の建物に用いた前記耐力壁1の具体例を示す。図4(A)は同耐力壁1の正面図、図4(B)は同平面図、図4(C)は図4(A)のIVc −IVc 矢視断面図、図4(D)は図4(A)のIVd −IVd 矢視断面図である。図4において、隣り合う木質の柱10の上端は柱・梁接合金物6,7を介して木質の上側梁11に接合されている。また、各柱10の下端は、別の柱・梁接合金物8を介して形鋼などからなる下側梁12に接合されている。上側梁11および下側梁12は、木質の梁であるが、形鋼製であっても良い。また、下側梁12は形鋼製の土台であってもよい。   A specific example of the perforated steel sheet 2 is shown in FIG. 3 (A) is a front view of the perforated steel plate 2, FIG. 3 (B) is a side view thereof, and FIG. 3 (C) is a bottom view. FIG. 3 (C) is an enlarged view of FIG. This is shown in (D). Here, the hole 2a of the perforated steel plate 2 is a round hole. FIG. 4 shows a specific example of the load-bearing wall 1 used in a wooden framed building. 4A is a front view of the bearing wall 1, FIG. 4B is a plan view thereof, FIG. 4C is a sectional view taken along the line IVc-IVc in FIG. 4A, and FIG. It is IVd-IVd arrow sectional drawing of FIG. 4 (A). In FIG. 4, the upper ends of adjacent wooden pillars 10 are joined to a wooden upper beam 11 via pillar / beam joining hardware 6, 7. Further, the lower end of each column 10 is joined to a lower beam 12 made of a shape steel or the like via another column / beam joint hardware 8. The upper beam 11 and the lower beam 12 are wooden beams, but may be made of steel. Further, the lower beam 12 may be a foundation made of a section steel.

この耐力壁1によると、隣り合う木質の柱10,10間に配置される有孔鋼板2が、その両側縁に、柱10の側面に接して固着具4で固定される折り曲げ部3を有するので、壁表面に固着具4の頭部を露出させることなく、有孔鋼板2を柱10に固定することができる。そのため、外装材や内装材を重ねて施工する場合でも納まり良く施工できる。特に、前記折り曲げ部3は、その先端部で内側へ折り返して重ねた2重折り曲げ部とされているので、柱10の木痩せによる固着具4の緩みを防ぐことができ、固着具4の柱10への止め付け強度を十分に確保することができる。   According to this bearing wall 1, the perforated steel sheet 2 disposed between the adjacent wooden columns 10 and 10 has the bent portions 3 that are fixed to the side surfaces of the columns 10 by the fixing tools 4 on both side edges thereof. Therefore, the perforated steel plate 2 can be fixed to the column 10 without exposing the head of the fixing tool 4 to the wall surface. Therefore, even when the exterior material and the interior material are stacked, the work can be performed well. In particular, since the bent portion 3 is a double bent portion that is folded back and overlapped at the front end portion thereof, it is possible to prevent loosening of the fixing tool 4 due to the thinning of the pillar 10, and the column of the fixing tool 4. The fastening strength to 10 can be sufficiently secured.

具体的には、前記折り曲げ部3は、柱10への取付前の自然状態で、図2(A)のように柱10の側面に接する外側折り曲げ片3aと内側へ折り返された内側折り返し片3bとの間に隙間Gを有する断面溝形とされているので、固着具4で柱10に固定した状態では前記隙間Gがなくなり、固着具4の緩み止め効果が上がるので、柱10への止め付け強度をさらに高めることができる。さらに、前記折り曲げ部3は、図2(B)のように固着具4で柱10に固定された状態では、この固着具4で固定された部分で前記内側折り返し片3bが前記外側折り曲げ片3aに接触して断面三角形状となることから、水平方向の荷重を受けた時に折り曲げ部3が柱10の側面から浮き上がるのを、前記断面三角形状の構造部により軽減することができ、この点からも柱10への止め付け強度をさらに高めることができる。また、有孔鋼板2の主面部を薄板としたまま接合部である折り曲げ部3を補強できるため、構造性能(水平荷重−変形関係など)をコントロールし易くなる。また、補助部材を併用することなく、有孔鋼板2のみで柱10へ固定できるので、柱10の高さが変化しても容易に対応することができ、施工性が高まる。   Specifically, the bent portion 3 includes an outer bent piece 3a that is in contact with the side surface of the column 10 and an inner folded piece 3b that is folded inward as shown in FIG. Since the gap G disappears in the state of being fixed to the column 10 with the fixing tool 4 and the effect of preventing the loosening of the fixing tool 4 is increased, the fixing to the column 10 is prevented. The attachment strength can be further increased. Further, in the state where the bent portion 3 is fixed to the column 10 by the fixing tool 4 as shown in FIG. 2B, the inner folded piece 3b is the outer bent piece 3a at the portion fixed by the fixing tool 4. Since the cross section is in a triangular shape in contact with the structure, it is possible to reduce the fact that the bent portion 3 is lifted from the side surface of the column 10 when receiving a load in the horizontal direction by the structure portion having the triangular section. The fastening strength to the pillar 10 can be further increased. Moreover, since the bending part 3 which is a junction part can be reinforced with the main surface part of the perforated steel plate 2 being a thin plate, the structural performance (horizontal load-deformation relationship, etc.) can be easily controlled. Moreover, since it can fix to the pillar 10 only with the perforated steel plate 2 without using an auxiliary member together, even if the height of the pillar 10 changes, it can respond easily and workability improves.

なお、図1では、一枚の有孔鋼材2を、その折り曲げ部3が柱10の外向き面とは反対側に向くように配置して、有孔鋼板2の主要面を柱10の外向き面に揃えた例を示したが、図5(A)のように、折り曲げ部3が柱10の外向き面側に向くように有孔鋼板2を配置して、有孔鋼板2の主要面を柱10の外向き面から後退させても良い。また、図5(B),(C)のように、隣り合う柱10,10の間に複数枚の有孔鋼板2を重ねて配置しても良く、必要な耐力に応じて有孔鋼板2の枚数を加減することにより、耐力をコントロールすることができる。   In FIG. 1, a single piece of perforated steel material 2 is arranged so that the bent portion 3 faces away from the outward surface of the column 10, and the main surface of the perforated steel plate 2 is placed outside the column 10. Although the example which aligned to the facing surface was shown, the perforated steel plate 2 is arrange | positioned so that the bending part 3 may face the outward surface side of the pillar 10 like FIG. The surface may be retreated from the outward surface of the column 10. Further, as shown in FIGS. 5B and 5C, a plurality of perforated steel plates 2 may be arranged between adjacent pillars 10 and 10, and the perforated steel plates 2 may be arranged depending on the required strength. The yield strength can be controlled by adjusting the number of sheets.

図6は、この発明の他の実施形態を示す。この耐力壁1では、有孔鋼板2として、スッリット状の複数の孔2aが分布して設けられたものを用いている。その他の構成は、図1〜図5に示した実施形態の場合と同様である。   FIG. 6 shows another embodiment of the present invention. In this bearing wall 1, a perforated steel plate 2 in which a plurality of slit-like holes 2 a are distributed is used. Other configurations are the same as those of the embodiment shown in FIGS.

1…耐力壁
2…有孔鋼板
2a…孔
3…折り曲げ部
3a…外側折り曲げ片 3b…内側折り返し片
4…固着具
10…柱
G…隙間
DESCRIPTION OF SYMBOLS 1 ... Bearing wall 2 ... Perforated steel plate 2a ... Hole 3 ... Bending part 3a ... Outer bending piece 3b ... Inner folding piece 4 ... Fastening tool 10 ... Column G ... Gap

Claims (4)

複数の孔が分布して設けられた有孔鋼板を、隣り合う木質の柱間に配置してなる耐力壁であって、
前記有孔鋼板は両側縁に柱側面に接して固着具で固定される折り曲げ部を有し、前記折り曲げ部はその先端部で内側に折り返して重ねた2重折り曲げ部とされていることを特徴とする耐力壁。
A perforated steel sheet in which a plurality of holes are distributed and is a load-bearing wall that is arranged between adjacent wooden columns,
The perforated steel sheet has a bent portion that is fixed to a column side surface by a fixing tool on both side edges, and the bent portion is a double-folded portion that is folded inward at the front end portion and overlapped. Bearing wall.
請求項1において、前記固着具が、前記有孔鋼板の前記2重折り曲げ部を貫通して前記柱にねじ込まれたドリル付き木工用ビスである耐力壁。   The load bearing wall according to claim 1, wherein the fixing tool is a woodworking screw with a drill that is screwed into the pillar through the double-folded portion of the perforated steel plate. 請求項1または請求項2において、前記2重折り曲げ部が、前記柱への取付前の自然状態で、前記柱側面に接する外側折り曲げ片と前記内側へ折り返された内側折り返し片との間に隙間を形成した断面溝形であり、前記固着具で前記柱に固定された状態では、この固着具で固定された部分で前記内側折り返し片が前記外側折り曲げ片に接触して断面三角形状となる耐力壁。   3. The double bent portion according to claim 1, wherein the double bent portion is a gap between an outer bent piece contacting the side surface of the pillar and an inner bent piece folded inward in a natural state before being attached to the pillar. In the state where the cross-sectional groove is formed and is fixed to the column by the fixing tool, the inner folded piece comes into contact with the outer bent piece at a portion fixed by the fixing tool and has a proof strength that becomes a triangular cross section. wall. 請求項1ないし請求項3のいずれか1項において、隣り合う木質の柱間に、前記有孔鋼板を複数枚隙間を介して重ねて配置した耐力壁。   The load bearing wall according to any one of claims 1 to 3, wherein the perforated steel plates are stacked between adjacent wooden columns with a plurality of gaps therebetween.
JP2012116530A 2012-05-22 2012-05-22 Bearing wall Active JP5921954B2 (en)

Priority Applications (1)

Application Number Priority Date Filing Date Title
JP2012116530A JP5921954B2 (en) 2012-05-22 2012-05-22 Bearing wall

Applications Claiming Priority (1)

Application Number Priority Date Filing Date Title
JP2012116530A JP5921954B2 (en) 2012-05-22 2012-05-22 Bearing wall

Publications (2)

Publication Number Publication Date
JP2013241803A true JP2013241803A (en) 2013-12-05
JP5921954B2 JP5921954B2 (en) 2016-05-24

Family

ID=49842934

Family Applications (1)

Application Number Title Priority Date Filing Date
JP2012116530A Active JP5921954B2 (en) 2012-05-22 2012-05-22 Bearing wall

Country Status (1)

Country Link
JP (1) JP5921954B2 (en)

Cited By (2)

* Cited by examiner, † Cited by third party
Publication number Priority date Publication date Assignee Title
JP2016151110A (en) * 2015-02-17 2016-08-22 新日鐵住金株式会社 Shear panel
JP2021139134A (en) * 2020-03-03 2021-09-16 日本製鉄株式会社 Bearing wall and wooden building

Citations (2)

* Cited by examiner, † Cited by third party
Publication number Priority date Publication date Assignee Title
JP2005113412A (en) * 2003-10-03 2005-04-28 Toei Housing Corp Load-bearing panel
JP2012007462A (en) * 2010-05-28 2012-01-12 Asahi Tostem Gaiso Kk Structure of indoor load bearing wall

Patent Citations (2)

* Cited by examiner, † Cited by third party
Publication number Priority date Publication date Assignee Title
JP2005113412A (en) * 2003-10-03 2005-04-28 Toei Housing Corp Load-bearing panel
JP2012007462A (en) * 2010-05-28 2012-01-12 Asahi Tostem Gaiso Kk Structure of indoor load bearing wall

Cited By (3)

* Cited by examiner, † Cited by third party
Publication number Priority date Publication date Assignee Title
JP2016151110A (en) * 2015-02-17 2016-08-22 新日鐵住金株式会社 Shear panel
JP2021139134A (en) * 2020-03-03 2021-09-16 日本製鉄株式会社 Bearing wall and wooden building
JP7473787B2 (en) 2020-03-03 2024-04-24 日本製鉄株式会社 Load-bearing walls and wooden buildings

Also Published As

Publication number Publication date
JP5921954B2 (en) 2016-05-24

Similar Documents

Publication Publication Date Title
JP6841439B2 (en) Building method and building structure
JP5921954B2 (en) Bearing wall
JP5142574B2 (en) Wooden building
JP6645193B2 (en) Horizontal material, structure for mounting surface material using horizontal material, and structure for mounting surface material and frame material using horizontal material
JP5159821B2 (en) Bearing wall construction method for wooden framed buildings
JP6177759B2 (en) Oversized exterior wall panel
JP6892991B2 (en) Joint structure of wall member and foundation
JP6860354B2 (en) Building structure
JP5974781B2 (en) Bearing wall of wooden house
JP3209111U (en) Vertical frame material and steel house
JP6837826B2 (en) Building reinforcement structure and reinforcement method
JP5142575B2 (en) Seismic reinforcement method for wooden buildings and wooden buildings
JP4902251B2 (en) Building reinforcement structure
JP2017066666A (en) Bearing wall panel and bearing wall panel system
JP2005248615A (en) Wall body structure
JP7082099B2 (en) Building structure
JP7681242B2 (en) Shear wall panel connection structure
JP6581354B2 (en) building
JP5745825B2 (en) Outer wall fixing bracket and outer wall fixing structure
JP6433285B2 (en) Roof panel mounting structure
JP6170451B2 (en) Side railing wall mounting structure of balcony
JP2008156971A (en) Framework structure of wooden building
JP2017128871A (en) Anchorage structure for column main reinforcement, and building comprising the same
JP2013130054A (en) Panel, junction structure, and wooden building using them
JP2006144453A (en) Double-drawing plate and spout device using the same

Legal Events

Date Code Title Description
A621 Written request for application examination

Free format text: JAPANESE INTERMEDIATE CODE: A621

Effective date: 20150512

A977 Report on retrieval

Free format text: JAPANESE INTERMEDIATE CODE: A971007

Effective date: 20160318

TRDD Decision of grant or rejection written
A01 Written decision to grant a patent or to grant a registration (utility model)

Free format text: JAPANESE INTERMEDIATE CODE: A01

Effective date: 20160329

A61 First payment of annual fees (during grant procedure)

Free format text: JAPANESE INTERMEDIATE CODE: A61

Effective date: 20160413

R150 Certificate of patent or registration of utility model

Ref document number: 5921954

Country of ref document: JP

Free format text: JAPANESE INTERMEDIATE CODE: R150

R250 Receipt of annual fees

Free format text: JAPANESE INTERMEDIATE CODE: R250

R250 Receipt of annual fees

Free format text: JAPANESE INTERMEDIATE CODE: R250

R250 Receipt of annual fees

Free format text: JAPANESE INTERMEDIATE CODE: R250