JP2013148735A - 画像形成装置及び排気機構 - Google Patents

画像形成装置及び排気機構 Download PDF

Info

Publication number
JP2013148735A
JP2013148735A JP2012009395A JP2012009395A JP2013148735A JP 2013148735 A JP2013148735 A JP 2013148735A JP 2012009395 A JP2012009395 A JP 2012009395A JP 2012009395 A JP2012009395 A JP 2012009395A JP 2013148735 A JP2013148735 A JP 2013148735A
Authority
JP
Japan
Prior art keywords
unit
image forming
plate
airflow
forming apparatus
Prior art date
Legal status (The legal status is an assumption and is not a legal conclusion. Google has not performed a legal analysis and makes no representation as to the accuracy of the status listed.)
Granted
Application number
JP2012009395A
Other languages
English (en)
Other versions
JP5640024B2 (ja
Inventor
Kohei Okuma
浩平 大隈
Current Assignee (The listed assignees may be inaccurate. Google has not performed a legal analysis and makes no representation or warranty as to the accuracy of the list.)
Kyocera Document Solutions Inc
Original Assignee
Kyocera Document Solutions Inc
Priority date (The priority date is an assumption and is not a legal conclusion. Google has not performed a legal analysis and makes no representation as to the accuracy of the date listed.)
Filing date
Publication date
Application filed by Kyocera Document Solutions Inc filed Critical Kyocera Document Solutions Inc
Priority to JP2012009395A priority Critical patent/JP5640024B2/ja
Publication of JP2013148735A publication Critical patent/JP2013148735A/ja
Application granted granted Critical
Publication of JP5640024B2 publication Critical patent/JP5640024B2/ja
Expired - Fee Related legal-status Critical Current
Anticipated expiration legal-status Critical

Links

Images

Landscapes

  • Control Or Security For Electrophotography (AREA)
  • Treating Waste Gases (AREA)

Abstract

【課題】本発明は、SVOCの排出量を低減可能な画像形成装置を提供することを目的とする。
【解決手段】プリンター1は、画像形成部GKと、画像形成部GKを内部に収容するケース体BDと、排出路611を有するダクト部610と、ダクト部610の排出路611に気流Jを発生させるファン620と、ダクト部610における排出路611に配置され、複数の板状部材631a,631b,631c,631dを有し、複数の板状部材631a,631b,631c,631dそれぞれを所定の順番で気流Jがあたる位置に配置すると共に気流Jの方向と対向する方向に移動可能に構成される捕集部材630と、複数の板状部材631a,631b,631c,631dそれぞれが対向する方向に連続的に移動するよう捕集部材630を駆動させる捕集部材駆動部640と、を備える。
【選択図】図2

Description

本発明は、画像形成装置、及び画像形成装置に用いられる排気機構に関する。
従来、画像形成装置から排出されるVOC(揮発性有機化合物)の排出量は、所定の環境基準等により規制されている。
これに対し、例えば、VOCを選択的に吸着する吸着剤が担持された吸着剤担持部材を排気ダクト内に配置することで、VOCの排出量を低減可能に構成された画像形成装置が提案されている(例えば、特許文献1参照)。
また、例えば、排気ダクト内に排気が滞留する滞留部を形成することで、滞留部の内壁にVOCを凝集させて、VOCの排出量を低減可能に構成された画像形成装置が提案されている(例えば、特許文献2参照)。
特開2005−338539号公報 特開2011−145576号公報
近年、VOCに加え、SVOC(準揮発性有機化合物)排出量の低減も求められてきている。
これに対し、特許文献1の画像形成装置において、吸着剤担持部材に担持させる吸着剤の種類によっては、SVOCの捕集が十分にできない場合があった。
また、特許文献2の画像形成装置において、滞留部を排気の気流方向が変わる屈曲部分に形成する必要がある等の構造上の制約があった。
このような状況のなか、SVOCを更に積極的に捕集可能な技術が望まれている。
本発明は、SVOCの排出量を低減可能な画像形成装置を提供することを一の目的とする。また、本発明は、SVOCの排出量を低減可能な排気機構を提供することを他の目的とする。
本発明は、被画像形成材の表面にインク又はトナーにより画像を形成する画像形成部と、
前記画像形成部を内部に収容する筺体と、前記筺体における内部空間の気体を外部空間に案内する排出路を有するダクト部と、前記ダクト部の搬出路に前記内部空間側から前記外部空間側への気流を発生させる気流発生部と、前記ダクト部における前記排出路に配置され、複数の板状部材を有し、前記複数の板状部材それぞれを所定の順番で前記気流があたる位置に配置すると共に前記気流の方向と対向する方向に移動可能に構成される捕集部材と、前記複数の板状部材それぞれが前記対向する方向に連続的に移動するよう前記捕集部材を駆動させる駆動部と、を備える画像形成装置に関する。
また、本発明は、被画像形成材の表面にインク又はトナーにより画像を形成する画像形成部と、前記画像形成部を内部に収容する筺体と、を備える画像形成装置に配置される排気機構であって、前記筺体における内部空間の気体を外部空間に案内する排出路を有するダクト部と、前記ダクト部の搬出路に前記内部空間側から前記外部空間側への気流を発生させる気流発生部と、前記ダクト部における前記排出路に配置され、複数の板状部材を有し、前記複数の板状部材それぞれを所定の順番で前記気流があたる位置に配置すると共に前記気流の方向と対向する方向に移動可能に構成される捕集部材と、前記複数の板状部材それぞれが前記対向する方向に連続的に移動するよう前記捕集部材を駆動させる駆動部と、を備える排気機構に関する。
本発明によれば、SVOCの排出量を低減可能な画像形成装置を提供することができる。また、本発明によれば、SVOCの排出量を低減可能な排気機構を提供することができる。
画像形成装置の一実施形態であるプリンター1の概略構成図である。 プリンター1に配置された排気機構600の概略構成図である。 図2に示した捕集部材630の板状部材631aと軸部材632との位置関係を示す斜視図である。 捕集部材630の各板状部材に形成された溝部633を示す拡大斜視図である。 図3に示した板状部材631aのA矢視図である。 図3に示した板状部材631a上での気流Jの流れを示す斜視図である。 プリンター1において画像形成部GKの動作状況に応じて捕集部材630を作動させる制御部680のブロック図である。 プリンター1から排出される排気中のSVOC量の測定結果を示す表である。
以下、図面を参照して本発明の実施形態を説明する。
図1により、本実施形態における画像形成装置としてのプリンター1における全体構造を説明する。図1は、画像形成装置の一実施形態であるプリンター1の概略構成図である。
図1に示すように、画像形成装置としてのプリンター1は、装置本体Mと、所定の画像情報に基づいてシート状の用紙T(被画像形成材)に所定のトナー画像を形成する画像形成部GKと、用紙Tを画像形成部GKに給紙すると共にトナー画像が形成された用紙Tを排紙する給排紙部KHと、装置本体M内部の空気を外部に排出する排気機構600とを有する。
装置本体Mにおける外形は、上記の画像形成部GK、給排紙部KH及び排気機構600を収容するケース体BD(筺体)により構成される。
図1に示すように、画像形成部GKは、像担持体(感光体)としての感光体ドラム2と、帯電部10と、露光ユニットとしてのレーザースキャナユニット4と、現像器16と、トナーカートリッジ5と、トナー供給部6と、ドラムクリーニング部11と、除電器12と、転写ローラー8と、定着部9とを備える。
図1に示すように、給排紙部KHは、給紙カセット52と、手差し給紙部64と、用紙Tの搬送路Lと、レジストローラー対80と、排紙部50とを備える。
以下、画像形成部GK及び給排紙部KHの各構成について詳細に説明する。
まず、画像形成部GKについて説明する。
画像形成部GKにおいては、感光体ドラム2の表面に沿って順に、上流側から下流側に順に、帯電部10による帯電、レーザースキャナユニット4による露光、現像器16による現像、転写ローラー8による転写、除電器12による除電、及びドラムクリーニング部11によるクリーニングが行われる。
感光体ドラム2は、円筒形状の部材からなり、感光体又は像担持体として機能する。感光体ドラム2は、搬送路Lにおける用紙Tの搬送方向に対して直交する方向に延びる回転軸を中心に、矢印の方向に回転可能に配置される。感光体ドラム2の表面には、静電潜像が形成され得る。
帯電部10は、感光体ドラム2の表面に対向して配置される。帯電部10は、感光体ドラム2の表面を一様に負(マイナス極性)又は正(プラス極性)に帯電させる。
レーザースキャナユニット4は、露光ユニットとして機能するものであり、感光体ドラム2の表面から離間して配置される。レーザースキャナユニット4は、不図示のレーザー光源、ポリゴンミラー、ポリゴンミラー駆動用モーター等を有して構成される。
レーザースキャナユニット4は、PC(パーソナルコンピューター)等の外部機器から入力された画像情報に基づいて、感光体ドラム2の表面を走査露光する。レーザースキャナユニット4により走査露光されることで、感光体ドラム2の表面の露光された部分の電荷が除去される。これにより、感光体ドラム2の表面に静電潜像が形成される。
現像器16は、感光体ドラム2に対応して設けられ、感光体ドラム2の表面に対向して配置される。現像器16は、感光体ドラム2に形成された静電潜像に単色(通常はブラック)のトナーを付着させて、単色のトナー画像を感光体ドラム2の表面に形成する。現像器16は、感光体ドラム2の表面に対向配置された現像ローラー17、トナー攪拌用の攪拌ローラー18等を有して構成される。
トナーカートリッジ5は、現像器16に対応して設けられており、現像器16に対して供給されるトナーを収容する。
トナー供給部6は、トナーカートリッジ5及び現像器16に対応して設けられており、トナーカートリッジ5に収容されたトナーを現像器16に対して供給する。トナー供給部6と現像器16とは、不図示のトナー供給路により結ばれている。
転写ローラー8は、感光体ドラム2の表面に現像されたトナー画像を用紙Tに転写させる。転写ローラー8には、不図示の転写バイアス印加部により、感光体ドラム2に形成されたトナー画像を用紙Tに転写させるための転写バイアスが印加される。転写ローラー8は、感光体ドラム2に対して当接した状態で回転可能に構成される。
感光体ドラム2と転写ローラー8との間で、搬送路Lを搬送される用紙Tが挟み込まれる。挟み込まれた用紙Tは、感光体ドラム2の表面に押し当てられる。感光体ドラム2と転写ローラー8との間で、転写ニップNが形成される。転写ニップNにおいて、感光体ドラム2に現像されたトナー画像が用紙Tに転写される。
除電器12は、感光体ドラム2の表面に対向して配置される。除電器12は、感光体ドラム2の表面に光を照射することにより、転写が行われた後の感光体ドラム2の表面を除電する(電荷を除去する)。
ドラムクリーニング部11は、感光体ドラム2の表面に対向して配置される。ドラムクリーニング部11は、感光体ドラム2の表面に残存したトナーや付着物を除去すると共に、除去されたトナー等を所定の回収機構へ搬送して、回収させる。
定着部9は、用紙Tに転写されたトナー画像を構成するトナーを溶融及び加圧して、用紙Tに定着させる。定着部9は、ヒーターにより加熱される加熱回転体9aと、加熱回転体9aに圧接される加圧回転体9bと、を備える。加熱回転体9aと加圧回転体9bとは、トナー画像が転写された用紙Tを挟み込んで加圧すると共に、搬送する。加熱回転体9aと加圧回転体9bとの間に挟み込まれた状態で用紙Tが搬送されることで、用紙Tに転写されたトナーは、溶融及び加圧され、用紙Tに定着される。
次に、給排紙部KHについて説明する。
図1に示すように、装置本体Mの下部には、用紙Tを収容する1個の給紙カセット52が配置される。給紙カセット52は、装置本体Mの右側(図1における右側)から水平方向に引き出し可能に構成される。給紙カセット52には、用紙Tが載置される載置板60が配置される。給紙カセット52には、用紙Tが載置板60の上に積層された状態で収容される。載置板60に載置された用紙Tは、給紙カセット52における用紙送り出し側の端部(図1において右側の端部)に配置されるカセット給紙部51により搬送路Lに送り出される。カセット給紙部51は、載置板60上の用紙Tを取り出すための前送りコロ61と、用紙Tを1枚ずつ搬送路Lに送り出すための給紙ローラー対63とからなる重送防止機構を備える。
装置本体Mの右側(図1において右側)には、手差し給紙部64が設けられる。手差し給紙部64は、給紙カセット52にセットされる用紙Tとは異なる大きさや種類の用紙Tを装置本体Mに供給することを主目的として設けられる。手差し給紙部64は、閉状態において装置本体Mの前面の一部を構成する手差しトレイ65と、給紙コロ66とを備える。手差しトレイ65は、その下端が給紙コロ66の近傍の装置本体Mに回動自在(開閉自在)に取り付けられる。開状態の手差しトレイ65には、用紙Tが載置される。給紙コロ66は、開状態の手差しトレイ65に載置された用紙Tを手差し搬送路Laに給紙する。
装置本体Mにおける上方側には、排紙部50が設けられる。排紙部50は、第3ローラー対53により用紙Tを装置本体Mの外部に排紙する。排紙部50の詳細については後述する。
用紙Tを搬送する搬送路Lは、カセット給紙部51から転写ニップNまでの第1搬送路L1と、転写ニップNから定着部9までの第2搬送路L2と、定着部9から排紙部50までの第3搬送路L3と、手差し給紙部64から供給される用紙を第1搬送路L1に合流させる手差し搬送路Laと、第3搬送路L3を下流側から上流側へ搬送する用紙を、表裏反転させて第1搬送路L1に戻す戻り搬送路Lbとを備える。
また、第1搬送路L1の途中には、第1合流部P1及び第2合流部P2が設けられている。第3搬送路L3の途中には、第1分岐部Q1が設けられている。
第1合流部P1は、手差し搬送路Laが第1搬送路L1に合流する合流部である。第2合流部P2は、戻り搬送路Lbが第1搬送路L1に合流する合流部である。
第1分岐部Q1は、戻り搬送路Lbが第3搬送路L3から分岐する分岐部で、第1ローラー54a及び第2ローラー54bからなるローラー対と、第2ローラー54b及び第3ローラー54cからなるローラー対とを有する。
第1搬送路L1の途中(詳細には、第2合流部P2と転写ローラー8との間)には、用紙Tを検出するためのセンサーと、用紙Tのスキュー(斜め給紙)補正や画像形成部GKにおけるトナー画像の形成と用紙Tの搬送のタイミングを合わせるためのレジストローラー対80とが配置される。センサーは、用紙Tの搬送方向におけるレジストローラー対80の直前(搬送方向における上流側)に配置される。レジストローラー対80は、センサーからの検出信号情報に基づいて上述の補正やタイミング調整をして用紙Tを搬送する。
戻し搬送路Lbは、用紙Tに両面印刷を行う際に、既に印刷されている面とは反対面(未印刷面)を感光体ドラム2に対向させるために設けられる搬送路である。
戻し搬送路Lbによれば、第1分岐部Q1から第1ローラー54a及び第2ローラー54bにより構成されるローラー対により排紙部50側に搬送された用紙Tを表裏反転させて第2ローラー54b及び第3ローラー54cからなるローラー対により第1搬送路L1に戻して、転写ローラー8の上流側に配置されたレジストローラー対80の上流側に搬送させることができる。戻し搬送路Lbにより表裏反転された用紙Tには、転写ニップNにおいて未印刷面に対して所定のトナー画像が転写される。
第3搬送路L3における端部には、排紙部50が形成される。排紙部50は、装置本体Mにおける上方側に配置される。排紙部50は、装置本体Mの右側(図1において右側、手差し給紙部64側)に向けて開口している。排紙部50は、第3搬送路L3を搬送される用紙Tを第3ローラー対53により装置本体Mの外部に排紙する。
排紙部50における開口側には、排紙集積部M1が形成される。排紙集積部M1は、装置本体Mにおける上面(外面)に形成される。排紙集積部M1は、装置本体Mにおける上面が下方に窪んで形成された部分である。排紙集積部M1の底面は、装置本体Mにおける上面の一部を構成する。排紙集積部M1には、所定のトナー画像が形成され排紙部50から排紙された用紙Tが積層して集積される。
なお、各搬送路の所定位置には用紙検出用のセンサーが配置される。
次に、図1を参照して、第1実施形態のプリンター1の動作について、簡単に説明する。
まず、給紙カセット52に収容された用紙Tに片面印刷を行う場合について説明する。
給紙カセット52に収容された用紙Tは、前送りコロ61及び給紙ローラー対63によって第1搬送路L1に送り出され、その後、第1合流部P1及び第1搬送路L1を介してレジストローラー対80に搬送される。
レジストローラー対80においては、用紙Tのスキュー補正や、トナー画像とのタイミング調整が行われる。
レジストローラー対80から排出された用紙Tは、第1搬送路L1を介して感光体ドラム2と転写ローラー8との間(転写ニップN)に導入される。そして、用紙Tには、感光体ドラム2と転写ローラー8との間において、トナー画像が転写される。
その後、用紙Tは、感光体ドラム2と転写ローラー8との間から排出され、第2搬送路L2を介して、定着部9における加熱回転体9aと加圧回転体9bとの間の定着ニップに導入される。そして、定着ニップにおいてトナーTNが溶融し、トナーTNが用紙Tに定着される。
次いで、用紙Tは、第1ローラー54a及び第2ローラー54bからなるローラー対により第3搬送路L3を通して排紙部50に搬送され、第3ローラー対53により排紙部50から排紙集積部M1に排出される。
このようにして、給紙カセット52に収容された用紙Tの片面印刷が完了する。
手差しトレイ65に載置された用紙Tに片面印刷を行う場合には、手差しトレイ65に載置された用紙Tは、給紙コロ66によって手差し搬送路Laに送り出され、その後、第1合流部P1及び第1搬送路L1を介して、レジストローラー対80に搬送される。それ以降の動作は、前述した、給紙カセット52に収容された用紙Tの片面印刷の動作と同様であり、説明を省略する。
次に、両面印刷を行う場合のプリンター1の動作について説明する。
片面印刷の場合には、前述した通り、片面印刷がされた用紙Tが、排紙部50から排紙集積部M1に排出されて印刷動作が完了する。
これに対し、両面印刷を行う場合には、片面印刷がされた用紙Tが、戻し搬送路Lbを介して、片面印刷時とは表裏反転して、レジストローラー対80に再度搬送されることにより、用紙Tに両面印刷が施される。
詳述すると、片面印刷がされた用紙Tが第3ローラー対53により排紙部50から排出されるまでは、前述した片面印刷の動作と同様である。而して、両面印刷の場合には、片面印刷がされた用紙Tが第3ローラー対53により保持されている状態において、第3ローラー対53の回転を停止させ、逆方向に回転させる。このように第3ローラー対53を逆方向に回転させると、第3ローラー対53に保持されている用紙Tは、第3搬送路L3を逆方向(排紙部50から第1分岐部Q1に向かう方向)に搬送される。
前述したように、用紙Tが、第3搬送路L3を逆方向に搬送されると、(第1ローラー54a及び第2ローラー54bからなるローラー対ではなく、)第2ローラー54b及び第3ローラー54cからなるローラー対に導入される。そして、用紙Tは、戻し搬送路Lb及び第2合流部P2を介して、第1搬送路L1に合流する。ここで、用紙Tは、片面印刷時とは表裏反転している。
更に、用紙Tは、レジストローラー対80により前記補正又は前記調整が行われ、第1搬送路L1を介して、感光体ドラム2と転写ローラー8との間に導入される。用紙Tは、戻し搬送路Lbを経由することにより、未印刷面が感光体ドラム2に対向するので、未印刷面にトナー画像が転写され、その結果、両面印刷が施される。
続けて、図2から図7により、排気機構600について説明する。
図2は、プリンター1に配置された排気機構600の概略構成図である。図3は、図2に示した捕集部材630の板状部材631aと軸部材632との位置関係を示す斜視図である。図4は、捕集部材630の各板状部材に形成された溝部633を示す拡大斜視図である。図5は、図3に示した板状部材631aのA矢視図である。図6は、図3に示した板状部材631a上での気流Jの流れを示す斜視図である。図7は、プリンター1において画像形成部GKの動作状況に応じて捕集部材630を作動させる制御部680のブロック図である。
図2に示すように、排気機構600は、ダクト部610と、ファン620(気流発生部)と、捕集部材630と、捕集部材駆動部640(駆動部)と、を備える。
ダクト部610は、ケース体BDにおける内部空間BDinの気体をケース体BDの外部である外部空間40(図1参照)に案内する排出路611を有する。ダクト部610において、排出路611の始端611a(吸気口)は、定着部9の近くに配置される。また、排出路611の終端611b(排出口)は、ケース体BDを挿通して、ケース体BDの外部(外部空間40)に開放されている。
また、ダクト部610は、捕集部材630を収容する収容部612を有する。収容部612は、排出路611よりも大きな径となる部分であって、収容空間を有するよう形成された部分である。収容部612は、例えば、排出路611の途中を膨出させたような態様である。
図2に示すように、収容部612は、内部空間BDin側に形成される吹き入れ口612aと、外部空間40側に形成される吹き出し口612bと、を有する。
吹き入れ口612aは、排出路611における収容部612よりも上流側の排出路611Aからの気流を、収容部612内に流入させる部分である。吹き出し口612bは、収容部612からの気流を、排出路611における収容部612よりも下流側の排出路611Bに流出させる部分である。
ここで、図5に示すように、収容部612における吹き入れ口612aは、軸部材632の回転軸を含む所定の仮想平面(例えば、平面634)の一方側であって回転軸方向における一端側(図5では、右端側)に形成される。更に、吹き出し口612bは、該仮想平面の他方側(図5では、左端側)であって軸部材632の回転軸方向における他端側に配置される。吹き入れ口612a及び吹き出し口612bの配置については、捕集部材630の説明の後で補足説明する。
また、図2に示すように、プリンター1におけるダクト部610は、排出路611における捕集部材630よりも外部空間40側に配置されるフィルター部材670を有する。
フィルター部材670は、気流に含まれるVOCやSVOCを捕集可能な濾材である。フィルター部材670は、捕集部材630において捕集されなかったVOCやSVOCを捕集する。フィルター部材670は、VOCやSVOCの捕集率を向上させる仕上げ捕集を行い、プリンター1におけるVOCやSVOCの除去性能を更に向上させる。
ここで、捕集部材630を通過してフィルター部材670に到達する気流Jは、捕集部材630により冷却されているため、気流中のVOCやSVOCがフィルターとの衝突により凝集し易い。これにより、フィルター部材670は、それほど高性能でなくとも、気流中のVOC及びSVOCを良好に捕集できる。
また、捕集部材630を通過した気流Jは、VOCやSVOCの残存が少ないため、フィルター部材670への負担は軽く、長期間機能する。
図2に示すように、ファン620は、ダクト部610の排出路611(排出路611A)の途中に配置されている。ファン620は、排出路611に内部空間BDin側から外部空間40側への気流Jを発生させる気流発生部である。ファン620は、ファン駆動部621により回転駆動される。ファン駆動部621は、専用の電動モーター、又は、周囲の回転部から回転力をファン620に伝達する回転伝達機構である。
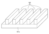
図2に示すように、捕集部材630は、ダクト部610における排出路611に配置されている。詳しくは、捕集部材630は、ダクト部610における収容部612に配置される。捕集部材630は、複数の板状部材631a,631b,631c,631dを有する。
図2及び図3に示すように、複数の板状部材631a,631b,631c,631dは、後述する管状の軸部材632の外面(外周面)に取り付けられる。図2に示すように、複数の板状部材631a,631b,631c,631dは、軸部材632の外面に中心軸632a(回転軸)を中心に略放射状に配置される。
図2に示すように、軸部材632は、中心軸632aが気流Jの方向に直交する水平方向に沿って配置されている。軸部材632の中心軸632aは、当該軸部材632の回転中心となる回転軸である。軸部材632は、中心軸632a(回転軸)を中心に回転する。
捕集部材630は、軸部材632の回転により、複数の板状部材631a,631b,631c,631dそれぞれを所定の順番で気流Jがあたる位置に配置すると共に、気流Jの方向と対向する方向に移動可能に構成される。
各板状部材631a,631b,631c,631dは、軸部材632の回転によって順番に吹き入れ口612aと対向する位置に移動させられることで、安定的に気流Jが吹きあてられる。
本実施形態の捕集部材630は、気流Jに対して板状部材631a,631b,631c,631dを対向させてぶつけることで、気流Jに含まれているVOC,SVOCを板状部材の表面に凝集させ、(VOC,SVOCを板状部材上で)捕集する。板状部材631a,631b,631c,631dがVOC,SVOCを捕集することで、ダクト部610の終端611bから外部空間40に排出される排気はVOC,SVOCが除去される。
本実施形態において、捕集部材630を構成する板状部材631a,631b,631c,631dは、アルミニウム製である。
また、図2から図4に示すように、捕集部材630における板状部材631a,631b,631c,631dそれぞれは、気流Jがあたる面に形成される複数の溝部633を有する。
各溝部633は、気流Jが流れる溝として機能する。これにより、捕集部材630(板状部材)は、気流Jと接触する表面積を広くすることができる。また、これにより、捕集部材630(板状部材)は、VOCやSVOCの凝集を促進するので、VOCやSVOCの捕集力が更に向上する。
ここで、各板状部材631a,631b,631c,631dは、気流Jに垂直に対向してもよく、気流Jに対して傾いて対向してもよい。
つまり、図5に示すように、複数の板状部材631a,631b,631c,631dそれぞれは、軸部材632の回転軸(中心軸632a)を含む平面634に対して交差するように傾斜して軸部材632に配置される。図5に示す角度θは、軸部材632の回転軸を含む平面634に対する板状部材631a,631b,631c,631dの傾斜角である。また、言い換えると、板状部材631a,631b,631c,631dは、垂線Vが気流Jの方向と所定の傾きを有して対向してもよい。
また、図5に示すように、前述した収容部612における吹き入れ口612aは、軸部材632の回転軸を含む所定の仮想平面(例えば、平面634)の一方側(図5において下側)であって前記回転軸方向における一端側(図5では、右端側)に形成される。更に、吹き出し口612bは、前記仮想平面(例えば、平面634)の他方側(図5において上側)であって軸部材632の回転軸方向における他端側(図5では、左側)に配置される。
上述のように傾斜しては配置された複数の板状部材631a,631b,631c,631dにおいて、吹き入れ口612aから流入した気流Jは、複数の板状部材631a,631b,631c,631dの一端側に衝突すると共に、図5及び図6において矢印f1方向に溝部633に沿って他端側にガイドされる。気流Jは、板状部材の表面を吹き入れ口612a側から吹き出し口612b側に流れる。言い換えると、板状部材631a,631b,631c,631dそれぞれは、一端側において吹きあてられた気流Jを溝部633に沿って他端側にガイドする。
捕集部材630は、板状部材631a,631b,631c,631dが上述のように傾斜して配置されることで、気流Jの衝突により板状部材に作用する負荷を軽減することができる。これにより、捕集部材630は、軸部材632の回転駆動に必要となる駆動トルクを軽減することが可能である。
捕集部材駆動部640は、複数の板状部材631a,631b,631c,631dそれぞれが気流Jと対向する方向に連続的に移動するよう捕集部材630を駆動させる駆動部である。具体的には、捕集部材駆動部640は、軸部材632を回転駆動する手段である。捕集部材駆動部640は、電動モーター及びギア等により構成される。
ここで、本実施形態のプリンター1は、上記の排気機構600を備えたものである。
プリンター1は、用紙Tの表面にトナーにより画像を形成する画像形成部GKと、画像形成部GKを内部に収容する筺体であるケース体BDと、ケース体BDにおける内部空間BDinの気体を外部空間40に案内する排出路611を有するダクト部610と、ダクト部610の排出路611に内部空間BDin側から外部空間40側への気流Jを発生させる気流発生部としてのファン620と、ダクト部610における排出路611に配置され、複数の板状部材631a,631b,631c,631dを有し、複数の板状部材631a,631b,631c,631dそれぞれを所定の順番で気流Jがあたる位置に配置すると共に、気流Jの方向と対向する方向に移動可能に構成される捕集部材630と、複数の板状部材631a,631b,631c,631dそれぞれが前記対向する方向に連続的に移動するよう捕集部材630を駆動させる捕集部材駆動部640と、を備えるものである。ここで、画像形成部GKは、定着部9を有する。
また、図2に示すように、プリンター1は、ヒートポンプ660を備える。
ヒートポンプ660は、蒸発器661と、膨張弁662と、凝縮器663と、圧縮機664とを有する。ヒートポンプ660は、凝縮器663で加圧した熱媒体(冷媒)を膨張弁662を経て蒸発器661で気化させることで蒸発器661において冷却機能を発揮させる。蒸発器661は、冷却熱を捕集部材630に伝達するように、捕集部材630に直接又は間接的に連結される。本実施形態において、蒸発器661は、降温した冷媒を軸部材632の中空部に流すように軸部材632に連結され、捕集部材630を冷却する冷却部として機能する。
また、凝縮器663は、冷媒の凝縮による発熱を定着部9の加熱に利用するために、定着部9の近傍に配置される。図2において、凝縮器663における熱エネルギーを放熱する放熱板663aは、定着部9の近傍に配置される。凝縮器663は、定着部9における周囲の空間を加熱して、定着部9を加熱する。
プリンター1において、ヒートポンプ660の吸熱部である蒸発器661は捕集部材630を冷却する冷却部として利用され、発熱部である凝縮器663は定着部9を加熱する加熱手段として利用される。
本実施形態におけるプリンター1は、効率の良い熱循環システムを有する。
ヒートポンプ660は、蒸発器661、膨張弁662、凝縮器663、圧縮機664等を駆動するヒートポンプ駆動部666により駆動される。
続けて、図7により、プリンター1における制御系について説明する。
プリンター1は、上述の部材や駆動部のほか、制御部680を備える。
制御部680は、画像形成部GKの駆動状態に応じて捕集部材630の駆動を制御する。
制御部680は、動作状況認識部681と、駆動制御部682と、を備える。
動作状況認識部681は、画像形成部GKにおける動作状況を認識する。具体的には、動作状況認識部681は、画像形成部GKにおける全部又は一部の駆動を認識する。更には、動作状況認識部681は、画像形成部GKにおいてVOC及びSVOCが発生する動作が開始されたことを認識する。動作状況認識部681において認識される画像形成部GKの駆動内容は、適宜設定できる。
駆動制御部682は、動作状況認識部681により画像形成部GKにおける全部又は一部の駆動が認識された場合、捕集部材駆動部640を駆動させる。詳細には、駆動制御部682は、動作状況認識部681により画像形成部GKにおける全部又は一部の駆動が認識された場合、ファン駆動部621、捕集部材駆動部640及びヒートポンプ駆動部666を駆動させる。
続けて、プリンター1における排気機構600の作用を説明する。
まず、プリンター1において、画像形成指示を受けた画像形成部GKは、画像形成処理を開始する(駆動を開始する)。
これにより、制御部680(動作状況認識部681)は、画像形成部GKの駆動を認識する。そして、制御部680(駆動制御部682)は、ファン駆動部621、捕集部材駆動部640及びヒートポンプ駆動部666を駆動させる。
ファン駆動部621は、ファン620を回転駆動させる。回転駆動されたファン620は、内部空間BDin内の気体をダクト部610を通る気流Jとして外部空間40に排気させる。
ここで、捕集部材駆動部640は、捕集部材630を回転駆動させる。回転駆動された捕集部材630は、板状部材631a,631b,631c,631dを気流J対向する方向に連続的に移動させる。言い換えると、捕集部材630は、板状部材631a,631b,631c,631dを所定の順序で連続的に気流Jに衝突させるよう回転駆動する。
これにより、捕集部材630は、板状部材631a,631b,631c,631の表面上に、気流Jに含まれているVOC及びSVOCを凝集させて捕集する。
ここで、捕集部材630は、各板状部材631a,631b,631c,631dの表面(気流Jがあたる側の面)に複数の溝部633が形成されているので、気流Jと接触する表面積が広い。これにより、捕集部材630におけるVOCやSVOCの捕集力は、表面が平面状の場合に比べて向上する。
更に、捕集部材630において、各板状部材631a,631b,631c,631dは、軸部材632の回転軸(中心軸632a)を含む平面634に対して交差するように傾斜して軸部材632に配置されている(図5参照)。
これにより、捕集部材630は、気流Jを各板状部材の溝部633に沿って、吹き入れ口612aに近い一端側から吹き出し口612bに近い他端側に、少ない抵抗でガイドする(図5及び図6参照)。
これにより、捕集部材630は、気流Jの衝突により板状部材に作用する負荷を軽減することができる。また、これにより、捕集部材630は、軸部材632の回転駆動に必要となる駆動トルクを軽減可能である。
また、捕集部材630は、気流Jを各板状部材の上記一端から他端までガイドするので、気流Jにおける各板状部材への接触面積を広くできる。これにより、捕集部材630におけるVOCやSVOCの捕集力は、更に向上する。
そして、所定のタイミングでヒートポンプ660が駆動される。本実施形態において、ヒートポンプ660を構成する蒸発器661は、捕集部材630を冷却する冷却部として利用され、凝縮器663は、定着部9を加熱する加熱部として利用される。
ヒートポンプ駆動部666によってヒートポンプ660が駆動されることで、蒸発器661は、捕集部材630を冷却する。冷却された捕集部材630は、VOC及びSVOCを凝集させ易くなり、VOC及びSVOCの捕集効率が更に向上する。
また、ヒートポンプ660において、凝縮器663は、定着部9の近傍に配置される放熱板663aにより、加熱回転体9a(周囲の空間)を加熱する。これにより、加熱回転体9aは、定着処理に必要な温度に昇温させ易い状態となっている。
上述の通り、ヒートポンプ660は、プリンター1内において良好な熱循環を達成する。
また、本実施形態において、プリンター1は、捕集部材630が取り付けられたダクト部610の収容部612よりも下流側に配置されるフィルター部材670を有する。フィルター部材670は、捕集部材630を通過した気流Jに対し再度VOC及びSVOCの捕集処理を行う。これにより、プリンター1からの排気中におけるVOC及びSVOCの含量は、より低減される。
そして、画像形成部GKが一連の画像形成処理を停止すると、制御部680(動作状況認識部681)は、画像形成部GKにおける駆動の停止を認識する。そして、制御部680(駆動制御部682)は、一定時間後にファン駆動部621、捕集部材駆動部640及びヒートポンプ駆動部666の駆動を停止させる。
以上に説明した本実施形態によれば、例えば、次の効果が奏される。
本実施形態におけるプリンター1は、用紙Tの表面にインク又はトナーにより画像を形成する画像形成部GKと、画像形成部GKを内部に収容するケース体BDと、ケース体BDにおける内部空間BDinの気体を外部空間40に案内する排出路611を有するダクト部610と、ダクト部610の排出路611に内部空間BDin側から外部空間40側への気流Jを発生させるファン620(気流発生部)と、ダクト部610における排出路611に配置され、複数の板状部材631a,631b,631c,631dを有し、複数の板状部材631a,631b,631c,631dそれぞれを所定の順番で気流Jがあたる位置に配置すると共に気流Jの方向と対向する方向に移動可能に構成される捕集部材630と、複数の板状部材631a,631b,631c,631dそれぞれが前記対向する方向に連続的に移動するよう捕集部材630を駆動させる捕集部材駆動部640と、を備える。
これにより、プリンター1(排気機構600)は、画像形成処理時に画像形成部GKで発生したVOC及びSVOCを内部空間BDin内の気体がダクト部610を通って外部空間40に排気される際に好適に捕集する。
具体的には、プリンター1(排気機構600、捕集部材630)は、捕集部材630の板状部材631a,631b,631c,631dに、内部空間BDin内から外部空間40に排出する気体(気流J)を衝突させて、板状部材631a,631b,631c,631dの表面にVOC及びSVOCを凝集させて捕集する。
これにより、プリンター1(排気機構600、捕集部材630)は、排出する排気中のSVOCを低減させることができる。本実施形態によれば、SVOCの排出量を低減可能な画像形成装置を提供することができる。
また、本実施形態によれば、プリンター1(排気機構600、捕集部材630)は、複数の板状部材を所定順で、VOC及びSVOCを含む気流Jに対向するように移動させる。これにより、プリンター1は、VOC及びSVOCの捕集処理を連続的に安定して行うことができる。
本実施形態によれば、プリンター1における捕集部材630を構成する板状部材631a,631b,631c,631dは、気流Jがあたる面に形成される複数の溝部633を有する。
これにより、プリンター1(排気機構600、捕集部材630)は、板状部材631a,631b,631c,631dにおける気流Jが接触する表面積を広くすることができる。また、これにより、プリンター1(排気機構600、捕集部材630)は、VOC及びSVOCを凝集させるための接触面積を広くすることができるため、VOC及びSVOCの捕集力が向上する。また、プリンター1(排気機構600、捕集部材630)は、溝部633において衝突した気流Jの流れ方向を規制すると共に気流Jに安定的に接触させるので、VOC及びSVOCの捕集力を向上させることができる。
本実施形態によれば、プリンター1における捕集部材630は、回転軸を中心に回転する軸部材632を有する。そして、複数の板状部材631a,631b,631c,631dは、軸部材632の外面に回転軸を中心に略放射状に配置される。
これにより、複数の板状部材631a,631b,631c,631dは、軸部材632の回転により、順番に、気流Jに当たる所定位置に移動される。また、これにより、プリンター1(排気機構600、捕集部材630)は、気流Jに対して安定的に板状部材を衝突させることができ、VOC及びSVOCの捕集力を向上させることができる。
本実施形態によれば、プリンター1(排気機構600、捕集部材630)において、複数の板状部材631a,631b,631c,631dそれぞれは、軸部材632の回転軸を含む平面に対して交差するように傾斜して軸部材632に配置される。
これにより、プリンター1(排気機構600、捕集部材630)は、各板状部材631a,631b,631c,631dに衝突した気流Jを傾斜面に沿ってガイドする。また、これにより、プリンター1(排気機構600、捕集部材630)は、気流Jの衝突により板状部材に作用する負荷(抵抗)を軽減することができる。また、これにより、プリンター1(排気機構600、捕集部材630)は、軸部材632の回転駆動に必要となる駆動トルクを軽減させることができる。
本実施形態によれば、プリンター1(排気機構600、捕集部材630)において、ダクト部610は、捕集部材630を収容する収容部612を有する。収容部612は、内部空間BDin側に形成される吹き入れ口612aと、外部空間40側に形成される吹き出し口612bと、を有する。そして、吹き入れ口612aは、軸部材632の回転軸を含む所定の仮想平面(図5の平面634)の一方側であって前記回転軸方向における一端側に形成される。吹き出し口612bは、前記仮想平面の他方側であって前記回転軸方向における他端側に配置される。
これにより、プリンター1(排気機構600、捕集部材630)は、気流Jを各板状部材の上記一端から他端までガイドするので、気流Jにおける各板状部材への接触面積を広くできる。これにより、プリンター1(排気機構600、捕集部材630)は、VOC及びSVOCの捕集力を向上させる。
また、プリンター1(排気機構600、捕集部材630)は、気流Jを、板状部材631a,631b,631c,631dの表面に沿って軸部材632の回転軸方向の一端側から他端側にガイドするので、滞留等による排気性能の低下を抑制可能に構成される。
本実施形態によれば、プリンター1(排気機構600、捕集部材630)は、捕集部材630を冷却する冷却部(蒸発器661)を更に備える。
これにより、プリンター1(排気機構600、捕集部材630)は、冷却した捕集部材630を気流Jにあてるので、気流Jに含まれているVOC及びSVOCの凝集を促進させるよう構成される。これにより、プリンター1(排気機構600、捕集部材630)は、VOC及びSVOCの捕集力を向上させる。
本実施形態によれば、プリンター1(排気機構600、捕集部材630)は、蒸発器661と、膨張弁662と、凝縮器663と、圧縮機664とを有するヒートポンプ660を備える。また、画像形成部GKは、定着部9を有する。前記蒸発器661は、冷却部として機能する。そして、蒸発器661は、捕集部材630に連結される。また、凝縮器663(放熱板663a)は、定着部9の近傍に配置される。
これにより、プリンター1(排気機構600、捕集部材630)は、蒸発器661により捕集部材630が冷却されることで、捕集部材630においてVOC及びSVOCを凝集させ易くなる。これにより、プリンター1(排気機構600、捕集部材630)は、VOC及びSVOCの捕集効率を向上させる。
また、プリンター1(排気機構600、捕集部材630)は、凝縮器663(放熱板663a)により、加熱回転体9a(周囲の空間)を加熱する。これにより、プリンター1は、加熱回転体9aを定着処理に必要な温度に昇温させ易い状態にできる。
上述の通り、プリンター1(排気機構600、捕集部材630)は、ヒートポンプ660を利用することで、排気中に含まれるVOC及びSVOCを好適に捕集すると共に、プリンター1内における良好な熱循環を達成する。
本実施形態によれば、プリンター1(排気機構600、捕集部材630)において、ダクト部610は、排出路611における捕集部材630よりも外部空間40側に配置されるフィルター部材670を有する。フィルター部材670は、捕集部材630を通過した排気中のVOC及びSVOCを更に捕集する。
これにより、プリンター1(排気機構600、捕集部材630)は、VOC及びSVOCの捕集率を更に向上させる仕上げ捕集を実現する。これにより、プリンター1(排気機構600、捕集部材630)において、VOC及びSVOCの除去性能は、更に向上される。
ここで、捕集部材630を通過してフィルター部材670に到達する気流Jは、捕集部材630により冷却されているため、気流中のVOCやSVOCがフィルターとの衝突により凝集し易すい。これにより、フィルター部材670は、それほど高性能でなくとも、気流中のVOC及びSVOCを良好に捕集できる。
また、捕集部材630を通過した気流Jは、VOCやSVOCの残存が少ないため、フィルター部材670への負担は軽い。これにより、フィルター部材670は、長期間機能する。
本実施形態によれば、プリンター1(排気機構600、捕集部材630)は、画像形成部GKにおける動作状態を認識する動作状況認識部681と、動作状況認識部681により画像形成部GKにおける全部又は一部の駆動が認識された場合、捕集部材駆動部640を駆動させる駆動制御部682と、を備える。
これにより、プリンター1は、画像形成部GKにおける動作状態に応じて、排気中のVOC及びSVOCを捕集処理するよう構成される。これにより、プリンター1(排気機構600、捕集部材630)は、無駄な稼働を抑えつつ、好適に排気中のVOC及びSVOCを捕集可能に構成される。また、プリンター1(排気機構600、捕集部材630)は、好適に排気中のVOC及びSVOCを捕集すると共に、騒音の抑制や、節電等を図ることができる。
続けて、実施例1、実施例2、比較例1を下記の条件で行った。各例において、プリンターから排出される排気中のSVOC量を測定して図8の表1に示した。
図8は、プリンター1から排出される排気中のSVOC量の測定結果を示す表である。
<条件>
プリンター:TASKalfa 500ci(京セラミタ株式会社製)
捕集部材
軸部材 :直径 20mm、長さ100mm
板状部材:4枚
:長さ(回転軸方向)100mm、高さ(軸部材の直径方向)40mm
:溝 4本、各幅(軸部材の直径方向)5mm、深さ7mm
:突起 5本、各幅(軸部材の直径方向)3mm、高さ7mm
:軸部材の回転軸を含む平面に対する傾斜角 12度
回転数 :600rpm
捕集部材の温度:実施例1 10℃、実施例2 40℃
<実施例1>
上述の排気機構(フィルター部材は無し)を有するプリンターを内容積が5mのSUS製チャンバー内に設置した。
そして、排気機構600において15m/hの換気を行うように設定した。
約1時間換気後、10分間印刷し、その際にダクト部610の終端611bから排出される排気を、Tenax管を用いて100ml/minでサンプリングした。
サンプリングしたTenax管を加熱脱着装置で脱着し、GC−MSにて測定して、サンプリングした排気中のSVOC量を測定した。
<実施例2>
実施例2においては、ヒートポンプ660を駆動させなかった。その他の条件は、実施例1と同じである。
<比較例1>
プリンターを、捕集部材630やヒートポンプ660を有しない従来の排気機構を有するプリンターに置き換えた。他の条件は、実施例1同じである。
図8に示す表により、実施例1,2は、比較例1に比べてSVOC量が明らかに少ないことが分かった。
つまり、本実施形態における排気機構を有するプリンターは、従来のプリンターに比べて、SVOCの捕集能力が高いことがわかった。
また、実施例1と実施例2との比較で明らかなように、実施例1は、実施例2よりもSVOCの捕集率が高いことがわかった。
実施例1と実施例2とは、捕集部材630をヒートポンプ660により冷却しているか否かが相違する。つまり、本実施形態のプリンター1において、捕集部材630を冷却することにより、SVOCの捕集率が更に向上することがわかった。
以上、好適な実施形態について説明したが、本発明は前述した実施形態に限定されることなく種々の形態で実施することができる。
例えば、本発明に係る画像形成装置における画像形成部GKは、トナーにより画像を形成する方式のものに限らない。例えば、インクにより画像を形成する方式のものでもよい。また、本発明に係る画像形成装置は、プリンターに限るものではなく、画像形成部GKが配置されるモノクロ又はカラーのコピー機、あるいはファクシミリ、又はこれらの複合機等であってもよい。
1……プリンター(画像形成装置)、9……定着部、40……外部空間、600……排気機構、610……ダクト部、611……排出路、612……収容部、612a……吹き入れ口、612b……吹き出し口、620……ファン(気流発生部)、621……ファン駆動部、630……捕集部材、631a,631b,631c,631d……板状部材、632……軸部材、632a……中心軸、633……溝部、634……平面(仮想平面)、640……捕集部材駆動部(駆動部)、660……ヒートポンプ、661……蒸発器(冷却部)、662……膨張弁、663……凝縮器、664……圧縮機、666……ヒートポンプ駆動部、670……フィルター部材、681……動作状況認識部、682……駆動制御部、BD……ケース体(筐体)、BDin……内部空間、GK……画像形成部、J……気流、T……用紙(被画像形成材)

Claims (10)

  1. 被画像形成材の表面にインク又はトナーにより画像を形成する画像形成部と、
    前記画像形成部を内部に収容する筺体と、
    前記筺体における内部空間の気体を外部空間に案内する排出路を有するダクト部と、
    前記ダクト部の排出路に前記内部空間側から前記外部空間側への気流を発生させる気流発生部と、
    前記ダクト部における前記排出路に配置され、複数の板状部材を有し、前記複数の板状部材それぞれを所定の順番で前記気流があたる位置に配置すると共に前記気流の方向と対向する方向に移動可能に構成される捕集部材と、
    前記複数の板状部材それぞれが前記対向する方向に連続的に移動するよう前記捕集部材を駆動させる駆動部と、を備える
    画像形成装置。
  2. 前記捕集部材における板状部材は、
    前記気流があたる面に形成される複数の溝部を有する
    請求項1に記載の画像形成装置。
  3. 前記捕集部材は、
    回転軸を中心に回転する軸部材を有し、
    前記複数の板状部材は、
    前記軸部材の外面に回転軸を中心に略放射状に配置される
    請求項1又は2に記載の画像形成装置。
  4. 前記複数の板状部材それぞれは、
    前記回転軸を含む平面に対して交差するように傾斜して前記軸部材に配置される
    請求項3に記載の画像形成装置。
  5. 前記ダクト部は、前記捕集部材を収容する収容部を有し、
    前記収容部は、前記内部空間側に形成される吹き入れ口と、前記外部空間側に形成される吹き出し口と、を有し、
    前記吹き入れ口は、前記回転軸を含む所定の仮想平面の一方側であって前記回転軸方向における一端側に形成され、
    前記吹き出し口は、前記仮想平面の他方側であって前記回転軸方向における他端側に配置される
    請求項3又は4に記載の画像形成装置。
  6. 前記捕集部材を冷却する冷却部と、を更に備える
    請求項1から5のいずれかに記載の画像形成装置。
  7. 蒸発器と、膨張弁と、凝縮器と、圧縮機とを有するヒートポンプを備え、
    前記画像形成部は、定着部を有し、
    前記冷却部は、前記蒸発器であり、
    前記蒸発器は、前記捕集部材に直接又は間接的に連結され、
    前記凝縮器は、前記定着部の近傍に配置される
    請求項6に記載の画像形成装置。
  8. 前記ダクト部は、前記排出路における前記捕集部材よりも外部空間側に配置されるフィルター部材と、を有する
    請求項1から7のいずれかに記載の画像形成装置。
  9. 前記画像形成部における動作状態を認識する動作状況認識部と、
    前記動作状況認識部により前記画像形成部における全部又は一部の駆動が認識された場合、前記駆動部を駆動させる駆動制御部と、を備える
    請求項1から8のいずれかに記載の画像形成装置。
  10. 被画像形成材の表面にインク又はトナーにより画像を形成する画像形成部と、前記画像形成部を内部に収容する筺体と、を備える画像形成装置に配置される排気機構であって、
    前記筺体における内部空間の気体を外部空間に案内する排出路を有するダクト部と、
    前記ダクト部の排出路に前記内部空間側から前記外部空間側への気流を発生させる気流発生部と、
    前記ダクト部における前記排出路に配置され、複数の板状部材を有し、前記複数の板状部材それぞれを所定の順番で前記気流があたる位置に配置すると共に前記気流の方向と対向する方向に移動可能に構成される捕集部材と、
    前記複数の板状部材それぞれが前記対向する方向に連続的に移動するよう前記捕集部材を駆動させる駆動部と、を備える
    排気機構。
JP2012009395A 2012-01-19 2012-01-19 画像形成装置及び排気機構 Expired - Fee Related JP5640024B2 (ja)

Priority Applications (1)

Application Number Priority Date Filing Date Title
JP2012009395A JP5640024B2 (ja) 2012-01-19 2012-01-19 画像形成装置及び排気機構

Applications Claiming Priority (1)

Application Number Priority Date Filing Date Title
JP2012009395A JP5640024B2 (ja) 2012-01-19 2012-01-19 画像形成装置及び排気機構

Publications (2)

Publication Number Publication Date
JP2013148735A true JP2013148735A (ja) 2013-08-01
JP5640024B2 JP5640024B2 (ja) 2014-12-10

Family

ID=49046292

Family Applications (1)

Application Number Title Priority Date Filing Date
JP2012009395A Expired - Fee Related JP5640024B2 (ja) 2012-01-19 2012-01-19 画像形成装置及び排気機構

Country Status (1)

Country Link
JP (1) JP5640024B2 (ja)

Cited By (3)

* Cited by examiner, † Cited by third party
Publication number Priority date Publication date Assignee Title
CN110561908A (zh) * 2019-08-20 2019-12-13 江苏迪佳电子有限公司 一种手机触控屏组合喷墨装置
JP2020013023A (ja) * 2018-07-19 2020-01-23 富士ゼロックス株式会社 流路構造及び画像形成装置
CN111572194A (zh) * 2019-02-15 2020-08-25 精工爱普生株式会社 印刷装置

Cited By (6)

* Cited by examiner, † Cited by third party
Publication number Priority date Publication date Assignee Title
JP2020013023A (ja) * 2018-07-19 2020-01-23 富士ゼロックス株式会社 流路構造及び画像形成装置
JP7251064B2 (ja) 2018-07-19 2023-04-04 富士フイルムビジネスイノベーション株式会社 流路構造及び画像形成装置
CN111572194A (zh) * 2019-02-15 2020-08-25 精工爱普生株式会社 印刷装置
CN111572194B (zh) * 2019-02-15 2023-02-17 精工爱普生株式会社 印刷装置
CN110561908A (zh) * 2019-08-20 2019-12-13 江苏迪佳电子有限公司 一种手机触控屏组合喷墨装置
CN110561908B (zh) * 2019-08-20 2020-12-01 江苏迪佳电子有限公司 一种手机触控屏组合喷墨装置

Also Published As

Publication number Publication date
JP5640024B2 (ja) 2014-12-10

Similar Documents

Publication Publication Date Title
JP5865823B2 (ja) 画像形成装置
JP4965624B2 (ja) 画像形成装置
JP5728461B2 (ja) 画像形成装置
JP5353333B2 (ja) 画像形成装置
JP2011090170A (ja) 画像形成装置
US6954602B2 (en) Sheet transport apparatus and image forming apparatus
JP5150522B2 (ja) 用紙搬送装置及びそれを備えた画像形成装置
JP5640024B2 (ja) 画像形成装置及び排気機構
EP2610689B1 (en) Image Forming Apparatus
JP5901816B2 (ja) 画像形成装置
JP5322698B2 (ja) 画像形成装置
JPH11352840A (ja) 画像形成装置
JP2013238735A (ja) 画像形成装置
JP2008090198A (ja) 画像形成装置
JP2012098448A (ja) 画像形成装置
JP6072656B2 (ja) 画像形成装置の排気構造
JP4361404B2 (ja) 画像形成装置
JP2016051098A (ja) 画像形成装置
JP2013057748A (ja) 画像形成システム
JP2011081091A (ja) 画像形成装置
JP2007017612A (ja) 画像形成装置
JP5349131B2 (ja) 画像形成装置
JP2017134102A (ja) 画像形成装置
JP2021041602A (ja) 記録装置
JP2017138441A (ja) 画像形成装置

Legal Events

Date Code Title Description
A621 Written request for application examination

Free format text: JAPANESE INTERMEDIATE CODE: A621

Effective date: 20131219

A977 Report on retrieval

Free format text: JAPANESE INTERMEDIATE CODE: A971007

Effective date: 20140922

TRDD Decision of grant or rejection written
A01 Written decision to grant a patent or to grant a registration (utility model)

Free format text: JAPANESE INTERMEDIATE CODE: A01

Effective date: 20140930

A61 First payment of annual fees (during grant procedure)

Free format text: JAPANESE INTERMEDIATE CODE: A61

Effective date: 20141027

R150 Certificate of patent or registration of utility model

Ref document number: 5640024

Country of ref document: JP

Free format text: JAPANESE INTERMEDIATE CODE: R150

LAPS Cancellation because of no payment of annual fees