JP2013104295A - 仮設用手摺 - Google Patents

仮設用手摺 Download PDF

Info

Publication number
JP2013104295A
JP2013104295A JP2011267336A JP2011267336A JP2013104295A JP 2013104295 A JP2013104295 A JP 2013104295A JP 2011267336 A JP2011267336 A JP 2011267336A JP 2011267336 A JP2011267336 A JP 2011267336A JP 2013104295 A JP2013104295 A JP 2013104295A
Authority
JP
Japan
Prior art keywords
flange
horizontal member
handrail
fitting
insertion portion
Prior art date
Legal status (The legal status is an assumption and is not a legal conclusion. Google has not performed a legal analysis and makes no representation as to the accuracy of the status listed.)
Granted
Application number
JP2011267336A
Other languages
English (en)
Other versions
JP5875000B2 (ja
Inventor
Minoru Ueda
実 上田
Yusuke Nishikawa
勇輔 西川
Current Assignee (The listed assignees may be inaccurate. Google has not performed a legal analysis and makes no representation or warranty as to the accuracy of the list.)
KYC Machine Industry Co Ltd
Original Assignee
KYC Machine Industry Co Ltd
Priority date (The priority date is an assumption and is not a legal conclusion. Google has not performed a legal analysis and makes no representation as to the accuracy of the date listed.)
Filing date
Publication date
Application filed by KYC Machine Industry Co Ltd filed Critical KYC Machine Industry Co Ltd
Priority to JP2011267336A priority Critical patent/JP5875000B2/ja
Publication of JP2013104295A publication Critical patent/JP2013104295A/ja
Application granted granted Critical
Publication of JP5875000B2 publication Critical patent/JP5875000B2/ja
Expired - Fee Related legal-status Critical Current
Anticipated expiration legal-status Critical

Links

Images

Landscapes

  • Steps, Ramps, And Handrails (AREA)

Abstract

【課題】水平材に対して反動がともなうような衝撃荷重が加わったとしても、例えば支柱のフランジから容易に抜脱することのない仮設用手摺を提供する。
【解決手段】本発明の手摺10は、支柱1間に設けられ、そのフランジ2に取付けられる。手摺10は、支柱1間に略水平方向に延びて支持される水平部材11と、水平部材11と同方向に延びる延出部16、及びその先端から下方方向に延びかつフランジ2の係止孔2aに嵌挿される嵌挿部17を有する取付部材12とを備える。嵌挿部17は、その基端であって支柱1側とは反対側に凹部20が形成されている一方、下方方向の長さが、フランジ2の係止孔2aの水平部材11における長さより大とされており、水平部材11に荷重Pが加えられたとき、取付部材12が変位して凹部20にフランジ2の係止孔2aの外縁肉厚部2bが当接されるとともに嵌挿部17の先端部が支柱1の外表面に当接される。
【選択図】図6

Description

本発明は、建築現場等で組み立てられる仮設足場等において、現場作業者が足場板からの転落を防止するための仮設用手摺に関するものである。
従来、仮設足場は、例えばビル等の建築工事において建築物に沿うようにして設けられる。仮設足場では、例えばクサビ緊結式足場が広く知られている。クサビ緊結式足場では、建築物の外面に沿って複数の支柱が設けられ、隣り合う支柱同士の間に現場作業者が通行するための足場板や、現場作業者が足場板からの転落を防止するための仮設用手摺等が敷設される。
図9は、支柱及びそれに取付けられた仮設用手摺の一例を示す図である。同図によると、左右方向に所定の間隔を隔てて複数の支柱1が立設されており、支柱1には、例えば複数のフランジ2が高さ方向に所定の間隔を隔てて形成されている。これら隣り合う支柱1の複数のフランジ2には、これらを利用して仮設用手摺3(以下、単に「手摺3」という。)が取り付けられる。
手摺3は、例えば水平方向に延び、通常、安全帯が掛着される水平材4と、水平材4の両端に設けられフランジ2に係止される係止フック5と、一端側に係止フック5がそれぞれ設けられた2つの筋交い6と、筋交い6の他端側に設けられ支柱1に固着される固定部材7とによって構成される。手摺3は、例えばフランジ2に形成された係止孔(図略)に係止フック5が嵌挿され、他のフランジ2の係止孔にクサビ8が打ち込まれて固定部材7が固着されることにより、隣り合う支柱1に支持される。また、足場板9は、例えば固定部材7の固着位置とほぼ同じ高さに敷設される。
上記構成において、例えば現場作業者が作業中に足場板9上で足を滑らせて転倒等すると、現場作業者が水平材4に衝突したり、あるいは水平材4に安全帯を掛着したまま足場板9から落下して宙吊り状態になったりすることがある。これにより、水平材4に大きな衝撃荷重が加わる場合がある。水平材4に衝撃荷重が加わると、水平材4が撓み係止フック5がフランジ2から抜脱するおそれがある。
そこで、例えば特許文献1には、水平材4に衝撃荷重が加わったときに係止フック5がフランジ2から容易に抜脱しない構成が提案されている。すなわち、図10(a)に示すように、係止フック5には、下方に延びた挿入片5aが設けられ、挿入片5aの先端には、挿入片5aの直径より大の直径を有する係止段部5bが形成されている。そして、フランジ2の係止孔2aには、係止フック5の挿入片5aが嵌挿されて手摺3が支柱1に支持される。
この構成において、図10(b)に示すように水平材4に対して上方から衝撃荷重(矢印P1参照)が加わると、これにともなって水平材4が撓んで係止フック5が右方向に変位する(矢印P2参照)。この場合、挿入片5aの係止段部5bがフランジ2の係止孔2aの周縁に係止して、挿入片5aは係止孔2aからの抜脱が阻止される。したがって、係止フック5は、フランジ2から抜脱することがない。
ところが、現場作業者が足を滑らせて水平材4に衝突等する場合には、水平材4に対して一方向の衝撃荷重が加わるだけに限らず、さらに水平材4が逆方向に反動したり振動を生じることがある。そのため、反動や振動がともなうと、図10(c)に示すように、水平材4が逆方向(支柱1側)に変位し(矢印P3参照)、挿入片5aが係止孔2aから抜脱することがある。したがって、特許文献1に記載の構成では、水平材4に対して反動がともなうような衝撃荷重が加わる場合、係止フック5がフランジ2から十分に抜脱しない構成には必ずしもなっていないといった問題点があった。
特許第4543095号公報
本発明は、上記した事情のもとで考え出されたものであって、水平材に対して反動がともなうような衝撃荷重が加わったとしても、例えば支柱のフランジから容易に抜脱することのない仮設用手摺を提供することを、その課題とする。
本発明によって提供される仮設用手摺は、所定の間隔を隔てて立設された隣り合う支柱間に設けられ、前記支柱に形成される被嵌挿体に対して取付けられる仮設用手摺であって、前記支柱間に略水平方向に延びて支持される水平部材と、前記水平部材の少なくとも一端に接続され、前記水平部材と同方向に延びる延出部、及び前記延出部の先端から下方方向に延びかつ前記被嵌挿体に形成される開口に嵌挿される嵌挿部を有する取付部材とを備え、前記嵌挿部は、その基端であって前記支柱側とは反対側に凹部が形成されている一方、前記下方方向の長さが、前記被嵌挿体の開口の前記水平方向における長さより大とされており、前記水平部材に荷重が加えられたとき、前記取付部材が変位して前記凹部に前記被嵌挿体の開口の外縁部が当接されるとともに前記嵌挿部の先端部が前記支柱の外表面に当接されることを特徴としている。
本発明の仮設用手摺において、前記凹部は、前記水平部材に荷重が加えられたとき、前記被嵌挿体の開口の外縁部と当接可能な所定の深さを有しているとよい。
本発明の仮設用手摺において、前記嵌挿部の前記支柱側は、支柱の外表面に沿って形成されており、前記嵌挿部の前記支柱側の反対側は、下方に向かって幅狭となるテーパ状とされているとよい。
本発明の仮設用手摺において、前記被嵌挿体は、少なくとも一つの開口を有するフランジであるとよい。
本発明によれば、例えば水平部材に対して反動がともなうような衝撃荷重が加わったとき、取付部材の嵌挿部の凹部に被嵌挿体(例えば支柱のフランジ)の外縁部が当接されるとともに嵌挿部の先端が支柱に当接される。そのため、取付部材の嵌挿部は、被嵌挿体と支柱の二点において当接されるので、取付部材は被嵌挿体と支柱とによって強固に支持される。したがって、反動がともなうような衝撃荷重が加わったとしても、取付部材が被嵌挿体から容易に抜脱することのない仮設用手摺を提供することができる。
本発明に係る仮設用手摺の外観図であり、仮設用手摺が支柱のフランジに取付けられている場合を示す図である。 図1に示す仮設用手摺の取付部材を示す部分拡大図である。 図1に示す仮設用手摺の取付部材を示す平面図である。 仮設用手摺の部分斜視図である。 図1に示す仮設用手摺の固定部材を示す部分拡大図である。 水平材に衝撃荷重が加わったときの状態を示す図である。 仮設用手摺の変形例であり、仮設用手摺が支柱のポケット体に取付けられている場合を示し、(a)は通常の状態を示し、(b)は水平材に衝撃荷重が加わったときの状態を示す図である。 取付部材の変形例を示す図である。 従来の仮設用手摺の外観図であり、仮設用手摺が支柱のフランジに取付けられている場合を示す図である。 図9に示す取付部材を示す部分拡大図であり、(a)は通常の状態を示し、(b)は水平材に衝撃荷重が加わったときの状態を示し、(c)は反動がともなったときの状態を示す図である。
以下、本発明の実施の形態につき、図面を参照して具体的に説明する。
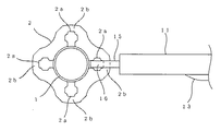
図1は、本発明に係る仮設用手摺の外観図であり、仮設用手摺が支柱に取付けられている場合を示す図である。図2は、図1に示す仮設用手摺の取付部材を示す部分拡大図である。図3は、図1に示す仮設用手摺の取付部材を示す平面図である。図4は、仮設用手摺の部分斜視図である。
本発明に係る仮設用手摺は、例えばクサビ緊結式足場に適用される。仮設用手摺は、主として現場作業者の足場板からの転落を防止するためのものである。なお、以下の説明において、背景技術の欄で説明した同一機能の部材については同符号で示す。
なお、支柱1に設けられる被嵌挿体としてのフランジ2は、図3に示すように、平面視で略花びら状に形成され、四方に延びた各部分に係止孔2aがそれぞれ形成されている。係止孔2aは、支柱1の外表面から延びるようにして形成され、先端近傍の左右方向に2つの凸部を有する。
仮設用手摺10(以下、単に「手摺10」という。)は、所定の間隔を隔てて立設された隣り合う支柱1間に取付けられる。手摺10は、略水平方向に延びる水平部材11と、水平部材11の両端下部に設けられた2つの取付部材12と、両取付部材12にそれぞれ接続された2本の筋交い部材13と、各筋交い部材13の他端にそれぞれ設けられた2つの固定部材14とによって構成される。
水平部材11は、所定長さを有する略円筒状の部材であり、上記隣り合う支柱1の間の長さ(例えば約1.8m)よりやや短く形成されている。水平部材11は、現場作業者が足場板9から転落することを防止するために、現場作業者が安全帯を掛着させる部材として用いられるものである。
取付部材12は、手摺10をフランジ2に取付けるためのものであり、フランジ2の係止孔2a(図2及び図3参照)に係止される。取付部材12は、平板矩形形状の本体部15と、本体部15の側方面から支柱1側に向けて水平方向に延びた延出部16と、延出部16の先端下部から下方に延びた嵌挿部17とを有する。
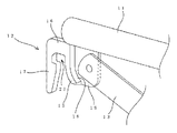
本体部15は、その上端面が水平部材11の端部下部と例えば溶接により接続されている。これにより、取付部材12は水平部材11に固定される。本体部15は、図2及び図4に示すように、その片面に段差18が形成され、段差18の下段部分として凹陥平面部19が形成されている。凹陥平面部19には、筋交い部材13が回動自在に支持されている。
延出部16は、その水平方向の長さがフランジ2の係止孔2aとその外縁肉厚部2bとの同方向の長さを合わせた以上の長さとされている。
嵌挿部17は、図2に示すように、水平方向の幅Wが係止孔2aの幅W0よりやや短く形成されている。また、嵌挿部17は、高さ方向の長さLがフランジ2の係止孔2aの幅W0より大とされている。この構成により、後述するように、反動がともなうような衝撃荷重が加わった場合でも、嵌挿部17は係止孔2aから抜脱しにくくされている。
嵌挿部17の基端であって本体部15側(支柱1の反対側)には、凹部20が形成されている。凹部20は、内側上側面20aが斜面とされ、内側底面20bが支柱1の長手方向と平行する垂直平面とされ、内側下側面20cが支柱1の長手方向と直交する水平平面とされている。
凹部20の高さ方向の長さH及び深さDは、水平部材11に衝撃荷重が加わって取付部材12が傾いたときに、フランジ2の外縁肉厚部2bが確実に当接されるような長さ及び深さに設定されている。すなわち、凹部20の高さ方向の長さHは、フランジ2の厚みTより所定長さだけ長くされている。また、凹部20の深さDは、水平部材11に荷重が加えられたとき、フランジ2の係止孔2aの外縁肉厚部2bと当接可能な深さとされている。
嵌挿部17の支柱1側は、支柱1の外表面に沿って形成されている。嵌挿部17の下方外表面であって本体部15側は、下方に向かって幅狭となるテーパ状とされている。これらの構成により、取付部材12をフランジ2に取り付けるとき、嵌挿部17は、フランジ2の係止孔2aに上方からスムーズに挿入される。
筋交い部材13は、現場作業者の足場板9からの転落を防止する目的で、水平部材11の下方における開口を可能な限り遮るためのものであり、その長さが水平部材11より大とされている。筋交い部材13は、その一端が本体部15の凹陥平面部19に例えばリベット接続されている。これにより、筋交い部材13は、取付部材12に対して回動自在とされる。したがって、手摺10は、支柱1からの取外し時や運搬時等には、筋交い部材13が折り畳まれることにより略直線状となる。筋交い部材13の他端には、固定部材14が設けられている。
固定部材14は、手摺10を支柱1に固定させるものである。固定部材14は、図5に示すように、筋交い部材13の他端に接続された本体部21と、本体部21に固定された側面視略コ字状の連結部22とを有する。連結部22の平面部分には棒状のクサビ23を挿通するための挿通孔22aが形成されている。この固定部材14では、連結部22をフランジ2にかざし、フランジ2の係止孔2a及び挿通孔22aを貫通するようにしてクサビ23を打ち込むことにより、支柱1と固定部材14とが固定される。これにより、支柱1に対して手摺10が固定される。
次に、手摺10を支柱1に取付けるときの手順について説明する。
まず、例えば図1に示す左側の支柱1のフランジ2の係止孔2aに、水平部材11の一方端に設けられた取付部材12を嵌挿する。次いで、左側の支柱1と隣り合う右側の支柱1のフランジ2の係止孔2aに、水平部材11の他方端に設けられた取付部材12を嵌挿する。
左側の支柱1のフランジ2の下方に設けられている他のフランジ2に対して、筋交い部材13の一方端に設けられた固定部材14を挟み込む。次いで、クサビ23を他のフランジ2の係止孔2aに嵌挿し、ハンマー等で打ち込むことにより、クサビ23を固定部材14に固定する。
その後、右側の支柱1のフランジ2の下方に設けられている他のフランジ2に対して、筋交い部材13の一方端に設けられた固定部材14をかざす。次いで、クサビ23を他のフランジ2の係止孔2aに嵌挿し、ハンマー等で打ち込むことにより、クサビ23を固定部材14に固定する。
上記のように、手摺10は、支柱1に容易に取付けることができる。特に、取付部材12は、嵌挿部17が直線状に延びていることから、フランジ2の係止孔2aに容易にかつ確実に嵌挿することができる。
次に、手摺10の作用について説明する。
例えば現場作業者が足場板9上で作業中に足を滑らせて水平部材11に衝突したり、あるいは水平部材11に安全帯を掛着したまま足場板9から落下して宙吊り状態になったりすると、図6に示すように、水平部材11に対して大きな下向きの衝撃荷重Pが加わる。なお、衝撃荷重Pは、厳密には鉛直方向に向かう荷重のみに限るものではない。
水平部材11に衝撃荷重Pが加わると、水平部材11は同図では右下方向に傾くように変位する。この変位により、嵌挿部17の凹部20の内表面をフランジ2の外縁肉厚部2bが沿うように、取付部材12が傾きながら変位する。このとき、嵌挿部17の先端は、支柱1の外表面を上方に向けて摺動する。そして、凹部20の内側下側面20cにフランジ2の外縁肉厚部2bが当接し(図6のA部参照)、取付部材12がさらに傾くと嵌挿部17の先端が支柱1の外表面に当接する(図6のB部参照)。
このように、本実施形態では、嵌挿部17の長さLがフランジ2の係止孔2aの水平方向の幅W0より大とされている。そのため、取付部材12の嵌挿部17は、フランジ2の外縁肉厚部2bと支柱1との二点において当接される。したがって、取付部材12はさらに傾くことが抑制され、取付部材12がフランジ2から抜脱することを抑制することができる。
また、取付部材12に反動がともなうような衝撃荷重が加わったとしても、嵌挿部17が支柱1に当接されているため嵌挿部17自体が突っ張り部材として機能することになり、外縁肉厚部2bが凹部20から即座に外れるようなことはない。そのため、嵌挿部17が容易に係止孔2aから抜脱することはなく、すなわち取付部材12がフランジ2から容易に抜脱することがなく、取付部材12はフランジ2に強固に支持される。
また、本実施形態では、嵌挿部17は凹部20の深さDによって凹部20の支柱1側近傍部分の幅が狭くされることになる。そのため、仮に衝撃荷重Pが大きく、嵌挿部17の狭くなった部分に応力が加わりその部分が折れ曲がるように変形したとしても、この変形により凹部20が外縁肉厚部2bを囲むような状態になり、嵌挿部17はより一層フランジ2から抜脱しなくなる。
図7は、取付部材の変形例を示す図である。
上記実施形態では、複数のフランジ2が設けられた支柱1に手摺10を取付ける場合を説明したが、これに代えて、被嵌挿体としての複数のポケット体24が設けられた支柱1′に対しても本発明を適用することができる。
すなわち、支柱1′には、複数のポケット体24が設けられている。ポケット体24は、図7(a)に示すように、2つの上部ポケット体24aと、その高さ分だけ下げられた位置に取付けられた2つの下部ポケット体24bとからなる。これらの上部ポケット体24a及び下部ポケット体24bは、平面視で四方に放射状に広がるように形成されるとともに、側面視で隣り合うポケット体24a,24b同士が上下に互い違いになるよう形成されている。
取付部材25は、上記した取付部材12と同様に、凹部26と嵌挿部27とを有しているが、凹部26は、略ドーム状に形成されている。
この構成において、図7(b)に示すように、水平部材11に衝撃荷重Pが加わると、水平部材11は下方に傾くように変位し、取付部材25は、嵌挿部27の凹部26によってフランジ2の外縁肉厚部2bが当接されるとともに、嵌挿部17の先端が支柱1′の外表面で当接される。これにより、取付部材25がフランジ2の係止孔2aから容易に抜脱することを抑制することができる。すなわち、支柱1′に形成される被嵌挿体がポケット体24であっても、本発明を適用することができる。
なお、本発明の範囲は上述した実施の形態に限定されるものではなく、発明の範囲を逸脱しない範囲で種々の変更を行うことができる。
例えば上記実施形態において、取付部材12の形状は、本発明の効果を奏する範囲でフランジ2の係止孔2aの形状に応じて適宜変更可能である。例えば図8に示すように、凹部20′の形状は、通常取付時に内側底面20b及び内側下側面20cのなす角の傾きが多少上向きになるように形成されていてもよい。この構成によると、取付部材12′の傾き時に凹部20′の表面に外縁肉厚部2bがほぼ隙間なく嵌まり込み、取付部材12′が係止孔2aから抜脱することをより一層強固に抑制することができる。
また、上記実施形態における手摺10を構成する部材の形状、大きさ、数等は、上記実施形態に限るものではなく、適宜設計変更可能である。
1 支柱
2 フランジ
2a 係止孔
2b 外縁肉厚部
9 足場板
10 仮設用手摺
11 水平部材
12 取付部材
13 筋交い部材
14 固定部材
15 本体部
16 延出部
17 嵌挿部
20 凹部
23 クサビ

Claims (4)

  1. 所定の間隔を隔てて立設された隣り合う支柱間に設けられ、前記支柱に形成される被嵌挿体に対して取付けられる仮設用手摺であって、
    前記支柱間に略水平方向に延びて支持される水平部材と、
    前記水平部材の少なくとも一端に接続され、
    前記水平部材と同方向に延びる延出部、及び前記延出部の先端から下方方向に延びかつ前記被嵌挿体に形成される開口に嵌挿される嵌挿部を有する取付部材とを備え、
    前記嵌挿部は、
    その基端であって前記支柱側とは反対側に凹部が形成されている一方、前記下方方向の長さが、前記被嵌挿体の開口の前記水平方向における長さより大とされており、
    前記水平部材に荷重が加えられたとき、前記取付部材が変位して前記凹部に前記被嵌挿体の開口の外縁部が当接されるとともに前記嵌挿部の先端部が前記支柱の外表面に当接されることを特徴とする、仮設用手摺。
  2. 前記凹部は、前記水平部材に荷重が加えられたとき、前記被嵌挿体の開口の外縁部と当接可能な所定の深さを有している、請求項1に記載の仮設用手摺。
  3. 前記嵌挿部の前記支柱側は、支柱の外表面に沿って形成されており、
    前記嵌挿部の前記支柱側の反対側は、下方に向かって幅狭となるテーパ状とされている、請求項1または2に記載の仮設用手摺。
  4. 前記被嵌挿体は、少なくとも一つの開口を有するフランジである、請求項1ないし3のいずれかに記載の仮設用手摺。
JP2011267336A 2011-11-16 2011-11-16 仮設用手摺 Expired - Fee Related JP5875000B2 (ja)

Priority Applications (1)

Application Number Priority Date Filing Date Title
JP2011267336A JP5875000B2 (ja) 2011-11-16 2011-11-16 仮設用手摺

Applications Claiming Priority (1)

Application Number Priority Date Filing Date Title
JP2011267336A JP5875000B2 (ja) 2011-11-16 2011-11-16 仮設用手摺

Publications (2)

Publication Number Publication Date
JP2013104295A true JP2013104295A (ja) 2013-05-30
JP5875000B2 JP5875000B2 (ja) 2016-03-02

Family

ID=48624056

Family Applications (1)

Application Number Title Priority Date Filing Date
JP2011267336A Expired - Fee Related JP5875000B2 (ja) 2011-11-16 2011-11-16 仮設用手摺

Country Status (1)

Country Link
JP (1) JP5875000B2 (ja)

Cited By (3)

* Cited by examiner, † Cited by third party
Publication number Priority date Publication date Assignee Title
JP2015004261A (ja) * 2013-06-21 2015-01-08 光洋機械産業株式会社 仮設足場用手摺
JP2015148047A (ja) * 2014-02-05 2015-08-20 大成建設株式会社 展望台付建物
JP2021017768A (ja) * 2019-07-22 2021-02-15 ソルマーニ株式会社 仮設足場用の縦支柱、及び、それを使用した仮設足場システム

Citations (1)

* Cited by examiner, † Cited by third party
Publication number Priority date Publication date Assignee Title
JP2002317552A (ja) * 2001-04-20 2002-10-31 Yuko Maintenance:Kk 仮設構造物の構築方法とこれに用いる手摺り筋交い

Patent Citations (1)

* Cited by examiner, † Cited by third party
Publication number Priority date Publication date Assignee Title
JP2002317552A (ja) * 2001-04-20 2002-10-31 Yuko Maintenance:Kk 仮設構造物の構築方法とこれに用いる手摺り筋交い

Cited By (4)

* Cited by examiner, † Cited by third party
Publication number Priority date Publication date Assignee Title
JP2015004261A (ja) * 2013-06-21 2015-01-08 光洋機械産業株式会社 仮設足場用手摺
JP2015148047A (ja) * 2014-02-05 2015-08-20 大成建設株式会社 展望台付建物
JP2021017768A (ja) * 2019-07-22 2021-02-15 ソルマーニ株式会社 仮設足場用の縦支柱、及び、それを使用した仮設足場システム
JP7264467B2 (ja) 2019-07-22 2023-04-25 ソルマーニ株式会社 仮設足場用の縦支柱、及び、それを使用した仮設足場システム

Also Published As

Publication number Publication date
JP5875000B2 (ja) 2016-03-02

Similar Documents

Publication Publication Date Title
JP3204261U (ja) 足場材
JP5503032B2 (ja) 仮設構造体用架設部材
JP5384092B2 (ja) 仮設構造体用架設部材
JP5875000B2 (ja) 仮設用手摺
JP5904668B2 (ja) 仮設足場用部材
JP2009155875A (ja) 仮設足場の連結構造
KR102335856B1 (ko) 철골빔 설치용 안전 난간대
JP6263440B2 (ja) 仮設構築物用ブレース
JP2019031837A (ja) 仮設足場用階段手摺
JP6251711B2 (ja) 抜け防止取付け金具
JP6159557B2 (ja) 足場構造
KR20120133013A (ko) 건축물 공사용 안전 난간대
JP2013129961A (ja) 鉄骨階段の仮止め固定方法と、鉄骨階段支持用のパイプサポート
JP3197050U (ja) 足場材
JP4909291B2 (ja) 足場用建枠
JP4091608B2 (ja) 安全手摺
JP3201488U (ja) 仮設足場用補助横架材
JP6535265B2 (ja) 取付金具及び取付方法
JP4077464B2 (ja) 安全手摺
JP6261317B2 (ja) 足場支持構造
JP2005127036A (ja) 足場用建枠
JP2015148131A (ja) 仮設足場用手摺枠
JP6109275B1 (ja) 立体倉庫のパレット落下防止装置
JP2020056247A (ja) 仮設足場の墜落防止構造及びこれに用いられる隙間閉塞部材
JP4711751B2 (ja) 枠組足場用手摺枠

Legal Events

Date Code Title Description
A621 Written request for application examination

Free format text: JAPANESE INTERMEDIATE CODE: A621

Effective date: 20141028

A977 Report on retrieval

Free format text: JAPANESE INTERMEDIATE CODE: A971007

Effective date: 20150423

A131 Notification of reasons for refusal

Free format text: JAPANESE INTERMEDIATE CODE: A131

Effective date: 20150519

A521 Written amendment

Free format text: JAPANESE INTERMEDIATE CODE: A523

Effective date: 20150717

TRDD Decision of grant or rejection written
A01 Written decision to grant a patent or to grant a registration (utility model)

Free format text: JAPANESE INTERMEDIATE CODE: A01

Effective date: 20151222

A61 First payment of annual fees (during grant procedure)

Free format text: JAPANESE INTERMEDIATE CODE: A61

Effective date: 20160108

R150 Certificate of patent or registration of utility model

Ref document number: 5875000

Country of ref document: JP

Free format text: JAPANESE INTERMEDIATE CODE: R150

LAPS Cancellation because of no payment of annual fees