JP2013104281A - Flush toilet bowl - Google Patents

Flush toilet bowl Download PDF

Info

Publication number
JP2013104281A
JP2013104281A JP2011251135A JP2011251135A JP2013104281A JP 2013104281 A JP2013104281 A JP 2013104281A JP 2011251135 A JP2011251135 A JP 2011251135A JP 2011251135 A JP2011251135 A JP 2011251135A JP 2013104281 A JP2013104281 A JP 2013104281A
Authority
JP
Japan
Prior art keywords
flush toilet
liquid
predetermined time
water
elapsed
Prior art date
Legal status (The legal status is an assumption and is not a legal conclusion. Google has not performed a legal analysis and makes no representation as to the accuracy of the status listed.)
Pending
Application number
JP2011251135A
Other languages
Japanese (ja)
Inventor
Tomoaki Kimura
朝映 木村
Current Assignee (The listed assignees may be inaccurate. Google has not performed a legal analysis and makes no representation or warranty as to the accuracy of the list.)
Kimura Giken KK
Original Assignee
Kimura Giken KK
Priority date (The priority date is an assumption and is not a legal conclusion. Google has not performed a legal analysis and makes no representation as to the accuracy of the date listed.)
Filing date
Publication date
Application filed by Kimura Giken KK filed Critical Kimura Giken KK
Priority to JP2011251135A priority Critical patent/JP2013104281A/en
Publication of JP2013104281A publication Critical patent/JP2013104281A/en
Pending legal-status Critical Current

Links

Images

Landscapes

  • Sanitary Device For Flush Toilet (AREA)

Abstract

PROBLEM TO BE SOLVED: To provide a flush toilet bowl which suppresses generation of urinary calculus without flowing a large amount of water.SOLUTION: A flush toilet bowl includes: a flush toilet bowl body 3; a drain pipe 51 for guiding discharge water of the toilet bowl to a pipe on the downstream side; a connection pile 41 for connecting the flush toilet bowl body 3 and the drain pipe 51; and liquid discharge means 131 for discharging liquid while targeting at least the connection pile 41. The liquid discharge means 131 is installed inside the flush toilet bowl body 3.

Description

本発明は、水洗式便器に関する。   The present invention relates to a flush toilet bowl.

小便器では、人の使用後、尿を洗い流すために洗浄水が流される。従来の小便器にあっては、小便器上部から水が落下して尿と一緒にボール面を伝わり、その後、トラップ経由で、排水管に向けて流れるという洗い落とし方式が採用されている。しかし、洗い落とし方式では、洗浄水の量が少ないため、小便器から排水管への尿の排出効率が悪い。   In a urinal, flush water is flushed after a person's use to wash away urine. In the conventional urinal, a washing-off method is adopted in which water falls from the upper part of the urinal and travels along the ball surface together with the urine, and then flows toward the drain pipe via the trap. However, in the washing-off method, since the amount of washing water is small, the efficiency of discharging urine from the urinal to the drain pipe is poor.

一方、尿を洗浄水で流した後であっても小便器内には少量ながらも尿は残る。残った尿は、細菌繁殖のもとになり、ぬめりや着色汚れを発生し、さらには臭気の原因になる。また、小便器内に残った尿中のリン酸イオンやカルシウムイオンが原因となって不溶性の尿石が、小便器のトラップと排水管とを結ぶ連結路内にできる虞がある。尿石ができると、連結路が狭くなる。そして、一旦付着した尿石は、ブラシで強く擦らないと除去しにくい。しかも、尿石を十分に除去するためには、専門の業者に依頼する必要があり、これが、小便器を管理する者の負担になっていた。   On the other hand, a small amount of urine remains in the urinal even after the urine is flushed with washing water. Residual urine becomes a source of bacterial growth, generates slimy and colored stains, and further causes odor. In addition, insoluble urine stones may be formed in the connecting path connecting the trap of the urinal and the drain pipe due to phosphate ions and calcium ions in the urine remaining in the urinal. When urine stones are formed, the connecting path becomes narrow. And once attached urine stone is difficult to remove unless it is rubbed strongly with a brush. Moreover, in order to sufficiently remove urinary stones, it is necessary to ask a specialized trader, which is a burden on the person who manages the urinal.

そこで、排出効率を高めるため洗浄水の流量を多くすることで小便を流し、尿石の発生を抑制することが求められた。
しかしながら、洗浄水の量を多くしても洗い落とし便器では、トラップの瞬間排水量は変化することなく、又、尿石の発生しない箇所にも多くの水が流れることであり、それだけ無駄に洗浄水を使用することになる。
Therefore, in order to increase the discharge efficiency, it has been required to increase the flow rate of the washing water to flow urine and suppress the generation of urinary stones.
However, even if the amount of wash water is increased, in the flush toilet, the instantaneous drainage amount of the trap does not change, and a lot of water flows to the place where urine stones are not generated. Will be used.

特開2002−106049号公報JP 2002-106049 A

本発明は、上記事情に鑑みてなされたものであり、多量に水を流さなくても、尿石の発生を抑制することを課題とする。   This invention is made | formed in view of the said situation, and makes it a subject to suppress generation | occurrence | production of urolith even if it does not flow a lot of water.

そこで、本発明の水洗式便器は、次の手段を採用した。
すなわち、水洗式便器本体と、便器の排水を下流側の管に導く排水管と、前記水洗式便器本体及び前記排水管を結ぶ連結管と、少なくとも前記連結管を標的にして液体を吐出する液体吐出手段とを有する。
前記液体吐出手段は、水洗式便器本体の内部に設置されている。
Therefore, the flush toilet of the present invention employs the following means.
That is, a flush toilet body, a drain pipe that guides toilet drainage to a downstream pipe, a connecting pipe that connects the flush toilet body and the drain pipe, and a liquid that discharges liquid targeting at least the connecting pipe Discharge means.
The liquid discharge means is installed inside the flush toilet body.

また本発明は、水洗式便器を洗浄する方法でもある。その特徴とするところは、次の通りである。すなわち、コンピュータが、洗浄水の流しの有無を示す信号を入力インターフェースから受信するステップと、流しが有ったと判定されるとタイマーを作動させるステップと、タイマーの作動開始から第1の所定時間経過したか否かを判定するステップと、前記第1の所定時間が経過したと判定したら、前記洗浄水の進行方向における所定の箇所に液体を吐出するステップと、 前記液体の吐出後第2の所定時間が経過したら、前記吐
出を停止するステップと、を実行する水洗式便器を洗浄する方法である。
The present invention is also a method for cleaning a flush toilet. The features are as follows. That is, a step in which the computer receives a signal indicating whether or not the wash water is flowing from the input interface, a step in which the timer is activated when it is determined that there is a sink, and a first predetermined time has elapsed from the start of the timer operation. Determining whether or not the first predetermined time has elapsed, discharging the liquid to a predetermined location in the traveling direction of the cleaning water, and a second predetermined after discharging the liquid And a step of stopping the discharge when time elapses, and a method of cleaning the flush toilet.

さらに本発明は、水洗式便器を洗浄する方法であって、コンピュータが、タイマーが現在の時刻を検知するステップと、タイマーが所定の時刻を過ぎたか否かを判定するステップと、タイマーが前記所定の時刻を過ぎた場合には、前記水洗式便器の洗浄水の進行方向における所定の箇所に液体を吐出するステップと、前記液体の吐出後所定時間が経過したか否かを判定するステップと、前記液体の吐出後所定時間が経過したら、前記吐出を停止するステップと、を実行する水洗式便器を洗浄する方法である。   Furthermore, the present invention is a method for washing a flush toilet, wherein the computer detects a current time, determines whether the timer has passed a predetermined time, and the timer is the predetermined time. When the time has passed, a step of discharging the liquid to a predetermined location in the traveling direction of the washing water of the flush toilet, and a step of determining whether a predetermined time has elapsed after the discharge of the liquid; And a step of stopping the discharge when a predetermined time has elapsed after the discharge of the liquid.

加えて、本発明は、水洗式便器を洗浄する方法であって、コンピュータが、
洗浄水の流しの有無を示す信号を入力インターフェースから受信するステップと、前記洗浄水の進行方向における所定の箇所に液体を吐出するステップと、前記液体の吐出後所定時間が経過したか否かを判定するステップと、前記液体の吐出後所定時間が経過したら、前記吐出を停止するステップと、を実行する水洗式便器を洗浄する方法である。
In addition, the present invention is a method for cleaning a flush toilet, wherein the computer comprises:
Receiving from the input interface a signal indicating the presence or absence of wash water flow, discharging liquid to a predetermined location in the direction of travel of the wash water, and whether or not a predetermined time has elapsed after the liquid discharge. A method of cleaning a flush toilet that performs the step of determining and the step of stopping the discharge when a predetermined time has elapsed after the discharge of the liquid.

そして、本発明は、水洗式便器を洗浄する方法であって、コンピュータが、
洗浄水の流しの有無を示す信号を入力インターフェースから受信するステップと、前記流しの回数を数え、当該流しの回数が所定数を越えたか否かを判定するステップと、前記所定数を越えたと判定したら、前記洗浄水の進行方向における所定の箇所に液体を吐出するステップと、 前記液体の吐出後所定時間が経過したか否かを判定するステップと、前記
吐出を停止するステップと、を実行する水洗式便器を洗浄する方法である。
And this invention is the method of washing the flush toilet bowl, Comprising:
Receiving a signal indicating the presence or absence of a wash water sink from an input interface; counting the number of sinks; determining whether the number of sinks exceeds a predetermined number; and determining that the predetermined number has been exceeded. Then, a step of discharging the liquid to a predetermined location in the traveling direction of the cleaning water, a step of determining whether or not a predetermined time has elapsed after the discharge of the liquid, and a step of stopping the discharge are executed. This is a method of cleaning a flush toilet.

本発明によれば、水洗式便器において、多量に水を流さなくても、尿石の発生を抑制し易くなる。   According to the present invention, in a flush toilet, the generation of urinary stones can be easily suppressed without flowing a large amount of water.

本発明の便器を水洗式便器に適用した場合の一例を示す斜視図である。It is a perspective view which shows an example at the time of applying the toilet bowl of this invention to a flush toilet bowl. 図1の正面図である。It is a front view of FIG. 図2の縦断面図である。It is a longitudinal cross-sectional view of FIG. 図3の要部拡大図である。It is a principal part enlarged view of FIG. 水洗式便器のブロック図である。It is a block diagram of a flush toilet bowl. 実施例1のフローチャートである。3 is a flowchart of the first embodiment. 実施例2のフローチャートである。10 is a flowchart of Example 2. 実施例3のフローチャートである。10 is a flowchart of Example 3. 実施例4のフローチャートである。10 is a flowchart of Example 4.

以下、この発明を実施するための形態(以下、実施形態)を実施例に基づいて例示的に説明する。但し、この実施例に記載されている構成部品の寸法、材質、形状その相対配置などは、特に特定的に記載がない限りは、この発明の範囲をそれらに限定する趣旨ではない。   Hereinafter, modes for carrying out the present invention (hereinafter referred to as embodiments) will be exemplarily described based on examples. However, the dimensions, materials, shapes, relative arrangements, and the like of the components described in this embodiment are not intended to limit the scope of the present invention unless otherwise specified.

図1〜図6を参照して、実施例1に係る発明を水洗式小便器(以下、小便器1)に適用した場合について例示する。小便器1は、床置型(ストール型)、大型、中型、小型に分類される。本実施例に係る小便器1は、床面から上方に離隔した状態で設置される大型の小便器である(図1〜図3参照)。   With reference to FIGS. 1-6, it demonstrates about the case where the invention which concerns on Example 1 is applied to the flush urinal (henceforth, urinal 1). The urinal 1 is classified into a floor type (stall type), a large size, a medium size, and a small size. The urinal 1 according to the present embodiment is a large urinal installed in a state of being separated upward from the floor surface (see FIGS. 1 to 3).

小便器1は、排出された小便を受ける便器本体3と、便器本体3を囲繞するケース体5と、便器本体3に排出された小便を小便器1の外に排泄する排泄設備7と、脱臭装置8とを有する(図1、図3参照)。   The urinal 1 includes a urinal body 3 that receives discharged urine, a case body 5 that surrounds the urinal body 3, an excretion facility 7 that excretes the urine discharged to the urinal body 3, and deodorization. And a device 8 (see FIGS. 1 and 3).

便器本体3は、小便の排泄に使用される衛生陶器である。また、トイレ利用者は、立ったまま小便器1で用を足すようになっている。便器本体3は、使用者の前面に立設されて排尿を受ける部位である受面部31と、トイレ使用者の陰茎から垂れた尿を受ける垂れ受部分34と、ボール部32とを含む(図1、2、3参照)。   The toilet body 3 is a sanitary ware used for excretion of urine. In addition, the toilet user can use the urinal 1 while standing. The toilet body 3 includes a receiving surface portion 31 which is a portion that is erected on the front surface of the user and receives urination, a drooping receiving portion 34 that receives urine hanging from the penis of the toilet user, and a ball portion 32 (see FIG. 1, 2, 3).

受面部31は、ほぼ平らな面形状をしており、正面形状で長円を縦長にした如き形状をしている(図2参照)。また、受面部31は、その頂部近傍に、尿を流すための洗浄水を供給する給水部35を有する(図2、図3参照)。給水部35は、図示しない外部給水管と接続されている。そして当該給水部35は、前記外部給水管から供給された水を便器本体3内に供給し、これにより受面部31及びボール部32を洗浄する。また、給水部35の前方には、水流センサ132(図3、図5参照)が設けられている。水流センサには、水流によって磁石を動かし、リードスイッチで検知するタイプ(流水スイッチ)と、プロペラや水車で水量も検知するタイプ(水量センサ)とがある。   The receiving surface portion 31 has a substantially flat surface shape, and has a front shape that is an ellipse that is vertically long (see FIG. 2). Moreover, the receiving surface part 31 has the water supply part 35 which supplies the wash water for flowing urine in the top vicinity (refer FIG. 2, FIG. 3). The water supply unit 35 is connected to an external water supply pipe (not shown). And the said water supply part 35 supplies the water supplied from the said external water supply pipe in the toilet bowl main body 3, and thereby wash | cleans the receiving surface part 31 and the ball | bowl part 32. FIG. A water flow sensor 132 (see FIGS. 3 and 5) is provided in front of the water supply unit 35. There are two types of water flow sensors: a type in which a magnet is moved by a water flow and detected by a reed switch (flow water switch), and a type in which the amount of water is also detected by a propeller or a water wheel (water amount sensor).

垂れ受部分34は、受面部31とその下方で連続して形成され(図3参照)、使用者側に突き出している。このため、トイレ使用者の陰茎から垂れる尿を便器設置面に落とすことなく小便器1で受けられる。
また、ボール部32(図2、図3参照)は、受面部31と連続して形成され、かつ調理用の容器であるボールに似た形状をしている(図3参照)。
The drooping receiving portion 34 is formed continuously with the receiving surface portion 31 and below (see FIG. 3), and protrudes toward the user side. For this reason, the urine dripping from the penis of the toilet user can be received by the urinal 1 without dropping it on the toilet installation surface.
Moreover, the ball | bowl part 32 (refer FIG. 2, FIG. 3) is formed continuously with the receiving surface part 31, and has the shape similar to the ball | bowl which is a container for cooking (refer FIG. 3).

ケース体5(図1〜図3参照)は、このような便器本体3を囲繞するものである。具体的には、便器本体3の受面部31と、垂れ受部分34を含むボール部32と、ボール部32の最低位部分に位置する排水口36と(図2、図3参照)、排水口36に接続された排水トラップ13と(図2参照)、臭気を外部に排出するための管である臭気排出管100(図3参照)とをケース体5が覆う。また、ケース体5の底面は、床面から離隔し、床面との間に空間SPを形成する(図2、図3参照)。   The case body 5 (see FIGS. 1 to 3) surrounds the toilet body 3 as described above. Specifically, the receiving surface part 31 of the toilet body 3, the ball part 32 including the sagging receiving part 34, the drain port 36 located at the lowest part of the ball part 32 (see FIGS. 2 and 3), the drain port The case body 5 covers the drain trap 13 connected to 36 (see FIG. 2) and the odor discharge pipe 100 (see FIG. 3) which is a pipe for discharging odor to the outside. Further, the bottom surface of the case body 5 is separated from the floor surface and forms a space SP between the floor surface (see FIGS. 2 and 3).

ケース体5で便器本体3を覆(囲)うと、便器本体3とケース体5との間の内部にスペースSが画成される(図2参照)。スペースSの形状は、便器本体3をケース体5で覆ったときにケース体5の内面と便器本体3の外面とによって画成される形状をしている。当該スペースSは、少なくとも、ボール部32と、その下方部にある排水トラップ13とを収納するに十分な大きさの容積を有する。   When the toilet body 3 is covered (enclosed) by the case body 5, a space S is defined inside the toilet body 3 and the case body 5 (see FIG. 2). The shape of the space S is a shape defined by the inner surface of the case body 5 and the outer surface of the toilet body 3 when the toilet body 3 is covered with the case body 5. The space S has a volume large enough to accommodate at least the ball portion 32 and the drain trap 13 located below the ball portion 32.

そして、ケース体5には、その底部にトイレの床面に通じる開口Oが形成されている(図1,2参照)。ケース体5の底面は、既述のように床面から空間SPをもって離隔しているので、当該開口Oも、床面から所定高さに位置する。開口Oは、どんな形状でもかまわないが、好ましくは、ケース体5の下面に向けてできるだけ大きく開いた形状であるものがよい。   And the opening O which leads to the floor surface of a toilet is formed in the case body 5 at the bottom part (refer FIG. 1, 2). Since the bottom surface of the case body 5 is separated from the floor surface by the space SP as described above, the opening O is also located at a predetermined height from the floor surface. The opening O may have any shape, but it is preferable that the opening O be as wide as possible toward the lower surface of the case body 5.

なお、ここで、トイレ使用者が、小便器1に正対した状態で手前側を後ろといい、向こう側を前という。また、上下とは小便器1の長手(上下)方向に延びる中心線上において上方を上側といい、下方を下側という。さらに左右とは、小便器1に利用者が正対した状態で右側を右といい、左側を左という。   Here, in the state where the toilet user faces the urinal 1, the near side is referred to as the back, and the other side is referred to as the front. In addition, the upper and lower sides are referred to as the upper side on the center line extending in the longitudinal (up and down) direction of the urinal 1 and the lower side as the lower side. Further, the left and right are the right side and right side of the urinal 1 with the user facing the urinal 1 and the left side of the urinal 1.

また、図3及び図4に示すように、排泄設備7は、排水口36(図3参照)と、その後部に接続されている排水トラップ13と、排水管の一つであって、小便器1の排水を下流側の管に導くための横引き排水管51と、排水トラップ13及び横引き排水管51をつなぐ排水接続継手アダプタ41とを含む(図3参照)。なお、排水トラップ13と、排水接続継手アダプタ41との間には、ゴム製のガスケット130が介在されている(図4参照
)。
Moreover, as shown in FIG.3 and FIG.4, the excretion equipment 7 is one of the drain outlet 36 (refer FIG. 3), the drain trap 13 connected to the rear part, and a drain pipe, Comprising: 1 includes a horizontal drainage pipe 51 for guiding one drainage to a downstream pipe, and a drainage connection joint adapter 41 that connects the drainage trap 13 and the horizontal drainage pipe 51 (see FIG. 3). A rubber gasket 130 is interposed between the drain trap 13 and the drain connection joint adapter 41 (see FIG. 4).

排水トラップ13(図3参照)は、排水口36から所定の長さで後方に直進し、そこから上方に向けて凸状に湾曲した如き形状をしている。換言すれば、横倒しにしたSの字を変形させた如き形状である。当該凸の大きさは、小便器1が十分な封水深を確保できる程度のものである。そして、排水トラップ13は、その後端部における上位置でかつケース体5の内部にジェット洗浄器131(図4参照)が取り付けられている。ジェット洗浄器131とは、図示しない高圧水発生装置で加圧された高圧水をノズルから噴射し、その時の衝撃力を利用して主として排水接続継手アダプタ41の洗浄に供することにより、尿石などの除去を行うものである。   The drain trap 13 (see FIG. 3) has a shape such that the drain trap 36 straightly travels backward at a predetermined length from the drain port 36 and is curved upwardly from there. In other words, the shape is such that the S-shaped letter that is laid down is deformed. The size of the projection is such that the urinal 1 can secure a sufficient sealing depth. The drain trap 13 is provided with a jet cleaner 131 (see FIG. 4) at an upper position at the rear end thereof and inside the case body 5. The jet washer 131 jets high-pressure water pressurized by a high-pressure water generator (not shown) from a nozzle, and uses the impact force at that time to mainly wash the drainage connection joint adapter 41, so that urine stones, etc. Is to be removed.

なお、排水接続継手アダプタ41のうち排水トラップ13との接続箇所a(洗浄水の進行方向における所定の箇所。図4参照。)、換言すると、排水接続継手アダプタ41内であって、入り口付近が最も尿石が析出し易い。また、接続箇所aは、頂部が平らな山形の平らな頂部に該当する箇所である。そして、接続箇所aは、封水深よりも高所に位置する。このため、当該箇所aに尿を含んだ流水が常にあるとは必ずしも限らない。つまり接続箇所aでは、流水がある場合と流水の無い場合とがあり、流水が無い場合は、尿を含んだ流水が漸次乾燥するため尿石が成長し易い。反対に流水が有る場合は、たとえ流水に尿が含まれていたとしても下流に向けて水が流れるため尿石が出現し難い。換言すると、前記接続箇所aは、小便器使用者が用足しに使用することにより、当該接続箇所aを小便が通っては乾き、乾いては通ることにより、尿石が出来易い箇所である。   In addition, in the drainage connection joint adapter 41, the connection point a with the drainage trap 13 (predetermined part in the traveling direction of the washing water; see FIG. 4), in other words, in the drainage connection joint adapter 41, the vicinity of the entrance is Urine stone is most likely to precipitate. Moreover, the connection location a is a location corresponding to a flat top of a mountain shape with a flat top. And the connection location a is located in a high place rather than the sealing depth. For this reason, there is not necessarily always running water containing urine in the location a. That is, at the connection location a, there is a case where there is running water and a case where there is no running water. When there is no running water, the running water containing urine is gradually dried and urine stones are likely to grow. On the other hand, if there is running water, even if urine is contained in the running water, urine stones are unlikely to appear because the water flows downstream. In other words, the connection location a is a location where a urine user can easily make urinary stones by using the urinal user as a supplement to dry the urine through the connection location a and passing it through the urine.

そして、当該接続箇所aを標的にして高圧水をジェット洗浄器131のノズルから噴射し、その噴射力で前記接続箇所aにできる尿石を除去してもよいし、尿石ができる前に噴射して接続箇所aを洗浄するようにしてもよい。   Then, high pressure water may be sprayed from the nozzle of the jet washer 131 targeting the connection point a, and the urinary stone formed at the connection point a may be removed by the spraying force, or sprayed before the urinary stone is formed. And you may make it wash | clean the connection location a.

ジェット洗浄器131においては、前記接続箇所a及びその近傍をめがけて、斜め上後方から斜め下前方へと高圧水が噴射されるように(図4の白矢印A参照)、ノズルの位置調整がされている。ジェット洗浄器131は、ホース用ノズル133と、ホース用ノズル133に接続されて高圧の水を送る超高圧ホース134とで形成されている(図4参照)。   In the jet washer 131, the position of the nozzle is adjusted so that high-pressure water is jetted from the diagonally upper back to the diagonally lower front toward the connection point a and the vicinity thereof (see the white arrow A in FIG. 4). Has been. The jet cleaner 131 is formed of a hose nozzle 133 and an ultra-high pressure hose 134 that is connected to the hose nozzle 133 and sends high-pressure water (see FIG. 4).

ジェット洗浄器131は、フランジ136を有している。そして、排水トラップ13の天井面13aには、ホース用ノズル133が貫通される貫通孔13bが形成されており、当該貫通孔13bにフランジ136が当接するまで圧入される。このとき、ホース用ノズル133の先端からフランジ136までの寸法の方が、貫通孔13bの長さ寸法よりも長い。このため、ジェット洗浄器131を貫通孔13bに組み込んだときに、ホース用ノズル133の先端13dが、貫通孔13bからわずかに下方に突出する。このときホース用ノズル133の吐出口133dが前記部位aをめがけて排水することができるように、ホース用ノズル133を貫通孔13bに組み込む。なお、貫通孔13bとホース用ノズル133との間にブシュ13cが組み込まれている(図4参照)。これは、ホース用ノズル133が貫通孔13bから抜け出るのを防止すると共に、ホース用ノズル133と貫通孔13bとの間の隙間から排水トラップ13内から外に向けた水漏れの発生を抑制するためである。   The jet cleaner 131 has a flange 136. A through hole 13b through which the hose nozzle 133 is penetrated is formed in the ceiling surface 13a of the drain trap 13, and is press-fitted until the flange 136 comes into contact with the through hole 13b. At this time, the dimension from the tip of the hose nozzle 133 to the flange 136 is longer than the length dimension of the through hole 13b. For this reason, when the jet cleaner 131 is incorporated into the through hole 13b, the tip 13d of the hose nozzle 133 slightly protrudes downward from the through hole 13b. At this time, the hose nozzle 133 is incorporated into the through-hole 13b so that the discharge port 133d of the hose nozzle 133 can be discharged toward the part a. A bush 13c is incorporated between the through hole 13b and the hose nozzle 133 (see FIG. 4). This prevents the hose nozzle 133 from coming out of the through hole 13b and suppresses the occurrence of water leakage from the drain trap 13 to the outside through the gap between the hose nozzle 133 and the through hole 13b. It is.

なお、ジェット洗浄器131を天井面13aの貫通孔13bに圧入することで、ジェット洗浄器131を排水トラップ13の天井面13aに取り付けたものを示したが、これに限らず、ジェット洗浄器131と天井面13aとを螺合することで、ジェット洗浄器131を排水トラップ13の天井面13aに取り付けるようにしてもよい。ジェット洗浄器131を天井面13aの貫通孔13bに圧入することでも、天井面に対するノズルの位置調
整は可能であるが、螺合によって位置調整した場合は微調整ができる。
Although the jet cleaner 131 is attached to the ceiling surface 13a of the drain trap 13 by press-fitting the jet cleaner 131 into the through hole 13b of the ceiling surface 13a, the present invention is not limited to this. The jet cleaner 131 may be attached to the ceiling surface 13a of the drainage trap 13 by screwing together the ceiling surface 13a. The nozzle position can be adjusted with respect to the ceiling surface by press-fitting the jet cleaner 131 into the through hole 13b of the ceiling surface 13a, but fine adjustment can be performed when the position is adjusted by screwing.

このように、ホース用ノズル133を貫通孔13bに組み込むことにより、ジェット洗浄器131が排水トラップ13の天井面13aに対して垂直に立設される。併せてホース用ノズル133の先端(ホース用ノズル133を貫通孔13bに組み込んだときの下端)が、前記貫通孔13bから下方に突出する。   In this way, by incorporating the hose nozzle 133 into the through hole 13 b, the jet cleaner 131 is erected vertically with respect to the ceiling surface 13 a of the drain trap 13. In addition, the tip of the hose nozzle 133 (the lower end when the hose nozzle 133 is incorporated in the through hole 13b) protrudes downward from the through hole 13b.

そして、この状態でジェット洗浄器131を作動させることにより、尿石が出来やすい部位である、排水トラップ13と排水接続継手アダプタ41との接合箇所における接続箇所aに向けて、または排水接続継手アダプタ41のうち白矢印Aの延長線上の箇所に対してホース用ノズル133から水等の液体がジェット噴射されるようになっている。
さらに、尿石ができる前にジェット洗浄器131を定期的に作動すれば、尿石が発生しにくい。
Then, by operating the jet washer 131 in this state, toward the connection point a where the drainage trap 13 and the drainage connection joint adapter 41 are connected, or the drainage connection joint adapter, which is a part where urine stone is easily formed. 41, a liquid such as water is jetted from a hose nozzle 133 to a portion on the extended line of the white arrow A.
Further, if the jet cleaner 131 is periodically operated before urine stones are produced, urine stones are less likely to be generated.

また、排水トラップ13の前端には、小便器1の外部に設置された排水接続継手アダプタ41が既述のように、接続されている(図4参照)。そして、排水トラップ13と、排水接続継手アダプタ41との間には、既述のように、ゴム製のガスケット130が介在されている。さらに、排水接続継手アダプタ41の下流側に横引き排水管51が接続されている。   In addition, the drainage connection joint adapter 41 installed outside the urinal 1 is connected to the front end of the drainage trap 13 as described above (see FIG. 4). As described above, the rubber gasket 130 is interposed between the drain trap 13 and the drain connection joint adapter 41. Furthermore, a horizontal drainage pipe 51 is connected to the downstream side of the drainage connection joint adapter 41.

横引き排水管51は、建物の床下などに横(左右)方向に設置されてる。また、横引き排水管51は、小便器に排出された小便を、図示しない外部下水管に向けて搬送するための管であり、排水接続継手アダプタ41と交叉する方向で接続されている。   The horizontal drainage pipe 51 is installed in the horizontal (left and right) direction below the floor of the building. Further, the horizontal drainage pipe 51 is a pipe for conveying the urine discharged to the urinal toward an external sewage pipe (not shown), and is connected in a direction crossing the drainage connection joint adapter 41.

排水接続継手アダプタ41は、前記排水トラップ13及び横引き排水管51をつなぐ連結管として機能する。そのため、排水接続継手アダプタ41は、その上流側端が排水トラップ13と接続されるトラップ用接続構造400とされ(図3、図4参照)、排水接続継手アダプタ41の下流側端は、横引き排水管51と接続される横引き排水管用接続構造413とされている(図4参照)。   The drainage connection joint adapter 41 functions as a connecting pipe that connects the drainage trap 13 and the horizontal drainage pipe 51. Therefore, the drainage connection joint adapter 41 is configured as a trap connection structure 400 whose upstream end is connected to the drainage trap 13 (see FIGS. 3 and 4), and the downstream end of the drainage connection joint adapter 41 is laterally drawn. A horizontal drainage pipe connection structure 413 is connected to the drainage pipe 51 (see FIG. 4).

トラップ用接続構造400は(図4参照)、排水接続継手アダプタ41(図4参照)の上流側端に形成された外嵌部402に、ケース体5の背面から前方に突出して形成され、前記外嵌部402と嵌合する内嵌部404が嵌合することで形成される(図4参照)。また、内嵌部404の外周面には、シールリング406が取り付けられており(図4参照)、外嵌部402に内嵌部404を嵌合すると両者の間がシールリング406によってシールされる。   The trap connection structure 400 (see FIG. 4) is formed on the outer fitting portion 402 formed at the upstream end of the drainage connection joint adapter 41 (see FIG. 4) so as to protrude forward from the back surface of the case body 5, It is formed by fitting an inner fitting portion 404 that fits with the outer fitting portion 402 (see FIG. 4). A seal ring 406 is attached to the outer peripheral surface of the inner fitting portion 404 (see FIG. 4). When the inner fitting portion 404 is fitted to the outer fitting portion 402, the seal ring 406 seals between the two. .

横引き排水管用接続構造413(図4参照)は、排水接続継手アダプタ41の下流側端の外周面周りに形成された内嵌部412に、横引き排水管51にU字状に巻着される巻着部414の自由端414aを外嵌することで形成される(図4参照)。内嵌部412の外周面には、シールリング415が取り付けられており(図4参照)、これにより、巻着部414の自由端414aと排水接続継手アダプタ41との嵌合箇所をシールする(図4参照)。   The connection structure 413 for horizontal drainage pipes (see FIG. 4) is wound around the horizontal drainage pipe 51 in a U shape around an inner fitting portion 412 formed around the outer peripheral surface of the downstream end of the drainage connection joint adapter 41. It is formed by externally fitting the free end 414a of the winding portion 414 (see FIG. 4). A seal ring 415 is attached to the outer peripheral surface of the inner fitting portion 412 (see FIG. 4), thereby sealing the fitting portion between the free end 414a of the winding portion 414 and the drainage connection joint adapter 41 ( (See FIG. 4).

また、図示しない電磁弁装置により、給水部35(図2、図3参照)から配水される洗浄水が、受面部31とボール部32の内面を洗浄する。洗浄後の水の流れは、前記排水口36(図3参照)から、排水トラップ13、排水接続継手アダプタ41及び横引き排水管51を経由して(図3、図4参照)、図示しない外部下水管に排水される。   Moreover, the wash water distributed from the water supply part 35 (refer FIG. 2, FIG. 3) wash | cleans the inner surface of the receiving surface part 31 and the ball | bowl part 32 with the solenoid valve apparatus which is not shown in figure. The flow of water after washing passes from the drain port 36 (see FIG. 3) through the drain trap 13, the drain connection joint adapter 41 and the horizontal drain pipe 51 (see FIG. 3 and FIG. 4), to the outside not shown. Drained into the sewer pipe.

ところで、既述した垂れ受部分34があっても(図3参照)、尿が小便器1の内から外
へ飛散したり、小便器1からそれて小便器1の周囲を汚したりする場合がある。このような場合において、床面に垂れてしまった尿から発する臭いを除去するためのものが、前記開口O及びこの開口Oにつながる臭気排出管100を含む脱臭装置8である(図2〜図4参照)。脱臭装置8によれば、その臭気排出管100(図4参照)は、便器本体3の背面に開口102(図4参照)が形成され、かつトイレの外部(ケース体5の外部)に通じている。床面に垂れた尿の臭いは、次のようにして外部に排出される。
By the way, even if there is the sagging receiving portion 34 described above (see FIG. 3), urine may be scattered from the inside of the urinal 1 to the outside, or the area around the urinal 1 may be deviated from the urinal 1. is there. In such a case, a device for removing the odor emitted from the urine dripping on the floor surface is the deodorizing device 8 including the opening O and the odor discharge pipe 100 connected to the opening O (FIGS. 2 to 2). 4). According to the deodorizing device 8, the odor discharge pipe 100 (see FIG. 4) has an opening 102 (see FIG. 4) formed on the back surface of the toilet body 3 and leads to the outside of the toilet (outside the case body 5). Yes. The smell of urine dripping on the floor is discharged to the outside as follows.

すなわち、小便器1は、臭いの発生源となる小便器1から小便が漏れたり、付着したりして、小便の溜まる便器本体3の底部付近及びケース体5の外部をトイレの床面に通じる開口O及び臭気排出管100を介して通じさせる(図2〜図4参照)。よって、尿の臭いをケース体5の外部に向けて排出できる。これは、物質の拡散、すなわち、粒子、熱、運動量などが自発的に散らばり、かつ広がる物理現象を利用したものである。よって、尿の悪臭によりトイレ利用者に不快感を低減することができる。   That is, the urinal 1 leaks or adheres to the urinal 1 that is the source of odor, and the urinal 1 passes through the vicinity of the bottom of the urinal body 3 where the urine accumulates and the outside of the case body 5 to the toilet floor. It connects through the opening O and the odor discharge | emission pipe | tube 100 (refer FIGS. 2-4). Therefore, the urine odor can be discharged toward the outside of the case body 5. This utilizes the physical phenomenon in which the diffusion of substances, that is, particles, heat, momentum, etc. are spontaneously scattered and spread. Therefore, discomfort can be reduced for the toilet user due to the bad smell of urine.

次に排水接続継手アダプタ41を用いて排水トラップ13と、横引き排水管51とのつなぎ方を説明する。排水接続継手アダプタ41は、その上流側端が既述したトラップ用接続構造400を介して排水トラップ13と接続されている(図3、図4参照)。また、排水接続継手アダプタ41の下流側端は、既述した横引き排水管用接続構造413を介して横引き排水管51と接続されている(図4参照)。   Next, how to connect the drain trap 13 and the horizontal drain pipe 51 using the drain connection joint adapter 41 will be described. The drain connection joint adapter 41 is connected to the drain trap 13 through the trap connection structure 400 described above at the upstream end (see FIGS. 3 and 4). Further, the downstream end of the drainage connection joint adapter 41 is connected to the lateral drainage pipe 51 via the horizontal drainage pipe connection structure 413 described above (see FIG. 4).

さらに、図4に示すように、小便器1を右側面から見たときに、排水接続継手アダプタ41の上流側端が、横引き排水管51よりも高い位置にある。よって、小便器1と横引き排水管51との間に落差を生じる。   Furthermore, as shown in FIG. 4, when the urinal 1 is viewed from the right side, the upstream end of the drainage connection joint adapter 41 is located higher than the lateral drainage pipe 51. Therefore, a drop is generated between the urinal 1 and the horizontal drainage pipe 51.

このため、給水部35から小便器1のボール部32及び排水トラップ13を経由して、排水接続継手アダプタ41に至った排水(図3、図4参照)は、勢いがついた状態で排水接続継手アダプタ41を横引き排水管51に向けて流れる。   Therefore, the drainage (see FIGS. 3 and 4) from the water supply unit 35 through the ball portion 32 of the urinal 1 and the drain trap 13 to the drain connection joint adapter 41 (see FIGS. 3 and 4) is drained in a vigorous state. The joint adapter 41 flows toward the horizontal drainage pipe 51.

また、排水接続継手アダプタ41よりも上位に既述したジェット洗浄器131が設置されている(図4参照)。そして、既述したように、接続箇所a(図4参照)を標的にして高圧水をジェット洗浄器131のノズルから噴射し、その噴射力で前記接続箇所aにできる尿石を除去する。   Further, the jet cleaner 131 described above is installed above the drainage connection joint adapter 41 (see FIG. 4). Then, as described above, high pressure water is jetted from the nozzle of the jet washer 131 targeting the connection point a (see FIG. 4), and urinary stones formed at the connection point a are removed by the injection force.

なお、噴射力で尿石を除去する箇所、すなわち標的は、前記接続箇所aに限られない。例えば、排水接続継手アダプタ41のうち白矢印Aの延長線上にある排水接続継手アダプタ41でもよい。この場合、ジェット洗浄器131のノズル133から白矢印Aの延長方向にある排水接続継手アダプタ41は、図4に正対した場合において右斜め下方にあるので、ジェット洗浄器131のノズル133から排水接続継手アダプタ41に向けて噴射があると、この噴射による力と重力とが相俟って、排水接続継手アダプタ41の内面に付着している尿石を除去する除去力が高まる。   In addition, the location where the urinary stone is removed by the injection force, that is, the target is not limited to the connection location a. For example, the drainage connection joint adapter 41 on the extension line of the white arrow A in the drainage connection joint adapter 41 may be used. In this case, since the drainage connection joint adapter 41 in the extending direction of the white arrow A from the nozzle 133 of the jet cleaner 131 is diagonally downward to the right when facing the front in FIG. 4, the drainage from the nozzle 133 of the jet cleaner 131 is drained. When there is an injection toward the connection joint adapter 41, the force and gravity due to the injection combine to increase the removal force for removing urine stones adhering to the inner surface of the drainage connection joint adapter 41.

横引き排水管51に至った排水は、横引き排水管51に案内された後、横引き排水管51よりも下流の排水管であって上下に延びる縦管や排水本管(いずれも図示せず)を経由して、最終的に屎尿処理場に案内され、そこで処理される。   The drainage that has reached the horizontal drainage pipe 51 is guided to the horizontal drainage pipe 51, and is a drainage pipe downstream from the horizontal drainage pipe 51, and a vertical pipe and a drainage main pipe (both not shown). )) And finally guided to the urine processing plant where it is processed.

図5は、本発明に係る水洗式便器のブロック図である。
図5において、制御部70には、中央処理装置(CPU)、ジェット洗浄器131の動作時間を設定するタイマー70a、流しの回数をカウントするカウンター70bを有する。その他、制御部70は、図示しない、発信される情報のデータの読み出し/書き込みメモリ(RAM)、本システム実行用のプログラムを記憶する読み出し専用メモリ(ROM
)、これらを接続するバスを有するように構成されている。
FIG. 5 is a block diagram of a flush toilet according to the present invention.
In FIG. 5, the control unit 70 includes a central processing unit (CPU), a timer 70 a that sets the operation time of the jet cleaner 131, and a counter 70 b that counts the number of sinks. In addition, the control unit 70 includes a read / write memory (RAM) of information data to be transmitted (not shown), and a read-only memory (ROM) that stores a program for executing the system.
), And a bus for connecting them.

また、図5における小便器1には、ジェット洗浄器131及び水流センサ132を有するように構成されている。
そして、制御部70及び小便器1は、インターフェース(I/F)を介在させることによって、制御部70からジェット洗浄器131に向けて情報が伝達され、水流センサ132から制御部70に向けて情報が伝達されることが示されている。
Further, the urinal 1 in FIG. 5 is configured to include a jet washer 131 and a water flow sensor 132.
Then, the control unit 70 and the urinal 1 transmit information from the control unit 70 to the jet washer 131 by interposing an interface (I / F), and information from the water flow sensor 132 to the control unit 70. Is shown to be transmitted.

なお、コンピュータの部品間の通信リンクとしてこの実施例では、シリアル通信が使われている。シリアル通信アーキテクチャの例としては、次に示すようなものを例示できるがこれらに限定されるものではない。例えば、単にON/OFFを検出するスイッチの信号から、0(Low)、1(High)の信号を制御部70に入力してもよい。
・RS-232 (低速、シリアルポートで使われる)
・RS-423
・RS-485
・Universal Serial Bus
・I2C(アイ・スクエアド・シー)
但し、水流センサを用いる代わりに水洗をON/OFFするためのセンサ、例えば、赤外線センサの出力信号により、水の流れを検知してもよい。つまり、センサにより、水の流れ指示が為されたことを持って、水流を検知したものと見なしてもよい。
In this embodiment, serial communication is used as a communication link between computer components. Examples of the serial communication architecture include the following, but are not limited to these. For example, a signal of 0 (Low) or 1 (High) may be input to the control unit 70 from a signal of a switch that simply detects ON / OFF.
RS-232 (low speed, used for serial port)
・ RS-423
・ RS-485
・ Universal Serial Bus
・ I 2 C (I Squared Sea)
However, instead of using the water flow sensor, the flow of water may be detected by an output signal of a sensor for turning on / off water washing, for example, an infrared sensor. That is, it may be considered that the water flow is detected with the instruction of the water flow by the sensor.

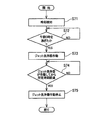
図6は、このような構成の水洗式便器を用いて、ジェット洗浄器131から定期的に水等が噴射される場合の制御部70による手順を示すフローチャートである。   FIG. 6 is a flowchart showing a procedure by the control unit 70 when water or the like is periodically ejected from the jet washer 131 using the flush toilet having such a configuration.

S61では、その日のうちにされた給水部35による最初のトイレへの流しの有無を例えば水流センサ132で検知する。検知したデータは制御部70に送信され制御部70により流しの有無が判定される。肯定判定すればS62に進む。否定判定すればS61のステップを繰り返す。
S62では、タイマー70aが作動を開始する。
S63では、所定時間(第1の所定時間)が、S62におけるタイマー70aの作動開始から経過したか否かを判定する。例えば3h経過したか否かを判定する。肯定判定の場合はS64に進む。否定判定の場合は、本ルーチンを繰り返す。
S64では、ジェット洗浄器131が作動する。この結果、前記洗浄水の進行方向における所定の箇所に液体を吐出する。所定の箇所とは、例えば、排水接続継手アダプタ41内であって、入り口付近である。排水接続継手アダプタ41の入り口付近が最も尿石が析出し易い。
S65では、ジェット洗浄器131の作動後所定時間(第2の所定時間)が経過したか否かを判定し、肯定判定したらS66に進む。否定判定の場合はこのルーチンを繰り返す。
S66では、ジェット洗浄器131の作動が停止し、洗浄水の進行方向における所定の箇所への液体の吐出が終了する。その後はS61に戻る。
In S <b> 61, for example, the water flow sensor 132 detects whether or not the water supply unit 35 made on the same day is sinking into the first toilet. The detected data is transmitted to the control unit 70, and the control unit 70 determines whether or not there is a sink. If a positive determination is made, the process proceeds to S62. If a negative determination is made, step S61 is repeated.
In S62, the timer 70a starts operating.
In S63, it is determined whether or not the predetermined time (first predetermined time) has elapsed since the start of the operation of the timer 70a in S62. For example, it is determined whether or not 3 hours have elapsed. If the determination is affirmative, the process proceeds to S64. If the determination is negative, this routine is repeated.
In S64, the jet cleaner 131 is activated. As a result, the liquid is discharged to a predetermined location in the traveling direction of the cleaning water. The predetermined portion is, for example, in the drainage connection joint adapter 41 and near the entrance. Urine stone is most likely to deposit near the entrance of the drainage connection joint adapter 41.
In S65, it is determined whether or not a predetermined time (second predetermined time) has elapsed after the operation of the jet cleaner 131. If an affirmative determination is made, the process proceeds to S66. If the determination is negative, this routine is repeated.
In S66, the operation of the jet cleaner 131 is stopped, and the discharge of the liquid to a predetermined location in the traveling direction of the cleaning water ends. Thereafter, the process returns to S61.

(作用効果)
実施例1に係る発明では、排水トラップ13の前端上部にジェット洗浄器131が取り付けられている。ジェット洗浄器131は、少なくとも前記排水接続継手アダプタ41を標的にして液体を吐出する液体吐出手段として機能する。そして、ジェット洗浄器131は、高圧で水や薬液などの液体を少なくとも排水接続継手アダプタ41を標的に噴射する。ジェット洗浄器131が作動することにより、尿石が除去される。また、尿石ができる前にジェット洗浄器131を定期的(この実施例では、例えば3時間毎:図6のS63)に作動するようになっているので、尿石が発生しにくい。排水接続継手アダプタ41を標
的にして噴射するということはピンポイントで高圧の液体を噴射するということなので、尿石が発生していても集中的に除去し易くなる。したがって、除去効率がよい。また、ピンポイントで高圧の液体を噴射するので、多量に水を流さなくても、尿石の発生を抑制し易い。
(Function and effect)
In the invention according to the first embodiment, a jet cleaner 131 is attached to the upper front end of the drain trap 13. The jet cleaner 131 functions as a liquid discharge unit that discharges liquid with at least the drainage connection joint adapter 41 as a target. The jet washer 131 injects liquid such as water or chemicals at high pressure onto at least the drainage connection joint adapter 41. The urinary stone is removed by the operation of the jet washer 131. Further, since the jet cleaner 131 is operated periodically (in this embodiment, for example, every 3 hours: S63 in FIG. 6) before urine is formed, it is difficult for urine to be generated. Injecting with the drainage connection joint adapter 41 as a target means that a high-pressure liquid is ejected at a pinpoint, so that it is easy to remove it intensively even if urine stones are generated. Therefore, the removal efficiency is good. Moreover, since a high-pressure liquid is ejected at a pinpoint, the generation of urinary stones can be easily suppressed without flowing a large amount of water.

また、ジェット洗浄器131がケース体5の内部に設置されているので、ジェット洗浄器131から噴出される水等の液体が吐出されることにより生ずる音も低減される。このため、さほど音が気にならない。   Moreover, since the jet cleaner 131 is installed inside the case body 5, the sound generated by discharging liquid such as water ejected from the jet cleaner 131 is also reduced. For this reason, I do not mind much sound.

次に図7を参照して実施例2について述べる。この実施例2に係る発明は、制御部70によりタイマーを作動させることで、夜中にジェット洗浄器を作動させるというものである。   Next, Embodiment 2 will be described with reference to FIG. In the invention according to the second embodiment, the jet cleaning device is operated at night by operating a timer by the control unit 70.

S71では、現在の時刻を検知する。
S72ではS71で検知した時刻が夜の12時を過ぎているか否かを判定する。S72で肯定判定すればS73に進む。否定判定した場合は、肯定判定するまでこのルーチンを繰り返す。
In S71, the current time is detected.
In S72, it is determined whether or not the time detected in S71 has passed 12 o'clock at night. If a positive determination is made in S72, the process proceeds to S73. If a negative determination is made, this routine is repeated until an affirmative determination is made.

S73では、ジェット洗浄器が作動する。
S74では、ジェット洗浄器が作動してから所定時間経過したか否かを判定する。肯定判定する場合は、S75に進む。否定判定する場合は、肯定判定するまでこのルーチンを繰り返す。「ジェット洗浄器が作動してから所定時間」の"所定時間"とは、当該所定時間の間"ホース用ノズル133"が作動している時間である。つまり当該所定時間、ホース用ノズル133が作動したならば、ぬめりや着色汚れの発生を抑制し、さらには臭気の原因を断ち易くできるようになる時間である。加えて、小便器1内に残った尿中のリン酸イオンや、カルシウムイオンが原因となって不溶性の尿石が、小便器1の排水トラップ13と横引き排水管51とを結ぶ排水接続継手アダプタ41内にできるのを抑制し易くなる時間である。
In S73, the jet cleaner is activated.
In S74, it is determined whether or not a predetermined time has elapsed since the operation of the jet cleaner. If a positive determination is made, the process proceeds to S75. If a negative determination is made, this routine is repeated until an affirmative determination is made. The “predetermined time” of the “predetermined time after the operation of the jet cleaner” is a time during which the “hose nozzle 133” is operating for the predetermined time. That is, when the hose nozzle 133 is actuated for the predetermined time, it is a time when it becomes possible to suppress the occurrence of slime and colored stains and to easily eliminate the cause of odor. In addition, the drainage connection joint that connects the drainage trap 13 and the horizontal drainage pipe 51 of the urinal 1 to the insoluble urine stone due to phosphate ions and calcium ions remaining in the urinal 1 It is a time during which it is easy to suppress what is made in the adapter 41.

S75では、ジェット洗浄器の作動を停止し、洗浄水の進行方向における所定の箇所への液体の吐出が終了する。S74で所定時間ジェット洗浄器が作動すると、ぬめり等の発生を抑制できる。このため、それ以上、ジェット洗浄器の作動を継続する必要がないからである。   In S75, the operation of the jet cleaner is stopped, and the discharge of the liquid to a predetermined location in the traveling direction of the cleaning water ends. When the jet washer is activated for a predetermined time in S74, the occurrence of slime or the like can be suppressed. For this reason, it is not necessary to continue the operation of the jet cleaner.

(作用効果)
実施例2によれば、タイマーを作動させることで、皆が寝静まっている夜中にジェット洗浄器を作動させるというものである。夜中であれば、皆が眠っているため、ジェット洗浄器の音があっても気にならない。
(Function and effect)
According to the second embodiment, the jet cleaner is operated during the night when everyone is asleep by operating the timer. In the middle of the night, everyone is asleep, so you don't mind the sound of the jet washer.

次に図8を参照して実施例3について述べる。実施例3に係る発明は、トイレへの給水部35(図2、図3参照)からの給水1回毎にジェット洗浄器131の作動を制御部70により1回行うというものである。   Next, Embodiment 3 will be described with reference to FIG. In the invention according to the third embodiment, the operation of the jet cleaner 131 is performed once by the control unit 70 every time water is supplied from the water supply unit 35 (see FIGS. 2 and 3) to the toilet.

S81では、トイレの流しがあったか否かを水流センサ132で検知し、検知したデータはI/Fを経由して制御部70に渡され、トイレの流しの有無が判定される。
肯定判定すればS82に進む。S82で否定判定すれば肯定判定するまでこのルーチンを繰り返す。
In S81, the water flow sensor 132 detects whether or not there is a toilet sink, and the detected data is passed to the control unit 70 via the I / F to determine whether or not the toilet sink is present.
If a positive determination is made, the process proceeds to S82. If a negative determination is made in S82, this routine is repeated until a positive determination is made.

S82では、ジェット洗浄器が作動する。
S83では、ジェット洗浄器が作動してから所定時間経過したか否かを判定する。肯定判定する場合は、S75に進む。否定判定する場合は、肯定判定するまでこのルーチンを繰り返す。「ジェット洗浄器が作動してから所定時間」の"所定時間"とは、当該所定時間の間"ホース用ノズル133"が作動している時間である。つまり当該所定時間、ホース用ノズル133が作動したならば、ぬめりや着色汚れの発生を抑制し、さらには臭気の原因を断ち易くできるようになる時間である。加えて、小便器1内に残った尿中のリン酸イオンや、カルシウムイオンが原因となって不溶性の尿石が、小便器1の排水トラップ13と横引き排水管51とを結ぶ排水接続継手アダプタ41内にできるのを抑制し易くなる時間である。
In S82, the jet cleaner is activated.
In S83, it is determined whether or not a predetermined time has elapsed since the operation of the jet cleaner. If a positive determination is made, the process proceeds to S75. If a negative determination is made, this routine is repeated until an affirmative determination is made. The “predetermined time” of the “predetermined time after the operation of the jet cleaner” is a time during which the “hose nozzle 133” is operating for the predetermined time. That is, when the hose nozzle 133 is actuated for the predetermined time, it is a time when it becomes possible to suppress the occurrence of slime and colored stains and to easily eliminate the cause of odor. In addition, the drainage connection joint that connects the drainage trap 13 and the horizontal drainage pipe 51 of the urinal 1 to the insoluble urine stone due to phosphate ions and calcium ions remaining in the urinal 1 It is a time during which it is easy to suppress what is made in the adapter 41.

S84では、ジェット洗浄器の作動を停止する。S83でジェット洗浄器が所定時間作動すると(例えば3分)、ぬめり等の発生を抑制できる。このため、それ以上、ジェット洗浄器の作動を継続する必要がないからである。
また、実施例3では、給水1回毎にジェット洗浄器131の作動を制御部70により1回行う。このため尿石の発生を抑制し易い。
In S84, the operation of the jet washer is stopped. When the jet washer is operated for a predetermined time in S83 (for example, 3 minutes), the occurrence of slime or the like can be suppressed. For this reason, it is not necessary to continue the operation of the jet cleaner.
In the third embodiment, the operation of the jet cleaner 131 is performed once by the control unit 70 every time water is supplied. For this reason, it is easy to suppress generation | occurence | production of a urine stone.

(作用効果)
実施例3では、給水部35からの給水1回毎にジェット洗浄器131の作動を1回行う。このため、ジェット洗浄器131の作動が頻繁に行われるといえるので、ジェット洗浄器131による洗浄性能が高いといえる。
(Function and effect)
In the third embodiment, the operation of the jet cleaner 131 is performed once for each water supply from the water supply unit 35. For this reason, since it can be said that the operation of the jet cleaner 131 is frequently performed, it can be said that the cleaning performance of the jet cleaner 131 is high.

次に図9を参照して実施例4について述べる。この実施例4に係る発明は、トイレの流し回数が所定回数になったなら、制御部70によりジェット洗浄器を作動させるというものである。   Next, Embodiment 4 will be described with reference to FIG. In the invention according to the fourth embodiment, when the number of toilet sinks reaches a predetermined number, the control unit 70 activates the jet cleaner.

S91では、給水部35によるトイレへの流しがあったか否かを判定する。肯定判定すればS92に進む。否定判定した場合は、肯定判定するまでこのルーチンを繰り返す。
S92では、給水部35による流しが何回目かカウンター70bによりカウントする。流しの回数がN回目に等しくなったら肯定判定し、S93に進む。否定判定した場合は、肯定判定するまでこのルーチンを繰り返す。
In S91, it is determined whether or not there is a sink to the toilet by the water supply unit 35. If a positive determination is made, the process proceeds to S92. If a negative determination is made, this routine is repeated until an affirmative determination is made.
In S92, the counter 70b counts the number of times of flowing by the water supply unit 35. If the number of sinks becomes equal to the Nth, an affirmative determination is made, and the process proceeds to S93. If a negative determination is made, this routine is repeated until an affirmative determination is made.

S93ではジェット洗浄器131による作動が実行される。
S94ではジェット洗浄器131が作動してから所定時間(例えば3分)が経過したか否かを判定する。肯定判定すればS95に進む。否定判定した場合は、肯定判定するまでこのルーチンを繰り返す。S94でいう所定時間は、ジェット洗浄器131の作動時間を示す。
S95では、ジェット洗浄器131の作動を停止する。
In S93, the operation by the jet cleaner 131 is executed.
In S94, it is determined whether or not a predetermined time (for example, 3 minutes) has elapsed since the operation of the jet cleaner 131. If a positive determination is made, the process proceeds to S95. If a negative determination is made, this routine is repeated until an affirmative determination is made. The predetermined time in S94 indicates the operation time of the jet cleaner 131.
In S95, the operation of the jet cleaner 131 is stopped.

(作用効果)
給水部35による給水回数が複数回に一回の割合でジェット洗浄器131による洗浄が行われる。このため、節水に寄与する。
(Function and effect)
Cleaning with the jet cleaner 131 is performed at a rate of once every a plurality of times of water supply by the water supply unit 35. For this reason, it contributes to water saving.

1 小便器(水洗式便器)
3 水洗式便器本体
5 ケース体
7 排泄設備
8 脱臭装置
13 排水トラップ
13a 天井面
13b 貫通孔
13c ブシュ
31 受面部
32 ボール部
34 垂れ受部分
35 給水部
36 排水口
41 排水接続継手アダプタ(連結管)
51 横引き排水管
70 制御部
70a タイマー
70b カウンター
100 臭気排出管
102 開口
130 ガスケット
131 ジェット洗浄器(液体吐出手段)
133 ホース用ノズル
134 超高圧ホース
136 フランジ
400 トラップ用接続構造
402 外嵌部
404 内嵌部
406 シールリング
412 内嵌部
413 排水管用接続構造
414 巻着部
414a 自由端
415 シールリング
A 白矢印
a 部位
O 開口
S スペース
SP 空間
1 Urinal (flush toilet)
DESCRIPTION OF SYMBOLS 3 Flush toilet body 5 Case body 7 Excretion equipment 8 Deodorizing device 13 Drain trap 13a Ceiling surface 13b Through hole 13c Bush 31 Receiving surface portion 32 Ball portion 34 Droop receiving portion 35 Water supply portion 36 Drain port 41 Drainage connection joint adapter (connecting pipe)
51 Horizontal Drainage Pipe 70 Control Unit 70a Timer 70b Counter 100 Odor Discharge Pipe 102 Opening 130 Gasket 131 Jet Washer (Liquid Discharge Unit)
133 Hose nozzle 134 Super high pressure hose 136 Flange 400 Trap connection structure 402 Outer fitting part 404 Inner fitting part 406 Seal ring 412 Inner fitting part 413 Drain pipe connection structure 414 Winding part 414a Free end 415 Seal ring A White arrow a Part O opening S space SP space

Claims (6)

水洗式便器本体と、
前記水洗式便器本体からの排水を下流側の管に導く排水管と、
前記水洗式便器本体及び前記排水管を結ぶ連結管と、
少なくとも前記連結管を標的にして液体を吐出する液体吐出手段とを有する水洗式便器。
A flush toilet body,
A drainage pipe for guiding drainage from the flush toilet body to a downstream pipe;
A connecting pipe connecting the flush toilet body and the drain pipe;
A flush toilet comprising at least a liquid discharge means for discharging a liquid targeting the connecting pipe.
前記液体吐出手段は、水洗式便器本体の内部に設置されていることを特徴とする請求項1に記載の水洗式便器。   The flush toilet according to claim 1, wherein the liquid discharge means is installed inside a flush toilet body. 水洗式便器を洗浄する方法であって、
コンピュータが、
洗浄水の流しの有無を示す信号を入力インターフェースから受信するステップと、
流しが有ったと判定されるとタイマーを作動させるステップと、
タイマーの作動開始から第1の所定時間経過したか否かを判定するステップと、
前記第1の所定時間が経過したと判定したら、前記洗浄水の進行方向における所定の箇所に液体を吐出するステップと、
前記液体の吐出後第2の所定時間が経過したら、前記吐出を停止するステップと、を実行する水洗式便器を洗浄する方法。
A method of cleaning a flush toilet,
Computer
Receiving from the input interface a signal indicating the presence or absence of a wash water sink;
A step of operating a timer when it is determined that there is a sink;
Determining whether a first predetermined time has elapsed since the start of the timer;
If it is determined that the first predetermined time has elapsed, a step of discharging liquid to a predetermined location in the traveling direction of the cleaning water;
And a step of stopping the discharge when a second predetermined time has elapsed after the discharge of the liquid.
水洗式便器を洗浄する方法であって、
コンピュータが、
タイマーが現在の時刻を検知するステップと、
タイマーが所定の時刻を過ぎたか否かを判定するステップと、
タイマーが前記所定の時刻を過ぎた場合には、前記水洗式便器の洗浄水の進行方向における所定の箇所に液体を吐出するステップと、
前記液体の吐出後所定時間が経過したか否かを判定するステップと、
前記液体の吐出後所定時間が経過したら、前記吐出を停止するステップと、を実行する水洗式便器を洗浄する方法。
A method of cleaning a flush toilet,
Computer
A step for the timer to detect the current time;
Determining whether the timer has passed a predetermined time; and
When the timer has passed the predetermined time, discharging liquid to a predetermined location in the traveling direction of the wash water of the flush toilet,
Determining whether or not a predetermined time has elapsed after discharging the liquid;
And a step of stopping the discharge when a predetermined time has elapsed after the liquid is discharged.
水洗式便器を洗浄水する方法であって、
コンピュータが、
洗浄水の流しの有無を示す信号を入力インターフェースから受信するステップと、
前記洗浄水の進行方向における所定の箇所に液体を吐出するステップと、
前記液体の吐出後所定時間が経過したか否かを判定するステップと、
前記液体の吐出後所定時間が経過したら、前記吐出を停止するステップと、を実行する水洗式便器を洗浄する方法。
A method for flushing flush toilets,
Computer
Receiving from the input interface a signal indicating the presence or absence of a wash water sink;
Discharging liquid to a predetermined location in the traveling direction of the cleaning water;
Determining whether or not a predetermined time has elapsed after discharging the liquid;
And a step of stopping the discharge when a predetermined time has elapsed after the liquid is discharged.
水洗式便器を洗浄する方法であって、
コンピュータが、
洗浄水の流しの有無を示す信号を入力インターフェースから受信するステップと、
前記流しの回数を数え、当該流しの回数が所定数を越えたか否かを判定するステップと、
前記所定数を越えたと判定したら、前記洗浄水の進行方向における所定の箇所に液体を吐出するステップと、
前記液体の吐出後所定時間が経過したか否かを判定するステップと、
前記吐出を停止するステップと、を実行する水洗式便器を洗浄する方法。
A method of cleaning a flush toilet,
Computer
Receiving from the input interface a signal indicating the presence or absence of a wash water sink;
Counting the number of sinks and determining whether the number of sinks exceeds a predetermined number;
If it is determined that the predetermined number has been exceeded, discharging liquid to a predetermined location in the direction of travel of the cleaning water;
Determining whether or not a predetermined time has elapsed after discharging the liquid;
Stopping the discharge, and washing the flush toilet.
JP2011251135A 2011-11-16 2011-11-16 Flush toilet bowl Pending JP2013104281A (en)

Priority Applications (1)

Application Number Priority Date Filing Date Title
JP2011251135A JP2013104281A (en) 2011-11-16 2011-11-16 Flush toilet bowl

Applications Claiming Priority (1)

Application Number Priority Date Filing Date Title
JP2011251135A JP2013104281A (en) 2011-11-16 2011-11-16 Flush toilet bowl

Publications (1)

Publication Number Publication Date
JP2013104281A true JP2013104281A (en) 2013-05-30

Family

ID=48624043

Family Applications (1)

Application Number Title Priority Date Filing Date
JP2011251135A Pending JP2013104281A (en) 2011-11-16 2011-11-16 Flush toilet bowl

Country Status (1)

Country Link
JP (1) JP2013104281A (en)

Cited By (3)

* Cited by examiner, † Cited by third party
Publication number Priority date Publication date Assignee Title
JP2015083770A (en) * 2013-09-17 2015-04-30 Toto株式会社 Urinal
JP2018096167A (en) * 2016-12-16 2018-06-21 Toto株式会社 Toilet bowl device
JP2023081047A (en) * 2021-11-30 2023-06-09 Toto株式会社 urinal

Citations (4)

* Cited by examiner, † Cited by third party
Publication number Priority date Publication date Assignee Title
JPH01203534A (en) * 1988-02-10 1989-08-16 Toto Ltd Flushing controller of urinal
JP2005171600A (en) * 2003-12-10 2005-06-30 Takafumi Wada Forced drainage system
JP2005180064A (en) * 2003-12-19 2005-07-07 Inax Corp Urinal cleaning device
JP2008025246A (en) * 2006-07-24 2008-02-07 Kubota Ci Kk Pipe cleaning system

Patent Citations (4)

* Cited by examiner, † Cited by third party
Publication number Priority date Publication date Assignee Title
JPH01203534A (en) * 1988-02-10 1989-08-16 Toto Ltd Flushing controller of urinal
JP2005171600A (en) * 2003-12-10 2005-06-30 Takafumi Wada Forced drainage system
JP2005180064A (en) * 2003-12-19 2005-07-07 Inax Corp Urinal cleaning device
JP2008025246A (en) * 2006-07-24 2008-02-07 Kubota Ci Kk Pipe cleaning system

Cited By (3)

* Cited by examiner, † Cited by third party
Publication number Priority date Publication date Assignee Title
JP2015083770A (en) * 2013-09-17 2015-04-30 Toto株式会社 Urinal
JP2018096167A (en) * 2016-12-16 2018-06-21 Toto株式会社 Toilet bowl device
JP2023081047A (en) * 2021-11-30 2023-06-09 Toto株式会社 urinal

Similar Documents

Publication Publication Date Title
CN102220782A (en) Intelligent foam box water flushing urinal sanitary ware
JP6429004B2 (en) Urinal device and urinal unit
TWI655341B (en) Urinal
JP2013104281A (en) Flush toilet bowl
JP5455064B2 (en) urinal
JP2012149415A (en) Urinal
JP7394387B2 (en) Microbubbled water supply system
CN102359166B (en) Water pre-injection type double-seal pedestal pan
KR20110137526A (en) Pneumatic water-saving toilet
JP5692422B2 (en) urinal
CN202850168U (en) Water-saving squatting pan
JP2007224524A (en) Toilet bowl apparatus
JP7104367B2 (en) urinal
CN204826129U (en) Shunting toilet bowl
JP7013949B2 (en) urinal
JP6993609B2 (en) urinal
JP5892454B2 (en) urinal
JP6627257B2 (en) Urinal equipment
JP6677899B2 (en) Urinal equipment
JP2019027191A (en) urinal
CN106388673B (en) A kind of waterless closestool suitable for carrying out comprehensive reutilization to excrement
JP6937994B2 (en) urinal
JP7435030B2 (en) urinal
JP7003475B2 (en) urinal
JP7011218B2 (en) urinal

Legal Events

Date Code Title Description
A621 Written request for application examination

Free format text: JAPANESE INTERMEDIATE CODE: A621

Effective date: 20140930

A977 Report on retrieval

Free format text: JAPANESE INTERMEDIATE CODE: A971007

Effective date: 20150813

A131 Notification of reasons for refusal

Free format text: JAPANESE INTERMEDIATE CODE: A131

Effective date: 20150825

A02 Decision of refusal

Free format text: JAPANESE INTERMEDIATE CODE: A02

Effective date: 20160105