JP2013063535A - Liquid ejection head and image forming apparatus - Google Patents

Liquid ejection head and image forming apparatus Download PDF

Info

Publication number
JP2013063535A
JP2013063535A JP2011202467A JP2011202467A JP2013063535A JP 2013063535 A JP2013063535 A JP 2013063535A JP 2011202467 A JP2011202467 A JP 2011202467A JP 2011202467 A JP2011202467 A JP 2011202467A JP 2013063535 A JP2013063535 A JP 2013063535A
Authority
JP
Japan
Prior art keywords
liquid
filter
common
liquid chamber
flow path
Prior art date
Legal status (The legal status is an assumption and is not a legal conclusion. Google has not performed a legal analysis and makes no representation as to the accuracy of the status listed.)
Withdrawn
Application number
JP2011202467A
Other languages
Japanese (ja)
Inventor
Ryota Matsufuji
良太 松藤
Satoru Hida
悟 飛田
Current Assignee (The listed assignees may be inaccurate. Google has not performed a legal analysis and makes no representation or warranty as to the accuracy of the list.)
Ricoh Co Ltd
Original Assignee
Ricoh Co Ltd
Priority date (The priority date is an assumption and is not a legal conclusion. Google has not performed a legal analysis and makes no representation as to the accuracy of the date listed.)
Filing date
Publication date
Application filed by Ricoh Co Ltd filed Critical Ricoh Co Ltd
Priority to JP2011202467A priority Critical patent/JP2013063535A/en
Publication of JP2013063535A publication Critical patent/JP2013063535A/en
Withdrawn legal-status Critical Current

Links

Images

Landscapes

  • Particle Formation And Scattering Control In Inkjet Printers (AREA)

Abstract

PROBLEM TO BE SOLVED: To prevent a bubble at the downstream side of a filter in a common liquid chamber from being moved a pressure chamber side.SOLUTION: The common liquid chamber 28 includes: a supply-side common liquid chamber 31 to which liquid is supplied from the outside; a discharge-side common liquid chamber 32 which discharges the liquid to the outside; and a common channel 30 communicating with a plurality of pressure chambers 6. The supply-side common liquid chamber 31 communicates with the common channel 30 via a first filter 41, the discharge-side common liquid chamber 32 communicates with the common channel 30 via a second filter 42, and the second filter 42 is positioned higher than the first filter 41 in a height direction.

Description

本発明は液体吐出ヘッド及び画像形成装置に関する。   The present invention relates to a liquid discharge head and an image forming apparatus.

プリンタ、ファクシミリ、複写装置、プロッタ、これらの複合機等の画像形成装置として、例えばインク液滴を吐出する液体吐出ヘッド(液滴吐出ヘッド)からなる記録ヘッドを用いた液体吐出記録方式の画像形成装置、例えばインクジェット記録装置が知られている。   As an image forming apparatus such as a printer, a facsimile, a copying machine, a plotter, or a complex machine of these, for example, a liquid discharge recording type image forming using a recording head composed of a liquid discharge head (droplet discharge head) that discharges ink droplets. Devices such as ink jet recording devices are known.

液体吐出ヘッドにあっては、微細なノズルから液滴を吐出するために、ヘッド流路内に塵や気泡が混入した場合、滴吐出特性が不安定になり、あるいは滴吐出不良が生じる。   In the liquid ejection head, in order to eject droplets from fine nozzles, if dust or bubbles are mixed in the head flow path, the droplet ejection characteristics become unstable or a droplet ejection failure occurs.

そこで、従来、共通液室(共通流路)内に異物を捕集するフィルタ部材を配置したもの(特許文献1)が知られている。   In view of this, conventionally, a filter member (Patent Document 1) in which a filter member that collects foreign matters is disposed in a common liquid chamber (common flow path) is known.

また、フィルタ下流側の液室に、2つの板部材を、間隔を置いて、一部を液体の流れ方向から見て重ねて、斜めに配置することで、気泡を斜め上方に導いて外部に排出させるようにしたもの(特許文献2)も知られている。   In addition, two plate members are placed in the liquid chamber on the downstream side of the filter at an interval, and a part of the two plate members are overlapped when viewed from the liquid flow direction, and are arranged obliquely, thereby introducing the bubbles obliquely upward to the outside. What was made to discharge | emit (patent document 2) is also known.

特開2000−296613号公報JP 2000-296613 A 特開2002−144550号公報JP 2002-144550 A

しかしながら、共通液室内にフィルタ部材を配置した場合、フィルタ下流側に気泡が溜まり易く、しかも、フィルタによって流速が抑えられるために溜まった気泡の排出が難しく、気泡が圧力室やノズルに移動することで滴吐出不良が発生する。   However, when the filter member is arranged in the common liquid chamber, it is easy for bubbles to collect on the downstream side of the filter, and since the flow rate is suppressed by the filter, it is difficult to discharge the accumulated bubbles, and the bubbles move to the pressure chamber and the nozzle. This causes drop ejection failure.

この場合、特許文献2のようにフィルタより下流側に板部材を配置したので、圧力損失が大きくなり、特に高周波駆動するときに圧力室への液体供給が間に合わなくなり、必要な吐出特性が得られなくなるという課題がある。   In this case, since the plate member is disposed on the downstream side of the filter as in Patent Document 2, the pressure loss increases, and particularly when the high frequency driving is performed, the liquid supply to the pressure chamber is not in time, and the necessary discharge characteristics are obtained. There is a problem of disappearing.

本発明は上記の点に鑑みてなされたものであり、共通液室内のフィルタ部材より下流側の気泡が圧力室側に移動することを防止することを目的とする。   The present invention has been made in view of the above points, and an object thereof is to prevent bubbles on the downstream side of the filter member in the common liquid chamber from moving to the pressure chamber side.

上記の課題を解決するため、本発明に係る液体吐出ヘッドは、
液滴を吐出する複数のノズルと、
前記ノズルに連なって通じる複数の圧力室と、
前記複数の圧力室に液体を共通する共通液室と、
前記共通液室に設けられ、液体に含まれる異物を捕集するフィルタと、を備え、
前記共通液室は、
外部から液体が供給される供給側共通液室と、
外部に液体を排出する排出側共通液室と、
前記複数の圧力室に通じる共通流路と、で構成され、
前記供給側共通液室は第1フィルタを介して前記共通流路に通じ、
前記排出側共通液室は第2フィルタを介して前記共通流路に通じ、
前記第1フィルタよりも前記第2フィルタが高さ方向で高い位置に設けられている
構成とした。
In order to solve the above-described problem, a liquid discharge head according to the present invention includes:
A plurality of nozzles for discharging droplets;
A plurality of pressure chambers communicating with the nozzle;
A common liquid chamber sharing a liquid with the plurality of pressure chambers;
A filter provided in the common liquid chamber and collecting foreign substances contained in the liquid,
The common liquid chamber is
A supply side common liquid chamber to which liquid is supplied from the outside;
A common liquid chamber on the discharge side for discharging liquid to the outside;
A common flow path leading to the plurality of pressure chambers,
The supply-side common liquid chamber communicates with the common flow path through a first filter,
The discharge side common liquid chamber communicates with the common flow path through a second filter,
The second filter is provided at a higher position in the height direction than the first filter.

本発明に係る液体吐出ヘッドによれば、共通液室内のフィルタより下流側の気泡が圧力室側に移動することを防止できる。   The liquid discharge head according to the present invention can prevent bubbles on the downstream side of the filter in the common liquid chamber from moving to the pressure chamber side.

本発明の第1実施形態に係る液体吐出ヘッドの分解斜視説明図である。FIG. 3 is an exploded perspective view of the liquid discharge head according to the first embodiment of the present invention. 同ヘッドのノズル配列方向と直交する方向に沿う断面説明図である。It is sectional explanatory drawing in alignment with the direction orthogonal to the nozzle arrangement direction of the head. 同ヘッドの各部材の平面説明図である。It is a plane explanatory view of each member of the head. フィルタ部の第1例の説明に供する平面説明図である。It is plane explanatory drawing with which it uses for description of the 1st example of a filter part. フィルタ部の第2例の説明に供する平面説明図である。It is a plane explanatory view used for description of the 2nd example of a filter part. フィルタ部の貫通孔の異なる例を示す断面説明図である。It is sectional explanatory drawing which shows the example from which the through-hole of a filter part differs. 本発明の第2実施形態に係る液体吐出ヘッドの分解斜視説明図である。FIG. 6 is an exploded perspective view of a liquid discharge head according to a second embodiment of the present invention. 同ヘッドのノズル配列方向と直交する方向に沿う断面説明図である。It is sectional explanatory drawing in alignment with the direction orthogonal to the nozzle arrangement direction of the head. 本発明に係る画像形成装置の一例の機構部を説明する概略側面説明図である。1 is a schematic side view illustrating a mechanism unit of an example of an image forming apparatus according to the present invention. 同機構部の要部平面説明図である。It is principal part plane explanatory drawing of the mechanism part.

以下、本発明の実施形態について添付図面を参照して説明する。本発明の第1実施形態に係る液体吐出ヘッドについて図1ないし図3を参照して説明する。図1は同ヘッドの分解斜視説明図、図2は同ヘッドのノズル配列方向と直交する方向に沿う断面説明図、図3は同ヘッドの各部材の平面説明図である。   Embodiments of the present invention will be described below with reference to the accompanying drawings. A liquid discharge head according to a first embodiment of the present invention will be described with reference to FIGS. FIG. 1 is an exploded perspective view of the head, FIG. 2 is a sectional view along a direction orthogonal to the nozzle arrangement direction of the head, and FIG. 3 is a plan view of each member of the head.

この液体吐出ヘッドは、ノズル板1と、流路板2と、振動板部材3とを接合している。   In the liquid discharge head, the nozzle plate 1, the flow path plate 2, and the vibration plate member 3 are joined.

ノズル板1には、液滴を吐出する複数のノズル4が千鳥状に2列配列されている(図1ないし図3ではノズル列1列分のみを図示している)。このノズル板1は、例えば、ステンレス(例えばSUS316)を用いてプレス加工でノズル4を形成しているが、その他のNi電鋳、ポリイミド樹脂フィルムなどの樹脂、シリコン、及びそれらの組み合わせからなるものなどを用いることができる。また、ノズル面にはメッキ被膜や撥液剤コーティングなどの周知の方法で撥液膜を形成している。このノズル板1は流路板2に接着剤接合している。   A plurality of nozzles 4 for discharging droplets are arranged in a staggered pattern on the nozzle plate 1 (only one nozzle row is shown in FIGS. 1 to 3). The nozzle plate 1 is formed of, for example, stainless steel (for example, SUS316) by press working, and the nozzle plate 1 is made of other resin such as Ni electroforming, polyimide resin film, silicon, and combinations thereof. Etc. can be used. Further, a liquid repellent film is formed on the nozzle surface by a known method such as a plating film or a liquid repellent coating. The nozzle plate 1 is bonded to the flow path plate 2 with an adhesive.

流路板2は、ノズル4に連なって通じる圧力室6、圧力室6に液体を供給する液体供給路となる流体抵抗部7、流体抵抗部7の上流側の液導入部8を形成している。この流路板2は、例えばステンレス(SUS304など)を用いてプレス加工で形成しているが、これに限るものではなく、シリコン基板をエッチングして形成することでもよい。   The flow path plate 2 forms a pressure chamber 6 communicating with the nozzle 4, a fluid resistance portion 7 serving as a liquid supply path for supplying liquid to the pressure chamber 6, and a liquid introduction portion 8 upstream of the fluid resistance portion 7. Yes. The flow path plate 2 is formed by press working using, for example, stainless steel (SUS304 or the like), but is not limited to this, and may be formed by etching a silicon substrate.

振動板部材3は、圧力室6の一部の壁面を変位可能な振動領域3aを有する。また、振動板部材3には、後述する共通液室を構成する共通流路30に臨み、共通流路30と各圧力室6の入口側である液導入部8とを通じる開口部9が形成されている。この振動板部材3は、二層構造をなし、Ni電鋳で形成した。   The diaphragm member 3 has a vibration region 3 a that can displace a part of the wall surface of the pressure chamber 6. The diaphragm member 3 has an opening 9 that faces a common flow path 30 constituting a common liquid chamber, which will be described later, and passes through the common flow path 30 and the liquid introduction portion 8 that is the inlet side of each pressure chamber 6. Has been. The diaphragm member 3 has a two-layer structure and is formed by Ni electroforming.

そして、振動板部材3の圧力室6と反対側には、共通流路部材20と、第1フィルタ部材21と、第2フィルタ部材22及びこのヘッドのフレームを兼ねる共通液室部材23を積層接合し、各圧力室6に液体を供給する共通流路30、供給側共通液室31、排出側共通液室32からなる、第1フィルタ部41、42を有する共通液室28を形成している。共通液室28に関する構成の詳細は後述する。   A common flow path member 20, a first filter member 21, a second filter member 22, and a common liquid chamber member 23 that also serves as a frame of the head are laminated and bonded to the side opposite to the pressure chamber 6 of the diaphragm member 3. Thus, the common liquid chamber 28 having the first filter portions 41 and 42, which includes the common flow path 30 for supplying the liquid to each pressure chamber 6, the supply-side common liquid chamber 31, and the discharge-side common liquid chamber 32, is formed. . Details of the configuration related to the common liquid chamber 28 will be described later.

また、振動板部材3の振動領域3aの圧力室6とは反対側に圧電アクチュエータ11を配置している。圧電アクチュエータ11は、ベース部材13に柱状の圧電素子(圧電柱)を形成した圧電部材12を接合している。圧電部材12の各圧電柱は振動板部材3の振動領域3aに形成された島状凸部3bに接合され、配線部材であるFPC16を介して駆動信号が与えられる。   In addition, a piezoelectric actuator 11 is arranged on the side of the vibration member 3 opposite to the pressure chamber 6 in the vibration region 3a. The piezoelectric actuator 11 is joined to a piezoelectric member 12 in which a columnar piezoelectric element (piezoelectric column) is formed on a base member 13. Each piezoelectric column of the piezoelectric member 12 is joined to the island-shaped convex portion 3b formed in the vibration region 3a of the diaphragm member 3, and a drive signal is given through the FPC 16 which is a wiring member.

圧電部材12はベース部材13に接合固定して溝加工(スリット加工)によって分断することのない溝を形成することで、柱状の圧電素子である複数の圧電柱12Aを形成したものである。また、圧電部材12としては、厚さ10〜50μm/1層のチタン酸ジルコン酸(PZT)と、厚さ数μm/1層の銀・パラジューム(AgPd)からなる内部電極とを交互に積層した積層型圧電部材を用いている。   The piezoelectric member 12 is bonded and fixed to the base member 13 to form grooves that are not divided by groove processing (slit processing), thereby forming a plurality of piezoelectric columns 12A that are columnar piezoelectric elements. Further, as the piezoelectric member 12, zirconate titanate (PZT) having a thickness of 10 to 50 μm / layer and internal electrodes made of silver / palladium (AgPd) having a thickness of several μm / layer were alternately stacked. A laminated piezoelectric member is used.

この圧電アクチュエータ11は、共通流路部材20、第1フィルタ部材21、第2フィルタ部材22、共通液室部材23に設けたアクチュエータ挿入穴19内に挿入されて配置されている。   The piezoelectric actuator 11 is inserted and arranged in an actuator insertion hole 19 provided in the common flow path member 20, the first filter member 21, the second filter member 22, and the common liquid chamber member 23.

この液体吐出ヘッドでは、例えば圧電柱12Aに印加する電圧を基準電位から下げることによって圧電柱12Aが収縮し、振動板部材3の振動領域3aが変形して圧力室6の容積が膨張することで、圧力室6内に液体(インク)が流入し、その後圧電柱12Aに印加する電圧を上げて駆動柱12Aを積層方向に伸長させ、振動領域3aをノズル4方向に変形させて圧力室6内のインクを加圧することで、ノズル4からインク滴が吐出される。   In this liquid ejection head, for example, the voltage applied to the piezoelectric column 12A is lowered from the reference potential, the piezoelectric column 12A contracts, the vibration region 3a of the diaphragm member 3 deforms, and the volume of the pressure chamber 6 expands. Then, the liquid (ink) flows into the pressure chamber 6 and then the voltage applied to the piezoelectric column 12A is increased to extend the drive column 12A in the stacking direction, and the vibration region 3a is deformed in the nozzle 4 direction. Ink droplets are ejected from the nozzles 4 by pressurizing the ink.

そして、圧電柱12Aに印加する電圧を基準電位に戻すことによって振動領域3aが初期位置に復元し、圧力室6が膨張して負圧が発生するので、このとき、共通液室28から圧力室6内にインクが充填される。そこで、ノズル4のメニスカス面の振動が減衰して安定した後、次の液滴吐出のための動作に移行する。   Then, by returning the voltage applied to the piezoelectric column 12A to the reference potential, the vibration region 3a is restored to the initial position, and the pressure chamber 6 expands to generate a negative pressure. 6 is filled with ink. Therefore, after the vibration of the meniscus surface of the nozzle 4 is attenuated and stabilized, the operation proceeds to the next droplet discharge.

なお、このヘッドの駆動方法については上記の例(引き−押し打ち)に限るものではなく、駆動波形の与えた方によって引き打ちや押し打ちなどを行うこともできる。   Note that the driving method of the head is not limited to the above example (drawing-pushing), and striking or pushing can be performed depending on the direction of the drive waveform.

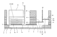
次に、本発明の第1実施形態における共通液室構造の詳細について説明する。   Next, the details of the common liquid chamber structure in the first embodiment of the present invention will be described.

まず、前記述したように、共通液室28を形成するため、各圧力室6に開口部9を介して通じる共通流路30を形成する共通流路部材20と、供給側共通液室31及び排出側共通液室32を形成する共通液室部材23と、共通流路部材20と共通液室部材23との間に介在する第1フィルタ部材21及び第2フィルタ部材22を有している。   First, as described above, in order to form the common liquid chamber 28, the common flow path member 20 that forms the common flow path 30 communicating with each pressure chamber 6 through the opening 9, the common liquid chamber 31 on the supply side, It has the common liquid chamber member 23 which forms the discharge side common liquid chamber 32, and the 1st filter member 21 and the 2nd filter member 22 which are interposed between the common flow path member 20 and the common liquid chamber member 23.

共通液室部材23は、隔壁部34で仕切られた供給側共通液室31と排出側共通液室32を形成している。これらの供給側共通液室31と排出側共通液室32はノズル配列方向に長い形状であって、隔壁部34でノズル配列方向と直交する方向に仕切られている。   The common liquid chamber member 23 forms a supply-side common liquid chamber 31 and a discharge-side common liquid chamber 32 that are partitioned by a partition wall 34. The supply side common liquid chamber 31 and the discharge side common liquid chamber 32 have a shape that is long in the nozzle arrangement direction, and are partitioned by a partition wall 34 in a direction perpendicular to the nozzle arrangement direction.

共通液室部材23には、供給側共通液室31の端部に外部からインクが供給される液供給口35が設けられている。排出側共通液室32の液供給口35とは反対側の端部に外部にインクを排出する液排出口36が設けられている。   The common liquid chamber member 23 is provided with a liquid supply port 35 through which ink is supplied from the outside to the end of the supply side common liquid chamber 31. A liquid discharge port 36 for discharging ink to the outside is provided at the end of the discharge side common liquid chamber 32 opposite to the liquid supply port 35.

また、ノズル配列方向と直交する方向において、供給側共通液室31は、共通流路30の圧力室6の入口側である液導入部8が臨む側に配置され、排出側共通液室32は液導入部8が臨まない側に配置されている。   Further, in the direction orthogonal to the nozzle arrangement direction, the supply-side common liquid chamber 31 is disposed on the side facing the liquid introduction portion 8 that is the inlet side of the pressure chamber 6 of the common flow path 30, and the discharge-side common liquid chamber 32 is It arrange | positions at the side which the liquid introduction part 8 does not face.

第1フィルタ部材21には、供給側共通液室31と共通流路30との間に介在する第1フィルタ部41が設けられている。第2フィルタ部材22には、排出側共通液室32と共通流路30との間に介在する第2フィルタ部42が設けられている。また、第1フィルタ部材21には共通流路30と第2フィルタ部42を通じる開口部45が形成され、第2フィルタ部材22には供給側共通液室31と第1フィルタ部41とを通じる開口部46が形成されている。   The first filter member 21 is provided with a first filter portion 41 interposed between the supply-side common liquid chamber 31 and the common flow path 30. The second filter member 22 is provided with a second filter portion 42 interposed between the discharge side common liquid chamber 32 and the common flow path 30. The first filter member 21 has an opening 45 through the common flow path 30 and the second filter portion 42, and the second filter member 22 passes through the supply-side common liquid chamber 31 and the first filter portion 41. An opening 46 is formed.

ここで、ノズル面が下方に向けた配置される液体吐出時の配置において、第1フィルタ部材21に第2フィルタ部材22が高さ方向で上側に積層されることで、第1フィルタ部41よりも第2フィルタ部42が第1フィルタ部材21の厚み分高さ方向で高い位置に配置される。   Here, in the arrangement at the time of liquid discharge in which the nozzle surface is arranged downward, the second filter member 22 is stacked on the upper side in the height direction on the first filter member 21, so that the first filter unit 41 Also, the second filter portion 42 is disposed at a higher position in the height direction by the thickness of the first filter member 21.

また、共通流路30の第1フィルタ部材21で形成される第2フィルタ部42側の壁面には気泡溜りとなる凹部38が設けられている。この凹部38は、第1フィルタ部41の第2フィルタ部42に対向する開口部45のノズル配列方向と直交する方向の幅を、第2フィルタ部42よりも大きして形成している。   In addition, a recess 38 serving as a bubble reservoir is provided on the wall surface of the common flow path 30 on the second filter portion 42 side formed by the first filter member 21. The recess 38 is formed so that the width of the opening 45 facing the second filter portion 42 of the first filter portion 41 in the direction orthogonal to the nozzle arrangement direction is larger than that of the second filter portion 42.

このように構成したので、この液体吐出ヘッドにインクを初期充填するとき、液供給口35からインクを加圧供給し、ノズル4を図示しない吸引キャップで密封して吸引ポンプなどの吸引手段によってノズル4から吸引を行うことで、ヘッド内流路にインクが満たされ、その後も液供給口35からインクを加圧供給することで、液排出口36からインクを排出させることにより、ヘッド内にインクを充填することができる。   With this configuration, when the ink is initially filled in the liquid discharge head, the ink is pressurized and supplied from the liquid supply port 35, the nozzle 4 is sealed with a suction cap (not shown), and the nozzle is sucked by suction means such as a suction pump. The ink is filled in the flow path in the head by performing suction from 4, and then the ink is discharged from the liquid discharge port 36 by supplying the pressure from the liquid supply port 35 by pressurizing the ink. Can be filled.

ここで、液供給口35から供給されたインクは、第1フィルタ部41を通過して共通流路30から開口部9を経て各圧力室6に流れるとともに、共通流路30から第2フィルタ部42を通じて排出側共通液室32にも流れ込む。   Here, the ink supplied from the liquid supply port 35 passes through the first filter section 41 and flows from the common flow path 30 to the pressure chambers 6 through the openings 9, and from the common flow path 30 to the second filter section. It flows into the discharge side common liquid chamber 32 through 42.

このとき、第1フィルタ部41より下流側に混入した気泡は、浮力によって、共通流路30の圧力室6の入口側(液導入部8側)より離れた第2フィルタ部42側に移動しやすくなり、また、第2フィルタ部42側を通過できない気泡は凹部38に溜められる。   At this time, the air bubbles mixed downstream from the first filter part 41 move to the second filter part 42 side away from the inlet side (liquid introduction part 8 side) of the pressure chamber 6 of the common flow path 30 by buoyancy. In addition, bubbles that cannot pass through the second filter portion 42 are collected in the recess 38.

このようにして、共通流路30から各圧力室6への気泡の移動が抑制されて、気泡詰まりによる圧力損失を低減することができ、所謂ノズル抜け(滴吐出不良や滴吐出不能)のない安定した滴吐出を行うことができる。   In this way, the movement of bubbles from the common flow path 30 to each pressure chamber 6 is suppressed, and pressure loss due to bubble clogging can be reduced, so-called nozzle omission (droplet ejection failure or droplet ejection failure) does not occur. Stable droplet ejection can be performed.

次に、供給側の第1フィルタ及び排出側の第2フィルタの異なる例について図4及び図5を参照して説明する。   Next, different examples of the first filter on the supply side and the second filter on the discharge side will be described with reference to FIGS.

図4に示す第1例は、複数の貫通孔40を千鳥状に配置した例である。また、図5に示す第2例は、複数の貫通孔40を格子状に配置した例である。   The first example shown in FIG. 4 is an example in which a plurality of through holes 40 are arranged in a staggered manner. Further, the second example shown in FIG. 5 is an example in which a plurality of through holes 40 are arranged in a lattice shape.

ここで、貫通孔40は、図6(a)に示すようにテーパ形状、あるいは、同図(b)に示すようにホーン形状に形成している。これらの形状は、例えばNi電鋳工法でフィルタ部材を製作することで容易に形成することができる。   Here, the through hole 40 is formed in a taper shape as shown in FIG. 6A or a horn shape as shown in FIG. These shapes can be easily formed, for example, by manufacturing a filter member by a Ni electroforming method.

この貫通孔40は、平面形状で円形に限るものではなく、多角形状とすることもできる。単位面積当たりの開口率も流体抵抗に大きく影響する要素であり、多角形状とすることで、効率よく貫通孔40を配置することができる。   The through-hole 40 is not limited to a circular shape in plan view, and may be a polygonal shape. The aperture ratio per unit area is also an element that greatly affects the fluid resistance, and the through holes 40 can be efficiently arranged by using a polygonal shape.

貫通孔40の孔径は下流側でノズル4の孔径以下としている。   The diameter of the through hole 40 is set to be equal to or smaller than the diameter of the nozzle 4 on the downstream side.

そして、図4、図5に示すように、第2フィルタ部42の開口率を第1フィルタ部41の開口率よりも大きくしている。つまり、各図(b)に示す第2フィルタ部42の単位面積当たりの貫通孔40の数を、各図(a)に示す第1フィルタ部41の単位面積当たりの貫通孔40の数よりも多くしている。   As shown in FIGS. 4 and 5, the aperture ratio of the second filter portion 42 is made larger than the aperture ratio of the first filter portion 41. That is, the number of through holes 40 per unit area of the second filter portion 42 shown in each drawing (b) is larger than the number of through holes 40 per unit area of the first filter portion 41 shown in each drawing (a). There are many.

このように、排出側の第2フィルタ部42の開口率が供給側の第1フィルタ部41の開口率より大きいことにより、排出側共通液室32への流れが発生しやすくなり、気泡が滞留した場合でも、気泡の浮力によって、圧力室6の入口側から離れた第2フィルタ部42側や気泡溜り38側に気泡が移動し易くなる。   As described above, since the opening ratio of the second filter section 42 on the discharge side is larger than the opening ratio of the first filter section 41 on the supply side, the flow to the discharge side common liquid chamber 32 is likely to occur, and bubbles are retained. Even in this case, the buoyancy of the bubbles makes it easier for the bubbles to move to the second filter portion 42 side or the bubble reservoir 38 side away from the inlet side of the pressure chamber 6.

また、第2フィルタ部42は撥液性を付与している。撥液性は、ノズル面と同様に、メッキ被膜、あるいは撥液剤コーティングなどの周知の方法で撥液膜を形成すること付与している。   Further, the second filter part 42 is provided with liquid repellency. The liquid repellency is imparted by forming a liquid repellent film by a known method such as a plating film or a liquid repellent coating, similarly to the nozzle surface.

このように、排出側の第2フィルタ部42の撥液性を供給側の第1フィルタ部41の撥液性よりも高く(大きく)することで、排出側の第2フィルタ部42側に気泡が滞在し易くなる。これにより、圧力室6の入口側から離れた位置に気泡を滞在させることができ、吐出中やノズル面からの吸引動作時などに圧力室6に気泡が侵入することを低減できる。   In this way, by making the liquid repellency of the second filter part 42 on the discharge side higher (larger) than the liquid repellency of the first filter part 41 on the supply side, bubbles are formed on the second filter part 42 side on the discharge side. Makes it easier to stay. Thereby, it is possible to make the bubbles stay at a position away from the inlet side of the pressure chamber 6, and to reduce the entry of the bubbles into the pressure chamber 6 during discharge or suction operation from the nozzle surface.

次に、本発明の第2実施形態について図7及び図8を参照して説明する。図7は同ヘッドの分解斜視説明図、図8は同ヘッドのノズル配列方向と直交する方向に沿う断面説明図である。   Next, a second embodiment of the present invention will be described with reference to FIGS. FIG. 7 is an exploded perspective view of the head, and FIG. 8 is a cross-sectional view along a direction orthogonal to the nozzle arrangement direction of the head.

本実施形態では、1枚のフィルタ部材24を用いて、このフィルタ部材24に設けたフィルタ43を斜めに傾斜して配置し、供給側共通液室31と共通流路30との間に介在する第1フィルタ部41と、排出側共通液室32と共通流路30との間に介在する第2フィルタ部42とを形成し、第1フィルタ部41よりも第2フィルタ部42を高さ方向で高い位置に配置している。   In the present embodiment, a single filter member 24 is used, and the filter 43 provided on the filter member 24 is disposed obliquely and interposed between the supply-side common liquid chamber 31 and the common flow path 30. A first filter part 41 and a second filter part 42 interposed between the discharge side common liquid chamber 32 and the common flow path 30 are formed, and the second filter part 42 is arranged in the height direction with respect to the first filter part 41. It is placed at a high position.

この場合、共通液室部材23は、ノズル配列方向と直交する方向で、供給側共通液室31の外側の外壁部23A、隔壁部34、排出側共通液室32の外側の外壁部23Bの順に厚みを薄くしている。   In this case, the common liquid chamber member 23 is arranged in the order of the outer wall portion 23A outside the supply side common liquid chamber 31, the partition wall portion 34, and the outer wall portion 23B outside the discharge side common liquid chamber 32 in the direction orthogonal to the nozzle arrangement direction. The thickness is reduced.

このように構成することで、前記第1実施形態と同様の作用効果を得ることができるとともに、部品点数を削減して低コスト化を図れる。しかも、第1フィルタ部41及び第2フィルタ部42が連続して傾斜していることで、第1フィルタ部41の下流側の気泡がスムーズに第2フィルタ部42側に移動するので、スムーズに圧力室6の入口側よりも離れた側へ気泡を移動させることができる。   With this configuration, it is possible to obtain the same operational effects as those of the first embodiment, and it is possible to reduce costs by reducing the number of parts. In addition, since the first filter part 41 and the second filter part 42 are continuously inclined, the air bubbles on the downstream side of the first filter part 41 smoothly move to the second filter part 42 side. Bubbles can be moved to the side farther from the inlet side of the pressure chamber 6.

なお、上記実施形態では、圧電型ヘッドで説明しているが、発熱抵抗体を設けた基板を壁面部材とするサーマル型ヘッドでも、その他静電型ヘッドであっても、同様に本発明を適用することができる。   Although the piezoelectric head is described in the above embodiment, the present invention is similarly applied to a thermal head using a substrate provided with a heating resistor as a wall surface member or other electrostatic head. can do.

また、上述した液体吐出ヘッドとこの液体吐出ヘッドに液体を供給するタンクを一体化することでヘッド一体型液体カートリッジ(カートリッジ一体型ヘッド)を得ることができる。   Also, a head-integrated liquid cartridge (cartridge-integrated head) can be obtained by integrating the above-described liquid discharge head and a tank that supplies liquid to the liquid discharge head.

次に、本発明に係る液体吐出ヘッドを備える本発明に係る画像形成装置の一例について図9及び図10を参照して説明する。なお、図9は同装置の機構部の側面説明図、図10は同機構部の要部平面説明図である。   Next, an example of the image forming apparatus according to the present invention including the liquid discharge head according to the present invention will be described with reference to FIGS. FIG. 9 is an explanatory side view of the mechanism portion of the apparatus, and FIG. 10 is an explanatory plan view of the main portion of the mechanism portion.

この画像形成装置はシリアル型画像形成装置であり、左右の側板221A、221Bに横架したガイド部材である主従のガイドロッド231、232でキャリッジ233を主走査方向に摺動自在に保持し、図示しない主走査モータによってタイミングベルトを介して矢示方向(キャリッジ主走査方向)に移動走査する。   This image forming apparatus is a serial type image forming apparatus, and a carriage 233 is slidably held in the main scanning direction by main and slave guide rods 231 and 232 which are guide members horizontally mounted on the left and right side plates 221A and 221B. The main scanning motor that does not perform moving scanning in the direction indicated by the arrow (carriage main scanning direction) via the timing belt.

このキャリッジ233には、イエロー(Y)、シアン(C)、マゼンタ(M)、ブラック(K)の各色のインク滴を吐出するための本発明に係る液体吐出ヘッドと同ヘッドに供給するインクを収容するタンクを一体化した記録ヘッド234を複数のノズルからなるノズル列を主走査方向と直交する副走査方向に配列し、インク滴吐出方向を下方に向けて装着している。   The carriage 233 is supplied with ink supplied to the same head as the liquid discharge head according to the present invention for discharging ink droplets of each color of yellow (Y), cyan (C), magenta (M), and black (K). A recording head 234 with an integrated tank is arranged in a sub-scanning direction orthogonal to the main scanning direction with a nozzle row composed of a plurality of nozzles, and is mounted with the ink droplet ejection direction facing downward.

記録ヘッド234は、それぞれ2つのノズル列を有し、一方の記録ヘッド234aの一方のノズル列はブラック(K)の液滴を、他方のノズル列はシアン(C)の液滴を、他方の記録ヘッド234bの一方のノズル列はマゼンタ(M)の液滴を、他方のノズル列はイエロー(Y)の液滴を、それぞれ吐出する。なお、ここでは2ヘッド構成で4色の液滴を吐出する構成としているが、1ヘッド当たり4ノズル列配置とし、1個のヘッドで4色の各色を吐出させることもできる。   Each of the recording heads 234 has two nozzle rows, and one nozzle row of one recording head 234a has a black (K) droplet, the other nozzle row has a cyan (C) droplet, and the other nozzle row has the other nozzle row. One nozzle row of the recording head 234b discharges magenta (M) droplets, and the other nozzle row discharges yellow (Y) droplets. Here, a configuration in which droplets of four colors are ejected in a two-head configuration is used, but it is also possible to arrange four nozzle rows per head and eject each of the four colors with one head.

また、記録ヘッド234のタンク235には各色の供給チューブ236を介して、供給ユニット224によって各色のインクカートリッジ210から各色のインクが補充供給される。   Further, the ink of each color is replenished and supplied from the ink cartridge 210 of each color to the tank 235 of the recording head 234 via the supply tube 236 of each color.

一方、給紙トレイ202の用紙積載部(圧板)241上に積載した用紙242を給紙するための給紙部として、用紙積載部241から用紙242を1枚ずつ分離給送する半月コロ(給紙コロ)243及び給紙コロ243に対向し、摩擦係数の大きな材質からなる分離パッド244を備え、この分離パッド244は給紙コロ243側に付勢されている。   On the other hand, as a paper feeding unit for feeding the paper 242 stacked on the paper stacking unit (pressure plate) 241 of the paper feed tray 202, a half-moon roller (feeding) that separates and feeds the paper 242 one by one from the paper stacking unit 241. A separation pad 244 made of a material having a large coefficient of friction is provided opposite to the sheet roller 243 and the sheet feeding roller 243, and the separation pad 244 is urged toward the sheet feeding roller 243 side.

そして、この給紙部から給紙された用紙242を記録ヘッド234の下方側に送り込むために、用紙242を案内するガイド245と、カウンタローラ246と、搬送ガイド部材247と、先端加圧コロ249を有する押さえ部材248とを備えるとともに、給送された用紙242を静電吸着して記録ヘッド234に対向する位置で搬送するための搬送手段である搬送ベルト251を備えている。   A guide 245 for guiding the paper 242, a counter roller 246, a conveyance guide member 247, and a tip pressure roller 249 are used to feed the paper 242 fed from the paper feeding unit to the lower side of the recording head 234. And a holding belt 251 which is a conveying means for electrostatically attracting the fed paper 242 and conveying it at a position facing the recording head 234.

この搬送ベルト251は、無端状ベルトであり、搬送ローラ252とテンションローラ253との間に掛け渡されて、ベルト搬送方向(副走査方向)に周回するように構成している。また、この搬送ベルト251の表面を帯電させるための帯電手段である帯電ローラ256を備えている。この帯電ローラ256は、搬送ベルト251の表層に接触し、搬送ベルト251の回動に従動して回転するように配置されている。この搬送ベルト251は、図示しない副走査モータによってタイミングを介して搬送ローラ252が回転駆動されることによってベルト搬送方向に周回移動する。   The conveyor belt 251 is an endless belt, and is configured to wrap around the conveyor roller 252 and the tension roller 253 so as to circulate in the belt conveyance direction (sub-scanning direction). In addition, a charging roller 256 that is a charging unit for charging the surface of the transport belt 251 is provided. The charging roller 256 is disposed so as to come into contact with the surface layer of the conveyor belt 251 and to rotate following the rotation of the conveyor belt 251. The transport belt 251 rotates in the belt transport direction when the transport roller 252 is rotationally driven through timing by a sub-scanning motor (not shown).

さらに、記録ヘッド234で記録された用紙242を排紙するための排紙部として、搬送ベルト251から用紙242を分離するための分離爪261と、排紙ローラ262及び排紙コロ263とを備え、排紙ローラ262の下方に排紙トレイ203を備えている。   Further, as a paper discharge unit for discharging the paper 242 recorded by the recording head 234, a separation claw 261 for separating the paper 242 from the transport belt 251, a paper discharge roller 262, and a paper discharge roller 263 are provided. A paper discharge tray 203 is provided below the paper discharge roller 262.

また、装置本体の背面部には両面ユニット271が着脱自在に装着されている。この両面ユニット271は搬送ベルト251の逆方向回転で戻される用紙242を取り込んで反転させて再度カウンタローラ246と搬送ベルト251との間に給紙する。また、この両面ユニット271の上面は手差しトレイ272としている。   A double-sided unit 271 is detachably attached to the back surface of the apparatus main body. The duplex unit 271 takes in the paper 242 returned by the reverse rotation of the transport belt 251, reverses it, and feeds it again between the counter roller 246 and the transport belt 251. The upper surface of the duplex unit 271 is a manual feed tray 272.

さらに、キャリッジ233の走査方向一方側の非印字領域には、記録ヘッド234のノズルの状態を維持し、回復するための回復手段を含む本発明に係るヘッドの維持回復装置である維持回復機構281を配置している。この維持回復機構281には、記録ヘッド234の各ノズル面をキャピングするための各キャップ部材(以下「キャップ」という。)282a、282b(区別しないときは「キャップ282」という。)と、ノズル面をワイピングするためのブレード部材であるワイパーブレード283と、増粘した記録液を排出するために記録に寄与しない液滴を吐出させる空吐出を行うときの液滴を受ける空吐出受け284などを備えている。   Further, a maintenance / recovery mechanism 281 that is a head maintenance / recovery device according to the present invention includes a recovery means for maintaining and recovering the nozzle state of the recording head 234 in the non-printing area on one side of the carriage 233 in the scanning direction. Is arranged. The maintenance / recovery mechanism 281 includes cap members (hereinafter referred to as “caps”) 282a and 282b (hereinafter referred to as “caps 282” when not distinguished) for capping each nozzle surface of the recording head 234, and nozzle surfaces. A wiper blade 283 that is a blade member for wiping the ink, and an empty discharge receiver 284 that receives liquid droplets for discharging the liquid droplets that do not contribute to recording in order to discharge the thickened recording liquid. ing.

また、キャリッジ233の走査方向他方側の非印字領域には、記録中などに増粘した記録液を排出するために記録に寄与しない液滴を吐出させる空吐出を行うときの液滴を受ける空吐出受け288を配置し、この空吐出受け288には記録ヘッド234のノズル列方向に沿った開口部289などを備えている。   Further, in the non-printing area on the other side in the scanning direction of the carriage 233, there is an empty space for receiving a liquid droplet when performing an empty discharge for discharging a liquid droplet that does not contribute to the recording in order to discharge the recording liquid thickened during the recording. A discharge receiver 288 is disposed, and the idle discharge receiver 288 is provided with an opening 289 along the nozzle row direction of the recording head 234 and the like.

このように構成したこの画像形成装置においては、給紙トレイ202から用紙242が1枚ずつ分離給紙され、略鉛直上方に給紙された用紙242はガイド245で案内され、搬送ベルト251とカウンタローラ246との間に挟まれて搬送され、更に先端を搬送ガイド237で案内されて先端加圧コロ249で搬送ベルト251に押し付けられ、略90°搬送方向を転換される。   In this image forming apparatus configured as described above, the sheets 242 are separated and fed one by one from the sheet feeding tray 202, and the sheet 242 fed substantially vertically upward is guided by the guide 245, and is conveyed to the conveyor belt 251 and the counter. It is sandwiched between the rollers 246 and conveyed, and further, the leading end is guided by the conveying guide 237 and pressed against the conveying belt 251 by the leading end pressing roller 249, and the conveying direction is changed by approximately 90 °.

このとき、帯電ローラ256に対してプラス出力とマイナス出力とが交互に繰り返すように、つまり交番する電圧が印加され、搬送ベルト251が交番する帯電電圧パターン、すなわち、周回方向である副走査方向に、プラスとマイナスが所定の幅で帯状に交互に帯電されたものとなる。このプラス、マイナス交互に帯電した搬送ベルト251上に用紙242が給送されると、用紙242が搬送ベルト251に吸着され、搬送ベルト251の周回移動によって用紙242が副走査方向に搬送される。   At this time, a positive output and a negative output are alternately applied to the charging roller 256, that is, an alternating voltage is applied, and a charging voltage pattern in which the conveying belt 251 alternates, that is, in the sub-scanning direction that is the circumferential direction. , Plus and minus are alternately charged in a band shape with a predetermined width. When the sheet 242 is fed onto the conveyance belt 251 charged alternately with plus and minus, the sheet 242 is attracted to the conveyance belt 251, and the sheet 242 is conveyed in the sub scanning direction by the circumferential movement of the conveyance belt 251.

そこで、キャリッジ233を移動させながら画像信号に応じて記録ヘッド234を駆動することにより、停止している用紙242にインク滴を吐出して1行分を記録し、用紙242を所定量搬送後、次の行の記録を行う。記録終了信号又は用紙242の後端が記録領域に到達した信号を受けることにより、記録動作を終了して、用紙242を排紙トレイ203に排紙する。   Therefore, by driving the recording head 234 according to the image signal while moving the carriage 233, ink droplets are ejected onto the stopped paper 242 to record one line, and after the paper 242 is conveyed by a predetermined amount, Record the next line. Upon receiving a recording end signal or a signal that the trailing edge of the paper 242 has reached the recording area, the recording operation is finished and the paper 242 is discharged onto the paper discharge tray 203.

このように、この画像形成装置では、本発明に係る液体吐出ヘッドを記録ヘッドとして備えるので、高画質画像を安定して形成することができる。   As described above, since the image forming apparatus includes the liquid discharge head according to the present invention as a recording head, a high-quality image can be stably formed.

なお、本願において、「用紙」とは材質を紙に限定するものではなく、OHP、布、ガラス、基板などを含み、インク滴、その他の液体などが付着可能なものの意味であり、被記録媒体、記録媒体、記録紙、記録用紙などと称されるものを含む。また、画像形成、記録、印字、印写、印刷はいずれも同義語とする。   In the present application, the “paper” is not limited to paper, but includes OHP, cloth, glass, a substrate, etc., and means a material to which ink droplets or other liquids can be attached. , Recording media, recording paper, recording paper, and the like. In addition, image formation, recording, printing, printing, and printing are all synonymous.

また、「画像形成装置」は、紙、糸、繊維、布帛、皮革、金属、プラスチック、ガラス、木材、セラミックス等の媒体に液体を吐出して画像形成を行う装置を意味し、また、「画像形成」とは、文字や図形等の意味を持つ画像を媒体に対して付与することだけでなく、パターン等の意味を持たない画像を媒体に付与すること(単に液滴を媒体に着弾させること)をも意味する。   The “image forming apparatus” means an apparatus that forms an image by discharging liquid onto a medium such as paper, thread, fiber, fabric, leather, metal, plastic, glass, wood, ceramics, etc. “Formation” means not only giving an image having a meaning such as a character or a figure to a medium but also giving an image having no meaning such as a pattern to the medium (simply causing a droplet to land on the medium). ) Also means.

また、「インク」とは、特に限定しない限り、インクと称されるものに限らず、記録液、定着処理液、液体などと称されるものなど、画像形成を行うことができるすべての液体の総称として用い、例えば、DNA試料、レジスト、パターン材料、樹脂なども含まれる。   The “ink” is not limited to an ink unless otherwise specified, but includes any liquid that can form an image, such as a recording liquid, a fixing processing liquid, or a liquid. Used generically, for example, includes DNA samples, resists, pattern materials, resins, and the like.

また、「画像」とは平面的なものに限らず、立体的に形成されたものに付与された画像、また立体自体を三次元的に造形して形成された像も含まれる。   In addition, the “image” is not limited to a planar image, and includes an image given to a three-dimensionally formed image and an image formed by three-dimensionally modeling a solid itself.

また、画像形成装置には、特に限定しない限り、シリアル型画像形成装置及びライン型画像形成装置のいずれも含まれる。   Further, the image forming apparatus includes both a serial type image forming apparatus and a line type image forming apparatus, unless otherwise limited.

1 ノズル板
2 流路板
3 振動板部材
4 ノズル
6 圧力室
8 液導入部
11 圧電アクチュエータ
20 共通流路部材
21 第1フィルタ部材
22 第2フィルタ部材
23 共通液室部材
24 フィルタ部材
28 共通液室
30 共通流路
31 供給側共通液室
32 排出側共通液室
41 第1フィルタ部
42 第2フィルタ部
43 フィルタ
233 キャリッジ
234a、234b 記録ヘッド
DESCRIPTION OF SYMBOLS 1 Nozzle plate 2 Flow path plate 3 Vibration board member 4 Nozzle 6 Pressure chamber 8 Liquid introduction part 11 Piezoelectric actuator 20 Common flow path member 21 1st filter member 22 2nd filter member 23 Common liquid chamber member 24 Filter member 28 Common liquid chamber DESCRIPTION OF SYMBOLS 30 Common flow path 31 Supply side common liquid chamber 32 Discharge side common liquid chamber 41 1st filter part 42 2nd filter part 43 Filter 233 Carriage 234a, 234b Recording head

Claims (8)

液滴を吐出する複数のノズルと、
前記ノズルに連なって通じる複数の圧力室と、
前記複数の圧力室に液体を共通する共通液室と、
前記共通液室に設けられ、液体に含まれる異物を捕集するフィルタと、を備え、
前記共通液室は、
外部から液体が供給される供給側共通液室と、
外部に液体を排出する排出側共通液室と、
前記複数の圧力室に通じる共通流路と、で構成され、
前記供給側共通液室は第1フィルタ部を介して前記共通流路に通じ、
前記排出側共通液室は第2フィルタ部を介して前記共通流路に通じ、
前記第1フィルタ部よりも前記第2フィルタ部が高さ方向で高い位置に設けられている
ことを特徴とする液体吐出ヘッド。
A plurality of nozzles for discharging droplets;
A plurality of pressure chambers communicating with the nozzle;
A common liquid chamber sharing a liquid with the plurality of pressure chambers;
A filter provided in the common liquid chamber and collecting foreign substances contained in the liquid,
The common liquid chamber is
A supply side common liquid chamber to which liquid is supplied from the outside;
A common liquid chamber on the discharge side for discharging liquid to the outside;
A common flow path leading to the plurality of pressure chambers,
The supply-side common liquid chamber communicates with the common flow path through the first filter section,
The discharge side common liquid chamber communicates with the common flow path through a second filter portion,
The liquid ejection head, wherein the second filter unit is provided at a higher position in the height direction than the first filter unit.
前記第1フィルタ部と前記第2フィルタ部は別部材であり、高さ方向で段差をおいて配置されていることを特徴とする請求項1に記載の液体吐出ヘッド。   2. The liquid ejection head according to claim 1, wherein the first filter portion and the second filter portion are separate members and are arranged with a step in the height direction. 前記第1フィルタ部と前記第2フィルタ部は1つの部材であり、前記第2フィルタ部が高さ方向で高くなるように傾斜して配置されていることを特徴とする請求項1に記載の液体吐出ヘッド。   The said 1st filter part and the said 2nd filter part are one member, and it arrange | positions so that the said 2nd filter part may become high in a height direction, It is characterized by the above-mentioned. Liquid discharge head. ノズル配列方向と直交する方向において、前記供給側共通液室は前記共通流路の前記圧力室の入口側が臨む側に配置され、前記排出側共通液室は前記共通流路の前記圧力室への入口側が臨まない側に配置されていることを特徴とする請求項1ないし3のいずれかに記載の液体吐出ヘッド。   In the direction orthogonal to the nozzle arrangement direction, the supply-side common liquid chamber is disposed on the side of the common flow path facing the inlet side of the pressure chamber, and the discharge-side common liquid chamber is connected to the pressure chamber of the common flow path. 4. The liquid discharge head according to claim 1, wherein the liquid discharge head is disposed on a side where the inlet side does not face. 前記共通流路の前記第2フィルタ部側の壁面には気泡溜り部が形成されていることを特徴とする請求項1ないし4のいずれかに記載の液体吐出ヘッド。   5. The liquid ejection head according to claim 1, wherein a bubble reservoir is formed on a wall surface of the common flow path on the second filter portion side. 前記第2フィルタ部の開口率は前記第1フィルタ部の開口率よりも大きいことを特徴とする請求項1ないし5のいずれかに記載の液体吐出ヘッド。   6. The liquid ejection head according to claim 1, wherein an aperture ratio of the second filter portion is larger than an aperture ratio of the first filter portion. 前記第2フィルタ部の撥液性が前記第1フィルタ部の撥液性よりも大きいことを特徴とする請求項1ないし6のいずれかに記載の液体吐出ヘッド。   The liquid discharge head according to claim 1, wherein the liquid repellency of the second filter portion is greater than the liquid repellency of the first filter portion. 請求項1ないし7のいずれかに記載の液体吐出ヘッドを備えていることを特徴とする画像形成装置。   An image forming apparatus comprising the liquid discharge head according to claim 1.
JP2011202467A 2011-09-15 2011-09-15 Liquid ejection head and image forming apparatus Withdrawn JP2013063535A (en)

Priority Applications (1)

Application Number Priority Date Filing Date Title
JP2011202467A JP2013063535A (en) 2011-09-15 2011-09-15 Liquid ejection head and image forming apparatus

Applications Claiming Priority (1)

Application Number Priority Date Filing Date Title
JP2011202467A JP2013063535A (en) 2011-09-15 2011-09-15 Liquid ejection head and image forming apparatus

Publications (1)

Publication Number Publication Date
JP2013063535A true JP2013063535A (en) 2013-04-11

Family

ID=48187522

Family Applications (1)

Application Number Title Priority Date Filing Date
JP2011202467A Withdrawn JP2013063535A (en) 2011-09-15 2011-09-15 Liquid ejection head and image forming apparatus

Country Status (1)

Country Link
JP (1) JP2013063535A (en)

Cited By (3)

* Cited by examiner, † Cited by third party
Publication number Priority date Publication date Assignee Title
CN109484032A (en) * 2017-09-13 2019-03-19 精工爱普生株式会社 Liquid ejecting head and its manufacturing method, liquid injection apparatus and piezoelectric device
JP2019130872A (en) * 2018-02-02 2019-08-08 株式会社リコー Liquid ejection head, liquid ejection unit, and device ejecting liquid
JP2019155834A (en) * 2018-03-16 2019-09-19 株式会社リコー Liquid discharge head, liquid discharge unit, and liquid discharging device

Cited By (4)

* Cited by examiner, † Cited by third party
Publication number Priority date Publication date Assignee Title
CN109484032A (en) * 2017-09-13 2019-03-19 精工爱普生株式会社 Liquid ejecting head and its manufacturing method, liquid injection apparatus and piezoelectric device
JP2019130872A (en) * 2018-02-02 2019-08-08 株式会社リコー Liquid ejection head, liquid ejection unit, and device ejecting liquid
JP2019155834A (en) * 2018-03-16 2019-09-19 株式会社リコー Liquid discharge head, liquid discharge unit, and liquid discharging device
JP7069889B2 (en) 2018-03-16 2022-05-18 株式会社リコー Liquid discharge head, liquid discharge unit, liquid discharge device

Similar Documents

Publication Publication Date Title
JP5375669B2 (en) Liquid ejection head, liquid droplet ejection apparatus, and image forming apparatus
JP5754188B2 (en) Liquid ejection head and image forming apparatus
JP5954565B2 (en) Liquid ejection head and image forming apparatus
JP2015186901A (en) Liquid ejection head and image forming apparatus
JP6256107B2 (en) Liquid ejection head and image forming apparatus
JP6011015B2 (en) Liquid ejection head and image forming apparatus
JP6119276B2 (en) Liquid ejection head and image forming apparatus
JP6205866B2 (en) Liquid ejection head and image forming apparatus
JP5500017B2 (en) Liquid ejection head and image forming apparatus
JP5943292B2 (en) Liquid ejection head, image forming apparatus, and liquid ejection head manufacturing method
JP5863009B2 (en) Droplet discharge head and image forming apparatus
JP2013063535A (en) Liquid ejection head and image forming apparatus
JP2013063552A (en) Liquid discharge head and image forming apparatus
JP2012171113A (en) Ink jet head, droplet discharge device and image forming device
JP5935597B2 (en) Liquid ejection head and image forming apparatus
JP6119320B2 (en) Liquid ejection head and image forming apparatus
JP5471459B2 (en) Liquid ejection head and image forming apparatus
JP5633265B2 (en) Liquid ejection head and image forming apparatus
JP5970883B2 (en) Liquid ejection head and image forming apparatus
JP5857559B2 (en) Liquid ejection head and image forming apparatus
JP2015168189A (en) Liquid discharge head and image forming apparatus
JP6364724B2 (en) Liquid ejection head and image forming apparatus
JP2012192707A (en) Liquid ejecting head and image forming apparatus
JP5957985B2 (en) Liquid ejection head and image forming apparatus
JP2015054445A (en) Liquid discharge head and image formation apparatus

Legal Events

Date Code Title Description
A300 Withdrawal of application because of no request for examination

Free format text: JAPANESE INTERMEDIATE CODE: A300

Effective date: 20141202