JP2013014879A - 建具 - Google Patents

建具 Download PDF

Info

Publication number
JP2013014879A
JP2013014879A JP2011146258A JP2011146258A JP2013014879A JP 2013014879 A JP2013014879 A JP 2013014879A JP 2011146258 A JP2011146258 A JP 2011146258A JP 2011146258 A JP2011146258 A JP 2011146258A JP 2013014879 A JP2013014879 A JP 2013014879A
Authority
JP
Japan
Prior art keywords
support piece
lower frame
downwardly extending
surface material
frame member
Prior art date
Legal status (The legal status is an assumption and is not a legal conclusion. Google has not performed a legal analysis and makes no representation as to the accuracy of the status listed.)
Granted
Application number
JP2011146258A
Other languages
English (en)
Other versions
JP5638474B2 (ja
Inventor
Hiroki Takahashi
裕樹 高橋
Takeshi Taguchi
岳 田口
Masayuki Kubota
雅之 久保田
Current Assignee (The listed assignees may be inaccurate. Google has not performed a legal analysis and makes no representation or warranty as to the accuracy of the list.)
YKK AP Inc
Original Assignee
YKK AP Inc
Priority date (The priority date is an assumption and is not a legal conclusion. Google has not performed a legal analysis and makes no representation as to the accuracy of the date listed.)
Filing date
Publication date
Application filed by YKK AP Inc filed Critical YKK AP Inc
Priority to JP2011146258A priority Critical patent/JP5638474B2/ja
Publication of JP2013014879A publication Critical patent/JP2013014879A/ja
Application granted granted Critical
Publication of JP5638474B2 publication Critical patent/JP5638474B2/ja
Expired - Fee Related legal-status Critical Current
Anticipated expiration legal-status Critical

Links

Images

Landscapes

  • Door And Window Frames Mounted To Openings (AREA)

Abstract

【課題】部品点数が増大することを抑制しつつ、意匠性の確保を図るとともに、水密性及び気密性を良好に保持し、面材の開閉動作を良好なものすることができる建具を提供する。
【解決手段】下枠部材12を有した開口枠とガラス窓と下枠部材12を支持するブラケット部材とを備え、ブラケット部材は、下延支持片と室外方向に向けて延在し、かつ下枠部材12に係合した外延支持片32とを有し、下延支持片が下枠部材12を形成する下延ヒレ部123を挟み込んで躯体1に締結部材により締結されることにより、躯体1の開口縁部に開口枠が取り付けられ、下延ヒレ部123の所定個所には、切欠が形成され、下延支持片は、下延ヒレ部123より下方において躯体1に接触する接触端部3121を有しており、接触端部3121を支点として切欠に対向する部分が他の部分よりも躯体1に近接するようネジNにより締結される。
【選択図】図6

Description

本発明は、躯体の開口縁部に取り付けられた建具に関するものである。
従来、引違い窓のような開口枠に対して面材である障子を開閉可能に支持させた建具においては、その一部が躯体より室外側に張り出した状態で該躯体の開口縁部に取り付けられたものが知られている。このような建具では、開口枠を構成する上枠部材、下枠部材及び一対の縦枠部材が例えば樹脂材等から形成される場合、例えばアルミニウム材等からなるブラケット部材で下枠部材の略全長を躯体の外壁面に取り付けるようにしているが、下枠部材の中央部分が障子の重量により垂れ下がることがある。このように下枠部材の中央部分が垂れ下がると、水密性及び気密性が損なわれたり、障子の開閉動作に不具合を生じたりすることがある。また、該躯体の開口縁部が地面に対して垂直ではないと、下枠部材を躯体へ取り付けたときに下枠部材の室外側部が垂れ下がり状態になり、上述した不具合がより大きく生ずることもある。
そこで、下枠部材の垂れ下がりを防止するために該当個所に専用の金具を取り付けるようにした建具が提案されている(例えば、特許文献1参照)。
実公平6−29431号公報
ところが、上述したように専用の金具を用いることは部品点数が増大することとなり、しかも専用の金具が外観に現れることで意匠性が劣ることがあった。
本発明は、上記実情に鑑みて、部品点数が増大することを抑制しつつ、意匠性の確保を図るとともに、水密性及び気密性を良好に保持し、面材の開閉動作を良好なものすることができる建具を提供することを目的とする。
上記目的を達成するために、本発明の請求項1に係る建具は、下枠部材を有した開口枠と、この開口枠に支持される面材と、前記下枠部材を支持するブラケット部材とを備えた建具であって、前記ブラケット部材は、下方に向けて延在する下延支持片と、前記下延支持片の上部より室外方向に向けて延在し、かつ前記下枠部材に係合した外延支持片とを有し、前記ブラケット部材の下延支持片が、前記下枠部材を形成して下方に向けて延在する下延ヒレ部を挟み込んで躯体に締結部材により締結されることにより、前記躯体の開口縁部に前記開口枠が取り付けられ、前記下延ヒレ部の所定個所には、切欠が形成され、前記下延支持片は、前記下延ヒレ部より下方において前記躯体に接触する接触部を有しており、該接触部を支点として前記切欠に対向する部分が他の部分よりも前記躯体に近接するよう締結部材により締結されたことを特徴とする。
これによれば、ブラケット部材の外延支持片が室外側に向けて漸次上方に傾斜した姿勢となり、下枠部材の所定個所をやや上方に持ち上げた形態にすることができ、下枠部材の垂れ下がりを防止できる。また、下枠部材における下延ヒレ部の所定個所に切欠を形成するだけなので、従来のように専用の金具を用いることもなく、部品点数が増大することもない。しかも、ブラケット部材自体は従来から用いられているものであり、意匠性が劣ることもない。更に、かかる切欠はブラケット部材に覆われているので外観に現れることもない。
また、本発明の請求項2に係る建具は、上述した請求項1において、前記面材は、前記開口枠にスライド開閉自在に支持されたことを特徴とする。
これによれば、片引き窓や引き違い窓の下枠部材の垂れ下がりを防止できる。
また、本発明の請求項3に係る建具は、上述した請求項1又は請求項2において、前記面材は、室内側面材と室外側面材とを有し、これら室内側面材と室外側面材とが前記開口枠に引き違いで建て込まれた建具であって、前記切欠は、前記室内側面材と前記室外側面材との召合せ部分の少なくとも下方に位置する部分に形成されたことを特徴とする。
これによれば、室内側面材と室外側面材とが引き違いで建て込まれた引き違い窓において、下枠部材に面材重量が最も大きくかかる召合せ部分(窓中央部)の近傍においても、その個所に切欠部を形成して下枠部材の所定個所をやや上方に持ち上げた形態にすることができ、下枠部材の垂れ下がりを防止できる。
また、本発明の請求項4に係る建具は、下枠部材を有した開口枠と、この開口枠に支持される面材と、前記下枠部材を支持するブラケット部材とを備えた建具であって、前記ブラケット部材は、下方に向けて延在する下延支持片と、前記下延支持片の上部より室外方向に向けて延在し、かつ前記下枠部材に係合した外延支持片とを有し、前記ブラケット部材の下延支持片が、前記下枠部材を形成して下方に向けて延在する下延ヒレ部を挟み込んで躯体に締結部材により締結されることにより、前記躯体の開口縁部に前記開口枠が取り付けられ、前記下延支持片は、前記下延ヒレ部より下方において前記躯体に接触する接触部を有しているとともに、所定の対象個所に厚みが他の個所よりも小さい薄肉部が形成されており、該接触部を支点として前記薄肉部が前記下延ヒレ部に近接するよう締結部材により締結されたことを特徴とする。
これによれば、ブラケット部材の外延支持片が室外側に向けて漸次上方に傾斜した姿勢となり、下枠部材の所定個所をやや上方に持ち上げた形態にすることができ、下枠部材の垂れ下がりを防止できる。また、ブラケット部材における下延支持片の所定の対象個所の厚みを他の個所よりも小さくするだけなので、従来のように専用の金具を用いることもなく、部品点数が増大することもない。しかも、ブラケット部材自体は従来から用いられているものであり、意匠性が劣ることもない。
また、本発明の請求項5に係る建具は、上述した請求項4において、前記面材は、前記開口枠にスライド開閉自在に支持されたことを特徴とする。
これによれば、片引き窓や引き違い窓の下枠部材の垂れ下がりを防止できる。
また、本発明の請求項6に係る建具は、上述した請求項4又は請求項5において、前記面材は、室内側面材と室外側面材とを有し、これら室内側面材と室外側面材とが前記開口枠に引き違いで建て込まれた建具であって、前記薄肉部は、前記室内側面材と前記室外側面材との召合せ部分の少なくとも下方に位置する部分に形成されたことを特徴とする。
これによれば、室内側面材と室外側面材とが引き違いで建て込まれた引き違い窓において、下枠部材に面材重量が最も大きくかかる召合せ部分(窓中央部)の近傍においても、その個所に切欠部を形成して下枠部材の所定個所をやや上方に持ち上げた形態にすることができ、下枠部材の垂れ下がりを防止できる。
本発明によれば、部品点数が増大することを抑制しつつ、意匠性の確保を図るとともに、水密性及び気密性を良好に保持し、面材の開閉動作を良好なものすることができるという効果を奏する。
図1は、本発明の実施の形態1である建具を室外側から見た場合を簡略的に示す外観図である。 図2は、本発明の実施の形態1である建具の縦断面図である。 図3は、本発明の実施の形態1である建具の横断面図である。 図4は、図1に示した開口枠を室外側から見た場合を示す説明図である。 図5は、図1に示した建具の下枠部材の中央領域を拡大して示す縦断面図である。 図6は、図5に示した下枠部材の中央領域におけるブラケット部材の取り付けを模式的に示す説明図である。 図7は、本発明の実施の形態2である建具を室外側から見た場合を簡略的に示す外観図である。 図8は、図7におけるA−A線断面図である。 図9は、図7におけるB−B線断面図である。 図10は、図9に示した下枠部材の中央領域におけるブラケット部材の取り付けを模式的に示す説明図である。
以下に添付図面を参照して、本発明に係る建具の好適な実施の形態について詳細に説明する。
<実施の形態1>
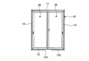
図1〜図3は、それぞれ本発明の実施の形態1である建具を示すものであり、図1は室外側から見た場合を簡略的に示す外観図、図2は縦断面図、図3は横断面図である。ここで例示する建具は、開口枠10に左右2枚の障子(面材)であるガラス窓20を備え、開口枠10に対して2枚のガラス窓20を左右方向にスライドさせて開閉する、いわゆる「引き違い窓」と称されるサッシ窓である。また、かかる建具では、室外側に配置したガラス窓20のさらに室外側となる部位に網戸40を備えている(図2及び図3参照)。
開口枠10は、例えば樹脂製の押し出し材である上枠部材11、下枠部材12及び左右一対の縦枠部材13,14を四周枠組みすることによって構成した矩形状を成すものである。かかる開口枠10を構成する下枠部材12には、その長手方向における略全長に亘ってブラケット部材30が仮固定されている。
ブラケット部材30は、例えばアルミニウム等の板材を屈曲加工して形成した長尺状のものであり、下延支持片31と外延支持片32とを備えている。
下延支持片31は、第1固定支持部311と第2固定支持部312とを有している。第1固定支持部311は、下方に向けて延在する部位である。第2固定支持部312は、第1固定支持部311の下端縁部より室内側に向けて延在した後、下方に向けて延在する部位である。これら第1固定支持部311及び第2固定支持部312には、その長手方向に沿って所定間隔毎にネジNが挿通する挿通孔(図示せず)が設けてある。
外延支持片32は、下延支持片31の上端縁部、すなわち第1固定支持部311の上端縁部より室外方向に向けて延在するものである。この外延支持片32は、その延在端部が下枠部材12に設けた係止部121に係止された状態で該下枠部材12に仮固定、すなわち係合されている。尚、下枠部材12とブラケット部材30との間は水密材122によって止水されている。
このような開口枠10は、上枠部材11、下枠部材12及び左右一対の縦枠部材13,14のそれぞれを家屋の壁等の躯体1に形成した開口に対してその開口縁部2に沿うようにして締結部材であるネジNで締結して取り付けてあるとともに、ブラケット部材30をネジNで締結することで取り付けてある。尚、本引き違い窓においては、外障子(外側のガラス窓20)が躯体1よりも室外側に持ち出されて開口枠10が躯体1に納まる半外付けの納まりである。
ここでブラケット部材30は、下延支持片31を構成する第1固定支持部311が、下枠部材12を構成し、かつ下方に向けて延在する下延ヒレ部123を挟み込んで躯体1の外壁面に挿通孔を挿通するネジNで締結されて取り付けてあるとともに、下延支持片31を構成する第2固定支持部312が、下延ヒレ部123の下方域において躯体1の外壁面に挿通孔を挿通するネジNで締結されて取り付けてある。つまり、第2固定支持部312は、躯体1の外壁面に接触している。
ガラス窓20は、それぞれ上框部材21、下框部材22及び左右一対の縦框部材23,24を四周框組みすることによって構成した框の内部にガラス板25を保持したものであり、開口枠10の内部に装着可能な大きさに構成してある。
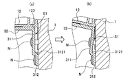
このような本実施の形態1である建具においては、図4に示すように、下枠部材12の中央領域、すなわち2枚のガラス窓20の召合せ部分を含む所定の左右幅領域においては、下延ヒレ部123に切欠124が形成してある。
図5は、下枠部材12の中央領域における建具の要部縦断面図である。この図5に示すように、下延ヒレ部123の切欠124が形成された部分では、ブラケット部材30の第1固定支持部311と躯体1の外壁面との間に間隙S1が形成されることになる。つまり、第1固定支持部311の切欠124に対向する部位と、躯体1の外壁面との間に間隙S1が形成されている。
よって、本実施の形態1である建具では、図6の(a)から図6の(b)に示すように、ブラケット部材30における下延支持片31のうち下延ヒレ部123の切欠124に対向する部位を、第2固定支持部312と躯体1の外壁面との接触端部(接触部)3121を支点として、他の部位よりも外壁面に近接するようネジNで締結することができる。これにより、ブラケット部材30の外延支持片32が室外側に向けて漸次上方に傾斜した姿勢となり、下枠部材12の中央領域をやや上方に持ち上げた形態にすることができ、下枠部材12の垂れ下がりを防止できる。
このように本実施の形態1である建具によれば、下枠部材12における下延ヒレ部123の所定個所に切欠124を形成するだけなので、従来のように専用の金具を用いることもなく、部品点数が増大することもない。しかも、ブラケット部材30自体は従来から用いられているものであり、意匠性が劣ることもない。更に、かかる切欠124は、ブラケット部材30に覆われているので外観に現れることもない。従って、部品点数が増大することを抑制しつつ、意匠性の確保を図ることができる。
また、上記建具によれば、下枠部材12の垂れ下がりを防止できるので、ガラス窓20の開閉動作をスムーズに行うことが可能となり、しかも気密性及び水密性を良好なものとすることができる。
<実施の形態2>
図7は、本発明の実施の形態2である建具を室外側から見た場合を簡略的に示す外観図であり、図8は、図7におけるA−A線断面図であり、図9は、図7におけるB−B線断面図である。尚、以下においては、上述した実施の形態1である建具と同一の構成要素については、同一の符号を付して、その説明を適宜簡略して述べることとする。
ここで例示する建具は、開口枠10に左右2枚の障子(面材)であるガラス窓20を備え、開口枠10′に対して2枚のガラス窓20を左右方向にスライドさせて開閉する、いわゆる「引き違い窓」と称されるサッシ窓である。
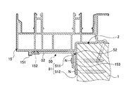
開口枠10′は、例えば樹脂の押し出し材である上枠部材11、下枠部材15及び左右一対の縦枠部材13,14を四周枠組みすることによって構成した矩形状を成すものである。かかる開口枠10′を構成する下枠部材15には、その長手方向における略全長に亘ってブラケット部材50が仮固定されている。
ブラケット部材50は、例えばアルミニウム等の板材を屈曲加工して形成した長尺状のものであり、下延支持片51と外延支持片52とを備えている。
下延支持片51は、第1固定支持部511と第2固定支持部512とを有している。第1固定支持部511は、下方に向けて延在する部位である。第2固定支持部512は、第1固定支持部511の下端縁部より室内側に向けて延在した後、下方に向けて延在する部位である。これら第1固定支持部511及び第2固定支持部512には、その長手方向に沿って所定間隔毎にネジNが挿通する挿通孔(図示せず)が設けてある。
外延支持片52は、下延支持片51の上端縁部、すなわち第1固定支持部511の上端縁部より室外方向に向けて延在するものである。この外延支持片52は、その延在端部が下枠部材15に設けた係止部151に係止された状態で該下枠部材15に仮固定、すなわち係合されている。尚、下枠部材15とブラケット部材50との間は水密材152によって止水されている。
このような開口枠10′は、上枠部材11、下枠部材15及び左右一対の縦枠部材13,14のそれぞれを家屋の壁等の躯体1に形成した開口に対してその開口縁部2に沿うようにして締結部材であるネジNで締結して取り付けてあるとともに、ブラケット部材50をネジNで締結することで取り付けてある。尚、本引き違い窓においては、外障子(外側のガラス窓20)が躯体1よりも室外側に持ち出されて開口枠10′が躯体1に納まる半外付けの納まりである。
ここでブラケット部材50は、下延支持片51を構成する第1固定支持部511が、下枠部材15を構成し、かつ下方に向けて延在する下延ヒレ部153を挟み込んで躯体1の外壁面に挿通孔を挿通するネジNで締結されて取り付けてあるとともに、下延支持片51を構成する第2固定支持部512が、下延ヒレ部153の下方域において躯体1の外壁面に挿通孔を挿通するネジNで締結されて取り付けてある。つまり、第2固定支持部512は、躯体1の外壁面に接触している。
ガラス窓20は、それぞれ上框部材21、下框部材22及び左右一対の縦框部材23,24を四周框組みすることによって構成した框の内部にガラス板25を保持したものであり、開口枠10′の内部に装着可能な大きさに構成してある。
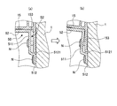
図8及び図9に示すように、本実施の形態2である建具においては、下枠部材15の中央領域、すなわち2枚のガラス窓20の召合せ部分を含む所定の左右幅領域に相当する下延ヒレ部153に対向するブラケット部材50の下延支持片51(第1固定支持部511)の厚みが、その他の部位に比して小さくしてある。つまり、ブラケット部材50の下延支持片51における所定の対象個所に、厚みがその他の個所の厚みよりも小さい薄肉部が形成してある。
これにより、下延支持片51の所定の対象個所と下延ヒレ部153との間に間隙S2が形成されることになる。
よって、本実施の形態2である建具では、図10の(a)から図10の(b)に示すように、ブラケット部材50における下延支持片51の所定の対象個所を、第2固定支持部512と躯体1の外壁面との接触端部(接触部)5121を支点として、下延ヒレ部153に近接するようネジNで締結することができる。これにより、ブラケット部材50の外延支持片52が室外側に向けて漸次上方に傾斜した姿勢となり、下枠部材15の中央領域をやや上方に持ち上げた形態にすることができ、下枠部材15の垂れ下がりを防止できる。
このように本実施の形態2である建具によれば、ブラケット部材50における下延支持片51の所定の対象個所(薄肉部)の厚みを他の個所よりも小さくするだけなので、従来のように専用の金具を用いることもなく、部品点数が増大することもない。しかも、ブラケット部材50自体は従来から用いられているものであり、意匠性が劣ることもない。従って、部品点数が増大することを抑制しつつ、意匠性の確保を図ることができる。
また、上記建具によれば、下枠部材15の垂れ下がりを防止できるので、ガラス窓20の開閉動作をスムーズに行うことが可能となり、しかも気密性及び水密性を良好なものとすることができる。
以上、本発明の好適な実施の形態1及び実施の形態2について説明したが、本発明はこれらに限定されるものではなく、種々の変更を行うことができる。
上述した実施の形態1及び実施の形態2では、下枠部材12の中央領域(室内側障子と室外側障子との召合せ框の下部近傍)の下延ヒレ部123に切欠124を形成したり、下枠部材15の中央領域に対向する部分(室内側障子と室外側障子の召合せ框の下部近傍)の下延支持片51の厚みを小さくしたりしたが、本発明においては、下枠部材の中央領域に限られず、障子(ガラス窓20)の重量により垂れ下がる可能性のある部分であればどこでも構わない。
上述した実施の形態1及び実施の形態2では、ブラケット部材30,50が単数であるとして説明したが、本発明においては、ブラケット部材は、複数に分割されて構成されるものであっても良い。特に実施の形態2で示したブラケット部材(50)については、厚みの小さいブラケット部材(薄肉ブラケット部材)と、この薄肉ブラケット部材よりも厚みの大きいブラケット部材(厚肉ブラケット部材)との2分割構成としても良い。この場合、下枠部材の中央領域に対向する部分(室内側障子と室外側障子の召合せ框の下部近傍)に薄肉ブラケット部材を取り付けることが好ましい。また、厚肉ブラケット部材は、薄肉ブラケット部材の第1固定支持部に薄板状のスペーサ等を介在させて構成しても良く、この場合には厚肉ブラケット部材と薄肉ブラケット部材とで、下枠部材の垂れ下がりを防止でき、多種の専用の金具を用いることもなく、部品点数が増大することを抑制することができる。
上述した実施の形態1及び実施の形態2では、開口枠10(10′)を、樹脂製の押し出し材としたが、本発明においては、開口枠はアルミニウム等の金属製の押し出し材であっても良い。また室外側の部位を金属製の押し出し材とし、室内側の部位を樹脂製の押し出し材とした複合枠材、又はその逆の押し出し材で構成して複合枠材であっても良い。
1 躯体
2 開口縁部
10 開口枠
10′ 開口枠
11 上枠部材
12 下枠部材
121 係止部
123 下延ヒレ部
124 切欠
13 縦枠部材
14 縦枠部材
15 下枠部材
151 係止部
153 下延ヒレ部
20 ガラス窓
21 上框部材
22 下框部材
23 縦框部材
24 縦框部材
25 ガラス板
30 ブラケット部材
31 下延支持片
311 第1固定支持部
312 第2固定支持部
3121 接触端部(接触部)
32 外延支持片
40 網戸
50 ブラケット部材
51 下延支持片
511 第1固定支持部
512 第2固定支持部
5121 接触端部(接触部)
52 外延支持片
N ネジ
S1 間隙
S2 間隙

Claims (6)

  1. 下枠部材を有した開口枠と、この開口枠に支持される面材と、前記下枠部材を支持するブラケット部材とを備えた建具であって、
    前記ブラケット部材は、下方に向けて延在する下延支持片と、前記下延支持片の上部より室外方向に向けて延在し、かつ前記下枠部材に係合した外延支持片とを有し、
    前記ブラケット部材の下延支持片が、前記下枠部材を形成して下方に向けて延在する下延ヒレ部を挟み込んで躯体に締結部材により締結されることにより、前記躯体の開口縁部に前記開口枠が取り付けられ、
    前記下延ヒレ部の所定個所には、切欠が形成され、
    前記下延支持片は、前記下延ヒレ部より下方において前記躯体に接触する接触部を有しており、該接触部を支点として前記切欠に対向する部分が他の部分よりも前記躯体に近接するよう締結部材により締結されたことを特徴とする建具。
  2. 前記面材は、前記開口枠にスライド開閉自在に支持されたことを特徴とする請求項1に記載の建具。
  3. 前記面材は、室内側面材と室外側面材とを有し、これら室内側面材と室外側面材とが前記開口枠に引き違いで建て込まれた建具であって、
    前記切欠は、前記室内側面材と前記室外側面材との召合せ部分の少なくとも下方に位置する部分に形成されたことを特徴とする請求項1又は請求項2に記載の建具。
  4. 下枠部材を有した開口枠と、この開口枠に支持される面材と、前記下枠部材を支持するブラケット部材とを備えた建具であって、
    前記ブラケット部材は、下方に向けて延在する下延支持片と、前記下延支持片の上部より室外方向に向けて延在し、かつ前記下枠部材に係合した外延支持片とを有し、
    前記ブラケット部材の下延支持片が、前記下枠部材を形成して下方に向けて延在する下延ヒレ部を挟み込んで躯体に締結部材により締結されることにより、前記躯体の開口縁部に前記開口枠が取り付けられ、
    前記下延支持片は、前記下延ヒレ部より下方において前記躯体に接触する接触部を有しているとともに、所定の対象個所に厚みが他の個所よりも小さい薄肉部が形成されており、該接触部を支点として前記薄肉部が前記下延ヒレ部に近接するよう締結部材により締結されたことを特徴とする建具。
  5. 前記面材は、前記開口枠にスライド開閉自在に支持されたことを特徴とする請求項4に記載の建具。
  6. 前記面材は、室内側面材と室外側面材とを有し、これら室内側面材と室外側面材とが前記開口枠に引き違いで建て込まれた建具であって、
    前記薄肉部は、前記室内側面材と前記室外側面材との召合せ部分の少なくとも下方に位置する部分に形成されたことを特徴とする請求項4又は請求項5に記載の建具。
JP2011146258A 2011-06-30 2011-06-30 建具 Expired - Fee Related JP5638474B2 (ja)

Priority Applications (1)

Application Number Priority Date Filing Date Title
JP2011146258A JP5638474B2 (ja) 2011-06-30 2011-06-30 建具

Applications Claiming Priority (1)

Application Number Priority Date Filing Date Title
JP2011146258A JP5638474B2 (ja) 2011-06-30 2011-06-30 建具

Publications (2)

Publication Number Publication Date
JP2013014879A true JP2013014879A (ja) 2013-01-24
JP5638474B2 JP5638474B2 (ja) 2014-12-10

Family

ID=47687794

Family Applications (1)

Application Number Title Priority Date Filing Date
JP2011146258A Expired - Fee Related JP5638474B2 (ja) 2011-06-30 2011-06-30 建具

Country Status (1)

Country Link
JP (1) JP5638474B2 (ja)

Cited By (3)

* Cited by examiner, † Cited by third party
Publication number Priority date Publication date Assignee Title
JP2017020279A (ja) * 2015-07-13 2017-01-26 Ykk Ap株式会社 建具
JP2017133215A (ja) * 2016-01-27 2017-08-03 Ykk Ap株式会社 建具
JP2019065503A (ja) * 2017-09-29 2019-04-25 Ykk Ap株式会社 枠体の取付構造及び壁面ユニット

Citations (1)

* Cited by examiner, † Cited by third party
Publication number Priority date Publication date Assignee Title
JPS6023575U (ja) * 1983-07-26 1985-02-18 ナショナル住宅産業株式会社 雨戸レ−ルの補強構造

Patent Citations (1)

* Cited by examiner, † Cited by third party
Publication number Priority date Publication date Assignee Title
JPS6023575U (ja) * 1983-07-26 1985-02-18 ナショナル住宅産業株式会社 雨戸レ−ルの補強構造

Cited By (3)

* Cited by examiner, † Cited by third party
Publication number Priority date Publication date Assignee Title
JP2017020279A (ja) * 2015-07-13 2017-01-26 Ykk Ap株式会社 建具
JP2017133215A (ja) * 2016-01-27 2017-08-03 Ykk Ap株式会社 建具
JP2019065503A (ja) * 2017-09-29 2019-04-25 Ykk Ap株式会社 枠体の取付構造及び壁面ユニット

Also Published As

Publication number Publication date
JP5638474B2 (ja) 2014-12-10

Similar Documents

Publication Publication Date Title
JP5128877B2 (ja) 開口部装置
JP5638474B2 (ja) 建具
KR101591862B1 (ko) 커튼월과 스윙도어의 연결구조
JP5264809B2 (ja) 改修サッシ
JP5128878B2 (ja) 開口部装置
CN204023854U (zh) 一种侧向通风式玻璃幕墙系统
JP2009133195A (ja) サッシ
JP5299955B2 (ja) カーテンウォール
JP4053468B2 (ja) 断熱サッシの上枠構造及び上記上枠の組立方法
JP2017160767A (ja) コーナー方立
JP2008202269A (ja) 合成樹脂製サッシ
JP2020176519A (ja) サッシ
CN219569907U (zh) 一种采用隐框开启扇的幕墙
JP2015034419A (ja) トイレブースのパネル体取り付け構造
JP2015190304A (ja) サッシ
JP2024165778A (ja) 建具
JP5528722B2 (ja) 嵌め殺し窓
JP2005320740A (ja) サッシ窓
JP2009299438A (ja) 下枠フラットサッシ
JP6895419B2 (ja) サッシ
JP6895420B2 (ja) サッシ
JP4586006B2 (ja) サッシ窓
JP2019120089A (ja) 二重サッシ
JP2021101094A (ja) サッシ
JP2023029506A (ja) 改装建具及び改装建具の施工方法

Legal Events

Date Code Title Description
A621 Written request for application examination

Free format text: JAPANESE INTERMEDIATE CODE: A621

Effective date: 20130906

A977 Report on retrieval

Free format text: JAPANESE INTERMEDIATE CODE: A971007

Effective date: 20140310

A131 Notification of reasons for refusal

Free format text: JAPANESE INTERMEDIATE CODE: A131

Effective date: 20140408

A521 Written amendment

Free format text: JAPANESE INTERMEDIATE CODE: A523

Effective date: 20140606

A01 Written decision to grant a patent or to grant a registration (utility model)

Free format text: JAPANESE INTERMEDIATE CODE: A01

Effective date: 20141021

A61 First payment of annual fees (during grant procedure)

Free format text: JAPANESE INTERMEDIATE CODE: A61

Effective date: 20141022

LAPS Cancellation because of no payment of annual fees