JP2012504013A - 生理痛緩和のための携帯用複合刺激器 - Google Patents

生理痛緩和のための携帯用複合刺激器 Download PDF

Info

Publication number
JP2012504013A
JP2012504013A JP2011528919A JP2011528919A JP2012504013A JP 2012504013 A JP2012504013 A JP 2012504013A JP 2011528919 A JP2011528919 A JP 2011528919A JP 2011528919 A JP2011528919 A JP 2011528919A JP 2012504013 A JP2012504013 A JP 2012504013A
Authority
JP
Japan
Prior art keywords
menstrual pain
heating element
unit
pain relieving
planar heating
Prior art date
Legal status (The legal status is an assumption and is not a legal conclusion. Google has not performed a legal analysis and makes no representation as to the accuracy of the status listed.)
Granted
Application number
JP2011528919A
Other languages
English (en)
Other versions
JP5497769B2 (ja
Inventor
ウォンジュン イ
ヒョンジュン キム
チャンスン ハン
シンウォン カン
Original Assignee
メディルーン インコーポレイテッド
Priority date (The priority date is an assumption and is not a legal conclusion. Google has not performed a legal analysis and makes no representation as to the accuracy of the date listed.)
Filing date
Publication date
Application filed by メディルーン インコーポレイテッド filed Critical メディルーン インコーポレイテッド
Publication of JP2012504013A publication Critical patent/JP2012504013A/ja
Application granted granted Critical
Publication of JP5497769B2 publication Critical patent/JP5497769B2/ja
Expired - Fee Related legal-status Critical Current
Anticipated expiration legal-status Critical

Links

Images

Classifications

    • AHUMAN NECESSITIES
    • A61MEDICAL OR VETERINARY SCIENCE; HYGIENE
    • A61FFILTERS IMPLANTABLE INTO BLOOD VESSELS; PROSTHESES; DEVICES PROVIDING PATENCY TO, OR PREVENTING COLLAPSING OF, TUBULAR STRUCTURES OF THE BODY, e.g. STENTS; ORTHOPAEDIC, NURSING OR CONTRACEPTIVE DEVICES; FOMENTATION; TREATMENT OR PROTECTION OF EYES OR EARS; BANDAGES, DRESSINGS OR ABSORBENT PADS; FIRST-AID KITS
    • A61F7/00Heating or cooling appliances for medical or therapeutic treatment of the human body
    • A61F7/007Heating or cooling appliances for medical or therapeutic treatment of the human body characterised by electric heating
    • AHUMAN NECESSITIES
    • A61MEDICAL OR VETERINARY SCIENCE; HYGIENE
    • A61NELECTROTHERAPY; MAGNETOTHERAPY; RADIATION THERAPY; ULTRASOUND THERAPY
    • A61N1/00Electrotherapy; Circuits therefor
    • A61N1/18Applying electric currents by contact electrodes
    • A61N1/32Applying electric currents by contact electrodes alternating or intermittent currents
    • A61N1/36Applying electric currents by contact electrodes alternating or intermittent currents for stimulation
    • A61N1/36007Applying electric currents by contact electrodes alternating or intermittent currents for stimulation of urogenital or gastrointestinal organs, e.g. for incontinence control
    • AHUMAN NECESSITIES
    • A61MEDICAL OR VETERINARY SCIENCE; HYGIENE
    • A61NELECTROTHERAPY; MAGNETOTHERAPY; RADIATION THERAPY; ULTRASOUND THERAPY
    • A61N1/00Electrotherapy; Circuits therefor
    • A61N1/18Applying electric currents by contact electrodes
    • A61N1/32Applying electric currents by contact electrodes alternating or intermittent currents
    • A61N1/36Applying electric currents by contact electrodes alternating or intermittent currents for stimulation
    • A61N1/36014External stimulators, e.g. with patch electrodes
    • A61N1/36021External stimulators, e.g. with patch electrodes for treatment of pain
    • AHUMAN NECESSITIES
    • A61MEDICAL OR VETERINARY SCIENCE; HYGIENE
    • A61FFILTERS IMPLANTABLE INTO BLOOD VESSELS; PROSTHESES; DEVICES PROVIDING PATENCY TO, OR PREVENTING COLLAPSING OF, TUBULAR STRUCTURES OF THE BODY, e.g. STENTS; ORTHOPAEDIC, NURSING OR CONTRACEPTIVE DEVICES; FOMENTATION; TREATMENT OR PROTECTION OF EYES OR EARS; BANDAGES, DRESSINGS OR ABSORBENT PADS; FIRST-AID KITS
    • A61F7/00Heating or cooling appliances for medical or therapeutic treatment of the human body
    • A61F2007/0001Body part
    • A61F2007/0018Trunk or parts thereof
    • A61F2007/0022Abdomen
    • AHUMAN NECESSITIES
    • A61MEDICAL OR VETERINARY SCIENCE; HYGIENE
    • A61FFILTERS IMPLANTABLE INTO BLOOD VESSELS; PROSTHESES; DEVICES PROVIDING PATENCY TO, OR PREVENTING COLLAPSING OF, TUBULAR STRUCTURES OF THE BODY, e.g. STENTS; ORTHOPAEDIC, NURSING OR CONTRACEPTIVE DEVICES; FOMENTATION; TREATMENT OR PROTECTION OF EYES OR EARS; BANDAGES, DRESSINGS OR ABSORBENT PADS; FIRST-AID KITS
    • A61F7/00Heating or cooling appliances for medical or therapeutic treatment of the human body
    • A61F2007/0001Body part
    • A61F2007/0018Trunk or parts thereof
    • A61F2007/0027Lower part of back
    • AHUMAN NECESSITIES
    • A61MEDICAL OR VETERINARY SCIENCE; HYGIENE
    • A61FFILTERS IMPLANTABLE INTO BLOOD VESSELS; PROSTHESES; DEVICES PROVIDING PATENCY TO, OR PREVENTING COLLAPSING OF, TUBULAR STRUCTURES OF THE BODY, e.g. STENTS; ORTHOPAEDIC, NURSING OR CONTRACEPTIVE DEVICES; FOMENTATION; TREATMENT OR PROTECTION OF EYES OR EARS; BANDAGES, DRESSINGS OR ABSORBENT PADS; FIRST-AID KITS
    • A61F7/00Heating or cooling appliances for medical or therapeutic treatment of the human body
    • A61F2007/0001Body part
    • A61F2007/0048Genitals
    • A61F2007/005Genitals female
    • AHUMAN NECESSITIES
    • A61MEDICAL OR VETERINARY SCIENCE; HYGIENE
    • A61FFILTERS IMPLANTABLE INTO BLOOD VESSELS; PROSTHESES; DEVICES PROVIDING PATENCY TO, OR PREVENTING COLLAPSING OF, TUBULAR STRUCTURES OF THE BODY, e.g. STENTS; ORTHOPAEDIC, NURSING OR CONTRACEPTIVE DEVICES; FOMENTATION; TREATMENT OR PROTECTION OF EYES OR EARS; BANDAGES, DRESSINGS OR ABSORBENT PADS; FIRST-AID KITS
    • A61F7/00Heating or cooling appliances for medical or therapeutic treatment of the human body
    • A61F2007/0093Heating or cooling appliances for medical or therapeutic treatment of the human body programmed
    • AHUMAN NECESSITIES
    • A61MEDICAL OR VETERINARY SCIENCE; HYGIENE
    • A61FFILTERS IMPLANTABLE INTO BLOOD VESSELS; PROSTHESES; DEVICES PROVIDING PATENCY TO, OR PREVENTING COLLAPSING OF, TUBULAR STRUCTURES OF THE BODY, e.g. STENTS; ORTHOPAEDIC, NURSING OR CONTRACEPTIVE DEVICES; FOMENTATION; TREATMENT OR PROTECTION OF EYES OR EARS; BANDAGES, DRESSINGS OR ABSORBENT PADS; FIRST-AID KITS
    • A61F7/00Heating or cooling appliances for medical or therapeutic treatment of the human body
    • A61F2007/0095Heating or cooling appliances for medical or therapeutic treatment of the human body with a temperature indicator
    • A61F2007/0096Heating or cooling appliances for medical or therapeutic treatment of the human body with a temperature indicator with a thermometer
    • AHUMAN NECESSITIES
    • A61MEDICAL OR VETERINARY SCIENCE; HYGIENE
    • A61NELECTROTHERAPY; MAGNETOTHERAPY; RADIATION THERAPY; ULTRASOUND THERAPY
    • A61N1/00Electrotherapy; Circuits therefor
    • A61N1/02Details
    • A61N1/04Electrodes
    • A61N1/0404Electrodes for external use
    • A61N1/0408Use-related aspects
    • A61N1/0456Specially adapted for transcutaneous electrical nerve stimulation [TENS]
    • AHUMAN NECESSITIES
    • A61MEDICAL OR VETERINARY SCIENCE; HYGIENE
    • A61NELECTROTHERAPY; MAGNETOTHERAPY; RADIATION THERAPY; ULTRASOUND THERAPY
    • A61N1/00Electrotherapy; Circuits therefor
    • A61N1/02Details
    • A61N1/04Electrodes
    • A61N1/0404Electrodes for external use
    • A61N1/0472Structure-related aspects
    • A61N1/0484Garment electrodes worn by the patient
    • AHUMAN NECESSITIES
    • A61MEDICAL OR VETERINARY SCIENCE; HYGIENE
    • A61NELECTROTHERAPY; MAGNETOTHERAPY; RADIATION THERAPY; ULTRASOUND THERAPY
    • A61N1/00Electrotherapy; Circuits therefor
    • A61N1/02Details
    • A61N1/04Electrodes
    • A61N1/0404Electrodes for external use
    • A61N1/0472Structure-related aspects
    • A61N1/0492Patch electrodes

Landscapes

  • Health & Medical Sciences (AREA)
  • Life Sciences & Earth Sciences (AREA)
  • Veterinary Medicine (AREA)
  • Public Health (AREA)
  • General Health & Medical Sciences (AREA)
  • Engineering & Computer Science (AREA)
  • Biomedical Technology (AREA)
  • Animal Behavior & Ethology (AREA)
  • Radiology & Medical Imaging (AREA)
  • Nuclear Medicine, Radiotherapy & Molecular Imaging (AREA)
  • Heart & Thoracic Surgery (AREA)
  • Biophysics (AREA)
  • Pain & Pain Management (AREA)
  • Vascular Medicine (AREA)
  • Electrotherapy Devices (AREA)
  • Gastroenterology & Hepatology (AREA)
  • Thermotherapy And Cooling Therapy Devices (AREA)
  • Finger-Pressure Massage (AREA)

Abstract

【課題】着脱可能な刺激電極パッドによって腹部及び背部に経皮神経電気刺激を与えて生理痛を緩和し、安全性をより向上させた携帯用生理痛緩和器を提供すること。
【解決手段】
本発明は経皮神経電気刺激(Transcutaneous electrical nerve stimulation:TENS)及び温熱刺激による携帯用生理痛緩和器に関し、より詳しくは、着脱が可能な刺激電極パッドによって腹部及び背部に経皮神経電気刺激を与え、刺激電極パッドに内装された面状発熱体によって腹部に温熱刺激を与えて生理痛を緩和する携帯用生理痛緩和器に関する。刺激電極パッドはパッチタイプで、生理痛痛症部位のどこでも着脱が可能になっている。本発明は、恥骨部位の痛症を有する生理痛を緩和させる携帯用生理痛緩和器において、経皮刺激電極を備えて、腹部または背部に経皮刺激を与える経皮刺激電極パッド部220、面状発熱体を備えて、腹部に温熱刺激を与える面状発熱体部250を備える生理痛緩和部200と、電源部を備えて、生理痛緩和部に電源を供給し、経皮刺激電極パッド部を制御する経皮刺激電極制御信号及び面状発熱体部を制御する面状発熱体制御信号を生成する演算処理部を備える生理痛緩和器本体部と、からなり、生理痛緩和部は、温度センサーを備え、面状発熱体部に温度センサーを装着して面状発熱体部の温度を検出する温度検出部と、温度検出部の出力信号をディジタル信号に変換するA/D変換部とをさらに備えることを特徴とする。
【選択図】図5

Description

本発明は経皮神経電気刺激(Transcutaneous electrical nerve stimulation:TENS)及び温熱刺激による携帯用生理痛緩和器に関し、より詳しくは、着脱が可能な刺激電極パッドによって腹部及び背部に経皮神経電気刺激を与え、上記刺激電極パッドに内装された面状発熱体によって腹部に温熱刺激を与えて生理痛を緩和し、上記刺激電極パッドはパッチタイプで、生理痛痛症部位のどこにも着脱が可能に形成される携帯用生理痛緩和器に関する。
一般に生理痛とは、月経の時、下腹部、子宮などに発生する痛症を言う。このような生理痛は閉経期になる前の大部分の女性が経験する痛症で、生理痛をひどく感じる女性は耐えられない苦痛で、日常生活が困難である場合もある。生理痛がある場合、大部分の女性はそのまま苦痛を堪えるか、鎮痛剤を飲んで生理痛の痛症を解決する。しかし、鎮痛剤による痛症の抑制は根本的な生理痛の緩和に役に立たず、鎮痛剤などの薬剤による副作用がある場合もある。また生理痛緩和のための既存の温熱湿布などは携帯が不便で、場所と時間に諸制限がある。生理痛は職場女性の業務を邪魔し、女子学生の学業を邪魔し、生活の制約を起こして、女性の社会進出に大きな被害を与える。
東洋医学である漢方で生理痛は、痛経または経行腹痛と言い、この原因を下腹部が冷えて、気血と血液循環問題による溢血があり、体質が弱くて気運が不足したり、手術などによる血の不足などにあるとしている。
そこで、漢方では、腹部筋肉をマッサージをして痛症を緩和させたり、下腹部の関元穴、石門穴を灸や鍼などで刺激して生理痛を緩和させている。
図1は関元穴と石門穴を説明するための説明図で、関元穴は臍の下3寸にあり、石門穴は臍の下2寸に位置する。関元穴は、通常丹田ともいい、体が疲れて、だるい時灸を据えれば良く、男女生殖器と連結されるつぼであるため、男性の元気不足や精力増強に係り、女性の子宮病や生理不順、白帯下症に係り、ここを刺激すれば效果的である。石門穴は、お腹が痛くて、硬く、大便不通、月経不順、帯下病があったり、産後に悪露が止まないなどの病気の場合刺激すれば效果的である。
経皮神経電気刺激(Transcutaneous electrical nerve stimulation:TENS)とは、電流を利用して肌の末梢感覚神経を刺激することで、傷の周囲や痛症部分を手で擦ったり揉んで痛症を抑制するように、痛症部位の周囲に機械的刺激によって痛症を緩和することができる。経皮神経電気刺激は薬物治療をしないで生理痛を鎮めるのに使われたりする。生理痛の緩和のために、主に非ステロイド性抗炎症薬と経口避妊薬を使用するが、これは緩和の程度が不十分であり、副作用を起こす。経皮神経電気刺激は、使用者によって調節されるという長所があり、薬物を使わない。また経皮神経電気刺激は、経済的で危険がほとんどなく、禁忌がほとんどないという長所がある。一般に低周波数、低強度の電流を使用する。
生理痛の場合、主に恥骨上部領域に放散する疼痛及び背部(背中)に放散する疼痛をいい、経皮神経電気刺激を通じて緩和することができる。
このように、経皮神経電気刺激は生理痛緩和に使用されるが、経皮神経電気刺激のための標準装置は日常生活で使用するには非常に大きく、且つ重くて室外活動をしたり、職場、学校などで使用することが困難である。
そこで、薬物療法を使わないで、室外活動の時に携帯可能で、経済的で、且つ温熱刺激とともに経皮神経電気刺激を提供して生理痛を緩和できる携帯用生理痛緩和器が要望される。
従って、本発明は下腹部の温熱刺激と経皮神経電気刺激及び背部の経皮神経電気刺激を通じて生理痛を緩和する携帯用生理痛緩和器を提供する。
本発明が解決しようとする課題は、着脱可能な刺激電極パッドによって腹部及び背部に経皮神経電気刺激を与え、上記刺激電極パッドに内装された面状発熱体によって腹部に温熱刺激を与えて生理痛を緩和し、上記面状発熱体に温度センサーを装着して面状発熱体温度が設定温度以上になると終了するようにして、安全性をより向上させた携帯用生理痛緩和器を提供することにある。
本発明が解決しようとする課題は、着脱可能な刺激電極パッドによって腹部及び背部に経皮神経電気刺激(Transcutaneous electrical nerve stimulation:TENS)を提供して生理痛を緩和する携帯用複合刺激器を提供することにある。
本発明が解決しようとするまた他の課題は、面状発熱体によって関元穴、石門穴に温熱刺激を提供して生理痛を緩和する携帯用生理痛緩和器を提供することにある。
本発明が解決しようとするまた他の課題は、省エネルギー及び環境のために、2次電池を利用して、使い捨て電池ではなく充電式であり、一般の携帯電話の充電器及びUSB充電器、自動車シガージャックなどによる充電が可能な携帯用生理痛緩和器を提供することにある。
上述した目的を果たすための本発明の一実施形態によれば、経皮刺激電極を備えて、腹部または背部に経皮刺激を与える経皮刺激電極パッド部と、面状発熱体を備えて、腹部に温熱刺激を与える面状発熱体部と、温度センサーを備え、面状発熱体部に温度センサーを装着して面状発熱体部の温度を検出する温度検出部と、経皮刺激電極パッド部及び面状発熱体部の駆動を制御し、温度検出部で検出された温度が既設定された面状発熱体部の設定温度より大きい場合、面状発熱体部の駆動を終了させるように制御する演算処理部とを含むことを特徴とする。
上記目的を達するための本発明の他の一実施形態によれば、恥骨部位の痛症を有する生理痛を緩和させる携帯用生理痛緩和器において、経皮刺激電極を備えて、腹部または背部に経皮刺激を与える経皮刺激電極パッド部と、面状発熱体を備えて、腹部に温熱刺激を与える面状発熱体部とを備える生理痛緩和部と、電源部を備えて、生理痛緩和部に電源を供給し、経皮刺激電極パッド部を制御する経皮刺激電極制御信号及び面状発熱体部を制御する面状発熱体制御信号を生成する演算処理部を備える生理痛緩和器本体部とからなることを特徴とする。
電源部は充電可能なバッテリー部を含むことを特徴とする。
電源部は220V常用電源やノート・パンコンやコンピューターにUSBを連結して充電することを特徴とする。
電源部のバッテリーは携帯電話用バッテリーで、携帯電話バッテリーの充電器でバッテリーの充電が可能であることを特徴とする。
生理痛緩和部は、温度センサーを備え、面状発熱体部に温度センサーを装着して、面状発熱体部の温度を検出する温度検出部と、温度検出部の出力信号をディジタル信号に変換するA/D変換部とをさらに備えることを特徴とする。
演算処理部は、温度検出部で検出された温度が既設定された面状発熱体部の設定温度より大きい場合、面状発熱体部の駆動を終了させるように制御することを特徴とする。
生理痛緩和器本体部は、生理痛緩和器の作動のオン/オフスィッチ、経皮刺激電極パッド部の刺激強度を設定する刺激強度設定モード部、面状発熱体部の温度を設定する温度設定モード部、経皮刺激電極パッド部と面状発熱体部の作動時間を設定する作動時間設定モード部を備えるキー入力部と、演算処理部の出力信号を表示する表示部と、演算処理部の出力信号をアナログ信号に変換するD/A変換部とをさらに備えることを特徴とする。
演算処理部からD/A変換部を通じて経皮刺激電極制御信号を受信して、経皮刺激電極パッド部を駆動させる経皮刺激電極パッド駆動部と、演算処理部からD/A変換部を通じて面状発熱体制御信号を受信して、面状発熱体部を駆動させる面状発熱体駆動部とをさらに備えることを特徴とする。
経皮刺激電極パッド駆動部で経皮刺激電極パッドを駆動させる駆動信号は周波数100〜120Hz、双極性矩形波を利用することを特徴とする。
温度検出部で検出された温度が既設定された面状発熱体部の設定温度より大きい場合、ディスプレーしたり、ランプを点滅したり、振動部の振動を通じて知らせることを特徴とする。
経皮刺激電極パッド部は、腹部において、恥骨(上部)部位の左右の前外側部と上前腸骨棘(上部)の左右をカバーするように位置されることを特徴とする。
経皮刺激電極パッド部は、背部において、大腿部の内側に位置した脊髓部位L3と会陰部に位置した脊髓部位(S2)レベルの両側方脊柱部分を含む背部領域の左右をカバーするように位置されることを特徴とする。
面状発熱体部は関元穴と石門穴を含む腹部部位に位置されることを特徴とする。
上述した目的を達するための本発明のまた他の一実施形態によれば、腹部または背部に経皮刺激を与える経皮刺激電極パッド部、腹部に温熱刺激を与える面状発熱体部を備える携帯用生理痛緩和器において、中央部に面状発熱体部が位置され、面状発熱体部の左右両側に経皮刺激電極パッド部を駆動させる経皮電極回路部を備える回路基板部と、回路基板部の上に位置して、回路基板部を覆う上部カバーで、回路基板部の経皮電極回路部の上の対応する位置には経皮刺激電極パッド部が装着されるための孔である経皮刺激電極パッド装着部が形成されている回路ハウジング上部カバー部と、回路基板部の下に位置して、回路基板部を支える下部カバーで、回路基板部を挟持して回路ハウジング上部カバー部と結合される回路ハウジング下部カバー部と、回路ハウジング上部カバー部の上面に位置し、経皮刺激電極パッド装着部に装着された経皮刺激電極パッド部の上に位置され、導電性ゼルからなるパッチ型パッドで、肌と直接接触される接着パッド部とを備える生理痛緩和部を含むことを特徴とする。
回路ハウジング上部カバー部の中央部であり、回路基板部の面状発熱体の上部には肌と接触して熱を伝達する面状発熱体接触部が備えられることを特徴とする。
接着パッド部は接着性を有するヒドロゲルからなることを特徴とする。
経皮刺激電極パッド部は伝導性ゴムまたは炭素電極からなることを特徴とする。
回路ハウジング上部カバー部と回路ハウジング下部カバー部はシリコーンからなることを特徴とする。
回路ハウジング上部カバー部の上面で接着パッド部が装着される接着パッド装着部の枠は段差を備えて、接着パッド部が推されることを防止することを特徴とする。
経皮電極回路部は導電性インクで印刷されており、経皮刺激電極パッド部の下端面と接触して経皮刺激電極パッド部が導電されて、経皮神経電気刺激を提供するようになることを特徴とする。
回路基板部の中央部の一側に経皮刺激電極パッド部及び面状発熱体部の信号線を生理痛緩和器本体と連結するためのハーネス結合部を備えることを特徴とする。
生理痛緩和部が装着される腹帯部をさらに備えることを特徴とする。
腹帯部は生理痛緩和部の左右両側端が挿入されて固定されるポケットを備え,ポケットの間の中央部に下、上方向は塞がれ、左右は開いている掛け金が位置されて、掛け金に生理痛緩和部が掛けられて固定されることを特徴とする。
本発明による携帯用生理痛緩和器は、下腹部の関元穴、石門穴に面状発熱体による温熱刺激を与えることによって生理痛を緩和する。
また、本発明の携帯用生理痛緩和器は、面状発熱体による温熱刺激と同時に、または個別的に腹部及び背部に経皮神経電気刺激を提供することによって腹部と背部の生理痛を緩和する。
本発明の携帯用生理痛緩和器は、一般の携帯電話の3.7Vのリチウムイオンバッテリーを使って一般携帯電話の充電器で充電でき、ノート・パンコンやコンピューターにUSBを連結して充電ができ、手軽く充電ができて別途の充電器を購入しなくても良いので経済的である。
本発明の携帯用生理痛緩和器を着用した後、腹帯などでこれを固定するので、生理痛緩和器の着用が容易で、携帯が可能で、いつ、どこでも使用が可能である。そこで、生理痛に苦しんでいる女性の生活の質を向上させて女性の社会生活を支援できて、人権向上及び福祉増大に寄与できる。
関元穴と石門穴を説明するための説明図である。 本発明の好ましい一実施形態による携帯用生理痛緩和器の構成を説明するためのブロック図である。 生理痛によって恥骨上部領域に放散する疼痛を緩和するための経皮神経電気刺激の電極位置の一例を説明するための説明図である。 生理痛によって背部領域に放散する疼痛を緩和するための経皮神経電気刺激の電極位置の一例を説明するための説明図である。 本発明の好ましい一実施形態による携帯用生理痛緩和器の生理痛緩和部を説明するための生理痛緩和部の分解斜視図である。 図5の携帯用生理痛緩和器の生理痛緩和部の使用状態説明図である。 本発明の好ましい一実施形態による生理痛緩和部が装着される前の腹帯部の後面図である。 図7の腹帯部の後面に生理痛緩和部が装着されたことを説明するための説明図である。
以下本発明の一実施形態による携帯用生理痛緩和器の構成及び動作を添付図面に基づいて詳しく説明する。
図2は本発明の好ましい一実施形態による携帯用生理痛緩和器の構成を説明するためのブロック図で、生理痛緩和器本体部100、生理痛緩和部200を含む。
生理痛緩和器本体部100は、使用者によって生理痛緩和部200を制御する信号及び駆動信号を生成する手段で、電源部110、キー入力部120、演算処理部130、D/A変換部140、駆動部150、A/D変換部180、表示部190を含む。
電源部110は生理痛緩和器の電源供給手段で、長期間補助電源を使用するために、バッテリーを充電できるようにしたバッテリー部(図示省略)を含み、220V常用電源やノート・パンコンやコンピューターにUSBを連結して充電することができる。またバッテリー部(図示省略)は、携帯電話用バッテリーで、最も経済的で效率的な2次電池である3.7Vリチウムイオンバッテリーを使って携帯電話バッテリーの充電器でもバッテリーの充電を可能にする。
キー入力部120は生理痛緩和器の作動を制御する入力を設定する手段で、生理痛緩和部200の経皮刺激電極パッド部220を駆動するか否かを設定する経皮刺激電極パッドのオン/オフ(ON/OFF)スイッチ、面状発熱体部250を駆動するか否かを設定する面状発熱体のオン/オフ(ON/OFF)スイッチを含み、経皮刺激電極パッド部220の刺激強度を設定する刺激強度設定モード部(図示省略)と、面状発熱体部250の温度を設定する温度設定モード部(図示省略)とを備え、経皮刺激電極パッド部220と面状発熱体部250の作動時間を設定する作動時間設定モード部(図示省略)を含む。
演算処理部130はキー入力部120の出力信号を受信してメモリー部に保存し、キー入力部120の出力信号、即ち、面状発熱体のオン/オフ信号、温度強度設定信号によって面状発熱体部250を制御する面状発熱体制御信号を生成し、キー入力部120の出力信号、即ち、経皮刺激電極パッドのオン/オフ信号、刺激強度設定信号によって経皮刺激電極パッド部220を制御する経皮刺激電極制御信号を生成する。また、演算処理部130は温度検出部290から面状発熱体部250で検出された温度信号をA/D変換部180を通じて受信し、受信された面状発熱体部250の温度信号がキー入力部120から面状発熱体部250の温度設定値より高い場合面状発熱体部250の作動を停止させて、面状発熱体部250の過熱による低温やけどを防止する。
D/A変換部140は演算処理部130の出力信号をアナログ信号に変換する。
駆動部150は演算処理部130からD/A変換部140を通じて面状発熱体制御信号、経皮刺激電極制御信号を受信して経皮刺激電極パッド部220、面状発熱体部250を駆動させる。駆動部150は経皮刺激電極パッド駆動部160、面状発熱体駆動部170を備える。図4では駆動部150は生理痛緩和器本体部100に含まれるが、場合によって、生理痛緩和器本体部100ではない生理痛緩和部200に含まれることができる。
経皮刺激電極パッド駆動部160は腹部に装着されて低周波刺激を提供するパッドで、演算処理部130からD/A変換部140を通じて経皮刺激電極制御信号を受信して、これによって経皮刺激電極パッド部220を駆動させる。経皮刺激電極パッド駆動部160で生成される駆動信号は周波数100〜120Hz、双極性矩形波、パルス幅100〜120usecを使用することができる。
面状発熱体駆動部170は腹部に装着されて温熱を提供する手段で、演算処理部130からD/A変換部140を通じて面状発熱体制御信号を受信して、これによって面状発熱体部250を駆動させる。
A/D変換部180は面状発熱体部250の温度を検出した温度検出部290から面状発熱体の温度信号を受信してデジタル信号に変換する。
表示部190は演算処理部130の出力信号を表示する手段で、プリンター、ディスプレーなどを含む。即ち、表示部190は演算処理部130から受信された設定信号及び温度検出部290で検出された温度信号などを受信して、ディスプレーのLCD窓、またはプリンターなどの表示手段を通じて表示する。面状発熱体部250が設定温度値より高い場合、ランプなどを点滅させたり、振動部(図示省略)を通じて振動を与えて面状発熱体部250が設定温度値より高いことが分かるようになる。
生理痛緩和部200は肌に直接接触して生理痛緩和器本体部100から駆動信号によって駆動される手段で、経皮刺激電極パッド部220、面状発熱体部250、温度検出部290を含む。
経皮刺激電極パッド部220は経皮刺激電極パッド駆動部160の駆動信号によって駆動される手段で、使用者の腹部または背部と接触して駆動信号によって経皮神経電気刺激(TENS)を提供する。
経皮刺激電極パッド部220は、腹部において、恥骨(上部)部位の左右の前外側部(または諸下方に左右の疼痛部位の前外側部)と上前腸骨棘(上部)の左右をカバーするように腹部に装着されることができる。
経皮刺激電極パッド部220は、背部において、大腿部の内側に位置した脊髓部位L3と会陰部に位置した脊髓部位S2レベルの両側方脊柱部分を含む背部領域の左右をカバーするように背部に装着されることができる。
経皮刺激電極パッド部220の数は任意に変更が可能で、経皮刺激電極パッド部220の刺激位置も使用者が任意に変更が可能である。
面状発熱体部250は面状発熱体駆動部170によって駆動される手段で、使用者の腹部と接触して駆動信号によって温熱刺激を提供する。面状発熱体部250が腹部に温熱刺激を提供する場合、関元穴と石門穴を含む腹部部位に温熱刺激を提供することができ、面状発熱体部250は関元穴と石門穴を刺激することができる十分な大きさを有する。面状発熱体部250の刺激位置は使用者が任意に変更が可能である。
温度検出部290は温度センサーを面状発熱体部250の上に装着して上記温度センサーから面状発熱体部250の温度を検出する手段である。
図3は生理痛によって恥骨上部領域に放散する疼痛を緩和するための経皮神経電気刺激の電極位置の一例を説明するための説明図である。
恥骨上部領域の疼痛を軽減させるため、経皮刺激電極パッド部220は恥骨(上部)部位の左右の前外側部(または諸下方に左右の疼痛部位の前外側部)と上前腸骨棘(上部)の左右をカバーするように腹部に装着されることができる。
図4は生理痛によって背部領域に放散する疼痛を緩和するための経皮神経電気刺激の電極位置を説明するための説明図である。
背部の疼痛を軽減させるため、経皮刺激電極パッド部220は大腿部の内側に位置した脊髓部位L3と会陰部に位置した脊髓部位S2レベルの両側方脊柱部分をカバーするように腹部に装着されることができる。
図5は本発明の好ましい一実施形態による携帯用生理痛緩和器の生理痛緩和部を説明するための生理痛緩和部200の分解斜視図で、図6は図5の携帯用生理痛緩和器の生理痛緩和部の使用状態の説明図として、生理痛緩和部200は接着パッド部210、経皮刺激電極パッド部220、回路ハウジング上部カバー部230、回路基板部240、回路ハウジング下部カバー部270、ハーネス部280を含む。
接着パッド部210は導電性ゲルからなるパッチ型パッドで、肌と直接接触して、肌と経皮刺激電極パッド部220を導電させて経皮神経電気刺激(TENS)を容易にし、肌への電極の固定を補助する。即ち、接着パッド部210は肌と経皮刺激電極パッド部220との間に位置されて、一般に、電極の装着の時、電極と肌との間に電解質が位置されるように、電解質を塗る過程を省略することができ、着脱が可能で電極を固定するのに役に立ち、交換が容易である。接着パッド部210は接着性を有する交換型ヒドロゲルで形成することができる。接着パッド部210の数と位置は経皮刺激電極パッド部220の数と位置によって任意に変更が可能である。
経皮刺激電極パッド部220は接着パッド部210の下端に位置されて、接着パッド部210と接触して接着パッド部210より大きさの小さい可撓性電極パッドで、体の曲面によく接触されるようにし、動きの影響を減少するために薄板または膜状に製作された電極である。経皮刺激電極パッド部220は柔軟な材質の伝導性ゴムを用いてもよい。経皮刺激電極パッド部220は炭素電極を用いることができる。
経皮刺激電極パッド部220は、腹部において、恥骨(上部)部位の左右の前外側部と左右の上前腸骨棘(上部)を刺激することができる十分な大きさを有し、また、経皮刺激電極パッド部220が背部領域で大腿部の内側に位置した脊髓部位L3と会陰部に位置した脊髓部位S2レベルの両側方脊柱部分を刺激することができる十分な大きさを有する。
回路ハウジング上部カバー部230は回路基板部240のハウジングの上部カバーで、その上面に接着パッド部210と経皮刺激電極パッド部220が装着されるように形成され、シリコーン材質で形成されて、自由に曲げることができる。回路ハウジング上部カバー部230は経皮刺激電極パッド装着部232、接着パッド装着部234、面状発熱体接触部236を含む。
経皮刺激電極パッド装着部232は経皮刺激電極パッド部220が装着される部分で、経皮刺激電極パッド部220が挿入できる孔に形成され、経皮刺激電極パッド部220が適合するように挿入されて内装するように形成される。経皮刺激電極パッド装着部232は経皮刺激電極パッド部220の形状と数によって任意に形状と数が変更が可能である。経皮刺激電極パッド部220は複数用いられることができ、従って、経皮刺激電極パッド装着部232は回路ハウジング上部カバー部230上に複数備えられることができる。
接着パッド装着部234は接着パッド部210が装着される部分で、即ち、回路ハウジング上部カバー部230上に接着パッド部210が接着されることができる接着面である。即ち、回路ハウジング上部カバー部230に経皮刺激電極パッド部220が装着され、その上に接着パッド部210が装着されるように、接着パッド装着部234は経皮刺激電極パッド装着部232を含む。回路ハウジング上部カバー部230の表面(即ち、上面)と接着パッド部210が接触する。
接着パッド装着部234の枠は段差を備える。これは接着パッド部210が接着パッド装着部234に接着された後接着パッド装着部234の枠の段差によって、接着パッド部210を接着パッド装着部234に安定的に固定させることが可能であり、肌と接触の時接着パッド部210が推されることを防止する。接着パッド装着部234は接着パッド部の形状と数によって任意に形状と数が変更可能である。接着パッド装着部234の数は経皮刺激電極パッド装着部232の数と同じである。
面状発熱体接触部236は使用者の肌と接触し、下端に面状発熱体部250と接触して、面状発熱体部250で提供する温熱刺激を肌に伝達する手段である。即ち、回路ハウジング上部カバー部230の下端に面状発熱体部250が備えられ、面状発熱体部250の上端部の回路ハウジング上部カバー部230上に面状発熱体接触部236を備えて、面状発熱体部250からの温熱を肌に伝達する。面状発熱体接触部236は面状発熱体部250の形状と大きさによって任意に形状と大きさを変更可能である。面状発熱体接触部236は熱伝導性のある材質で形成されることができる。
回路基板部240は回路ハウジング上部カバー部230と回路ハウジング下部カバー部270との間に挟持されて装着される。即ち、回路基板部240は回路ハウジング上部カバー部230の下端に位置され、回路ハウジング上部カバー部230より小さく形成され、経皮刺激電極パッド部220と面状発熱体部250を駆動する手段として、面状発熱体部250、経皮電極回路部260、ハーネス結合部265を含む。
面状発熱体部250は回路基板部240の中央部分に位置され、肌と接触の時、関元穴と石門穴を含む腹部部位に温熱刺激を提供可能で、面状発熱体部250は関元穴と石門穴を刺激することができる十分な大きさを有する。面状発熱体部250の刺激位置は使用者が任意に変更が可能である。面状発熱体部250はフィルム状に形成してもよく、伸縮性のある薄壁材質を使用してもよい。
経皮電極回路部260は経皮刺激電極パッド部220を駆動させる回路で、経皮刺激電極パッド部220の下端面と接触して経皮刺激電極パッド部220が導電されて経皮神経電気刺激(TENS)を提供することができるように形成される。経皮電極回路部260は回路基板部240の上に導電性インクで印刷された部分で、経皮刺激電極パッド部220の下端面と接触して経皮刺激電極パッド部220が導電されて経皮神経電気刺激(TENS)を提供することができる手段である。経皮電極回路部260は経皮刺激電極パッド部220の位置、大きさ及び数によって経皮電極回路部260の位置、大きさ及び数が任意に変更可能である。
ハーネス結合部265は回路基板部240で、外部側へ突出された形状をしており、ハーネス部280と結合するための手段で、ハーネス部280で経皮刺激電極パッド部220及び面状発熱体部250の信号線が連結されて、ハーネス部280を通じて生理痛緩和器本体100と連結される。
回路ハウジング下部カバー部270は回路基板部240の下端に位置され、回路基板部240の大きさより大きく、回路ハウジング上部カバー部230とは大きさが同一であり、シリコーン材質で形成されて、自由に曲げることができる。
ハーネス部280は生理痛緩和部200にケーブルを連結する役割を果たす手段で、回路ハウジング上部カバー部230、回路基板部240、回路ハウジング下部カバー部270が結合した後、回路基板部240のハーネス結合部265部分位置にハーネス部280が結合されることができる。ハーネス部280は回路ハウジング上部カバー部230の一部と結合可能な第1ハーネス部282と回路ハウジング下部カバー部270の一部と結合可能な第2ハーネス部284、ケーブルが連結される通路であるケーブル連結部286を含む。
図5において、面状発熱体部250が中央部分に位置され、その左右両側に経皮刺激電極パッド部220に位置されるように構成されているが、面状発熱体部250及び経皮刺激電極パッド部220の位置及び数量はこれで限定するためのものではないことを明確にする。
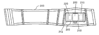
図7は本発明の好ましい一実施形態による生理痛緩和部が装着される前の腹帯部の後面図で、図8は図7の腹帯部の後面に生理痛緩和部が装着されたことを説明するための説明図である。
腹帯部300は腹部を囲み、腹部を包む手段で、携帯用生理痛緩和器の生理痛緩和部200をより安定的に固定させる手段である。通常、日常生活では生理痛緩和部200を肌に接触するだけで固定が可能であるが、体の活動性が多い場合、より安定的に生理痛緩和部200を固定させる役割を腹帯部300がする。腹帯部300は生理痛緩和部装着部310を含む。
生理痛緩和部装着部310は腹帯部300の後面の任意の位置に生理痛緩和部200を装着できる手段で、第1生理痛緩和部装着部312、第2生理痛緩和部装着部315を含む。
第1生理痛緩和部装着部312は腹帯部300の後面の任意の位置に生理痛緩和部200の左右両側端が挿入できるポケットを備えることができ、生理痛緩和部200の左右両側端が挿入されて充分に固定されることができる程度の幅であると同時に、接着パッド部210が位置された箇所とは重ならない。
第2生理痛緩和部装着部315は生理痛緩和部200の面状発熱体部250がある位置にハーネス部280を含む生理痛緩和部200の中間部分が挿入される掛け金型手段で、腹帯部300を着用する時を基準に下、上方向は塞がれ、左右は開いている形状である。第2生理痛緩和部装着部315の大きさは任意に変更が可能であるが、接着パッド部210が位置された箇所とは重ならない。
生理痛緩和器本体部100の場合、腹帯部300の一側や使用者の所望の位置にこれを固定したり、入れて使用することができる。
本発明は以上で説明され、図面に例示されたものによって限定されるものではなく、当業者であれば、以下に記載する請求の範囲内でさらに多様な変形及び変更例が可能であることは当然である。
本発明は経皮神経電気刺激(Transcutaneous electrical nerve stimulation:TENS)及び温熱刺激による携帯用生理痛緩和器に関し、本発明の携帯用生理痛緩和器は着用が容易で且つ携帯が可能で、いつ、どこでも使用が可能である。従って、生理痛に苦しんでいる女性の生活の質を向上させ、女性の社会生活を支援できる福祉増大に寄与する。

Claims (24)

  1. 経皮刺激電極を備えて、腹部または背部に経皮刺激を与える経皮刺激電極パッド部と、
    面状発熱体を備えて、腹部に温熱刺激を与える面状発熱体部と、
    温度センサーを備え、前記面状発熱体部に前記温度センサーを装着して前記面状発熱体部の温度を検出する温度検出部と、
    前記経皮刺激電極パッド部及び前記面状発熱体部の駆動を制御し、前記温度検出部で検出された温度が既設定された面状発熱体部の設定温度より大きい場合、前記面状発熱体部の駆動を終了させるように制御する演算処理部とを含むことを特徴とする携帯用生理痛緩和器。
  2. 恥骨部位の痛症を有する生理痛を緩和させる携帯用生理痛緩和器において、
    経皮刺激電極を備えて、腹部または背部に経皮刺激を与える経皮刺激電極パッド部と、面状発熱体を備えて、腹部に温熱刺激を与える面状発熱体部とを備える生理痛緩和部と、
    電源部を備えて、前記生理痛緩和部に電源を供給し、前記経皮刺激電極パッド部を制御する経皮刺激電極制御信号及び前記面状発熱体部を制御する面状発熱体制御信号を生成する演算処理部を備える生理痛緩和器本体部とからなることを特徴とする携帯用生理痛緩和器。
  3. 前記電源部は充電可能なバッテリー部を含むことを特徴とする請求項2に記載の携帯用生理痛緩和器。
  4. 前記電源部は220V常用電源やノート・パンコンやコンピューターにUSBを連結して充電することを特徴とする請求項3に記載の携帯用生理痛緩和器。
  5. 前記電源部の前記バッテリーは携帯電話用バッテリーで、携帯電話バッテリーの充電器でバッテリーの充電が可能であることを特徴とする請求項3に記載の携帯用生理痛緩和器。
  6. 前記生理痛緩和部は、
    温度センサーを備え、前記面状発熱体部に前記温度センサーを装着して、前記面状発熱体部の温度を検出する温度検出部と、
    前記温度検出部の出力信号をディジタル信号に変換するA/D変換部とをさらに備えることを特徴とする請求項2に記載の携帯用生理痛緩和器。
  7. 前記演算処理部は、前記温度検出部で検出された温度が既設定された面状発熱体部の設定温度より大きい場合前記面状発熱体部の駆動を終了させるように制御することを特徴とする請求項6に記載の携帯用生理痛緩和器。
  8. 前記生理痛緩和器本体部は、生理痛緩和器の作動のオン/オフスィッチ、経皮刺激電極パッド部の刺激強度を設定する刺激強度設定モード部、面状発熱体部の温度を設定する温度設定モード部、経皮刺激電極パッド部と面状発熱体部の作動時間を設定する作動時間設定モード部を備えるキー入力部と、
    前記演算処理部の出力信号を表示する表示部と、
    前記演算処理部の出力信号をアナログ信号に変換するD/A変換部とをさらに備えることを特徴とする請求項7に記載の携帯用生理痛緩和器。
  9. 前記演算処理部から前記D/A変換部を通じて経皮刺激電極制御信号を受信して、前記経皮刺激電極パッド部を駆動させる経皮刺激電極パッド駆動部と、
    前記演算処理部から前記D/A変換部を通じて面状発熱体制御信号を受信して、前記面状発熱体部を駆動させる面状発熱体駆動部とをさらに備えることを特徴とする請求項8に記載の携帯用生理痛緩和器。
  10. 前記経皮刺激電極パッド駆動部で前記経皮刺激電極パッドを駆動させる駆動信号は周波数100〜120Hz、双極性矩形波を利用することを特徴とする請求項9に記載の携帯用生理痛緩和器。
  11. 前記温度検出部で検出された温度が既設定された面状発熱体部の設定温度より大きい場合、ディスプレーしたり、ランプを点滅したり、振動部の振動を通じて知らせることを特徴とする請求項7に記載の携帯用生理痛緩和器。
  12. 前記経皮刺激電極パッド部は、腹部において、恥骨(上部)部位の左右の前外側部と上前腸骨棘(上部)の左右をカバーするように位置されることを特徴とする請求項1または2に記載の携帯用生理痛緩和器。
  13. 経皮刺激電極パッド部は、背部において、大腿部の内側に位置した脊髓部位(L3)と会陰部に位置した脊髓部位(S2)レベルの両側方脊柱部分を含む背部領域の左右をカバーするように位置されることを特徴とする請求項1または2に記載の携帯用生理痛緩和器。
  14. 面状発熱体部は関元穴と石門穴を含む腹部部位に位置されることを特徴とする請求項1または2に記載の携帯用生理痛緩和器。
  15. 腹部または背部に経皮刺激を与える経皮刺激電極パッド部、腹部に温熱刺激を与える面状発熱体部を備える携帯用生理痛緩和器において、
    中央部に前記面状発熱体部が位置され、前記面状発熱体部の左右両側に前記経皮刺激電極パッド部を駆動させる経皮電極回路部を備える回路基板部と、
    前記回路基板部の上に位置して、前記回路基板部を覆う上部カバーで、前記回路基板部の前記経皮電極回路部の上の対応する位置には前記経皮刺激電極パッド部が装着されるための孔である経皮刺激電極パッド装着部が形成されている回路ハウジング上部カバー部と、
    前記回路基板部の下に位置して、前記回路基板部を支える下部カバーで、前記回路基板部を挟持して前記回路ハウジング上部カバー部と結合される回路ハウジング下部カバー部と、
    前記回路ハウジング上部カバー部の上面に位置し、前記経皮刺激電極パッド装着部に装着された前記経皮刺激電極パッド部の上に位置され、導電性ゲルからなるパッチ型パッドで、肌と直接接触される接着パッド部とを備える生理痛緩和部を含むことを特徴とする携帯用生理痛緩和器。
  16. 前記回路ハウジング上部カバー部の中央部であり、前記回路基板部の面状発熱体の上部には肌と接触して熱を伝達する面状発熱体接触部が備えられることを特徴とする請求項15に記載の携帯用生理痛緩和器。
  17. 前記接着パッド部は接着性を有するヒドロゲルからなることを特徴とする請求項15に記載の携帯用生理痛緩和器。
  18. 前記経皮刺激電極パッド部は伝導性ゴムまたは炭素電極からなることを特徴とする請求項15に記載の携帯用生理痛緩和器。
  19. 前記回路ハウジング上部カバー部と前記回路ハウジング下部カバー部はシリコーンからなることを特徴とする請求項15に記載の携帯用生理痛緩和器。
  20. 前記回路ハウジング上部カバー部の上面で前記接着パッド部が装着される接着パッド装着部の枠は段差を備えて、接着パッド部が推されることを防止することを特徴とする請求項15に記載の携帯用生理痛緩和器。
  21. 前記経皮電極回路部は導電性インクで印刷されており、前記経皮刺激電極パッド部の下端面と接触して前記経皮刺激電極パッド部が導電されて、経皮神経電気刺激を提供するようになることを特徴とする請求項15に記載の携帯用生理痛緩和器。
  22. 前記回路基板部の中央部の一側に前記経皮刺激電極パッド部及び前記面状発熱体部の信号線を生理痛緩和器本体と連結するためのハーネス結合部を備えることを特徴とする請求項15に記載の携帯用生理痛緩和器。
  23. 前記生理痛緩和部が装着される腹帯部をさらに備えることを特徴とする請求項2または15に記載の携帯用生理痛緩和器。
  24. 前記腹帯部は前記生理痛緩和部の左右両側端が挿入されて固定されるポケットを備え,前記ポケットの間の中央部に下、上方向は塞がれ、左右は開いている掛け金が位置されて、前記掛け金に前記生理痛緩和部が掛けられて固定されることを特徴とする請求項23に記載の携帯用生理痛緩和器。
JP2011528919A 2008-09-29 2009-08-31 生理痛緩和のための携帯用複合刺激器 Expired - Fee Related JP5497769B2 (ja)

Applications Claiming Priority (3)

Application Number Priority Date Filing Date Title
KR10-2008-0095279 2008-09-29
KR1020080095279A KR100915320B1 (ko) 2008-09-29 2008-09-29 생리통완화를 위한 휴대용 조합자극기
PCT/KR2009/004887 WO2010035962A2 (ko) 2008-09-29 2009-08-31 생리통완화를 위한 휴대용 조합자극기

Publications (2)

Publication Number Publication Date
JP2012504013A true JP2012504013A (ja) 2012-02-16
JP5497769B2 JP5497769B2 (ja) 2014-05-21

Family

ID=41355289

Family Applications (1)

Application Number Title Priority Date Filing Date
JP2011528919A Expired - Fee Related JP5497769B2 (ja) 2008-09-29 2009-08-31 生理痛緩和のための携帯用複合刺激器

Country Status (5)

Country Link
US (1) US9421123B2 (ja)
JP (1) JP5497769B2 (ja)
KR (1) KR100915320B1 (ja)
CN (1) CN101939049B (ja)
WO (1) WO2010035962A2 (ja)

Cited By (5)

* Cited by examiner, † Cited by third party
Publication number Priority date Publication date Assignee Title
JP3185978U (ja) * 2013-07-01 2013-09-12 東洋物産株式会社 保温具
WO2015122014A1 (ja) * 2014-02-17 2015-08-20 つちやゴム株式会社 電気温熱治療器用パッド
JP2021132788A (ja) * 2020-02-26 2021-09-13 Fos株式会社 頚椎物理療法器具及び頚椎物理療法装置
JP7126644B1 (ja) 2021-11-11 2022-08-29 株式会社Star’Q 電気刺激器具
JP2023509244A (ja) * 2020-01-13 2023-03-08 ブレインユー カンパニー リミテッド 経穴刺激装置及びそれを用いた経穴刺激方法

Families Citing this family (80)

* Cited by examiner, † Cited by third party
Publication number Priority date Publication date Assignee Title
US6907884B2 (en) 2002-09-30 2005-06-21 Depay Acromed, Inc. Method of straddling an intraosseous nerve
US7258690B2 (en) 2003-03-28 2007-08-21 Relievant Medsystems, Inc. Windowed thermal ablation probe
US8361067B2 (en) 2002-09-30 2013-01-29 Relievant Medsystems, Inc. Methods of therapeutically heating a vertebral body to treat back pain
US8579953B1 (en) 2007-12-07 2013-11-12 Peter J. Dunbar Devices and methods for therapeutic heat treatment
WO2010036865A2 (en) 2008-09-26 2010-04-01 Relievant Medsystems, Inc. Systems and methods for navigating an instrument through bone
US10028753B2 (en) 2008-09-26 2018-07-24 Relievant Medsystems, Inc. Spine treatment kits
US20110125205A1 (en) * 2009-11-25 2011-05-26 Mohn Louise Thermostimulation system including multilayer pads with integrated temperature regulations
US20110125204A1 (en) * 2009-11-25 2011-05-26 Mohn Louise Electrostimulation pad with integrated temperature sensor
US20110130796A1 (en) * 2009-11-27 2011-06-02 Mohn Louise Thermostimulation methods using multilayer pads with integrated temperature regulation
EP2446865A1 (en) 2010-10-28 2012-05-02 Louise Mohn Thermostimulation apparatus
KR101949543B1 (ko) * 2011-01-21 2019-02-18 케어웨이브 메디컬, 인크. 모듈형 자극 인가 시스템 및 방법
KR101225133B1 (ko) * 2011-05-16 2013-01-22 주식회사 칼라세븐 생리통 치료기
US10828188B2 (en) * 2011-07-18 2020-11-10 Kenji Ryotokuji Stimulus method for releasing stress, and stress-free medical treatment method by the stimulus method
WO2013101772A1 (en) 2011-12-30 2013-07-04 Relievant Medsystems, Inc. Systems and methods for treating back pain
KR101348103B1 (ko) * 2012-02-15 2014-01-08 (주)메디룬 휴대단말기를 이용한 통증 제어장치 및 방법
KR101338221B1 (ko) * 2012-02-17 2013-12-06 박병원 생리기전 활성화 장치 및 그 구성 방법
KR200474627Y1 (ko) 2012-04-24 2014-10-06 (주)메디룬 휴대용 생리통 완화기
CN102743816A (zh) * 2012-07-06 2012-10-24 符竞之 手持便携式经皮神经电刺激镇痛方法及镇痛器和用途
US10588691B2 (en) 2012-09-12 2020-03-17 Relievant Medsystems, Inc. Radiofrequency ablation of tissue within a vertebral body
KR101367649B1 (ko) 2012-10-16 2014-02-28 (주)메디룬 8채널형 경피자극과 온열자극을 조합한 통증 완화 장치
CA2889478C (en) 2012-11-05 2020-11-24 Relievant Medsystems, Inc. Systems and methods for creating curved paths through bone and modulating nerves within the bone
US11877860B2 (en) 2012-11-06 2024-01-23 Nuvasive, Inc. Systems and methods for performing neurophysiologic monitoring during spine surgery
US11259737B2 (en) 2012-11-06 2022-03-01 Nuvasive, Inc. Systems and methods for performing neurophysiologic monitoring during spine surgery
US9962546B2 (en) 2013-02-21 2018-05-08 Meagan Medical, Inc. Cutaneous field stimulation with disposable and rechargeable components
EP2968920A1 (en) * 2013-03-11 2016-01-20 Ohio State Innovation Foundation Devices and systems for treating obstetric and gynecological disorders
US11229789B2 (en) 2013-05-30 2022-01-25 Neurostim Oab, Inc. Neuro activator with controller
KR102363552B1 (ko) 2013-05-30 2022-02-15 그라함 에이치. 크리시 국부 신경 자극
KR101364598B1 (ko) * 2013-06-14 2014-02-20 (주)인성정보 휴대용 저주파 생리통 완화장치 및 이의 작동방법
US9724151B2 (en) 2013-08-08 2017-08-08 Relievant Medsystems, Inc. Modulating nerves within bone using bone fasteners
KR101450212B1 (ko) * 2014-04-10 2014-10-13 한국기계연구원 인쇄전극을 이용한 전기진동 발생기
US12121722B2 (en) * 2014-07-10 2024-10-22 Hi-Dow Iphc, Inc. Wireless electrical stimulation system
KR101557971B1 (ko) * 2014-12-24 2015-10-08 주식회사 파이오메드 휴대용 저주파 발생 패드
US11077301B2 (en) 2015-02-21 2021-08-03 NeurostimOAB, Inc. Topical nerve stimulator and sensor for bladder control
US10463854B2 (en) 2015-02-24 2019-11-05 Elira, Inc. Systems and methods for managing symptoms associated with dysmenorrhea using an electro-dermal patch
WO2016160691A1 (en) 2015-03-28 2016-10-06 The Regents Of The University Of California Thermoelectric temperature controlled cooler for biomedical applications
KR101566781B1 (ko) 2015-04-17 2015-11-06 (주)와이브레인 전극 패드
KR101628299B1 (ko) * 2015-09-09 2016-06-08 (주)와이브레인 전극 패드
KR101758903B1 (ko) 2015-10-22 2017-07-18 (주)와이브레인 경두개 직류 자극(tDCS) 장치
WO2017075359A2 (en) * 2015-10-29 2017-05-04 Elira Therapeutics Llc Systems and methods for managing symptoms associated with dysmenorrhea using an electro-dermal patch
US10149975B2 (en) * 2016-03-01 2018-12-11 Easywell Biomedicals, Inc. Transcutaneous electrical nerve stimulation device
JP7101123B2 (ja) 2016-03-28 2022-07-14 ハイポサーミア デバイシズ,インコーポレイテッド 熱交換モジュール、システムおよび方法
CA3019306A1 (en) * 2016-03-28 2017-10-05 The Regents Of The University Of California Heat exchange module and system for medical applications
UY36935A (es) 2016-03-31 2017-11-30 Medecell S A Proceso para establecer un protocolo de electroestimulación para el control de dolores pélvicos, y el respectivo equipo portátil de electroestimulación para el control de dolores pélvicos utilizando el referido protocolo
WO2018014107A1 (en) * 2016-07-21 2018-01-25 Ekaabo Inc. Portable compress device and method of use
GB2553089B (en) 2016-08-15 2018-11-21 Ipulse Medical Ltd Device for providing pain relief
JP7166249B2 (ja) 2016-09-28 2022-11-07 ハイポサーミア デバイシズ,インコーポレイテッド 熱交換モジュール、システム、および方法
CA3037832C (en) 2016-11-22 2023-03-14 Wellscare Co., Ltd Laser patch and laser patch procedure set including same
KR101846795B1 (ko) * 2016-11-22 2018-04-09 이성원 광 시술 패치 및 이를 구비하는 광 시술 패치 셋트
CN106618845B (zh) * 2016-12-02 2023-11-14 常州时和机电科技有限公司 低电压直流电加热可穿戴装置安全防护装置
KR102064361B1 (ko) * 2017-06-13 2020-01-09 주식회사 아모라이프사이언스 멀티 센싱이 가능한 패치형 센서모듈
WO2018110932A1 (ko) * 2016-12-13 2018-06-21 주식회사 아모라이프사이언스 패치형 센서모듈
CN107261335A (zh) * 2017-06-28 2017-10-20 王启莲 产后康复治疗装置
EP3706856A4 (en) 2017-11-07 2021-08-18 Neurostim Oab, Inc. NON-INVASIVE NERVOUS ACTIVATOR WITH ADAPTIVE CIRCUIT
JP7617743B2 (ja) 2017-12-18 2025-01-20 ダン サックス, 療法用筋肉刺激のためのデバイス、システム、および方法
CN108852812A (zh) * 2018-05-18 2018-11-23 广州复大医疗有限公司复大肿瘤医院 穴位电疗贴
EP3883639B1 (en) 2018-11-20 2023-02-22 Nuenerchi, Inc. Electrical stimulation device for applying frequency and peak voltage having inverse relationship
US11458311B2 (en) 2019-06-26 2022-10-04 Neurostim Technologies Llc Non-invasive nerve activator patch with adaptive circuit
KR102122681B1 (ko) * 2019-07-19 2020-06-12 이성원 광 시술 패치
WO2021028459A1 (en) * 2019-08-13 2021-02-18 Diavein Method for preventing or treating menstrual pain in women suffering from dysmenorrhea using electric stimulation
CN110638631B (zh) * 2019-08-28 2021-12-21 孙玉琴 一种产后月子调养理疗仪
CA3150339A1 (en) 2019-09-12 2021-03-18 Brian W. Donovan Systems and methods for tissue modulation
KR102275614B1 (ko) * 2019-09-20 2021-07-09 연세대학교 산학협력단 저차원 소재 기반의 온도 센서를 구비하는 헬스케어 장치 및 그 동작방법
WO2021126921A1 (en) 2019-12-16 2021-06-24 Neurostim Solutions, Llc Non-invasive nerve activator with boosted charge delivery
US12115098B1 (en) * 2020-05-14 2024-10-15 Jason Fladoos Physio tape with inductive heating system
AU2021306313A1 (en) 2020-07-10 2023-03-02 Relievant Medsystems, Inc. Vertebral denervation in conjunction with vertebral fusion
KR102507751B1 (ko) * 2020-08-27 2023-03-08 백진 저주파 뜸기 세트
US12082876B1 (en) 2020-09-28 2024-09-10 Relievant Medsystems, Inc. Introducer drill
US11779760B2 (en) 2020-12-21 2023-10-10 Oasis Medical Solutions, LLC Method and apparatus for portably treating muscular discomfort
EP4268150A4 (en) 2020-12-22 2024-12-18 Relievant Medsystems, Inc. PREDICTION OF CANDIDATES FOR SPINAL CORD NEUROMODULATION
FR3119332B1 (fr) * 2021-02-04 2023-11-24 Urgo Rech Innovation Et Developpement Programmation d’un dispositif d’electrostimulation transcutanee chauffant
CN113082511B (zh) * 2021-03-05 2023-05-16 上海中医药大学附属岳阳中西医结合医院 一种缓解或治疗痛经的穿戴套组
KR102331473B1 (ko) * 2021-05-10 2021-12-02 엑스카즈믹 주식회사 면상발열체를 이용한 건강보조용 한방 발열패치
WO2023003772A1 (en) * 2021-07-22 2023-01-26 Kota Kiran Flexible thermoelectric device
US12433668B1 (en) 2021-11-08 2025-10-07 Relievant Medsystems, Inc. Impedance stoppage mitigation during radiofrequency tissue ablation procedures
FR3133993A1 (fr) 2022-04-05 2023-10-06 Marion BLIN Ceinture chauffante pour l’apaisement des douleurs menstruelles
US20250281743A1 (en) * 2022-04-25 2025-09-11 The United States Government As Represented By The Department Of Veterans Affairs Transcutaneous Electrical Spinal Cord Stimulator for Treating Pain
WO2024252422A1 (en) * 2023-06-09 2024-12-12 Ru Medical Private Limited A wearable device to treat menopausal hot flashes
WO2025010498A1 (en) * 2023-07-11 2025-01-16 Juno Technolgies Inc Menstrual pain management device
JP7551090B1 (ja) 2023-12-18 2024-09-17 大阪ヒートクール株式会社 生理痛記録体験方法、生理痛記録装置、制御サーバ、生理痛体験装置、及びプログラム
WO2025160357A1 (en) * 2024-01-25 2025-07-31 Case Western Reserve University Locating a superficial neural structure using non-invasive electrical mapping

Citations (5)

* Cited by examiner, † Cited by third party
Publication number Priority date Publication date Assignee Title
JPH1099363A (ja) * 1996-09-26 1998-04-21 Kawasaki Kiyoshi 加熱パッド装置
WO1998029063A1 (en) * 1996-12-31 1998-07-09 The Procter & Gamble Company Disposable thermal body pad
JP2000000259A (ja) * 1998-06-16 2000-01-07 Kinzo Yamada 静脈加温帯
WO2006006655A1 (ja) * 2004-07-14 2006-01-19 Mycoal Products Corporation 発熱パッド及びその使用方法
US20120221073A1 (en) * 2009-09-03 2012-08-30 Bridget Rae Southwell Transcutaneous stimulation method and system

Family Cites Families (6)

* Cited by examiner, † Cited by third party
Publication number Priority date Publication date Assignee Title
KR950012371B1 (ko) * 1992-03-31 1995-10-17 산요덴끼 가부시끼가이샤 온열 전기 치료기
EP1163026A1 (en) * 1999-03-24 2001-12-19 Lloyd R. Saberski Apparatus and methods for reducing pain and/or retraining muscles
KR200299458Y1 (ko) * 2002-10-07 2002-12-31 (주)아이디어누리 찜질기능을 갖는 에어복대
KR20040085440A (ko) * 2003-03-31 2004-10-08 이에스엠티 주식회사 경피 신경 자극 치료 장치
US20070213341A1 (en) 2006-03-13 2007-09-13 Li Chen Spiroindolinone derivatives
KR100840752B1 (ko) * 2007-01-16 2008-06-24 주식회사 씨에스인코 공진형 전기 자극방식을 이용한 통증완화장치

Patent Citations (6)

* Cited by examiner, † Cited by third party
Publication number Priority date Publication date Assignee Title
JPH1099363A (ja) * 1996-09-26 1998-04-21 Kawasaki Kiyoshi 加熱パッド装置
WO1998029063A1 (en) * 1996-12-31 1998-07-09 The Procter & Gamble Company Disposable thermal body pad
JP2001507593A (ja) * 1996-12-31 2001-06-12 ザ、プロクター、エンド、ギャンブル、カンパニー 使い捨て式温熱ボデーパッド
JP2000000259A (ja) * 1998-06-16 2000-01-07 Kinzo Yamada 静脈加温帯
WO2006006655A1 (ja) * 2004-07-14 2006-01-19 Mycoal Products Corporation 発熱パッド及びその使用方法
US20120221073A1 (en) * 2009-09-03 2012-08-30 Bridget Rae Southwell Transcutaneous stimulation method and system

Cited By (8)

* Cited by examiner, † Cited by third party
Publication number Priority date Publication date Assignee Title
JP3185978U (ja) * 2013-07-01 2013-09-12 東洋物産株式会社 保温具
WO2015122014A1 (ja) * 2014-02-17 2015-08-20 つちやゴム株式会社 電気温熱治療器用パッド
JPWO2015122014A1 (ja) * 2014-02-17 2017-03-30 つちやゴム株式会社 電気温熱治療器用パッド
JP2023509244A (ja) * 2020-01-13 2023-03-08 ブレインユー カンパニー リミテッド 経穴刺激装置及びそれを用いた経穴刺激方法
JP7675439B2 (ja) 2020-01-13 2025-05-13 ブレインユー カンパニー リミテッド 経穴刺激装置及びそれを用いた経穴刺激方法
JP2021132788A (ja) * 2020-02-26 2021-09-13 Fos株式会社 頚椎物理療法器具及び頚椎物理療法装置
JP7126644B1 (ja) 2021-11-11 2022-08-29 株式会社Star’Q 電気刺激器具
JP2023071452A (ja) * 2021-11-11 2023-05-23 株式会社Star’Q 電気刺激器具

Also Published As

Publication number Publication date
JP5497769B2 (ja) 2014-05-21
WO2010035962A3 (ko) 2010-07-15
KR100915320B1 (ko) 2009-09-03
CN101939049B (zh) 2014-02-05
WO2010035962A2 (ko) 2010-04-01
US20120109233A1 (en) 2012-05-03
US9421123B2 (en) 2016-08-23
CN101939049A (zh) 2011-01-05

Similar Documents

Publication Publication Date Title
JP5497769B2 (ja) 生理痛緩和のための携帯用複合刺激器
US20230072751A1 (en) Devices, systems and methods for treating pain with electrical stimulation
US10188859B2 (en) Portable one-piece therapeutical apparatus with dual heating and low-frequency treatment functions
CN116672606A (zh) 一种经皮脊髓电刺激装置和方法
KR200474627Y1 (ko) 휴대용 생리통 완화기
JP3203533U (ja) 携帯用シート式加熱と低周波両機能を備えた治療器
CN209575516U (zh) 一种护腰式热敷分娩按摩仪
CN203154256U (zh) 一种医疗按摩器
KR20200133954A (ko) 휴대용 생리통 완화기
CN215938790U (zh) 一种电刺激治疗装置
KR100409100B1 (ko) 휴대폰을 활용한 탈부착형 전기자극장치
CN211050715U (zh) 一种电极贴片式肩颈穴位定点按摩仪
CN223846086U (zh) 一种脑卒中吞咽障碍辅助训练仪
CN221431925U (zh) 一种经络电刺激治疗仪
US20230381494A1 (en) Electric pulse massage apparatus and system
CN202876099U (zh) 耳朵多穴保健仪
CN210750898U (zh) 穿戴式腹部肠胃辅助电疗康复器
CN210044699U (zh) 一种经皮神经电刺激仪
JP2017185227A (ja) 骨盤の疼痛管理の電気刺激プロトコルを確立するためのプロセス、および該プロトコルを使用する骨盤の疼痛管理のためのそれぞれの携帯型電気刺激機器
CN212416041U (zh) 一种便携痛经治疗仪
CN119215326A (zh) 一种无线电子针疗仪
KR20100064453A (ko) 휴대폰을 활용한 탈부착형 전기자극장치
KR20100081685A (ko) 휴대폰을 활용한 탈부착형 전기자극장치
KR20170086754A (ko) 웨어러블 치료기

Legal Events

Date Code Title Description
A621 Written request for application examination

Free format text: JAPANESE INTERMEDIATE CODE: A621

Effective date: 20120604

A871 Explanation of circumstances concerning accelerated examination

Free format text: JAPANESE INTERMEDIATE CODE: A871

Effective date: 20120604

A975 Report on accelerated examination

Free format text: JAPANESE INTERMEDIATE CODE: A971005

Effective date: 20120720

A131 Notification of reasons for refusal

Free format text: JAPANESE INTERMEDIATE CODE: A131

Effective date: 20130827

A601 Written request for extension of time

Free format text: JAPANESE INTERMEDIATE CODE: A601

Effective date: 20131125

A602 Written permission of extension of time

Free format text: JAPANESE INTERMEDIATE CODE: A602

Effective date: 20131202

A521 Request for written amendment filed

Free format text: JAPANESE INTERMEDIATE CODE: A523

Effective date: 20131227

TRDD Decision of grant or rejection written
A01 Written decision to grant a patent or to grant a registration (utility model)

Free format text: JAPANESE INTERMEDIATE CODE: A01

Effective date: 20140204

A61 First payment of annual fees (during grant procedure)

Free format text: JAPANESE INTERMEDIATE CODE: A61

Effective date: 20140306

R150 Certificate of patent or registration of utility model

Ref document number: 5497769

Country of ref document: JP

Free format text: JAPANESE INTERMEDIATE CODE: R150

R250 Receipt of annual fees

Free format text: JAPANESE INTERMEDIATE CODE: R250

R250 Receipt of annual fees

Free format text: JAPANESE INTERMEDIATE CODE: R250

R250 Receipt of annual fees

Free format text: JAPANESE INTERMEDIATE CODE: R250

R250 Receipt of annual fees

Free format text: JAPANESE INTERMEDIATE CODE: R250

LAPS Cancellation because of no payment of annual fees