JP2012240724A - Packaging medium storage container - Google Patents

Packaging medium storage container Download PDF

Info

Publication number
JP2012240724A
JP2012240724A JP2011114091A JP2011114091A JP2012240724A JP 2012240724 A JP2012240724 A JP 2012240724A JP 2011114091 A JP2011114091 A JP 2011114091A JP 2011114091 A JP2011114091 A JP 2011114091A JP 2012240724 A JP2012240724 A JP 2012240724A
Authority
JP
Japan
Prior art keywords
flap
front plate
cut
packaging medium
storage container
Prior art date
Legal status (The legal status is an assumption and is not a legal conclusion. Google has not performed a legal analysis and makes no representation as to the accuracy of the status listed.)
Granted
Application number
JP2011114091A
Other languages
Japanese (ja)
Other versions
JP5698073B2 (en
Inventor
Takayuki Seki
孝幸 関
Makoto Unno
誠 海野
Kenichi Ishii
健一 石井
Nobuhito Ito
宣人 伊藤
Current Assignee (The listed assignees may be inaccurate. Google has not performed a legal analysis and makes no representation or warranty as to the accuracy of the list.)
Kureha Corp
Kyodo Printing Co Ltd
Original Assignee
Kureha Corp
Kyodo Printing Co Ltd
Priority date (The priority date is an assumption and is not a legal conclusion. Google has not performed a legal analysis and makes no representation as to the accuracy of the date listed.)
Filing date
Publication date
Application filed by Kureha Corp, Kyodo Printing Co Ltd filed Critical Kureha Corp
Priority to JP2011114091A priority Critical patent/JP5698073B2/en
Publication of JP2012240724A publication Critical patent/JP2012240724A/en
Application granted granted Critical
Publication of JP5698073B2 publication Critical patent/JP5698073B2/en
Active legal-status Critical Current
Anticipated expiration legal-status Critical

Links

Images

Classifications

    • BPERFORMING OPERATIONS; TRANSPORTING
    • B65CONVEYING; PACKING; STORING; HANDLING THIN OR FILAMENTARY MATERIAL
    • B65DCONTAINERS FOR STORAGE OR TRANSPORT OF ARTICLES OR MATERIALS, e.g. BAGS, BARRELS, BOTTLES, BOXES, CANS, CARTONS, CRATES, DRUMS, JARS, TANKS, HOPPERS, FORWARDING CONTAINERS; ACCESSORIES, CLOSURES, OR FITTINGS THEREFOR; PACKAGING ELEMENTS; PACKAGES
    • B65D83/00Containers or packages with special means for dispensing contents
    • B65D83/08Containers or packages with special means for dispensing contents for dispensing thin flat articles in succession
    • B65D83/0847Containers or packages with special means for dispensing contents for dispensing thin flat articles in succession through an aperture at the junction of two walls
    • B65D83/0852Containers or packages with special means for dispensing contents for dispensing thin flat articles in succession through an aperture at the junction of two walls with means for assisting dispensing
    • B65D83/0882Containers or packages with special means for dispensing contents for dispensing thin flat articles in succession through an aperture at the junction of two walls with means for assisting dispensing and for cutting interconnected articles

Landscapes

  • Engineering & Computer Science (AREA)
  • Mechanical Engineering (AREA)
  • Cartons (AREA)
  • Details Of Rigid Or Semi-Rigid Containers (AREA)

Abstract

【課題】前板の一部を切り起こして設けられたフラップが再び切り込みに嵌まり込んで起き上がりが悪くなる可能性を抑えることができる包装媒体収納容器を提供する。
【解決手段】包装媒体が円筒状に巻かれた包装媒体巻回体を収納する、直方体に形成された包装媒体収納容器は;直方体の6面のうち一面が長方形に開口し;長方形の開口の長辺の一を共有する、直方体の他の一面を形成する長方形の前板を備え;包装媒体は、開口した一面を通って且つ共有された長辺の上を通過して包装媒体収納容器の外へ引き出されるよう構成され;前板は、前板の一部を切り出すカットラインで切り出されたフラップを有し;フラップは、前板上の基部で折り曲げられるように構成され、先端が基部の直角方向に離れた位置に切り出されて構成され;フラップの先端は、切り出しのカットラインからオフセットして設けられる。
【選択図】 図1
The present invention provides a packaging medium storage container capable of suppressing the possibility that a flap provided by cutting and raising a part of a front plate is fitted again into a cut and the rising is worsened.
A packaging medium storage container formed in a rectangular parallelepiped that accommodates a packaging medium wound body in which a packaging medium is wound in a cylindrical shape; one of six sides of the rectangular parallelepiped is opened in a rectangle; A rectangular front plate that forms one side of a rectangular parallelepiped that shares one of the long sides; the packaging medium passes through the open side and passes over the shared long side of the packaging medium storage container. Configured to be pulled out; the front plate has a flap cut out at a cut line that cuts out a portion of the front plate; the flap is configured to be folded at the base on the front plate, with the tip at the base Cut off at right angles and constructed; the flap tip is offset from the cut line.
[Selection] Figure 1

Description

本発明は、包装媒体が円筒状に巻かれた包装媒体巻回体を収納する包装媒体収納容器に関し、特に、包装媒体収納容器の前板に入れられた切り込みから切り出されたフラップが、再び切り込みに嵌まり込むことを防止することができる包装媒体収納容器に関する。   The present invention relates to a packaging medium storage container for storing a packaging medium winding body in which a packaging medium is wound in a cylindrical shape, and in particular, a flap cut out from a cut formed in a front plate of the packaging medium storage container is cut again. It is related with the packaging medium storage container which can prevent fitting in.

図9に示すように、従来の包装媒体供給具101(以下、適宜、供給具101)は、包装媒体巻回体102(以下、適宜、巻回体102)と、巻回体102を収納する包装媒体収納容器103(以下、適宜、収納容器103)とを含んで構成される(例えば、特許文献1参照)。巻回体102は、食品包装用等に使用される包装媒体112を円筒状の巻芯110に巻きつけて巻回体102としたものである。巻回体102は、細長い直方体形状である紙製の収納容器103の中に収納される。   As shown in FIG. 9, a conventional packaging medium supply tool 101 (hereinafter, as appropriate, supply tool 101) accommodates a packaging medium winding body 102 (hereinafter, as appropriate, winding body 102) and the winding body 102. And a packaging medium storage container 103 (hereinafter, appropriately, the storage container 103) (see, for example, Patent Document 1). The wound body 102 is obtained by winding a packaging medium 112 used for food packaging or the like around a cylindrical core 110 to form a wound body 102. The wound body 102 is stored in a paper storage container 103 having an elongated rectangular parallelepiped shape.

収納容器103は、全体に渡って開口している一面130を、上部に有する容器本体115と、容器本体115の開口している一面130を覆って蓋をするように形成され、一端が容器本体115に回動可能に連接された蓋板122とを含んで構成されている。   The storage container 103 is formed so as to cover and cover the container body 115 having an upper surface 130 opened on the entire surface and the opened surface 130 of the container main body 115, and one end of the storage container 103. 115 and a cover plate 122 connected to be rotatable.

容器本体115は、底板104と、前板105と、後板106と、側面板171と、前板105に重ねて配置された副前板107とを有する。収納容器103は、蓋板122に立設された蓋前板123であって、蓋板122が開口している一面130を塞いだときに、前板105に重なる蓋前板123を備える。蓋前板123の一端140であって、蓋板122に連接された一端140に、対向する蓋前板123の他端には、カッター124が形成されている。前板105の、図中、上部の長手方向中央部には切り込みが入れられ、切り込みを境にしてフラップ120が分離して切り起こされ、前板105に対して角度をなして配置されている。切り起こされたフラップ120によって、フラップ120にもたれかかる包装媒体112の先端136が前板105から離間している。   The container main body 115 includes a bottom plate 104, a front plate 105, a rear plate 106, a side plate 171, and a sub-front plate 107 disposed so as to overlap the front plate 105. The storage container 103 includes a lid front plate 123 that is erected on the lid plate 122, and overlaps the front plate 105 when the cover plate 122 closes the open surface 130. A cutter 124 is formed at one end 140 of the lid front plate 123, one end 140 connected to the lid plate 122, and the other end of the opposed lid front plate 123. The front plate 105 is cut at the center in the longitudinal direction in the upper part of the drawing, and the flap 120 is separated and raised at the notch as a boundary, and is arranged at an angle with respect to the front plate 105. . The leading edge 136 of the packaging medium 112 that leans against the flap 120 is separated from the front plate 105 by the flap 120 that has been cut and raised.

包装媒体112を使用するときは、収納容器103を片手(不図示)に持ち、蓋板122を開け、包装媒体112を摘んで引き出すと、巻回体102は収納容器103内で回転し、包装媒体112を巻回体102から剥離させ、収納容器103の外部に引き出すことができる。必要な長さの包装媒体112を引き出した後に、蓋板122を閉め、蓋前板123の長手方向中央を、包装媒体112を引き出した手と反対の手の親指で押さえ、カッター124を使用して包装媒体112を切断し、切り離した包装媒体112を使用する。   When using the packaging medium 112, hold the storage container 103 in one hand (not shown), open the cover plate 122, grasp and pull out the packaging medium 112, the wound body 102 rotates in the storage container 103, and is wrapped. The medium 112 can be peeled off from the wound body 102 and pulled out of the storage container 103. After pulling out the required length of the packaging medium 112, the lid plate 122 is closed, the longitudinal center of the lid front plate 123 is pressed with the thumb of the hand opposite to the hand from which the packaging medium 112 was pulled out, and the cutter 124 is used. Then, the packaging medium 112 is cut and the separated packaging medium 112 is used.

実用新案登録第3088078号公報 (図1等参照)Utility Model Registration No. 3088078 (See Fig. 1 etc.)

しかし、従来の供給具101では、前板105に切り込みが入れられて、切り込みを境に切り起こされて設けられたフラップ120が、包装媒体112を引き出す際に再び切り込みに嵌まり込んで、フラップ120の起き上がりが悪くなる可能性があった。このため、フラップ120が包装媒体112の先端136を前板105から離間することができずに、包装媒体112が摘みにくく、包装媒体112を収納容器103からうまく引き出せない可能性があった。   However, in the conventional supply tool 101, the front plate 105 is cut, and the flap 120 provided by being cut and raised at the boundary of the cut is fitted into the cut again when the packaging medium 112 is pulled out. There was a possibility that the rising of 120 might be worse. For this reason, the flap 120 cannot separate the front end 136 of the packaging medium 112 from the front plate 105, the packaging medium 112 is difficult to pick, and the packaging medium 112 may not be successfully pulled out from the storage container 103.

本発明は、前板の一部を切り起こして設けられたフラップが再び切り込みに嵌まり込んで起き上がりが悪くなる可能性を抑えることができる包装媒体収納容器を提供することを目的とする。   An object of the present invention is to provide a packaging medium storage container that can suppress a possibility that a flap provided by cutting and raising a part of a front plate is fitted into the cut again and the rising is worsened.

上記目的を達成するために、本発明の第1の態様に係る包装媒体収納容器は、例えば図1に示すように、包装媒体12(図1(B)参照)が円筒状に巻かれた包装媒体巻回体2を収納する、直方体に形成された包装媒体収納容器3であって;該直方体の6面のうち一面30が長方形に開口し;長方形の開口30の一長辺38を共有する、該直方体の他の一面を形成する長方形の前板5を備え;包装媒体12は、開口した一面30を通って且つ該共有された長辺38の上を通過して包装媒体収納容器3の外へ引き出されるよう構成され;前板5は、前板5の一部を切り出すカットラインCLで切り出されたフラップ20を有し;フラップ20は、前板5上の基部21で折り曲げられるように構成され、先端37が基部21の直角方向に離れた位置に切り出されて構成され;フラップ20の先端37は、該切り出しのカットラインCLからオフセットOSして設けられる。   In order to achieve the above object, a packaging medium storage container according to a first aspect of the present invention is a packaging in which a packaging medium 12 (see FIG. 1B) is wound in a cylindrical shape, for example, as shown in FIG. A packaging medium storage container 3 that is formed in a rectangular parallelepiped shape and that accommodates the medium winding body 2; one side 30 of the six sides of the rectangular parallelepiped opens in a rectangle; and one long side 38 of the rectangular opening 30 is shared A rectangular front plate 5 forming the other side of the rectangular parallelepiped; the packaging medium 12 passes through the open side 30 and over the shared long side 38 of the packaging medium storage container 3. The front plate 5 has a flap 20 cut out by a cut line CL for cutting out a part of the front plate 5; the flap 20 is bent at a base 21 on the front plate 5 Configured, and the tip 37 is spaced apart in the direction perpendicular to the base 21 Cutout is configured to; tip 37 of the flap 20 is provided in an offset OS from the cut line CL of the cutout.

本明細書において「オフセット」とは、フラップ20の先端37とカットラインCLとが相互に離れて位置ずれを起こすように設けた、当該位置ずれを第一義とし、オフセットを設けた結果、フラップ20が前板5から切り出された切り込み(カットラインCL)に再び嵌まり込もうとしても、フラップ20とカットラインCLとが相互にずれ(位置並びに形状の不一致を含む)を有するために、フラップ20が前板5の切り込み(カットラインCL)に嵌合することを阻害することができるものをいう。後に詳述するように、本発明において「オフセット」の形成は、例えば、フラップ20の基部21の折り曲げ線21Lを前板5と副前板7との間の連接辺38(折り曲げ線38L)からずらす(図2参照)こと、フラップ20(の中間)に設けた屈曲部26でフラップ20を折り曲げる(図5(A)参照)こと、フラップ20の先端37とカットラインCLとで挟まれた切り落とし部92を切り落とす(図8参照)こと等によりおこなうことができるが、フラップ20の先端37とカットラインCLとを離間して位置ずれを設けることができる手段であれば、これらの手段に限定されるものではない。   In this specification, “offset” means that the leading edge 37 of the flap 20 and the cut line CL are separated from each other to cause a positional deviation. The flap 20 and the cut line CL are displaced from each other (including inconsistencies in position and shape) even when trying to fit again into the cut (cut line CL) cut out from the front plate 5. The thing which can inhibit 20 fitting to the notch (cut line CL) of the front board 5 is said. As will be described later in detail, in the present invention, the “offset” is formed, for example, by connecting the fold line 21L of the base 21 of the flap 20 from the connecting side 38 (fold line 38L) between the front plate 5 and the sub front plate 7. Shifting (see FIG. 2), folding the flap 20 at the bent portion 26 (in the middle) of the flap 20 (see FIG. 5A), cutting off between the tip 37 of the flap 20 and the cut line CL This can be done by cutting off the portion 92 (see FIG. 8) or the like. However, any means can be used as long as the tip 37 of the flap 20 and the cut line CL can be separated to provide a positional shift. It is not something.

なお、フラップ20の先端37とカットラインCLとの間に「オフセット」を設けるために、フラップ20の基部21の折り曲げ線21Lを前板5と副前板7との間の連接辺38(折り曲げ線38L)に対してずらす場合(図2参照)に、折り曲げ線21Lと折り曲げ線38Lとの間に設けるずれに対しても、同じく第二義として「オフセット」の語を用いるものとするが、後に詳述するように、両者は等量で、作用/効果の関係を有し、互いに密接に連関するものである。   In order to provide an “offset” between the front end 37 of the flap 20 and the cut line CL, the folding line 21L of the base portion 21 of the flap 20 is connected to the connecting side 38 (folding) between the front plate 5 and the auxiliary front plate 7. In the case of shifting with respect to the line 38L (see FIG. 2), the term “offset” is also used as the second meaning for the shift provided between the folding line 21L and the folding line 38L. As will be described in detail later, both are equivalent, have an action / effect relationship, and are closely related to each other.

このように構成すると、包装体収納容器のフラップの先端は、切り出しのカットライン(切り込み線)からオフセット(離間または位置ずれ)されて設けられる。このため、フラップの基部に対して大きなモーメントアームを有するフラップの先端がフラップを切り出した切り込みに再び嵌まり込むことでフラップの基部に大きな回転抑止モーメントを作用させてフラップの起き上がりを阻害してしまう可能性を抑えることができる。フラップは、フラップの先端が切り出された切り込みに再び嵌まり込むことによって作用する大きな回転抑止モーメントに阻害されることなく、折り曲げられて設けられたフラップ基部の復元力により前板から十分な角度で起き上がり、フラップ並びに包装媒体の先端を前板から確実に離間させることができる。このため、包装媒体の使用者は、前板から離間された包装媒体を容易に摘み、包装媒体を包装媒体収納容器からさらにスムーズに引き出すことができる。   If comprised in this way, the front-end | tip of the flap of a packaging body storage container will be offset (separated or displaced) from the cut-out cut line (cut line). For this reason, the tip of the flap having a large moment arm with respect to the base of the flap is re-fitted into the notch obtained by cutting out the flap, thereby causing a large rotation inhibiting moment to act on the base of the flap and inhibiting the rise of the flap. The possibility can be suppressed. The flap is not obstructed by the large rotation-inhibiting moment that acts when the tip of the flap is reinserted into the cut-out, and the flap is restored at a sufficient angle from the front plate by the restoring force of the flap base. As a result, the flap and the leading edge of the packaging medium can be reliably separated from the front plate. For this reason, the user of the packaging medium can easily pick the packaging medium separated from the front plate and pull out the packaging medium more smoothly from the packaging medium storage container.

本発明の第2の態様に係る包装媒体収納容器は、本発明の第1の態様に係る包装媒体収納容器において、例えば図2に示すように、前板5と一体に形成され、該共有する長辺38を折り曲げ線38Lとして開口30(図1参照)内へ折り曲げられることにより、前板5に重なって配置された副前板7(図1(B)参照)を備え;フラップ基部21の折り曲げ線21Lは、前板5と副前板7との間の折り曲げ線38Lに対してオフセットOSして設けられる。   The packaging medium storage container according to the second aspect of the present invention is the same as the packaging medium storage container according to the first aspect of the present invention, as shown in FIG. A sub-front plate 7 (see FIG. 1 (B)) disposed so as to overlap the front plate 5 by being folded into the opening 30 (see FIG. 1) with the long side 38 as a fold line 38L; The fold line 21L is provided with an offset OS with respect to the fold line 38L between the front plate 5 and the sub-front plate 7.

このように構成すると、包装媒体収納容器の開口面と前板とが共有する共有長辺を折り曲げ線として前板と一体に形成された副前板を前板に対して略180°の角度で開口内へ折り曲げて副前板を前板に重ねて配置して設けることができる。このため副前板と連接するフラップ基部の折り曲げ線に前板に対する大きな折り曲げ角度と、大きな折り曲げ角度に伴って折り曲げ線上に生じる大きな復元力とを与えることができる。これにより、フラップは前板から十分な角度で起き上がることができる。また、フラップ基部の折り曲げ線が、前板と副前板との間の折り曲げ線に対してオフセット(離間または位置ずれ)して設けられることにより、フラップの先端を切り出しのカットラインに対して確実にオフセットして設けることができる。このため、フラップの先端が切り出された切り込みに再び嵌まり込む可能性を抑えることができる。   With this configuration, the auxiliary front plate formed integrally with the front plate is formed at an angle of about 180 ° with respect to the front plate, with the common long side shared by the opening surface of the packaging medium storage container and the front plate as a folding line. The auxiliary front plate can be provided by being folded into the opening and overlapping the front plate. For this reason, a large folding angle with respect to the front plate and a large restoring force generated on the folding line with the large folding angle can be applied to the folding line of the flap base connected to the auxiliary front plate. Thereby, the flap can be raised at a sufficient angle from the front plate. In addition, the flap base fold line is offset (separated or misaligned) from the fold line between the front plate and the sub-front plate, so that the flap tip can be securely positioned relative to the cut line. Can be offset. For this reason, it is possible to suppress the possibility that the front end of the flap will be fitted again into the cut.

本発明の第3の態様に係る包装媒体収納容器は、本発明の第2の態様に係る包装媒体収納容器において、例えば図2(A)に示すように、フラップ基部21の折り曲げ線21Lは、フラップ20の先端37がカットラインCLからフラップ基部21の方向に離間するように折り曲げ線21LをオフセットOSして設けられる。   The packaging medium storage container according to the third aspect of the present invention is the packaging medium storage container according to the second aspect of the present invention. For example, as shown in FIG. The folding line 21L is provided with an offset OS so that the tip 37 of the flap 20 is separated from the cut line CL in the direction of the flap base 21.

このように構成すると、フラップの先端がカットラインからフラップ基部の方向に離間するようにフラップ基部の折り曲げ線を前板と副前板との間の折り曲げ線に対してオフセットして設けることができる。このため、フラップの先端をフラップが切り出された切り出しのカットラインに対して離間してオフセットして設けることができる。このため、フラップの先端が切り出された切り込みに再び嵌まり込む可能性を抑えることができる。   If comprised in this way, the fold line of a flap base can be offset and provided with respect to the fold line between a front board and a sub-front board so that the front-end | tip of a flap may space apart in the direction of a flap base from a cut line. . For this reason, the front end of the flap can be provided separately from the cut-out cut line from which the flap is cut off. For this reason, it is possible to suppress the possibility that the front end of the flap will be fitted again into the cut.

また、本発明の第4の態様に係る包装媒体収納容器は、本発明の第1乃至第3の態様のいずれか一の態様に係る包装媒体収納容器において、例えば図5に示すように、フラップ20は、フラップ20の先端37をカットラインCLからフラップ基部21の方向に離間するための屈曲部26を有する。   A packaging medium storage container according to a fourth aspect of the present invention is a packaging medium storage container according to any one of the first to third aspects of the present invention. For example, as shown in FIG. 20 has a bent portion 26 for separating the tip 37 of the flap 20 from the cut line CL in the direction of the flap base 21.

このように構成すると、フラップはフラップの延在長さを収縮させてフラップ先端をカットラインからフラップ基部の方向に離間する屈曲部を有することができるから、フラップの先端をフラップが切り出された切り出しのカットラインに対して離間してオフセットを設けることができる。このため、フラップの先端が切り出された切り込みに再び嵌まり込む可能性を抑えることができる。   When configured in this way, the flap can have a bent portion that contracts the extension length of the flap and separates the flap tip from the cut line in the direction of the flap base, so that the flap tip is cut out from the flap tip. An offset can be provided apart from the cut line. For this reason, it is possible to suppress the possibility that the front end of the flap will be fitted again into the cut.

また、本発明の第5の態様に係る包装媒体収納容器は、本発明の第2の態様に係る包装媒体収納容器において、例えば図2(B)に示すように、フラップ基部21の折り曲げ線21Lは、フラップ20の先端37が前板5と重なるように折り曲げ線21LをオフセットOSして設けられる。   In addition, the packaging medium storage container according to the fifth aspect of the present invention is the same as the packaging medium storage container according to the second aspect of the present invention, for example, as shown in FIG. Is provided with an offset OS of the fold line 21L so that the tip 37 of the flap 20 overlaps the front plate 5.

このように構成すると、フラップの先端が前板と重なるようにフラップ基部の折り曲げ線を前板と副前板との間の折り曲げ線に対してオフセットして設けることができるから、フラップの先端をフラップが切り出された切り出しのカットラインを超えて(オーバーラップして)前板に重なるようにオフセットして設けることができる。このため、フラップの先端が切り出された切り込みに再び嵌まり込む可能性を抑えることができる。   If comprised in this way, since the folding line of a flap base can be offset and provided with respect to the folding line between a front board and a sub front board so that the front-end | tip of a flap may overlap with a front board, the front-end | tip of a flap can be provided. The flap can be offset and provided so as to overlap the front plate beyond the cut-out cutting line. For this reason, it is possible to suppress the possibility that the front end of the flap will be fitted again into the cut.

また、本発明の第6の態様に係る包装媒体収納容器は、本発明の第1乃至第5の態様のいずれか一の態様に係る包装媒体収納容器において、例えば図6に示すように、カットラインCLを挟んでフラップ20の先端37と前板5とを接続するニック91を切断してオフセットOSを設ける。   A packaging medium storage container according to a sixth aspect of the present invention is a packaging medium storage container according to any one of the first to fifth aspects of the present invention. For example, as shown in FIG. A nick 91 that connects the front end 37 of the flap 20 and the front plate 5 is cut across the line CL to provide an offset OS.

このように構成すると、カットラインを挟んでフラップの先端と前板とを接続するニックを切断するまではフラップの先端と前板とを接続して係止しておくことができる。このため、包装媒体収納容器の製造工程において、ニックを切断してフラップの先端を前板から分離することでフラップの先端を自由端とするまでは、固定端として係止されたフラップの先端が折り曲げ工程、刃付け工程等の包装媒体収納容器の他の製造工程を妨げることがない。このため、前述のフラップの先端が切り出された切り込みに再び嵌まり込む可能性を抑えることができる包装媒体収納容器を効率良く製造することができる。   If comprised in this way, the front-end | tip of a flap and a front board can be connected and locked until it cuts the nick which connects the front-end | tip of a flap and a front board on both sides of a cut line. For this reason, in the manufacturing process of the packaging medium storage container, the front end of the flap locked as the fixed end is cut until the front end of the flap is made free by cutting the nick and separating the front end of the flap from the front plate. It does not interfere with other manufacturing processes of the packaging medium storage container such as the bending process and the blade attaching process. For this reason, it is possible to efficiently manufacture a packaging medium storage container that can suppress the possibility that the front end of the flap is reinserted into the cut.

また、本発明の第7の態様に係る包装媒体収納容器は、本発明の第1乃至第4の態様のいずれか一の態様に係る包装媒体収納容器において、例えば図8に示すように、フラップ20の先端37とカットラインCLとの間のオフセットOSは、フラップ20の先端37とカットラインCLとで挟まれた部分92が切り落とされて形成される。   A packaging medium storage container according to a seventh aspect of the present invention is a packaging medium storage container according to any one of the first to fourth aspects of the present invention. For example, as shown in FIG. The offset OS between the front end 37 of the 20 and the cut line CL is formed by cutting off a portion 92 sandwiched between the front end 37 of the flap 20 and the cut line CL.

このように構成すると、フラップの先端とカットラインとで挟まれた切り落とし部を切り落としてフラップの先端とカットラインとの間のオフセットを形成することができるから、フラップの先端が切り出された切り込みに再び嵌まり込む可能性を抑えることができる。   When configured in this way, an offset between the front end of the flap and the cut line can be formed by cutting off the cut-off portion sandwiched between the front end of the flap and the cut line, so that the front end of the flap is cut out. The possibility of fitting again can be suppressed.

以上説明したように、本発明の包装媒体収納容器によれば、前板の一部を切り起こして設けられたフラップが再び切り込みに嵌まり込んで起き上がりが悪くなる可能性を抑えることができる。フラップは、大きな回転抑止モーメントに妨げられることなく折り曲げられて設けられたフラップ基部の復元力により前板から十分な角度で起き上がり、フラップ並びに包装媒体の先端を前板から確実に離間させることができる。このため、包装媒体の使用者は、前板から離間された包装媒体を容易に摘み、包装媒体を包装媒体収納容器からさらにスムーズに引き出すことができる。   As described above, according to the packaging medium storage container of the present invention, it is possible to suppress the possibility that the flap provided by cutting and raising a part of the front plate is fitted into the cut again and the rising is worsened. The flap rises at a sufficient angle from the front plate by the restoring force of the flap base provided by being bent without being hindered by a large rotation restraining moment, and the front end of the flap and the packaging medium can be reliably separated from the front plate. . For this reason, the user of the packaging medium can easily pick the packaging medium separated from the front plate and pull out the packaging medium more smoothly from the packaging medium storage container.

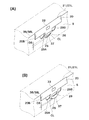
(A)は、本発明の実施の形態に係る、包装媒体収納容器を備える包装媒体供給具の斜視図である。(B)は、(A)に示す包装媒体収納容器の長手方向に直角な方向の包装媒体供給具の断面図である。(A) is a perspective view of the packaging medium supply tool provided with the packaging medium storage container based on Embodiment of this invention. (B) is sectional drawing of the packaging medium supply tool of the direction orthogonal to the longitudinal direction of the packaging medium storage container shown to (A). (A)は、本発明の実施の形態に係る、図1(A)に示す立体状の包装媒体収納容器とする前の、平面状の前板の部分を示す図である。(B)は、本発明の一の実施の形態に係る、包装媒体収納容器を、図1(A)に示す立方体の包装媒体収納容器とする前の、平面状の前板の部分を示す図である。(A) is a figure which shows the part of the planar front board before setting it as the three-dimensional packaging medium storage container shown to FIG. 1 (A) based on embodiment of this invention. (B) is the figure which shows the part of the planar front board before making the packaging medium storage container which concerns on one embodiment of this invention into the cubic packaging medium storage container shown to FIG. 1 (A). It is. 図1(A)の包装媒体収納容器のフラップを裏から見た図である。It is the figure which looked at the flap of the packaging medium storage container of FIG. 1 (A) from the back. 図1(A)の包装媒体収納容器の副前板の正面図である。It is a front view of the sub-front plate of the packaging medium storage container of FIG. (A)は、本発明の他の実施の形態に係る、包装媒体収納容器の、フラップに折り曲げ加工により設けられた屈曲部を拡大して示す斜視図である。(B)は、エンボス加工により設けられた屈曲部を拡大して示す斜視図である。(A) is a perspective view which expands and shows the bending part provided by the bending process to the flap of the packaging medium storage container based on other embodiment of this invention. (B) is a perspective view which expands and shows the bending part provided by the embossing. 図1(A)の包装媒体収納容器のフラップの先端と前板とを接続するニックを切断して、オフセットを形成したことを示す平面図である。FIG. 2 is a plan view showing that an offset is formed by cutting a nick that connects a front end of a flap and a front plate of the packaging medium storage container of FIG. 本発明のさらに他の実施の形態に係る、包装媒体収納容器の展開図の概要を示す平面図である。It is a top view which shows the outline | summary of the expanded view of the packaging medium storage container based on further another embodiment of this invention. 本発明の他の実施の形態に係る、包装媒体収納容器の、フラップの先端とカットラインとで挟まれた切り落とし部を示す平面図である。It is a top view which shows the cut-off part pinched | interposed by the front-end | tip of a flap, and the cut line of the packaging medium storage container based on other embodiment of this invention. 従来の包装媒体供給具の斜視図である。It is a perspective view of the conventional packaging medium supply tool.

以下、図面を参照して本発明の実施の形態について説明する。なお、各図において互いに同一又は相当する部材には同一あるいは類似の符号を付し、重複した説明は省略する。   Embodiments of the present invention will be described below with reference to the drawings. In the drawings, the same or similar members are denoted by the same or similar reference numerals, and redundant description is omitted.

図1の斜視図及び断面図を参照して、本発明の第1の実施の形態の包装媒体収納容器3(以下、適宜、収納容器3)を備える包装媒体供給具1(以下、適宜、供給具1)の構成を説明する。図1(A)は、水平に配置された状態の供給具1の斜視図であり、図1(B)は、図1(A)の収納容器3の長手方向中央部における長手方向に直角な方向の断面図である。図1(A)では、後述の蓋板22は、開いた状態であり、図1(B)では、蓋板22は、部分的に閉まっている状態であり(すなわち、蓋板22が底板4に平行になっていない状態であり)、また後述の包装媒体12を収納容器3から引き出した状態が示されている。   Referring to the perspective view and cross-sectional view of FIG. 1, a packaging medium supply tool 1 (hereinafter, appropriately supplied) including the packaging medium storage container 3 (hereinafter, appropriately, storage container 3) of the first embodiment of the present invention. The structure of the tool 1) will be described. FIG. 1 (A) is a perspective view of the supply tool 1 in a horizontally disposed state, and FIG. 1 (B) is perpendicular to the longitudinal direction at the longitudinal center of the storage container 3 of FIG. 1 (A). It is sectional drawing of a direction. In FIG. 1A, a lid plate 22 described later is in an open state, and in FIG. 1B, the lid plate 22 is partially closed (that is, the lid plate 22 is in the bottom plate 4). In addition, a state in which a packaging medium 12 described later is pulled out from the storage container 3 is shown.

供給具1は、巻回体2と、巻回体2を収納する収納容器3とを含んで構成される。巻回体2は、食品包装用等に使用される包装媒体12(図1(B)参照)を円筒状の巻芯10に巻きつけて巻回体2としたものである。巻回体2は、収納容器3の中に収納される。収納容器3は、例えば、厚紙またはボール紙などの紙素材90(図7参照)により形成される。収納容器3は、複数枚、または、1枚の紙素材から形成することが可能である。   The supply tool 1 includes a wound body 2 and a storage container 3 that houses the wound body 2. The wound body 2 is a wound body 2 formed by winding a packaging medium 12 (see FIG. 1B) used for food packaging or the like around a cylindrical core 10. The wound body 2 is stored in the storage container 3. The storage container 3 is formed of a paper material 90 (see FIG. 7) such as cardboard or cardboard. The storage container 3 can be formed of a plurality of sheets or one sheet of paper material.

収納容器3は、容器本体15を備える。容器本体15は直方体形状をなす。容器本体15は、紙素材90(図7参照)を折り曲げて形成される。紙素材90は、一度折り曲げても元に戻ろうとする曲げに対する弾力性(復元性)を有している。容器本体15は、包装媒体12(図1(B)参照)が円筒状に巻かれた巻回体2を収容し、一面30が開口され、開口された一面30から巻回体2を出し入れすることができる。   The storage container 3 includes a container body 15. The container body 15 has a rectangular parallelepiped shape. The container body 15 is formed by bending a paper material 90 (see FIG. 7). The paper material 90 has elasticity (restorability) against bending to be restored once it is bent. The container main body 15 accommodates the wound body 2 in which the packaging medium 12 (see FIG. 1B) is wound in a cylindrical shape, the one surface 30 is opened, and the wound body 2 is taken in and out from the opened one surface 30. be able to.

巻芯10に巻かれた包装媒体12(図1(B)参照)は、ポリ塩化ビニリデンを原材料とする透明フィルムであるが、ポリ塩化ビニル、ポリエチレン、ポリメチルペンテン、もしくはこれらを組み合わせた多層フィルムであってもよい。また、包装媒体12は、ロール紙、キッチンペーパ、アルミホイル、加熱調理用紙シート等であってもよい。中でも、ポリ塩化ビニリデンを材料とする包装媒体12は自己密着性を有するために、フラップ20を設ける利点が大きい。   The packaging medium 12 (see FIG. 1 (B)) wound around the core 10 is a transparent film made of polyvinylidene chloride as a raw material, but is a multilayer film made of polyvinyl chloride, polyethylene, polymethylpentene, or a combination thereof. It may be. The packaging medium 12 may be roll paper, kitchen paper, aluminum foil, a cooked paper sheet, or the like. Among them, the packaging medium 12 made of polyvinylidene chloride is self-adhesive and therefore has a great advantage of providing the flap 20.

容器本体15は、底板4と、底板4の一辺(長辺)31に底板4に対し直角に立設された前板5と、一辺31に対向する底板4の他の一辺(長辺)32に底板4に対し直角に立設された後板6と、底板4の一辺31に対向する第一の連接辺38を有する副前板7(図1(B)参照)を有する。底板4は、一面30に対向するよう配置されている。   The container body 15 includes a bottom plate 4, a front plate 5 erected at right angles to the bottom plate 4 on one side (long side) 31 of the bottom plate 4, and another side (long side) 32 of the bottom plate 4 facing the side 31. The rear plate 6 is erected at a right angle to the bottom plate 4 and the sub front plate 7 (see FIG. 1B) having a first connecting side 38 facing one side 31 of the bottom plate 4. The bottom plate 4 is disposed so as to face the one surface 30.

副前板7(図1(B)参照)は、第一の連接辺38において前板5に連接される。副前板7は、直方体形状の容器本体15の形成に際し、第一の連接辺38(折り曲げ線38L)に沿って、収納容器3の内側(巻回体2を収納している側)に180°折り込まれ、前板5に重ねられる。折り込まれた副前板7は、前板5に対向する面の表面に接着剤がライン状に塗布されて、前板5と接着され、固定される。底板4、フラップ20が分離される前のフラップ20を含む前板5、後板6、副前板7は、長方形に設けられる。   The sub front plate 7 (see FIG. 1B) is connected to the front plate 5 at the first connecting side 38. When the rectangular parallelepiped container body 15 is formed, the sub-front plate 7 is 180 on the inner side of the storage container 3 (the side where the wound body 2 is stored) along the first connecting side 38 (folding line 38L). ° Folded and stacked on the front plate 5 The sub front plate 7 that is folded is applied in a line to the surface of the surface facing the front plate 5, and is adhered and fixed to the front plate 5. The bottom plate 4, the front plate 5 including the flap 20 before the flap 20 is separated, the rear plate 6, and the auxiliary front plate 7 are provided in a rectangular shape.

底辺4は長辺である一辺31および他の一辺32に加えて、一辺31および他の一辺32に直角な短辺61を有する。収納容器3は、側面板71をさらに備える。側面板71は、それぞれ短辺61に立設されている。側面板71は略正方形に設けられる。側面板71は、底板4の短辺61から延在して短辺61に立設されているが、前板5の短辺から延在して、あるいは後板6の短辺から延在して、底板4の短辺61に立設させてもよい。   The base 4 has a short side 61 perpendicular to the one side 31 and the other side 32 in addition to the one side 31 and the other side 32 which are long sides. The storage container 3 further includes a side plate 71. The side plates 71 are respectively erected on the short side 61. The side plate 71 is provided in a substantially square shape. The side plate 71 extends from the short side 61 of the bottom plate 4 and is erected on the short side 61, but extends from the short side of the front plate 5 or extends from the short side of the rear plate 6. In addition, the bottom plate 4 may be erected on the short side 61.

収納容器3は、さらに、蓋板22と、蓋前板23とを備える。蓋板22は、長方形に設けられる。蓋板22は、底板4の他の一辺32に対向する第二の連接辺39を有し、第二の連接辺39において後板6に回動可能に連接され、開口された一面30を塞ぐように構成される。蓋前板23は、第二の連接辺39に対向する蓋板22の一辺(長辺)40に蓋板22に対して直角に立設され、蓋板22が一面30を塞いだ状態のとき、前板5に沿って前板5の外側(副前板7(図1(B)参照)とは反対側)に重なるように配置される。   The storage container 3 further includes a lid plate 22 and a lid front plate 23. The cover plate 22 is provided in a rectangular shape. The cover plate 22 has a second connecting side 39 that faces the other side 32 of the bottom plate 4, is connected to the rear plate 6 so as to be rotatable at the second connecting side 39, and closes the opened one surface 30. Configured as follows. The lid front plate 23 is erected at a right angle with respect to the lid plate 22 on one side (long side) 40 of the lid plate 22 facing the second connecting side 39, and the lid plate 22 is in a state of closing the one surface 30. The front plate 5 is disposed so as to overlap the outer side of the front plate 5 (the side opposite to the sub front plate 7 (see FIG. 1B)).

蓋板22は長辺である第二の連接辺39と一辺40に加えて、短辺63を有する。収納容器3は、蓋側面板73をさらに備える。蓋側面板73は、それぞれ短辺63に立設されている。蓋側面板73は長方形に設けられる。   The cover plate 22 has a short side 63 in addition to the second connecting side 39 and one side 40 which are long sides. The storage container 3 further includes a lid side plate 73. The lid side plates 73 are each erected on the short side 63. The lid side plate 73 is provided in a rectangular shape.

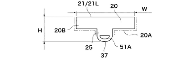
容器本体15は、開口された一面30から引き出された包装媒体12(図1(B)参照)の先端36(図1(B)参照)を前板5から離間させる一つのフラップ20を有する。フラップ20は、基部21(折り曲げ線21L)と、幅広部20Bと、凸部25とを有する。フラップ20は、基部21において副前板7(図1(B)参照)に連接する。幅広部20Bは、後に詳述するように、基部21(折り曲げ線21L)にフラップ20を起き上がらせるための大きな復元モーメントを与えるために、幅広に設けられた幅Wを有するように設けられている。凸部25は、基部21(折り曲げ線21L)と直交する方向に延在長さHを有することで、包装媒体12を前板5から大きく持ち上げることができるように設けられている。前板5には、フラップ20が基部21において副前板7に連接する部分(折り曲げ線21L)を除いて周囲を取り囲む切り込み(カットラインCL)が入れられている。凸部25は、基部21から直角方向に離れた位置において切り出された先端37を有する。先端37は、基部21より見て底板4の長辺31に対向する側に位置する。先端37は、フラップ20のどこよりも基部21から離れて設けられている。   The container body 15 has one flap 20 that separates the tip 36 (see FIG. 1 (B)) of the packaging medium 12 (see FIG. 1 (B)) pulled out from the opened one surface 30 from the front plate 5. The flap 20 includes a base portion 21 (folding line 21L), a wide portion 20B, and a convex portion 25. The flap 20 is connected to the auxiliary front plate 7 (see FIG. 1B) at the base 21. As will be described later in detail, the wide portion 20B is provided to have a wide width W in order to give a large restoring moment for raising the flap 20 to the base portion 21 (folding line 21L). . The convex portion 25 has an extension length H in a direction orthogonal to the base portion 21 (folding line 21 </ b> L), so that the packaging medium 12 can be largely lifted from the front plate 5. The front plate 5 is provided with a cut (cut line CL) surrounding the periphery except for a portion where the flap 20 is connected to the sub front plate 7 at the base portion 21 (bending line 21L). The convex portion 25 has a tip 37 cut out at a position away from the base portion 21 in a right angle direction. The tip 37 is located on the side facing the long side 31 of the bottom plate 4 when viewed from the base 21. The tip 37 is provided farther from the base 21 than anywhere in the flap 20.

副前板7(図1(B)参照)と前板5とは、第一の連接辺38(折り曲げ線38L)に沿って折り曲げて重ねられるように形成されている。フラップ20は、切り込み(カットラインCL)によって前板5と分離され、基部21(折り曲げ線21L)に沿って前板5に向けて折り曲げられて形成されているため、副前板7と同一平面に復元しようとする復元力を有し、この復元力に基づく基部21(折り曲げ線21L)周りの復元曲げモーメントが、フラップ20に作用する。この原理により、フラップ20は、前板5から起き上がった状態となる。   The sub front plate 7 (see FIG. 1B) and the front plate 5 are formed so as to be folded and overlapped along the first connecting side 38 (folding line 38L). The flap 20 is separated from the front plate 5 by a cut (cut line CL), and is formed by being bent toward the front plate 5 along the base portion 21 (folding line 21L). The restoring bending moment around the base 21 (folding line 21 </ b> L) based on the restoring force acts on the flap 20. Based on this principle, the flap 20 is raised from the front plate 5.

フラップ20は、フラップ20の基部21(折り曲げ線21L)に沿った幅Wが、基部21(折り曲げ線21L)から先端37までの延在長さHより長く設けられて形成されている。長さHの幅Wに対する比(W/H)は、2以上とすることが望ましい。比(W/H)を2以上とすることで、基部21(折り曲げ線21L)でフラップ20を折り曲げたことによるフラップ20の復元力がフラップ20の重量に比して十分に作用し、それによりフラップ20が前板5から適切な角度θ(図1(B)参照)で起き上がるようにすることができるので、包装媒体12(図1(B)参照)を前板5から確実に離間させることができる。   The flap 20 is formed such that the width W along the base 21 (fold line 21L) of the flap 20 is longer than the extending length H from the base 21 (fold line 21L) to the tip 37. The ratio of the length H to the width W (W / H) is desirably 2 or more. By setting the ratio (W / H) to 2 or more, the restoring force of the flap 20 caused by folding the flap 20 at the base portion 21 (folding line 21L) acts sufficiently compared to the weight of the flap 20, thereby Since the flap 20 can be raised from the front plate 5 at an appropriate angle θ (see FIG. 1B), the packaging medium 12 (see FIG. 1B) is surely separated from the front plate 5. Can do.

フラップ20は、前板5から切り込み(カットラインCL)によって分離されており、前板5からフラップ20が切り起こされている。すなわち、フラップ20は前板5に対し角度θ(図1(B)参照)をなすように基部21(折り曲げ線21L)で連接されている。前板5には刳貫部29A、29Bが二つ形成されており、刳貫部29A、29Bは、フラップ20が切り起こされた部分の底板4の一辺(長辺)31に対向する側に形成されている。刳貫部29A、29Bは、刳貫部29A、29Bに指を入れ、引き出された包装媒体12(図1(B)参照)を摘み、さらに引き出すことのできる大きさに設けられる。副前板7(図1(B)参照)は刳貫部29A、29Bが設けられた前板5の対応する部分を遮蔽し、外部からチリ等の異物が入ることを防ぐ。   The flap 20 is separated from the front plate 5 by a cut (cut line CL), and the flap 20 is cut and raised from the front plate 5. That is, the flap 20 is connected to the front plate 5 at the base portion 21 (folding line 21L) so as to form an angle θ (see FIG. 1B). Two penetration parts 29A and 29B are formed in the front plate 5, and the penetration parts 29A and 29B are on the side facing the one side (long side) 31 of the bottom plate 4 where the flap 20 is cut and raised. Is formed. The penetration parts 29A and 29B are provided in such a size that a finger can be put into the penetration parts 29A and 29B, the drawn packaging medium 12 (see FIG. 1B) can be picked, and further pulled out. The auxiliary front plate 7 (see FIG. 1B) shields the corresponding portion of the front plate 5 provided with the penetration portions 29A and 29B, and prevents foreign matters such as dust from entering from the outside.

二つの刳貫部29A、29Bは、凸部25を挟むように凸部25の両側であって、フラップ20の幅広部20Bの下側(底板4の一辺(長辺)31に対向する側)に形成されている。刳貫部29A、29Bの中心線L1(図2に一点鎖線で表示する。中心線L1は基部21に直交する)は、前板5の長手方向に直交する中心線L0(図2に一点鎖線で表示する)から、凸部25の幅W方向における半分の長さと刳貫部29A、29Bの幅W方向における半分の長さとを加えた幅W1(図2参照)だけずれて設けられている。刳貫部29A、29Bは、どちらか一方の刳貫部29A、29Bに指を入れ、包装媒体12(図1(B)参照)をさらに引き出したときに、包装媒体12をスムーズに引き出せる位置に形成されている。すなわち、刳貫部29A、29Bは中心線L0からフラップ20の幅W方向においてあまりずれていない位置に形成されている。また、刳貫部29A、29Bに指を入れた場合、指がフラップ20の凸部25の側部および凸部25より幅広に設けられたフラップ20の幅広部20Bの下部(後に詳述するように、フラップ20の周縁部20A(図3参照))に接触する構造に設けられている。   The two penetrating parts 29A and 29B are on both sides of the convex part 25 so as to sandwich the convex part 25, and below the wide part 20B of the flap 20 (the side facing the one side (long side) 31 of the bottom plate 4). Is formed. A center line L1 (shown by a one-dot chain line in FIG. 2 is perpendicular to the base portion 21) of the penetration parts 29A and 29B is a center line L0 (one-dot chain line in FIG. 2) perpendicular to the longitudinal direction of the front plate 5. Are shifted by a width W1 (see FIG. 2) obtained by adding the half length of the convex portion 25 in the width W direction and the half length of the penetration portions 29A and 29B in the width W direction. . The penetration parts 29A and 29B are positioned so that the packaging medium 12 can be pulled out smoothly when a finger is inserted into one of the penetration parts 29A and 29B and the packaging medium 12 (see FIG. 1B) is further pulled out. Is formed. That is, the penetrating portions 29A and 29B are formed at positions that are not so shifted from the center line L0 in the width W direction of the flap 20. Further, when a finger is put into the pierced portions 29A and 29B, the finger is located on the side of the convex portion 25 of the flap 20 and the lower portion of the wide portion 20B of the flap 20 provided wider than the convex portion 25 (as will be described in detail later). Further, it is provided in a structure in contact with the peripheral edge portion 20A of the flap 20 (see FIG. 3).

フラップ20の幅広部20Bの中央部には、包装媒体保持部33が形成されている。包装媒体保持部33の形成方法としては、包装媒体12(図1(B)参照)に対して粘着性を有する粘着剤を塗布して粘着剤層を設ける方法や、包装媒体12に対して密着性と平滑性とを有するニスを塗布して平滑層を設ける方法、さらには包装媒体12自体の自己密着性を利用して、包装媒体12と実質的に同一の材料からなる自己密着性包装媒体密着層を設ける方法等が挙げられる。包装媒体保持部33はフラップ20の包装媒体12に接する側の面に形成される。   A wrapping medium holding portion 33 is formed at the center of the wide portion 20B of the flap 20. As a method of forming the packaging medium holding portion 33, a method of applying an adhesive having adhesiveness to the packaging medium 12 (see FIG. 1B) to provide an adhesive layer, or an adhesion to the packaging medium 12 is provided. A self-adhesive packaging medium made of substantially the same material as the packaging medium 12 by applying a varnish having a property and smoothness to provide a smooth layer, and further utilizing the self-adhesiveness of the packaging medium 12 itself Examples thereof include a method of providing an adhesion layer. The packaging medium holding part 33 is formed on the surface of the flap 20 on the side in contact with the packaging medium 12.

蓋前板23の外側の幅W方向における中央には、エンボスが加工されたエンボス加工部28が、蓋板22が開口した一面30を塞いだ状態で、包装媒体保持部33に重なるように形成されている。エンボス加工部28は、この状態において、前板5の方向に隆起し、蓋前板23の外側の表面に凹部を形成するように構成されている。包装媒体12(図1(B)参照)を収納容器3から引き出した後に、蓋板22を完全に閉じた状態で、親指でエンボス加工部28をフラップ20に向けて垂直に押すことにより、包装媒体12が包装媒体保持部33に押し付けられて、包装媒体12が包装媒体保持部33に確実に保持される。   At the center in the width W direction on the outer side of the lid front plate 23, an embossed portion 28 in which embossing is performed is formed so as to overlap the packaging medium holding portion 33 in a state where the surface 30 where the lid plate 22 is opened is closed. Has been. In this state, the embossed portion 28 is configured to protrude in the direction of the front plate 5 and form a recess on the outer surface of the lid front plate 23. After the packaging medium 12 (see FIG. 1B) is pulled out from the storage container 3, the embossed portion 28 is pushed vertically toward the flap 20 with the thumb while the lid plate 22 is completely closed. The medium 12 is pressed against the packaging medium holding part 33, and the packaging medium 12 is securely held by the packaging medium holding part 33.

このため、包装媒体12(図1(B)参照)が収納容器3に対して確実に固定され、包装媒体12をカッター24でスムーズに切断することができる。エンボス加工部28は、蓋板22を閉じた状態で前板5の方向に向けて隆起し、蓋前板23の外側の表面に凹部を形成するように構成されているために、エンボス加工部28に指で触れると、目視しなくとも、エンボス加工部28に触れたことを指の触感で確認することができる。   For this reason, the packaging medium 12 (see FIG. 1B) is securely fixed to the storage container 3, and the packaging medium 12 can be smoothly cut by the cutter 24. Since the embossed portion 28 is configured to protrude toward the front plate 5 with the lid plate 22 closed and to form a recess on the outer surface of the lid front plate 23, the embossed portion When the finger 28 is touched with a finger, the touch of the embossed portion 28 can be confirmed with the touch of the finger without visual inspection.

蓋前板23の、底板4の一辺(長辺)31に対向する側(蓋板22が閉じた状態において対向する側)には、包装媒体12(図1(B)参照)を切断するためのカッター24が蓋前板23の一辺54に沿って設けられている。カッター24の先端には複数の鋸刃80が形成されている。カッター24の一部は、図示のように、蓋板22を完全に閉じた状態で(すなわち、蓋板22が底板4に平行となった状態で)、開口している一面30を塞いだ場合に、底板4に対して直角かつ底板4に対向する方向に蓋前板23から突出するように構成されている。なお、カッター24の形状は、図示の実施の形態の形状に限られず、本発明の一の実施の形態では、底板4の一辺(長辺)31と平行に設けられた直線形状のカッター(不図示)を用いるものとしてもよい。   To cut the packaging medium 12 (see FIG. 1B) on the side of the lid front plate 23 that faces one side (long side) 31 of the bottom plate 4 (the side that faces when the lid plate 22 is closed). The cutter 24 is provided along one side 54 of the lid front plate 23. A plurality of saw blades 80 are formed at the tip of the cutter 24. As shown in the figure, a part of the cutter 24 closes the open one surface 30 with the cover plate 22 completely closed (that is, with the cover plate 22 parallel to the bottom plate 4). Further, it is configured to protrude from the lid front plate 23 in a direction perpendicular to the bottom plate 4 and facing the bottom plate 4. Note that the shape of the cutter 24 is not limited to the shape of the illustrated embodiment, and in one embodiment of the present invention, a linear cutter (not suitable) provided in parallel with one side (long side) 31 of the bottom plate 4 is used. (Shown) may be used.

図2の平面状の前板部分を示す図を参照して説明する。図2に収納容器3(図1参照)の蓋板22(図1参照)を完全に閉じて(すなわち、蓋板22が底板4(図1参照)に平行となった状態で)、開口している一面30(図1参照)を塞いだ場合のフラップ20とカッター24との位置関係を示す。なお、蓋板22が完全に閉じた状態の蓋前板23(図1参照)の一辺54(図1参照)およびカッター24の前板5上における位置は破線で示す。図示のように設けると、起伏形状(凸部25)を有するフラップ20は、蓋前板23に設けられたカッター24の複数の鋸刃80と重ならない位置において形成され、かつ、カッター24の複数の鋸刃80は、フラップ20の先端37付近であって先端37から離れた位置に包装媒体12(図1(B)参照)の先端36(図1(B)参照)を形成することが可能となる。また、切断される際に複数の鋸刃80により擦れ磨耗して脆弱化した包装媒体12の脆弱部分が後の切断時にフラップ20の影響を受けないように設けることができるから、包装媒体12が不規則に切断されることを防止することができる。   This will be described with reference to the plan view of the planar front plate portion of FIG. 2 completely closes the cover plate 22 (see FIG. 1) of the storage container 3 (see FIG. 1) (that is, with the cover plate 22 parallel to the bottom plate 4 (see FIG. 1)) and opens. The positional relationship between the flap 20 and the cutter 24 when the one surface 30 (see FIG. 1) is closed is shown. Note that the side 54 (see FIG. 1) of the lid front plate 23 (see FIG. 1) and the position of the cutter 24 on the front plate 5 in a state where the lid plate 22 is completely closed are indicated by broken lines. When provided as illustrated, the flap 20 having the undulating shape (convex portion 25) is formed at a position that does not overlap with the plurality of saw blades 80 of the cutter 24 provided on the lid front plate 23, and a plurality of the cutters 24 are provided. The saw blade 80 can form the tip 36 (see FIG. 1 (B)) of the packaging medium 12 (see FIG. 1 (B)) at a position near the tip 37 of the flap 20 and away from the tip 37. It becomes. Further, since the fragile portion of the wrapping medium 12 that is rubbed and weakened by the plurality of saw blades 80 when being cut can be provided so as not to be affected by the flap 20 at the time of subsequent cutting, the wrapping medium 12 is provided. Irregular cutting can be prevented.

図3のフラップ裏面図を参照して説明する。図3は、フラップ20を裏側(副前板7(図1(B)参照)側)より見て示す図である。図3に示すように、容器本体15(図1参照)が有するフラップ20は、フラップ20の裏側(副前板7側)の表面上に隆起部としての起き上がりエンボス51Aを有する。起き上がりエンボス51Aは、フラップ20の先端37になるべく近く(例えば、先端37から1mm離した位置に)形成するとよい。起き上がりエンボス51Aは、円弧形状を有し、フラップ20の幅W方向に長い平面形状に設けられている。起き上がりエンボス51Aは、副前板7に向かって隆起し、エンボス加工により形成される。フラップ20に設けられた起き上がりエンボス51Aは、後述する副前板7側に設けられた起き上がりエンボス51B(図4参照)(後述する起き上がりエンボス51Bが副前板7に形成されていない場合には、副前板7)に当接する。このため、起き上がりエンボス51Aを備える場合には、切り込み(カットラインCL)(図2参照)によって前板5(図2参照)から分離されたフラップ20が再び前板5に嵌まり込む現象を防いで、フラップ20を前板5から確実に起き上がらせることを可能とするので、包装媒体12(図1(B)参照)を前板5から確実に離間させることができる。   This will be described with reference to the flap rear view of FIG. FIG. 3 is a view showing the flap 20 as seen from the back side (the sub-front plate 7 (see FIG. 1B) side). As shown in FIG. 3, the flap 20 included in the container body 15 (see FIG. 1) has a raised emboss 51 </ b> A as a raised portion on the surface of the back side of the flap 20 (sub-front plate 7 side). The rising emboss 51A may be formed as close as possible to the tip 37 of the flap 20 (for example, at a position 1 mm away from the tip 37). The rising emboss 51 </ b> A has an arc shape and is provided in a planar shape that is long in the width W direction of the flap 20. The rising emboss 51A is raised toward the auxiliary front plate 7 and formed by embossing. A rising emboss 51A provided on the flap 20 is a rising emboss 51B (see FIG. 4) provided on the side of the auxiliary front plate 7 (described later) (when the rising emboss 51B described below is not formed on the auxiliary front plate 7, It contacts the auxiliary front plate 7). For this reason, when the rising emboss 51A is provided, the phenomenon that the flap 20 separated from the front plate 5 (see FIG. 2) by the notch (cut line CL) (see FIG. 2) is fitted into the front plate 5 again is prevented. Thus, since the flap 20 can be reliably raised from the front plate 5, the packaging medium 12 (see FIG. 1B) can be reliably separated from the front plate 5.

図4を参照して説明する。図4は破線で示すフラップ20と前板5(図1参照)と副前板7との位置関係を示す。副前板7は第一の連接辺38(折り曲げ線38L)(二点鎖線で表示する)にて前板5に連接されている。図示するように、副前板7は、副前板7のフラップ20に対向する側の表面上であって、フラップ20に対向する位置に隆起部としての起き上がりエンボス51Bを有する。図中、フラップ20とカットラインCLとを破線で描き、前板5と副前板7が重なった場合の、フラップ20と刳貫部29A、29Bの副前板7上の対応位置を示す。起き上がりエンボス51Bは、中心をフラップ20の基部21(折り曲げ線21L)上に有する円弧形状に設けられる(円弧の中央を通る半径はフラップ20の基部21(折り曲げ線21L)に直交する)。副前板7に設けられた起き上がりエンボス51Bは、フラップ20に設けられた起き上がりエンボス51Aに当接するように設けられているので、切り込み(カットラインCL)によって前板5から分離されたフラップ20が再び前板5に嵌まり込む現象を防ぎ、フラップ20を前板5から確実に起き上がらせることを可能とする。このため、包装媒体12(図1(B)参照)を前板5から確実に離間させることができる。   This will be described with reference to FIG. FIG. 4 shows the positional relationship among the flap 20, the front plate 5 (see FIG. 1), and the auxiliary front plate 7 indicated by broken lines. The sub front plate 7 is connected to the front plate 5 at a first connecting side 38 (bending line 38L) (indicated by a two-dot chain line). As shown in the figure, the sub-front plate 7 has a raised emboss 51B as a raised portion on the surface of the sub-front plate 7 on the side facing the flap 20 and at a position facing the flap 20. In the drawing, the flap 20 and the cut line CL are drawn with broken lines, and the corresponding positions on the sub front plate 7 of the flap 20 and the penetration portions 29A, 29B when the front plate 5 and the sub front plate 7 overlap each other are shown. The rising emboss 51B is provided in an arc shape having a center on the base 21 (folding line 21L) of the flap 20 (the radius passing through the center of the arc is orthogonal to the base 21 (folding line 21L) of the flap 20). The rising emboss 51B provided on the auxiliary front plate 7 is provided so as to abut on the rising emboss 51A provided on the flap 20, so that the flap 20 separated from the front plate 5 by the cut (cut line CL) is provided. The phenomenon of fitting into the front plate 5 again is prevented, and the flap 20 can be reliably raised from the front plate 5. For this reason, the packaging medium 12 (see FIG. 1B) can be reliably separated from the front plate 5.

副前板7に設けられた起き上がりエンボス51Bは、副前板7と前板5(図1参照)とが重なって配置された状態のとき、すなわち容器本体15(図1参照)が組み立てられたとき、副前板7に設けられた起き上がりエンボス51Bの全体がフラップ20に設けられた起き上がりエンボス51A(図3参照)に当接するように形成される。すなわち、副前板7に設けられた起き上がりエンボス51Bの全体がフラップ20に設けられた起き上がりエンボス51Aの領域内に入るように形成される。   The rising emboss 51B provided on the sub-front plate 7 is in a state where the sub-front plate 7 and the front plate 5 (see FIG. 1) overlap each other, that is, the container body 15 (see FIG. 1) is assembled. At this time, the entire raised emboss 51B provided on the auxiliary front plate 7 is formed so as to abut on the raised emboss 51A (see FIG. 3) provided on the flap 20. That is, the entire raised emboss 51B provided on the auxiliary front plate 7 is formed so as to fall within the area of the raised emboss 51A provided on the flap 20.

本実施の形態では、起き上がりエンボス51A(フラップ20)(図3参照)と起き上がりエンボス51B(副前板7)との両方を設けるものとしているが、起き上がりエンボス51A(フラップ20)と起き上がりエンボス51B(副前板7)とのどちらか一方のみを設けるものとしてもよい。このように設けると、簡易な構成で、フラップ20が前板5(図1参照)から起き上がり、包装媒体12(図1(B)参照)を前板5から確実に離間させることができる。   In the present embodiment, both the rising emboss 51A (flap 20) (see FIG. 3) and the rising emboss 51B (sub-front plate 7) are provided, but the rising emboss 51A (flap 20) and the rising emboss 51B ( Only one of the auxiliary front plate 7) may be provided. If provided in this way, the flap 20 rises from the front plate 5 (see FIG. 1) with a simple configuration, and the packaging medium 12 (see FIG. 1 (B)) can be reliably separated from the front plate 5.

図1に戻って、供給具1(収納容器3および巻回体2)の使用時の作用について説明する。収納容器3は、巻回体2を収納し、蓋板22は完全に閉じた状態で保管される。包装媒体12(図1(B)参照)を収納容器3から引き出した後には、蓋板22を完全に閉じた状態にし、包装媒体12をカッター24により切断した後に、通常は底板4を下にして収納容器3を、例えば台所の棚(不図示)に置いて保管する。   Returning to FIG. 1, the operation of the supply tool 1 (the storage container 3 and the wound body 2) when used will be described. The storage container 3 stores the wound body 2 and the cover plate 22 is stored in a completely closed state. After pulling out the packaging medium 12 (see FIG. 1B) from the storage container 3, the cover plate 22 is completely closed, and after the packaging medium 12 is cut by the cutter 24, the bottom plate 4 is usually placed downward. The storage container 3 is placed and stored on a kitchen shelf (not shown), for example.

この状態で、包装媒体12(図1(B)参照)は、蓋前板23の内側(蓋板22が完全に閉じた状態における蓋前板23の前板5側)と、フラップ20の外側(フラップ20の副前板7(図1(B)参照)側とは反対の側)および前板5の外側(前板5の副前板7側とは反対の側)との間に挟まれている。包装媒体12は、フラップ20の外側(フラップ20の引き出された包装媒体12側)に設けた包装媒体保持部33に保持されている。フラップ20は、前板5と切り込み(カットラインCL)によって分離され、前板5から切り起こされているので、包装媒体保持部33を有するフラップ20が包装媒体12を蓋前板23の内側に押し付けて、包装媒体保持部33が包装媒体12を保持する作用が促進される。   In this state, the packaging medium 12 (see FIG. 1 (B)) is inside the lid front plate 23 (on the front plate 5 side of the lid front plate 23 in a state where the lid plate 22 is completely closed) and outside the flap 20. (The side opposite to the sub front plate 7 (see FIG. 1B) side of the flap 20) and the outside of the front plate 5 (the side opposite to the sub front plate 7 side of the front plate 5). It is. The wrapping medium 12 is held by a wrapping medium holding portion 33 provided outside the flap 20 (on the side of the wrapping medium 12 from which the flap 20 is drawn). The flap 20 is separated from the front plate 5 by a cut (cut line CL), and is cut and raised from the front plate 5, so that the flap 20 having the packaging medium holding portion 33 puts the packaging medium 12 inside the lid front plate 23. By pressing, the action of holding the packaging medium 12 by the packaging medium holding part 33 is promoted.

包装媒体12(図1(B)参照)を使用するために、使用者は、供給具1(収納容器3および巻回体2)を、例えば台所の棚(不図示)から手に取り、蓋板22を開ける。このとき、包装媒体12は、フラップ20に覆い被さり、フラップ20の包装媒体保持部33に保持されているため、フラップ20に対して位置が安定している。   In order to use the packaging medium 12 (see FIG. 1 (B)), the user takes the supply tool 1 (the storage container 3 and the wound body 2) from, for example, a kitchen shelf (not shown) and covers the lid. Open the plate 22. At this time, since the packaging medium 12 covers the flap 20 and is held by the packaging medium holding portion 33 of the flap 20, the position is stable with respect to the flap 20.

フラップ20は、前板5から幅W方向に広く切り起こされて設けられているので、すなわち、フラップ20の基部21(折り曲げ線21L)に沿った幅Wが、基部21(折り曲げ線21L)から先端37までの延在長さHよりも長く設けられているために、フラップ20は包装媒体12(図1(B)参照)を持ち上げるための十分な復元力を有する。このため、包装媒体12のフラップ20に接触している部分は、フラップ20によって蓋前板23の内側の方向に持ち上げられ、前板5から離間される。特に包装媒体12のフラップ20の先端37により押し上げられている包装媒体12の先端36(図1(B)参照)は、確実に前板5から離間される。したがって、包装媒体12が摘みやすく、包装媒体12を収納容器3からスムーズに引き出すことができる。   Since the flap 20 is provided by being cut and raised widely in the width W direction from the front plate 5, that is, the width W along the base 21 (folding line 21L) of the flap 20 is from the base 21 (folding line 21L). The flap 20 has a sufficient restoring force for lifting the packaging medium 12 (see FIG. 1B) because it is longer than the extending length H up to the tip 37. Therefore, the portion of the packaging medium 12 that is in contact with the flap 20 is lifted by the flap 20 toward the inside of the lid front plate 23 and is separated from the front plate 5. In particular, the leading edge 36 of the packaging medium 12 (see FIG. 1B) pushed up by the leading edge 37 of the flap 20 of the packaging medium 12 is reliably separated from the front plate 5. Therefore, the packaging medium 12 can be easily picked, and the packaging medium 12 can be smoothly pulled out from the storage container 3.

蓋板22が完全に閉じた状態のとき、蓋前板23に取り付けられたカッター24の先端は、フラップ20の先端37を超えて配置され、フラップ20は、蓋前板23およびカッター24の裏側に位置して外部から見えない構造に設けられている。前回使用された包装媒体12(図1(B)参照)の使用部分はカッター24により切断されており、残された包装媒体12の先端36(図1(B)参照)は、フラップ20の先端37より底板4側(下側)に位置する。   When the lid plate 22 is in a completely closed state, the tip of the cutter 24 attached to the lid front plate 23 is disposed beyond the tip 37 of the flap 20, and the flap 20 is located behind the lid front plate 23 and the cutter 24. It is located in the structure that is not visible from the outside. The used part of the packaging medium 12 used last time (see FIG. 1B) is cut by the cutter 24, and the remaining tip 36 of the packaging medium 12 (see FIG. 1B) is the tip of the flap 20. 37 on the bottom plate 4 side (lower side).

この状態で、今回、包装媒体12(図1(B)参照)を使用する場合は、蓋板22を開き、刳貫部29A(または29B)に指を入れ、切断された包装媒体12の先端36(図1(B)参照)を摘み、包装媒体12をさらに必要な長さだけ引き出す。包装媒体12を引き出している間、巻回体2は収納容器3内で回転する。その後、蓋板22を閉じ、蓋前板23のエンボス加工部28を親指で押さえると、包装媒体保持部33に包装媒体12が確実に保持され、包装媒体12の収納容器3に対する位置が安定するので包装媒体12をカッター24によってスムーズに切断することができる。   In this state, when using the packaging medium 12 (see FIG. 1B) this time, the cover plate 22 is opened, a finger is inserted into the pierced portion 29A (or 29B), and the tip of the cut packaging medium 12 is cut. 36 (see FIG. 1B) is picked, and the packaging medium 12 is further pulled out by a necessary length. While the packaging medium 12 is being pulled out, the wound body 2 rotates in the storage container 3. After that, when the lid plate 22 is closed and the embossed portion 28 of the lid front plate 23 is pressed with the thumb, the packaging medium 12 is securely held by the packaging medium holding portion 33 and the position of the packaging medium 12 with respect to the storage container 3 is stabilized. Therefore, the packaging medium 12 can be smoothly cut by the cutter 24.

本実施の形態の収納容器3によれば、容器本体15がフラップ20を有するので、開口された一面30から引き出された包装媒体12(図1(B)参照)の先端36(図1(B)参照)をフラップ20によって前板5から確実に離間させることができる。また、包装媒体12の先端36を前板5から確実に離間させることができるために、包装媒体12の使用者は、刳貫部29A(または29B)に指を入れ、前板5から離間された包装媒体12を容易に摘み、収納容器3から、さらに包装媒体12をスムーズに引き出すことができる。なお、例えば、刳貫部29A、29Bが設けられない場合にも、フラップ20を備える場合には、収納容器3から包装媒体12をスムーズに引き出すことができるものといえるから、フラップ20の寄与(作用)は極めて大きいものといえる。   According to the storage container 3 of the present embodiment, since the container body 15 has the flap 20, the tip 36 (see FIG. 1 (B)) of the packaging medium 12 (see FIG. 1 (B)) drawn out from the opened one surface 30. )) Can be reliably separated from the front plate 5 by the flap 20. In addition, since the front end 36 of the packaging medium 12 can be reliably separated from the front plate 5, the user of the packaging medium 12 puts a finger into the piercing portion 29 </ b> A (or 29 </ b> B) and is separated from the front plate 5. The packaging medium 12 can be easily picked and the packaging medium 12 can be further smoothly pulled out from the storage container 3. In addition, for example, even when the pierced portions 29A and 29B are not provided, if the flap 20 is provided, it can be said that the packaging medium 12 can be smoothly pulled out from the storage container 3, and therefore the contribution of the flap 20 ( It can be said that the action) is extremely large.

左手で包装媒体12(図1(B)参照)を収納容器3から引き出す場合は、典型的には、右手に収納容器3(フラップ20)を把持する使用者から収納容器3を見て左側の刳貫部29Aに左手の人差し指を入れ、包装媒体12の先端36(図1(B)参照)を表側から直接摘むことができる。あるいは、フラップ20の凸部25の先端37に左手の人差し指の腹で軽く触れてフラップ20に指を沿わせ、フラップ20によって持ち上げられた包装媒体12の背面に人差し指を回りこませながら指を滑らせて刳貫部29Aに人差し指を入れ、裏側から包装媒体12を摘むことが可能となる。このように、スムーズに包装媒体12を収納容器3から引き出すことが可能となる。右手で包装媒体12を収納容器3から引き出す場合は、左手に収納容器3を把持する使用者から収納容器3を見て右側の刳貫部29Bに右手の人差し指を入れ、同様の操作をおこなうとよい。   When the packaging medium 12 (see FIG. 1B) is pulled out from the storage container 3 with the left hand, typically, the left side of the storage container 3 viewed from the user holding the storage container 3 (flap 20) with the right hand is viewed. An index finger of the left hand can be put into the pierced portion 29A, and the tip 36 (see FIG. 1B) of the packaging medium 12 can be directly picked from the front side. Alternatively, lightly touch the tip 37 of the convex portion 25 of the flap 20 with the index finger of the left hand and place the finger along the flap 20, and slide the finger around the back of the packaging medium 12 lifted by the flap 20. Thus, it is possible to put an index finger into the punched portion 29A and pick the packaging medium 12 from the back side. In this way, the packaging medium 12 can be pulled out from the storage container 3 smoothly. When the packaging medium 12 is pulled out from the storage container 3 with the right hand, a user holding the storage container 3 with the left hand sees the storage container 3, puts the index finger of the right hand into the right pierced portion 29B, and performs the same operation. Good.

フラップ20は大きな復元力を得るために副前板7(図1(B)参照)と連接して副前板7から基部21(折り曲げ線21L)で折り曲げられて設けられている。また、フラップ20の基部21(折り曲げ線21L)と、前板5と副前板7との間の第一の連接辺38(折り曲げ線38L)との間にはオフセット(離間または位置ずれ)OSが設けられている。このため、本実施の形態のフラップ20では、前板5に入れられた切り込み(カットラインCL)とフラップ20の先端37との間にオフセットOSを設けることができるから、フラップ20の先端37が前板5に入れられた切り込み(カットラインCL)に嵌まり込む可能性を抑えることができる。   In order to obtain a large restoring force, the flap 20 is connected to the auxiliary front plate 7 (see FIG. 1B) and is bent from the auxiliary front plate 7 at the base portion 21 (folding line 21L). Further, there is an offset (separation or misalignment) OS between the base 21 (folding line 21L) of the flap 20 and the first connecting side 38 (folding line 38L) between the front plate 5 and the sub-front plate 7. Is provided. For this reason, in the flap 20 of the present embodiment, an offset OS can be provided between the notch (cut line CL) put in the front plate 5 and the tip 37 of the flap 20, so that the tip 37 of the flap 20 is The possibility of fitting into the cut (cut line CL) put in the front plate 5 can be suppressed.

フラップ20の基部21(折り曲げ線21L)と、前板5と副前板7(図1(B)参照)との間の第一の連接辺38(折り曲げ線38L)との間のオフセット(離間または位置ずれ)の量は約0.1mmから0.5mmまでの範囲の値、さらに好ましくは、約0.2mmから0.4mmまでの範囲の値、典型的には、約0.3mm程度に設けるものとするとよい。なお、図では、オフセットOSが視覚的に理解し易いように、オフセットOSを誇張して大きく描いている。   Offset (separation) between the base 21 (folding line 21L) of the flap 20 and the first connecting side 38 (folding line 38L) between the front plate 5 and the sub-front plate 7 (see FIG. 1B). Or misalignment) is a value in the range of about 0.1 mm to 0.5 mm, more preferably a value in the range of about 0.2 mm to 0.4 mm, typically about 0.3 mm. It should be provided. In the figure, the offset OS is exaggerated and drawn greatly so that the offset OS can be easily understood visually.

このように、フラップ20の折り曲げ線21Lと、前板5と副前板7(図1(B)参照)との間の折り曲げ線38Lとの間に僅かな量のオフセット(離間または位置ずれ)OSを設けることにより、フラップ20の先端37がフラップ20が切り出された切り出しのカットラインCLに嵌まり込む可能性を抑えることができる。一方で、前板5と副前板7との間の折り曲げ線38Lと、フラップ20の折り曲げ線21Lとの間のオフセットOSの量が僅かな量に設けられていることから、蓋板22が開口する一面30を塞ぐ機能が阻害されることはない。オフセットOSのための僅かな量とは、収納容器3が通常の使用に伴い変形して、フラップ20の先端37とカットラインCLとの間の隙間(クリアランス)が変動する場合にも、フラップ20の先端37とカットラインCLとを実質的に非接触に保つことができる範囲でできるだけ小さなオフセットOS量をいう。   Thus, a slight amount of offset (separation or misalignment) between the fold line 21L of the flap 20 and the fold line 38L between the front plate 5 and the sub-front plate 7 (see FIG. 1B). By providing the OS, it is possible to suppress the possibility that the tip 37 of the flap 20 fits into the cut line CL where the flap 20 is cut out. On the other hand, since the amount of the offset OS between the fold line 38L between the front plate 5 and the sub front plate 7 and the fold line 21L of the flap 20 is provided in a small amount, the cover plate 22 is The function of closing the open one surface 30 is not hindered. The slight amount for the offset OS means that the flap 20 is deformed even when the container 3 is deformed during normal use and the gap (clearance) between the tip 37 of the flap 20 and the cut line CL varies. The offset OS amount is as small as possible within a range in which the tip 37 and the cut line CL can be kept substantially non-contact.

図2を参照して説明を続ける。図2(A)に示す本実施の形態のフラップ20の基部21(折り曲げ線21L)は、フラップ20の先端37がカットラインCLから基部21の方向に離間するように、前板5と副前板7(図1(B)参照)との間の第一の連接辺38(折り曲げ線38L)の上方(前板5より見て外方)の位置にオフセット(離間または位置ずれ)OSして設けられている。言い換えれば、前板5と副前板7との間の折り曲げ線38Lより上方に位置する折り曲げ線21でフラップ20が折り返されて設けられている。フラップ基部21の折り曲げ線21Lと、前板5と副前板7との間の折り曲げ線38Lとの間のオフセットOSの分(等量分)だけ、フラップ20の先端37とカットラインCLとの間にオフセットOS(隙間またはクリアランス)が形成される。図2(A)に示す実施の形態では、蓋板22(図1参照)が完全に閉じられたとき(蓋前板23(図1参照)が前板5に重なったとき)に、フラップ20が、先端37とカットラインCLとの間に隙間(クリアランス)を有する状態で切り込み(カットラインCL)内に収まって、出張ることがない。   The description will be continued with reference to FIG. The base 21 (folding line 21L) of the flap 20 of the present embodiment shown in FIG. 2 (A) has a front plate 5 and a sub-front so that the tip 37 of the flap 20 is separated from the cut line CL in the direction of the base 21. An offset (separation or misalignment) OS is performed at a position above the first connecting side 38 (bending line 38L) between the plate 7 (see FIG. 1B) (outward as viewed from the front plate 5). Is provided. In other words, the flap 20 is folded back at the folding line 21 located above the folding line 38L between the front plate 5 and the sub-front plate 7. The tip 37 of the flap 20 and the cut line CL are equal to the offset OS (an equal amount) between the fold line 21L of the flap base 21 and the fold line 38L between the front plate 5 and the sub-front plate 7. An offset OS (gap or clearance) is formed between them. In the embodiment shown in FIG. 2A, when the lid plate 22 (see FIG. 1) is completely closed (when the lid front plate 23 (see FIG. 1) overlaps the front plate 5), the flap 20 However, it is within the cut (cut line CL) in a state where there is a gap (clearance) between the tip 37 and the cut line CL, and no business trip occurs.

一方、図2(B)に示す本発明の一の実施の形態では、フラップ20の基部21(折り曲げ線21)は、フラップ20の先端37が切り込みのカットラインCLを超えて前板5とオーバーラップして重なり部27を有するように、前板5と副前板7(図1(B)参照)との間の第一の連接辺38(折り曲げ線38L)の下方(前板5より見て内方)の位置にオフセット(離間または位置ずれ)OSして設けられている。言い換えれば、フラップ20の基部21(折り曲げ線21)は副前板7上に設けられている。フラップ基部21の折り曲げ線21Lと、前板5と副前板7との間の折り曲げ線38Lとの間のオフセットOSの分(等量分)だけ、フラップ20の先端37とカットラインCL(前板5)との間にオフセットOS(オーバーラップ、重なり部27)が形成される。図2(B)に示す実施の形態では、蓋板22(図1参照)が完全に閉じられたとき(蓋前板23(図1参照)が前板5に重なったとき)にも、フラップ20が、切り込み(カットラインCL)内に収まることがないから、フラップ20の先端37の他、後に詳述する、フラップ基部21に大きな回転抑止モーメントを生ずることのないフラップ20の周縁部20A(図3参照)についても、カットラインCLに嵌まり込む可能性を抑えるように設けることができる。   On the other hand, in one embodiment of the present invention shown in FIG. 2B, the base portion 21 (folding line 21) of the flap 20 is over the front plate 5 with the tip 37 of the flap 20 exceeding the cut line CL of the cut. Below the first connecting side 38 (bending line 38L) between the front plate 5 and the sub-front plate 7 (see FIG. 1B) (as viewed from the front plate 5) so as to wrap and have an overlapping portion 27. (Inward) is provided with an offset (separation or misalignment) OS. In other words, the base 21 (folding line 21) of the flap 20 is provided on the sub-front plate 7. The front end 37 of the flap 20 and the cut line CL (front) are equal to the offset OS (equal amount) between the fold line 21L of the flap base 21 and the fold line 38L between the front plate 5 and the sub front plate 7. An offset OS (overlap, overlapping portion 27) is formed between the plate 5) and the plate 5). In the embodiment shown in FIG. 2 (B), the flap is also applied when the lid plate 22 (see FIG. 1) is completely closed (when the lid front plate 23 (see FIG. 1) overlaps the front plate 5). 20 does not fall within the notch (cut line CL). In addition to the tip 37 of the flap 20, the peripheral portion 20 </ b> A of the flap 20 (which will be described later in detail) that does not cause a large rotation inhibiting moment in the flap base 21. 3) can also be provided so as to suppress the possibility of fitting into the cut line CL.

このように、フラップ20の先端37がカットラインCLに対して基部21の方向に離間するようにオフセット(離間または位置ずれ)OSを設ける(図2(A)参照)場合にも、あるいは、フラップ20の先端37がカットラインCLを超えて前板5との重なり部27を有するようにオフセットOSを設ける(図2(B)参照)場合にも、いずれの場合にも、フラップ20の先端37がフラップ20が切り起こされた切り込み(カットラインCL)に再び嵌まり込む可能性を抑えるように設けることができる。   As described above, even when the offset (separation or misalignment) OS is provided so that the tip 37 of the flap 20 is separated from the cut line CL in the direction of the base 21 (see FIG. 2A), or In both cases, the front end 37 of the flap 20 is provided with an offset OS so that the front end 37 of the 20 exceeds the cut line CL and has an overlapping portion 27 with the front plate 5 (see FIG. 2B). Can be provided so as to suppress the possibility that the flap 20 will be reinserted into the cut (cut line CL).

なお、図2(B)に示すように、フラップ20の先端37と前板5とがオーバーラップするように設ける場合には、例えば、図示するように、オフセット(離間または位置ずれ)OSと等量分だけフラップ20の基部21(折り曲げ線21L)と連接する副前板7側に切り込み(カットラインCL)を延長するとよい。このように設けると、フラップ20の折り曲げ線21Lを前板5と副前板7(図1(B)参照)との間の折り曲げ線38Lよりも図示する状態において下方(前板5より見て内方)の位置に設けることができる。言い換えれば、前板5と副前板7との間の折り曲げ線38Lを越えて副前板7上の位置にフラップ20の基部21(折り曲げ線21L)を設けることができる。   As shown in FIG. 2B, when the front end 5 of the flap 20 and the front plate 5 are provided so as to overlap, for example, as shown in the figure, an offset (separation or misalignment) OS, etc. A cut (cut line CL) may be extended to the sub-front plate 7 side connected to the base 21 (folding line 21L) of the flap 20 by an amount. With this arrangement, the folding line 21L of the flap 20 is lower (as viewed from the front plate 5) in the state shown than the folding line 38L between the front plate 5 and the sub-front plate 7 (see FIG. 1B). (Inward) can be provided. In other words, the base 21 (folding line 21L) of the flap 20 can be provided at a position on the auxiliary front plate 7 beyond the bending line 38L between the front plate 5 and the auxiliary front plate 7.

図2(B)に示す実施の形態のオフセット(離間または位置ずれ)OS量は、フラップ20の剛性が十分である場合には、前述の図1並びに図2(A)に示す実施の形態のオフセットOS量と等量に設けるものとするとよい。すなわち、オフセットOS量を約0.1mmから0.5mmまでの範囲の値、さらに好ましくは、約0.2mmから0.4mmまでの範囲の値、典型的には、約0.3mm程度に設けるものとするとよい。   The offset (separation or misalignment) OS amount of the embodiment shown in FIG. 2B is the same as that of the embodiment shown in FIG. 1 and FIG. 2A when the rigidity of the flap 20 is sufficient. It is preferable to provide the same amount as the offset OS amount. That is, the offset OS amount is set to a value in the range from about 0.1 mm to 0.5 mm, more preferably a value in the range from about 0.2 mm to 0.4 mm, typically about 0.3 mm. It should be.

しかしながら、フラップ20の剛性が低く、フラップ20が変形する場合には、フラップ20の先端37がオーバーラップ(重なり部27)を失ってカットラインCLに嵌まり込む可能性も生じ得る。このような場合には、オフセット(離間または位置ずれ)OSの量にフラップ20の剛性に応じた安全係数(安全率)を乗ずることで、フラップ20の先端37がカットラインCLに嵌まり込む可能性を抑えるものとするとよい。安全係数は、例えば、フラップ20の低剛性に起因して失われる可能性のあるオーバーラップ(重なり部27)の量がオフセットOSの量未満となるように設けるものとするとよい。あるいは、それ以上の安全率を持たせるものとしてもよい。   However, when the flap 20 has low rigidity and the flap 20 is deformed, there is a possibility that the tip 37 of the flap 20 loses the overlap (overlap portion 27) and fits into the cut line CL. In such a case, the tip 37 of the flap 20 can be fitted into the cut line CL by multiplying the amount of offset (separation or misalignment) OS by a safety factor (safety factor) corresponding to the rigidity of the flap 20. It is good to suppress sex. For example, the safety factor may be provided so that the amount of overlap (overlap portion 27) that may be lost due to the low rigidity of the flap 20 is less than the amount of the offset OS. Alternatively, a safety factor higher than that may be given.

ここで、オフセット(離間または位置ずれ)OSの量に安全係数(安全率)を乗ずる場合の具体例を示す。安全係数(安全率)は、1.5から2.5までの範囲の値とするとよい。好ましくは、1.7から2.3までの範囲の値とするとよい。典型的には、安全係数(安全率)は2とするとよい。ここでは、フラップ20の剛性を評価した結果、前述のオフセットOS量に安全係数として2を乗ずる場合について例示する。この場合には、オフセットOSの量は、約0.2mmから1mmまでの範囲の値、さらに好ましくは、約0.4mmから0.8mmまでの範囲の値、典型的には、約0.6mm程度に設けるものとするとよい。このようにして、フラップ20の先端37がカットラインCLに嵌まり込む可能性を抑えることができる。   Here, a specific example in the case of multiplying the amount of offset (separation or displacement) OS by a safety factor (safety factor) is shown. The safety factor (safety factor) may be a value in the range from 1.5 to 2.5. A value in the range of 1.7 to 2.3 is preferable. Typically, the safety factor (safety factor) is preferably 2. Here, a case where the above-described offset OS amount is multiplied by 2 as a safety factor as a result of evaluating the rigidity of the flap 20 will be exemplified. In this case, the amount of offset OS is a value in the range of about 0.2 mm to 1 mm, more preferably a value in the range of about 0.4 mm to 0.8 mm, typically about 0.6 mm. It should be provided at a certain level. In this way, the possibility that the tip 37 of the flap 20 fits into the cut line CL can be suppressed.

図3を参照して説明を続ける。図3はフラップ20の裏側を副前板7(図1(B)参照)側より見て示す平面図である。図示するように、フラップ20の凸部25の先端37は、フラップ20の全体の中でフラップ20の基部21(折り曲げ線21L)から最も離れていることにより、最も大きなモーメントアーム(すなわち、フラップ20の延在長さH)を有する。このため、フラップ20の先端37は、フラップ20の先端37がカットラインCL(図2参照)に嵌まり込んだ場合には、フラップ20の基部21(折り曲げ線21L)に最も大きな回転抑止モーメントを作用させる可能性を有する。この可能性を抑えるために、フラップ20の折り曲げ線21Lと、前板5(図2参照)と副前板7との間の折り曲げ線38L(図2参照)との間にオフセット(離間または位置ずれ)OS(図2参照)が設けられる。   The description will be continued with reference to FIG. FIG. 3 is a plan view showing the back side of the flap 20 as viewed from the sub-front plate 7 (see FIG. 1B) side. As shown in the drawing, the tip 37 of the convex portion 25 of the flap 20 is farthest from the base 21 (folding line 21L) of the flap 20 in the entire flap 20, and thus the largest moment arm (ie, the flap 20). And an extended length H). For this reason, when the front end 37 of the flap 20 is fitted in the cut line CL (see FIG. 2), the front end 37 of the flap 20 has the largest rotation suppression moment on the base 21 (folding line 21L) of the flap 20. Have the potential to act. In order to suppress this possibility, an offset (separation or position) is formed between the fold line 21L of the flap 20 and the fold line 38L (see FIG. 2) between the front plate 5 (see FIG. 2) and the sub front plate 7. A shift (OS) (see FIG. 2) is provided.

このように、最大のモーメントアームHを有するフラップ20の先端37並びに先端37の近傍の近傍部分(図示の例では円弧形状の部分)とカットラインCL(図2参照)との間にオフセット(離間または位置ずれ)OS(図2参照)を設けることにより、フラップ20の先端37並びに先端37の近傍の近傍部分が切り込み(カットラインCL)に嵌まり込んで、フラップ20の基部21(折り曲げ線21L)に最大の回転抑止モーメントが作用する可能性を抑えることができる。   In this way, the tip 37 of the flap 20 having the maximum moment arm H, and the vicinity of the vicinity of the tip 37 (arc-shaped portion in the example shown in the figure) and the cut line CL (see FIG. 2) are offset (separated). By providing the misalignment OS (see FIG. 2), the front end 37 of the flap 20 and the vicinity of the front end 37 are fitted into the notch (cut line CL), and the base 21 (folding line 21L of the flap 20). ) Can prevent the possibility of the maximum rotation inhibiting moment acting.

なお、後に詳述する本発明のさらに他の実施の形態(図7参照)において示すように、フラップ20が複数の凸部25(並びに先端37)を有する場合も存在し得る。この場合にも、本実施の形態と同様に、フラップ20の基部21(折り曲げ線21L)を、前板5(図7参照)と副前板7(図7参照)との間の折り曲げ線38L(図7参照)に対してオフセット(離間または位置ずれ)OS(図7参照)して設けることにより、複数のフラップ20の先端37の全てについてカットラインCL(図7参照)に嵌まり込む可能性を抑えることができる。   In addition, as shown in other embodiment (refer FIG. 7) of this invention explained in full detail later, the case where the flap 20 has the some convex part 25 (as well as the front-end | tip 37) may exist. Also in this case, as in the present embodiment, the base 21 (folding line 21L) of the flap 20 is connected to the folding line 38L between the front plate 5 (see FIG. 7) and the sub front plate 7 (see FIG. 7). By providing an offset (separation or misalignment) OS (see FIG. 7) with respect to (see FIG. 7), all of the tips 37 of the plurality of flaps 20 can be fitted into the cut line CL (see FIG. 7). Sex can be suppressed.

このように、フラップ20の先端37は、フラップ20の基部21(折り曲げ線21L)から最も離れた部分をいい、フラップ20に凸形状(凸部25)が複数形成されている場合には、最も離れた凸部分25の他、二番目以降に離れた凸部分25の先端37をも含む(図7参照)。言い換えれば、フラップ20の先端37とは、少なくともフラップ20が有する凸部25における最大のモーメントアームを有する部分をいう。また、フラップ20の先端37が有するモーメントアームと実質的に等しいモーメントアームを有するフラップ20の先端37の近傍の近傍部分は、実質的にフラップ20の先端37であるものと見ることができる。図示の実施の形態では、円弧形状に設けられたフラップ20の先端37の近傍の近傍部分は、実質的にフラップ20の先端37であるものと見ることができる。   Thus, the tip 37 of the flap 20 refers to a portion that is farthest from the base 21 (folding line 21L) of the flap 20, and when a plurality of convex shapes (convex portions 25) are formed on the flap 20, In addition to the separated convex portion 25, the tip 37 of the convex portion 25 separated second and later is also included (see FIG. 7). In other words, the tip 37 of the flap 20 refers to a portion having at least the maximum moment arm in the convex portion 25 of the flap 20. Further, a portion in the vicinity of the front end 37 of the flap 20 having a moment arm substantially equal to the moment arm of the front end 37 of the flap 20 can be regarded as being substantially the front end 37 of the flap 20. In the illustrated embodiment, the vicinity of the tip 37 of the flap 20 provided in an arc shape can be regarded as being substantially the tip 37 of the flap 20.

このようなフラップ20の先端37であって、フラップ20の基部21(折り曲げ線21L)に対して大きなモーメントアームを有して大きな回転抑止モーメントを発生する可能性を有するフラップ20の先端37と、フラップ20を切り出した切り込み(カットラインCL(図2参照))との間にオフセット(離間または位置ずれ)OS(図2参照)を設けることにより、フラップ20の切り込み(カットラインCL)への嵌まり込みの可能性を抑えることができる。   A front end 37 of such a flap 20, which has a large moment arm with respect to the base 21 (folding line 21L) of the flap 20 and has a possibility of generating a large rotation inhibiting moment; Fitting of the flap 20 to the cut (cut line CL) is provided by providing an offset (separation or displacement) OS (see FIG. 2) between the cut (cut line CL (see FIG. 2)) cut out of the flap 20. The possibility of jamming can be suppressed.

一方、フラップ20の基部21(折り曲げ線21L)に対して大きなモーメントアームを有することがなく、フラップ20の基部21(折り曲げ線21L)に対して大きな回転抑止モーメントを発生する可能性の無い、フラップ20の先端37の近傍の近傍部分を除くフラップ20の周縁部20Aについては、その影響量が小さいために、先端37と一律に均等量のオフセット(離間または位置ずれ)OS(図2参照)設けなくともよい。   On the other hand, the flap does not have a large moment arm with respect to the base 21 (folding line 21L) of the flap 20, and does not have a possibility of generating a large rotation inhibiting moment with respect to the base 21 (folding line 21L) of the flap 20. The peripheral portion 20A of the flap 20 excluding the vicinity of the front end 37 of the 20 has a small amount of influence, and therefore an offset (separation or misalignment) OS (see FIG. 2) of the same amount as the front end 37 is provided. Not necessary.

本実施の形態のフラップ20では、フラップ20の幅広部20Bの下側(先端37側)の辺については、先端37と均等量のオフセット(離間または位置ずれ)OS(図2参照)が設けられているが、それ以外の周縁部20Aでは、先端37と均等量のオフセットOSは設けられていない。特に、幅広部20Bの幅W方向における両端面(両側面)においては、オフセットOSが設けられていない。しかしながら、当該部分は、フラップ20の基部21(折り曲げ線21L)に対するモーメントアームが特に小さい部分であるために、大きな回転抑止モーメントを発生することがない。このため、当該部分には、先端37と一律に均等量のオフセットOSを設けなくともよい。   In the flap 20 of the present embodiment, an offset (separation or misalignment) OS (see FIG. 2) equivalent to the tip 37 is provided on the lower side (tip 37 side) of the wide portion 20B of the flap 20. However, the other peripheral edge 20A is not provided with an offset OS equivalent to the tip 37. In particular, the offset OS is not provided on both end faces (both side faces) in the width W direction of the wide portion 20B. However, since this portion is a portion in which the moment arm with respect to the base 21 (folding line 21L) of the flap 20 is particularly small, a large rotation inhibiting moment is not generated. For this reason, it is not necessary to provide an equal amount of offset OS to the tip 37 in the portion.

なお、周縁部20Aを含めた全てのフラップ20の外周とカットラインCL(図2参照)との間に、フラップ20の先端37と一律に均等量のオフセット(離間または位置ずれ)OS(図2参照)を設けるものとしてもよい。この場合には、例えば、周縁部20Aを含めた全てのフラップ20の外周とカットラインCLとの間に、後に詳述する切り落とし部92(図8参照)を設けることでオフセットOSを設けるものとしてもよい。   In addition, between the outer periphery of all the flaps 20 including the peripheral portion 20A and the cut line CL (see FIG. 2), an offset (separation or misalignment) OS of the same amount as the tip 37 of the flap 20 (see FIG. 2). Reference) may be provided. In this case, for example, the offset OS is provided by providing a cut-out portion 92 (see FIG. 8) described in detail later between the outer periphery of all the flaps 20 including the peripheral portion 20A and the cut line CL. Also good.

図5を参照して説明を続ける。図5は本発明の他の実施の形態に係るフラップ20に設けられた屈曲部26を拡大して示す斜視図である。図5(A)では、屈曲部26として、フラップ20の凸部25の延在方向(長さH(図1参照)方向)における中央部に折り曲げ線が設けられた実施の形態を示す。図示のように、フラップ20の凸部25の延在方向における中央部に屈曲部26としての折り曲げ線を設け、凸部25の先端37を副前板7(図1(B)参照)の方向に折り曲げることにより、フラップ20の基部21(折り曲げ線21)からフラップ20の先端37までのフラップ20の延在長さ(直線距離H)(自然長/自由長)を短く設けることができる。   The description will be continued with reference to FIG. FIG. 5 is an enlarged perspective view showing the bent portion 26 provided in the flap 20 according to another embodiment of the present invention. FIG. 5A shows an embodiment in which a bending line is provided as a bent portion 26 at a central portion in the extending direction (the length H (see FIG. 1) direction) of the convex portion 25 of the flap 20. As shown in the drawing, a folding line as the bent portion 26 is provided at the center in the extending direction of the convex portion 25 of the flap 20, and the tip 37 of the convex portion 25 is directed to the sub-front plate 7 (see FIG. 1B). The extension length (linear distance H) (natural length / free length) of the flap 20 from the base 21 (folding line 21) of the flap 20 to the tip 37 of the flap 20 can be shortened.

屈曲部26はフラップ20の凸部25に設けることができる他、フラップ20の幅広部20Bに設けるものとしてもよい。すなわち、屈曲部26を設けることにより、フラップ20の基部21(折り曲げ線21L)から先端37までの延在長さ(直線距離H(図1参照))(自然長/自由長)を短く設けることができる位置に設けるものとするとよい。屈曲部26を設けることにより、フラップ20の延在長さを収縮(シュリンク)させることができることから、フラップ20の先端37とカットラインCLとの間にオフセット(離間または位置ずれ)OSを設けて、フラップ20の先端37がカットラインCLに嵌まり込む可能性を抑えることができる。   The bent portion 26 can be provided on the convex portion 25 of the flap 20, or can be provided on the wide portion 20 </ b> B of the flap 20. That is, by providing the bent portion 26, the extension length (straight distance H (see FIG. 1)) (natural length / free length) from the base 21 (folding line 21L) of the flap 20 to the tip 37 is provided short. It is good to provide in the position which can do. Since the extension length of the flap 20 can be contracted (shrink) by providing the bent portion 26, an offset (separation or misalignment) OS is provided between the tip 37 of the flap 20 and the cut line CL. The possibility that the tip 37 of the flap 20 fits into the cut line CL can be suppressed.

フラップ20に屈曲部26を設ける場合には、フラップ20の基部21の折り曲げ線21Lと、前板5(図1参照)と副前板7(図1(B)参照)との間の折り曲げ線38Lとの間にオフセット(離間または位置ずれ)OSを設けない場合にも、カットラインCLとフラップ20の先端37との間にオフセットOSを設けることができる。なお、オフセットOSの量は、例えば、前述の実施の形態のオフセット量と同様の値に設けるものとするとよい。   When the bent portion 26 is provided in the flap 20, the fold line 21L of the base portion 21 of the flap 20 and the fold line between the front plate 5 (see FIG. 1) and the auxiliary front plate 7 (see FIG. 1B). Even when the offset (separation or misalignment) OS is not provided between the cut line CL and the front end 37 of the flap 20, the offset OS can be provided. Note that the amount of the offset OS is preferably set to a value similar to the offset amount in the above-described embodiment, for example.

また、前述の実施の形態と同様に、フラップ20の折り曲げ線21Lと、前板5と副前板7(図1(B)参照)との間の折り曲げ線38Lとの間にオフセット(離間または位置ずれ)OS(図1参照)を設けると共に、フラップ20に屈曲部26を設けることにより、フラップ20の先端37とカットラインCLとの間にさらに大きなオフセットOSを設けるものとしてもよい。この場合には、フラップ20の先端37がカットラインCLに嵌まり込む可能性をさらに減少することができる。   Further, similarly to the above-described embodiment, an offset (separation or separation) is provided between the fold line 21L of the flap 20 and the fold line 38L between the front plate 5 and the sub front plate 7 (see FIG. 1B). It is also possible to provide a larger offset OS between the tip 37 of the flap 20 and the cut line CL by providing the misalignment OS (see FIG. 1) and providing the flap 20 with the bent portion 26. In this case, the possibility that the tip 37 of the flap 20 fits into the cut line CL can be further reduced.

また、図5(A)に示すように、フラップ20の凸部25に屈曲部26としての折り曲げ線を設け、フラップ20の先端37を副前板7(図1(B)参照)の方向に折り曲げる場合には、フラップ20の先端37が副前板7に当接するように設けることができる。このため、副前板7に当接するフラップ20の先端37でフラップ20を支持して起き上がらせることができるから、フラップ20を一定の起き上がり角度θ(図1(B)参照)で確実に起き上がらせることができる。また、このように設けると、例えば、自己密着性を有するポリ塩化ビニリデン他により設けられた包装媒体12(図1(B)参照)がフラップ20に設けられた包装媒体保持部33に当接(密着)することを妨げることがないので都合がよい。   Further, as shown in FIG. 5A, a fold line as a bent portion 26 is provided on the convex portion 25 of the flap 20, and the tip 37 of the flap 20 is directed in the direction of the auxiliary front plate 7 (see FIG. 1B). In the case of bending, the front end 37 of the flap 20 can be provided so as to come into contact with the auxiliary front plate 7. For this reason, since the flap 20 can be supported and raised by the tip 37 of the flap 20 in contact with the auxiliary front plate 7, the flap 20 is surely raised at a certain rising angle θ (see FIG. 1B). be able to. Further, when provided in this way, for example, the packaging medium 12 (see FIG. 1B) provided by polyvinylidene chloride or the like having self-adhesive properties abuts on the packaging medium holding part 33 provided on the flap 20 ( It is convenient because it does not prevent the contact).

屈曲部26には、屈曲部26の屈曲状態(屈曲または収縮(シュリンク))を保持するように、例えば、屈曲部26の表面(折り曲げの圧縮側または引張側の表面)に樹脂製の補強シールを貼る、あるいは樹脂製の補強塗料の塗布をおこなう等の補強をおこなうものとするとよい。このように設けると、紙素材90(図7参照)を折り曲げることにより紙素材90を塑性変形させて屈曲部26を形成した後に、当該塑性変形された屈曲状態を保持するように屈曲部26を補強することができるから、屈曲部26に大きな屈曲力(保持力)を付与することができる。   In the bent portion 26, for example, a resin-made reinforcing seal is provided on the surface of the bent portion 26 (the surface on the compression side or the tension side of the bent portion) so as to maintain the bent state (bending or shrinking (shrink)) of the bent portion 26. It is good to reinforce such as sticking or applying a resin reinforcing paint. With this arrangement, after bending the paper material 90 (see FIG. 7) to plastically deform the paper material 90 to form the bent portion 26, the bent portion 26 is held so as to maintain the plastically deformed bent state. Since it can be reinforced, a large bending force (holding force) can be applied to the bent portion 26.

このため、その後に補強された屈曲部26が弾性変形されることで一時的に屈曲状態が解消された場合にも、包装媒体12(図1(B)参照)の使用者が使用時に供給具1(図1参照)の蓋板22(図1参照)を開くことで補強された屈曲部26が外力から解放されたときには、補強された屈曲部26が大きな屈曲力(保持力)により屈曲状態を回復するように設けることができる。このように設けることにより、補強された屈曲部26がフラップ20の延在長さ(直線距離H(図1参照))(自然長/自由長)を常に減じることができるから、フラップ20の先端37が切り込み(カットラインCL)に嵌まり込む可能性を継続的に抑えることができる。   For this reason, even when the bent portion 26 reinforced thereafter is elastically deformed and the bent state is temporarily eliminated, the user of the packaging medium 12 (see FIG. 1B) supplies the supply tool at the time of use. When the bent portion 26 reinforced by opening the cover plate 22 (see FIG. 1) 1 (see FIG. 1) is released from external force, the reinforced bent portion 26 is bent by a large bending force (holding force). Can be provided to recover. By providing in this way, the reinforced bent portion 26 can always reduce the extension length (straight distance H (see FIG. 1)) (natural length / free length) of the flap 20. The possibility that 37 will fit into the cut (cut line CL) can be continuously suppressed.

一方、図5(A)に示す屈曲部26の折り曲げの方向とは逆の方向に向けて、フラップ20の先端37を折り曲げ線(屈曲部26)からフラップ20の外側方向(包装媒体12(図1(B)参照)の方向)に折り曲げるものとしてもよい。このように設ける場合にも、フラップ20の基部21(折り曲げ線21L)から先端37までの延在長さ(直線距離H(図1参照))(自然長/自由長)を減ずることができるから、フラップ20の先端37が切り込み(カットラインCL)に嵌まり込む可能性を抑えることができる。   On the other hand, the front end 37 of the flap 20 is directed from the folding line (bending portion 26) toward the outer side of the flap 20 (the packaging medium 12 (see FIG. 5) in the direction opposite to the bending direction of the bending portion 26 shown in FIG. 1 (see FIG. 1B)). Even in such a case, the extension length (linear distance H (see FIG. 1)) (natural length / free length) from the base 21 (folding line 21L) to the tip 37 of the flap 20 can be reduced. The possibility that the front end 37 of the flap 20 fits into the cut (cut line CL) can be suppressed.

また、このように設けると、前板5の外面と、フラップ20の基部21(折り曲げ線21L)と先端37とを結ぶ直線との間の起き上がり角度θ(図1(B)参照)をより大きく設けることができる。このため、供給具1(図1参照)の使用者は包装媒体12(図1(B)参照)をより容易に摘んで供給具1からスムーズに引き出すことができる。なお、この場合にも、屈曲部26の屈曲状態(屈曲または収縮(シュリンク))を保持するために、樹脂製の補強シールまたは補強塗料等を用いて屈曲部26の補強をおこなうものとするとよい。   Further, when provided in this way, the rising angle θ (see FIG. 1B) between the outer surface of the front plate 5 and the straight line connecting the base 21 (folding line 21L) of the flap 20 and the tip 37 is further increased. Can be provided. For this reason, the user of the supply tool 1 (refer FIG. 1) can pick up the packaging medium 12 (refer FIG. 1 (B)) more easily, and can pull it out from the supply tool 1 smoothly. In this case as well, in order to maintain the bent state (bent or contracted (shrink)) of the bent portion 26, the bent portion 26 may be reinforced using a resin-made reinforcing seal or reinforcing paint. .

屈曲部26は、図5(B)に示すように、フラップ20の凸部25の延在方向(長さH(図1参照)方向)の中央部にエンボス加工をおこなうことにより設けるものとしてもよい。このように設ける場合にも、屈曲部26としてのエンボス加工部を設けることにより、フラップ20の延在方向(長さH方向)におけるフラップ20の基部21(折り曲げ線21L)から先端37までの延在長さ(直線距離H)(自然長/自由長)を短く設けることができる。このため、フラップ20の先端37とカットラインCLとの間にオフセット(離間または位置ずれ)OSを設けて、フラップ20の先端37が切り込み(カットラインCL)に嵌まり込む可能性を抑えることができる。   As shown in FIG. 5B, the bent portion 26 may be provided by embossing the central portion in the extending direction (length H (see FIG. 1) direction) of the convex portion 25 of the flap 20. Good. Also in this case, by providing an embossed portion as the bent portion 26, the extension from the base 21 (folding line 21L) of the flap 20 to the tip 37 in the extending direction of the flap 20 (length H direction). The length (straight distance H) (natural length / free length) can be shortened. For this reason, an offset (separation or misalignment) OS is provided between the front end 37 of the flap 20 and the cut line CL to suppress the possibility that the front end 37 of the flap 20 fits into the cut (cut line CL). it can.

エンボス加工により設ける屈曲部26は、フラップ20の基部21(折り曲げ線21L)から先端37までの延在長さ(直線距離H(図1参照))(自然長/自由長)を収縮(シュリンク)させて減ずることができればよい。このため、図示するように、フラップ20の凸部25の延在方向(長さH方向)における中央部にエンボス加工による屈曲部26を設けることができる他、フラップ20の幅広部20B等のフラップ20の延在方向における基部21(折り曲げ線21L)と先端37とを結ぶ経路上の任意の位置にエンボス加工による屈曲部26を設けるものとしてもよい。また、屈曲部26は、フラップ20の延在長さを十分に減ずることができるようにフラップ20に複数設けるものとしてもよい。このため、屈曲部26は、例えば、前述のフラップ20に設けられる起き上がりエンボス51A(図3参照)を含んで構成されるものとしてもよいし、あるいは、フラップ20の延在長さを十分に収縮することができるものであれば、起き上がりエンボス51Aのみにより構成されるものとしてもよい。   The bending portion 26 provided by embossing contracts (shrinks) the extending length (straight distance H (see FIG. 1)) (natural length / free length) from the base 21 (folding line 21L) of the flap 20 to the tip 37. We just need to be able to reduce it. For this reason, as shown in the figure, a bent portion 26 by embossing can be provided at the central portion in the extending direction (length H direction) of the convex portion 25 of the flap 20, and the flap such as the wide portion 20B of the flap 20 can be provided. The bent portion 26 by embossing may be provided at an arbitrary position on the path connecting the base portion 21 (folding line 21L) and the distal end 37 in the extending direction of the 20. A plurality of bent portions 26 may be provided on the flap 20 so that the extension length of the flap 20 can be sufficiently reduced. For this reason, the bent portion 26 may be configured to include, for example, a rising emboss 51A (see FIG. 3) provided in the above-described flap 20, or the extension length of the flap 20 is sufficiently contracted. If it can do, it is good also as what is comprised only by the rising embossing 51A.

屈曲部26により設けられるフラップ20の先端37とカットラインCLとの間のオフセット(離間または位置ずれ)OSの量は、例えば、前述の実施の形態のオフセット量と同様の値に設けるものとするとよい。また、エンボス加工により設けられる屈曲部26の屈曲状態(屈曲または収縮(シュリンク))を保持するために、樹脂製の補強シールまたは補強塗料等を用いて屈曲部26の補強をおこなうものとするとよい。また、屈曲部26は、前述の折り曲げとエンボス加工との両方により設けられるものとしてもよい。   The amount of offset (separation or misalignment) OS between the tip 37 of the flap 20 provided by the bent portion 26 and the cut line CL is assumed to be set to a value similar to the offset amount of the above-described embodiment, for example. Good. Further, in order to maintain the bent state (bending or shrinking (shrink)) of the bent portion 26 provided by embossing, the bent portion 26 may be reinforced by using a resin reinforcing seal or reinforcing paint. . Moreover, the bending part 26 is good also as what is provided by both the above-mentioned bending and embossing.

図6を参照して説明を続ける。フラップ20の先端37は、最終的に供給具1(図1参照)として完成されるために前板5から切り起こされるまでは、カットラインCLを超えてフラップ20の先端37と前板5とを接続するニック91により接続して係止しておくものとするとよい。このように設けると、供給具1を製造するための折り曲げ工程、カッター24の刃付け工程等の供給具1の他の製造工程内においてフラップ20の先端37が自由端として遊動してフラップ20が製造工程内で起き上がることを防止することができ、製造工程内において、フラップ20の先端37を固定端として保持しておくことができる。   The description will be continued with reference to FIG. The front end 37 of the flap 20 exceeds the cut line CL until the front end 37 of the flap 20 is cut and raised from the front plate 5 to be finally completed as the supply tool 1 (see FIG. 1). It is good to connect and lock by the nick 91 which connects. If provided in this way, the tip 37 of the flap 20 is allowed to move freely as a free end in other manufacturing processes of the supply tool 1 such as a bending process for manufacturing the supply tool 1 and a blade attaching process of the cutter 24. It is possible to prevent getting up in the manufacturing process, and the front end 37 of the flap 20 can be held as a fixed end in the manufacturing process.

ニック91は、カットラインCLに直交する方向において所定の幅を有する延在部として設けることで、前板5とフラップ20の先端37とをカットラインCLを超えて一時的に連結(接続/係止)しておくことができる一方で、オフセットOS形成時に切り離してフラップ20の先端37と前板5とを分離することができる、製造上有利な効果を有する連結/切り離し部である。ニック91は、例えば、厚紙またはボール紙等の紙素材90(図7参照)をプレス金型(不図示)等を用いて剪断加工およびエンボス加工するプレス加工の際に、フラップ20の先端37に隣接するカットラインCL上の位置に所定の幅を有する残存部分を剪断せずに残すことで設けることができる。   The nick 91 is provided as an extending portion having a predetermined width in a direction orthogonal to the cut line CL, so that the front plate 5 and the tip 37 of the flap 20 are temporarily connected (connected / engaged) beyond the cut line CL. On the other hand, it is a connecting / disconnecting portion having an advantageous effect in terms of manufacturing, which can separate the tip 37 of the flap 20 and the front plate 5 when the offset OS is formed. The nick 91 is applied to the tip 37 of the flap 20 at the time of press processing for shearing and embossing a paper material 90 (see FIG. 7) such as cardboard or cardboard using a press die (not shown), for example. It can be provided by leaving a remaining portion having a predetermined width at a position on the adjacent cut line CL without being sheared.

ニック91が有する所定の幅は、例えば、前述の実施の形態において、折り曲げ加工および/またはエンボス加工をおこなうことで設けられる屈曲部26(図5参照)の存在によりフラップ20に作用する屈曲部26の収縮(シュリンク)に伴う引張力にニック91が耐え得る強度を確保することができるように設けるものとするとよい。すなわち、フラップ20に屈曲部26が設けられることによりフラップ20に作用するフラップ20の延在長さ(長さH(図1参照))の自由長/自然長への収縮(シュリンク)をニック91が抑止してフラップ20を引き伸ばした状態で係止しておくことができる引張強度(断面積)を確保することができるように、ニック91の所定の幅を設けるものとするとよい。   The predetermined width of the nick 91 is, for example, the bent portion 26 that acts on the flap 20 due to the presence of the bent portion 26 (see FIG. 5) provided by performing bending and / or embossing in the above-described embodiment. It is preferable to provide it so as to ensure the strength that the nick 91 can withstand the tensile force associated with the shrinkage (shrinking). That is, by providing the bent portion 26 to the flap 20, the contraction (shrink) of the extension length (length H (see FIG. 1)) of the flap 20 acting on the flap 20 to the free length / natural length is reduced by the nick 91. Therefore, it is preferable that a predetermined width of the nick 91 is provided so that a tensile strength (cross-sectional area) that can be locked in a state in which the flap 20 is stretched and held is secured.

一方で、ニック91が有する所定の幅は、フラップ20を前板5から切り起こす製造工程において、ニック91に意図的に引張力(負荷)を加えることにより、ニック91が千切れて(引張破壊して)フラップ20の先端37を自由端とすることができる引張強度(断面積)となるように設けるものとするとよい。   On the other hand, the predetermined width of the nick 91 is that the nick 91 is broken (tensile fracture) by intentionally applying a tensile force (load) to the nick 91 in the manufacturing process of cutting the flap 20 from the front plate 5. The tip 20 of the flap 20 may be provided so as to have a tensile strength (cross-sectional area) that can be a free end.

本実施の形態の収納容器3(図1参照)では、フラップ20の折り曲げ線21Lと、前板5と副前板7(図1(B)参照)との間の折り曲げ線38Lとの間にオフセット(離間または位置ずれ)OSが設けられているために、副前板7を前板5並びにフラップ20に対して折り曲げて収納容器3を組み立てると、フラップ20の先端37と前板5との間にオフセットOSを設けるようにフラップ20に引張力が作用する。このため、ニック91が有する所定の幅が適切に設けられる場合には、副前板7を前板5並びにフラップ20に対して折り曲げる収納容器3の組み立て工程により、ニック91に適切な引張力(負荷)を作用させてニック91を引張破壊してフラップ20の先端37を前板5から分離することができる。   In the storage container 3 (see FIG. 1) of the present embodiment, between the fold line 21L of the flap 20 and the fold line 38L between the front plate 5 and the sub front plate 7 (see FIG. 1B). Since the offset (separation or misalignment) OS is provided, when the auxiliary front plate 7 is folded with respect to the front plate 5 and the flap 20 and the storage container 3 is assembled, the front end 37 of the flap 20 and the front plate 5 A tensile force acts on the flap 20 so as to provide an offset OS therebetween. Therefore, when the predetermined width of the nick 91 is appropriately provided, an appropriate tensile force (for the nick 91) can be obtained by assembling the storage container 3 that bends the auxiliary front plate 7 with respect to the front plate 5 and the flap 20. The tip 37 of the flap 20 can be separated from the front plate 5 by pulling and breaking the nick 91 by applying a load.

図7を参照して説明を続ける。図7は本発明のさらに他の実施の形態に係る、収納容器3(図1参照)を製造するために用いる紙素材90の簡略化した展開図である。図示するフラップ20は二つの刳貫部29A、29Bを挟むように配置された三つの凸部25の先端37が一の連続した滑らかな曲線により結合されて設けられている。また、中央の凸部25の延在長さH(図1参照)は中央部において突出する形状に設けられた(シャー角が設けられた)カッター24による包装媒体12(図1(B)参照)の集中的な裁断(剪断)を支持するように他の凸部25の延在長さHと比べて僅かに長く設けられている。フラップ20をこのように設けると、刳貫部29A(および29B)を挟んで刳貫部29A(および29B)の両側に設けられた二つの凸部25により使用者が包装媒体12を摘み易いように包装媒体12を両端支持して前板5から持ち上げることができる。   The description will be continued with reference to FIG. FIG. 7 is a simplified development view of a paper material 90 used for manufacturing the storage container 3 (see FIG. 1) according to still another embodiment of the present invention. The illustrated flap 20 is provided with the tips 37 of three convex portions 25 arranged so as to sandwich the two penetrating portions 29A and 29B joined together by a single continuous smooth curve. Further, the extending length H (see FIG. 1) of the central convex portion 25 is a packaging medium 12 (see FIG. 1B) by a cutter 24 provided in a shape protruding at the central portion (provided with a shear angle). ) Is provided slightly longer than the extension length H of the other protrusions 25 so as to support intensive cutting (shearing). When the flap 20 is provided in this way, the user can easily grasp the packaging medium 12 by the two convex portions 25 provided on both sides of the penetration portion 29A (and 29B) with the penetration portion 29A (and 29B) interposed therebetween. The packaging medium 12 can be lifted from the front plate 5 with both ends supported.

このため、包装媒体12(図1(B)参照)の使用者は、二つの凸部25により両端支持された包装媒体12を刳貫部29A(または29B)にフラップ20の表側(外側)から指を入れて摘むことにより特別容易に包装媒体12を摘むことができる。また、包装媒体12の使用者は、フラップ20に設けられた複数の凸部25のいずれかの先端37に指の腹を添えて、隣接する先端37の間を滑らかに結ぶ一の連続曲線に沿わせて刳貫部29A(または29B)に向けて指を滑らせることで、凸部25により両端支持された包装媒体12をフラップ20(包装媒体12)の裏側(副前板7(図1(B)参照)側)から指で持ち上げて摘むことができるから、特別容易に包装媒体12を摘むことができる。   For this reason, the user of the packaging medium 12 (see FIG. 1B) places the packaging medium 12 supported at both ends by the two convex portions 25 on the penetration portion 29A (or 29B) from the front side (outside) of the flap 20. The packaging medium 12 can be specially easily picked by putting a finger and picking it. In addition, the user of the packaging medium 12 attaches the belly of the finger to the tip 37 of any of the plurality of convex portions 25 provided on the flap 20, and forms a continuous curve that smoothly connects the adjacent tips 37. The packaging medium 12 supported at both ends by the convex portion 25 is made to slide along the pierced part 29A (or 29B) along the side of the flap 20 (packaging medium 12) (the sub-front plate 7 (FIG. 1)). Since it can be lifted with a finger from (see (B)) side), the packaging medium 12 can be particularly easily picked.

図示するように、紙素材90の折り曲げ加工をおこなう折り曲げ線上には、折り曲げ加工における折り曲げ位置の正確性を向上する目的並びに折り曲げ部の強度(剛性)を低下する目的から折り曲げエンボス93がプレス金型(不図示)を用いたプレス加工(エンボス加工)により設けられている。また、紙素材90を所定の外形線で切り出すと共に、フラップ20並びに刳貫部29A、29Bを前板5から切り出すためのカットラインCLがプレス金型を用いたプレス加工(剪断加工)により設けられている。またこの他に、フラップ20を起き上がらせるための起き上がりエンボス51B(図4参照)を副前板7に設けるためのエンボス加工等をおこなうものとするとよいが、これらのエンボス加工、剪断加工は一のプレス金型を用いてワンショット(一回の型締め)で加工するように設けることで収納容器3(図1参照)の製造の生産性を向上することができる。   As shown in the drawing, a folding emboss 93 is formed on the folding line for folding the paper material 90 for the purpose of improving the accuracy of the folding position in the folding process and reducing the strength (rigidity) of the folded portion. It is provided by pressing (embossing) using (not shown). In addition to cutting out the paper material 90 with a predetermined outline, a cut line CL for cutting out the flap 20 and the penetrations 29A and 29B from the front plate 5 is provided by pressing (shearing) using a press die. ing. In addition to this, it is preferable to perform the embossing for providing the sub-front plate 7 with the raised emboss 51B (see FIG. 4) for raising the flap 20, but these embossing and shearing are the same. Productivity of manufacturing the storage container 3 (see FIG. 1) can be improved by providing a press die so as to be processed by one shot (one-time clamping).

図示の実施の形態では、フラップ20の基部21(折り曲げ線21L)を形成するための折り曲げエンボス93は、前板5と副前板7との間の第一の連接辺38(折り曲げ線38L)を形成するための折り曲げエンボス93から副前板7側にオフセット(離間または位置ずれ)OSして設けられる。なお、オフセットOS量は、前述の実施の形態と等量の約0.1mmから0.5mmまでの範囲の値、さらに好ましくは、約0.2mmから0.4mmまでの範囲の値、典型的には、約0.3mm程度に設けるものとするとよい。   In the illustrated embodiment, the folding emboss 93 for forming the base 21 (folding line 21L) of the flap 20 is a first connecting side 38 (folding line 38L) between the front plate 5 and the sub-front plate 7. Is provided by being offset (separated or misaligned) OS from the bent emboss 93 to the sub front plate 7 side. Note that the offset OS amount is a value in the range of about 0.1 mm to 0.5 mm, more preferably a value in the range of about 0.2 mm to 0.4 mm, which is equivalent to the above-described embodiment, It is good to provide about 0.3 mm.

図示するように、フラップ20の先端37と前板5とはカットラインCLを超えてニック91により接続されて設けられている。なお、図示の実施の形態では、中央の凸部25の先端37は二つのニック91によって接続(係止)されるように設けられている。このように、フラップ20の先端37を複数のニック91により重複して係止するものとしてもよい。複数のニック91によりフラップ20の先端37を重複して係止する場合には、製造工程内においてフラップ20に予期せぬ外力が加えられることに起因して、いずれか一つのニック91が切断されてしまったような場合にも、残るニック91によりフラップ20の先端37を固定端として係止しておくことができる。   As shown in the drawing, the tip 37 of the flap 20 and the front plate 5 are provided so as to be connected by a nick 91 beyond the cut line CL. In the illustrated embodiment, the tip 37 of the central convex portion 25 is provided to be connected (locked) by two nicks 91. In this manner, the tip 37 of the flap 20 may be overlapped and locked by the plurality of nicks 91. When the front end 37 of the flap 20 is overlapped and locked by a plurality of nicks 91, any one nick 91 is cut due to an unexpected external force being applied to the flap 20 during the manufacturing process. Even in such a case, the remaining nick 91 can be used to lock the tip 37 of the flap 20 as a fixed end.

図示の実施の形態では、収納容器3(図1参照)の組み立てのために、副前板7が前板5並びにフラップ20に対して折り曲げられてニック91が切断されるまでは、フラップ20の先端37と前板5とはニック91で接続されてフラップ20の先端37が固定端として係止される。このため、フラップ20の先端37が自由端となって遊動し、収納容器3の他の製造工程(例えば、折り曲げ工程、カッター24の刃付け工程等)が阻害されることがない。   In the illustrated embodiment, until the auxiliary front plate 7 is bent with respect to the front plate 5 and the flap 20 and the nick 91 is cut for assembly of the storage container 3 (see FIG. 1), the flap 20 The tip 37 and the front plate 5 are connected by a nick 91, and the tip 37 of the flap 20 is locked as a fixed end. For this reason, the front end 37 of the flap 20 moves freely as a free end, and other manufacturing processes (for example, a bending process, a blade attaching process of the cutter 24, etc.) are not hindered.

刳貫部29A、29Bは、プレス金型(不図示)を用いたプレス加工(剪断加工)において、図示のように刳貫部29A、29Bと前板5とを係止するニック91と、刳貫部29A、29Bとフラップ20の幅広部20Bとを係止するニック91とを残存部として残して切断(剪断)するように設けるものとするとよい。このように設けると、刳貫部29A、29Bは二つのニック91に吊られた状態で紙素材90に係止される。このように設けた後に、製造工程内における後の適切な工程において、例えば、プッシュピン(不図示)を用いて紙素材90を貫通する方向に刳貫部29A、29Bを打ち抜くことにより、刳貫部29A、29Bを開口部として設けることができると共に、刳貫部29A、29Bの打ち抜き片を工程内から回収することができる。   In the press working (shearing) using a press die (not shown), the punched portions 29A and 29B are provided with a nick 91 for locking the punched portions 29A and 29B and the front plate 5 as illustrated, It is preferable that the nick 91 for locking the through portions 29A, 29B and the wide portion 20B of the flap 20 is left as a remaining portion and is cut (sheared). When provided in this way, the penetrating portions 29 </ b> A and 29 </ b> B are locked to the paper material 90 while being suspended by the two nicks 91. After being provided in this manner, in a suitable process later in the manufacturing process, for example, punching portions 29A and 29B are punched out in a direction penetrating the paper material 90 using a push pin (not shown). The portions 29A and 29B can be provided as openings, and the punched pieces of the pierced portions 29A and 29B can be recovered from the process.

以上説明した剪断加工並びにエンボス加工がなされた紙素材90に、例えば、樹脂製のカッター24を接着剤を用いて接着することで刃付けをおこない、折り曲げエンボス93により設けられた折り曲げ線で紙素材90を折り曲げ加工して直方体とし、直方体とされた紙素材90を要所において接着することにより、収納容器3(図1参照)を組み立てることができる。さらに、収納容器3に包装媒体12(図1(B)参照)を巻きつけた巻芯10(図1参照)を収納して収納容器3を密封することにより供給具1(図1参照)を製造することができる。   For example, the paper material 90 subjected to the shearing process and the embossing process described above is bladed by adhering a resin cutter 24 using an adhesive, and the paper material is formed by a folding line provided by the folding embossing 93. The storage container 3 (see FIG. 1) can be assembled by bending 90 into a rectangular parallelepiped and adhering the rectangular paper material 90 at key points. Furthermore, the supply tool 1 (refer to FIG. 1) is stored by storing the winding core 10 (refer to FIG. 1) around which the packaging medium 12 (refer to FIG. 1 (B)) is wound around the storage container 3 and sealing the storage container 3. Can be manufactured.

図8を参照して説明を続ける。図8は本発明の他の実施の形態に係る、収納容器3(図1参照)のフラップ20の先端37とカットラインCLとで挟まれた切り落とし部92を示す平面図である。図示の実施の形態では、フラップ20の先端37(切り落とし部92)を僅かに切り落とすことにより、カットラインCLとフラップ20の先端37との間にオフセット(離間または位置ずれ)OSを設ける。なお、オフセットOSの量は、前述の実施の形態と等量の約0.1mmから0.5mmまでの範囲の値、さらに好ましくは、約0.2mmから0.4mmまでの範囲の値、典型的には、約0.3mm程度に設けるものとするとよい。   The description will be continued with reference to FIG. FIG. 8 is a plan view showing a cut-off portion 92 sandwiched between the tip 37 of the flap 20 of the storage container 3 (see FIG. 1) and the cut line CL according to another embodiment of the present invention. In the illustrated embodiment, an offset (separation or misalignment) OS is provided between the cut line CL and the tip 37 of the flap 20 by slightly cutting off the tip 37 (cut-off portion 92) of the flap 20. Note that the amount of the offset OS is equivalent to the above-described embodiment, and is a value in the range from about 0.1 mm to 0.5 mm, more preferably a value in the range from about 0.2 mm to 0.4 mm. Specifically, it should be provided at about 0.3 mm.

フラップ20の先端37(切り落とし部92)を僅かに切り落とすことにより(切り落とし部92を設けることにより)、フラップ20の先端37をカットラインCLから離間することができる。このため、フラップ20の基部21(折り曲げ線21L)に対して大きなモーメントアームを有するフラップ20の先端37が切り込み(カットラインCL)に嵌まり込む可能性を抑えることができる。このように設けると、フラップ20が前板5に対して大きな起き上がり角度θ(図1(B)参照)で確実に起き上がるように設けることができる。なお、例えば、図7に示す実施の形態のように、フラップ20が複数の凸部25を有するときは、少なくともフラップ20の基部21(折り曲げ線21L)から最も離れた先端37を有する凸部25に切り落とし部92を設けるものとするとよいが、同様に、第二、第三の凸部25にも切り落とし部92を設けるものとしてもよい。   By slightly cutting off the tip 37 (cut-off portion 92) of the flap 20 (by providing the cut-out portion 92), the tip 37 of the flap 20 can be separated from the cut line CL. For this reason, it is possible to suppress the possibility that the tip 37 of the flap 20 having a large moment arm with respect to the base 21 (folding line 21L) of the flap 20 fits into the cut (cut line CL). If provided in this way, the flap 20 can be provided so as to surely rise with respect to the front plate 5 at a large rising angle θ (see FIG. 1B). For example, as in the embodiment shown in FIG. 7, when the flap 20 has a plurality of convex portions 25, the convex portion 25 having at least the tip 37 farthest from the base portion 21 (folding line 21 </ b> L) of the flap 20. However, it is also possible to provide the cut-out portion 92 on the second and third convex portions 25 as well.

切り落とし部92は、例えば、前述のプレス金型(不図示)を用いたプレス加工(剪断加工)により設けるものとしてもよい。この場合には、ワンショット(一回の型締め)による一括成形加工によって効率良く収納容器3(図1参照)を製造することができる。あるいは、切り落とし部92はレーザ切断加工機(不図示)を用いたレーザ切断加工、カッター(不図示)あるいは鋏(不図示)等を用いた剪断加工、エンドミル(不図示)あるいはドリル(不図示)等を用いた切削加工、グラインダ(不図示)あるいは砥石(不図示)等を用いた研削加工等のあらゆる既知の加工機を用いて設けるものとしてもよい。さらに、切り落とし部92は、フラップ20の先端37(切り落とし部92)をプレス加工等により挟圧して押し潰すことで(例えば、エンボス加工をおこなうことで)、実質的にフラップ20の先端37(切り落とし部92)の剛性を除去することにより、実質的なオフセット(離間または位置ずれ)OSを設けるものとしてもよい。これらの場合には、それぞれの加工方法によりもたらされる異なる特性並びに品質を有する切り落とし部92を選択的に設けることができる。   The cut-off portion 92 may be provided by, for example, pressing (shearing) using the above-described press die (not shown). In this case, the storage container 3 (see FIG. 1) can be efficiently manufactured by batch molding by one-shot (one-time clamping). Alternatively, the cut-off unit 92 is a laser cutting process using a laser cutting machine (not shown), a shearing process using a cutter (not shown) or a scissors (not shown), an end mill (not shown) or a drill (not shown). It is also possible to use any known processing machine such as a cutting process using a grinder (not shown) or a grinding process using a grindstone (not shown). Further, the cut-off portion 92 substantially compresses the front end 37 (cut-off portion 92) of the flap 20 by pressing and crushing it (for example, by performing embossing), so that the front end 37 (cut-off portion) of the flap 20 is substantially reduced. A substantial offset (separation or misalignment) OS may be provided by removing the rigidity of the portion 92). In these cases, it is possible to selectively provide a cut-out portion 92 having different characteristics and quality brought about by the respective processing methods.

なお、切り落とし部92を設ける場合には、切り落とされた切り落とし部92が切断片として製造工程内に生じる場合もあり得る。このような場合には、例えば、打ち抜き金型(不図示)を用いることで、フラップ20の先端37とカットラインCLとの間の切り落とし部92を打ち抜き金型のパンチ(不図示)により打ち抜き片として打ち抜き金型のダイ(不図示)内に打ち抜いて切り落とし部92を製造工程内から回収するものとするとよい。   In addition, when providing the cut-off part 92, the cut-off part 92 cut off may arise in a manufacturing process as a cut piece. In such a case, for example, by using a punching die (not shown), the cut-off portion 92 between the tip 37 of the flap 20 and the cut line CL is punched by a punch (not shown) of the punching die. It is preferable that the cut-out portion 92 is recovered from the manufacturing process by punching into a die (not shown) of a punching die.

打ち抜き金型(不図示)は、切り落とし部92の全周を囲んで設けられる一連のカットラインCLをワンショット(一回の型締め)でスロット(隙間)として打ち抜く打ち抜き金型のパンチ(不図示)とダイ(不図示)との嵌合により切り落とし部92の全周を剪断して切り出すことができる。また、紙素材90(図7参照)から切り出された切り落とし部92を打ち抜き金型のパンチにより打ち抜き金型のダイ内へ打ち抜き片として打ち抜いて、製造工程内から切り落とし部92を回収することができる。この場合には、打ち抜き金型のダイ内の空気を負圧吸引ポンプ等を用いて集塵機内に負圧吸引することで、ダイ内に打ち抜かれた切り落とし部92を回収することができる。   A punching die (not shown) is a punch of a punching die (not shown) that punches a series of cut lines CL that surround the entire circumference of the cut-off portion 92 as a slot (gap) with one shot (one clamping). ) And a die (not shown) can be cut out by shearing the entire circumference of the cut-off portion 92. Further, the cut-out portion 92 cut out from the paper material 90 (see FIG. 7) can be punched out as a punched piece into the die of the punching die by the punch of the punching die, and the cut-out portion 92 can be recovered from the manufacturing process. . In this case, the cut-off portion 92 punched into the die can be recovered by sucking the air in the die of the punching die into the dust collector using a negative pressure suction pump or the like.

切り落とし部92を設けることで、フラップ20の先端37とカットラインCLとの間にオフセット(離間または位置ずれ)OSを設ける場合には、フラップ20の基部21(折り曲げ線21L)と、前板5と副前板7(図1(B)参照)との間の第一の連接辺38(折り曲げ線38L)との間にオフセットOSを設けなくても、フラップ20の先端37とカットラインCLとの間にオフセットOSを設けることができる。また、切り落とし部92を設けることで、フラップ20の先端37とカットラインCLとの間にオフセットOSを設ける場合には、フラップ20に屈曲部26(図5参照)を設けなくても、フラップ20の先端37とカットラインCLとの間にオフセットOSを設けることができる。   By providing the cut-off portion 92, when providing an offset (separation or displacement) OS between the tip 37 of the flap 20 and the cut line CL, the base 21 (folding line 21L) of the flap 20 and the front plate 5 are provided. Even if the offset OS is not provided between the first connecting side 38 (bending line 38L) between the front plate 7 and the sub-front plate 7 (see FIG. 1B), the tip 37 of the flap 20 and the cut line CL An offset OS can be provided between the two. Further, when the offset OS is provided between the leading end 37 of the flap 20 and the cut line CL by providing the cut-off portion 92, the flap 20 does not have to be provided with the bent portion 26 (see FIG. 5). An offset OS can be provided between the tip 37 and the cut line CL.

しかしながら、フラップ20の基部21(折り曲げ線21L)と、前板5と副前板7(図1(B)参照)との間の第一の連接辺38(折り曲げ線38L)との間にオフセット(離間または位置ずれ)OS(図1参照)を設けると共に、フラップ20の先端37に切り落とし部92を設けるものとしてもよい。あるいは、フラップ20に屈曲部26(図5参照)を設けると共に、フラップ20の先端37に切り落とし部92を設けるものとしてもよい。この場合には、フラップ20の先端37とカットラインCLとの間に、フラップ20の先端37とカットラインCLとを離間する、より大きなオフセットOSを設けることができる。   However, there is an offset between the base 21 (folding line 21L) of the flap 20 and the first connecting side 38 (folding line 38L) between the front plate 5 and the sub-front plate 7 (see FIG. 1B). A (separation or misalignment) OS (see FIG. 1) may be provided, and a cut-off portion 92 may be provided at the tip 37 of the flap 20. Alternatively, the bent portion 26 (see FIG. 5) may be provided on the flap 20, and the cut-off portion 92 may be provided at the tip 37 of the flap 20. In this case, a larger offset OS that separates the tip 37 of the flap 20 and the cut line CL can be provided between the tip 37 of the flap 20 and the cut line CL.

さらに、フラップ20の基部21(折り曲げ線21L)と、前板5と副前板7(図1(B)参照)との間の第一の連接辺38(折り曲げ線38L)との間にオフセット(離間または位置ずれ)OS(図1参照)を設けると共に、フラップ20に屈曲部26(図5参照)を設け、加えて、フラップ20の先端37に切り落とし部92を設けるものとしてもよい。この場合には、フラップ20の先端37とカットラインCLとの間に、フラップ20の先端37とカットラインCLとを離間する、さらに大きなオフセットOSを設けることができる。   Further, an offset is provided between the base 21 (folding line 21L) of the flap 20 and the first connecting side 38 (folding line 38L) between the front plate 5 and the sub-front plate 7 (see FIG. 1B). (Separation or misalignment) An OS (see FIG. 1) may be provided, the bent portion 26 (see FIG. 5) may be provided on the flap 20, and a cut-off portion 92 may be provided at the tip 37 of the flap 20. In this case, a larger offset OS that separates the tip 37 of the flap 20 and the cut line CL can be provided between the tip 37 of the flap 20 and the cut line CL.

このため、前板5から切り出されたフラップ20の先端37が前板5に入れられた切り込み(カットラインCL)に再び嵌まり込む可能性を抑えて、フラップ20が前板5から確実に起き上がるように設けることができる。   For this reason, the possibility that the tip 37 of the flap 20 cut out from the front plate 5 will be fitted again into the cut (cut line CL) cut into the front plate 5 is suppressed, and the flap 20 is surely raised from the front plate 5. Can be provided.

以上説明した実施の形態では、フラップ20は大きな復元力を得るために副前板7(図1(B)参照)と連接して基部21(折り曲げ線21L)で折り曲げられて設けられるものと説明したが、フラップ20は前板5から切り出されると共に、前板5と直接連接するフラップ20の基部21(折り曲げ線21L)で折り曲げられて、前板5の外側(包装媒体12(図1(B)参照)側)に向けて起き上がるように設けるものとしてもよい。なお、以上説明した実施の形態における、前板5に連接し、前板5と一体に設けられた副前板7に連接して設けられたフラップ20は、実質的に前板5に連接して設けられているものと見ることができ、その一形態であるものと見ることができる。   In the embodiment described above, the flap 20 is described as being connected to the auxiliary front plate 7 (see FIG. 1B) and bent at the base 21 (folding line 21L) in order to obtain a large restoring force. However, the flap 20 is cut out from the front plate 5 and is bent at the base 21 (folding line 21L) of the flap 20 that is directly connected to the front plate 5, so that the outer side of the front plate 5 (the packaging medium 12 (FIG. 1B)). ) Reference) It may be provided so as to get up toward the side). In the embodiment described above, the flap 20 connected to the front plate 5 and connected to the sub-front plate 7 provided integrally with the front plate 5 is substantially connected to the front plate 5. It can be seen that it is provided, and it can be seen as one form.

前板5とフラップ20とが直接連接されて設けられる場合には、フラップ20を前板5の外側(包装媒体12(図1(B)参照)側)に向けて大きな起き上がり角度θ(図1(B)参照)で起き上がらせる復元力は、前述の屈曲部26(図5参照)の補強の場合と同様に、フラップ20の基部21(折り曲げ線21L)の屈曲状態を保持するように樹脂製の補強シールまたは補強塗料を用いてフラップ20の基部21(折り曲げ線21)を補強することにより得るものとするとよい。   When the front plate 5 and the flap 20 are directly connected to each other, the large rising angle θ (see FIG. 1) with the flap 20 facing the outside of the front plate 5 (wrapping medium 12 (see FIG. 1B) side). The restoring force to be raised in (B) is made of resin so as to maintain the bent state of the base portion 21 (fold line 21L) of the flap 20 as in the case of reinforcing the bent portion 26 (see FIG. 5). It may be obtained by reinforcing the base portion 21 (folding line 21) of the flap 20 using a reinforcing seal or a reinforcing paint.

1 包装媒体供給具(供給具)
2 包装媒体巻回体(巻回体)
3 包装媒体収納容器(収納容器)
4 底板
5 前板
6 後板
7 副前板
10 巻芯
12 包装媒体
15 容器本体
20 フラップ
20A 周縁部
20B 幅広部
21 基部
21L 折り曲げ線(フラップ基部)
22 蓋板
23 蓋前板
24 カッター
25 凸部
26 屈曲部
27 重なり部
28 エンボス加工部(蓋前板)
29A、29B 刳貫部
30 開口する一面
31 長辺(底板)
32 長辺(底板)
33 包装媒体保持部(フラップ)
36 先端(包装媒体)
37 先端(フラップ)
38 共有する長辺(第一の連接辺)
38L 折り曲げ線(前板/副前板)
39 第二の連接辺
40 長辺(蓋板)
51A 起き上がりエンボス(フラップ)
51B 起き上がりエンボス(副前板)
54 一辺(蓋前板)
61 短辺(底板)
63 短辺(蓋板)
71 側面板
73 蓋側面板
80 鋸刃
90 紙素材
91 ニック
92 切り落とし部
93 折り曲げエンボス(紙素材)
CL カットライン
OS オフセット
H フラップの延在長さ
W フラップ基部の幅
θ 起き上がり角
101 従来の包装媒体供給具(供給具)
102 包装媒体巻回体(巻回体)
103 包装媒体収納容器(収納容器)
104 底板
105 前板
106 後板
107 副前板
110 巻芯
112 包装媒体
115 容器本体
120 フラップ
122 蓋板
123 蓋前板
124 カッター
130 開口する一面
136 先端(包装媒体)
140 一端(蓋前板)
171 側面板
1 Packaging media supply tool (supply tool)
2 Wrapping body for wrapping media (winding body)
3 Packaging media storage container (storage container)
4 Bottom plate 5 Front plate 6 Rear plate 7 Sub front plate 10 Core 12 Packaging medium 15 Container body 20 Flap 20A Peripheral part 20B Wide part 21 Base 21L Folding line (Flap base)
22 Lid plate 23 Lid front plate 24 Cutter 25 Protruding portion 26 Bending portion 27 Overlapping portion 28 Embossed portion (front lid plate)
29A, 29B Penetrating part 30 Open one side 31 Long side (bottom plate)
32 Long side (bottom plate)
33 Packaging media holder (flap)
36 Tip (packaging media)
37 Tip (Flap)
38 Long side to share (first connecting edge)
38L fold line (front plate / sub-front plate)
39 Second connecting side 40 Long side (cover plate)
51A Get up and emboss (flap)
51B Get up and emboss (sub front plate)
54 One side (front cover)
61 Short side (bottom plate)
63 Short side (cover plate)
71 Side plate 73 Cover side plate 80 Saw blade 90 Paper material 91 Nick 92 Cut-off portion 93 Bending emboss (paper material)
CL cutting line OS offset H flap extension length W flap base width θ rising angle 101 conventional packaging medium supply tool (supply tool)
102 Wrapped body of packaging medium (wound body)
103 Packaging media storage container (storage container)
104 Bottom plate 105 Front plate 106 Rear plate 107 Sub-front plate 110 Core 112 Packaging medium 115 Container body 120 Flap 122 Lid plate 123 Lid front plate 124 Cutter 130 Opening surface 136 Tip (packaging medium)
140 One end (front plate of lid)
171 Side plate

Claims (7)

包装媒体が円筒状に巻かれた包装媒体巻回体を収納する、直方体に形成された包装媒体収納容器であって;
前記直方体の6面のうち一面が長方形に開口し;
前記長方形の開口の長辺の一を共有する、前記直方体の他の一面を形成する長方形の前板を備え;
前記包装媒体は、前記開口した一面を通って且つ前記共有された長辺の上を通過して前記包装媒体収納容器の外へ引き出されるよう構成され;
前記前板は、前記前板の一部を切り出すカットラインで切り出されたフラップを有し;
前記フラップは、前記前板上の基部で折り曲げられるように構成され、先端が前記基部の直角方向に離れた位置に切り出されて構成され;
前記フラップの先端は、前記切り出しのカットラインからオフセットして設けられた;
包装媒体収納容器。
A packaging medium storage container formed in a rectangular parallelepiped, which accommodates a packaging medium wound body in which the packaging medium is wound in a cylindrical shape;
One of the six surfaces of the rectangular parallelepiped has a rectangular opening;
A rectangular front plate that forms one other side of the rectangular parallelepiped and shares one of the long sides of the rectangular opening;
The wrapping medium is configured to be drawn out of the wrapping medium storage container through the open surface and over the shared long side;
The front plate has a flap cut out by a cut line for cutting out a part of the front plate;
The flap is configured to be bent at a base portion on the front plate, and is configured such that a tip is cut out at a position away from the base portion in a perpendicular direction;
The tip of the flap was provided offset from the cut-out cut line;
Packaging media storage container.
前記前板と一体に形成され、前記共有する長辺を折り曲げ線として前記開口内へ折り曲げられることにより、前記前板に重なって配置された副前板を備え;
前記フラップ基部の折り曲げ線は、前記前板と前記副前板との間の折り曲げ線に対してオフセットして設けられた;
請求項1に記載の包装媒体収納容器。
A sub-front plate that is formed integrally with the front plate, and is arranged to overlap the front plate by being folded into the opening with the shared long side as a fold line;
The folding line of the flap base is provided offset from the folding line between the front plate and the sub-front plate;
The packaging medium storage container according to claim 1.
前記フラップ基部の折り曲げ線は、前記フラップの先端が前記カットラインから前記フラップ基部の方向に離間するように前記折り曲げ線をオフセットして設けた;
請求項2に記載の包装媒体収納容器。
The folding line of the flap base is provided by offsetting the folding line so that the tip of the flap is separated from the cut line in the direction of the flap base;
The packaging medium storage container according to claim 2.
前記フラップは、前記フラップの先端を前記カットラインから前記フラップ基部の方向に離間するための屈曲部を有する、請求項1乃至請求項3のいずれか一項に記載の包装媒体収納容器。   The packaging medium storage container according to any one of claims 1 to 3, wherein the flap has a bent portion for separating the front end of the flap from the cut line in the direction of the flap base. 前記フラップ基部の折り曲げ線は、前記フラップの先端が前記前板と重なるように前記折り曲げ線をオフセットして設けた;
請求項2に記載の包装媒体収納容器。
The folding line of the flap base is provided by offsetting the folding line so that the tip of the flap overlaps the front plate;
The packaging medium storage container according to claim 2.
前記カットラインを挟んで前記フラップの先端と前記前板とを接続するニックを切断して前記オフセットを設ける、請求項1乃至請求項5のいずれか一項に記載の包装媒体収納容器。   The packaging medium storage container according to any one of claims 1 to 5, wherein the offset is provided by cutting a nick that connects the front end of the flap and the front plate across the cut line. 前記フラップの先端とカットラインとの間のオフセットは、前記フラップの先端と前記カットラインとで挟まれた部分が切り落とされて形成された、請求項1乃至請求項4のいずれか一項に記載の包装媒体収納容器。   The offset between the front end of the flap and the cut line is formed by cutting off a portion sandwiched between the front end of the flap and the cut line. Packaging media storage container.
JP2011114091A 2011-05-20 2011-05-20 Packaging media storage container Active JP5698073B2 (en)

Priority Applications (1)

Application Number Priority Date Filing Date Title
JP2011114091A JP5698073B2 (en) 2011-05-20 2011-05-20 Packaging media storage container

Applications Claiming Priority (1)

Application Number Priority Date Filing Date Title
JP2011114091A JP5698073B2 (en) 2011-05-20 2011-05-20 Packaging media storage container

Related Child Applications (1)

Application Number Title Priority Date Filing Date
JP2014260791A Division JP6026498B2 (en) 2014-12-24 2014-12-24 Packaging medium storage container and packaging medium supply tool

Publications (2)

Publication Number Publication Date
JP2012240724A true JP2012240724A (en) 2012-12-10
JP5698073B2 JP5698073B2 (en) 2015-04-08

Family

ID=47462831

Family Applications (1)

Application Number Title Priority Date Filing Date
JP2011114091A Active JP5698073B2 (en) 2011-05-20 2011-05-20 Packaging media storage container

Country Status (1)

Country Link
JP (1) JP5698073B2 (en)

Cited By (5)

* Cited by examiner, † Cited by third party
Publication number Priority date Publication date Assignee Title
JP2014144792A (en) * 2013-01-29 2014-08-14 Kureha Corp Roll storing box and storing box with roll
JP2016049992A (en) * 2014-08-29 2016-04-11 共同印刷株式会社 Sheet packaging box
JP2016078885A (en) * 2014-10-16 2016-05-16 株式会社クレハ Wound body storage box, wound body storage box intermediate, and storage box for storing wound body
JP2017007678A (en) * 2015-06-17 2017-01-12 旭化成株式会社 Storage box for wrap film
JP2017105548A (en) * 2017-03-22 2017-06-15 株式会社クレハ Wound body storage box and storage box with wound body

Citations (5)

* Cited by examiner, † Cited by third party
Publication number Priority date Publication date Assignee Title
JPH0939979A (en) * 1995-08-01 1997-02-10 Tamotsu Wada Packaging film container
JP2002274534A (en) * 2001-03-15 2002-09-25 Kyodo Printing Co Ltd Packaging container
JP2005178901A (en) * 2003-10-15 2005-07-07 Kureha Chem Ind Co Ltd Packaging film container
JP2006051959A (en) * 2004-08-10 2006-02-23 Hitoshi Kawakami Storing box for wrapping film
JP4673442B1 (en) * 2010-07-14 2011-04-20 能生 小野 Film storage box

Patent Citations (5)

* Cited by examiner, † Cited by third party
Publication number Priority date Publication date Assignee Title
JPH0939979A (en) * 1995-08-01 1997-02-10 Tamotsu Wada Packaging film container
JP2002274534A (en) * 2001-03-15 2002-09-25 Kyodo Printing Co Ltd Packaging container
JP2005178901A (en) * 2003-10-15 2005-07-07 Kureha Chem Ind Co Ltd Packaging film container
JP2006051959A (en) * 2004-08-10 2006-02-23 Hitoshi Kawakami Storing box for wrapping film
JP4673442B1 (en) * 2010-07-14 2011-04-20 能生 小野 Film storage box

Cited By (5)

* Cited by examiner, † Cited by third party
Publication number Priority date Publication date Assignee Title
JP2014144792A (en) * 2013-01-29 2014-08-14 Kureha Corp Roll storing box and storing box with roll
JP2016049992A (en) * 2014-08-29 2016-04-11 共同印刷株式会社 Sheet packaging box
JP2016078885A (en) * 2014-10-16 2016-05-16 株式会社クレハ Wound body storage box, wound body storage box intermediate, and storage box for storing wound body
JP2017007678A (en) * 2015-06-17 2017-01-12 旭化成株式会社 Storage box for wrap film
JP2017105548A (en) * 2017-03-22 2017-06-15 株式会社クレハ Wound body storage box and storage box with wound body

Also Published As

Publication number Publication date
JP5698073B2 (en) 2015-04-08

Similar Documents

Publication Publication Date Title
JP5698073B2 (en) Packaging media storage container
US9033150B2 (en) Tool packaging
US20090057185A1 (en) Blister pack with integral access tool
JP5836101B2 (en) Packaging box
US7100794B2 (en) Paper container
JP6092451B1 (en) Packaging box
JP2012101814A (en) Wrap film storage container and wrap film supplying tool
JP6026498B2 (en) Packaging medium storage container and packaging medium supply tool
JP3190580U (en) Cardboard box sheet and corrugated sheet recess forming tool
JP5595013B2 (en) Cardboard box
JP2005132407A (en) Carton box
JP5389629B2 (en) Handle structure of corrugated paper products
JP6456053B2 (en) Packaging box
JP6456050B2 (en) Packaging box
JP6482795B2 (en) Packaging box
KR200486417Y1 (en) Packaging
JP6010351B2 (en) Method for manufacturing wrap film storage box and wrap film storage box
JP7637995B2 (en) Storage case
JP5504067B2 (en) Corrugated cardboard hand cut prevention
JP5515361B2 (en) Corrugated carton
JP2011098763A (en) Packaging box
JP5504071B2 (en) Corrugated cardboard hand cut prevention
JP2006298448A (en) Rolled packaging material storage carton
JP6322461B2 (en) Sheet packaging box
JP2018016373A (en) Packaging box

Legal Events

Date Code Title Description
A621 Written request for application examination

Free format text: JAPANESE INTERMEDIATE CODE: A621

Effective date: 20140206

A977 Report on retrieval

Free format text: JAPANESE INTERMEDIATE CODE: A971007

Effective date: 20141021

A131 Notification of reasons for refusal

Free format text: JAPANESE INTERMEDIATE CODE: A131

Effective date: 20141028

A521 Request for written amendment filed

Free format text: JAPANESE INTERMEDIATE CODE: A523

Effective date: 20141224

TRDD Decision of grant or rejection written
A01 Written decision to grant a patent or to grant a registration (utility model)

Free format text: JAPANESE INTERMEDIATE CODE: A01

Effective date: 20150203

A61 First payment of annual fees (during grant procedure)

Free format text: JAPANESE INTERMEDIATE CODE: A61

Effective date: 20150212

R150 Certificate of patent or registration of utility model

Ref document number: 5698073

Country of ref document: JP

Free format text: JAPANESE INTERMEDIATE CODE: R150

R250 Receipt of annual fees

Free format text: JAPANESE INTERMEDIATE CODE: R250

R250 Receipt of annual fees

Free format text: JAPANESE INTERMEDIATE CODE: R250

R250 Receipt of annual fees

Free format text: JAPANESE INTERMEDIATE CODE: R250

R250 Receipt of annual fees

Free format text: JAPANESE INTERMEDIATE CODE: R250

R250 Receipt of annual fees

Free format text: JAPANESE INTERMEDIATE CODE: R250

R250 Receipt of annual fees

Free format text: JAPANESE INTERMEDIATE CODE: R250

R250 Receipt of annual fees

Free format text: JAPANESE INTERMEDIATE CODE: R250

R250 Receipt of annual fees

Free format text: JAPANESE INTERMEDIATE CODE: R250