JP2012237435A - 固定具 - Google Patents

固定具 Download PDF

Info

Publication number
JP2012237435A
JP2012237435A JP2011119705A JP2011119705A JP2012237435A JP 2012237435 A JP2012237435 A JP 2012237435A JP 2011119705 A JP2011119705 A JP 2011119705A JP 2011119705 A JP2011119705 A JP 2011119705A JP 2012237435 A JP2012237435 A JP 2012237435A
Authority
JP
Japan
Prior art keywords
clamping
installation surface
sandwiching
fixing
height adjusting
Prior art date
Legal status (The legal status is an assumption and is not a legal conclusion. Google has not performed a legal analysis and makes no representation as to the accuracy of the status listed.)
Granted
Application number
JP2011119705A
Other languages
English (en)
Other versions
JP5808950B2 (ja
Inventor
Shinji Tomita
真次 富田
Etsuro Saito
悦朗 斉藤
Current Assignee (The listed assignees may be inaccurate. Google has not performed a legal analysis and makes no representation or warranty as to the accuracy of the list.)
Lintec21 Co Ltd
Original Assignee
Lintec21 Co Ltd
Priority date (The priority date is an assumption and is not a legal conclusion. Google has not performed a legal analysis and makes no representation as to the accuracy of the date listed.)
Filing date
Publication date
Application filed by Lintec21 Co Ltd filed Critical Lintec21 Co Ltd
Priority to JP2011119705A priority Critical patent/JP5808950B2/ja
Publication of JP2012237435A publication Critical patent/JP2012237435A/ja
Application granted granted Critical
Publication of JP5808950B2 publication Critical patent/JP5808950B2/ja
Active legal-status Critical Current
Anticipated expiration legal-status Critical

Links

Images

Landscapes

  • Clamps And Clips (AREA)
  • Hooks, Suction Cups, And Attachment By Adhesive Means (AREA)

Abstract

【課題】 物品の脚部へ容易に取り付けることが可能であるとともに、強固かつ確実に物品の脚部を接地面に固定することが可能な固定具を提供すること。
【解決手段】 本発明の固定具100は、一方の面が両面接着テープや接着剤等で設置面300に固着され、他方の面に連結部124を備える設置面固定部120と、一方の側が物品の脚部を構成する金属棒を挟持し、他方の側が連結部124に連結される挟持部150と、を概略具備している。
【選択図】図1

Description

本発明は、地震等の振動による工作機械、生産機械、什器、本棚及び工場や倉庫に設置された収納棚が、地震等の振動で床面を移動したり転倒したりすることを防止するための固定具に関する。
従来、工作機械、生産機械、什器、本棚及び工場や倉庫に設置された収納棚等の物品の移動や転倒を防止するために、該物品に底面四隅より下方に突設された脚部を接地面としての床面に固定する固定具が各種提案されている。
例えば特許文献1には、脚部の下に設けた支持板の上面に支持枠を立設し、支持枠を水平方向の内外に貫通するボルトを進退自在に螺合し、ボルトの先端を押圧板を介して脚部に押圧させることで支脚を押圧板と支持枠との間で挟持させるようにした転倒防止用固定具が開示されている。
特開2008−173224号公報
しかしながら、特許文献1に開示される固定具は、脚部の下に支持板を設ける構成となっており、重量物で持ち上げが困難な物品には適用不可能であった。
また、特許文献1の固定具は、ボルトで支持枠に着脱部を取り付ける構成となっており、接地面と物品の本体下面との間の間隙が少ない物品に対してこの着脱部を取り付ける作業は非常に困難であった。
この発明の目的は、上述した事情に鑑みなされたもので、物品の脚部へ容易に取り付けられる固定具を提供することである。
また、この発明の別の目的は、強固かつ確実に物品の脚部を接地面に固定可能な固定具を提供することである。
上述した課題を解決し、目的を達成するため、この発明に係わる固定具は、請求項1の記載によれば、脚部が載置された設置面に固定する固定具であって、一方の面が前記設置面に固着され、他方の面に連結部を備える設置面固定部と、一方の側が前記脚部を挟持し、他方の側が前記連結部に連結される挟持部と、を具備することを特徴とする。
また、目的を達成するため、この発明に係わる固定具は、請求項2の記載によれば、前記設置面固定部の他方の面に前記挟持部の設置面からの離反距離を調整する高さ調整部を備えることを特徴とする。
また、目的を達成するため、この発明に係わる固定具は、請求項3の記載によれば、前記挟持部は、一方の側に前記脚部を挟み込む挟み込み部を各々備える第一の挟持部と第二の挟持部とから構成され、前記第一の挟持部と前記第二の挟持部とは各々が前記設置面に平行な面内で前記連結部を回動中心として回動可能となるように前記連結部へ連結されていることを特徴とする。
また、目的を達成するため、この発明に係わる固定具は、請求項4の記載によれば、前記第一の挟持部と前記第二の挟持部とを摺動可能に連結し、前記第一の挟持部と前記第二の挟持部とが離反する方向に回動する回動量を制限する挟持部連結部を備えることを特徴とする。
また、目的を達成するため、この発明に係わる固定具は、請求項5の記載によれば、前記第一の挟持部と前記第二の挟持部との各々が一方の側と他方の側との間に屈曲部を備えることを特徴とする。
また、目的を達成するため、この発明に係わる固定具は、請求項6の記載によれば、前記連結部は、他方の面に固着されたナット部と、前記ナット部に他方の面の側から螺合されるボルト部とから構成され、前記ボルト部が前記第一の挟持部と前記第二の挟持部との各々の他方の側に設けられた挟持部貫通穴を挿通されて前記ナット部に螺合されることを特徴とする。
また、目的を達成するため、この発明に係わる固定具は、請求項7の記載によれば、前記高さ調整部は、前記第一の挟持部または前記第二の挟持部に設けられた高さ調整用ねじ穴と、前記高さ調整用ねじ穴に螺合され、その先端が前記設置面固定部の他方の面に当接する高さ調整用ねじとを有することを特徴とする。
また、目的を達成するため、この発明に係わる固定具は、請求項8の記載によれば、前記高さ調整部は、前記第一の挟持部または前記第二の挟持部の他方の側の先端近傍に設けられていることを特徴とする。
また、目的を達成するため、この発明に係わる固定具は、請求項9の記載によれば、前記高さ調整部は、前記第一の挟持部または前記第二の挟持部の一方の側と他方の側との間に設けられていることを特徴とする。
この発明によれば、物品の脚部へ容易に取り付けられる固定具を提供することができる。
また、この発明によれば、強固かつ確実に物品の脚部を接地面に固定可能な固定具を提供することができる。
本発明の固定具の第一の実施例を示す斜視図 本発明の固定具における設置面固定板の正面図 本発明の固定具における設置面固定板の側面図 本発明の固定具の第二の実施例を示す斜視図
<第一の実施例>
以下に図面を用いて本発明の第一の実施例としての固定具100を説明する。図1は、本発明の固定具100の第一の実施例を示す斜視図である。図2は固定具100における設置面固定板122の正面図である。図3は、設置面固定板122の側面図である。
本発明の第一の実施例の固定具100は、移動や転倒を防止したい物品としての工作機械、生産機械、什器、本棚及び収納棚等を載置面としての床面に載置するために底面に突設された脚部を設置面300に固定する固定具である。なお、この第一の実施例においては、物品の脚部として、一方が床面に配置され、他方にネジ山が設けられた金属棒が螺合されて立設される金属製またはコンクリート製の円筒形状部材や円錐形状部材の所謂レベルアジャスタを想定している。このような構造の物品の脚部は、金属製ブロックを回転させて金属棒を物品の底面に螺設された雌ねじに対して進退させることで物品の水平調整(レベリング)を行うことが可能となっている。なお、本発明の固定具が想定している物品の脚部は上述のとおりであるが、種々の脚部に適用可能であることは説明するまでもない。
固定具100は、一方の面が両面接着テープや接着剤等で設置面300に固着され、他方の面に連結部124を備える設置面固定部120と、一方の側が物品の脚部を構成する金属棒を挟持し、他方の側が連結部124に連結される挟持部150と、を概略具備している。
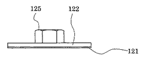
設置面固定部120は、一方の面(下面)が両面接着テープ121等で接地面300に固着される略円盤状の設置面固定板122と、設置面固定板122の他方の面(上面)に配置される連結部124とを備えている。また、連結部124は、設置面固定板122の他方の面に、その軸方向が面に垂直となるように固着されるナット部125とナット部125に螺合されるボルト部126とから構成されている。なお、図2及び図3には、両面接着テープ121等の設置面固定部固着手段が一方の面に設けられ、ナット部125が他方の面に固着される設置面固定板122を示している。
また、設置面固定板122は、略中心に固定部貫通穴128を有している。また、固定部貫通穴128の穴中心とナット部125のナット穴中心は一致または概略一致していると共に、固定部貫通穴128の穴の直径はナット部125のナット穴の直径と同じか、または若干大きくなっている。また、該貫通穴の一方面の側の内部には、取り外しの際にボルトをねじ込むことで設置面固定板122を取り外すための金属板を入れても良い。また、この第一の実施例においては、設置面固定板122は略円盤状としているが、三角形または四角形等の矩形でも良い。
連結部124は、他方の面に固着されたナット部125と、後述する挟持部150の他方の側に設けられた挟持部貫通穴に設置面固定部120の他方の面の側から挿通され、ナット部125へ設置面固定部120の他方の面の側から挿通されて螺合されるボルト部126とから構成される。なお、必要に応じて挟持部貫通穴とボルト部126の頭部との間にワッシャやスプリングコイルを配置しても良い。
また、挟持部150は、その板面が載置面と平行になるように配置された板状の第一の挟持部151と第二の挟持部152とから構成され、該2枚の挟持部151、152がその重ね合わせ面で摺動可能に重ね合わせられている。また、各々の一方の側には挟み込み部153、154が設けられており、脚部の金属棒はこの2箇所の挟み込み部153、154で挟み込まれて固定される。
挟み込み部153は第一の挟持部151の板面と平行な方向に設けられた凹み部であり、また、挟み込み部154は第二の挟持部152の板面と平行な方向に設けられた凹み部となっている。この2カ所の凹み部は凹み同士で向かい合わせとなっており、第一の挟持部151と第二の挟持部152が重ね合わされた状態で挟み込み穴155が構成されている。脚部の金属棒はこの挟み込み穴155で挟み込まれるようになっている。
また、第一の挟持部151と第二の挟持部152の他方の側には、各々挟持部貫通穴が設けられており、該挟持部貫通穴に挿通されるボルト部126のナット部125への螺合が緩められている状態では、該2枚の挟持部151、152は載置面及び設置面固定板122の面と平行な面内で連結部124を回動中心として回動可能となっている。
また、第一の挟持部151には挟持部連結長穴157が設けられ、第二の挟持部152には、第一の挟持部151と重ね合わされた状態で挟持部連結長穴157の長穴方向のいずれかの位置で穴が概略一致する挟持部連結穴158が設けられている。
また、この挟持部連結長穴157と挟持部連結穴158とを貫通するボルトと該ボルトに螺合するナットで構成される連結穴締結部159が設けられている。なお、挟持部連結長穴157、挟持部連結穴158及び連結穴締結部159で挟持部連結部が構成されている。
この挟持部連結部は、挟持部連結長穴157と挟持部連結穴158とを貫通するボルトと該ボルトに螺合するナットを緩め、2枚の挟持部151、152を各々ボルト部126を回動中心として回動させると、重ね合わされた2枚の挟持部151、152はその重ね合わせ面で当接しながら摺動する。また、挟持部連結長穴157の長穴方向の長さを所定量に設定することで、2枚の挟持部151、152とが離反する方向に回動する回動量を制限している。
また、この挟持部連結部の連結穴締結部159を構成するボルトとナットを締め上げることで、第一の挟持部151と第二の挟持部152との相対的回動を禁止することが可能である。なお、上述した構成においては、第一の挟持部151に挟持部連結長穴157を設け、第二の挟持部152に挟持部連結穴158を設けると説明したが、第一の挟持部151に挟持部連結穴158を設け、第二の挟持部152に挟持部連結長穴157を設ける構成としても良い。
なお、設置面固定板122の他方の面に固着されたナット部125にボルト部126を螺合し締め上げることでも第一の挟持部151と第二の挟持部152の各々の回動(及び相対的回動)を禁止することが可能である。ただ、このボルト部126は2枚の挟持部151、152の回動中心であるため、大きな地震による震動で該2枚の挟持部151、152が回動してしまい、物品の脚部の金属棒を挟み込んでいる挟み込み穴155が解放されてしまう可能性がある。
この点において、第一の挟持部151と第二の挟持部152との回動を禁止する手段として、ボルト部126のナット部125への締め上げと、連結穴締結部159での挟持部連結長穴157と挟持部連結穴158との締め上げとがあるので、本発明の固定具では、より確実に物品の脚部を固定することが可能となっている。
また、第一の挟持部151には一方の側と他方の側との間に第一の屈曲部161が設けられ、また、第二の挟持部152には一方の側と他方の側との間に第二の屈曲部162が設けられている。なお、この屈曲部161、162は2枚の挟持部151、152の板面が載置面と平行になるために設けられたものである。また、なお、図1に示すとおり、上側となる第一の屈曲部161と下側となる第二の屈曲部162との間には、間隙が設けられている。この間隙は、2枚の挟持部151、152を各々ボルト部126を回動中心として回動させた際に、2枚の挟持部151、152が2カ所の屈曲部161、162で衝突して回動しなくなるのを防止するためのものである。
本発明の固定具では、上述の通り、レベルアジャスタの固定を想定している。具体的には、床面に金属製等の円錐形状部材等が設けられ、この円錐形状部材等に立設される金属棒を2枚の挟持部151、152で挟持することを想定ている。このため、金属棒は円錐形状部材等の分だけ床面からの高さを有している。
本発明の固定具100による物品の脚部の固定では、地震等の際には金属棒を挟持する挟み込み穴155が力点となり、設置面に固着された設置面固定部120の連結部124が作用点となる。このように地震等の振動が設置面固定部120に作用するため、不自然かつ不用意な力が設置面固定部120に作用しないようにしなければならない。
このため、本発明の固定具100では、2枚の挟持部151、152の板面が載置面と極力平行となるように工夫がされている。上述の屈曲部161、162もこのためのものであり、床面から所定の(例えば5cm末満の比較的低い)高さを有して円錐形状部材に立設される金属棒を挟持する際に、2枚の挟持部151、152の板面が載置面と略平行となるために設けられている。
また、2枚の挟持部151、152のうち、上側に配置される第一の挟持部151の他方の側の先端近傍の挟み込み穴155と連結部124とを結ぶ延長線上には、高さ調整部164が1カ所設けられている。この高さ調整部164は、上側に配置される第一の挟持部151に設けられた高さ調整用ねじ穴と、設置面固定部120の設置面固定板122の他方の面の側から該高さ調整用ねじ穴に螺合され、その先端が設置面固定板122の他方の面に当接する高さ調整用ねじ165とを有している。なお、高さ調整部164を設ける場所を挟み込み穴155と連結部124とを結ぶ延長線上または線上とすると、2枚の挟持部151、152を載置面と略平行にしやすい。
このような高さ調整部164による2枚の挟持部151、152の高さ調整は、以下のように行う。先端(ねじ山が切られている側の頭部)が設置面固定板122の他方の面に当接している状態で高さ調整用ねじ165を回転させて進退させると、高さ調整用ねじ165は上側に配置される第一の挟持部151のみに螺合しているので、第一の挟持部151が設置面固定板122の他方の面から離間する方向に移動する。なお、第二の挟持部152は連結穴締結部159のねじとボルトの締結により第一の挟持部151と重ね合わされる。
なお、上述した構成では、高さ調整部164は上側に配置される第一の挟持部151に設けると説明したが、下側に配置される第二の挟持部152に設けても良い。また、高さ調整用ねじ165が緩むのを防止するために、別途ナットを高さ調整用ねじ165の先端から第一の挟持部151に当接するまでねじ込んでも良い。
また、高さ調整部164は、挟み込み穴155と連結部124とを結ぶ延長線上に1カ所設けると説明したが、複数箇所に設けても良いし、また、設ける場所も、例えば挟み込み穴155と連結部124との間や、連結部124の横となる場所に設けても良い。
この高さ調整部164による高さ調整も、2枚の挟持部151、152の板面を載置面と略平行とするための工夫である。この高さ調整部164による高さ調整は、床面から所定の(例えば5cmを超えるような比較的高い)高さを有してブロック状の円柱形部材に立設される金属棒を挟持する際に、有効である。
なお、2カ所の屈曲部161、162による高さ調整や高さ調整部164による高さ調整に併せて、連結部124を利用した高さ調整を行うと、さらに2枚の挟持部151、152の板面を載置面と略平行とするのに有効である。
具体的には、ボルト部126の軸方向の長さを長くするとともに、下側となる第二の挟持部152の挟持部貫通穴と設置面固定板122の他方の面との間に高さ調整用部材(例えば軸方向に貫通穴を備える円筒部材)を配置することで連結部124の部分で高さ調整が可能となる。
以上のような構成を有する本発明の第一の実施例の固定具100では、設置面との固着を設置面固定部120が担い、物品との脚部との挟持を挟持部150が担うことで、固定具全体の設置面からの高さを抑えることが可能となり、例えば一部の工作機械のように、機械と設置面との間の間隔が狭い物品の固定も可能となっている。
また、工場等では物品としての機械の周りには床面は、安全のために作業者のつまずきの元となる出っ張りが無いようにしなければならない。この点に関して、本発明の固定具では、機械と設置面との間の間隔が狭くとも設置可能であり、機械周辺の床面の出っ張りをなくすことが可能である。
また、挟持部150を用いることにより、物品の脚部と設置面に固着する設置面固定部120との間の間隔を開けることができるので、従来の固定具に比較して、物品と設置面の間隔が狭い空間での作業が非常に容易である。
さらに、高さ調整による2枚の挟持部151、152の板面と載置面との略平行の配置により、物品の脚部と設置面に固着する設置面固定部120との間の間隔が開いているにも拘わらず、物品の脚部の固定を従来通り行うことが可能である。
<第二の実施例>
以下に図面を用いて本発明の第二の実施例としての固定具100を説明する。図4は、本発明の固定具100の第二の実施例を示す斜視図である。なお、第一の実施例と同等の構成に関しては、同じ符号を付して説明を省略する。
固定具100は、一方の面が設置面300に固着され、他方の面に連結部124を備える設置面固定部120と、一方の側が物品の脚部を構成する金属棒を挟持し、他方の側が連結部124に連結される挟持部150と、を概略具備している。
第二の実施例での構成では、高さ調整部164が、2枚の挟持部151、152の各々の一方の側と他方の側との間に2カ所設けられている。具体的には、2枚の挟持部151、152のうち、上側に配置される第一の挟持部151には雌ねじが螺設された高さ調整用ねじ穴と、下側に配置される第二の挟持部152には高さ調整用長穴と、上側に配置される第一の挟持部151の側から挿通され、高さ調整用ねじ穴の雌ねじに螺合され、その先端が設置面固定部120の設置面固定板122の他方の面に当接する高さ調整用ねじ165とを有している。
このような高さ調整部164による2枚の挟持部151、152の高さ調整は、以下のように行う。先端(ねじ山が切られている側の頭部)が設置面固定板122の他方の面に当接している状態で高さ調整用ねじ165を回転させて進退させると、高さ調整用ねじ165は上側に配置される第一の挟持部151のみに螺合しているので、第一の挟持部151が設置面固定板122の他方の面から離間する方向に移動する。なお、第二の挟持部152は連結穴締結部159のねじとボルトの締結により第一の挟持部151と重ね合わされる。
また、この第二の実施例における高さ調整部164には、高さ調整用ねじ165が緩むのを防止するための高さ調整用ねじ緩み防止具166が設けられている。この高さ調整用ねじ緩み防止具166は2個の高さ調整用ねじ165の回転を防止する回転防止部と、連結部124のボルト部126が挿通される高さ調整用ねじ緩み防止具貫通部とを備えている。
高さ調整用ねじ緩み防止具166を用いて高さ調整用ねじ165の緩みを防止する手順は以下の通りである。連結部124のボルト部126を取り外した状態で、高さ調整部164による高さ調整を終え、次に、この高さ調整用ねじ緩み防止具166を第一の挟持部151の上から被せる。その後、ボルト部126を高さ調整用ねじ緩み防止具貫通部を介してナット部125にねじ込んで完了となる。
なお、この第二の実施例における高さ調整部164は、上側に配置される第一の挟持部151に高さ調整用ねじ穴を設け、下側に配置される第二の挟持部152に高さ調整用長穴を設けると説明したが、上側に配置される第一の挟持部151に高さ調整用長穴を設け、下側に配置される第二の挟持部152に高さ調整用ねじ穴を設ける構成としても良い。
以上の第一及び第二の実施例の固定具100を、設置面に固定したい物品の脚部に取り付ける手順と取り外す手順とを以下に説明する。
取り付けの手順は以下の通りである。最初に、連結部124と挟持部連結部とを緩めて仮止めの状態として、第一の挟持部151と第二の挟持部152とが開く方向に各々回動させ、挟み込み穴155を解放させる。この状態で挟み込み穴155の内部に脚部を入れ、高さ調整部164で2枚の挟持部の板面が設置面と略平行となるように調整する。
次に、一旦、挟み込み穴155を解放させ、固定具を設置面から取り外し、設置面固定部120の一方の面に設けられた両面接着テープ121の粘着保護フィルムを取り外す。この後、挟み込み穴155の内部に脚部を入れた状態で設置面固定部120を設置面に固着し、連結部124と挟持部連結部とを締め上げて脚部を固定する。
取り外しの手順は以下の通りである。最初に、連結部124と挟持部連結部の両方を緩めて挟み込み穴155を解放させるとともに、連結部124による設置面固定部120と挟持部150との連結を解除する。
次に、挟持部150を設置面固定部120から取り外す。この結果、設置面には設置面固定板122のみが残るので、ナット部125をスパナ等で回転させたり、ナット部125にボルトを螺合してボルトを進退させ、ボルトの先端がナット部125内に配置された金属板を押したりすることで、設置面固定板122を設置面から取り外す。
以上のように、本発明により、物品の脚部へ容易に取り付けることが可能であるとともに、強固かつ確実に物品の脚部を接地面に固定することが可能であるばかりでなく、設置面と物品の底面との間隔が狭くとも設置が可能で、安全にも配慮した固定具を提供することができる。
100・・固定具、120・・設置面固定部、121・・両面接着テープ、122・・設置面固定板、124・・連結部、125・・ナット部、126・・ボルト部、128・・固定部貫通穴、150・・挟持部、151・・第一の挟持部、152・・第二の挟持部、153、154・・挟み込み部、155・・挟み込み穴、157・・挟持部連結長穴、158・・挟持部連結穴、159・・連結穴締結部、161・・第一の屈曲部、162・・第二の屈曲部、164・・高さ調整部、165・・高さ調整用ねじ、166・・高さ調整用ねじ緩み防止具、300・・設置面

Claims (9)

  1. 脚部が載置された設置面に固定する固定具であって、
    一方の面が前記設置面に固着され、他方の面に連結部を備える設置面固定部と、
    一方の側が前記脚部を挟持し、他方の側が前記連結部に連結される挟持部と、を具備することを特徴とする固定具。
  2. 前記設置面固定部の他方の面に前記挟持部の設置面からの離反距離を調整する高さ調整部を備えることを特徴とする請求項1に記載の固定具。
  3. 前記挟持部は、一方の側に前記脚部を挟み込む挟み込み部を各々備える第一の挟持部と第二の挟持部とから構成され、前記第一の挟持部と前記第二の挟持部とは各々が前記設置面に平行な面内で前記連結部を回動中心として回動可能となるように前記連結部へ連結されていることを特徴とする請求項1または請求項2に記載の固定具。
  4. 前記第一の挟持部と前記第二の挟持部とを摺動可能に連結し、前記第一の挟持部と前記第二の挟持部とが離反する方向に回動する回動量を制限する挟持部連結部を備えることを特徴とする請求項3に記載の固定具。
  5. 前記第一の挟持部と前記第二の挟持部との各々が一方の側と他方の側との間に屈曲部を備えることを特徴とする請求項3または請求項4に記載の固定具。
  6. 前記連結部は、他方の面に固着されたナット部と、前記ナット部に他方の面の側から螺合されるボルト部とから構成され、前記ボルト部が前記第一の挟持部と前記第二の挟持部との各々の他方の側に設けられた挟持部貫通穴を挿通されて前記ナット部に螺合されることを特徴とする請求項3乃至請求項5のいずれか1項に記載の固定具。
  7. 前記高さ調整部は、前記第一の挟持部または前記第二の挟持部に設けられた高さ調整用ねじ穴と、前記高さ調整用ねじ穴に螺合され、その先端が前記設置面固定部の他方の面に当接する高さ調整用ねじとを有することを特徴とする請求項3乃至請求項6のいずれか1項に記載の固定具。
  8. 前記高さ調整部は、前記第一の挟持部または前記第二の挟持部の他方の側の先端近傍に設けられていることを特徴とする請求項7に記載の固定具。
  9. 前記高さ調整部は、前記第一の挟持部または前記第二の挟持部の一方の側と他方の側との間に設けられていることを特徴とする請求項7に記載の固定具。
JP2011119705A 2011-05-10 2011-05-10 固定具 Active JP5808950B2 (ja)

Priority Applications (1)

Application Number Priority Date Filing Date Title
JP2011119705A JP5808950B2 (ja) 2011-05-10 2011-05-10 固定具

Applications Claiming Priority (1)

Application Number Priority Date Filing Date Title
JP2011119705A JP5808950B2 (ja) 2011-05-10 2011-05-10 固定具

Publications (2)

Publication Number Publication Date
JP2012237435A true JP2012237435A (ja) 2012-12-06
JP5808950B2 JP5808950B2 (ja) 2015-11-10

Family

ID=47460499

Family Applications (1)

Application Number Title Priority Date Filing Date
JP2011119705A Active JP5808950B2 (ja) 2011-05-10 2011-05-10 固定具

Country Status (1)

Country Link
JP (1) JP5808950B2 (ja)

Cited By (1)

* Cited by examiner, † Cited by third party
Publication number Priority date Publication date Assignee Title
JP2024092852A (ja) * 2022-12-26 2024-07-08 株式会社サカエ 機器固定具

Citations (7)

* Cited by examiner, † Cited by third party
Publication number Priority date Publication date Assignee Title
JPH0439440A (ja) * 1990-06-06 1992-02-10 Nisshinbo Ind Inc 防振装置
JP2000059039A (ja) * 1998-08-12 2000-02-25 Nec Corp 部品取付用アタッチメント
JP2001161475A (ja) * 1999-12-03 2001-06-19 Kokuyo Co Ltd 家具の床固定装置
JP2006068065A (ja) * 2004-08-31 2006-03-16 Daiwa House Ind Co Ltd 不陸調整板及びその取付け構造
JP2008188270A (ja) * 2007-02-06 2008-08-21 Seno:Kk 転倒防止用固定具
JP2010239348A (ja) * 2009-03-31 2010-10-21 Maspro Denkoh Corp アンテナ取付金具
WO2010126942A2 (en) * 2009-04-29 2010-11-04 Twin Bay Medical, Inc. Sanitary clamp

Patent Citations (7)

* Cited by examiner, † Cited by third party
Publication number Priority date Publication date Assignee Title
JPH0439440A (ja) * 1990-06-06 1992-02-10 Nisshinbo Ind Inc 防振装置
JP2000059039A (ja) * 1998-08-12 2000-02-25 Nec Corp 部品取付用アタッチメント
JP2001161475A (ja) * 1999-12-03 2001-06-19 Kokuyo Co Ltd 家具の床固定装置
JP2006068065A (ja) * 2004-08-31 2006-03-16 Daiwa House Ind Co Ltd 不陸調整板及びその取付け構造
JP2008188270A (ja) * 2007-02-06 2008-08-21 Seno:Kk 転倒防止用固定具
JP2010239348A (ja) * 2009-03-31 2010-10-21 Maspro Denkoh Corp アンテナ取付金具
WO2010126942A2 (en) * 2009-04-29 2010-11-04 Twin Bay Medical, Inc. Sanitary clamp

Cited By (2)

* Cited by examiner, † Cited by third party
Publication number Priority date Publication date Assignee Title
JP2024092852A (ja) * 2022-12-26 2024-07-08 株式会社サカエ 機器固定具
JP7774552B2 (ja) 2022-12-26 2025-11-21 株式会社サカエ 機器固定具

Also Published As

Publication number Publication date
JP5808950B2 (ja) 2015-11-10

Similar Documents

Publication Publication Date Title
AU749951B2 (en) Configurable mount
RU2670628C9 (ru) Рельс и роликовая ножка для рельсовой системы для сварочных столов
US20180063977A1 (en) Anti-topple device
JP5808950B2 (ja) 固定具
JP2015215012A (ja) 吊りボルト用振れ止め金具
JP6623946B2 (ja) 太陽光発電パネル用固定具
JP6047001B2 (ja) 固定具
JP3202840U (ja) 交差金具
JP2010222115A (ja) 安全柵取付具およびこれを用いた安全柵取付方法
EP2841669A1 (en) Holding device for a frame member of a balcony glazing
JP2016118230A (ja) ナット部材
JP2008212328A (ja) 転倒防止用固定具
KR101752828B1 (ko) 내진 기능을 갖는 전기케이블 트레이 고정대
JP7292244B2 (ja) 棒状体固定具
JP2015102935A (ja) 自動販売機の転倒防止具
KR20130118405A (ko) 간편 설치 높이 조절 선반
CN216177881U (zh) 一种金属框架用焊接辅助夹具
JP5852221B1 (ja) 家具転倒防止金具
KR200474690Y1 (ko) 가구용 다리
US10271453B1 (en) Chassis rail stabilizer
WO2007080551A2 (en) Fixture to mount a device
JPS6341953Y2 (ja)
JP4821729B2 (ja) 収納家具の固定構造
KR200225058Y1 (ko) 선반
JP2013094399A (ja) 家具の固定具、固定構造及び固定方法

Legal Events

Date Code Title Description
A621 Written request for application examination

Free format text: JAPANESE INTERMEDIATE CODE: A621

Effective date: 20140502

A521 Request for written amendment filed

Free format text: JAPANESE INTERMEDIATE CODE: A821

Effective date: 20140912

RD02 Notification of acceptance of power of attorney

Free format text: JAPANESE INTERMEDIATE CODE: A7422

Effective date: 20140912

A521 Request for written amendment filed

Free format text: JAPANESE INTERMEDIATE CODE: A821

Effective date: 20140912

A977 Report on retrieval

Free format text: JAPANESE INTERMEDIATE CODE: A971007

Effective date: 20150225

A131 Notification of reasons for refusal

Free format text: JAPANESE INTERMEDIATE CODE: A131

Effective date: 20150303

A521 Request for written amendment filed

Free format text: JAPANESE INTERMEDIATE CODE: A523

Effective date: 20150417

TRDD Decision of grant or rejection written
A01 Written decision to grant a patent or to grant a registration (utility model)

Free format text: JAPANESE INTERMEDIATE CODE: A01

Effective date: 20150825

A61 First payment of annual fees (during grant procedure)

Free format text: JAPANESE INTERMEDIATE CODE: A61

Effective date: 20150910

R150 Certificate of patent or registration of utility model

Ref document number: 5808950

Country of ref document: JP

Free format text: JAPANESE INTERMEDIATE CODE: R150

R250 Receipt of annual fees

Free format text: JAPANESE INTERMEDIATE CODE: R250

R250 Receipt of annual fees

Free format text: JAPANESE INTERMEDIATE CODE: R250

R250 Receipt of annual fees

Free format text: JAPANESE INTERMEDIATE CODE: R250

R250 Receipt of annual fees

Free format text: JAPANESE INTERMEDIATE CODE: R250

R250 Receipt of annual fees

Free format text: JAPANESE INTERMEDIATE CODE: R250

R250 Receipt of annual fees

Free format text: JAPANESE INTERMEDIATE CODE: R250

R250 Receipt of annual fees

Free format text: JAPANESE INTERMEDIATE CODE: R250

R250 Receipt of annual fees

Free format text: JAPANESE INTERMEDIATE CODE: R250