JP2012225140A - セパレータジョイント金具 - Google Patents
セパレータジョイント金具 Download PDFInfo
- Publication number
- JP2012225140A JP2012225140A JP2011107664A JP2011107664A JP2012225140A JP 2012225140 A JP2012225140 A JP 2012225140A JP 2011107664 A JP2011107664 A JP 2011107664A JP 2011107664 A JP2011107664 A JP 2011107664A JP 2012225140 A JP2012225140 A JP 2012225140A
- Authority
- JP
- Japan
- Prior art keywords
- main body
- joint fitting
- reinforcing bar
- joint
- bolt
- Prior art date
- Legal status (The legal status is an assumption and is not a legal conclusion. Google has not performed a legal analysis and makes no representation as to the accuracy of the status listed.)
- Withdrawn
Links
- 239000002184 metal Substances 0.000 claims description 15
- 238000005304 joining Methods 0.000 claims description 2
- 230000003014 reinforcing effect Effects 0.000 abstract description 49
- 238000003780 insertion Methods 0.000 abstract description 6
- 230000037431 insertion Effects 0.000 abstract description 6
- 238000006073 displacement reaction Methods 0.000 description 10
- 229910000831 Steel Inorganic materials 0.000 description 5
- 238000012986 modification Methods 0.000 description 5
- 230000004048 modification Effects 0.000 description 5
- 239000010959 steel Substances 0.000 description 5
- 239000004567 concrete Substances 0.000 description 4
- 238000010586 diagram Methods 0.000 description 4
- 238000009415 formwork Methods 0.000 description 3
- 239000011150 reinforced concrete Substances 0.000 description 3
- 238000005266 casting Methods 0.000 description 2
- 238000003825 pressing Methods 0.000 description 2
- 238000003466 welding Methods 0.000 description 2
- 238000005452 bending Methods 0.000 description 1
- 238000000034 method Methods 0.000 description 1
- 230000002093 peripheral effect Effects 0.000 description 1
- 230000002787 reinforcement Effects 0.000 description 1
Images
Landscapes
- Forms Removed On Construction Sites Or Auxiliary Members Thereof (AREA)
Abstract
【課題】作業効率がよく引張強度の強いジョイント金具を提供する。
【解決手段】ジョイント金具100は、鉄筋30と、雄ねじ部300aが形成されたセパレータ300とをジョイントするためのジョイント金具である。ジョイント金具100は、鉄筋30と係合可能な本体101を備えている。本体101は雌ねじ部109を含んでおり、本体101は、鉄筋30と係合した状態で、雌ねじ部109に嵌め込んだボルト103で鉄筋30側へ押し付けられることによって鉄筋30に固定される。本体101は、セパレータ300を通すための頭部に雌ネジ部を持った第3部材差込穴107と、差込穴107を通った状態の第3部材の雄ねじ部200bと螺合するための雌ねじ部105とをさらに含んでいる。
【選択図】図2
【解決手段】ジョイント金具100は、鉄筋30と、雄ねじ部300aが形成されたセパレータ300とをジョイントするためのジョイント金具である。ジョイント金具100は、鉄筋30と係合可能な本体101を備えている。本体101は雌ねじ部109を含んでおり、本体101は、鉄筋30と係合した状態で、雌ねじ部109に嵌め込んだボルト103で鉄筋30側へ押し付けられることによって鉄筋30に固定される。本体101は、セパレータ300を通すための頭部に雌ネジ部を持った第3部材差込穴107と、差込穴107を通った状態の第3部材の雄ねじ部200bと螺合するための雌ねじ部105とをさらに含んでいる。
【選択図】図2
Description
この発明はジョイント金具に関し、より特定的には、鉄筋コンクリート構造物などの型枠を構成する際、鉄筋や丸鋼にセパレータを接続するためのジョイント金具に関する。
鉄筋コンクリート構造物などの型枠を構成する際には、ジョイント金具を用いて鉄筋等にセパレータが接続され、このセパレータの端部に型枠が固定される。たとえば特許第3850238号公報(特許文献1)には、この種のジョイント金具の従来の構成が開示されている。
特許文献1の連結金具は、本体とボルトと回転軸とからなっている。本体は、その上部に貫通ネジ孔を有している。この貫通ネジ孔を螺合貫通したボルトによって、鉄筋は本体に押圧固定される。回転軸は、その軸心が本体の表面に対し直角向きであり、かつ軸心の周りに自転可能に本体に支持されている。回転軸は、セパレータを連結するためのセパレータ連結用ネジ孔を有している。セパレータ連結用ネジ孔は軸心に対し直角向きに形成されている。
特許第3850238号公報
しかしながら、特許文献1のジョイント金具には、セパレータに引張負荷がかった際、鉄筋から本体がはずれ、セパレータの引張負荷に対し強度が十分でないという問題があった。
したがって、本発明の一の目的は、セパレータ引張負荷に対し強度が強く。更には、セパレータを鉄筋等の軸心に対しあらゆる方向に自在に向くように形成されているジョイント金具を提供することである。
また、本発明の他の目的は、作業効率がよいジョイント金具を提供することである。
本発明のジョイント金具は、第1部材である鉄筋等と、第2部材である雄ねじが形成されたセパレータとをジョイントするためのジョイント金具である。ジョイント金具は、第1部材に係合可能な本体を備えている。本体には第3部材である頭部に第2部材螺合用雌ねじ部を持ったボルトが含んでおり、第1部材へは、本体と係合した状態で、取付ボルト用雌ねじ部に嵌め込んだ取付用ボルトで第1部材側へ押し付けられることによって本体が固定される。本体は、第3部材を通すための通し穴と、通し穴を通った状態の第3部材を螺合するための雌ねじ部とをさらに含んでいる。
本発明のジョイント金具によれば、取付ボルト用雌ねじ部に嵌め込んだ取付用ボルトで本体が第1部材側へ押しつけられることによって、本体が第1部材に固定される。取付用ボルトの嵌め込む深さを変えることで第1部材のサイズの違いに対応することができるので、ジョイントする第1部材のサイズに応じてジョイント金具を選択する必要が無く、作業効率を向上することができる。
上記ジョイント金具において好ましくは、第3部材の第2部材の螺合用雌ネジ位置が本体取付用ボルトの軸線と第1部材の鉄筋軸芯の延長線上にあり、第2部材に引張負荷がかかった場合に本体の回転が妨げられるので、第2部材の引張りによる本体の変位を抑制することができる。その結果、本体が安定し、ジョイント金具の引張強度を向上することができる。
上記ジョイント金具において好ましくは、取付用ボルトの嵌め込み方向が第2部材取り付けボルトの方を向くように、ボルト用雌ねじ部が形成されている。これにより、第1部材のサイズに係わらず第3部材が第1部材の方へ押し付けられるため、第2部材が引っ張られた場合に生じる回転モーメントを小さくすることができ、変位量を抑え引張強度を向上することができる。また、ボルトを嵌め込む際の作業性が向上する。
上記ジョイント金具において好ましくは、本体は、第1部材に押し付けられる位置に形成された凹部をさらに含んでいる。これにより、第1部材と接触する本体部の面積が大きくなるので、第2部材が引っ張られた場合に第1部材に加わる荷重を広い面積で受けることができ、第1部材に対してジョイント金具が動きにくくなる。
上記ジョイント金具において好ましくは、凹部は第1の曲率を有する第1凹部と、第1曲率よりも小さい第2の曲率を有する第2凹部とを含んでいる。この場合、第1部材が大きい場合には第1凹部にて第1部材と接触し、第1部材が小さい場合には第2凹部にて第1部材と接触する。これにより、第1部材のサイズにかかわらず第1部材に本体を固定しやすくなり、第1部材の位置決めがし易くなる。
上記ジョイント金具において好ましくは、第3部材取付ボルトを螺合する雌ねじ部はナットである。これにより、第3部材取り付けボルトを堅固に締める事が出来るので、第3部材の変位量を抑え引張強度を向上することができる。
上記ジョイント金具において好ましくは、第1部材と第3部材とが互いに直交するように、通し穴および第3部材用雌ねじ部が形成されている。
上記ジョイント金具において好ましくは、第1部材と第3部材の第2部材取付用ボルトの頭部に形成された雌ネジ部が第1部材にたいし全ての方向を向くように形成されている。
図1は、本発明の第1の実施の形態におけるジョイント金具の使用例を示す図である。
図1を参照して、本実施の形態におけるジョイント金具100は、鉄筋コンクリート構造物、もしくは鉄筋鉄骨コンクリート構造物における鉄筋30に係合する。また、セパレータ300はジョイント金具100の一端に接続される。セパレータ300の他端には、固定金具400によりコンクリート打設用型枠40が固定される。これにより、ジョイント金具100は鉄筋30(第1部材)とセパレータ300(第2部材)とを互いに同軸方向に(平行引きするように)ジョイントする。
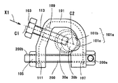
図2は、本発明の第1の実施の形態におけるジョイント金具の構成を示す斜視図である。また図3は、図写のジョイント金具を下方向から見た図である。
図2および図3を参照して、ジョイント金具100は本体101と、ボルト103とを備えている。本体101は、鉄筋の延在方向に対して垂直な平面で切った場合に、たとえばU字の断面形状を有しており、鋼板を折り曲げることにより形成されている。
なお、ボルトはジョイント金具の一部であってもよいし、ジョイント金具とは別に準備されてもよい。
なお、ボルトはジョイント金具の一部であってもよいし、ジョイント金具とは別に準備されてもよい。
ジョイント金具100は、本体101の側面に形成された、頭部にセパレータ(第2部材)螺合用雌ねじ部を持ったボルト(第3部材)の差込穴107および穴111と、雌ねじ部105とを含んでいる。
雌ねじ部105は、穴111の外側に、穴111に連通するナットをスポット溶接することにより形成されている。ナットで雌ねじ部105を形成し、かつ頭部にセパレータ(第2部材)螺合用雌ねじ部200aを持ったボルト(第3部材)200を差込穴107に挿通させ雌ねじ部105に堅固に螺合させることにより、第3部材200に加わる荷重をナットと本体101とで受けることができるので、セパレータ300の引張りによる本体101の変位を抑制することができ、ジョイント金具100の引張強度を向上することができる。一方、雌ねじ部105は、ナットを用いずに穴111の内周面に雌ねじを形成することで構成されてもよい。この場合、穴111の周囲の鋼板をリブ出し加工し、形成されたリブの内壁面にタップ加工を施すことで構成されてもよい。穴111の内壁面に雌ねじを形成することにより、ナットをスポット溶接することが不要となる。なお、第3部材はジョイント金具の一部であってもよいし、ジョイント金具とは別に準備されてもよい。
雌ねじ部105は、穴111の外側に、穴111に連通するナットをスポット溶接することにより形成されている。ナットで雌ねじ部105を形成し、かつ頭部にセパレータ(第2部材)螺合用雌ねじ部200aを持ったボルト(第3部材)200を差込穴107に挿通させ雌ねじ部105に堅固に螺合させることにより、第3部材200に加わる荷重をナットと本体101とで受けることができるので、セパレータ300の引張りによる本体101の変位を抑制することができ、ジョイント金具100の引張強度を向上することができる。一方、雌ねじ部105は、ナットを用いずに穴111の内周面に雌ねじを形成することで構成されてもよい。この場合、穴111の周囲の鋼板をリブ出し加工し、形成されたリブの内壁面にタップ加工を施すことで構成されてもよい。穴111の内壁面に雌ねじを形成することにより、ナットをスポット溶接することが不要となる。なお、第3部材はジョイント金具の一部であってもよいし、ジョイント金具とは別に準備されてもよい。
また、ジョイント金具100は、本体101の側面に形成された穴113と、雌ねじ部109とをさらに含んでいる。雌ねじ部109は、穴113の内側に、穴113に連通するナットをスポット溶接することにより形成されている。ナットで雌ねじ部109を形成することにより、ボルト103に加わる荷重をナットで受けることができるので、セパレータ300の引張りによる第3部材の変位更には本体101の変位を抑制することができ、ジョイント金具100の引張強度を向上することができる。一方、雌ねじ部109は、ナットを用いずに穴113の内壁面に雌ねじを形成することで構成されてもよい。この場合、穴113の周囲の鋼板をリブ出し加工し、形成されたリブの内壁面にタップ加工を施すことで構成されてもよい。穴113の内壁面に雌ねじを形成することにより、ナットをスポット溶接することが不要となる。
次に、ジョイント金具100を用いて鉄筋30とセパレータ300とをジョイントする方法の一例について説明する。始めに、ジョイント金具100における本体101のU字状の内部に鉄筋30を差し込むことにより、本体101に鉄筋30を係合させる。この状態で、図3中矢印X1で示すように、穴113および雌ねじ部109(ボルト用雌ねじ部)にボルト103(取付用ボルト)を嵌め込み、雌ねじ部109に螺合させる。ボルト103を深く差しこんでいくと、ボルト103の先端部と鉄筋30とが接し、鉄筋30が本体101の内壁に押し付けられる。これにより、鉄筋30の任意の位置にジョイント100の本体101が固定され、ジョイント金具100のズレが防止される。
続いて、図3中矢印X2で示すように、頭部にセパレータ螺合用雌ねじ部200aを持ったボルト(第3部材)200を差込穴107(通し穴)に通し、さらに穴111および雌ねじ部105に嵌め込み、第3部材200の端部に形成された雄ねじ部200bを雌ねじ部105に堅固に螺合させることにより、本体101に第3部材200を固定する。なお、第3部材200の頭部に形成されているセパレータ螺合用雌ネジ部200aを任意の方向に向ける事で鉄筋から任意の方向にセパレータ300を取り付けることが出来る。以上の工程により、鉄筋30とセパレータ300とのジョイントが完了する。
本実施の形態におけるジョイント金具100によれば、穴113に嵌め込んだボルト103で鉄筋30を本体101側へ押しつけることによって、鉄筋30が本体101に固定される。ボルト103の嵌め込む深さを変えることで鉄筋30のサイズの違いに対応することができるので、ジョイントする部材のサイズに応じてジョイント金具を選択する必要が無く、作業効率を向上することができる。また、セパレータ300が引っ張られた場合には、第3部材200が差込穴107に引っかかることにより本体101の回転が妨げられるので、ジョイントする部材(第2部材)の変位を抑制することができる。
なお、ボルト103の嵌め込み方向(矢印X1で示す方向)と第3部材200の通し方向(矢印X2で示す方向)とのなす角が0度以上90度未満であることが好ましい。図3においては、この角度が0度(つまり、矢印X1で示す方向と矢印X2で示す方向とが平行)になっており、第3部材螺号用雌ねじ部105と穴113とが本体101の同じ側に形成されている。
これにより、図2中矢印A1で示すように、コンクリート打設時にセパレータ300に引張力が働く場合に、鉄筋30に加わる荷重を本体101で受けることができるので、鉄筋30に対してジョイント金具100が動きにくくなる(引張強度が増加する)。
これにより、図2中矢印A1で示すように、コンクリート打設時にセパレータ300に引張力が働く場合に、鉄筋30に加わる荷重を本体101で受けることができるので、鉄筋30に対してジョイント金具100が動きにくくなる(引張強度が増加する)。
また、本体101における鉄筋30が押し付けられる部分には、凹部101aが形成されていてもよい。凹部101aは、図3に示されるように断面がV字(またはU字)形状をしていてもよい。凹部101aに鉄筋30が位置する(一部が嵌り込む)ことにより、ボルト103と鉄筋30とが同軸線上に安定して固定され、凹部の無い平らな場合に比べて鉄筋30と接触する本体の面積が大きくなるので、セパレータが引っ張られた場合に鉄筋30に加わる荷重を広い面積で受けることができ、鉄筋30に対してジョイント金具101が動きにくくなる。
さらに、ボルト103は、その先端部が尖っているもの(剣先ボルト)が好ましい。剣先ボルトを用いることにより、ボルト103を締め付ける時、本体が回転せず位置決めが容易になる。
図4は、本発明の第1の実施の形態におけるジョイント金具の変形例の構成を示す図である。図4(A)は、ジョイント金具を図3と同じ方向から見た図を示し、図4(B)は、図4(A)のジョイント金具の本体101を″Y″方向から見た端面図である。
図4(A)および(B)に示すように、ジョイント金具100の本体101は、その断面がU字形状を示すことで中空の形状となっていてもよい。このような形状である場合、本体101の断面は上部延在部120と下部延在部121とを有している。上部延在部120と下部延在部121との各々における鉄筋30との接触部分には、凹部101aが形成されている。凹部101aは、用いる鉄筋30のサイズおよび形状にフィットする形状とされてもよい。また凹部101aのサイズは、用いる鉄筋30のサイズよりも小さくされてもよい。
図5は、本発明の第2の実施の形態におけるジョイント金具の構成を示す図である。図6は、図5のジョイント金具を側面方向から見た図である。本実施の形態においては、ボルト103の嵌め込み方向(図6中矢印X1で示す方向)と第3部材200の通し方向(図6中矢印X2で示す方向)とが角度をなしている。2つの方向がなす角度は0度より大きくなっている。また、穴113および雌ねじ部109の各々は、ボルト103の嵌め込み方向が鉄筋の中心及び第3部材のセパレータ螺号用雌ねじ部200aの方を向くように形成されている。
本実施の形態におけるジョイント金具100によれば、第3部材が鉄筋30の方へ押し付けられる(図6よりも鉄筋30が細くなったとしても、鉄筋30は第3部材200の方へ押しつけられる)ため、セパレータ300が引っ張られた場合に生じる回転モーメントを小さくすることができる。その結果、セパレータの変位量を抑え、引張強度を向上することができる。
図7は、本発明の第2の実施の形態におけるジョイント金具の変形例の構成を示す図である。図7に示すように、本実施の形態におけるジョイント金具100において、凹部101aは、凹部101b(第1凹部)と、凹部101bの曲率よりも小さい曲率を有する凹部101c(第2凹部)とを含んでいてもよい。凹部101cは凹部101bの内部に形成されていてもよい。このような構成により、大きいサイズの鉄筋30aを用いた場合には鉄筋30aは凹部101bに接触し、小さいサイズの鉄筋30bを用いた場合には鉄筋30bは凹部101cに接触する。その結果、様々なサイズの鉄筋を安定して固定することができる。
すなわち、鉄筋の外周の曲率に対して凹部の曲率があまりに大きすぎると、鉄筋の固定位置が変化しやすくなり、鉄筋と第3部材のセパレータ螺号用雌ねじ部200aとの距離が増大する。鉄筋とセパレータ螺号用雌ねじ部200aとの距離が増大すると、セパレータの引張力により生じる回転モーメントが大きくなり易い。このため、鉄筋の外周に合う曲率を凹部が有していることが望ましい。時に、凹部101bおよび101cを設けるとともに、ボルト103の嵌め込み軸方向C1(図7中矢印X1で示す方向)が鉄筋及びセパレータ螺号用雌ねじ部200aと同軸線上にあることが望ましい。これにより、鉄筋30のサイズに係わらず、本体101とボルト103でセパレータ300が引っ張られた場合に生じる回転モーメントを小さくすることができる。その結果、変位量を抑え、引張強度を向上することができる。
すなわち、鉄筋の外周の曲率に対して凹部の曲率があまりに大きすぎると、鉄筋の固定位置が変化しやすくなり、鉄筋と第3部材のセパレータ螺号用雌ねじ部200aとの距離が増大する。鉄筋とセパレータ螺号用雌ねじ部200aとの距離が増大すると、セパレータの引張力により生じる回転モーメントが大きくなり易い。このため、鉄筋の外周に合う曲率を凹部が有していることが望ましい。時に、凹部101bおよび101cを設けるとともに、ボルト103の嵌め込み軸方向C1(図7中矢印X1で示す方向)が鉄筋及びセパレータ螺号用雌ねじ部200aと同軸線上にあることが望ましい。これにより、鉄筋30のサイズに係わらず、本体101とボルト103でセパレータ300が引っ張られた場合に生じる回転モーメントを小さくすることができる。その結果、変位量を抑え、引張強度を向上することができる。
さらに、凹部101aで規定される鉄筋30aまたは30bの中心軸C2が、ボルト103の中心軸C1と直交するように、凹部101aが形成されることが好ましい。これにより、鉄筋を一層固定しやすくなる。
なお、本発明のジョイント金具によってジョイントされる第1部材および第2部材は、鉄筋、セパレータ、およびボルト以外のもの(たとえば丸棒)であってもよい。また、上記第1〜第2の実施の形態に示された構成の各々は、適宜組み合わせることができる。
上記実施の形態は、すべての点で例示であって制限的なものではないと考えられるべきである。本発明の範囲は上記した説明ではなくて特許請求の範囲によって示され、特許請求の範囲と均等の意味および範囲内でのすべての変更が含まれることが意図される。
30,30a,30b 鉄筋
40 コンクリート打設用型枠
100 ジョイント金具
101 本体
101a〜101c 凹部
103 ボルト
105,109 雌ねじ部
107,111,113 穴
120 上部延在部
121 下部延在部
200 雌ねじ付ボルト
200a 雌ねじ部
200b,300a 雄ねじ部
300 セパレータ
400 型枠固定金物
40 コンクリート打設用型枠
100 ジョイント金具
101 本体
101a〜101c 凹部
103 ボルト
105,109 雌ねじ部
107,111,113 穴
120 上部延在部
121 下部延在部
200 雌ねじ付ボルト
200a 雌ねじ部
200b,300a 雄ねじ部
300 セパレータ
400 型枠固定金物
Claims (6)
- 第1部材と、雄ねじが形成された第2部材とをジョイントするためのジョイント金具であって、
前記第1部材と係合可能な本体を備え、
前記本体はボルト用雌ねじ部を含み、前記本体は、前記第1部材と係合した状態で、前記ボルト用雌ねじ部に嵌め込んだ取付用ボルトで前記第1部材側へ押し付けられることによって前記第1部材に固定され、
前記本体は、第2部材を螺合する為に頭部に雌ネジ部を持ったボルトである第3部材を通すための通し穴と、通し穴を通った状態の第3部材を螺合するための雌ねじ部とをさらにさらに含む、ジョイント金具。 - 前記取付用ボルトの嵌め込み方向と第3部材の通し方向とのなす角が0度以上90度未満である、請求項1に記載のジョイント金具。
- 前記本体は、前記第1部材が押し付けられる位置に形成された凹部をさらに含む、請求項1または2に記載のジョイント金具。
- 前記凹部は第1の曲率を有する第1凹部と、前記第1の曲率よりも小さい第2の曲率を有する第2凹部とを含む、請求項3に記載のジョイント金具。
- 前記取付用ボルトの嵌め込み方向が前記第3部材の方を向くように、前記ボルト用雌ねじ部が形成されている、請求項1〜4のいずれかに記載のジョイント金具。
- 前記第3部材用雌ねじ部はナットである、請求項1〜5のいずれかに記載のジョイント金具。
Priority Applications (1)
| Application Number | Priority Date | Filing Date | Title |
|---|---|---|---|
| JP2011107664A JP2012225140A (ja) | 2011-04-20 | 2011-04-20 | セパレータジョイント金具 |
Applications Claiming Priority (1)
| Application Number | Priority Date | Filing Date | Title |
|---|---|---|---|
| JP2011107664A JP2012225140A (ja) | 2011-04-20 | 2011-04-20 | セパレータジョイント金具 |
Publications (1)
| Publication Number | Publication Date |
|---|---|
| JP2012225140A true JP2012225140A (ja) | 2012-11-15 |
Family
ID=47275604
Family Applications (1)
| Application Number | Title | Priority Date | Filing Date |
|---|---|---|---|
| JP2011107664A Withdrawn JP2012225140A (ja) | 2011-04-20 | 2011-04-20 | セパレータジョイント金具 |
Country Status (1)
| Country | Link |
|---|---|
| JP (1) | JP2012225140A (ja) |
Cited By (1)
| Publication number | Priority date | Publication date | Assignee | Title |
|---|---|---|---|---|
| JP2020066905A (ja) * | 2018-10-24 | 2020-04-30 | 株式会社イトーヨーギョー | 棒材の連結具 |
-
2011
- 2011-04-20 JP JP2011107664A patent/JP2012225140A/ja not_active Withdrawn
Cited By (2)
| Publication number | Priority date | Publication date | Assignee | Title |
|---|---|---|---|---|
| JP2020066905A (ja) * | 2018-10-24 | 2020-04-30 | 株式会社イトーヨーギョー | 棒材の連結具 |
| JP7270951B2 (ja) | 2018-10-24 | 2023-05-11 | 株式会社イトーヨーギョー | 棒材の連結具 |
Similar Documents
| Publication | Publication Date | Title |
|---|---|---|
| JP4880626B2 (ja) | ターンバックルの製造方法 | |
| JP2014020129A (ja) | 鋼矢板及び鋼矢板壁体 | |
| JP2012197643A (ja) | 鋼管併用孔あき鋼板ジベル | |
| KR101493403B1 (ko) | 철근 연결장치 | |
| JP2021179172A (ja) | 補強構造 | |
| JP2012225140A (ja) | セパレータジョイント金具 | |
| JP3165699U (ja) | タイロッド用連結具 | |
| JP6671658B2 (ja) | 固定金具 | |
| JP3970262B2 (ja) | Pc鋼材の定着具 | |
| JP2008144823A (ja) | スリーブホルダ | |
| JP3233181U (ja) | 鉄筋繋ぎ構造 | |
| JP5495993B2 (ja) | 胴縁、胴縁受部材及び下地部材 | |
| JP2011089288A (ja) | ジョイント金具 | |
| KR20200000017A (ko) | 내진용 고정 브라켓 | |
| JP5670674B2 (ja) | 鋼板連結装置 | |
| JP5528265B2 (ja) | 固定具 | |
| JP5840434B2 (ja) | 杭頭鉄筋用接続部材およびそれを用いた杭頭接合構造 | |
| KR101551130B1 (ko) | 복합말뚝의 연결부 | |
| JP2010090570A (ja) | 杭頭接合構造 | |
| JP3161090U (ja) | パイプ連結用クランプ | |
| JP2011087362A (ja) | 配線ボックス | |
| JP5395976B1 (ja) | 締めバンド用締付工具および締付方法 | |
| KR20160096780A (ko) | 거푸집용 밴드 체결구 | |
| JP4878889B2 (ja) | 補強金物 | |
| JP3163147U (ja) | 鋼材支持具 |
Legal Events
| Date | Code | Title | Description |
|---|---|---|---|
| A300 | Withdrawal of application because of no request for examination |
Free format text: JAPANESE INTERMEDIATE CODE: A300 Effective date: 20140701 |