JP2012219525A - Water purifier switching cock - Google Patents

Water purifier switching cock Download PDF

Info

Publication number
JP2012219525A
JP2012219525A JP2011087071A JP2011087071A JP2012219525A JP 2012219525 A JP2012219525 A JP 2012219525A JP 2011087071 A JP2011087071 A JP 2011087071A JP 2011087071 A JP2011087071 A JP 2011087071A JP 2012219525 A JP2012219525 A JP 2012219525A
Authority
JP
Japan
Prior art keywords
water
port
switching
cock
discharge
Prior art date
Legal status (The legal status is an assumption and is not a legal conclusion. Google has not performed a legal analysis and makes no representation as to the accuracy of the status listed.)
Pending
Application number
JP2011087071A
Other languages
Japanese (ja)
Inventor
Toru Hayakawa
徹 早川
Current Assignee (The listed assignees may be inaccurate. Google has not performed a legal analysis and makes no representation or warranty as to the accuracy of the list.)
HAYAKAWA VALVE SEISAKUSHO KK
Original Assignee
HAYAKAWA VALVE SEISAKUSHO KK
Priority date (The priority date is an assumption and is not a legal conclusion. Google has not performed a legal analysis and makes no representation as to the accuracy of the date listed.)
Filing date
Publication date
Application filed by HAYAKAWA VALVE SEISAKUSHO KK filed Critical HAYAKAWA VALVE SEISAKUSHO KK
Priority to JP2011087071A priority Critical patent/JP2012219525A/en
Priority to CN2011101883357A priority patent/CN102734502A/en
Priority to PCT/JP2011/006260 priority patent/WO2012140706A1/en
Publication of JP2012219525A publication Critical patent/JP2012219525A/en
Pending legal-status Critical Current

Links

Images

Classifications

    • FMECHANICAL ENGINEERING; LIGHTING; HEATING; WEAPONS; BLASTING
    • F16ENGINEERING ELEMENTS AND UNITS; GENERAL MEASURES FOR PRODUCING AND MAINTAINING EFFECTIVE FUNCTIONING OF MACHINES OR INSTALLATIONS; THERMAL INSULATION IN GENERAL
    • F16KVALVES; TAPS; COCKS; ACTUATING-FLOATS; DEVICES FOR VENTING OR AERATING
    • F16K11/00Multiple-way valves, e.g. mixing valves; Pipe fittings incorporating such valves
    • F16K11/02Multiple-way valves, e.g. mixing valves; Pipe fittings incorporating such valves with all movable sealing faces moving as one unit
    • F16K11/08Multiple-way valves, e.g. mixing valves; Pipe fittings incorporating such valves with all movable sealing faces moving as one unit comprising only taps or cocks
    • F16K11/085Multiple-way valves, e.g. mixing valves; Pipe fittings incorporating such valves with all movable sealing faces moving as one unit comprising only taps or cocks with cylindrical plug
    • F16K11/0853Multiple-way valves, e.g. mixing valves; Pipe fittings incorporating such valves with all movable sealing faces moving as one unit comprising only taps or cocks with cylindrical plug having all the connecting conduits situated in a single plane perpendicular to the axis of the plug
    • EFIXED CONSTRUCTIONS
    • E03WATER SUPPLY; SEWERAGE
    • E03CDOMESTIC PLUMBING INSTALLATIONS FOR FRESH WATER OR WASTE WATER; SINKS
    • E03C1/00Domestic plumbing installations for fresh water or waste water; Sinks
    • E03C1/02Plumbing installations for fresh water
    • E03C1/08Jet regulators or jet guides, e.g. anti-splash devices
    • EFIXED CONSTRUCTIONS
    • E03WATER SUPPLY; SEWERAGE
    • E03CDOMESTIC PLUMBING INSTALLATIONS FOR FRESH WATER OR WASTE WATER; SINKS
    • E03C2201/00Details, devices or methods not otherwise provided for
    • E03C2201/30Diverter valves in faucets or taps
    • EFIXED CONSTRUCTIONS
    • E03WATER SUPPLY; SEWERAGE
    • E03CDOMESTIC PLUMBING INSTALLATIONS FOR FRESH WATER OR WASTE WATER; SINKS
    • E03C2201/00Details, devices or methods not otherwise provided for
    • E03C2201/40Arrangement of water treatment devices in domestic plumbing installations

Landscapes

  • Engineering & Computer Science (AREA)
  • General Engineering & Computer Science (AREA)
  • Mechanical Engineering (AREA)
  • Health & Medical Sciences (AREA)
  • Life Sciences & Earth Sciences (AREA)
  • Hydrology & Water Resources (AREA)
  • Public Health (AREA)
  • Water Supply & Treatment (AREA)
  • Multiple-Way Valves (AREA)
  • Domestic Plumbing Installations (AREA)
  • Water Treatment By Sorption (AREA)

Abstract

PROBLEM TO BE SOLVED: To provide a switching cock which can switch between a normal water discharge, a shower water discharge and a purified water discharge, which can prevent the air causing bacterial contamination from entering with a simple structure, which demonstrates excellent water draining performance, and which can easily adjust pressures.SOLUTION: A cock body 10 has: a raw water port 11; a raw water supply port and a purified water inflow port; a purified water discharge port 14; a normal water discharge port 15; and a shower water port 16. A switching rotor 20 has: a normal water discharge path 21; a shower water discharge path 22; and a purified water discharge path 23, respectively in a circumferential direction. A pressure control valve 70 is provided in the raw water port 11 of the cock body 10, the pressure control valve 70 comprising: a base body part; an annular plate part integrated in the base body part; an annular tilting part integrated in an inner end of the annular plate part so as to tilt its tip toward a primary side of a flow channel; and a through-hole formed on the tip side of the annular tilting part.

Description

本発明は、水道の蛇口等に取り付けられて、浄水器側にも接続される浄水器用切換コックに関し、特に、浄水器からの浄水吐出と、水道水の通常吐出、及び水道水のシャワー吐出の三種類吐出が選択的に行える浄水器用切換コックに関するものである。   The present invention relates to a water purifier switching cock that is attached to a water faucet or the like and is also connected to the water purifier side, in particular, for purifying water from the purifier, normal discharge of tap water, and shower discharge of tap water. The present invention relates to a water purifier switching cock capable of selectively performing three types of discharge.

近年、水道水を浄化して所謂「おいしい水」を作り出す浄水器が種々提案されており、このような浄水器は、台所等において一般的に使用されるようになってきている。この種の浄水器は、内部にフィルターを入れておかなければならないものであるから、水道の蛇口に直接取付けるものは少なく、一般的には、例えば特許文献1に示されたような切換弁を使用して蛇口等に接続されるものである。   In recent years, various water purifiers that purify tap water to produce so-called “delicious water” have been proposed, and such water purifiers are generally used in kitchens and the like. Since this type of water purifier must have a filter inside, there are few that are directly attached to the faucet of a water supply. Generally, for example, a switching valve as shown in Patent Document 1 is used. Used to be connected to a faucet or the like.

この特許文献1に示された「浄水器用切換弁」は、「供給される原水の圧力が高くなっても一定圧力の原水を浄水器本体へ供給できるとともに、摺動状態を改善して各構成部材の破壊等が生じない浄水器用切換弁を提供する」ことを目的としてなされたものである。   The “switching valve for water purifier” disclosed in Patent Document 1 is configured to “provide a raw water with a constant pressure to the water purifier main body even when the pressure of the supplied raw water becomes high, and improve the sliding state to each configuration. It is made for the purpose of providing a water purifier switching valve that does not cause destruction of members.

この特許文献1の切換弁によれば、水道から供給される原水を、浄水器本体へ供給する浄水位置(浄水吐出)と、通過させる原水位置(通常吐出)と、シャワーとして吐出させるシャワー位置(シャワー吐出)の3状態に切換えることができて、しかも上記目的を達成することができるものと考えられる。   According to the switching valve of this patent document 1, the purified water position (purified water discharge) which supplies the raw water supplied from a water supply to a water purifier main body, the raw water position (normal discharge) to pass through, and the shower position (it discharges as a shower) It can be considered that the above-mentioned purpose can be achieved.

しかしながら、この特許文献1の切換弁は、そのコックケース(5)と、これの内部に嵌合したチェンジバルブ(17)との摺接によって切換機能を発揮させるものであるから、材料の選定を厳しく行わなければならないだけでなく、コックケース(5)やチェンジバルブ(17)の製造を相当厳格に行わなくてはならない。 However, since the switching valve of Patent Document 1 exhibits a switching function by sliding contact between the cock case (5) and the change valve (17) fitted therein, the selection of the material is required. Not only must it be done strictly, but the cockcase (5) and change valve (17) must be manufactured fairly strictly.

それだけでなく、この特許文献1の切換弁では、水道からの原水を浄水器側に単に送り込むだけのものとなっていて、浄水は当該切換弁には形成されていない別の浄水吐出から吐出させなければないらないものとなっている。この切換弁は、通常吐出とシャワー吐出が行える吐出口を有しているのであるから、これらの近傍に浄水吐出口があると便利である。 In addition, in the switching valve of this patent document 1, the raw water from a water supply is only sent to the water purifier side, and purified water is discharged from another purified water discharge not formed in the switching valve. It has become a necessity. Since this switching valve has a discharge port that can perform normal discharge and shower discharge, it is convenient if there is a purified water discharge port in the vicinity thereof.

また、一般的に、水道水中にはコックや水栓の内部部品表面に付着する種々な不純物が含まれているものであり、この不純物が内部部品に付着すると、コックや水栓の構成部品間の動きが悪くなることが知られている。特に特許文献1の切換弁のような摺接面が多い構造のものであると、水道水中の不純物によって各部の動きが悪くなり、ハンドルの操作性が非常に短時間の間に悪くなることが多い。 In general, tap water contains various impurities that adhere to the surface of internal parts of faucets and faucets. When these impurities adhere to internal parts, It is known that the movement of In particular, in the case of a structure having many sliding surfaces such as the switching valve of Patent Document 1, the movement of each part is deteriorated by impurities in tap water, and the operability of the handle is deteriorated in a very short time. Many.

さらに、一般的に、浄水吐出は常時行われるものではないから、浄水器にて浄化された浄水は、その吐出がなされるまでの間、配管内に貯めておかれるものである。この貯めておかれている浄水中に雑菌が混入して繁殖すると、浄水が浄水でなくなる。雑菌混入の最大の原因は、雑菌を含む空気が浄水中に混入することであり、この空気の混入は、上述したような各種切換弁においてよく起るものである。何故なら、切換弁において止水されると、水と入れ換わりに空気が入り込むからである。 Furthermore, generally, since the purified water discharge is not always performed, the purified water purified by the water purifier is stored in the pipe until the discharge. If miscellaneous bacteria are mixed and propagated in the stored purified water, the purified water is no longer purified water. The biggest cause of contamination is that air containing the contamination is mixed in the purified water, and this contamination of air often occurs in various switching valves as described above. This is because when water is stopped at the switching valve, air enters instead of water.

さらにまた、都市ガスや水道水等の流体は、一定の圧力で供給源から配給されてくるものであり、浄水器においては、それに最適な圧力で供給するようにしなければならない。つまり、水道水等は、比較的大きな圧力で各戸毎に供給されるものであり、その供給圧力は、各戸の使用状況にも応じて変化するものであるが、浄水器等の流体使用機器では、供給圧力が大きく低下した場合であっても機能できるようにするために、その最適圧力は供給圧力よりも低目に設定されていることが多い。 Furthermore, fluids such as city gas and tap water are distributed from a supply source at a constant pressure, and a water purifier must be supplied at an optimum pressure. In other words, tap water is supplied to each house at a relatively large pressure, and the supply pressure varies depending on the usage status of each door. The optimum pressure is often set lower than the supply pressure so that it can function even when the supply pressure is greatly reduced.

このため、一般的には、水道管路中に、供給されてきた水道水の圧力を使用機器に応じたものに低下させるための圧力調整弁を有する圧力調整弁装置が使用されている。従来の圧力調整弁装置は、ピストン弁体を一体化しておくとともに、このピストンをスプリングの弾性力によって流路中を動き得るようにして、高い圧力が加わったときにはピストンを動かして、これと一体化されている弁体によって通孔を狭くして圧力の調整や流量の調整を行うようにしたものが一般的である。なお、このような圧力調整弁装置中には逆止弁を介在させることがある。 For this reason, in general, a pressure regulating valve device having a pressure regulating valve for reducing the pressure of the supplied tap water according to the equipment used is used in the water pipe. In the conventional pressure regulating valve device, the piston valve body is integrated, and the piston can be moved in the flow path by the elastic force of the spring. When a high pressure is applied, the piston is moved and integrated with the piston valve body. In general, a through hole is narrowed by a valve body that is adjusted so as to adjust pressure and flow rate. A check valve may be interposed in such a pressure regulating valve device.

以上のような構造を有する圧力調整弁装置は、それだけで構造が複雑であり、ピストンやスプリングを収納する場所を管路中に確保しなければならない。いきおい、水道管等の管路に後付けされる別体のものとして、この圧力調整弁装置を構成しなければならず、製造も、水道管等に対する取付工事も大がかりなものとなる。 The pressure regulating valve device having the above structure is complicated in its structure, and a place for storing the piston and the spring must be secured in the pipe line. The pressure regulating valve device must be constructed as a separate component that is retrofitted to a pipeline such as a water pipe, and the manufacturing and installation work for the water pipe or the like becomes large.

特開平7−108257号公報Japanese Patent Laid-Open No. 7-108257

以上の従来技術の検討の結果、本発明者等は、この種の浄水器用切換コックにおいては、次の諸点を改良あるいは改善していかなければならないことを見出したのである。
(1)原水の通常吐出、シャワー吐出、及び浄水の吐出を蛇口の近傍で行えるようにすること。
(2)この種の浄水器用切換コックは、不純物を含む水道水等の原水の吐出方法の切換えを行なうのに使用されるものであるから、内部部品に不純物の付着があったとしても、操作性に影響を与えないようにできるだけ簡単な構造のものとして、切換え操作を長期間安定的に行えるようにすること。
(3)簡単な構造であっても、雑菌混入の原因となる空気がコック内に容易には入り込まないようにすること。
(4)通常吐出、シャワー吐出、及び浄水の吐出をした後に、吐出が直ちに停止すること(水切りがよいこと)。
(5)流体の圧力調整を簡単に行えるようにすること。
As a result of the examination of the above prior art, the present inventors have found that the following points must be improved or improved in this type of water purifier switching cock.
(1) Normal discharge of raw water, shower discharge, and discharge of purified water should be performed near the faucet.
(2) This type of water purifier switching cock is used to switch the method of discharging raw water such as tap water containing impurities. To make the switching operation stable for a long period of time with a structure that is as simple as possible without affecting the performance.
(3) Even with a simple structure, air that causes contamination is prevented from easily entering the cock.
(4) Discharge immediately stops after normal discharge, shower discharge, and clean water discharge (water draining is good).
(5) The fluid pressure should be easily adjusted.

本発明は、浄水器用切換コックにおける上記実状に鑑みてなされたもので、その解決しようとする課題は、通常吐出、シャワー吐出、及び浄水吐出の3種類の切換えを行うことができて、構造が簡単で雑菌混入の原因となる空気の侵入を防止することができ、さらには使用後の水切りが良くて、圧力調整をも簡単に行える切換コックを提供することにある。 The present invention has been made in view of the above-described actual situation in the water purifier switching cock, and the problem to be solved is that it is possible to perform three types of switching of normal discharge, shower discharge, and purified water discharge, and the structure is It is an object of the present invention to provide a switching cock that can easily prevent the entry of air that causes contamination with bacteria, and that drains well after use and can easily adjust the pressure.

以上の課題を解決するために、本発明の採った手段は、後述する実施形態の説明中で使用する符号を付して説明すると、
「コック本体10の収納空間10a内に切換回転子20を回動可能かつ液密状に収納して、この切換回転子20を切換ハンドル50の操作によって回転させることにより、コック本体10からの原水の通常吐出、シャワー吐出または浄水の吐出を選択的に行えるようにした浄水用切換コック100であって、
コック本体10を、水道の蛇口210等に接続される原水口11と、浄水器300側の給水口及び浄水口にそれぞれ接続される原水供給口12及び浄水流入口13と、この浄水流入口13の近傍に位置する浄水吐出口14と、原水口11の近傍に位置する通常吐出口15と、この通常吐出口15の周囲に位置するシャワー口16とを有したものとするとともに、
切換回転子20を、原水口11と通常吐出口15とを選択的に連通させる通常吐出通路21と、原水口11とシャワー口16とを選択的に連通させるシャワー吐出通路22と、浄水流入口13と浄水吐出口14とを選択的に連通させる浄水吐出通路23とをそれぞれ周方向に有したものとし、
さらに、コック本体10の原水口11内に、この原水口11の流路と直交する方向に収縮可能に収納されて、流路と平行な壁となる基体部71と、この基体部71の二次側に一体化された環状板部72と、この環状板部72の内端に一体化されて先端73aが流路の一次側に向けて傾斜する環状傾斜部73と、この環状傾斜部73の先端73a側に形成した通孔74とにより構成した圧力調整弁70を設けたことを特徴とする浄水器用切換コック100。」
である。
In order to solve the above problems, the means taken by the present invention will be described with reference numerals used in the description of embodiments described later.
“The switching rotor 20 is rotatably and liquid-tightly stored in the storage space 10 a of the cock body 10, and the switching rotor 20 is rotated by the operation of the switching handle 50, whereby the raw water from the cock body 10 is A water purification cock 100 that can selectively perform normal discharge, shower discharge, or discharge of purified water,
The raw water inlet 11 connected to the faucet 210 or the like of the water tap, the raw water supply inlet 12 and the purified water inlet 13 respectively connected to the water supply inlet and the purified water outlet on the water purifier 300 side, and the purified water inlet 13 And a normal water discharge port 15 located near the raw water port 11, and a shower port 16 located around the normal water discharge port 15,
The switching rotor 20 includes a normal discharge passage 21 that selectively communicates the raw water port 11 and the normal discharge port 15, a shower discharge passage 22 that selectively communicates the raw water port 11 and the shower port 16, and a purified water inlet. 13 and a purified water discharge passage 23 for selectively communicating with the purified water discharge port 14 in the circumferential direction,
Further, the base body 71 is accommodated in the raw water port 11 of the cock body 10 so as to be shrinkable in a direction orthogonal to the flow path of the raw water port 11, and a base part 71 serving as a wall parallel to the flow path is provided. An annular plate portion 72 that is integrated on the secondary side, an annular inclined portion 73 that is integrated with the inner end of the annular plate portion 72 and the tip 73a is inclined toward the primary side of the flow path, and the annular inclined portion 73. The water purifier switching cock 100 is provided with a pressure regulating valve 70 configured by a through hole 74 formed on the tip 73a side of the water purifier. "
It is.

すなわち、本発明に係る浄水器用切換コック100は、図1及び図2に示すように、水栓200の蛇口210等に対して取付具60を利用して取付けるとともに、当該浄水器用切換コック100とは別体で例えば台所用シンク内に配置される浄水器300の給水口(浄水となるべき原水が供給される入口)及び浄水口(当該浄水器300内で成生された浄水を排出する出口)に、図1及び図2に示したような接続ホース310によって接続して使用されるものである。そして、この浄水器用切換コック100は、その中に水栓200を操作して蛇口210からの水道水等を送り込んだとき、当該浄水器用切換コック100の切換ハンドル50の位置によって、通常吐出、シャワー吐出または浄水吐出を、蛇口210の近傍の一箇所で選択的に行えるようにしたものなのである。   That is, the water purifier switching cock 100 according to the present invention is attached to the faucet 210 or the like of the faucet 200 using the mounting tool 60 as shown in FIGS. Is a separate body, for example, a water supply port (an inlet to which raw water to be purified) is supplied and a water purification port (an outlet for discharging the purified water generated in the water purifier 300) disposed in a kitchen sink. ) And a connection hose 310 as shown in FIGS. 1 and 2. And when this faucet switching cock 100 operates the faucet 200 and feeds the tap water etc. from the faucet 210, the water purifier switching cock 100 is normally discharged and showered depending on the position of the switching handle 50 of the purifier switching cock 100. The discharge or the clean water discharge can be selectively performed at one place in the vicinity of the faucet 210.

そのために、この浄水器用切換コック100では、まずそのコック本体10内に切換回動子20を回動可能に収納してあり、この切換回動子20の外端に設けた切換ハンドル50の回動の操作によって、通常吐出、シャワー吐出及び浄水吐出の選択が容易に行えるようにしてある。具体的には、コック本体10は、図4の(b)に示したように、その上端に設けた原水口11を水栓200の蛇口210(通常は下方に向けて開口している)に接続することにより、軸心が横方向になる円筒状の収納空間10aを有したものとして形成してあり、この収納空間10a内にその軸心を回動中心として回動される略円柱状の切換回動子20を横方向に収納することにより、当該浄水器用切換コック100は構成されているのである。 For this purpose, in the water purifier switching cock 100, first, the switching rotator 20 is rotatably housed in the cock body 10, and the switching handle 50 provided at the outer end of the switching rotator 20 is rotated. It is possible to easily select normal discharge, shower discharge, and purified water discharge by the operation of the movement. Specifically, as shown in FIG. 4B, the cock body 10 has the raw water port 11 provided at the upper end thereof to a faucet 210 (usually opening downward) of the faucet 200. By connecting, it is formed as having a cylindrical storage space 10a whose axis is in the horizontal direction, and is substantially columnar in shape and rotated about the axis in the storage space 10a. By storing the switching rotator 20 in the lateral direction, the water purifier switching cock 100 is configured.

勿論、この浄水器用切換コック100は、切換回動子20の回動によって、通常吐出、シャワー吐出または浄水吐出の選択操作を行うものであるから、円筒状のコック本体10に、原水口11、原水供給口12、浄水流入口13、浄水吐出口14、通常吐出口15及びシャワー口16の6つの開口を形成するとともに、これらの各開口を選択的に連通させるための通常吐出通路21、シャワー吐出通路22及び浄水吐出通路23を、図5に示すように、切換回動子20側に形成してあるのである。 Of course, the water purifier switching cock 100 performs a selection operation of normal discharge, shower discharge or purified water discharge by the rotation of the switching rotator 20, so that the raw water inlet 11, The six openings of the raw water supply port 12, the purified water inlet 13, the purified water discharge port 14, the normal discharge port 15 and the shower port 16 are formed, and the normal discharge passage 21 for selectively communicating each of these openings, the shower The discharge passage 22 and the purified water discharge passage 23 are formed on the switching rotator 20 side as shown in FIG.

これらの通常吐出通路21、シャワー吐出通路22及び浄水吐出通路23による選択的連通は、次に述べる本実施形態に係る浄水器用切換コック100のように、第1球弁体41、第2球弁体42、及び、第3球弁体43を使用して行ってもよいが、コック本体10と切換回動子20との摺接によって行ってもよいものである。また、切換回動子20は、その水平方向の軸心を中心とする回動によって上記選択的連通を行わなければならないから、上記通常吐出通路21、シャワー吐出通路22及び浄水吐出通路23は、当該切換回動子20の周方向に形成しなければならないものである。 The selective communication by the normal discharge passage 21, the shower discharge passage 22 and the purified water discharge passage 23 is performed by the first ball valve body 41 and the second ball valve as in the water purifier switching cock 100 according to the present embodiment described below. The body 42 and the third ball valve body 43 may be used, but may be performed by sliding contact between the cock body 10 and the switching rotator 20. Further, since the switching rotator 20 must perform the selective communication by rotating around the horizontal axis, the normal discharge passage 21, the shower discharge passage 22, and the purified water discharge passage 23 are The switching rotator 20 must be formed in the circumferential direction.

この浄水器用切換コック100は、通常吐出通路21、シャワー吐出通路22及び浄水吐出通路23による選択的連通を、第1球弁体41、第2球弁体42、及び、第3球弁体43によって行うと、図8及び図3に示すように、これらが、通常弁座31、シャワー弁座32、浄水弁座33にそれぞれ着座して弁孔を閉じるから、水切りが非常に効率的に行われて、通常吐出通路21、シャワー吐出通路22あるいは浄水吐出通路23からの水は完全に止められるのである。何故なら、通常弁座31、シャワー弁座32、及び浄水弁座33は、弁孔を中心にした皿状の座面を有していて、この座面上に、第1球弁体41、第2球弁体42、及び、第3球弁体43gさそれぞれ重力によって当接するからである。 In the water purifier switching cock 100, selective communication through the normal discharge passage 21, the shower discharge passage 22, and the purified water discharge passage 23 is performed using a first ball valve body 41, a second ball valve body 42, and a third ball valve body 43. As shown in FIGS. 8 and 3, these seats are normally seated on the valve seat 31, the shower valve seat 32, and the water purification valve seat 33, respectively, and the valve holes are closed, so that draining is performed very efficiently. Thus, the water from the normal discharge passage 21, the shower discharge passage 22 or the purified water discharge passage 23 is completely stopped. This is because the normal valve seat 31, the shower valve seat 32, and the water purification valve seat 33 have a dish-shaped seat surface centered on the valve hole, and the first ball valve body 41, This is because the second ball valve body 42 and the third ball valve body 43g contact each other by gravity.

なお、この浄水器用切換コック100においては、そのコック本体10の軸心が横方向に位置する収納空間10a内に、横方向に配置される切換回動子20を、当該切換回動子20の周方向に設けた円環状のパッキング27を介して回動可能に収納したから、コック本体10と切換回転子20との摺接は、円環状の線としての各パッキング27を中心にしてなされることになる。そして、各パッキング27が円環状のものであるとともに、これらのパッキング27の間に上記通常吐出通路21、シャワー吐出通路22及び浄水吐出通路23が切換回転子20の外周の周方向に円環状に位置しているから、浄水吐出通路23が他の通路と完全に区画されており、水道水が浄水中に混入することもない。 In the water purifier switching cock 100, the switching rotator 20 disposed in the lateral direction is placed in the storage space 10a in which the axial center of the cock body 10 is positioned in the lateral direction. Since it is accommodated so as to be rotatable through an annular packing 27 provided in the circumferential direction, the sliding contact between the cock main body 10 and the switching rotor 20 is made around each packing 27 as an annular line. It will be. Each packing 27 has an annular shape, and the normal discharge passage 21, the shower discharge passage 22, and the purified water discharge passage 23 are annularly formed between the packings 27 in the circumferential direction of the outer periphery of the switching rotor 20. Since it is located, the purified water discharge passage 23 is completely separated from other passages, and the tap water is not mixed into the purified water.

さて、この圧力調整弁装置100を構成する圧力調整弁70は、合成ゴム等の弾性材によって一体的に形成したものであって、例えば図3に示すように、原水口11内に収納されるものである。そして、通常状態(何等の力も加えない状態)では、図6の(a)及び(b)に示すような略円板状のものである。 Now, the pressure regulating valve 70 constituting the pressure regulating valve device 100 is integrally formed of an elastic material such as synthetic rubber, and is housed in the raw water inlet 11 as shown in FIG. 3, for example. Is. In a normal state (a state in which no force is applied), it is a substantially disk shape as shown in FIGS. 6 (a) and 6 (b).

この圧力調整弁70を介して原水口11内に流体(水道水)が通されれば、図6の(c)に示すように、その上流側の圧力が環状板部72及び環状傾斜部73の図示上面側にかかることになる。この水道圧力が、圧力調整弁70を構成している弾性材の弾性変形範囲を越えないものであれば、図6の(b)に示すように、環状板部72や環状傾斜部73は何等変化しない。このときの、環状傾斜部73の先端部73aによって形成された通孔74の直径をD1とすると、このD1も変化しない。 When fluid (tap water) is passed through the raw water port 11 through the pressure regulating valve 70, the upstream pressure is changed to the annular plate portion 72 and the annular inclined portion 73 as shown in FIG. This is applied to the upper side of the figure. If this water pressure does not exceed the elastic deformation range of the elastic material constituting the pressure regulating valve 70, as shown in FIG. 6B, the annular plate portion 72 and the annular inclined portion 73 are nothing. It does not change. In this case, when the diameter of the through hole 74 formed by the tip portion 73a of the inclined annular portion 73 and D 1, the D 1 does not change.

水道水の圧力がある範囲を越えると、この圧力を受けている環状傾斜部73は、図6の(c)に示すように、弾性変形をすることになりる。すなわち、文字通り傾斜状態にあった環状傾斜部73が、原水口11中を流れる水道水の圧力により押圧され、偏平に近い状態にまで変形するのである。このとき、圧力調整弁70の基体部71は外側に僅かに膨らむが、環状板部72は原水口11側に支持されているため変形しない。 When the tap water pressure exceeds a certain range, the annular inclined portion 73 receiving the pressure is elastically deformed as shown in FIG. That is, the annular inclined portion 73 that is literally in an inclined state is pressed by the pressure of tap water flowing through the raw water inlet 11 and deformed to a state close to flatness. At this time, the base portion 71 of the pressure regulating valve 70 slightly bulges outward, but the annular plate portion 72 is not deformed because it is supported on the raw water inlet 11 side.

以上の結果、偏平になった環状傾斜部73の先端部73aによる通孔74の直径は、図6の(c)中に示したD2となり、このD2<D1の関係となる。つまり、水道水の圧力により押し潰された環状傾斜部73によって、通孔74の直径が少し小さくなり、二次側に流れる水道水の圧力を小さくするとともに、それに応じて流水量を少なくするのである。 As a result, the diameter of the through-hole 74 by the tip 73a of the annular inclined portion 73 that has become flat becomes D 2 shown in FIG. 6C, and this relationship D 2 <D 1 is satisfied. That is, the diameter of the through hole 74 is slightly reduced by the annular inclined portion 73 crushed by the pressure of the tap water, the pressure of the tap water flowing to the secondary side is reduced, and the amount of flowing water is reduced accordingly. is there.

原水口11の二次側には、浄水器300が取付けられるのであるが、一般には浄水器300は、その中を水道水がゆるやかに流れることによってその浄水機能を十分発揮することができるものである。つまり、余り高い圧力、あるいは所定以上の量の水を供給しても、浄水器300はその浄水機能を十分に発揮しないのであるが、この圧力調整弁70を浄水器300の一次側に配置することによってそのような問題がなくなるのである。 Although the water purifier 300 is attached to the secondary side of the raw water inlet 11, in general, the water purifier 300 can sufficiently exhibit its water purifying function by flowing tap water gently through it. is there. That is, even if a too high pressure or a predetermined amount or more of water is supplied, the water purifier 300 does not sufficiently perform its water purifying function, but the pressure regulating valve 70 is disposed on the primary side of the water purifier 300. This eliminates such a problem.

また、この圧力調整弁70によれば、浄水器300への供給流体、例えば水道水の圧力を適宜なものに調整するのであるから、言わば余分な水道水を送り込むことがない。言わば、この圧力調整弁70は、節水対策を講じたものとなるのである。 Further, according to the pressure adjusting valve 70, the pressure of the fluid supplied to the water purifier 300, for example, tap water, is adjusted to an appropriate pressure, so that no extra tap water is sent in. In other words, the pressure regulating valve 70 is a measure for saving water.

そして、この圧力調整弁70は、図6に示すように、円環状の小さなものであるため、これを原水口11中に収納することを簡単に行えることは言うまでもなく、原水口11そのものの構造を非常にシンプルにすることができるのである。 And since this pressure regulating valve 70 is a small annular | circular shaped thing as shown in FIG. 6, it cannot be overemphasized that this can be easily accommodated in the raw water inlet 11, and the structure of the raw water inlet 11 itself. Can be very simple.

なお、この圧力調整弁70を構成している圧力調整弁70は、環状傾斜部73を、基体部71に囲まれた範囲内のものとしたことによって、外枠を構成している円環状の基体部71から突出する部分がなく、原水口11内に対する納まりを良好にできる。 The pressure regulating valve 70 constituting the pressure regulating valve 70 has an annular inclined portion 73 within a range surrounded by the base portion 71, so that the annular regulating portion constituting the outer frame is formed. There is no part which protrudes from the base part 71, and the accommodation with respect to the inside of the raw water inlet 11 can be made favorable.

従って、本発明に係る浄水器用切換コック100においては、水道水中の不純物がパッキング27等に付着したとしても、切換回転子20の回動操作を長期間安定して行えるのであり、浄水の漏れは勿論のこと、浄水中への水道水の混入も長期間なく、さらには使用後の水切りが良くて、圧力調整をも簡単に行えるのである。 Therefore, in the water purifier switching cock 100 according to the present invention, even if impurities in the tap water adhere to the packing 27 and the like, the rotation operation of the switching rotor 20 can be stably performed for a long period of time, Of course, there is no mixing of tap water into the clean water for a long period of time, and the drainage after use is good and the pressure can be easily adjusted.

また、以上のように構成した本発明に係る浄水器用切換コック100では、通常吐出、シャワー吐出または浄水吐出の3種類の吐出を蛇口210の近傍で行うことができるのであり、原水口11等の6つの開口を有するコック本体10内に通常吐出通路21、シャワー吐出通路22及び浄水吐出通路23を有する切換回動子20を回動可能に収納して構成できるから、その全体構造を非常に簡単なものとすることができ、コンパクトなものとなっているのである。 Moreover, in the water purifier switching cock 100 according to the present invention configured as described above, normal discharge, shower discharge, or purified water discharge can be performed in the vicinity of the faucet 210. Since the switching rotator 20 having the normal discharge passage 21, the shower discharge passage 22 and the purified water discharge passage 23 can be rotatably accommodated in the cock body 10 having six openings, the overall structure is very simple. It can be made into a compact one.

以上、説明した通り、本発明においては、
「コック本体10の収納空間10a内に切換回転子20を回動可能かつ液密状に収納して、この切換回転子20を切換ハンドル50の操作によって回転させることにより、コック本体10からの原水の通常吐出、シャワー吐出または浄水の吐出を選択的に行えるようにした浄水用切換コック100であって、
コック本体10を、水道の蛇口210等に接続される原水口11と、浄水器300側の給水口及び浄水口にそれぞれ接続される原水供給口12及び浄水流入口13と、この浄水流入口13の近傍に位置する浄水吐出口14と、原水口11の近傍に位置する通常吐出口15と、この通常吐出口15の周囲に位置するシャワー口16とを有したものとするとともに、
切換回転子20を、原水口11と通常吐出口15とを選択的に連通させる通常吐出通路21と、原水口11とシャワー口16とを選択的に連通させるシャワー吐出通路22と、浄水流入口13と浄水吐出口14とを選択的に連通させる浄水吐出通路23とをそれぞれ周方向に有したものとし、
さらに、コック本体10の原水口11内に、この原水口11の流路と直交する方向に収縮可能に収納されて、流路と平行な壁となる基体部71と、この基体部71の二次側に一体化された環状板部72と、この環状板部72の内端に一体化されて先端73aが流路の一次側に向けて傾斜する環状傾斜部73と、この環状傾斜部73の先端73a側に形成した通孔74とにより構成した圧力調整弁70を設けたこと」
にその構成上の特徴があり、これにより、通常吐出、シャワー吐出、及び浄水吐出の3種類の切換えを行うことができて、構造が簡単で雑菌混入の原因となる空気の侵入を防止することができ、さらには使用後の水切りが良くて、圧力調整をも簡単に行える切換コック100を提供することができるのである。
As described above, in the present invention,
“The switching rotor 20 is rotatably and liquid-tightly stored in the storage space 10 a of the cock body 10, and the switching rotor 20 is rotated by the operation of the switching handle 50, whereby the raw water from the cock body 10 is A water purification cock 100 that can selectively perform normal discharge, shower discharge, or discharge of purified water,
The raw water inlet 11 connected to the faucet 210 or the like of the water tap, the raw water supply inlet 12 and the purified water inlet 13 respectively connected to the water supply inlet and the purified water outlet on the water purifier 300 side, and the purified water inlet 13 And a normal water discharge port 15 located near the raw water port 11, and a shower port 16 located around the normal water discharge port 15,
The switching rotor 20 includes a normal discharge passage 21 that selectively communicates the raw water port 11 and the normal discharge port 15, a shower discharge passage 22 that selectively communicates the raw water port 11 and the shower port 16, and a purified water inlet. 13 and a purified water discharge passage 23 for selectively communicating with the purified water discharge port 14 in the circumferential direction,
Further, the base body 71 is accommodated in the raw water port 11 of the cock body 10 so as to be shrinkable in a direction orthogonal to the flow path of the raw water port 11, and a base part 71 serving as a wall parallel to the flow path is provided. An annular plate portion 72 that is integrated on the secondary side, an annular inclined portion 73 that is integrated with the inner end of the annular plate portion 72 and the tip 73a is inclined toward the primary side of the flow path, and the annular inclined portion 73. Provided with a pressure regulating valve 70 constituted by a through hole 74 formed on the tip 73a side "
There is a feature in the structure, and by this, it is possible to perform three types of switching, normal discharge, shower discharge, and purified water discharge, and the structure is simple and prevents intrusion of air that causes contamination with bacteria. In addition, it is possible to provide the switching cock 100 which can be drained after use and can easily adjust the pressure.

本発明の浄水器用切換コックを水栓の蛇口に接続し、この浄水器用切換コックに浄水器を接続した状態を示す斜視図である。It is a perspective view which shows the state which connected the switching cock for water purifiers of this invention to the faucet of the faucet, and connected the water purifier to this switching cock for water purifiers. 同浄水器用切換コックの背面側に浄水器からの接続ホースを接続しようとしている状態を示す斜視図である。It is a perspective view which shows the state which is going to connect the connection hose from a water purifier to the back side of the switching cock for the water purifiers. 通常吐出時の浄水器用切換コックの拡大縦断面図である。It is an expansion longitudinal cross-sectional view of the switching cock for water purifiers at the time of normal discharge. 本発明に係る浄水器用切換コックを構成しているコック本体を示すもので、(a)は平面図、(b)は縦断面図、(c)は座面図である。The cock main body which comprises the switching cock for water purifiers which concerns on this invention is shown, (a) is a top view, (b) is a longitudinal cross-sectional view, (c) is a seat surface figure. 同浄水器用切換コックを構成している切換回動子を示すもので、(a)は平面図、(b)は右側面図、(c)は正面図、(d)は(c)中の3−3線に沿ってみた断面図、(e)は(c)中の4−4線に沿ってみた横断面図である。The switching rotator which comprises the switching cock for water purifiers is shown, (a) is a top view, (b) is a right view, (c) is a front view, (d) is in (c). Sectional drawing seen along line 3-3, (e) is a transverse sectional view seen along line 4-4 in (c). 本発明に係る浄水器用切換コックを構成する圧力調整弁を示すもので、(a)は圧力調整弁の斜視図、(b)は圧力調整弁に圧力が掛かっていないときの断面図、(c)は圧力調整弁に高い圧力が掛かっているときの断面図である。The pressure control valve which comprises the switching cock for water purifiers which concerns on this invention is shown, (a) is a perspective view of a pressure control valve, (b) is sectional drawing when the pressure is not applied to a pressure control valve, (c) ) Is a cross-sectional view when a high pressure is applied to the pressure regulating valve. シャワー吐出時の浄水器用切換コックの縦断面図である。It is a longitudinal cross-sectional view of the switching cock for water purifiers at the time of shower discharge. 浄水吐出時の浄水器用切換コックの縦断面図である。It is a longitudinal cross-sectional view of the switching cock for water purifiers at the time of water discharge. 通常吐出時の浄水器用切換コックの横断面図である。It is a cross-sectional view of the water purifier switching cock during normal discharge. シャワー吐出時の浄水器用切換コックの横断面図である。It is a cross-sectional view of the water purifier switching cock at the time of shower discharge. 浄水吐出時の浄水器用切換コックの横断面図である。It is a cross-sectional view of the water purifier switching cock when water is discharged.

以上のように構成した本発明を、図面に示した実施の形態である浄水器用切換コック100について説明する。   The water purifier switching cock 100 according to the embodiment of the present invention configured as described above will be described.

図1には、本発明に係る浄水器用切換コック100を水栓200の蛇口210に取り付けて使用する状態が示してあり、この浄水器用切換コック100には、これとは別体でしかもシンク内等の別の場所に設置される浄水器300に、2本の接続ホース310を介して接続されるものである。そのために、この浄水器用切換コック100を構成しているコック本体10の背面側には、図2に示したように、原水供給口12と浄水流入口13とが突出形成してあり、これらの原水供給口12及び浄水流入口13には接続ホース310がそれぞれ連接され、各接続ホース310の他端は、図1にも示したように、浄水器300の給水口及び浄水口にそれぞれ接続されるものである。 FIG. 1 shows a state in which the water purifier switching cock 100 according to the present invention is used by being attached to the faucet 210 of the faucet 200. The water purifier switching cock 100 is separate from the above and further in the sink. It connects with the water purifier 300 installed in other places, such as via the two connection hoses 310. Therefore, as shown in FIG. 2, the raw | natural water supply port 12 and the purified water inflow port 13 are protrudingly formed in the back side of the cock main body 10 which comprises this water purifier switching cock 100, These A connection hose 310 is connected to each of the raw water supply port 12 and the purified water inlet 13, and the other end of each connection hose 310 is connected to a water supply port and a water purification port of the water purifier 300 as shown in FIG. Is.

この浄水器用切換コック100の蛇口210に対する接続は、例えば図3に示したように、浄水器用切換コック100を構成しているコック本体10の上端に形成してある原水口11に取付具60を取付けておいて、この取付具60を介して行えるようにしてある。勿論、蛇口210の形状は様々であるため、この蛇口210の形状に応じた取付具60が用意されていて、どのような蛇口210に対しても当該浄水器用切換コック100の取付けが行えるようになっている。 For example, as shown in FIG. 3, the water purifier switching cock 100 is connected to the faucet 210 by attaching a fixture 60 to the raw water spout 11 formed at the upper end of the cock main body 10 constituting the water purifier switching cock 100. It can be installed via the fixture 60. Of course, since the shape of the faucet 210 is various, a fixture 60 corresponding to the shape of the faucet 210 is prepared so that the water purifier switching cock 100 can be attached to any faucet 210. It has become.

このようにすることによって、当該浄水器用切換コック100のコック本体10は、その円柱状の収納空間10aの軸心が略水平状に配置されることになるのである。この収納空間10a内に、後述する切換回動子20を稼働自在に収納すれば、当該切換回動子20もその軸心が略水平状になるように配置されることになるものである。 By doing in this way, as for the cock main body 10 of the said switching cock 100 for water purifiers, the axial center of the cylindrical storage space 10a will be arrange | positioned substantially horizontal. If a switching rotator 20 described later is movably stored in the storage space 10a, the switching rotator 20 is also arranged so that its axis is substantially horizontal.

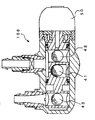
さて、この浄水器用切換コック100は、外観が図1及び図2に示したようなコック本体10と、このコック本体10に略水平状に収納支持される切換回動子20と、この切換回動子20の外端(本実施形態では図3に示したように右端)に一体化される切換ハンドル50とを基本構成部としているものである。 Now, the water purifier switching cock 100 has an external appearance of the cock main body 10 as shown in FIGS. 1 and 2, the switching rotor 20 accommodated and supported in a substantially horizontal shape by the cock main body 10, and the switching circuit. A switching handle 50 integrated with an outer end of the moving element 20 (right end as shown in FIG. 3 in this embodiment) is a basic component.

コック本体10は、図4に示すように、切換回動子20を収納するための横方向の円柱状の空間を有した円筒状のものであり、水道の蛇口210等に接続される原水口11と、浄水器300側の給水口及び浄水口にそれぞれ接続される原水供給口12及び浄水流入口13と、この浄水流入口13の近傍に位置する浄水吐出口14と、原水口11の近傍に位置する通常吐出口と15、この通常吐出口15の周囲に位置するシャワー口16とを有しているものである。 As shown in FIG. 4, the cock body 10 has a cylindrical shape having a horizontal columnar space for accommodating the switching rotator 20, and is a raw water inlet connected to a tap faucet 210 or the like. 11, the raw water supply port 12 and the purified water inlet 13 respectively connected to the water supply port and the purified water inlet on the water purifier 300 side, the purified water discharge port 14 located in the vicinity of the purified water inlet 13, and the vicinity of the raw water port 11 A normal discharge port 15 and a shower port 16 positioned around the normal discharge port 15.

コック本体10の原水供給口12は、図1にも示したように、接続ホース310を介して浄水器300に接続されるものであり、例えば、図9及び図10に示したように、原水口11に常に連通しているものである。従って、この原水供給口12を介して浄水器300側に異常圧力の原水が供給されたり、逆に浄水器300側の原水がコック本体10内に逆流したりする可能性があるが、本実施形態の浄水器用切換コック100では、図9あるいは図10に示したように、この原水供給口12内に定量栓12aを設けることにより、そのような問題が生じないようにしてある。勿論、コック本体10の通常吐出口15内には、図3に示したように、整流金具15aを収納するようにしてあり、通常吐出が水の飛散を伴わないで行えるようにしてある。この整流金具15aと同様なものが、浄水吐出口14内にも設けてある。 As shown in FIG. 1, the raw water supply port 12 of the cock body 10 is connected to the water purifier 300 via the connection hose 310. For example, as shown in FIGS. It is always in communication with the water inlet 11. Therefore, there is a possibility that the raw water at the abnormal pressure is supplied to the water purifier 300 side through the raw water supply port 12 or the raw water on the water purifier 300 side flows back into the cock body 10. In the water purifier switching cock 100 of the embodiment, as shown in FIG. 9 or FIG. 10, such a problem is prevented by providing a metering stopper 12 a in the raw water supply port 12. Of course, as shown in FIG. 3, the rectifying metal fitting 15a is accommodated in the normal discharge port 15 of the cock body 10, so that normal discharge can be performed without scattering of water. The same rectifying metal fitting 15 a is also provided in the purified water discharge port 14.

コック本体10内に回動可能に収納される切換回動子20は、図5に示したようなものであり、原水口11と通常吐出口15とを選択的に連通させる通常吐出通路21と、原水口11とシャワー口16とを選択的に連通させるシャワー吐出通路22と、浄水流入口13と浄水吐出口14とを選択的に連通させる浄水吐出通路23とをそれぞれ周方向に有したものである。勿論、この切換回動子20はコック本体10内に液密的に収納されて、横方向の軸心を中心に回動されるものであるから、シャワー吐出通路22の右側及び通常吐出通路21と浄水吐出通路23との間には、円環状、つまりリング状のパッキング27を収納するための円環状の凹溝が形成してある。 The switching rotator 20 rotatably accommodated in the cock body 10 is as shown in FIG. 5, and includes a normal discharge passage 21 that selectively communicates the raw water port 11 and the normal discharge port 15. A shower discharge passage 22 that selectively communicates the raw water port 11 and the shower port 16 and a purified water discharge passage 23 that selectively communicates the purified water inlet 13 and the purified water discharge port 14 in the circumferential direction. It is. Of course, the switching rotator 20 is liquid-tightly accommodated in the cock body 10 and is rotated about the lateral axis, so that the right side of the shower discharge passage 22 and the normal discharge passage 21 are provided. An annular groove for accommodating the ring-shaped packing 27 is formed between the water and the purified water discharge passage 23.

この切換回動子20をコック本体10内に収納したときには、図3に示したように、各円環状のパッキング27により、シャワー吐出通路22の右側及び通常吐出通路21と浄水吐出通路23との間シールが、特に周方向について軽いトルクで行える状態でなされるものである。 When the switching rotator 20 is housed in the cock body 10, the right side of the shower discharge passage 22 and the normal discharge passage 21 and the purified water discharge passage 23 are provided by the annular packing 27 as shown in FIG. 3. The intermediate seal is performed in a state where it can be performed with a light torque particularly in the circumferential direction.

また、この切換回動子20は、その右端に取付けたコック本体10内にて回動されたとき、各球弁体41〜43を各弁座31〜33からすくい上げながら引き上げるものでもあるから、各吐出通路21〜23内に引き上げ部24〜26をそれぞれ形成したものである。各引き上げ部24〜26は、切換回動子20を図5の(b)に示したように、一端側からみたとき円柱状のものとなるように構成する必要があるから、それに応じた形状のものとされるのであるが、その具体的形状構成は図5の(a)、(c)及び(e)に示してある。 In addition, when the switching rotator 20 is rotated in the cock body 10 attached to the right end thereof, it also lifts the ball valve bodies 41 to 43 while scooping them up from the valve seats 31 to 33. Lifting portions 24 to 26 are formed in the discharge passages 21 to 23, respectively. Each of the lifting portions 24 to 26 needs to be configured to have a cylindrical shape when viewed from one end side, as shown in FIG. The specific configuration is shown in FIGS. 5 (a), 5 (c) and 5 (e).

そして、コック本体10の浄水吐出口14、通常吐出口15、及びシャワー口16の直上には、弁座31〜33がそれぞれ配置してあって、本実施形態では、切換回動子20上が2本のパッキング27によって上述したように区画されているため、通常弁座31とシャワー弁座32とは一体的に形成してあるが、これらと浄水弁座33とは別体に形成してある。勿論、各弁座31〜33の弁孔31a32a及び33aは、各球弁体41〜43を完全に受けて閉止されるように円形のものとしてある。 And the valve seats 31-33 are each arrange | positioned just above the purified water discharge port 14, the normal discharge port 15, and the shower port 16 of the cock main body 10, and in this embodiment, on the switching rotator 20 is. Since it is divided as described above by the two packings 27, the normal valve seat 31 and the shower valve seat 32 are integrally formed, but these and the water purification valve seat 33 are formed separately. is there. Of course, the valve holes 31a32a and 33a of the valve seats 31 to 33 are circular so as to be completely received and closed by the ball valve bodies 41 to 43, respectively.

換言すれば、この浄水器用切換コック100は、通常吐出口15、シャワー口16及び浄水吐出口14を鉛直下方に開口するものとするとともに、これら通常吐出口15、シャワー口16、及び浄水吐出口14の直上に弁座31・32・33をそれぞれ設け、切換回転子20の各吐出通路21・22・23内に球弁体41・42・43を転動自在に収納し、これらの各球弁体41・42・43が各弁座31・32・33上に自重によって載置されたとき当該弁座の弁口を穿ぐようにするとともに、切換回転子20の各吐出通路21・22・23内に該当する球弁体41・42・43を各弁座31・32・33から選択的に引き上げる引き上げ部24・25・26を形成したものなのである。 In other words, the water purifier switching cock 100 opens the normal discharge port 15, the shower port 16, and the purified water discharge port 14 vertically downward, and the normal discharge port 15, the shower port 16, and the purified water discharge port. Valve seats 31, 32, and 33 are provided immediately above 14, and ball valve bodies 41, 42, and 43 are rotatably accommodated in the discharge passages 21, 22, and 23 of the switching rotor 20. When the valve bodies 41, 42, 43 are placed on the valve seats 31, 32, 33 by their own weights, the valve ports of the valve seats are pierced and the discharge passages 21, 22 of the switching rotor 20. A lifting portion 24, 25, and 26 that selectively lifts the corresponding ball valve body 41, 42, and 43 from the valve seats 31, 32, and 33 is formed in 23.

本実施形態における各球弁体41〜43は、合成ゴムを材料として、少なくとも表面が軟質なものとなるようにしてある。その理由は、これら各球弁体41〜43はその自重によってのみ各弁座31〜33上に載置されるものであり、そのときに各弁孔31a、32aまたは33aの閉止を確実に行えるようにするためである。同様な理由で、各弁座31〜33も、比較的軟質な合成樹脂を材料として形成してある。 Each ball valve body 41 to 43 in the present embodiment is made of synthetic rubber as a material so that at least the surface is soft. The reason is that these ball valve elements 41 to 43 are placed on the valve seats 31 to 33 only by their own weights, and at that time, the valve holes 31a, 32a or 33a can be reliably closed. It is for doing so. For the same reason, each of the valve seats 31 to 33 is also made of a relatively soft synthetic resin.

すなわち、この浄水器用切換コック100では、通常吐出、シャワー吐出及び浄水吐出の選択吐出を、切換回動子20側の通常吐出通路21、シャワー吐出通路22及び浄水吐出通路23内にそれぞれ収納した第1球弁体41、第2球弁体42及び第3球弁体43によって行うようにしたことである。そして、これらの第1球弁体41、第2球弁体42及び第3球弁体43による通路の遮断を、その各自重により効果的に行えるようにするため、浄水吐出口14、通常吐出口15及びシャワー口16を下方に開口させるとともに、その浄水弁座33、通常弁座31及びシャワー弁座32の各弁口を水平状態に開口させて、これら各開口(弁口)の各第1球弁体41、第2球弁体42及び第3球弁体43による閉止を確実に行えるようにしたものである。 That is, in this water purifier switching cock 100, the normal discharge, the shower discharge and the selective discharge of the purified water discharge are respectively stored in the normal discharge passage 21, the shower discharge passage 22 and the purified water discharge passage 23 on the switching rotator 20 side. This is performed by the one ball valve body 41, the second ball valve body 42, and the third ball valve body 43. In order to effectively block the passage by the first ball valve body 41, the second ball valve body 42, and the third ball valve body 43 by their own weights, the purified water discharge port 14, the normal discharge The outlet 15 and the shower port 16 are opened downward, and the water purifying valve seat 33, the normal valve seat 31 and the shower valve seat 32 are opened in a horizontal state, and each of these openings (valve ports) is opened. The one ball valve body 41, the second ball valve body 42 and the third ball valve body 43 can be reliably closed.

勿論、第1球弁体41、第2球弁体42及び第3球弁体43による閉止を行わなくてもよい場合を確保するために、つまり浄水吐出口14、通常吐出口15またはシャワー口16をそれぞれ開口させる必要がある場合には、これら第1球弁体41、第2球弁体42または第3球弁体43を各浄水弁座33、通常弁座31またはシャワー弁座32から引き上げなければならないが、それを行う第1引き上げ部24、第2引き上げ部25及び第3引き上げ部26を、切換回動子20側の通常吐出通路21、シャワー吐出通路22及び浄水吐出通路23内にそれぞれ形成してあるのである。 Of course, in order to secure the case where the first ball valve body 41, the second ball valve body 42 and the third ball valve body 43 do not have to be closed, that is, the purified water discharge port 14, the normal discharge port 15 or the shower port. When it is necessary to open 16 respectively, the first ball valve body 41, the second ball valve body 42 or the third ball valve body 43 is removed from each water purification valve seat 33, normal valve seat 31 or shower valve seat 32. The first pulling portion 24, the second pulling portion 25, and the third pulling portion 26 that perform the pulling are performed in the normal discharge passage 21, the shower discharge passage 22, and the purified water discharge passage 23 on the switching rotator 20 side. Are formed respectively.

そして、この浄水器用切換コック100を構成するコック本体10の上部に形成してある原水口11には、図3、図7及び図8に示したように、圧力調整弁70が収納してある。この圧力調整弁70は、原水口11に螺着される取付具60によってコック本体10に固定されており、原水口11は、変形していない圧力調整弁70の直径より僅かに大きい直径のものとしてある。   And in the raw | natural water port 11 formed in the upper part of the cock main body 10 which comprises this water purifier switching cock 100, as shown in FIG.3, FIG7 and FIG.8, the pressure regulation valve 70 is accommodated. . The pressure regulating valve 70 is fixed to the cock body 10 by a fitting 60 screwed to the raw water port 11, and the raw water port 11 has a diameter slightly larger than the diameter of the pressure regulating valve 70 that is not deformed. It is as.

この圧力調整弁70の本実施形態のものでは、シリコンゴムあるいはプロピレンゴム等の合成ゴムを材料として、直径約1.8cm、厚さ約3mmのものとして一体的に形成してある。そして、この圧力調整弁70は、図6の(a)〜(b)に示したように、収納部21内に流路と直交する方向に収縮可能に収納されて流路と平行な壁となる基体部71と、この基体部71の二次側に一体化された環状板部72と、この環状板部72の内端に一体化されて先端13aが流路の一次側に向けて傾斜する環状傾斜部73と、この環状傾斜部73の先端13a側に形成した通孔74とを備えたものとしてある。 In this embodiment of the pressure regulating valve 70, synthetic rubber such as silicon rubber or propylene rubber is used as a material, and it is integrally formed with a diameter of about 1.8 cm and a thickness of about 3 mm. And as shown to (a)-(b) of FIG. 6, this pressure regulation valve 70 is accommodated in the accommodating part 21 so that a contraction is possible in the direction orthogonal to a flow path, and the wall parallel to a flow path is carried out. A base portion 71, an annular plate portion 72 integrated on the secondary side of the base portion 71, and an inner end of the annular plate portion 72 so that the tip 13a is inclined toward the primary side of the flow path. An annular inclined portion 73 is formed, and a through hole 74 formed on the tip 13a side of the annular inclined portion 73 is provided.

また、この圧力調整弁70は、例えば図3に示したように、力が全く加えられていないときの環状傾斜部73の先端部73aが、原水口11内に完全に納まるものとして形成してある。このようにすることによって、折り曲げて原水口11内に挿入するときに、何等の支障もなく行えるのであり、交換作業が簡単に行えるものとなっている。 Further, as shown in FIG. 3, for example, the pressure regulating valve 70 is formed so that the tip 73 a of the annular inclined portion 73 when no force is applied completely fits in the raw water inlet 11. is there. By doing in this way, when bending and inserting in the raw water inlet 11, it can carry out without any trouble and can perform an exchange operation easily.

さて、この本実施形態に係る浄水器用切換コック100について、通常吐出、シャワー吐出または浄水吐出を行っている場合に、各部材がどのようになっているかを、図面を参照して説明すると、次の通りである。 Now, with regard to the water purifier switching cock 100 according to this embodiment, when normal discharge, shower discharge or purified water discharge is performed, how each member is formed will be described with reference to the drawings. It is as follows.

(通常吐出を行っている場合)
この浄水器用切換コック100において、通常吐出を行っている場合は、図9に示す通りである。すなわち、切換ハンドル50を浄水器用切換コック100の正面側に回動すると、図3に示したように、通常吐出通路21内の第1球弁体41を通常弁座31から引き上げるべく第1引き上げ部24が第1球弁体41の下側に位置するとともに、第2引き上げ部25及び第3引き上げ部26が、第2球弁体42及び第3球弁体43の上方に位置することになる。これにより、通常吐出通路21と通常吐出口15とは連通されることになり、シャワー吐出通路22とシャワー口16及び浄水吐出通路23と浄水吐出口14との各連通は第2球弁体42及び第3球弁体43によって遮断され、原水口11側に供給された原水は通常吐出通路21を通って通常吐出口15から吐出されるのである。
(When normal discharge is performed)
In this water purifier switching cock 100, when normal discharge is performed, it is as shown in FIG. That is, when the switching handle 50 is rotated to the front side of the water purifier switching cock 100, the first ball valve body 41 in the normal discharge passage 21 is first lifted to lift the normal valve seat 31 as shown in FIG. The portion 24 is located below the first ball valve body 41, and the second lifting portion 25 and the third lifting portion 26 are located above the second ball valve body 42 and the third ball valve body 43. Become. Accordingly, the normal discharge passage 21 and the normal discharge port 15 are communicated with each other, and the communication between the shower discharge passage 22 and the shower port 16 and the purified water discharge passage 23 and the purified water discharge port 14 is the second bulb valve body 42. The raw water that is blocked by the third ball valve body 43 and supplied to the raw water port 11 side is discharged from the normal discharge port 15 through the normal discharge passage 21.

この浄水器用切換コック100においては、原水口11は通常吐出通路21及びシャワー吐出通路22に常に連通しているとともに、図9から図11に示したように、原水口11は原水供給口12にも連通している。従って、水栓200の蛇口210から供給された原水の圧力は、常に通常吐出通路21及びシャワー吐出通路22に掛るとともに、原水供給口12側にもかかることになる。ところが、原水供給口12内には定量栓12aが設けてあって、かつ浄水吐出口14は開口されていないのであるから、蛇口210からの原水は浄水器300内に流れ込むことがないだけでなく、水が浄水器300から浄水器用切換コック100側に逆流することもない。 In the water purifier switching cock 100, the raw water port 11 is always in communication with the normal discharge passage 21 and the shower discharge passage 22, and the raw water port 11 is connected to the raw water supply port 12 as shown in FIGS. Also communicate. Accordingly, the pressure of the raw water supplied from the faucet 210 of the faucet 200 is always applied to the normal discharge passage 21 and the shower discharge passage 22 and also to the raw water supply port 12 side. However, since the metering tap 12a is provided in the raw water supply port 12 and the purified water discharge port 14 is not opened, the raw water from the faucet 210 does not flow into the water purifier 300. Water does not flow backward from the water purifier 300 to the water purifier switching cock 100 side.

そして、この通常吐出時、及び次に述べるシャワー吐出時において重要なことは、浄水吐出口14から空気が侵入し得ないようになっていることである。すなわち、この浄水器用切換コック100の浄水吐出口14は、下方に向けて開口しているとともに、その浄水弁座33の弁口33aは、当該浄水弁座33上に乗っている第3球弁体43によって穿がれており、しかも原水供給口12内の定量栓12aを通して蛇口210からのある程度の水圧が第3球弁体43に掛けられているから、浄水吐出通路23内の第3球弁体43は、第3引き上げ部26によって強制的に浄水弁座33から引き上げられない限り、浄水弁座33に密着した状態にある。 The important thing at the time of this normal discharge and at the time of shower discharge described below is that air cannot enter from the purified water discharge port 14. That is, the purified water discharge port 14 of the water purifier switching cock 100 opens downward, and the valve port 33a of the purified water valve seat 33 is a third ball valve riding on the purified water valve seat 33. The third ball in the clean water discharge passage 23 is pierced by the body 43 and a certain amount of water pressure from the faucet 210 is applied to the third ball valve body 43 through the metering tap 12a in the raw water supply port 12. The valve body 43 is in close contact with the water purification valve seat 33 unless the valve body 43 is forcibly pulled up from the water purification valve seat 33 by the third lifting portion 26.

従って、この通常吐出時において、浄水吐出通路23は勿論、接続ホース310や浄水器300内に使用していない浄水吐出口14から空気が侵入することはなく、浄水吐出通路23や接続ホース310内にある浄水中に雑菌が混入して繁殖することはないのである。つまり、浄水吐出口14を長期間開放しなくても、浄水吐出通路23や接続ホース310内の水中に雑菌が繁殖することはなく、所謂「腐る」こともないのである。 Accordingly, during this normal discharge, air does not enter from the purified water discharge port 14 which is not used in the connection hose 310 or the water purifier 300 as well as the purified water discharge passage 23. There is no breeding of germs in the clean water. That is, even if the purified water discharge port 14 is not opened for a long period of time, various germs do not propagate in the water in the purified water discharge passage 23 and the connection hose 310, and so-called “rot” does not occur.

(シャワー吐出を行っている場合)
この浄水器用切換コック100において、シャワー吐出を行っている状態は、図7及び図10に示してあり、実施形態の場合、切換ハンドル50は下方に向かうようになるのである。また、この時においては、図7に示したように、第2球弁体42のみがその第2引き上げ部25によって引き上げられて、シャワー弁座32から引き離された状態にあり、第1球弁体41はその通常弁座31上に、また第3球弁体43は浄水弁座33上に載置された状態にある。
(When shower discharge is performed)
In this water purifier switching cock 100, the state of shower discharge is shown in FIG. 7 and FIG. 10, and in the case of the embodiment, the switching handle 50 is directed downward. At this time, as shown in FIG. 7, only the second ball valve body 42 is lifted by the second lifting portion 25 and is separated from the shower valve seat 32. The body 41 is placed on the normal valve seat 31 and the third ball valve body 43 is placed on the water purification valve seat 33.

これにより、蛇口210が接続された原水口11は、シャワー吐出通路22を通してシャワー口16に連通しているため、シャワー口16からは原水がシャワー状態で吐出されることになるのである。 As a result, the raw water port 11 to which the faucet 210 is connected communicates with the shower port 16 through the shower discharge passage 22, so that the raw water is discharged from the shower port 16 in the shower state.

勿論、この場合も浄水吐出口14は第3球弁体43の存在によって開口していないのであるから、浄水の吐出が行われないことは当然として、原水供給口12から浄水器300に原水が供給されることもない。また、浄水吐出口14側から浄水吐出通路23や接続ホース310内に、雑菌繁殖の原因となる空気の侵入が遮断されていることは前述した通りである。 Of course, in this case as well, since the purified water discharge port 14 is not opened due to the presence of the third ball valve body 43, it is natural that the purified water is not discharged from the raw water supply port 12 to the water purifier 300. It is not supplied. In addition, as described above, the intrusion of air that causes germs breeding is blocked from the purified water discharge port 14 into the purified water discharge passage 23 and the connection hose 310.

(浄水吐出を行っている場合)
この浄水器用切換コック100において浄水吐出を行っている状態は、図8及び図11に示してあり、切換ハンドル50は、図8に示したように、上方に突出した状態に回動されている。そして、第1球弁体41及び第2球弁体42は、その自重によって通常弁座31及びシャワー弁座32を閉じており、第3球弁体43は浄水吐出通路23内に形成してある第3引き上げ部26によってその浄水弁座33から引き上げられていて、浄水吐出口14を開放状態にしている。
(When clean water is discharged)
The state in which the water purifier discharge is performed in the water purifier switching cock 100 is shown in FIG. 8 and FIG. 11, and the switching handle 50 is rotated in a state of protruding upward as shown in FIG. . The first ball valve body 41 and the second ball valve body 42 close the normal valve seat 31 and the shower valve seat 32 by their own weights, and the third ball valve body 43 is formed in the clean water discharge passage 23. The water is lifted from the water purification valve seat 33 by a certain third lifting portion 26 to open the water purification outlet 14.

従って、この場合には、原水口11から供給された蛇口210の原水は、原水供給口12の定量栓12aを通過して浄水器300内に供給されて、この浄水器300内にて原水の浄化がなされ、接続ホース310を通して浄水器用切換コック100側に還流される。そして、浄水吐出口14が開放されているのであるから、浄水器300からの浄水はこの浄水吐出口14から吐出されるのである。 Therefore, in this case, the raw water of the faucet 210 supplied from the raw water inlet 11 passes through the metering tap 12a of the raw water supply inlet 12 and is supplied into the water purifier 300, and the raw water in the water purifier 300 is supplied. Purification is performed, and the water is returned to the water purifier switching cock 100 through the connection hose 310. And since the purified water discharge port 14 is open | released, the purified water from the water purifier 300 is discharged from this purified water discharge port 14. FIG.

以上のように、この本実施形態に係る浄水器用切換コック100においては、その浄水吐出口14、通常吐出口15及びシャワー口16の選択的開閉を、通常弁座31、シャワー弁座32及び浄水弁座33上に対する各第1球弁体41、第2球弁体42及び第3球弁体43の引き上げ及び自重による載置によって行うようにしているから、例えばコック本体10と切換回動子20との摺接による開閉に比較すれば、シール構造を簡略化できて構造を簡単にすることができ、かつ耐久性の高いものとすることができるのである。 As described above, in the water purifier switching cock 100 according to this embodiment, the normal water valve outlet 31, the normal water outlet 15, and the shower port 16 are selectively opened and closed by the normal valve seat 31, the shower valve seat 32, and the purified water. Since each of the first ball valve body 41, the second ball valve body 42, and the third ball valve body 43 is lifted on the valve seat 33 and placed by its own weight, for example, the cock body 10 and the switching rotator are used. Compared with opening / closing by sliding contact with 20, the seal structure can be simplified, the structure can be simplified, and the durability can be improved.

また、この浄水器用切換コック100では、浄水吐出口14を下方に向けて開口させるとともに、その浄水弁座33を水平状のものとし、かつこの浄水弁座33の弁口33aの開閉を上記した第3球弁体43によって行うようにしたから、浄水吐出を行っていないときの空気の侵入を遮断することができるのである。 Further, in the water purifier switching cock 100, the purified water discharge port 14 is opened downward, the purified water valve seat 33 is horizontal, and the opening and closing of the valve port 33a of the purified water valve seat 33 is described above. Since it is performed by the third ball valve body 43, it is possible to block the intrusion of air when the purified water is not discharged.

100 浄水器用切換コック
10 コック本体
10a 収納空間
11 原水口
12 原水供給口
12a 定量栓
13 浄水流入口
14 浄水吐出口
15 通常吐出口
15a 整流金具
16 シャワー口
20 切換回動子
21 通常吐出通路
22 シャワー吐出通路
23 浄水吐出通路
24 第1引き上げ部
25 第2引き上げ部
26 第3引き上げ部
27 パッキング
31 通常弁座
31a 弁口
32 シャワー弁座
32a 弁口
33 浄水弁座
33a 弁口
41 第1球弁体
42 第2球弁体
43 第3球弁体
50 切換ハンドル
60 取付具
70 圧力調整弁体
71 基体部
72 環状板部
73 環状傾斜部
73a 先端部
74 通孔
200 水栓
210 蛇口
300 浄水器
310 接続ホース
100 Water Purifier Switching Cock 10 Cock Main Body 10a Storage Space 11 Raw Water Port 12 Raw Water Supply Port 12a Metering Tap 13 Purified Water Inlet 14 Purified Water Discharge Port 15 Normal Discharge Port 15a Rectifier Bracket 16 Shower Port 20 Switching Rotor 21 Normal Discharge Passage 22 Shower Discharge passage 23 Purified water discharge passage 24 First lifting portion 25 Second lifting portion 26 Third lifting portion 27 Packing 31 Normal valve seat 31a Valve port 32 Shower valve seat 32a Valve port 33 Water purification valve seat 33a Valve port 41 First ball valve 42 Second ball valve body 43 Third ball valve body 50 Switching handle 60 Mounting tool 70 Pressure adjusting valve body 71 Base part 72 Annular plate part 73 Annular inclined part 73a Tip part 74 Through hole 200 Faucet 210 Faucet 300 Water purifier 310 Connection hose

Claims (1)

コック本体10の収納空間10a内に切換回転子20を回動可能かつ液密状に収納して、この切換回転子20を切換ハンドル50の操作によって回転させることにより、コック本体10からの原水の通常吐出、シャワー吐出または浄水の吐出を選択的に行えるようにした浄水用切換コック100であって、
コック本体10を、水道の蛇口210等に接続される原水口11と、浄水器300側の給水口及び浄水口にそれぞれ接続される原水供給口12及び浄水流入口13と、この浄水流入口13の近傍に位置する浄水吐出口14と、原水口11の近傍に位置する通常吐出口15と、この通常吐出口15の周囲に位置するシャワー口16とを有したものとするとともに、
切換回転子20を、原水口11と通常吐出口15とを選択的に連通させる通常吐出通路21と、原水口11とシャワー口16とを選択的に連通させるシャワー吐出通路22と、浄水流入口13と浄水吐出口14とを選択的に連通させる浄水吐出通路23とをそれぞれ周方向に有したものとし、
さらに、コック本体10の原水口11内に、この原水口11の流路と直交する方向に収縮可能に収納されて、流路と平行な壁となる基体部71と、この基体部71の二次側に一体化された環状板部72と、この環状板部72の内端に一体化されて先端73aが流路の一次側に向けて傾斜する環状傾斜部73と、この環状傾斜部73の先端73a側に形成した通孔74とにより構成した圧力調整弁70を設けたことを特徴とする浄水器用切換コック100。
The switching rotor 20 is stored in a storage space 10a of the cock body 10 in a rotatable and liquid-tight manner, and the switching rotor 20 is rotated by operating the switching handle 50, whereby raw water from the cock body 10 is supplied. A water purification cock 100 that can selectively perform normal discharge, shower discharge or water discharge,
The raw water inlet 11 connected to the faucet 210 or the like of the water tap, the raw water supply inlet 12 and the purified water inlet 13 respectively connected to the water supply inlet and the purified water outlet on the water purifier 300 side, and the purified water inlet 13 And a normal water discharge port 15 located near the raw water port 11, and a shower port 16 located around the normal water discharge port 15,
The switching rotor 20 includes a normal discharge passage 21 that selectively communicates the raw water port 11 and the normal discharge port 15, a shower discharge passage 22 that selectively communicates the raw water port 11 and the shower port 16, and a purified water inlet. 13 and a purified water discharge passage 23 for selectively communicating with the purified water discharge port 14 in the circumferential direction,
Further, the base body 71 is accommodated in the raw water port 11 of the cock body 10 so as to be shrinkable in a direction orthogonal to the flow path of the raw water port 11, and a base part 71 serving as a wall parallel to the flow path is provided. An annular plate portion 72 that is integrated on the secondary side, an annular inclined portion 73 that is integrated with the inner end of the annular plate portion 72 and the tip 73a is inclined toward the primary side of the flow path, and the annular inclined portion 73. The water purifier switching cock 100 is provided with a pressure regulating valve 70 configured by a through hole 74 formed on the tip 73a side of the water purifier.
JP2011087071A 2011-04-11 2011-04-11 Water purifier switching cock Pending JP2012219525A (en)

Priority Applications (3)

Application Number Priority Date Filing Date Title
JP2011087071A JP2012219525A (en) 2011-04-11 2011-04-11 Water purifier switching cock
CN2011101883357A CN102734502A (en) 2011-04-11 2011-07-04 Switch cock for water purifier
PCT/JP2011/006260 WO2012140706A1 (en) 2011-04-11 2011-11-09 Switch cock for water purifier

Applications Claiming Priority (1)

Application Number Priority Date Filing Date Title
JP2011087071A JP2012219525A (en) 2011-04-11 2011-04-11 Water purifier switching cock

Publications (1)

Publication Number Publication Date
JP2012219525A true JP2012219525A (en) 2012-11-12

Family

ID=46990533

Family Applications (1)

Application Number Title Priority Date Filing Date
JP2011087071A Pending JP2012219525A (en) 2011-04-11 2011-04-11 Water purifier switching cock

Country Status (3)

Country Link
JP (1) JP2012219525A (en)
CN (1) CN102734502A (en)
WO (1) WO2012140706A1 (en)

Cited By (1)

* Cited by examiner, † Cited by third party
Publication number Priority date Publication date Assignee Title
CN106195343A (en) * 2016-08-31 2016-12-07 福建金源泉科技发展有限公司 A kind of water purifier decompression tap water knockout drum

Families Citing this family (3)

* Cited by examiner, † Cited by third party
Publication number Priority date Publication date Assignee Title
CN103836251B (en) * 2012-11-23 2017-03-29 杜也兵 The control method and handle mechanism control method of water purifier axial pressing type reversal valve
CN106195416B (en) * 2016-09-06 2018-04-17 东莞市倍益清环保科技有限公司 Water control device and integrated faucet water purifier with same
KR20180062623A (en) * 2016-12-01 2018-06-11 박영석 The separated valve for the sink

Citations (2)

* Cited by examiner, † Cited by third party
Publication number Priority date Publication date Assignee Title
JPH112343A (en) * 1997-06-16 1999-01-06 Hayakawa Valve Seisakusho:Kk Switch cock for water purifier
WO2004027298A1 (en) * 2002-09-17 2004-04-01 Hayakawa Valve Production Co., Ltd. Valve unit for selector cock and selector cock comprising it

Family Cites Families (1)

* Cited by examiner, † Cited by third party
Publication number Priority date Publication date Assignee Title
JP4226881B2 (en) * 2002-11-29 2009-02-18 株式会社早川バルブ製作所 Water discharger with flowmeter, switching cock with flowmeter, flexible water discharge pipe with flowmeter, flowmeter for water purifier, faucet with flowmeter for undersink type water purifier and flowmeter unit

Patent Citations (2)

* Cited by examiner, † Cited by third party
Publication number Priority date Publication date Assignee Title
JPH112343A (en) * 1997-06-16 1999-01-06 Hayakawa Valve Seisakusho:Kk Switch cock for water purifier
WO2004027298A1 (en) * 2002-09-17 2004-04-01 Hayakawa Valve Production Co., Ltd. Valve unit for selector cock and selector cock comprising it

Cited By (2)

* Cited by examiner, † Cited by third party
Publication number Priority date Publication date Assignee Title
CN106195343A (en) * 2016-08-31 2016-12-07 福建金源泉科技发展有限公司 A kind of water purifier decompression tap water knockout drum
CN106195343B (en) * 2016-08-31 2018-05-15 福建金源泉科技发展有限公司 A kind of water purifier leading water knockout drum of decompression

Also Published As

Publication number Publication date
CN102734502A (en) 2012-10-17
WO2012140706A1 (en) 2012-10-18

Similar Documents

Publication Publication Date Title
US8485220B2 (en) Automatic flow regulator valve
CN101932862A (en) valve assembly
US20020148516A1 (en) Ceramic disc diverter valve
US20240218936A1 (en) Ceramic valve core assembly and a self-cleaning ceramic valve core
KR101401307B1 (en) Compound pressure reducing valve
JP2012219525A (en) Water purifier switching cock
JP4648971B2 (en) Water purifier
KR101285605B1 (en) filter for water purifier
US11028942B2 (en) Fluid control valve
US10145092B2 (en) Device for preventing backflow
JP5275938B2 (en) Flow adjustment stopcock
JP3081892B2 (en) Switching cock for water purifier
JP2009287358A (en) Valve body and flow control valve
KR101179375B1 (en) Pressure - reducing valves
JPH0860712A (en) Branch pipe header
MXPA05001286A (en) Filtering seal for a fluid control valve.
AU2003213322B2 (en) Stop/check valve for plumbing use
RU2522789C1 (en) Device for liquid supply
KR200417835Y1 (en) water purifier
JP3784026B2 (en) Water saving equipment
KR200196214Y1 (en) A ball valve
JP2005002693A (en) Water saving instrument
KR20070087285A (en) water purifier
JP2006009301A (en) Water supply attachment
JP2001152494A (en) Flush faucet

Legal Events

Date Code Title Description
A621 Written request for application examination

Free format text: JAPANESE INTERMEDIATE CODE: A621

Effective date: 20131225

A131 Notification of reasons for refusal

Free format text: JAPANESE INTERMEDIATE CODE: A131

Effective date: 20150106

A02 Decision of refusal

Free format text: JAPANESE INTERMEDIATE CODE: A02

Effective date: 20150511