JP2012197640A - 洗い落し式汚物排出装置 - Google Patents

洗い落し式汚物排出装置 Download PDF

Info

Publication number
JP2012197640A
JP2012197640A JP2011063634A JP2011063634A JP2012197640A JP 2012197640 A JP2012197640 A JP 2012197640A JP 2011063634 A JP2011063634 A JP 2011063634A JP 2011063634 A JP2011063634 A JP 2011063634A JP 2012197640 A JP2012197640 A JP 2012197640A
Authority
JP
Japan
Prior art keywords
cross
sectional area
pipe
water
wash
Prior art date
Legal status (The legal status is an assumption and is not a legal conclusion. Google has not performed a legal analysis and makes no representation as to the accuracy of the status listed.)
Granted
Application number
JP2011063634A
Other languages
English (en)
Other versions
JP5835549B2 (ja
Inventor
Tomoaki Kojima
智明 小島
Shogo Nishikawa
省吾 西川
Kazuo Gyotoku
和男 行徳
Current Assignee (The listed assignees may be inaccurate. Google has not performed a legal analysis and makes no representation or warranty as to the accuracy of the list.)
Toto Ltd
Original Assignee
Toto Ltd
Priority date (The priority date is an assumption and is not a legal conclusion. Google has not performed a legal analysis and makes no representation as to the accuracy of the date listed.)
Filing date
Publication date
Application filed by Toto Ltd filed Critical Toto Ltd
Priority to JP2011063634A priority Critical patent/JP5835549B2/ja
Publication of JP2012197640A publication Critical patent/JP2012197640A/ja
Application granted granted Critical
Publication of JP5835549B2 publication Critical patent/JP5835549B2/ja
Active legal-status Critical Current
Anticipated expiration legal-status Critical

Links

Images

Landscapes

  • Sanitary Device For Flush Toilet (AREA)

Abstract

【課題】効率的な洗浄を行なうことができる洗い落し式汚物排出装置を提供する。
【解決手段】本発明は、洗い落し式汚物排出装置(汚物流し1、水洗大便器50)であり、汚物受け面12及びリム部14を備えたボウル部4と、リム吐水部20と、入口32、この入口から汚物受け面を形成する後壁の背面に沿って斜め後方に上昇する上昇管路34、この上昇管路に連設され下方に延びる下降管路36を備えた排水トラップ管路30と、を有し、上昇管路は、汚物受け面の後壁下端から上昇管路の底面38に直角に下ろした位置より下流側に沿って所定長さだけ管路の断面積が一定である断面積一定部40と、この断面積一定部の下流側の断面積が徐々に拡大する断面積拡大部42を備えている。
【選択図】図2

Description

本発明は、汚物流し及び水洗大便器等に適用される洗い落し式汚物排出装置に関する。
洗い落し式水洗大便器は、水の落差による流水作用により汚物を押し流す方式の便器であり、溜水面が狭いため、節水化が容易な便器として、広く用いられている。
また、洗い落し式汚物流しも、水洗大便器と同様なものであり、病院等で、汚物(便、嘔吐物等)を排出するために用いられている。
ここで、汚物流しは、汚物を排出する際、使用者への汚物からの感染を防止する必要があるため、溜水面を狭く且つ本体上部から低い位置に形成する必要があるので、サイホン式のものに比べて、溜水面を狭く低い位置に形成することが可能な洗い落し式のものが推奨されている。
従来の洗い落し式水洗大便器の例が、特許文献1に記載されている。特許文献1の水洗大便器は、図10に示すように、水洗大便器100の上端に設けられた給水室80から、洗浄水をリム通水路82に供給して、このリム通水路82に形成された多数の吐水孔84から洗浄水を吐水し、ボウル部86を洗浄する。次に、リム通水路82を経由して、分岐通水路88へ洗浄水を供給し、この分岐通水路88の先端に設けられた吐水口90から洗浄水を吐水する。汚物を含む洗浄水は、ボウル部86の後壁87の背面側に形成された排水トラップ管路92の入口94から流入し、排水路壁96を乗り越えて、外部へ排出するようになっている。洗い落し式水洗大便器においては、排水トラップ管路92内が満水になりサイホン作用が生じると、ボウル部86内に溜まる溜水が不足することになるので、サイホン作用が生じることを抑制するために、排水トラップ管路92の断面径をできるだけ大きく形成するようにしている。この点は、洗い落し式汚物流しも同様である。
特開2000−234374号公報
しかしながら、上述した特許文献1に示すように、洗い落し式水洗大便器において、サイホン作用が生じることを抑制するために、排水トラップ管路92の断面径をできるだけ大きく形成すると、図10に示すように、洗浄開始後、洗浄水が排水トラップ管路92の入口94から流入し、排水路壁96を乗り越える際に、排水トラップ管路92のボウル部後壁背面付近の洗浄水の一部に、渦Vを含む乱流が発生し、この乱流により、洗浄水が滑らかに排水路壁96を乗り越えるように流れなくなり、洗浄性能が低下するという問題がある。
この問題は、洗い落し式汚物流しも、同様である。そのため、本件明細書では、以下、洗い落し式水洗大便器及び洗い落し式汚物流しを総称して「洗い落し式汚物排出装置」と呼ぶ。
そこで、本発明は、従来技術の欠点を解決するためになされたものであり、洗浄水を排水トラップ管路により排出する際、上昇管路において乱流の発生を抑制することができ、さらに、サイホン作用の発生を抑制して、効率的な洗浄を行なうことができる洗い落し式汚物排出装置を提供することを目的としている。
上記の目的を達成するために、本発明は、洗浄水により本体を洗浄して汚物を排出する洗い落し式汚物排出装置であって、本体に設けられ、汚物受け面及び上縁部に位置するリム部を備えたボウル部と、リム部に洗浄水を吐水して汚物受け面を洗浄するリム吐水部と、入口と、この入口から汚物受け面を形成する後壁の背面に沿って斜め後方に上昇する上昇管路と、この上昇管路に連設され下方に延びる下降管路とを備えた排水トラップ管路と、を有し、上昇管路は、汚物受け面の後壁下端から上昇管路の底面に直角に下ろした位置より下流側に沿って所定長さだけ管路の断面積が一定である断面積一定部と、この断面積一定部の下流側の断面積が徐々に拡大する断面積拡大部を備えていることを特徴としている。
このように構成された本発明においては、リム吐水部から吐水された洗浄水により汚物受け面が洗浄され、その後、汚物を含む洗浄水が排水トラップ管路から外部に排出される。このとき、洗浄水は入口から上昇管路内に進入するが、所定長さの断面積一定部により、洗浄水が流線同一方向の滑らかな流れとなり、この状態で、乱流が生じやすいボウル部の後壁の背面付近を上昇するので、乱流の発生を防止することができ、さらに、洗浄水は、断面積一定部からその下流側にある断面積拡大部へ流れるので、サイホン作用の発生を抑制することができる。この結果、本発明によれば、洗浄性能を低下させることなく、サイホン作用の発生を抑制して、効率的な洗浄を行なうことができる。
本発明において、好ましくは、排水トラップ管路の上昇管路は、断面積拡大部が断面積一定部から屈曲部にて後方側へ屈曲し且つほぼ直線状に延びるように形成されている。
このように構成された本発明においては、排水トラップ管路の上昇管路において、断面積拡大部が断面積一定部から後方側へ屈曲し且つほぼ直線状に延びるように形成されているので、上昇管路の後端である排水トラップ管路の頂点を低くすることができる。これにより、洗浄水が上昇管路を乗り越え易くなり、下降管路へ洗浄水が流れ易くなるので、サイホン作用の発生を抑制しつつ効率的な洗浄を行なうことができる。
本発明において、好ましくは、排水トラップ管路の上昇管路の断面積一定部は、その底面が円弧状に形成され、さらに、断面積拡大部はその底面がほぼ平らな面に形成されている。
このように構成された本発明においては、排水トラップ管路において、上昇管路の断面積一定部の底面が円弧状に形成されているので、所定長さの段断面積一定部により、洗浄水が流線同一方向の滑らかな流れとなる。さらに、断面拡大部はその底面がほぼ平らな面に形成されているので、洗浄水が、断面積一定部から断面積拡大部へより流れ易くなり、これにより、サイホン作用の発生を抑制しつつ効率的な洗浄を行なうことができる。
本発明において、好ましくは、排水トラップ管路の上昇管路の断面積拡大部の屈曲部は、ボウル部の溜水面の高さ位置から20mm乃至40mm下方の高さ位置に形成されている。
このように構成された本発明においては、排水トラップ管路の上昇管路の断面積拡大部の屈曲部が、ボウル部の溜水面の高さ位置から20mm乃至40mm下方の高さ位置に形成され、これにより、排水管路内が満水化し難くなることでサイホン現象が発生することが抑制され、より洗浄水が上昇管路を乗り越え易くなり、下降管路へ洗浄水が流れ易くなるので、サイホン作用の発生を抑制しつつ効率的な洗浄を行なうことができる。
本発明において、好ましくは、更に、上記ボウル部の汚物受け面の側方部分に開口するゼット吐水口から洗浄水を吐水するゼット吐水部を有する。
このように構成された本発明においては、ゼット吐水部によりゼット吐水口から洗浄水を吐水するようにしているので、リム吐水部により吐水される洗浄水と共に汚物を効果的に攪拌することができ、その状態で、洗浄水と共に汚物が上昇管路の入口に流入し、上昇管路を乗り越え、下降管路へ洗浄水が流れるので、サイホン作用の発生を抑制しつつより効率的な洗浄を行なうことができる。
本発明の洗い落し式汚物排出装置によれば、洗浄水を排水トラップ管路により排出する際、上昇管路において乱流の発生を抑制することができ、さらに、サイホン作用の発生を抑制して、効率的な洗浄を行なうことができる。
本発明の第1実施形態による洗い落し式汚物流しを示す平面図である。 図1のII−II線に沿って見た断面図である。 図1のIII−III線に沿って見た断面図である。 図2のIV−IV線に沿って見た断面図である。 図2のV−V線に沿って見た断面図である。 図2のVI−VI線に沿って見た断面図である。 図2のVII−VII線に沿って見た断面図である。 本発明の第2実施形態による水洗大便器を示す平面図である。 図8のVIII−VIII線に沿って見た断面図である。 従来の洗い落し式水洗大便器を示す断面図である。
以下、添付図面を参照して、本発明の第1実施形態による汚物流しを説明する。この第1実施形態は、本発明による洗い落し式汚物排出装置を汚物流しに適用した例である。
図1は本発明の第1実施形態による洗い落し式汚物流しを示す平面図であり、図2は図1のII−II線に沿って見た断面図であり、図3は図1のIII−III線に沿って見た断面図である。
本発明の実施形態による汚物流し1は、後述する排水トラップ管路が床に設置された配水管(図示せず)に接続される床排水タイプの洗い落し式汚物流しである。
図1乃至図3に示すように、洗い落し式汚物流し1は、汚物流し本体2を備え、この汚物流し本体2は、表面に釉薬層が形成された陶器製であり、下部にスカート部3が形成され、上半分のうち前方にボウル部4が形成され、後方上部には導水路6が形成されている。
さらに、汚物流し本体2の後方上部には、導水路6に連通するフラッシュバルブ8が設けられている。フラッシュバルブ8は、給水管(図示せず)と連通し、フラッシュバルブ内には、給水弁(図示せず)が設けられており、操作レバー10により開閉するようになっている。本実施形態による汚物流し1においては、使用者が操作レバー10を操作すると、1回に6リットルの洗浄水が、汚物流し本体2に供給されるようになっている。本実施形態においては、フラッシュバルブ以外に貯水タンクにより洗浄水を供給するものであっても良い。
ボウル部4は、ボウル形状の汚物受け面12と、上縁部を構成するリム部14と、このリム部14の下端側に形成された棚部16と、汚物受け面12の下方に形成された溜水部18とを備えている。ここで、ボウル部4には、汚物受け面12の後方側に後壁13が設けられている。
ここで、リム部14の内周面14aは、図2及び図3に示すように、内側に向かってオーバーハングした形状となっており、後述する旋回する洗浄水が外部へ飛び出ないようになっている。さらに、リム部14の内周面14aは、汚物がボウル部4に投入された場合に、溜水部18の溜水が跳ねても使用者等にかからないような高さに設定されている。これにより、使用者等に、汚物からの感染を防止するようにしている。また、棚部16は、図2又は図3に示すように、ほぼ水平に(又は少しだけ内側に傾斜して)形成され、ボウル部4の全周に環状に形成されている。
ボウル部4の棚部16の前方から見て左側の中央部の少し後方側に、洗浄水を吐水するリム吐水口20が形成される。このリム吐水口20は、一方向(図1では反時計回りの方向)に旋回する旋回流を形成するようになっている。
さらに、図3に示すように、ボウル部4の汚物受け面12の前方から見て左側(側面)のほぼ中央に位置する部分には、ゼット吐水口22が形成されている。このゼット吐水口22は、溜水面Lの位置よりも上方に形成されている。また、ボウル部4の汚物受け面12のゼット吐水口22に隣接する部分には、ほぼ水平方向に延びる段部24が形成され、この段部24は後端部24aを備えている。ゼット吐水口22の前方側半分が、この後端部24aよりも前方側に位置している。
上述した汚物流し本体2の後方上部に形成された導水路6の前方側には、第1通水路26及び第2通水路28が分岐して接続されている。ここで、第1通水路26は、リム吐水口20に洗浄水を供給するためのものである。また、第2通水路28は、ゼット吐水口22に洗浄水を供給するためのものであり、図1乃至図3に示すように、洗浄水がボウル部4の段部24に向けて下方に噴出するような形状に形成されている。
次に、図2乃至図7により、排水トラップ管路について、詳細に説明する。図4は図2のIV−IV線に沿って見た断面図であり、図5は図2のV−V線に沿って見た断面図であり、図6は図2のVI−VI線に沿って見た断面図であり、図7は図2のVII−VII線に沿って見た断面図である。
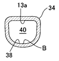
図2に示すように、洗い落し式汚物流し1は、汚物を排出するための排水トラップ管路30を備え、この排水トラップ管路30は、ボウル部4の汚物受け面12の底部に設けられた入口32と、この入口32から汚物受け面12を形成する後壁13の背面に沿って斜め後方に上昇して延びる上昇管路34と、この上昇管路34に連設され下方に延びる下降管路36と、を備えている。
図2に示すように、排水トラップ管路30の入口32は、汚物受け面12の後壁13の下端13aから垂直下方に下ろした位置に設けられ、図4に示すように、入口32の底面38の断面が円弧状に形成され、その上面である下端13aは平面状に形成されている。
図2に示すように、排水トラップ管路30の上昇管路34は、その背面が汚物受け面12の後壁13により形成され、上述したように、入口32から汚物受け面12を形成する後壁13の背面に沿って斜め後方に上昇して延びている。
この上昇管路34は、汚物受け面12の後壁13の下端13a(図2においてAで示す箇所)から上昇管路34の底面38に直角に下ろした位置Bより下流側に沿って所定の長さ50mm乃至70mmだけ管路の断面積が一定である断面積一定部40を備え、さらに、この断面積一定部40の下流側に形成され断面積が徐々に拡大する断面積拡大部42を備えている。ここで、断面積一定部40は、図2においてABCDで囲まれた領域であり、断面積拡大部42は、図2においてCEFDで囲まれた領域である。
また、図5に示すように、上昇管路34の断面積一定部40は、底面38が円弧状に形成され、上面(後壁の下端13a)は平面状に形成されている。
次に、図2に示すように、上昇管路34の断面積拡大部42は、断面積一定部40の下流端でもある屈曲部48にて後方側へ屈曲し且つほぼ直線状に延びている。また、この屈曲部48は、ボウル部4の溜水部18の溜水面(初期溜水水位)Lの位置から鉛直下方20mm乃至40mm下方の位置に形成される。
また、図6に示すように、断面積拡大部42は、底面38が平面状に形成され、上面(後壁13の背面)、同様に、平面状に形成され、断面が、ほぼ矩形形状となっている。
ここで、図2に示すように、断面積拡大部42の底面38は、その上昇角度が、断面積一定部40の底面38の上昇角度αよりも、小さい上昇角度βで後方に直線状に延びて形成されている。また、断面積拡大部42の管路断面の幅Wはほぼ一定であり、図6及び図7に示すように、高さHが徐々に大きくなるように形成されている。
このため、排水トラップ管路30の底面38の最上端38aの高さ方向位置を低くすることができる。
図2に示すように、排水トラップ管路30の下降管路は、上昇管路34の下流端に連設されており、その断面形状は、図7に示された上昇管路34の断面形状と同じであり、上昇管路34の断面積拡大部42と同様に、拡大部を形成している。
さらに、この下降管路36の下端は、排水ソケット(図示せず)を介して、床配管に接続され、汚物を含む洗浄水を外部へ排出するようになっている。なお、第1実施形態による汚物流し1は、下降管路36が、排水ソケットを介して、壁に設置された配水管に接続されるタイプのものであってもよい。
次に、上述した本発明の第1実施形態による汚物流しの作用効果を説明する。
先ず、汚物流し1内に汚物が投入された後、使用者により操作レバー10が操作されると、リム吐水口20から吐水された洗浄水により、ボウル部4の汚物受け面12が洗浄される。また、同時に、ゼット吐水口22からボウル部4の段部24に向けて洗浄水が下方に向けて噴出される。このゼット吐水口22から噴出された洗浄水は、その一部が段部24に当たり、それにより、図3に示すような、縦方向の旋回流が形成される。これにより、ボウル部4内の洗浄水の水位が上昇し、それにより、落差が大きくなり、排水トラップ部30から、効果的に汚物を排出することができ、洗浄効率が増大する。
また、排水トラップ管路30の入口に流入して上昇管路40内に進入した洗浄水は、断面積一定部40により、洗浄水が流線同一方向の滑らかな流れとなり、この状態で、乱流が生じやすいボウル部4の後壁13の背面付近を上昇するので、乱流の発生を防止することがでる。
さらに、洗浄水は、上昇管路34の断面積一定部40からその下流側にある断面積拡大部42へ流れるので、サイホン作用の発生を抑制することができる。この結果、第1実施形態による汚物流し1によれば、洗浄性能を低下させることなく、サイホン作用の発生を抑制して、効率的な洗浄を行なうことができる。さらに、サイホン作用によって溜水が排水配管内に吸引され、溜水を補給するための洗浄水も必要ではないため、洗浄水量を削減する効果も得られる。
また、第1実施形態による汚物流し1においては、断面積拡大部42が断面積一定部40から屈曲部48にて後方側へ屈曲し且つほぼ直線状に延びるように形成されているので、上昇管路34の後端である排水トラップ管路30の底面の最上端(頂点)38aの高さ方向位置を低くすることができる。これにより、洗浄水が上昇管路34を乗り越え易くなり、下降管路36へ洗浄水が流れ易くなるので、サイホン作用の発生を抑制しつつ効率的な洗浄を行なうことができる。
また、第1実施形態による汚物流し1においては、排水トラップ管路30において、上昇管路34の断面積一定部40の底面38が円弧状に形成されているので、所定長さの段断面積一定部40により、洗浄水が流線同一方向の滑らかな流れとなりとなる。さらに、断面拡大部42はその底面38がほぼ平らな面に形成されているので、洗浄水が、断面積一定部40から断面積拡大部42へより流れ易くなり、これにより、サイホン作用の発生を抑制しつつ効率的な洗浄を行なうことができる。
また、第1実施形態による汚物流し1においては、排水トラップ管路30の上昇管路34の断面積拡大部42の屈曲部48が、ボウル部4の溜水面Lの高さ位置から20mm乃至40mm下方の高さ位置に形成されているので、より洗浄水が上昇管路34を乗り越え易くなり、下降管路36へ洗浄水が流れ易くなるので、サイホン作用の発生を抑制しつつ効率的な洗浄を行なうことができる。
さらに、第1実施形態による汚物流し1においては、ゼット吐水口22から洗浄水を吐水するようにしているので、リム吐水口20から吐水される洗浄水と共に汚物を効果的に攪拌することができ、その状態で、洗浄水と共に汚物が上昇管路34の入口32に流入し、上昇管路34を乗り越え、下降管路36へ洗浄水が流れるので、サイホン作用の発生を抑制しつつより効率的な洗浄を行なうことができる。
次に、図8及び図9により、本発明の第2実施形態による水洗大便器を説明する。第2実施形態は、本発明による洗い落し式汚物排出装置を水洗大便器に適用した例である。
図8は本発明の第2実施形態による水洗大便器を示す平面図であり。図9は図8のVIII−VIII線に沿って見た断面図である。第2実施形態による水洗大便器は、上述した第1実施形態による汚物流しと構造がほぼ同じであるため、ここでは、第2実施形態の第1実施形態とは異なる部分等を説明する。
図8及び図9に示すように、第2実施形態による水洗大便器50は、水洗大便器本体52を備えている。水洗大便器50は、ボウル部54、導水路56、汚物受け面62、リム部64、棚部66等を備えている。さらに、リム部64の内周面64aは、汚物流し1に比べて、使用者が座位で使用することを配慮して、高さが低くなっている。
第2実施形態による水洗大便器50においても、排水トラップ部30は、汚物流し1と同様な、上昇管路34、及び、下降管路36を備えている。
第2実施形態による水洗大便器50においても、第1実施形態による汚物流し1と同様に、排水トラップ管路30の入口に流入して上昇管路40内に進入した洗浄水は、断面積一定部40により、洗浄水が流線同一方向の滑らかな流れとなり、この状態で、乱流が生じやすいボウル部54の後壁13の背面付近を上昇するので、乱流の発生を防止することがでる。さらに、洗浄水は、上昇管路34の断面積一定部40からその下流側にある断面積拡大部42へ流れるので、サイホン作用の発生を抑制することができる。この結果、第2実施形態による水洗大便器50によれば、洗浄性能を低下させることなく、サイホン作用の発生を抑制して、効率的な洗浄を行なうことができる。
1 洗い落とし式汚物流し
2 汚物流し本体
4 ボウル部
12 汚物受け面
13 後壁
13a 後壁下端
14 リム部
18 溜水部
20 リム吐水口
22 ゼット吐水口
24 段部
26 第1通水路
28 第2通水路
30 排水トラップ管路
32 入口
34 上昇管路
36 下降管路
38 底面
40 断面積一定部
42 断面積拡大部
48 屈曲部
50 水洗大便器
52 水洗大便器本体
54 ボウル部
56 導水路
64 リム部

Claims (5)

  1. 洗浄水により本体を洗浄して汚物を排出する洗い落し式汚物排出装置であって、
    上記本体に設けられ、汚物受け面及び上縁部に位置するリム部を備えたボウル部と、
    上記リム部に洗浄水を吐水して上記汚物受け面を洗浄するリム吐水部と、
    入口と、この入口から上記汚物受け面を形成する後壁の背面に沿って斜め後方に上昇する上昇管路と、この上昇管路に連設され下方に延びる下降管路とを備えた排水トラップ管路と、を有し、
    上記上昇管路は、上記汚物受け面の後壁下端から上記上昇管路の底面に直角に下ろした位置より下流側に沿って所定長さだけ管路の断面積が一定である断面積一定部と、この断面積一定部の下流側の断面積が徐々に拡大する断面積拡大部を備えていることを特徴とする洗い落し式汚物排出装置。
  2. 上記排水トラップ管路の上昇管路は、上記断面積拡大部が上記断面積一定部から屈曲部にて後方側へ屈曲し且つほぼ直線状に延びるように形成されている請求項1に記載の洗い落し式汚物排出装置。
  3. 上記排水トラップ管路の上昇管路の断面積一定部は、その底面が円弧状に形成され、さらに、上記断面積拡大部はその底面がほぼ平らな面に形成されている請求項2に記載の洗い落し式汚物排出装置。
  4. 上記排水トラップ管路の上昇管路の断面積拡大部の屈曲部は、上記ボウル部の溜水面の高さ位置から20mm乃至40mm下方の高さ位置に形成されている請求項2又は3に記載の洗い落し式汚物排出装置。
  5. 更に、上記ボウル部の汚物受け面の側方部分に開口するゼット吐水口から洗浄水を吐水するゼット吐水部を有する請求項1乃至4の何れか1項に記載の洗い落し式汚物排出装置。
JP2011063634A 2011-03-23 2011-03-23 洗い落し式汚物排出装置 Active JP5835549B2 (ja)

Priority Applications (1)

Application Number Priority Date Filing Date Title
JP2011063634A JP5835549B2 (ja) 2011-03-23 2011-03-23 洗い落し式汚物排出装置

Applications Claiming Priority (1)

Application Number Priority Date Filing Date Title
JP2011063634A JP5835549B2 (ja) 2011-03-23 2011-03-23 洗い落し式汚物排出装置

Publications (2)

Publication Number Publication Date
JP2012197640A true JP2012197640A (ja) 2012-10-18
JP5835549B2 JP5835549B2 (ja) 2015-12-24

Family

ID=47180129

Family Applications (1)

Application Number Title Priority Date Filing Date
JP2011063634A Active JP5835549B2 (ja) 2011-03-23 2011-03-23 洗い落し式汚物排出装置

Country Status (1)

Country Link
JP (1) JP5835549B2 (ja)

Cited By (5)

* Cited by examiner, † Cited by third party
Publication number Priority date Publication date Assignee Title
JP2016098491A (ja) * 2014-11-18 2016-05-30 株式会社Lixil 便器装置
JP2018165463A (ja) * 2017-03-28 2018-10-25 Toto株式会社 水洗大便器
JP2022086424A (ja) * 2020-11-30 2022-06-09 Toto株式会社 水洗大便器
JP2023032447A (ja) * 2021-08-27 2023-03-09 Toto株式会社 水洗大便器
JP2023050884A (ja) * 2021-09-30 2023-04-11 Toto株式会社 水洗大便器

Citations (6)

* Cited by examiner, † Cited by third party
Publication number Priority date Publication date Assignee Title
JPH08158448A (ja) * 1994-12-09 1996-06-18 Inax Corp 洗い落とし式便器
JP2001026971A (ja) * 1999-07-14 2001-01-30 Toto Ltd 水洗便器
JP2001132069A (ja) * 1999-11-02 2001-05-15 Toto Ltd 便所装置
JP2001173072A (ja) * 1999-12-16 2001-06-26 Toto Ltd 便器内部の導水路の構造およびこの構造を備えたサイホン式便器
JP2008045277A (ja) * 2006-08-10 2008-02-28 Toto Ltd 水洗便器
JP2010180587A (ja) * 2009-02-04 2010-08-19 Toto Ltd 水洗大便器

Patent Citations (6)

* Cited by examiner, † Cited by third party
Publication number Priority date Publication date Assignee Title
JPH08158448A (ja) * 1994-12-09 1996-06-18 Inax Corp 洗い落とし式便器
JP2001026971A (ja) * 1999-07-14 2001-01-30 Toto Ltd 水洗便器
JP2001132069A (ja) * 1999-11-02 2001-05-15 Toto Ltd 便所装置
JP2001173072A (ja) * 1999-12-16 2001-06-26 Toto Ltd 便器内部の導水路の構造およびこの構造を備えたサイホン式便器
JP2008045277A (ja) * 2006-08-10 2008-02-28 Toto Ltd 水洗便器
JP2010180587A (ja) * 2009-02-04 2010-08-19 Toto Ltd 水洗大便器

Cited By (9)

* Cited by examiner, † Cited by third party
Publication number Priority date Publication date Assignee Title
JP2016098491A (ja) * 2014-11-18 2016-05-30 株式会社Lixil 便器装置
JP2018165463A (ja) * 2017-03-28 2018-10-25 Toto株式会社 水洗大便器
JP2021185307A (ja) * 2017-03-28 2021-12-09 Toto株式会社 水洗大便器
JP2022086424A (ja) * 2020-11-30 2022-06-09 Toto株式会社 水洗大便器
JP7663833B2 (ja) 2020-11-30 2025-04-17 Toto株式会社 水洗大便器
JP2023032447A (ja) * 2021-08-27 2023-03-09 Toto株式会社 水洗大便器
JP7598542B2 (ja) 2021-08-27 2024-12-12 Toto株式会社 水洗大便器
JP2023050884A (ja) * 2021-09-30 2023-04-11 Toto株式会社 水洗大便器
JP7718215B2 (ja) 2021-09-30 2025-08-05 Toto株式会社 水洗大便器

Also Published As

Publication number Publication date
JP5835549B2 (ja) 2015-12-24

Similar Documents

Publication Publication Date Title
JP6341460B2 (ja) 水洗大便器装置
JP5553188B1 (ja) 水洗大便器
JP6472591B2 (ja) 水洗大便器
JP5740788B2 (ja) 水洗大便器
JP2013019242A (ja) 水洗大便器
JP2016142100A (ja) 水洗大便器
JP2012207503A (ja) 水洗大便器
JP6238012B2 (ja) 水洗大便器
JPWO2006085575A1 (ja) 水洗大便器
JP6238011B2 (ja) 水洗大便器
JP2010180587A (ja) 水洗大便器
JP2015068126A (ja) 水洗大便器
JP2015168994A (ja) 水洗大便器
JP2011058300A (ja) 洗い落とし式便器
JP2020007908A (ja) 水洗大便器
JP5835549B2 (ja) 洗い落し式汚物排出装置
JP2017145631A (ja) 水洗大便器
JP5510881B2 (ja) 水洗大便器
JP2014062431A (ja) 水洗大便器
JP2013170425A (ja) 水洗大便器
JP2012172403A (ja) 水洗大便器
JP6066043B2 (ja) 水洗大便器
JP2015068125A (ja) 水洗大便器
JP5569873B2 (ja) 水洗大便器
JP2017031772A (ja) 水洗大便器

Legal Events

Date Code Title Description
A621 Written request for application examination

Free format text: JAPANESE INTERMEDIATE CODE: A621

Effective date: 20140120

A977 Report on retrieval

Free format text: JAPANESE INTERMEDIATE CODE: A971007

Effective date: 20141023

A131 Notification of reasons for refusal

Free format text: JAPANESE INTERMEDIATE CODE: A131

Effective date: 20141104

A521 Written amendment

Free format text: JAPANESE INTERMEDIATE CODE: A523

Effective date: 20141224

A131 Notification of reasons for refusal

Free format text: JAPANESE INTERMEDIATE CODE: A131

Effective date: 20150622

A521 Written amendment

Free format text: JAPANESE INTERMEDIATE CODE: A523

Effective date: 20150805

TRDD Decision of grant or rejection written
A01 Written decision to grant a patent or to grant a registration (utility model)

Free format text: JAPANESE INTERMEDIATE CODE: A01

Effective date: 20151007

A61 First payment of annual fees (during grant procedure)

Free format text: JAPANESE INTERMEDIATE CODE: A61

Effective date: 20151020

R150 Certificate of patent or registration of utility model

Ref document number: 5835549

Country of ref document: JP

Free format text: JAPANESE INTERMEDIATE CODE: R150