JP2012172469A - 連結金具及びこれを備えた耐力壁並びにこれを用いた建築物 - Google Patents

連結金具及びこれを備えた耐力壁並びにこれを用いた建築物 Download PDF

Info

Publication number
JP2012172469A
JP2012172469A JP2011037442A JP2011037442A JP2012172469A JP 2012172469 A JP2012172469 A JP 2012172469A JP 2011037442 A JP2011037442 A JP 2011037442A JP 2011037442 A JP2011037442 A JP 2011037442A JP 2012172469 A JP2012172469 A JP 2012172469A
Authority
JP
Japan
Prior art keywords
vertical
pair
frame
horizontal
lateral
Prior art date
Legal status (The legal status is an assumption and is not a legal conclusion. Google has not performed a legal analysis and makes no representation as to the accuracy of the status listed.)
Granted
Application number
JP2011037442A
Other languages
English (en)
Other versions
JP5752439B2 (ja
Inventor
Masami Sugihara
正美 杉原
Hitomi Sunagawa
ひとみ 砂川
Tomoya Hatae
知哉 波多江
Masayuki Ogawa
正之 小川
Hiroaki Kawakami
寛明 川上
Kazunori Fujihashi
一紀 藤橋
Current Assignee (The listed assignees may be inaccurate. Google has not performed a legal analysis and makes no representation or warranty as to the accuracy of the list.)
Sekisui House Ltd
Nippon Steel Corp
Original Assignee
Sekisui House Ltd
Nippon Steel Corp
Priority date (The priority date is an assumption and is not a legal conclusion. Google has not performed a legal analysis and makes no representation as to the accuracy of the date listed.)
Filing date
Publication date
Application filed by Sekisui House Ltd, Nippon Steel Corp filed Critical Sekisui House Ltd
Priority to JP2011037442A priority Critical patent/JP5752439B2/ja
Priority to PCT/JP2012/000817 priority patent/WO2012114665A1/ja
Priority to AU2012221627A priority patent/AU2012221627B2/en
Priority to US14/001,035 priority patent/US8925278B2/en
Priority to CN201280010912.6A priority patent/CN103403275B/zh
Publication of JP2012172469A publication Critical patent/JP2012172469A/ja
Application granted granted Critical
Publication of JP5752439B2 publication Critical patent/JP5752439B2/ja
Expired - Fee Related legal-status Critical Current
Anticipated expiration legal-status Critical

Links

Images

Landscapes

  • Joining Of Building Structures In Genera (AREA)

Abstract

【課題】ブレースから入力される引っ張り力によるフレームの変形を抑制することができる連結金具及びこれを備えた耐力壁並びにこれを備えた建築物を提供すること。
【解決手段】縦フレーム7A、7Bの縦ウェブ7aに沿って配置された状態で、縦ウェブ7aの内側面に対してボルトB2によって取付可能な縦フレーム取付部15aと、縦フレーム取付部15aに連結され、縦フレーム7A、7Bよりも内側の位置でブレース10A、10Bの端末を取付可能なブレース取付板14と、縦フレーム取付部15aに溶接され、かつ、枠状に配置された状態で外側を向く横フレーム8A、8Bの外側面に沿って配置された状態で梁部材4又は基礎2に固定可能な固定板11とを備えている。
【選択図】図3

Description

本発明は、建築物に用いられる耐力壁に関するものである。
従来から、基礎と、水平方向に延びる梁部材と、前記基礎又は梁部材に固定される耐力壁とを備えた建築物が知られている。
例えば、特許文献1には、次のような耐力壁が記載されている。特許文献1に記載の耐力壁は、枠状に配置された一対の縦架材及び一対の横架材と、縦架材の端部と横架材の端部とを連結する4つの連結金具と、前記枠の対角線上に配置される一対の連結金具間に張設された2本の筋違ボルト(ブレース)とを備えている。
前記縦架材及び横架材は、それぞれウェブと一対のフランジとを有する溝型鋼である。前記連結金具は、対向する一対の側片と、これら側片の基部を連結する中間部とを有する門型の部材である。また、連結金具の各側片には、筋違ボルトを固定するための固定板が各側片間に跨った状態で固着されている。
そして、前記縦架材の各フランジは、連結金具の各側片の間に配置された状態で、当該各側片に対してそれぞれ固着されている。同様に、横架材の各フランジは、連結金具の各側片の間に配置された状態で、当該各側片に対してそれぞれ固着されている。
実開昭60−133012号公報
しかしながら、特許文献1に記載の耐力壁では、縦架材及び横架材の各フランジに対して連結金具の各側片がそれぞれ固着されているため、ブレースに生じる引っ張り力によって縦架材及び横架材が変形するおそれがある。具体的に、ブレースに生じる引っ張り力のうち横方向の成分は、縦架材のフランジに対してせん断力として直接伝達する一方、ブレースに生じる引っ張り力のうち縦方向の成分は、横架材のフランジに対してせん断力として直接伝達する。したがって、特許文献1に記載の耐力壁では、ブレースに生じる引っ張り力によって縦架材及び横架材のフランジが変形するおそれがある。
本発明の目的は、ブレースから入力される引っ張り力によるフレームの変形を抑制することができる連結金具及びこれを備えた耐力壁並びにこれを備えた建築物を提供することにある。
上記課題を解決するために、本発明は、枠状に配置される一対の縦フレーム及び一対の横フレームと前記縦フレーム及び前記横フレームに生じる力を支持するブレースとを有するとともに建築物の基礎、梁部材の少なくとも一方に固定される耐力壁を形成するために、前記縦フレームの端部と前記横フレームの端部とを連結可能な連結金具であって、枠状に配置された状態で内側を向く前記縦フレームの内側面に沿って配置された状態で、前記縦フレームの内側面に対してねじ部材によって取付可能な縦フレーム取付部と、前記縦フレーム取付部に連結され、前記縦フレーム取付部よりも内側の位置で前記ブレースの端末を取付可能なブレース取付部と、前記縦フレーム取付部に溶接され、かつ、枠状に配置された状態で外側を向く前記横フレームの外側面に沿って配置された状態で前記梁部材又は前記基礎に固定可能な固定板とを備えている、連結金具を提供する。
本発明によれば、縦フレーム取付部が縦フレームとブレース取付部との間で縦フレームの内側面に沿って配置されているとともに、この縦フレーム取付部が基礎又は梁部材に固定可能な固定部に溶接されている。そのため、ブレースに生じる引っ張り力のうちの横方向の成分を縦フレーム取付部自体で受けることができるとともに、この横方向の成分を固定部を介して基礎又は梁部材に有効に伝えることができる。したがって、ブレースから伝わる引っ張り力の横方向の成分が直接縦フレームに伝わるのを抑制することにより、縦フレームの変形を抑制することができる。
また、本発明では、縦フレーム取付部が縦フレームに対してねじ部材によって取付可能である。そのため、縦フレームに対して連結金具を溶接する場合と比較して、耐力壁の製造工程を簡素化することができる。
前記連結金具において、前記縦フレームは、縦ウェブと、前記縦ウェブの両端から内側に立ち上がる一対の縦フランジと、前記一対の縦フランジからそれぞれ近接する方向に延びる一対の縦リップとを有し、前記縦フレームの長手方向に沿って前記縦フレーム内に嵌合可能な縦嵌合部と、前記縦嵌合部から前記一対の縦リップ間を通ることができる間隔で互いに平行に延びる一対の延設部とをさらに備え、前記ブレース取付部は、前記一対の延設部間に跨るように配置された状態で前記一対の延設部に対して溶接されていることが好ましい。
この態様では、縦フレームが、縦ウェブと一対の縦フランジとが互いに交差する方向に延びるとともに、一対の縦フランジと一対の縦リップとが互いに交差する方向に延びる断面形状を有する。そのため、前記縦フレームは、圧縮力に強い。そして、連結金具は、前記縦フレームに対しその長手方向に嵌合可能な縦嵌合部と、この縦嵌合部から各縦リップ間を通って平行に延びる一対の延設部とを有し、これら一対の延設部にブレース取付部が設けられている。そのため、上述のように圧縮力に対する強さを発揮する縦フレームの設計を変更することなく縦嵌合部を嵌合することができるとともに、この縦嵌合部から延びる一対の延設部にブレース取付部を設けることができる。
前記連結金具において、前記縦嵌合部は、前記縦ウェブに沿って配置される前記縦フレーム取付部と、前記一対の縦フランジに沿って配置される一対の縦フランジ配置部と、前記一対の縦リップに沿って配置される一対の縦リップ配置部とを備え、前記縦フレーム取付部と前記一対の縦フランジ配置部と前記一対の縦リップ配置部と前記一対の延設部とが一体に構成されていることが好ましい。
この態様では、縦フレーム取付部と一対の縦フランジ配置部と前記一対の縦リップ配置部と一対の延設部とが一体に構成されている。つまり、縦フレーム取付部と一対の縦フランジ配置部とが互いに交差する方向に延び、一対の縦フランジ配置部と一対の縦リップ配置部とが互いに交差する方向に延び、一対の縦リップ配置部と一対の延設部とが互いに交差する方向に延びる断面形状を有する部材が形成されている。そのため、縦フレームに生じる圧縮力によって変形(座屈)し難い連結金具を得ることができる。したがって、ブレースに生じる力の縦方向の成分をより有効に固定部(基礎又は梁部材)に伝えることができる。
前記連結金具において、前記横フレームは、横ウェブと、前記横ウェブの両端から内側に立ち上がる一対の横フランジと、前記一対の横フランジからそれぞれ近接する方向に延びる一対の横リップとを有するとともに、前記縦フレームと同等の断面形状を有し、前記一対の延設部に設けられ、前記横フレームの長手方向に沿って前記横フレーム内に嵌合可能な横嵌合部をさらに備えていることが好ましい。
この態様では、横フレームが、横ウェブと一対の横フランジとが互いに交差する方向に延びるとともに、一対の横フランジと一対の横リップとが互いに交差する方向に延びる断面形状を有する。そのため、前記横フレームは、圧縮力に強い。そして、連結金具は、横フレームに対しその長手方向に嵌合可能な横嵌合部を有する。そのため、上述のように圧縮力に対する強さを発揮する横フレームの設計を変更することなく横嵌合部を嵌合することができる。しかも、前記態様では、横フレームが縦フレームと同等の断面形状を有する。そのため、縦フレーム及び横フレームの部品コストの低減を図ることもできる。具体的に、例えば、前記断面形状を有する長尺の基材を裁断して縦フレーム及び横フレームを形成することができる。これにより、縦フレームと横フレームとが異なる断面形状を有する場合と比較して、縦フレームと横フレームの製造工程の重複範囲を拡大することができる。そのため、各フレームの部品コストを低減することができる。
前記連結金具において、前記横嵌合部は、前記横ウェブに沿って配置される横ウェブ配置部と、前記一対の横フランジに沿って配置される一対の横フランジ配置部と、前記一対の横リップに沿って配置される一対の横リップ配置部とを有し、前記一対の横フランジ配置部は、ねじ部材によって前記横フランジを取付可能であることが好ましい。
この態様では、横フレームの一対の横フランジに沿って配置される横フランジ配置部を利用して、ねじ部材によって横フレームを取り付けることができる。
前記連結金具において、前記横ウェブ配置部と前記固定板との間には、前記横ウェブを厚み寸法に挟持可能な間隙が形成されていることが好ましい。
この態様では、横ウェブ配置部と固定板との間に横ウェブを挟持可能な間隙が形成されている。そのため、横ウェブ配置部と固定板との間で横ウェブを挟持した状態で、横フランジ配置部に対して確実に横フレームを取り付けることができる。
前記連結金具において、前記縦嵌合部は、前記固定板に立設されており、前記縦嵌合部と前記横嵌合部との間には、前記一対の縦リップを厚み方向に挟持可能な間隙が形成されていることが好ましい。
この態様では、縦嵌合部と横嵌合部との間に一対の縦リップを厚み方向に挟持可能な間隙が形成されている。そのため、圧縮力に対する強度を発揮する縦フレームの構成(一対の縦フランジ及び一対の縦リップ部)を維持しつつ、一対の縦リップと横嵌合部との干渉を回避した状態で、縦フレームを縦嵌合部に嵌合させることができる。
また、本発明は、建築物の基礎、梁部材の少なくとも一方に固定される耐力壁であって、枠状に配置された一対の縦フレーム及び一対の横フレームと、前記縦フレームの端部と前記横フレームの端部とを連結可能な4つの連結金具と、前記4つの連結金具のうち前記枠の対角に配置される2つの連結金具の間にそれぞれ設けられ、前記縦フレーム及び横フレームに生じる力を支持する2本のブレースとを備え、前記4つの連結金具は、前記連結金具である、耐力壁を提供する。
さらに、本発明は、建築物であって、基礎と、梁部材と、前記基礎、梁部材の少なくとも一方に固定された前記耐力壁とを備えている、建築物を提供する。
本発明によれば、ブレースから入力される引っ張り力によるフレームの変形を抑制することができる。
本発明の実施形態に係る家屋を示す斜視図である。 図1の家屋に用いられる耐力壁の正面図である。 図2の耐力壁の連結金具を拡大して示す斜視図である。 図1の家屋の一部を拡大して示す正面断面図である。 図4のV―V線断面図である。 ブレースに生じた引っ張り力が伝わる様子を示す正面断面図である。
以下、本発明の好ましい実施形態について、図面を参照して説明する。
図1は、本発明の実施形態に係る建築物の一例である家屋を示す斜視図である。家屋1は、基礎2と、この基礎2上に設けられた家屋本体3とを備えている。
家屋本体3は、水平方向に延びる梁部材4と、前記梁部材4と前記基礎2との間に設けられた複数の耐力壁5と、前記梁部材4及び耐力壁5の外側に設けられた外壁6とを備えている。
なお、図1では図示を省略しているが、家屋本体3は、複数本の梁部材4を有する。具体的に、梁部材4は、2階以上の階数に対応して垂直方向に複数本設けられるとともに、1つの階においても水平方向に複数本設けられている。
また、図1では、基礎2と梁部材4との間に設けられた耐力壁5が図示されているが、耐力壁5の設置箇所はこれに限定されない。具体的に、家屋本体3は、垂直方向に並ぶ2本の梁部材4の間に設けられた耐力壁5、及び水平方向に並ぶ2本の梁部材4の間に設けられた耐力壁5も有する。
図2は、図1の家屋に用いられる耐力壁の正面図である。
耐力壁5は、上述のように基礎2、梁部材4の少なくとも一方に固定される。具体的に、耐力壁5は、枠状に配置された一対の縦フレーム7A、7B及び一対の横フレーム8A、8Bと、縦フレーム7A、7Bの端部と横フレーム8A、8Bの端部とを連結可能な4つの連結金具9A〜9Dと、各フレーム7A、7B、8A、8Bに生じる力を支持する2本のブレース10A、10Bとを備えている。なお、前記フレーム7A、7B、8A、8Bにより形成される枠の内側に向く方向を内側方向とし、枠の外側を向く方向を外側方向として、以下説明する。
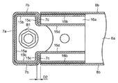
図3は、図2の耐力壁の連結金具を拡大して示す斜視図である。
縦フレーム7A、7Bは、厚み2.3mmの鋼材により形成されたC型鋼である。具体的に、縦フレーム7A、7Bは、縦ウェブ7aと、この縦ウェブ7aの両端から内側に折り返された一対の縦フランジ7b、7bと、これら縦フランジ7b、7bの先端から互いに近接する方向に折り返された一対の縦リップ7c、7cと、前記各縦フランジ7b、7bを貫通する複数の貫通孔(図3では1つ示している)7dと、前記縦ウェブ7aを貫通する2つの貫通孔7e、7eとを有する。
横フレーム8A、8Bは、厚み2.3mmの鋼材により形成されたC型鋼である。また、横フレーム8A、8Bは、前記縦フレーム7A、7Bと同等の断面形状を有する。具体的に、横フレーム8A、8Bは、横ウェブ8aと、この横ウェブ8aの両端から内側に折り返された一対の横フランジ8b、8bと、これら横フランジ8b、8bの先端から互いに近接する方向に折り返された一対の横リップ8c、8cと、前記横フランジ8b、8bを貫通する2つの貫通孔8d、8dとを有する。
図2を参照して、連結金具9Aは、縦フレーム7Aの端部と横フレーム8Aの端部とを連結する。連結金具9Bは、縦フレーム7Aの端部と横フレーム8Bの端部とを連結する。連結金具9Cは、縦フレーム7Bの端部と横フレーム8Aの端部とを連結する。連結金具9Dは、縦フレーム7Bの端部と横フレーム8Bの端部とを連結する。また、各連結金具9A、9Cは、各横フレーム8Aの外側面に沿って配される基礎2又は梁部材4に固定可能である。一方、各連結金具9B、9Dは、各横フレーム8Bの外側面に沿って配される基礎2又は梁部材4に固定可能である。また、連結金具9Aと連結金具9Dとの間には、前記ブレース10Aが設けられている。連結金具9Bと連結金具9Cとの間には、前記ブレース10Bが設けられている。そして、各連結金具9A〜9Dは、それぞれ同様の構成を有する。
図3を参照して、連結金具9A〜9Dは、縦フレーム7A、7B及び横フレーム8A、8Bを取り付けるための取付部材12と、前記ブレース10A、10Bを取り付けるためのブレース取付板14と、前記取付部材12を基礎2又は梁部材4に固定するための固定板11とを有する。
取付部材12は、前記縦フレーム7A、7Bを取り付けるための縦フレーム取付部材15と、前記横フレーム8A、8Bを取り付けるための横フレーム取付部材(横嵌合部)16とを備えている。
図3〜図5を参照して、縦フレーム取付部材15は、当該縦フレーム取付部材15に被せられた縦フレーム7A、7Bを取付可能である。具体的に、縦フレーム取付部材15は、前記縦ウェブ7aの内側面に沿って配置される縦フレーム取付部15aと、前記縦フランジ7b、7bに沿って配置される一対の縦フランジ配置部15b、15bと、前記縦リップ7c、7cに沿って配置される一対の縦リップ配置部15c、15cと、これら縦リップ配置部15c、15cの端部からそれぞれ内側に延びる一対の延設部15d、15dとを有する。本実施形態において、縦フレーム取付部15a、一対の縦フランジ配置部15b、15b、及び一対の縦リップ配置部15cは、縦フレーム7の長手方向に縦フレーム7内に嵌合可能な縦嵌合部を構成する。また、縦フレーム取付部材15は、縦フレーム取付部15aと、縦フランジ配置部15b、15bと、縦リップ配置部15c、15cと、一対の延設部15d、15dとを一体に有する。そのため、縦フレーム取付部材15は、縦フレーム7A、7Bの長手方向に沿った圧縮力に対して強い。また、縦フレーム取付部15a、縦フランジ配置部15b、15b、及び縦リップ配置部15c、15cの端面は、後述する固定板11に対して突合せ溶接されている。
前記縦フレーム取付部15aは、ボルト(ねじ部材)B2によって縦フレーム7A、7Bを取付可能である。具体的に、縦フレーム取付部15aは、縦フレーム7A、7Bの貫通孔7e、7eに対応する位置に形成された2つの貫通孔15e、15eを有する。図4に示すように、貫通孔7e、15eにボルトB2を挿通するとともに、このボルトB2にナットを締結することにより、縦フレーム取付部15aに縦フレーム7A、7Bを取り付けることができる。なお、図4は、隣り合う2つの連結金具9B、9Dに共通のボルトB2を用いた状態を示すが、1個の連結金具9A〜9D当たり1本のボルトB2を用いてもよい。また、図4は、ボルトB2によって連結金具9B、9Dを互いに連結する状態を示すが、ボルトB2によって連結金具9A〜9Dと図外の柱材とを連結してもよい。なお、縦フランジ配置部15b、15bに形成された貫通孔15fは、縦フレーム7A、7Bの貫通孔7dに対応する位置に設けられている。これら貫通孔7d、15fにビスを螺合することにより、前記外壁6を耐力壁5に取り付けることができる。
図3〜図5を参照して、延設部15d、15dは、前記縦リップ配置部15、15cから前記一対の縦リップ7c、7c間を通ることができる間隔で互いに平行に延びている。また、延設部15d、15dは、前記各縦リップ配置部15c、15cから前記縦リップ7c、7cよりも内側の位置まで延びている。詳しくは後述するが、各延設部15d、15dは、固定板11との間に間隙D1(図3参照)が形成されるように、前記縦フレーム取付部15a、各縦フランジ配置部15b、15b、及び縦リップ配置部15c、15cよりも短い。
横フレーム取付部材16は、前記一対の延設部15d、15dから側方に張り出すとともに、横フレーム8A、8Bの長手方向に沿って横フレーム8A、8B内に嵌合可能である。具体的に、横フレーム取付部材16は、前記横ウェブ8aに沿って配置される横ウェブ配置部16aと、前記横フランジ8b、8bに沿って配置される一対の横フランジ配置部16b、16bと、前記横リップ8c、8cに沿って配置される横リップ配置部16c、16cとを有する。そして、横フレーム取付部材16は、横ウェブ配置部16aと固定板11との間に間隙D1が形成されるように各延設部15d、15dに固定されている。具体的に、各延設部15d、15dの端面が横ウェブ配置部16aに当接した状態で、各横リップ配置部16c、16cが各延設部15d、15dに対して突合せ溶接されている。なお、間隙D1は、横フレーム8A、8Bの横ウェブ8aの厚み寸法よりも若干大きな間隙である。また、横フレーム取付部材16は、前記縦リップ配置部15c、15cとの間で縦リップ7c、7cを挟持可能となるように、縦リップ配置部15c、15cとの間に間隙D2(図5参照)を空けて配置されている。間隙D2は、縦リップ7c、7cの厚み寸法よりも若干大きな間隙である。さらに、前記横フランジ配置部16b、16bは、前記横フランジ8b、8bの貫通孔8d、8dに対応する位置に形成された2つの貫通孔16d、16dを有する。これら貫通孔8d、16dにビスを螺合することによって、横フレーム取付部材16に対して横フレーム8A、8Bを取り付けることができる。
ブレース取付板14は、耐力壁5の対角線に沿って設けられている。具体的に、ブレース取付板14の一部は、前記各延設部15d、15dの間に配置された状態で当該各延設部15d、15dに突き合せ溶接されている。また、ブレース取付板14のうち各延設板15d、15dの間から導出された部分には、貫通孔14aが設けられている。この貫通孔14aに挿通されたボルトB3によってブレース10A、10Bを取り付けることができる。
固定板11は、前記取付部材12が溶接されるとともに、前記横フレーム取付部材16との間で横ウェブ8aを挟持するための板材である。具体的に、固定板11の表面には、前記縦フレーム取付部15a、縦フランジ配置部15b、15b、及び縦リップ配置部15c、15cが突き合せ溶接されている。また、固定板11の一部は、前記間隙D1を空けて横フレーム取付部材16の外側位置に配置されている。さらに、固定板11には、貫通孔11aが形成されている。この貫通孔11aに挿入されたボルトB1によって基礎2又は梁部材4に対して固定板11を固定することができる。なお、貫通孔11aは、縦フレーム取付部15a、各縦フランジ配置部15b、15b及び各縦リップ配置部15c、15cに囲まれる範囲内に形成されている。
以下、図6を参照して、前記実施形態の作用について説明する。
図6に示すように、ブレース10Aに対して引っ張り力F1が生じた場合を想定する。この引っ張り力F1は、縦方向の成分F2と、横方向の成分F3とに分解することができる。本実施形態では、縦ウェブ7aとブレース取付板14との間に縦フレーム取付部15aが配置されている。そのため、横方向の成分F3を縦フレーム取付部15aによって受けることができる。したがって、横方向の成分F3が縦フレーム7A、7Bに直接伝達するのを抑制することができる。
また、前記実施形態では、取付部材12が固定板11に対して溶接されている。そのため、引っ張り力F1を固定板11に有効に伝達することができる。したがって、引っ張り力F1が各フレーム7A、7B、8A、8Bに伝達するのを抑制することができる。したがって、引っ張り力F1によって各フレーム7A、7B、8A、8Bが変形するのを抑制することができる。
以上説明したように、前記実施形態では、縦フレーム取付部15aが縦フレーム7A、7Bとブレース取付板14との間で縦ウェブ7aの内側面に沿って配置されているとともに、この縦フレーム取付部15aが基礎2又は梁部材4に固定可能な固定板11に溶接されている。そのため、ブレース10A、10Bに生じる引っ張り力のうちの横方向の成分F3を縦フレーム取付部15a自体で受けることができるとともに、この横方向の成分を固定板11を介して基礎2又は梁部材4に有効に伝えることができる。したがって、ブレース10A、10Bから伝わる引っ張り力の横方向の成分F3が直接縦フレーム7A、7Bに伝わるのを抑制することにより、縦フレーム7A、7Bの変形を抑制することができる。
また、前記実施形態では、縦フレーム取付部15aが縦フレーム7A、7Bに対してボルトB2によって取付可能である。そのため、縦フレーム7A、7Bに対して連結金具9A〜9Dを溶接する場合と比較して、体力壁の製造工程を簡素化することができる。
前記実施形態では、縦フレーム7A、7Bが、縦ウェブ7aと一対の縦フランジ7b、7bとが互いに交差する方向に延びるとともに、一対の縦フランジ7b、7bと一対の縦リップ7c、7cとが互いに交差する方向に延びる断面形状を有する。そのため、縦フレーム7A、7Bは、圧縮力に強い。そして、連結金具9A〜9Dは、縦フレーム7A、7Bに対しその長手方向に嵌合可能な縦嵌合部(縦フレーム取付部15a、縦フランジ配置部15b、15b、縦リップ配置部15c、15c)と、この縦嵌合部から各縦リップ7c、7c間を通って平行に延びる一対の延設部15d、15dとを有し、これら一対の延設部15d、15dにブレース取付板14が設けられている。そのため、上述のように圧縮力に対する強さを発揮する縦フレーム7A、7Bの設計を変更することなく縦嵌合部を嵌合することができるとともに、この縦嵌合部から延びる一対の延設部15d、15dにブレース取付板14を設けることができる。
前記実施形態では、縦フレーム取付部15aと一対の縦フランジ配置部15b、15bと一対の縦リップ配置部15c、15cと一対の延設部15d、15dが一体に構成されている。つまり、縦フレーム取付部材15は、縦フレーム取付部15aと一対の縦フランジ配置部15b、15bとが互いに交差する方向に延び、一対の縦フランジ配置部15b、15bと一対の縦リップ配置部15c、15cとが互いに交差する方向に延び、一対の縦リップ配置部15c、15cと一対の延設部15d、15dとが互いに交差する方向に延びる断面形状を有する。そのため、縦フレーム7A、7Bに生じる圧縮力によって変形(座屈)し難い連結金具9A〜9D(縦フレーム取付部材15)を得ることができる。したがって、ブレース10A、10Bに生じる力の縦方向の成分をより有効に固定板11(基礎2又は梁部材4)に伝えることができる。
前記実施形態では、横フレーム8A、8Bが、横ウェブ8aと一対の横フランジ8b、8bとが互いに交差する方向に延びるとともに、一対の横フランジ8b、8bと一対の横リップ8c、8cとが互いに交差する方向に延びる断面形状を有する。そのため、横フレーム8A、8Bは、圧縮力に強い。そして、横フレーム取付部材(横嵌合部)16は、横フレーム8A、8Bに対しその長手方向に嵌合可能である。そのため、上述のように圧縮力に対する強さを発揮する横フレーム8A、8Bの設計を変更することなく横フレーム取付部材16を嵌合することができる。しかも、前記実施形態では、横フレーム8A、8Bが縦フレーム7A、7Bと同等の断面形状を有している。そのため、例えば、前記断面形状を有する長尺のフレーム基材を裁断して縦フレーム7A、7B及び横フレーム8A、8Bを形成することができる。これにより、縦フレーム7A、7Bと横フレーム8A、8Bとが異なる断面形状を有する場合と比較して、縦フレーム7A、7Bと横フレーム8A、8Bとの製造工程の重複範囲を拡大することができる。そのため、各フレーム7A、7B、8A、8Bの部品コストを低減することができる。
前記実施形態では、横フレーム8A、8Bの一対の横フランジ8b、8bに沿って配置される横フランジ配置部16b、16bを利用して、ビスによって横フレーム8A、8Bを取り付けることができる。
前記実施形態では、横ウェブ配置部16aと固定板11との間に横ウェブ8aを挟持可能な間隙D1が形成されている。そのため、横ウェブ配置部16aと固定板11との間で横ウェブ8aを挟持した状態で、横フランジ配置部16b、16bに対して確実に横フレーム8A、8Bを取り付けることができる。
前記実施形態では、縦リップ配置部15c、15cと横フレーム取付部材16との間に縦リップ7c、7cを厚み方向に挟持可能な間隙が形成されている。そのため、圧縮力に対する強度を発揮する縦フレーム7A、7Bの構成(一対の縦フランジ7b、7b及び一対の縦リップ7c、7c)を維持しつつ、一対の縦リップ7c、7cと横フレーム取付部材16との干渉を回避した状態で、縦フレーム7A、7Bと縦嵌合部(縦フレーム取付部15a、縦フランジ配置部15b及び縦リップ配置部15c)に嵌合させることができる。
B2 ボルト(ねじ部材)
F1 引っ張り力
F2 引っ張り力の縦方向の成分
F3 引っ張り力の横方向の成分
1 家屋(建築物の一例)
2 基礎
4 梁部材
5 耐力壁
7A、7B 縦フレーム
7a 縦ウェブ
7b 縦フランジ
7c 縦リップ
8A、8B 横フレーム
8a 横ウェブ
8b 横フランジ
8c 横リップ
9A〜9D 連結金具
10A、10B ブレース
11 固定板(固定部の一例)
14 ブレース取付板(ブレース取付部の一例)
15a 縦フレーム取付部(縦嵌合部の一例)
15b 縦フランジ配置部(縦嵌合部の一例)
15c 縦リップ配置部(縦嵌合部の一例)
15d 延設部
16 横フレーム取付部材(横嵌合部の一例)

Claims (9)

  1. 枠状に配置される一対の縦フレーム及び一対の横フレームと前記縦フレーム及び前記横フレームに生じる力を支持するブレースとを有するとともに建築物の基礎、梁部材の少なくとも一方に固定される耐力壁を形成するために、前記縦フレームの端部と前記横フレームの端部とを連結可能な連結金具であって、
    枠状に配置された状態で内側を向く前記縦フレームの内側面に沿って配置された状態で、前記縦フレームの内側面に対してねじ部材によって取付可能な縦フレーム取付部と、
    前記縦フレーム取付部に連結され、前記縦フレーム取付部よりも内側の位置で前記ブレースの端末を取付可能なブレース取付部と、
    前記縦フレーム取付部に溶接され、かつ、枠状に配置された状態で外側を向く前記横フレームの外側面に沿って配置された状態で前記梁部材又は前記基礎に固定可能な固定板とを備えている、連結金具。
  2. 前記縦フレームは、縦ウェブと、前記縦ウェブの両端から内側に立ち上がる一対の縦フランジと、前記一対の縦フランジからそれぞれ近接する方向に延びる一対の縦リップとを有し、
    前記縦フレームの長手方向に沿って前記縦フレーム内に嵌合可能な縦嵌合部と、
    前記縦嵌合部から前記一対の縦リップ間を通ることができる間隔で互いに平行に延びる一対の延設部とをさらに備え、
    前記ブレース取付部は、前記一対の延設部間に跨るように配置された状態で前記一対の延設部に対して溶接されている、請求項1に記載の連結金具。
  3. 前記縦嵌合部は、前記縦ウェブに沿って配置される前記縦フレーム取付部と、前記一対の縦フランジに沿って配置される一対の縦フランジ配置部と、前記一対の縦リップに沿って配置される一対の縦リップ配置部とを備え、
    前記縦フレーム取付部と前記一対の縦フランジ配置部と前記一対の縦リップ配置部と前記一対の延設部とが一体に構成されている、請求項2に記載の連結金具。
  4. 前記横フレームは、横ウェブと、前記横ウェブの両端から内側に立ち上がる一対の横フランジと、前記一対の横フランジからそれぞれ近接する方向に延びる一対の横リップとを有するとともに、前記縦フレームと同等の断面形状を有し、
    前記一対の延設部に設けられ、前記横フレームの長手方向に沿って前記横フレーム内に嵌合可能な横嵌合部をさらに備えている、請求項2又は3に記載の連結金具。
  5. 前記横嵌合部は、前記横ウェブに沿って配置される横ウェブ配置部と、前記一対の横フランジに沿って配置される一対の横フランジ配置部と、前記一対の横リップに沿って配置される一対の横リップ配置部とを有し、
    前記一対の横フランジ配置部は、ねじ部材によって前記横フランジを取付可能である、請求項4に記載の連結金具。
  6. 前記横ウェブ配置部と前記固定板との間には、前記横ウェブを厚み寸法に挟持可能な間隙が形成されている、請求項5に記載の連結金具。
  7. 前記縦嵌合部は、前記固定板に立設されており、
    前記縦嵌合部と前記横嵌合部との間には、前記一対の縦リップを厚み方向に挟持可能な間隙が形成されている、請求項2〜6の何れか1項に記載の連結金具。
  8. 建築物の基礎、梁部材の少なくとも一方に固定される耐力壁であって、
    枠状に配置された一対の縦フレーム及び一対の横フレームと、
    前記縦フレームの端部と前記横フレームの端部とを連結可能な4つの連結金具と、
    前記4つの連結金具のうち前記枠の対角に配置される2つの連結金具の間にそれぞれ設けられ、前記縦フレーム及び横フレームに生じる力を支持する2本のブレースとを備え、
    前記4つの連結金具は、請求項1〜7の何れか1項に記載の連結金具である、耐力壁。
  9. 建築物であって、
    基礎と、
    梁部材と、
    前記基礎、梁部材の少なくとも一方に固定された請求項8に記載の耐力壁とを備えている、建築物。
JP2011037442A 2011-02-23 2011-02-23 連結金具及びこれを備えた耐力壁並びにこれを用いた建築物 Expired - Fee Related JP5752439B2 (ja)

Priority Applications (5)

Application Number Priority Date Filing Date Title
JP2011037442A JP5752439B2 (ja) 2011-02-23 2011-02-23 連結金具及びこれを備えた耐力壁並びにこれを用いた建築物
PCT/JP2012/000817 WO2012114665A1 (ja) 2011-02-23 2012-02-08 連結金具及びこれを備えた耐力壁並びにこれを用いた建築物
AU2012221627A AU2012221627B2 (en) 2011-02-23 2012-02-08 Connecting fitting, bearing wall provided with same, and building using same
US14/001,035 US8925278B2 (en) 2011-02-23 2012-02-08 Connecting fitting, bearing wall provided with same, and building using same
CN201280010912.6A CN103403275B (zh) 2011-02-23 2012-02-08 连接件、具备该连接件的承重墙以及使用该承重墙的建筑物

Applications Claiming Priority (1)

Application Number Priority Date Filing Date Title
JP2011037442A JP5752439B2 (ja) 2011-02-23 2011-02-23 連結金具及びこれを備えた耐力壁並びにこれを用いた建築物

Publications (2)

Publication Number Publication Date
JP2012172469A true JP2012172469A (ja) 2012-09-10
JP5752439B2 JP5752439B2 (ja) 2015-07-22

Family

ID=46975635

Family Applications (1)

Application Number Title Priority Date Filing Date
JP2011037442A Expired - Fee Related JP5752439B2 (ja) 2011-02-23 2011-02-23 連結金具及びこれを備えた耐力壁並びにこれを用いた建築物

Country Status (1)

Country Link
JP (1) JP5752439B2 (ja)

Cited By (1)

* Cited by examiner, † Cited by third party
Publication number Priority date Publication date Assignee Title
JP2015001115A (ja) * 2013-06-17 2015-01-05 積水ハウス株式会社 耐力壁及び住宅

Citations (2)

* Cited by examiner, † Cited by third party
Publication number Priority date Publication date Assignee Title
JP3431755B2 (ja) * 1996-04-08 2003-07-28 新日本製鐵株式会社 スチールハウスにおける筋違いの接合構造
JP2007262658A (ja) * 2006-03-27 2007-10-11 Jfe Steel Kk 帯板状の筋交いの接合構造、耐力壁パネル

Patent Citations (2)

* Cited by examiner, † Cited by third party
Publication number Priority date Publication date Assignee Title
JP3431755B2 (ja) * 1996-04-08 2003-07-28 新日本製鐵株式会社 スチールハウスにおける筋違いの接合構造
JP2007262658A (ja) * 2006-03-27 2007-10-11 Jfe Steel Kk 帯板状の筋交いの接合構造、耐力壁パネル

Cited By (1)

* Cited by examiner, † Cited by third party
Publication number Priority date Publication date Assignee Title
JP2015001115A (ja) * 2013-06-17 2015-01-05 積水ハウス株式会社 耐力壁及び住宅

Also Published As

Publication number Publication date
JP5752439B2 (ja) 2015-07-22

Similar Documents

Publication Publication Date Title
WO2012114665A1 (ja) 連結金具及びこれを備えた耐力壁並びにこれを用いた建築物
JP5078493B2 (ja) 天井用補強金具とそれを用いた吊り天井
JP2012162873A (ja) 天井構造およびブレース材と天井仕上板の固定金具
JP2013181342A (ja) 天井下地構造
JP4863934B2 (ja) 天井下地取付用c形鋼の取付金具
JP5752439B2 (ja) 連結金具及びこれを備えた耐力壁並びにこれを用いた建築物
JP6151511B2 (ja) 外壁構造
JP5752440B2 (ja) 連結金具及びこれを備えた耐力壁並びにこれを用いた建築物
JP2014015804A (ja) 耐力壁の接合構造及び接合金物
JP4635647B2 (ja) 家具の脚装置
JP6481742B1 (ja) 天井下地構造
JP2017190646A (ja) 天井補強構造およびその施工方法
JP6250929B2 (ja) 外壁構造
RU2268972C1 (ru) Несущий узел для крепления фасадных облицовочных панелей
JP6148466B2 (ja) 外壁構造
JP2014152566A (ja) 耐震金物、及びこれを用いた耐震構造
JP6198496B2 (ja) 天井補強金具ユニット
JP5997935B2 (ja) 角形鋼用吊り金具
RU49059U1 (ru) Несущий узел для крепления фасадных облицовочных панелей (варианты)
KR20080057033A (ko) 이중강판 벽체 패널 및 이의 제조 방법
JP5745825B2 (ja) 外壁固定金具および外壁固定構造
JP2023031936A (ja) 複合縦胴縁、及び、複合縦胴縁を用いた壁下地
JP2022156844A (ja) 吊りボルト取付金物
JP2013204414A (ja) 接合柱脚金物
JP5891983B2 (ja) 耐力壁の接合構造及び接合部材

Legal Events

Date Code Title Description
A621 Written request for application examination

Free format text: JAPANESE INTERMEDIATE CODE: A621

Effective date: 20131220

A131 Notification of reasons for refusal

Free format text: JAPANESE INTERMEDIATE CODE: A131

Effective date: 20141111

A521 Request for written amendment filed

Free format text: JAPANESE INTERMEDIATE CODE: A523

Effective date: 20150107

TRDD Decision of grant or rejection written
A01 Written decision to grant a patent or to grant a registration (utility model)

Free format text: JAPANESE INTERMEDIATE CODE: A01

Effective date: 20150512

A61 First payment of annual fees (during grant procedure)

Free format text: JAPANESE INTERMEDIATE CODE: A61

Effective date: 20150520

R150 Certificate of patent or registration of utility model

Ref document number: 5752439

Country of ref document: JP

Free format text: JAPANESE INTERMEDIATE CODE: R150

R250 Receipt of annual fees

Free format text: JAPANESE INTERMEDIATE CODE: R250

S533 Written request for registration of change of name

Free format text: JAPANESE INTERMEDIATE CODE: R313533

R350 Written notification of registration of transfer

Free format text: JAPANESE INTERMEDIATE CODE: R350

R250 Receipt of annual fees

Free format text: JAPANESE INTERMEDIATE CODE: R250

R250 Receipt of annual fees

Free format text: JAPANESE INTERMEDIATE CODE: R250

R250 Receipt of annual fees

Free format text: JAPANESE INTERMEDIATE CODE: R250

LAPS Cancellation because of no payment of annual fees