JP2012172422A - 排水トラップ - Google Patents

排水トラップ Download PDF

Info

Publication number
JP2012172422A
JP2012172422A JP2011036144A JP2011036144A JP2012172422A JP 2012172422 A JP2012172422 A JP 2012172422A JP 2011036144 A JP2011036144 A JP 2011036144A JP 2011036144 A JP2011036144 A JP 2011036144A JP 2012172422 A JP2012172422 A JP 2012172422A
Authority
JP
Japan
Prior art keywords
receiving chamber
drainage
inlet
bathtub
drain trap
Prior art date
Legal status (The legal status is an assumption and is not a legal conclusion. Google has not performed a legal analysis and makes no representation as to the accuracy of the status listed.)
Granted
Application number
JP2011036144A
Other languages
English (en)
Other versions
JP5703824B2 (ja
Inventor
Haruo Yamazaki
晴生 山▲崎▼
Satoshi Kitamura
総謁 北村
Akiko Kondo
晶子 近藤
Shuhei Haida
周平 灰田
Current Assignee (The listed assignees may be inaccurate. Google has not performed a legal analysis and makes no representation or warranty as to the accuracy of the list.)
Lixil Corp
Original Assignee
Lixil Corp
Priority date (The priority date is an assumption and is not a legal conclusion. Google has not performed a legal analysis and makes no representation as to the accuracy of the date listed.)
Filing date
Publication date
Application filed by Lixil Corp filed Critical Lixil Corp
Priority to JP2011036144A priority Critical patent/JP5703824B2/ja
Publication of JP2012172422A publication Critical patent/JP2012172422A/ja
Application granted granted Critical
Publication of JP5703824B2 publication Critical patent/JP5703824B2/ja
Active legal-status Critical Current
Anticipated expiration legal-status Critical

Links

Images

Landscapes

  • Sink And Installation For Waste Water (AREA)

Abstract

【課題】浴槽排水を受入室内に接線方向に導入して旋回させる排水トラップにおいて、受入室内の上部における旋回流の流速を増大させることができる排水トラップを提供する。
【解決手段】浴槽排水は、浴槽排水流入口12、ダクト部14、導入口22から受入室20内に接線方向に導入され、受入室20内に旋回流を形成する。ヘアキャッチャー37が旋回流で洗浄されると共に、毛髪などが中心に集められる。導入口22は受入室20の周壁21の上部に設けられているので、受入室20内の上部の旋回流が強力となる。
【選択図】図2

Description

本発明は、浴槽及び洗い場用の排水トラップに係り、特に洗い場排水を受け入れる受入室を有する排水トラップにおいて、浴槽排水を受入室内に接線方向に流入させて旋回させる排水トラップに関する。
洗い場排水を受け入れる受入室を有する排水トラップにおいて、該浴槽排水を受入室内に接線方向に流入させて該受入室内に旋回流を形成するよう構成した排水トラップが特開2010−59769号公報に記載されている。このトラップの洗い場排水受入口には、上方が開放したカゴ(篭)状のヘアキャッチャーが着脱自在に装着されている。
浴槽排水がトラップ内に流入し、トラップ内の水位が上昇して旋回流が形成されると、このヘアキャッチャーが旋回流に浸漬され、ヘアキャッチャー内の毛髪などのゴミがヘアキャッチャーの中心に集められる。これにより、ゴミを摘んで捨てることができるようになると共に、ヘアキャッチャーの内外面が旋回流に浸漬されて浄化され、ヌメリ等が除去されるという作用効果が奏される。
特開2010−59769号公報
上記特許文献1の排水トラップにあっては、浴槽排水を受入室に接線方向に導入するための導入口が受入室の内周面の上下方向に長く形成されているので、旋回流が受入室内の全域に形成される。ところが、ヘアキャッチャーに接する旋回流は受入室内の上部の旋回流のみであるので、受入室内下部の旋回流は上記の作用効果に寄与しない。
本発明は、浴槽排水を受入室内に接線方向に導入して旋回させる排水トラップにおいて、受入室内の上部における旋回流の流速を増大させることができる排水トラップを提供することを目的とする。
請求項1の排水トラップは、洗い場排水が受入口から流入する受入室と、該受入口に配置されたヘアキャッチャーと、該受入室を囲む周壁に設けられた導入口と、該導入口に連通した浴槽排水流入口と、該受入室の下部に設けられた排出口と、該排出口に連通した流出口とを備え、該導入口から受入室内に浴槽排水が接線方向に流入し、受入室に旋回流が形成される浴槽及び洗い場用の排水トラップにおいて、該導入口は該受入室の上部に設けられていることを特徴とするものである。
請求項2の排水トラップは、請求項1において、前記導入口は前記周壁の周方向に延在していることを特徴とするものである。
請求項3の排水トラップは、請求項1又は2において、前記導入口と浴槽排水流入口とを連通する浴槽排水用の流路が前記受入室に対し略接線方向に延在していることを特徴とするものである。
本発明の排水トラップにあっては、受入室の周壁の上部に流入口を設けているので、浴槽排水は受入室の上部に接線方向に流入し、受入室の上部に強力な旋回流が形成される。これにより、ヘアキャッチャー内の毛髪などのゴミがヘアキャッチャーの中心に効率よく集められる。また、ヘアキャッチャーの内外面が強い旋回流に浸漬されて強力に浄化され、ヌメリ等が除去される。
また、導入口が受入室の上部に設けられているので、洗い場排水量が多いときでも浴槽排水流入口への逆流が防止される。
なお、浴槽排水流入口からの浴槽排水を受入室に導くための流路が受入室に対し略接線方向に延在していると、導入口から受入室に流入する浴槽排水の流速が増大する。
実施の形態に係る排水トラップの斜視図である。 図1の排水トラップの長手方向の縦断面図である。 図2のIII−III線断面図である。 図1の排水トラップの断面斜視図である。 排水トラップの別の実施の形態を示す断面図である。 排水トラップの別の実施の形態を示す断面図である。 実施の形態に係る排水トラップを備えた浴室の概略的な斜視図である。 異なる実施の形態を示す断面図である。 異なる実施の形態を示す断面図である。 異なる実施の形態を示す断面図である。 異なる実施の形態を示す断面図である。 別の実施の形態に係る排水トラップの断面斜視図である。 別の実施の形態に係る排水トラップの断面斜視図である。 別の実施の形態に係る排水トラップの断面斜視図である。
以下に、図面を参照して本発明の実施の形態について説明する。
第7図の通り、浴室1の床は浴槽パン(図示略)と洗い場パン2とによって構成され、該浴槽パン上に浴槽3が設置されている。洗い場パン2の浴槽3側には排水枡4が設けられている。該排水枡4は洗い場パン2と一体に凹み状に形成されている。この排水枡4の上面には排水目皿5が装着されている。
これらの浴槽パンの排水口及び洗い場パン2の排水枡4に対し、下側から排水トラップ10が連結されている。
第1,2図に示すように、排水トラップ10の長手方向の略中央の上面には、洗い場パン2からの排水が排水枡4を通り流入する洗い場排水受入口11が設けられている。排水トラップ10の長手方向一端側の上面には、浴槽3からの排水が流入する浴槽排水流入口12が設けられ、その近傍には浴槽パンからの排水が流入する浴槽パン排水流入口13が設けられている。
また、この排水トラップ10の他端側には、該排水トラップ10内に流入した水が流出する流出口31が設けられている。この流出口31に排水管6(第7図)が接続されている。
この排水トラップ10内には、洗い場排水受入口11の下側に受入室20が設けられている。この受入室20は、円筒状の周壁21によって囲まれている。周壁21の浴槽排水流入口12側の上部に、受入室20内に浴槽排水を接線方向に流入させるための導入口22が設けられている。この実施の形態では、導入口22は周壁21の周方向に延在した長方形状となっている。なお、第1図には、この導入口22に対し周壁21の内周面側から重なるフラップ弁22fが示されている。(第2図では図示略。)このフラップ弁22fを設けることにより、受入室20からダクト部14側への逆流が防止される。
周壁21の流出口31側にあっては、周壁21の下端と排水トラップ10の底面との間に排出口23が設けられている。導入口22と浴槽排水流入口12とはダクト部14を介して連通している。周壁21の流出口31側と流出口31との間に封水室30が設けられている。流出口31のレベルは封水室30の底面よりも上位となっており、封水室30内には流出口31の下面レベルにまで封水が溜る。周壁21の流出口31側は、その下部がこの封水中に没する上下方向長さを有している。
洗い場排水受入口11にはトラップ取付フランジ34が螺着されており、本体側の上面部35と該フランジ34との間で、排水升4の底部のトラップ取付用開口の縁部をパッキンを介して挟持することにより排水トラップ10が洗い場パン2に固着される。
このトラップ取付フランジ34の内周面の凸部36に係止させてヘアキャッチャー37が該トラップ取付フランジ34に内嵌状に着脱可能に装着されている。
なお、この実施の形態では、周壁21の導入口22の下側は着脱可能な小プレート25にて構成されている。この小プレート25を外すと、受入室20からダクト部14内をメンテナンスすることができる。
第3図の通り、受入室20の底面から導入口22の下縁までの高さHは、該底面からヘアキャッチャー37の下端までの高さHの50〜90%特に70〜80%程度であることが好ましい。
次に、この排水トラップ10の作動について説明する。
洗い場パン2からの排水は、排水枡4及び洗い場排水受入口11を通って受入室20に流入し、排出口23、封水室30及び流出口31から排水管6に流出する。洗い場排水や浴槽排水の流出が停止すると、受入室20及び封水室30内には、封水が残り、この封水に周壁21の下端が没するので、排水管6の臭気が洗い場排水受入口11から浴室内に逆流することが防止される。
浴槽3からの排水は、浴槽排水流入口12及びダクト部14を通り、導入口22から受入室20内へ接線方向に流出するため、受入室20内に旋回流が形成されるようになる。また、この浴槽排水の流入により受入室20内の水位が上昇し、ヘアキャッチャー37が旋回流に浸漬され、ヘアキャッチャー37内の毛髪などのゴミがヘアキャッチャー37の中心に集められる。これにより、ゴミを摘んで捨てることができるようになる。また、ヘアキャッチャー37の内外面が旋回流に浸漬されて浄化され、ヌメリ等が除去される。
この実施の形態では、導入口22が受入室20の上部にのみ設けられており、受入室20内の上部、すなわち、ヘアキャッチャー37付近に強力な旋回流が形成される。これにより、ヘアキャッチャー37内のゴミが効率よく中心付近に集められると共に、ヘアキャッチャー37が強力な旋回流によって洗浄される。なお、浴槽排水の水位が低いときでも受入室の旋回流が十分に強いものとなる。
また、この実施の形態では、ダクト部14が受入室20の略接線方向に直線状に延在しているので、浴槽排水が、その水勢をそがれることなく導入口22から受入室20内に流入するので、これによっても受入室20内の旋回流が強力なものとなる。
この排水トラップでは、導入口22が受入室20内の上部に位置しているので、洗い場から多量の水が受入室20内に流れ込んできても、浴槽排水流入口12側への逆流が防止される。
上記実施の形態では、導入口22は周方向に延在した長方形状となっているが、周方向に長い長円形状であってもよい。また、第5図に示す円形の導入口22Aや、第6図に示す正方形状の導入口22Bであってもよい。第5図及び第6図は第3図と同一部分の断面図であり、その他の構成は第3図と同一である。
導入口のその他の形状例について第12図〜第14図を参照して説明する。なお、第12図〜第14図の排水トラップ10’は上記排水トラップ10と左右が逆となっているが、導入口の形状以外の構成は排水トラップ10と同一であり、同一符号は同一部分を示している。第12図では、導入口22Cは小プレート25の上部において一文字状の水平開口として設けられている。第13図及び第14図では、この導入口22Cの受入室20側に連なる筒状部22tが設けられており、浴槽排水が受入室20からダクト部14側へ逆流することを防止している。なお、第14図では、導入口22Cのダクト部14側の縁部22rを丸みを帯びたR形状とし、これにより、浴槽排水の導入口22Cへの流入抵抗を減少させている。
なお、上記実施の形態では、第2,3図、第5,6図の通り周壁21の内周面とトラップ取付フランジ34の筒部内周面34aが同一径であり、面一状となっている。そのため、周壁21の内周面に沿う旋回流がフランジ34の筒部内周面にも沿ってスムーズに旋回する。
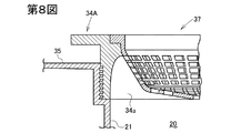
上記実施の形態では、フランジ34の内周面34aは上下方向の全体にわたって実質的に同一径となっているが、第8図のフランジ34Aのように、内周面34aの上部が上方ほど縮径する滑らかに湾曲したテーパ状となっていてもよい。この場合、旋回流がフランジ34Aに沿ってスムーズにヘアキャッチャー37に流れ込む。
フランジ34又は34Aの下端と周壁21の上端との間に隙間があくときには、第9図のようにゴムパッキンなどよりなるスペーサ39を介在させてもよい。
第10図のように、周壁21の内径がフランジ34Bの下部の内径よりも大きいときには、フランジ34Bの内周面34aの下部を下方ほど拡径するテーパ形状とし、内周面34aの下端と周壁21の内周面との段差を小さくするのが好ましい。
上記実施の形態では浴槽排水の全量が受入室20内に流入する構成となっているが、浴槽排水の一部は受入室20を迂回(バイパス)して封水室30へ流れるよう構成してもよい。第11図はその一例に係る排水トラップ10Aを示す水平断面図であり、周壁21の側部に沿ってバイパス流路40が設けられている。第11図の排水トラップ10Aのその他の構成は排水トラップ10と同一である。なお、第11図では、導入口22は浴槽排水の流れの正面に配置され、バイパス流路40の入口は浴槽排水の流れからそれた位置に配置されているため、浴槽排水は導入口22の方に多く流れこむ。そのため、浴槽水位が低いときにも排水は効率的に導入口22から受入室20に流れこみ、強力な旋回流となる。
2 洗い場パン
3 浴槽
4 排水枡
10,10’,10A 排水トラップ
11 洗い場排水受入口
12 浴槽排水流入口
13 浴槽パン排水口流入口
14 ダクト部
20 受入室
21 周壁
22,22A,22B,22C,22D 導入口
23 排出口
25 小プレート
30 封水室
31 流出口
34,34A,34B フランジ
37 ヘアキャッチャー
40 バイパス流路

Claims (3)

  1. 洗い場排水が受入口から流入する受入室と、
    該受入口に配置されたヘアキャッチャーと、
    該受入室を囲む周壁に設けられた導入口と、
    該導入口に連通した浴槽排水流入口と、
    該受入室の下部に設けられた排出口と、
    該排出口に連通した流出口と
    を備え、該導入口から受入室内に浴槽排水が接線方向に流入し、受入室に旋回流が形成される浴槽及び洗い場用の排水トラップにおいて、
    該導入口は該受入室の上部に設けられていることを特徴とする排水トラップ。
  2. 請求項1において、前記導入口は前記周壁の周方向に延在していることを特徴とする排水トラップ。
  3. 請求項1又は2において、前記導入口と浴槽排水流入口とを連通する浴槽排水用の流路が前記受入室に対し略接線方向に延在していることを特徴とする排水トラップ。
JP2011036144A 2011-02-22 2011-02-22 排水トラップ Active JP5703824B2 (ja)

Priority Applications (1)

Application Number Priority Date Filing Date Title
JP2011036144A JP5703824B2 (ja) 2011-02-22 2011-02-22 排水トラップ

Applications Claiming Priority (1)

Application Number Priority Date Filing Date Title
JP2011036144A JP5703824B2 (ja) 2011-02-22 2011-02-22 排水トラップ

Publications (2)

Publication Number Publication Date
JP2012172422A true JP2012172422A (ja) 2012-09-10
JP5703824B2 JP5703824B2 (ja) 2015-04-22

Family

ID=46975598

Family Applications (1)

Application Number Title Priority Date Filing Date
JP2011036144A Active JP5703824B2 (ja) 2011-02-22 2011-02-22 排水トラップ

Country Status (1)

Country Link
JP (1) JP5703824B2 (ja)

Cited By (5)

* Cited by examiner, † Cited by third party
Publication number Priority date Publication date Assignee Title
JP2017179878A (ja) * 2016-03-30 2017-10-05 Toto株式会社 排水トラップ
JP2017179879A (ja) * 2016-03-30 2017-10-05 Toto株式会社 排水トラップ
JP2017179881A (ja) * 2016-03-30 2017-10-05 Toto株式会社 排水トラップ
JP2017179880A (ja) * 2016-03-30 2017-10-05 Toto株式会社 排水トラップ
JP7561614B2 (ja) 2020-12-28 2024-10-04 株式会社Lixil 熱交換機能付き排水トラップ

Citations (4)

* Cited by examiner, † Cited by third party
Publication number Priority date Publication date Assignee Title
JP2003313914A (ja) * 2002-04-24 2003-11-06 Maruichi Kk 排水トラップ
JP2005171707A (ja) * 2003-12-15 2005-06-30 Matsushita Electric Works Ltd 排水トラップ
JP2009167589A (ja) * 2008-01-10 2009-07-30 Inax Corp 排水トラップ
JP2009203784A (ja) * 2008-02-26 2009-09-10 Nippon Alpha:Kk 浴室用排水トラップ

Patent Citations (4)

* Cited by examiner, † Cited by third party
Publication number Priority date Publication date Assignee Title
JP2003313914A (ja) * 2002-04-24 2003-11-06 Maruichi Kk 排水トラップ
JP2005171707A (ja) * 2003-12-15 2005-06-30 Matsushita Electric Works Ltd 排水トラップ
JP2009167589A (ja) * 2008-01-10 2009-07-30 Inax Corp 排水トラップ
JP2009203784A (ja) * 2008-02-26 2009-09-10 Nippon Alpha:Kk 浴室用排水トラップ

Cited By (5)

* Cited by examiner, † Cited by third party
Publication number Priority date Publication date Assignee Title
JP2017179878A (ja) * 2016-03-30 2017-10-05 Toto株式会社 排水トラップ
JP2017179879A (ja) * 2016-03-30 2017-10-05 Toto株式会社 排水トラップ
JP2017179881A (ja) * 2016-03-30 2017-10-05 Toto株式会社 排水トラップ
JP2017179880A (ja) * 2016-03-30 2017-10-05 Toto株式会社 排水トラップ
JP7561614B2 (ja) 2020-12-28 2024-10-04 株式会社Lixil 熱交換機能付き排水トラップ

Also Published As

Publication number Publication date
JP5703824B2 (ja) 2015-04-22

Similar Documents

Publication Publication Date Title
JP5245364B2 (ja) 浴室排水装置
JP5703824B2 (ja) 排水トラップ
JP4709981B2 (ja) 排水トラップ
JP5446123B2 (ja) 排水トラップ
JP5733010B2 (ja) 排水トラップ
CN111139911A (zh) 一种蹲便器
JP4895760B2 (ja) ヘアキャッチャー
JP5929278B2 (ja) 排水トラップ
JP5423059B2 (ja) 浴室排水装置
JP5597794B2 (ja) 槽体と槽体の排水器
JP2009167589A (ja) 排水トラップ
JP6454841B2 (ja) 捕集部材を備えた排水口構造
JP2009150111A (ja) ヘアキャッチャー及びこのヘアキャッチャーを備えた浴室ユニット
JP3879743B2 (ja) 排水トラップ
CN212104411U (zh) 一种蹲便器
CN212561743U (zh) 汇流排水装置
JP6326578B2 (ja) 排水部材
JP4994210B2 (ja) 排水トラップ
JP4757037B2 (ja) 排水トラップ
JP5685830B2 (ja) 排水トラップ
JP6303098B2 (ja) ヘアキャッチャー
JP7249495B2 (ja) 目皿部材を備えた排水継手
JP2009264053A (ja) 排水トラップ
JP2020165159A (ja) 浴室排水装置
JP5224772B2 (ja) 排水トラップ及び排水トラップへの排水方法

Legal Events

Date Code Title Description
A621 Written request for application examination

Free format text: JAPANESE INTERMEDIATE CODE: A621

Effective date: 20130924

A977 Report on retrieval

Free format text: JAPANESE INTERMEDIATE CODE: A971007

Effective date: 20140530

A131 Notification of reasons for refusal

Free format text: JAPANESE INTERMEDIATE CODE: A131

Effective date: 20140603

A521 Written amendment

Free format text: JAPANESE INTERMEDIATE CODE: A523

Effective date: 20140725

TRDD Decision of grant or rejection written
A01 Written decision to grant a patent or to grant a registration (utility model)

Free format text: JAPANESE INTERMEDIATE CODE: A01

Effective date: 20150127

A61 First payment of annual fees (during grant procedure)

Free format text: JAPANESE INTERMEDIATE CODE: A61

Effective date: 20150209

R150 Certificate of patent or registration of utility model

Ref document number: 5703824

Country of ref document: JP

Free format text: JAPANESE INTERMEDIATE CODE: R150

S111 Request for change of ownership or part of ownership

Free format text: JAPANESE INTERMEDIATE CODE: R313111

R350 Written notification of registration of transfer

Free format text: JAPANESE INTERMEDIATE CODE: R350