JP2012148254A - 湿式分級装置 - Google Patents

湿式分級装置 Download PDF

Info

Publication number
JP2012148254A
JP2012148254A JP2011010378A JP2011010378A JP2012148254A JP 2012148254 A JP2012148254 A JP 2012148254A JP 2011010378 A JP2011010378 A JP 2011010378A JP 2011010378 A JP2011010378 A JP 2011010378A JP 2012148254 A JP2012148254 A JP 2012148254A
Authority
JP
Japan
Prior art keywords
classification
tank
powder
liquid
mixed liquid
Prior art date
Legal status (The legal status is an assumption and is not a legal conclusion. Google has not performed a legal analysis and makes no representation as to the accuracy of the status listed.)
Granted
Application number
JP2011010378A
Other languages
English (en)
Other versions
JP5683975B2 (ja
Inventor
Ryuzo Kato
隆三 加藤
Seiki Nonomura
世紀 野々村
Current Assignee (The listed assignees may be inaccurate. Google has not performed a legal analysis and makes no representation or warranty as to the accuracy of the list.)
SEMTECH ENGINEERING CO Ltd
Original Assignee
SEMTECH ENGINEERING CO Ltd
Priority date (The priority date is an assumption and is not a legal conclusion. Google has not performed a legal analysis and makes no representation as to the accuracy of the date listed.)
Filing date
Publication date
Application filed by SEMTECH ENGINEERING CO Ltd filed Critical SEMTECH ENGINEERING CO Ltd
Priority to JP2011010378A priority Critical patent/JP5683975B2/ja
Publication of JP2012148254A publication Critical patent/JP2012148254A/ja
Application granted granted Critical
Publication of JP5683975B2 publication Critical patent/JP5683975B2/ja
Expired - Fee Related legal-status Critical Current
Anticipated expiration legal-status Critical

Links

Images

Landscapes

  • Separation Of Solids By Using Liquids Or Pneumatic Power (AREA)
  • Mixers With Rotating Receptacles And Mixers With Vibration Mechanisms (AREA)

Abstract

【課題】 液体中に混合された粉体を効率よく分級することができる湿式分級装置を提供すること。
【解決手段】 液体中の粉体を分級するための分級槽4と、分級槽4にて分級された粉体を回収するための回収槽6とを備えた湿式分級装置。分級槽4は、分級槽本体10内に配設されたフィルタユニット12と、分級槽本体10内の混合液体Lを超音波を利用して撹拌するための超音波生成手段14とを備え、フィルタユニット12は、吸引空間を規定するユニットハウジング18と、ユニットハウジング18の吸入側に配設されたフィルタ手段とを有し、回収槽6は、回収槽本体40と、回収槽本体40内を減圧するための減圧手段48とを備え、回収槽本体40内がフィルタユニット12の吸引空間に回収ライン46を介して連通されている。
【選択図】 図1

Description

本発明は、液体に混合した粉体を分級するための湿式分級装置に関する。
湿式分級装置として、分級するための容器と、この容器内に設けられた上整流部及び下整流部とを備え、上整流部及び下整流部によって、容器内が下から順に下部液媒部、中間液媒部及び上部液媒部に規定されたものが知られている(例えば、特許文献1参照)。
この湿式分級装置では、下部液媒部に粉体供給部が接続され、上部液媒部に粉体回収部が接続され、また中間液媒部に粉体を液体中に混合するための撹拌手段が配設されている。分級すべき粉体は下部液媒部に供給され、かく供給された粉体の液体中における上昇を利用して分級される。即ち、液体に比して比重が大きいものは下方に沈むのに対し、液体に比しして比重の小さいものは上方に浮き、また体積の小さいものは浮力が小さくて沈む傾向にあるのに対し、体積の大きなものは浮力が大きくて浮く傾向にあり、このようなことを利用して粉体の分級を行い、下整流部及び上整流部を通して上部液媒部に上昇した粉体が粉体回収部に回収される。
特開2009−101312号公報
しかしながら、上述した湿式分級装置では、混合液体中の粉体の上昇を利用して分級しているので、分級の効率が非常に悪いという問題がある。また、例えば、液体より比重の大きい粒子の分級には適用することができず、また例えば直径が5〜20μm程度の微粉体の分級にも適用が難しいという問題がある。
本発明の目的は、液体中に混合された粉体を効率よく分級することができる湿式分級装置を提供することである。
また、本発明の他の目的は、5〜20μm程度の微粉体の分級に好都合に適用することができる湿式分級装置を提供することである。
本発明の請求項1に記載の湿式分級装置は、液体中の粉体を分級するための分級槽と、前記分級槽にて分級された粉体を回収するための回収槽とを備えた湿式分級装置において、
前記分級槽は、粉体が混合された混合液体が収容される分級槽本体と、前記分級槽本体内に配設されたフィルタユニットと、前記分級槽本体内の混合液体を超音波を利用して撹拌するための超音波生成手段とを備え、前記フィルタユニットは、吸引空間を規定するユニットハウジングと、前記ユニットハウジングの吸入側に配設されたフィルタ手段とを有しており、
前記回収槽は、分級された粉体を含む分級混合液体を回収するための回収槽本体と、前記回収槽本体内を減圧するための減圧手段とを備え、前記回収槽本体内が前記フィルタユニットの前記吸引空間に回収ラインを介して連通されており、
前記分級槽内の混合液体に含まれる粉体は、前記フィルタユニットの前記フィルタ手段により分級され、分級された粉体を含む分級混合液体は、前記フィルタユニットの前記吸引空間及び前記回収ラインを通して前記回収槽本体内に回収されることを特徴とする。
また、本発明の請求項2に記載の湿式分級装置では、前記超音波生成手段は、第1の周波数の超音波を生成するための第1超音波発生器と、前記第1の周波数よりも小さい第2の周波数の超音波を生成するための第2超音波発生器とを含んでいることを特徴とする。
また、本発明の請求項3に記載の湿式分級装置では、前記第1超音波発生器は、前記分級槽本体の底壁の周縁部に周方向に間隔をおいて複数配設され、前記第2超音波発生器は、前記分級槽本体の前記底壁の中央部に配設されていることを特徴とする。
また、本発明の請求項4に記載の湿式分級装置では、前記フィルタユニットの前記フィルタ手段は、前記分級装置本体の前記底壁と対向して配置され、前記フィルタ手段と前記底壁との間隔が3〜30mmであることを特徴とする。
また、本発明の請求項5に記載の湿式分級装置では、前記フィルタユニットの前記フィルタ手段のアスペクト比が5〜20であることを特徴とする。
また、本発明の請求項6に記載の湿式分級装置では、前記分級槽には、混合液を撹拌するための循環撹拌ラインが設けられ、前記循環撹拌ラインの一端側は前記分級槽本体の底部に連通され、その他端側は前記フィルタユニットの前記ユニットハウジングの上壁の上方に配設され、前記循環撹拌ラインを通して循環される混合液体によって、前記ユニットハウジングの前記上壁に沈殿した粉体が混合されることを特徴とする。
また、本発明の請求項7に記載の湿式分級装置では、分級する粉体を含む混合液体を供給するための混合液体供給槽と、液体を供給するための液体供給槽とを更に備え、前記混合液体供給槽に関連して混合液体供給ラインが設けられ、前記混合液体供給ラインの排出側が前記分級槽の前記分級槽本体の底部に配設され、また前記液体供給槽に関連して液体供給ラインが設けられ、前記液体供給ラインの排出側が前記分級槽の前記分級槽本体の底部に配設されていることを特徴とする。
また、本発明の請求項8に記載の湿式分級装置では、混合液体中の粉体を分級する分級工程及び前記フィルタユニットの前記フィルタ手段の目詰りを除去する目詰り除去工程が遂行可能であり、前記分級工程においては、前記超音波生成手段及び前記減圧手段が作動され、前記超音波生成手段からの超音波振動によって、前記分級槽内の混合液体が混合されるとともに、前記減圧手段の減圧作用によって、前記分級槽内の混合液体が前記フィルタユニットの前記フィルタ手段を通過し、これによって、混合液体中の粉体の分級が行われ、また前記目詰り除去工程においては、前記超音波発生手段が作動され、前記超音波発生手段からの超音波振動によって、前記フィルタ手段に目詰まりした粉体が除去されることを特徴とする。
本発明の請求項1に記載の湿式分級装置によれば、分級槽は分級槽本体内に配設されたフィルタユニット及び超音波を発生する超音波生成手段を備え、フィルタユニットはユニットハウジングの吸入側に配設されたフィルタ手段を有し、回収槽は分級混合液体を回収するための回収槽本体及びこの回収槽本体内を減圧するための減圧手段を備え、回収槽本体内が回収ラインを介してフィルタユニットの吸引空間に連通されているので、減圧手段による減圧作用が回収ラインを介してフィルタユニットの吸引空間に作用し、分級槽本体内の混合液体はフィルタ手段を通してこの吸引空間に吸引され、かかるフィルタ手段を通過する際に、混合液体中の粉体が分級され、分級された粉体を含む分級混合液体が回収ラインを通して回収槽に回収される。この分級の際には、減圧手段による減圧作用を利用して行うので、粉体の分級効率を高めることができる。また、分級槽本体中の混合液体は超音波発生手段により撹拌されるので、混合液体中の粉体の沈殿が抑えられ、混合液体中の粉体をフィルタユニットのフィルタ手段を通して所要の通りに分級することができる。このような分級は、粒径が5〜20μm程度の微粒子を含む混合液体の分級に好都合に用いることができる。尚、粉体が混合される液体としては、水、アルコール(例えば、エチルアルコール)などの適宜のものを用いることができる。
また、本発明の請求項2に記載の湿式分級装置によれば、超音波生成手段は2種類の超音波発生器を含み、第1超音波発生器は第1の周波数の超音波(周波数の比較的大きい周波数の超音波であって、例えば30〜100kHz程度のもの)を生成し、第2超音波発生器は、第1の周波数よりも小さい第2の周波数の超音波(周波数の比較的小さい超音波であって、例えば20〜80kHz程度のもの)を生成するので、超音波振動によって分級槽本体の底壁の特定部位に混合液体中の粉体が沈殿することが抑えられ、混合液体中の粉体を所要の通りに分級することができる。
また、本発明の請求項3に記載の湿式分級装置によれば、第1超音波発生器は分級槽本体の底壁の周縁部に周方向に間隔をおいて複数配設されるので、その周縁部に第1の周波数の超音波振動を付与することができ、また第2超音波発生器は分級槽本体の底壁の中央部に配設されるので、その中央部に第2の周波数の超音波振動を付与することができ、これらの超音波振動を付与することによって、混合液体中の粉体を効率よく撹拌混合することができる。
また、本発明の請求項4に記載の湿式分級装置によれば、フィルタ手段は分級装置本体の底壁に対向して配置されるので、この分級装置本体内の液体(粉体が混合されている)は、上方に吸い上げられるようにしてフィルタユニットの吸引空間に流れるようになり、従って、この液体に含まれた大きな粉体は、フィルタ手段を通過することなく自重でもって分級装置本体の底壁に沈殿し、これによって、フィルタ手段の目詰まりを効果的に抑えることができる。また、フィルタ手段と分級装置本体の底壁との間隔が3〜30mmであるので、この底壁装着された第1及び第2超音波発生器からの超音波をフィルタ手段に効果的に作用させることができる。
また、本発明の請求項5に記載の湿式分級装置によれば、フィルタ手段のアスペクト比(フィルタ手段の厚さ/分級孔の直径)が5〜20であるので、フィルタ手段の板厚が厚く、超音波生成手段からの超音波振動に耐えるに充分な強度を有している。
また、本発明の請求項6に記載の湿式分級装置によれば、分級槽に循環撹拌ラインが設けられ、分級槽本体の底部からの混合液体が循環撹拌ラインを通してフィルタユニットのユニットハウジングの上壁の上方に送給されるので、ユニットハウジングの上壁に沈殿した粉体が循環撹拌ラインを通して循環される混合液体により混合され、ユニットハウジングの上壁への粉体の沈殿を抑えて混合液体中の粉体を所要の通りに分級することができる。
また、本発明の請求項7に記載の湿式分級装置によれば、混合液体供給槽及び液体供給槽を更に備え、粉体の分級を行うときには、混合液体供給槽からの混合液体が混合液体供給ラインを通して分級槽の分級槽本体の底部に送給され、その後液体供給槽からの液体が液体供給ラインを通して分級槽本体の底部に送給され、このように送給することによって、分級槽本体内の粉体の残留を抑えて粉体の回収効率を高めることができる。
更に、本発明の請求項8に記載の湿式分級装置によれば、混合液体中の粉体を分級する分級工程に加えて、フィルタユニットのフィルタ手段の目詰りを除去する目詰り除去工程が行うことができるので、フィルタ手段の目詰まりを抑えて、混合液体中の粉体を効率よく分級処理することができる。また、目詰り除去工程においては、超音波発生手段が作動され、超音波発生手段からの超音波振動が混合液体(又は液体)を介しフィルタユニットのフィルタ手段に作用するので、フィルタ手段に目詰まりした粉体を効果的に除去することができる。
本発明に従う湿式分級装置の一実施形態を示す簡略断面図。 図1の湿式分級装置におけるフィルタユニットを示す断面図。 図1の湿式分級装置における超音波生成手段及びこれに関連する構成を示す簡略図。 図4(a)〜(c)は、フィルタ手段の製造方法を説明するための説明図。 図1の湿式分級装置の分級動作の流れを示すフローチャート。 図1の湿式分級装置を用いた分級時における超音波生成手段の作動を説明するためのタイムチャート。 超音波生成手段の作動の他の例を説明するためのタイムチャート。
以下、添付図面を参照して、本発明に従う湿式分級装置の一実施形態について説明する。図1において、図示の湿式分級装置は、分級すべき粉体が混合された混合液体を供給するための混合液体供給槽2と、混合液体中の粉体を分級するための分級槽4と、分級槽4にて分級された粉体を含む分級混合液体を回収するための回収槽6とを備えている。
図示の混合液体供給槽2は供給槽本体8を備え、この供給槽本体8に分級すべき粉体を含む液体L(即ち、混合液体)が収容される。この混合液体は、例えば、供給槽本体8内に液体を充填した後粉体を入れて撹拌混合するようにより生成される。尚、図示していないが、この供給槽本体8内に撹拌手段を配設し、この撹拌手段によって混合液体を混合するようにしてもよい。
図示の分級槽4は、分級槽本体10を備え、この分級槽本体10内に分級すべき粉体が混合された混合液体Lが収容される。この分級槽本体10内には、混合液体中の粉体を分級するためのフィルタユニット12が配設されるとともに、分級槽4に関連して、超音波を生成する超音波生成手段14が配設されている。
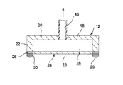
図2をも参照して、フィルタユニット12は、吸引空間16を規定するユニットハウジング18を備えている。ユニットハウジング18は、円形状の上壁20と、この上壁20の周縁部から下方に延びる周側壁22とを有し、これら上壁20及び周側壁22によって、下面が解放された吸引空間16を規定する。このユニットハウジング18の下面開口には、粉体を分級するためのフィルタ手段24が着脱自在に取り付けられている。フィルタ手段24は板状に構成され、外周部に設けられたリング状部26と、このリング状部の径方向内側のメッシュ部28とを有し、メッシュ部28には、多数の小さな分級孔が設けられている。これら分級孔は、例えば、一辺が5〜50μm程度の正方形状でもよく、又は直径が5〜50μm程度の円形状でもよい。
このようなフィルタ手段24のリング状部26は、取付ボルト29を用いてリング状の取付押圧リング30をユニットハウジング18の周側壁22に装着することによって、この周側壁22と取付押圧リング30との間に挟持され、このようにしてフィルタ手段24はユニットハウジング18に着脱自在に装着される。尚、フィルタ手段24の製造方法については、後述する。
図3をも参照して、図示の超音波生成手段14は、第1の周波数(例えば、30〜100kHz程度の周波数)の超音波を発生する第1超音波発生器32と、第1の周波数より低い第2の周波数(例えば、20〜80kHz程度の周波数)の超音波を発生する第2超音波発生器34とを含んでいる。この形態では、第1及び第2超音波発生器32,34は、分級層本体10の底壁36の外面に配設され、比較的大きい周波数の超音波を発生する第1超音波発生器32については、この底壁36の周縁部に周方向に実質上等間隔(例えば、α=120度の角度間隔)をおいて3つ配設され、比較的周波数の小さい超音波を発生する第2超音波発生器34については、この底壁36の中央部に一つ配設され、これら第1及び第2超音波発生器32,34が底カバー35により覆われている。第1超音波発生器32のみを配設したときには、底壁36に付与される振動数が一定となるので、混合液体L中の粉体は隣接する第1超音波発生器32間に集まる傾向にあるが、この第1超音波発生器32に加えて振動数の異なる第2超音波発生器34を配設することによって、上述したような粉体の集まる傾向が解消され、混合液体Lを撹拌して粉体の沈殿を抑えることができ、これによって、分級の際の粉体の回収率を高めることができる。
この実施形態では、第1超音波発生器32を三つ、第2超音波発生器34を一つ設けているが、第1及び第2超音波発生器32,34の個数、その配設部位については適宜に設定することができ、また第1及び第2超音波発生器32,34により付与される超音波振動の周波数いついても適宜に設定することができる。
次に、再び図1に戻って、回収槽6は、回収槽本体40を備え、この回収槽本体40の上面開口が蓋体42により密閉され、回収槽本体40及び蓋体2は、分級された分級混合液体を収容するための密封回収空間44を規定する。この回収槽本体40の回収空間44と分級槽4のフィルタユニット12の吸引空間16とが回収ライン46を介して接続され、フィルタユニット12にて分級された粉体を含む分級混合液体Lは、この回収ライン46を通して回収槽本体40内に回収される。
この回収槽本体40に関連して、密封回収空間44を減圧するための減圧手段48が配設され、この減圧手段48は、例えば真空ポンプから構成される。回収槽6の密封回収空間44と減圧手段48の吸入側とは減圧ライン50を介して接続され、この減圧手段48の排出側が排出ライン52を介して大気中に開放されている。このように構成されているので、減圧手段48が作動すると、回収槽6の回収空間44が減圧され、かかる減圧が回収ライン46を介してフィルタユニット12の吸引空間16に作用し、この減圧作用を利用して分級槽本体10内の混合液体Lがユニットハウジング18の下面開口を通して吸引され、かかる吸引の際に、混合液体Lに含まれた粉体がフィルタ手段24のメッシュ部28によって分級され、分級された粉体を含む分級混合液体Lが、フィルタユニット12の吸引空間16及び回収ライン46を通して回収槽本体40内に回収される。
このような構成に関連して、次のように構成するのが好ましい。即ち、フィルタユニット12のフィルタ手段24が分級層本体10の底壁36に対向するように配置するのが望ましく、このように配置することによって、分級層本体10内の混合液体Lは、底壁36側から上方に吸い上げられるようになり、従って、混合液体L中の大きい粉体は、フィルタ手段24のメッシュ部28を通過することなく、その自重によって下方に沈殿するようになり、これによって、大きい粉体による目詰まりを効果的に抑えることができる。
また、分級層本体10の底壁36とフィルタ手段24(具体的には、メッシュ部28)との間隔S(図1参照)を3〜30mmに、好ましくは5〜25mmに設定するのが望ましく、このように構成することによって、分級層本体10の底壁36の表面付近の粉体を吸い上げてフィルタ手段24を通して所要の通りに分級することができるとともに、この底壁36の裏面に装着された超音波生成手段14(第1及び第2超音波発生器32,34)からの超音波をフィルタ手段24に効果的に作用させることができる。
この形態では、分級槽4におけるフィルタユニット12への粉体の沈殿を抑えるために、循環撹拌ライン50が設けられている。循環撹拌ライン50の一端側は分級槽本体10の底部に連通され、その他端側はフィルタユニット12のユニットハウジング18の上壁20の上方に配設されている。図示の例では、循環撹拌ライン50の他端側は二つに分岐されており、一方の分岐ライン54aは、ユニットハウジング18の上壁20の片側(図1において右側)上方に配設され、他方の分岐ライン54bは、その上壁20の他側(図1において左側)上方に配設されている。この循環撹拌ライン50には、また、循環ポンプ52が配設されている。このように構成されているので、循環ポンプ52が作動すると、分級槽本体10の底部の混合液体Lが、循環撹拌ライン50を通して一対の分岐ライン54a,54bからユニットハウジング18の上壁20上に流れ、かかる混合液体Lの流れによってこの上壁20に沈殿した粉体が混合液体Lに混合され、これによって、分級の際の粉体の回収率を一層高めることができる。
混合液体供給槽2と分級槽4とは、混合液体供給ライン56を介して接続されている。この形態では、混合液体供給ライン56の一端側は供給槽本体8の底部に連通され、その他端側が分級槽本体10の底部に配設され、この混合液体供給ライン56に供給ポンプ60が配設されている。
この形態では、混合液体供給槽2に加えて、液体Mを供給するための液体供給槽62が配設されている。液体供給槽62は供給槽本体64を備え、かかる供給槽本体64内に液体が充填される。この液体供給槽62に関連して液体供給ライン66が設けられ、かかる液体供給ライン66が混合液体供給ライン56に接続され、これらライン56,66の接続部に、それ自体周知の切換弁68が配設されている。切換弁68が第1の状態にあるときには、混合液体供給ライン56が連通状態となり、混合液体供給槽2からの混合液体Lが混合液体供給ライン56を通して分級槽本体10に供給され、かく供給される混合液体Lの流れによって、分級槽本体10内の混合液体Lが撹拌混合される。また、切換弁68が第2の状態になるときには、液体供給ライン66と混合液体供給ライン56とが連通状態となり、液体供給槽62からの液体Mが液体供給ライン66及び混合液体供給ライン56を通して分級槽本体10に供給され、かく供給される液体Mの流れによって、分級槽本体10内の混合液体Lが撹拌混合され、この液体供給槽62を用いることによって、後の説明から理解されるように、分級すべき粉体の回収率を更に高めることができる。
この形態では、液体供給槽62からの液体Mを液体供給ライン66及び混合液体供給ライン56を介して分級槽4に供給するようにしているが、このような構成に限定されず、液体供給槽62からの液体Mを液体供給ライン66を介して分級槽4に直接的に供給するようにしてもよく、この場合、液体供給ライン66にも供給ポンプが配設される(この場合、切換弁68は省略することができる)。
また、この形態では、混合液体供給槽2に混合液体Lを収容し、この混合液体Lを混合液体供給ライン56を介して分級槽4に供給するようにしているが、このような構成に代えて、分級槽4の分級槽本体10に液体を供給するとともに、分級槽本体10内の液体に分級すべき粉体を供給し、分級槽本体10内でこれら液体及び粉体を撹拌混合して混合液体Lを生成し、このように生成した混合液体の粉体をフィルタユニット12で分級するようにしてもよい。
次に、主として図4(a)〜(c)を参照して、フィルタ手段24の製造方法の一例について説明する。まず、図4(a)で示すように、例えば、ステンレス鋼から形成される基板102の表面に、分級孔104に対応するレジスト支柱106を形成する。このレジスト支柱106の形成は、それ自体周知のフォトリソグラフィ技術を用いて形成することができる。即ち、基板102の表面にレジスト108(このレジスト108の厚さがレジスト支柱106に高さHとなる)を塗布し、このレジスト108の表面にマスクを密着させて露光を行い、その後、この基板102を現像液に浸して余分な部分のレジストを除去し、このようにして基板102の表面に所望のレジスト支柱106を形成することができる。
そして、この基板102を電鋳槽に浸してそれ自体周知のエレクトロフォーミング処理(所謂、電鋳処理)を施して、図4(b)で示すように、基板102の表面に金属を析出させてエレクトロフォーミング層110を形成する。このとき、レジスト108に覆われた部分には金属は析出せず、基板102の表面が露出している部分に金属が析出し、析出した金属はレジスト支柱106に沿って上方に成長し、このようにしてエレクトロフォーミング層110が形成される。
その後、図4(c)で示すように、形成されたエレクトロフォーミング層110から基板102及びレジスト支柱106を矢印112で示す方向に押して抜き出し、このようにして分離したプレート状のエレクトロフォーミング層110がフィルタ手段24となり、レジスト支柱106に対応した貫通孔が、フィルタ手段24のメッシュ部28の分級孔104として機能する。
このようなエレクトロフォーミング処理を用いると、フィルタ手段24のメッシュ部28のアスペクト比(メッシュ部28の板厚/分級孔104の孔径)が5〜20のものを容易に製作することができ、このようなフィルタ手段24は板厚が充分に厚く、超音波生成手段14(第1及び第2超音波発生器32,34)からの超音波が作用しても破損などすることなく、充分な強度を確保することができる。
このエレクトロフォーミング処理を用いて例えば、厚さ50μm、孔径5μmの分級孔104を形成しようとすると、基板102の表面に、例えば70μmの厚さのレジスト108を塗布してレジスト支柱106を形成し、そして、エレクトロフォーミング処理により金属の析出を厚さ50μmまで成長させればよく、このようにすることによってアスペクト比が10のフィルタ手段24を製作することができる。また、このようなエレクトロフォーミング処理を用いると充分な高度を確保することができ、縦方向(及び横方向)に相互に隣接する分級孔104の間の間隔W(図4(c)参照)を10〜20μmとすることができ〔換言すると、相互に隣接する分級孔104のピッチPを、P=(分級孔104の径+間隔Wとすることができる〕、このように隣接する分級孔104の間隔を小さくすることにより、フィルタ手段24のメッシュ部28の開口率を高め、その結果、微粉体の分級効率を高めることができる。
この湿式分級装置は、5〜20μm程度の粒径を有する微粉体の分級に好都合に適用することができ、この微粉体を効率よく分級することができる。また、粉体を混合する液体として水、アルコール(例えば、エチルアルコール)などを用いることができ、微粉体との関連で適宜のものを選択することができる。
次に、図1〜図3とともに、図5を参照して、上述した湿式分級装置による粉体の分級について説明する。粉体の分級を行うには、混合液体供給槽2に液体を充填した後に、液体内に分級すべき粉体を加え、液体及び粉体を撹拌して混合液体Lを生成する(ステップS1)。このとき、液体供給槽62にも液体Mを充填する。
そして、混合液体供給槽2から混合液体Lを分級槽4に供給して粉体の分級を行う(分級工程の遂行)。切換弁68が第1の状態に保持されるとともに、供給ポンプ60が作動され、混合液体供給槽2内の混合液体Lが混合液体供給ライン56を通して分級槽4に供給され(ステップS2)、この分級槽4にて、供給された混合液体に含まれた粉体の分級が行われる(ステップS3)。
粉体の分級時には、減圧手段48が作動されるとともに、超音波生成手段14及び循環ポンプ52が作動され、混合液体L中の粉体の分級が効率よく行われる。即ち、減圧手段48が作動すると、回収槽6内が減圧状態に保たれ、この減圧状態が回収ライン46を介してフィルタユニット12の吸引空間16に作用し、これによって、分級槽4内の混合液体Lがフィルタ手段24のメッシュ部28を通して吸引空間16に流入し、この流入の際に、混合液体Lに含まれた粉体の分級が行われる。分級された粉体を含む分級混合液体Lは、回収ライン46を通して回収槽6に回収される。
また、超音波生成手段14(即ち、第1及び第2超音波発生器32,34)が作動すると、分級槽本体10の底壁36に2種類の超音波振動が付与され、これによって、分級槽本体10内の混合液体Lが撹拌混合され、混合液体L中の粉体の底壁36への沈殿を抑えて粉体を分級することができる。また、循環ポンプ52が作動すると、分級槽本体10の底部の混合液体Lが循環ライン50を通してフィルタユニット12のユニットハウジング18の上壁20に上面に送給され、かかる混合液体Lの循環によってユニットハウジング18の上壁20の上方の混合液体Lが混合され、混合液体L中の粉体の上壁20上への沈殿を抑えて粉体を分級することができる。
第1及び第2超音波発生器32,34の作動は、例えば、図6に示すように行われる。即ち、第1超音波発生器32と第2超音波発生器34とを交互に作動させて分級槽本体10の底壁36に2種類の超音波振動を付与するようにすることができる。第1及び第2超音波発生器32,34を作動させる時間間隔は、3〜15秒程度、例えば5秒の適宜の時間に設定することができ、第1超音波発生器32については、時刻t1〜t2、t3〜t4、t5〜t6・・・の間作動され、第2超音波発生器34については、時刻0〜t1、t2〜t3、t4〜t5・・・の間作動される。
第1及び第2超音波発生器32,34の作動は、例えば、図7に示すように行うようにしてもよく、このようにすると、分級槽本体10の底壁36により強い超音波振動を付与することができる。かかる場合、第1の時間(例えば、時刻0〜t1、t2〜t3、t4〜t5・・・)については、第1及び第2超音波発生器32,34が作動され、第2の時間(例えば、時刻t1〜t2、t3〜t4、t5〜t6・・・)については、第2超音波発生器34が作動され、第1及び第2超音波発生器32,34をこのように作動制御するようにしてもよい。
上述した粉体の分級が第1所定時間(例えば、1〜5分程度の適宜の時間に設定される)継続して行われると、ステップS4からステップS5に進み、粉体の分級が一時的に中止され、フィルタ手段24の洗浄(目詰り除去工程)が行われる(ステップS6)。ステップS5においては、供給ポンプ60が作動停止して混合液体Lの供給が停止し、また減圧手段48が作動停止して粉体の分級が停止する。このとき、循環ポンプ52の作動が停止して混合液体Lの循環が停止し、更に超音波生成手段14(第1及び第2超音波発生器32,34)が作動停止して超音波振動の付与が停止する。
フィルタ手段24の洗浄(目詰り除去工程)においては、超音波生成手段14が作動し、この超音波生成手段14からの超音波振動が、分級槽本体10内の混合液体Lを介してフィルタユニット12のフィルタ手段24(メッシュ部28)に作用し、フィルタ手段24に目詰まりした粉体が振るい落とされ、このようにして目詰まりが解消される。
この実施形態では、目詰り除去工程においては、超音波生成手段14の第1及び第2超音波発生器32,34が作動され、これらからの超音波振動がフィルタ手段24に作用するので、比較的強い超音波振動がフィルタ手段24に作用し、目詰まりした粉体を確実に除去することができる。尚、この目詰り除去工程においては、フィルタ手段24の目詰り状態に応じて、第1超音波発生器32又は第2超音波発生器34のみを作動させるようにしてもよい。
フィルタ手段24の洗浄を所定の洗浄時間(例えば、30〜90秒の適宜の時間であって、例えば60秒に設定される)行うと、ステップS7からステップS3に戻り、上述した粉体の分級が再び行われ、混合液体供給槽2内の混合液体Lがなくなる、換言するとこの混合液体Lの供給が終了するまで、粉体の分級(ステップS6)及びフィルタ手段24の洗浄(ステップS6)が繰り返し行われる。
混合液体供給槽2内の混合液体Lがなくなると、ステップS8からステップS9に進み、混合液体Lの供給が終了し、液体供給槽62からの液体Mの供給が行われる。即ち、切換弁68が第1の状態から第2の状態に切り換えられ、液体供給槽62からの液体Mが液体供給ライン66及び混合液体供給ライン56を通して分級槽4に供給される。このとき、供給ポンプ6、減圧手段48、循環ポンプ52及び超音波生成手段14が作動しており、従って、液体Mが供給されると、分級槽4に残留する混合液体M(フィルタユニット12の下側に残留する混合液体L)が薄められて残留する粉体に対する分級が行われる。
このようにして第2所定時間(例えば、60〜200秒程度の適宜の時間に設定される)行うと、ステップS11からステップS12に進み、分級槽4に残留する粉体が充分に分級回収されたとして、供給ポンプ60の作動が停止し、液体供給槽62からの液体Mの供給が終了する。そして、分級槽4の液面レベルが最低になる、即ちこの液面レベルがフィルタユニット24のフィルタ手段24まで低下すると、ステップS13からステップS14に進み、分級槽4内の薄められた混合液体Lの分級回収ができなくなり、このようにして粉体の分級が終了する。この形態では、分級槽4に残留する混合液体Lに対しても液体Mを供給して残留粉体に対する分級回収を行っているので、分級すべき粉体の回収率を高めることができる。
以上、本発明に従う湿式分級装置の一実施形態について説明したが、本発明はかかる実施形態に限定されるものではなく、本発明の範囲を逸脱することなく種々の変更乃至修正が可能である。
例えば、上述した実施形態では、超音波生成手段14を発生周波数の異なる2種の超音波発生器(即ち、第1及び第2超音波発生器32,34)から構成しているが、この超音波生成手段を発生周波数の異なる3種以上の超音波発生器から構成するようにしてもよい。
また、上述した実施形態においては、粉体の分級(分級工程)を第1所定時間継続して行った後にフィルタ手段24の洗浄(目詰り除去工程)を行っているが、このような構成に代えて、フィルタ手段24の目詰りが生じた時点(例えば、回収ライン46を通して回収される分級混合液体Lの回収流量が低下した時点)でフィルタ手段24の洗浄を行うようにしてもよい。
更に、上述した実施形態においては、液体供給槽62からの液体Mの供給を第2所定時間行っているが、このような構成に限定されず、液体供給槽62内の液体Mがなくなるまで行うようにしてもよい。
2 混合液体供給槽
4 分級槽
6 回収槽
10 分級槽本体
12 フィルタユニット
14 超音波生成手段
18 ユニットハウジング
24 フィルタ手段
32 第1超音波発生器
34 第2超音波発生器
46 回収ライン
48 減圧手段
50 循環ライン
62 液体供給槽
102 基板
104 分級孔
106 レジスト支柱
110 エレクトロフォーミング層
L 混合液体
M 液体





Claims (8)

  1. 液体中の粉体を分級するための分級槽と、前記分級槽にて分級された粉体を回収するための回収槽とを備えた湿式分級装置において、
    前記分級槽は、粉体が混合された混合液体が収容される分級槽本体と、前記分級槽本体内に配設されたフィルタユニットと、前記分級槽本体内の混合液体を超音波を利用して撹拌するための超音波生成手段とを備え、前記フィルタユニットは、吸引空間を規定するユニットハウジングと、前記ユニットハウジングの吸入側に配設されたフィルタ手段とを有しており、
    前記回収槽は、分級された粉体を含む分級混合液体を回収するための回収槽本体と、前記回収槽本体内を減圧するための減圧手段とを備え、前記回収槽本体内が前記フィルタユニットの前記吸引空間に回収ラインを介して連通されており、
    前記分級槽内の混合液体に含まれる粉体は、前記フィルタユニットの前記フィルタ手段により分級され、分級された粉体を含む分級混合液体は、前記フィルタユニットの前記吸引空間及び前記回収ラインを通して前記回収槽本体内に回収されることを特徴とする湿式分級装置。
  2. 前記超音波生成手段は、第1の周波数の超音波を生成するための第1超音波発生器と、前記第1の周波数よりも小さい第2の周波数の超音波を生成するための第2超音波発生器とを含んでいることを特徴とする請求項1に記載の湿式分級装置。
  3. 前記第1超音波発生器は、前記分級槽本体の底壁の周縁部に周方向に間隔をおいて複数配設され、前記第2超音波発生器は、前記分級槽本体の前記底壁の中央部に配設されていることを特徴とする請求項2に記載の湿式分級装置。
  4. 前記フィルタユニットの前記フィルタ手段は、前記分級装置本体の前記底壁と対向して配置され、前記フィルタ手段と前記底壁との間隔が3〜30mmであることを特徴とする請求項3に記載の湿式分級装置。
  5. 前記フィルタユニットの前記フィルタ手段のアスペクト比が5〜20であることを特徴とする請求項1〜4のいずれかに記載の湿式分級装置。
  6. 前記分級槽には、混合液を撹拌するための循環撹拌ラインが設けられ、前記循環撹拌ラインの一端側は前記分級槽本体の底部に連通され、その他端側は前記フィルタユニットの前記ユニットハウジングの上壁の上方に配設され、前記循環撹拌ラインを通して循環される混合液体によって、前記ユニットハウジングの前記上壁に沈殿した粉体が混合されることを特徴とする請求項1に記載の湿式分級装置。
  7. 分級する粉体を含む混合液体を供給するための混合液体供給槽と、液体を供給するための液体供給槽とを更に備え、前記混合液体供給槽に関連して混合液体供給ラインが設けられ、前記混合液体供給ラインの排出側が前記分級槽の前記分級槽本体の底部に配設され、また前記液体供給槽に関連して液体供給ラインが設けられ、前記液体供給ラインの排出側が前記分級槽の前記分級槽本体の底部に配設されていることを特徴とする請求項1に記載の湿式分級装置。
  8. 混合液体中の粉体を分級する分級工程及び前記フィルタユニットの前記フィルタ手段の目詰りを除去する目詰り除去工程が遂行可能であり、前記分級工程においては、前記超音波生成手段及び前記減圧手段が作動され、前記超音波生成手段からの超音波振動によって、前記分級槽内の混合液体が混合されるとともに、前記減圧手段の減圧作用によって、前記分級槽内の混合液体が前記フィルタユニットの前記フィルタ手段を通過し、これによって、混合液体中の粉体の分級が行われ、また前記目詰り除去工程においては、前記超音波発生手段が作動され、前記超音波発生手段からの超音波振動によって、前記フィルタ手段に目詰まりした粉体が除去されることを特徴とする請求項1に記載の湿式分級装置。








JP2011010378A 2011-01-21 2011-01-21 湿式分級装置 Expired - Fee Related JP5683975B2 (ja)

Priority Applications (1)

Application Number Priority Date Filing Date Title
JP2011010378A JP5683975B2 (ja) 2011-01-21 2011-01-21 湿式分級装置

Applications Claiming Priority (1)

Application Number Priority Date Filing Date Title
JP2011010378A JP5683975B2 (ja) 2011-01-21 2011-01-21 湿式分級装置

Publications (2)

Publication Number Publication Date
JP2012148254A true JP2012148254A (ja) 2012-08-09
JP5683975B2 JP5683975B2 (ja) 2015-03-11

Family

ID=46791074

Family Applications (1)

Application Number Title Priority Date Filing Date
JP2011010378A Expired - Fee Related JP5683975B2 (ja) 2011-01-21 2011-01-21 湿式分級装置

Country Status (1)

Country Link
JP (1) JP5683975B2 (ja)

Cited By (3)

* Cited by examiner, † Cited by third party
Publication number Priority date Publication date Assignee Title
CN103586123A (zh) * 2013-11-12 2014-02-19 成都青洋电子材料有限公司 一种金刚砂分选方法及分选系统
JP2014042868A (ja) * 2012-08-24 2014-03-13 Semtech Engineering Co Ltd 湿式分級装置
JP2017217638A (ja) * 2016-06-10 2017-12-14 デンカ生研株式会社 撹拌装置

Citations (6)

* Cited by examiner, † Cited by third party
Publication number Priority date Publication date Assignee Title
JPS62180763A (ja) * 1986-02-04 1987-08-08 Tateho Kagaku Kogyo Kk 短繊維もしくはウイスカ−の篩別方法ならびにこれに使用する篩別装置
JPS63104664A (ja) * 1986-10-22 1988-05-10 Sekisui Plastics Co Ltd 超音波を利用した微小粒子の分級方法
JPH04103772A (ja) * 1990-08-22 1992-04-06 Nippon Denso Kogyo Kk 無電解メッキ装置
JPH08500058A (ja) * 1993-05-26 1996-01-09 テルソニック、アクチェンゲゼルシャフト 物質をふるい掛け、分類分け、濾過、フィルタリングあるいは寸法分けするための装置と方法
JP2001252590A (ja) * 2000-03-13 2001-09-18 Nippon Shokubai Co Ltd 粉体の分級方法、及び分級された粒子
JP2003225586A (ja) * 2002-02-01 2003-08-12 Asahi Kasei Corp 粒子径分布の狭い金属微粒子

Patent Citations (6)

* Cited by examiner, † Cited by third party
Publication number Priority date Publication date Assignee Title
JPS62180763A (ja) * 1986-02-04 1987-08-08 Tateho Kagaku Kogyo Kk 短繊維もしくはウイスカ−の篩別方法ならびにこれに使用する篩別装置
JPS63104664A (ja) * 1986-10-22 1988-05-10 Sekisui Plastics Co Ltd 超音波を利用した微小粒子の分級方法
JPH04103772A (ja) * 1990-08-22 1992-04-06 Nippon Denso Kogyo Kk 無電解メッキ装置
JPH08500058A (ja) * 1993-05-26 1996-01-09 テルソニック、アクチェンゲゼルシャフト 物質をふるい掛け、分類分け、濾過、フィルタリングあるいは寸法分けするための装置と方法
JP2001252590A (ja) * 2000-03-13 2001-09-18 Nippon Shokubai Co Ltd 粉体の分級方法、及び分級された粒子
JP2003225586A (ja) * 2002-02-01 2003-08-12 Asahi Kasei Corp 粒子径分布の狭い金属微粒子

Cited By (3)

* Cited by examiner, † Cited by third party
Publication number Priority date Publication date Assignee Title
JP2014042868A (ja) * 2012-08-24 2014-03-13 Semtech Engineering Co Ltd 湿式分級装置
CN103586123A (zh) * 2013-11-12 2014-02-19 成都青洋电子材料有限公司 一种金刚砂分选方法及分选系统
JP2017217638A (ja) * 2016-06-10 2017-12-14 デンカ生研株式会社 撹拌装置

Also Published As

Publication number Publication date
JP5683975B2 (ja) 2015-03-11

Similar Documents

Publication Publication Date Title
JP5683975B2 (ja) 湿式分級装置
KR101420511B1 (ko) 자성 나노입자의 세정장치 및 이를 이용한 자성 나노입자의 세정방법
JP2016175009A (ja) 沈殿池
JP2008202456A (ja) 泥水圧送装置
JP6012338B2 (ja) 湿式分級装置
RU142084U1 (ru) Устройство для обработки отработанного бурового раствора и шлама
JP5683999B2 (ja) 湿式分級装置
JP2002307053A (ja) オゾン水生成装置の気液分離器、及びオゾン水生成装置
CN210448507U (zh) 净化器超声波液气过滤组件
JP2009106800A (ja) 振動篩装置
JP2002307054A (ja) オゾン水生成装置の気液分離器、及びオゾン水生成装置
CN101269279A (zh) 立式滤网多组组合水过滤装置
JPH09108548A (ja) 浸漬型膜分離装置
JPH11266839A (ja) 洗浄装置
CN213266067U (zh) 半导体衬底晶片生产废水处理系统
CN205850312U (zh) 油水分离处理系统
JPH04176305A (ja) 液体清浄装置
CN108787616A (zh) 一种整形美容手术器具用清洗装置
CN201216896Y (zh) 立式滤网多组组合水过滤装置
JP5706256B2 (ja) 浚渫土砂の分別船とその分別方法
KR100827481B1 (ko) 웨이퍼의 도금장치
JP2001179013A (ja) 濾過式水処理装置及び濾過担体洗浄方法
JP6309348B2 (ja) 分級装置、汚染水処理システム、及び分級方法
JP2016112543A (ja) 固形物の洗浄装置
CN115135401B (zh) 使泡沫产品脱泡

Legal Events

Date Code Title Description
A621 Written request for application examination

Free format text: JAPANESE INTERMEDIATE CODE: A621

Effective date: 20140117

A521 Request for written amendment filed

Free format text: JAPANESE INTERMEDIATE CODE: A523

Effective date: 20140305

A871 Explanation of circumstances concerning accelerated examination

Free format text: JAPANESE INTERMEDIATE CODE: A871

Effective date: 20140702

A977 Report on retrieval

Free format text: JAPANESE INTERMEDIATE CODE: A971007

Effective date: 20140905

A975 Report on accelerated examination

Free format text: JAPANESE INTERMEDIATE CODE: A971005

Effective date: 20140912

A131 Notification of reasons for refusal

Free format text: JAPANESE INTERMEDIATE CODE: A131

Effective date: 20140917

A521 Request for written amendment filed

Free format text: JAPANESE INTERMEDIATE CODE: A523

Effective date: 20141113

TRDD Decision of grant or rejection written
A01 Written decision to grant a patent or to grant a registration (utility model)

Free format text: JAPANESE INTERMEDIATE CODE: A01

Effective date: 20150108

A61 First payment of annual fees (during grant procedure)

Free format text: JAPANESE INTERMEDIATE CODE: A61

Effective date: 20150114

R150 Certificate of patent or registration of utility model

Ref document number: 5683975

Country of ref document: JP

Free format text: JAPANESE INTERMEDIATE CODE: R150

R250 Receipt of annual fees

Free format text: JAPANESE INTERMEDIATE CODE: R250

R250 Receipt of annual fees

Free format text: JAPANESE INTERMEDIATE CODE: R250

R250 Receipt of annual fees

Free format text: JAPANESE INTERMEDIATE CODE: R250

R250 Receipt of annual fees

Free format text: JAPANESE INTERMEDIATE CODE: R250

LAPS Cancellation because of no payment of annual fees