JP2012135852A - Dustproof device for abrasive blasting - Google Patents

Dustproof device for abrasive blasting Download PDF

Info

Publication number
JP2012135852A
JP2012135852A JP2010291343A JP2010291343A JP2012135852A JP 2012135852 A JP2012135852 A JP 2012135852A JP 2010291343 A JP2010291343 A JP 2010291343A JP 2010291343 A JP2010291343 A JP 2010291343A JP 2012135852 A JP2012135852 A JP 2012135852A
Authority
JP
Japan
Prior art keywords
hood
dust
blasting
discharge pipe
blast
Prior art date
Legal status (The legal status is an assumption and is not a legal conclusion. Google has not performed a legal analysis and makes no representation as to the accuracy of the status listed.)
Withdrawn
Application number
JP2010291343A
Other languages
Japanese (ja)
Inventor
Toshimasa Shimizu
利眞 清水
Naoyuki Ito
直行 伊藤
Toshio Mizunoe
俊雄 水ノ上
Current Assignee (The listed assignees may be inaccurate. Google has not performed a legal analysis and makes no representation or warranty as to the accuracy of the list.)
Mitsubishi Heavy Industries Ltd
Original Assignee
Mitsubishi Heavy Industries Ltd
Priority date (The priority date is an assumption and is not a legal conclusion. Google has not performed a legal analysis and makes no representation as to the accuracy of the date listed.)
Filing date
Publication date
Application filed by Mitsubishi Heavy Industries Ltd filed Critical Mitsubishi Heavy Industries Ltd
Priority to JP2010291343A priority Critical patent/JP2012135852A/en
Publication of JP2012135852A publication Critical patent/JP2012135852A/en
Withdrawn legal-status Critical Current

Links

Images

Landscapes

  • Prevention Of Fouling (AREA)

Abstract

PROBLEM TO BE SOLVED: To provide a dustproof device for abrasive blasting capable of properly discharging the dust of abrasive blasting treatment having a width in particulate size distribution to the outside of the a hood, being lightweight, having superior handling properties.SOLUTION: The dustproof device 1 for the abrasive blasting surrounding a blasting surface 41 and preventing the dust including blasting materials or blasting chips from scattering has a casing body shape hood 11 having an opening 12 formed in the surface facing a blasting surface 41 and an inserting opening 13 into which a blasting material jetting nozzle 2 is inserted, a seal means 21 for hermetically sealing the gap of the surrounding of the opening of the hood 11 and the blasting surface, and the bottom discharging pipe 14 connected to the bottom of the hood 11, and further has the first dust discharging the means for discharging the dust while dropping the dust from the bottom discharging pipe, an upper part discharging pipe 16 connecting upward from the bottom of the hood, and a negative pressure generating means for making the inside space of hood negative pressure, and further has the second dust discharging means for discharging air including the dust within the hood from the upper discharging pipe 16 by the negative pressure.

Description

本発明は、ブラスト処理により発生する粉塵が周囲に飛散することを防止するブラスト用防塵装置に関する。   The present invention relates to a dust proofing device for blasting that prevents dust generated by blasting from being scattered around.

従来から、研掃材が混入された噴射流をブラスト面に吹き付けて、さびやスケールや塗膜等を除去するブラスト処理が広く用いられている。例えば、修繕船ドックで行われるブラスト工事においては、屋外または船内で、空気圧を用いて研掃材を高速で塗装面に衝突させ、塗装面表面のさびを除去している。図9に示すように、ブラスト面57が高所に位置する場合は、クレーン51により移動可能な作業台52に作業員53が乗り、ブラストガン55を操作して船体56のブラスト面57に研掃材を噴射していた。このようなブラスト工事は、作業範囲が広範囲に亘るため、従来はブラストガン55を外部に露出した状態で使用していた。   2. Description of the Related Art Conventionally, a blasting process has been widely used in which a jet stream mixed with a polishing material is sprayed onto a blast surface to remove rust, scale, coating film, and the like. For example, in blasting work performed at a repair ship dock, rust on the painted surface is removed by causing the abrasive to collide with the painted surface at high speed using air pressure outdoors or in the ship. As shown in FIG. 9, when the blast surface 57 is located at a high place, an operator 53 gets on the work table 52 movable by the crane 51 and operates the blast gun 55 to sharpen the blast surface 57 of the hull 56. Sweeper was sprayed. Since such a blasting work has a wide working range, conventionally, the blasting gun 55 has been used with the outside exposed.

ブラスト処理では、ブラストガンから噴射される研掃材若しくは該研掃材により削られた研掃屑を含む粉塵が飛散し、屋外で作業している場合には周辺地域に粉塵被害をもたらすことがある。また屋内で作業している場合には屋内に粉塵が充満してしまう。これに対して、粉塵の飛散防止の観点から液体を含んだ研掃材が商品化されているが、この液体が水を含む場合、ブラスト処理後の塗装面に水分が残り、再度さびが発生してしまうという問題があった。また、液体に水以外の薬品を用いる場合、薬品が飛散して安全性に課題が残るとともにコストが高くなるという問題があった。   In the blasting process, dust containing abrasives sprayed from a blast gun or abrasive scraps scraped by the abrasives is scattered, which may cause dust damage to the surrounding area when working outdoors. is there. In addition, when working indoors, dust is filled indoors. On the other hand, a polishing material containing liquid has been commercialized from the viewpoint of preventing dust scattering, but when this liquid contains water, moisture remains on the painted surface after blasting and rusting occurs again. There was a problem of doing. In addition, when a chemical other than water is used for the liquid, there is a problem in that the chemical is scattered to leave a problem in safety and increase the cost.

そこで、ブラスト処理における粉塵の飛散防止対策として、ブラスト面をフードで覆うようにした装置が提案されている。例えば、特許文献1(特開昭61−103777号公報)に船体側板研掃装置が開示されている。この装置は、船体側板面に密接可能な開口部が設けられた防塵フードと、防塵フード底部に取り付けられた研掃材回収用ホッパと、研掃材噴射用ノズルとを有するとともに、船体側板面の順移動が可能なように駆動機構を有している。   Thus, as a measure for preventing dust scattering in the blasting process, an apparatus in which the blast surface is covered with a hood has been proposed. For example, Patent Document 1 (Japanese Patent Laid-Open No. 61-103777) discloses a hull side plate cleaning apparatus. This device has a dust-proof hood provided with an opening that can be brought into close contact with the hull-side plate surface, an abrasive recovery hopper attached to the bottom of the dust-proof hood, and an abrasive nozzle, and the hull-side plate surface. It has a drive mechanism so that the forward movement can be performed.

また、関連する技術として、特許文献2(特開2003−1563号公報)にフード式ブラスト処理装置が開示されている。この装置は、ブラストノズルと、一部が開口され、一端からブラストノズルが差し込まれるフードとを有している。さらに、フードは、その下面に形成された排出口に向かって傾斜しており、これにより粉塵が排出口に向かって移動して自然に排出されるようになっている。   As a related technique, a hood type blast processing apparatus is disclosed in Patent Document 2 (Japanese Patent Laid-Open No. 2003-1563). This device has a blast nozzle and a hood that is partially open and into which the blast nozzle is inserted from one end. Further, the hood is inclined toward the discharge port formed on the lower surface thereof, whereby the dust moves toward the discharge port and is naturally discharged.

特開昭61−103777号公報JP 61-103777 A 特開2003−1563号公報JP 2003-1563 A

しかしながら、上記した特許文献1や特許文献2においては、重力によりフード底部に溜まる粉塵は排出口より外部に排出できるが、空気中に滞留する粉塵は排出することができなかった。ブラストにより発生する粉塵は、研掃材の他にさびやスケールや塗膜等の研掃屑を含むが、この研掃屑は研掃材の衝突により割れたり粉砕されたりして微細化するものもある。微細化した粉塵は重力落下せずにフード内空間で浮遊する。この浮遊粉塵が溜まってくるとブラスト面が視認しにくくなり、作業が困難となってしまう。このように、ブラスト処理の粉塵は粒径分布に幅があるため、このような粉塵を円滑に排出できる装置が求められている。   However, in Patent Document 1 and Patent Document 2 described above, dust accumulated on the bottom of the hood due to gravity can be discharged to the outside through the discharge port, but dust staying in the air cannot be discharged. Dust generated by blasting includes abrasive scraps such as rust, scales, and coating films in addition to abrasives, but these abrasive scraps are refined by being cracked or crushed by the impact of the abrasive. There is also. The refined dust floats in the hood space without falling by gravity. When this floating dust accumulates, it becomes difficult to visually recognize the blast surface, and the work becomes difficult. Thus, since the blasting dust has a wide particle size distribution, an apparatus capable of smoothly discharging such dust is required.

また、フードが移動機構を備える場合においては、従来は以下の問題点を有していた。
特許文献1の装置はフードを移動させるために油圧シリンダ等の駆動機構を有しており、装置の大型化および重量化は避けられなかった。一方、特許文献2の装置はフードの移動機構として、ブラスト面に当接するローラと、フードを壁面に吸着させる磁石とを備える構成としているが、ローラの回転を阻害しないように磁石と壁面との間には隙間を設けており、強力な磁石が必要となるためコストが高くなる。また、フードを安定して支持することが難しく、安定させるために上部からワイヤで吊下する構成が開示されているが、装置が大掛かりとなりハンドリング性が低下してしまうという問題があった。
したがって、本発明はかかる従来技術の問題に鑑み、粒径分布に幅があるブラスト処理の粉塵をフード外部へ適切に排出することができ、さらに軽量でハンドリング性に優れたブラスト用防塵装置を提供することを目的とする。
Moreover, in the case where the hood is provided with a moving mechanism, conventionally, the hood has the following problems.
The device of Patent Document 1 has a drive mechanism such as a hydraulic cylinder in order to move the hood, and the size and weight of the device cannot be avoided. On the other hand, the apparatus of Patent Document 2 is configured to include a roller that abuts on the blast surface and a magnet that attracts the hood to the wall surface as a hood moving mechanism. Since a gap is provided between them, a powerful magnet is required, which increases the cost. In addition, it is difficult to stably support the hood, and a configuration in which the hood is suspended with a wire from the top to stabilize the hood has been disclosed.
Therefore, in view of the problems of the prior art, the present invention provides a blasting dustproof device that can appropriately discharge blasting dust having a wide particle size distribution to the outside of the hood, and is lightweight and excellent in handling properties The purpose is to do.

上記の課題を解決するために、本発明に係るブラスト用防塵装置は、ブラスト面を囲繞し、研掃材噴射ノズルから噴射される研掃材または該研掃材により削られた研掃屑を含む粉塵の飛散を防止するブラスト用防塵装置において、前記ブラスト面に対向する面に形成される開口部と、前記研掃材噴射ノズルが挿入される挿入口とを有する筐体状のフードと、前記フードの開口部周囲と前記ブラスト面との隙間を密閉するシール手段と、前記フードの底部に接続される底部排出管を有し、該底部排出管より前記粉塵を落下させて排出する第1の粉塵排出手段と、前記フードの底部より上方に接続される上部排出管と、前記フードの内部空間を負圧にする負圧生成手段とを有し、前記フード内の粉塵を含む空気を負圧により前記上部排出管から排気する第2の粉塵排出手段とを備えることを特徴とする。   In order to solve the above-described problems, a dust blasting apparatus according to the present invention surrounds a blast surface and removes abrasives ejected from an abrasive jet nozzle or abrasive scraps scraped by the abrasive. In the dust proofing device for blasting to prevent scattering of the dust containing, a housing-like hood having an opening formed in a surface facing the blast surface, and an insertion port into which the blast material spray nozzle is inserted, A sealing means for sealing a gap between the periphery of the opening of the hood and the blast surface; and a bottom discharge pipe connected to the bottom of the hood. The first discharges the dust by dropping from the bottom discharge pipe. Dust discharge means, an upper discharge pipe connected above the bottom of the hood, and negative pressure generation means for making the internal space of the hood a negative pressure, and negative air containing dust in the hood Pressure from the upper discharge pipe Characterized in that it comprises a second dust discharge means.

本発明によれば、フードでブラスト面を囲繞し、シール手段でフードの内部空間を密閉する構成としているため、ブラスト処理で発生する粉塵が周囲に飛散することを防止できる。
これに加えて本発明では、第1の粉塵排出手段にて、主に粒径が大きい又は比重が大きい粉塵を底部排出管から重力落下させて排出するとともに、第2の粉塵排出手段にて、主にフードの内部空間に浮遊する粉塵を上部排出管から排出する構成としているため、粒径分布に幅があるブラスト処理の粉塵をフード外部へ適切に排出することができる。
さらに、第2の粉塵排出手段でフードの内部空間に浮遊する粉塵が排出されるため、ブラスト面をのぞき窓から明瞭に視認することが可能となる。
According to the present invention, since the blast surface is surrounded by the hood and the internal space of the hood is sealed by the sealing means, dust generated by the blasting process can be prevented from being scattered around.
In addition to this, in the first dust discharging means, the first dust discharging means mainly discharges the dust having a large particle size or a large specific gravity by dropping from the bottom discharge pipe by gravity, and the second dust discharging means, Since dust floating in the internal space of the hood is mainly discharged from the upper discharge pipe, blasting dust having a wide particle size distribution can be appropriately discharged to the outside of the hood.
Further, since the dust floating in the internal space of the hood is discharged by the second dust discharging means, it is possible to clearly see the blast surface from the viewing window.

また、前記負圧生成手段は、前記上部排出管の側面に接続されて該上部排出管に高圧空気を導入する高圧空気配管を含み、前記高圧空気により前記上部排出管内に前記フード側から外側へ向かう気流を生成して前記フードの内部空間を負圧にする構成であることが好ましい。
このように、上部排出管に高圧空気を導入してフード側から外側へ向かう気流を生成することにより、フード内空気を吸引することができる。このとき、高圧空気配管を接続するのみでフードの内部空間を負圧にできるため、装置の小型化及び軽量化が可能となり、さらにはハンドリング性に優れた装置とすることができる。
The negative pressure generating means includes a high-pressure air pipe connected to a side surface of the upper discharge pipe and introducing high-pressure air into the upper discharge pipe. The high-pressure air causes the upper discharge pipe to move outward from the hood side. It is preferable that the air flow is generated to create a negative pressure in the internal space of the hood.
As described above, by introducing the high-pressure air into the upper discharge pipe and generating the air flow from the hood side to the outside, the air in the hood can be sucked. At this time, since the internal space of the hood can be set to a negative pressure only by connecting the high-pressure air pipe, it is possible to reduce the size and weight of the device, and further to make the device excellent in handling properties.

また、前記フードが前記ブラスト面に沿ってスライド移動する移動機構を有し、前記移動機構は、前記ブラスト面に着脱自在に設けられ上面に走行路が形成されたレールと、前記フードの上部に取り付けられ前記レール上を転動するローラとを含み、前記ローラを介して前記レールに前記フードを懸架し、該フードを前記ブラスト面に支持する構成としてもよい。
このように、ブラスト面に設けられるレールとフードに取り付けられたローラとを有することにより、フードの移動機構を簡単な構成とすることができる。また、レールがブラスト面に着脱自在であることにより、ハンドリング性をより向上させることができる。さらに、フードがローラを介してレールに懸架される構成としたため、フードを手で押さえて保持する必要がなく作業性が向上する。さらにまた、移動機構がフードの支持機構を兼ねるため、支持機構を新たに付加する場合に比べて装置の簡素化及び軽量化が可能である。
In addition, the hood has a moving mechanism that slides along the blast surface, and the moving mechanism is detachably provided on the blast surface and has a rail formed on the upper surface thereof, and an upper portion of the hood. And a roller that rolls on the rail, and the hood is suspended on the rail via the roller, and the hood is supported on the blast surface.
Thus, by having the rail provided on the blast surface and the roller attached to the hood, the moving mechanism of the hood can be simplified. Moreover, handling property can be improved more because a rail is detachable from a blast surface. Further, since the hood is suspended from the rail via the roller, it is not necessary to hold and hold the hood by hand, thereby improving workability. Furthermore, since the moving mechanism also serves as a support mechanism for the hood, the apparatus can be simplified and reduced in weight compared to the case where a support mechanism is newly added.

また、前記シール手段は、前記ブラスト面に当接されるゴム部材と、前記ゴム部材と前記フードの開口部周囲との間に介装されるバネ部材と、前記ゴム部材と前記フードの開口部周囲との隙間を封止する伸縮自在なカバー部材とを含むことが好ましい。
このように、ゴム部材をバネ部材で押圧する構成としたため、ブラスト面への密着性を高くでき、より一層シール性を向上させることができる。さらに、ゴム部材とフードの開口部周囲との隙間を伸縮自在なカバー部材で封止する構成としたため、カバー部材がバネ部材に追従して確実に隙間を密閉することが可能となる。
The sealing means includes a rubber member that comes into contact with the blast surface, a spring member interposed between the rubber member and the periphery of the opening of the hood, and an opening of the rubber member and the hood. It is preferable to include a stretchable cover member that seals a gap with the surroundings.
Thus, since it was set as the structure which presses a rubber member with a spring member, the adhesiveness to a blast surface can be made high and a sealing performance can be improved further. Furthermore, since the gap between the rubber member and the periphery of the opening of the hood is sealed with an extendable cover member, the cover member can follow the spring member and reliably seal the gap.

さらにまた、前記フードに設けられるのぞき窓と、前記のぞき窓と前記フードの内部空間との間を仕切る透明または半透明の保護仕切り板とを有し、前記保護仕切り板が交換可能に構成されていることが好ましい。
このように、のぞき窓とフードの内部空間との間に保護仕切り板を介在させる構成としたため、粉塵によるのぞき窓の損傷を防止でき、ブラスト面を明瞭に視認可能とする。また、保護仕切り板は交換可能であるため、保護仕切り板が損傷した場合にもこれを交換することでブラスト面の視認性を回復することができる。
Furthermore, it has a viewing window provided in the hood, and a transparent or translucent protective partition plate that partitions between the viewing window and the internal space of the hood, and the protective partition plate is configured to be replaceable. Preferably it is.
As described above, since the protective partition plate is interposed between the observation window and the internal space of the hood, damage to the observation window due to dust can be prevented, and the blast surface can be clearly seen. Further, since the protective partition plate can be replaced, the visibility of the blast surface can be recovered by replacing the protective partition plate even when the protective partition plate is damaged.

以上記載のように本発明によれば、フードでブラスト面を囲繞し、シール手段でフードの内部空間を密閉する構成としているため、ブラスト処理で発生する粉塵が周囲に飛散することを防止できる。
これに加えて本発明では、第1の粉塵排出手段にて、主に粒径が大きい又は比重が大きい粉塵を底部排出管から重力落下させて排出するとともに、第2の粉塵排出手段にて、主にフードの内部空間に浮遊する粉塵を上部排出管から排出する構成としているため、粒径分布に幅があるブラスト処理の粉塵をフード外部へ適切に排出することができる。
さらに、第2の粉塵排出手段でフードの内部空間に浮遊する粉塵が排出されるため、ブラスト面をのぞき窓から明瞭に視認することが可能となる。
As described above, according to the present invention, the blast surface is surrounded by the hood and the internal space of the hood is sealed by the sealing means, so that dust generated by the blasting process can be prevented from being scattered around.
In addition to this, in the first dust discharging means, the first dust discharging means mainly discharges the dust having a large particle size or a large specific gravity by dropping from the bottom discharge pipe by gravity, and the second dust discharging means, Since dust floating in the internal space of the hood is mainly discharged from the upper discharge pipe, blasting dust having a wide particle size distribution can be appropriately discharged to the outside of the hood.
Further, since the dust floating in the internal space of the hood is discharged by the second dust discharging means, it is possible to clearly see the blast surface from the viewing window.

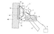
本実施形態に係るブラスト用防塵装置を用いたブラスト処理を説明する図である。It is a figure explaining the blasting process using the dustproof apparatus for blasting which concerns on this embodiment. 本実施形態に係るブラスト用防塵装置を示す図であり、(A)はブラスト面側から見た正面図で、(B)はA−A断面図である。It is a figure which shows the dustproof apparatus for blasting which concerns on this embodiment, (A) is the front view seen from the blast surface side, (B) is AA sectional drawing. 本実施形態における第2の粉塵排出手段を示す側断面図である。It is a sectional side view which shows the 2nd dust discharge | emission means in this embodiment. 図3に示した第2の粉塵排出手段の変形例を示す図であり、(A)は側断面図で、(B)はファンを示す図である。It is a figure which shows the modification of the 2nd dust discharge | emission means shown in FIG. 3, (A) is a sectional side view, (B) is a figure which shows a fan. 本実施形態における移動機構を有するブラスト用防塵装置を示す背面図である。It is a rear view which shows the dustproof apparatus for blast which has a moving mechanism in this embodiment. 図5に示したブラスト用防塵装置の断面図であり、(A)はB−B断面図で、(B)はC−C断面図である。It is sectional drawing of the dustproof apparatus for blast shown in FIG. 5, (A) is BB sectional drawing, (B) is CC sectional drawing. 本実施形態に係るブラスト用防塵装置の他の構成例を示す図であり、(A)はブラスト面側から見た正面図で、(B)はD−D断面図で、(C)はE−E断面図である。It is a figure which shows the other structural example of the dust-proof apparatus for blasting which concerns on this embodiment, (A) is the front view seen from the blast surface side, (B) is DD sectional drawing, (C) is E It is -E sectional drawing. 本実施形態におけるのぞき窓構造を示す図であり、(A)は背面図で、(B)は側断面図である。It is a figure which shows the observation window structure in this embodiment, (A) is a rear view, (B) is a sectional side view. 従来のブラスト処理を説明する図である。It is a figure explaining the conventional blast process.

以下、図面を参照して本発明の好適な実施例を例示的に詳しく説明する。但しこの実施例に記載されている構成部品の寸法、材質、形状、その相対的配置等は特に特定的な記載がない限りは、この発明の範囲をそれに限定する趣旨ではなく、単なる説明例に過ぎない。   Hereinafter, exemplary embodiments of the present invention will be described in detail with reference to the drawings. However, the dimensions, materials, shapes, relative arrangements, and the like of the components described in this embodiment are not intended to limit the scope of the present invention unless otherwise specified, but are merely illustrative examples. Not too much.

まず最初に、図1及び図2を参照して、本発明の実施形態に係るブラスト用防塵装置の全体構成を説明する。図1は本実施形態に係るブラスト用防塵装置を用いたブラスト処理を説明する図であり、図2は本実施形態に係るブラスト用防塵装置を示す図であり、(A)はブラスト面側から見た正面図で、(B)はA−A断面図である。   First, with reference to FIG.1 and FIG.2, the whole structure of the dustproof apparatus for blast which concerns on embodiment of this invention is demonstrated. FIG. 1 is a view for explaining blasting using the blast dustproof device according to the present embodiment, FIG. 2 is a diagram showing the blast dustproof device according to the present embodiment, and FIG. It is the front view seen, (B) is AA sectional drawing.

本実施形態に係るブラスト用防塵装置1は、主として研掃材噴射ノズル2から噴射される研掃材または該研掃材により削られた研掃屑を含む粉塵の飛散を防止する装置である。ここで、ブラスト装置は、研掃材を噴射する研掃材噴射ノズル2と、この噴射ノズル2に接続されるホース3と、ホース3を介して噴射ノズル2に研掃材を供給するブラスト機4とを有する。ブラスト機4は空気圧で研掃材を噴射ノズル2に圧送し、噴射ノズル2からは研掃材が混入された噴射流が高速で噴射される。噴射流は処理対象40のブラスト面41に高速で衝突して、さびやスケールや塗膜等を除去する。噴射ノズル2は、例えば、クレーン5により移動可能な作業台6に乗った作業員7によって操作される。   The dust-proof device 1 for blasting according to the present embodiment is a device that prevents the scattering of dust mainly including the abrasive material ejected from the abrasive material spray nozzle 2 or the abrasive scraps scraped by the abrasive material. Here, the blasting device is a blasting machine for injecting an abrasive material, a hose 3 connected to the injection nozzle 2, and a blasting machine for supplying the abrasive material to the injection nozzle 2 through the hose 3. 4. The blast machine 4 pumps the abrasive to the injection nozzle 2 by air pressure, and an injection flow mixed with the abrasive is injected from the injection nozzle 2 at a high speed. The jet stream collides with the blast surface 41 of the processing target 40 at a high speed to remove rust, scale, coating film, and the like. The injection nozzle 2 is operated by, for example, a worker 7 on a work table 6 that can be moved by a crane 5.

このブラスト用防塵装置1は、主に、フード11と、シール手段21と、第1の粉塵排出手段と、第2の粉塵排出手段とを備える。
フード11は、ブラスト面41を囲繞して粉塵の飛散を防止するもので、筐体状に形成されている。ここでは方形状の場合を示しているが、形状は限定されない。フード11の材質には、研掃材がフード11に衝突した際に破損しないような強度を有し、且つ可搬性の観点から軽量な材質が用いられ、例えば強化樹脂繊維、ゴム、金属繊維、軽量金属材料等が用いられる。
The blast dustproof device 1 mainly includes a hood 11, a sealing means 21, a first dust discharging means, and a second dust discharging means.
The hood 11 surrounds the blast surface 41 to prevent dust from being scattered, and is formed in a casing shape. Here, a rectangular shape is shown, but the shape is not limited. The material of the hood 11 is a material that has a strength that does not cause damage when the polishing material collides with the hood 11, and is lightweight from the viewpoint of portability, such as reinforced resin fiber, rubber, metal fiber, A lightweight metal material or the like is used.

また、フード11は、ブラスト面41に対向する面に形成される開口部12と、研掃材噴射ノズル11が挿入される挿入口13とを有する。開口部12は、ブラスト面41に対向する面の全面に形成されていてもよいし、部分的に形成されていてもよい。挿入口13には、放射状に切れ目を入れたゴムシート(図示略)が設けられていることが好ましく、研掃材噴射ノズル2を挿入した状態でノズル周囲に隙間が形成されないようにするとよい。
さらに、フード11には、ブラスト面41を視認するためののぞき窓36が設けられている。のぞき窓36の具体的な構成については後述する。
The hood 11 has an opening 12 formed on a surface facing the blast surface 41 and an insertion port 13 into which the scouring material spray nozzle 11 is inserted. The opening 12 may be formed on the entire surface facing the blast surface 41 or may be partially formed. The insertion port 13 is preferably provided with a radially cut rubber sheet (not shown), and it is preferable that no gap be formed around the nozzle when the abrasive spray nozzle 2 is inserted.
Further, the hood 11 is provided with an inspection window 36 for visually recognizing the blast surface 41. A specific configuration of the observation window 36 will be described later.

シール手段21は、フード11の開口部12周囲とブラスト面41との隙間を密閉する。このシール手段21には、例えばゴム部材が用いられる。シール手段21の具体的な構成例については後述する。
第1の粉塵排出手段は、フード11の底部に接続される底部排出管14を有し、この底部排出管14よりフード底部に溜まった粉塵を落下させて排出する。フード底部は、底部排出管14に粉塵が集合するように、底部排出管14に向けて下方に傾斜していることが好ましい。底部排出管14の下端には粉塵貯留タンク15が接続されている。この粉塵貯留タンク15に底部排出管14から落下した粉塵が溜まるようになっている。
The sealing means 21 seals a gap between the periphery of the opening 12 of the hood 11 and the blast surface 41. For example, a rubber member is used for the sealing means 21. A specific configuration example of the sealing means 21 will be described later.
The first dust discharge means has a bottom discharge pipe 14 connected to the bottom of the hood 11, and drops dust collected on the bottom of the hood from the bottom discharge pipe 14 and discharges it. The bottom of the hood is preferably inclined downward toward the bottom discharge pipe 14 so that dust collects in the bottom discharge pipe 14. A dust storage tank 15 is connected to the lower end of the bottom discharge pipe 14. Dust falling from the bottom discharge pipe 14 is stored in the dust storage tank 15.

第2の粉塵排出手段は、フード11の底部より上方側に接続される上部排出管16と、フード11の内部空間を負圧にする負圧生成手段とを有し、フード11内の粉塵を含む空気を負圧により上部排出管16から強制的に排気する。
図3に、第2の粉塵排出手段の側断面図を示す。同図に示すように第2の粉塵排出手段は、上部排出管16と、負圧生成手段として高圧空気配管17とを有している。高圧空気配管17は、上部排出管16に高圧空気を導入するもので、上部排出管16に対して傾斜して接続される。このとき、上部排出管16の軸に対する高圧空気配管17の軸のフード側傾斜角θが鋭角となるようにする。そして、高圧空気配管17から導入した高圧空気により上部排出管16内にフード側から外側(図中、破線矢印方向)へ向かう気流を生成してフード11の内部空間を負圧にする。負圧によりフード11の内部空間から吸引された粉塵含有空気は、フィルタ(不図示)を通って排気される。フィルタで回収された粉塵は粉塵貯留タンクに貯留される。この粉塵貯留タンクは、上記の下部排出管14に接続された粉塵貯留タンク15と同一であることが好ましく、これにより装置の小型化が図れる。
The second dust discharging means has an upper discharge pipe 16 connected to the upper side from the bottom of the hood 11 and negative pressure generating means for making the internal space of the hood 11 into a negative pressure. The contained air is forcibly exhausted from the upper discharge pipe 16 by a negative pressure.
FIG. 3 shows a side sectional view of the second dust discharging means. As shown in the figure, the second dust discharge means has an upper discharge pipe 16 and a high-pressure air pipe 17 as a negative pressure generating means. The high-pressure air pipe 17 introduces high-pressure air into the upper discharge pipe 16 and is inclined and connected to the upper discharge pipe 16. At this time, the hood-side inclination angle θ of the axis of the high-pressure air pipe 17 with respect to the axis of the upper discharge pipe 16 is set to an acute angle. Then, the high-pressure air introduced from the high-pressure air pipe 17 generates an air flow from the hood side to the outside (in the direction of the broken arrow in the figure) in the upper discharge pipe 16 to make the internal space of the hood 11 have a negative pressure. The dust-containing air sucked from the internal space of the hood 11 due to the negative pressure is exhausted through a filter (not shown). The dust collected by the filter is stored in the dust storage tank. This dust storage tank is preferably the same as the dust storage tank 15 connected to the lower discharge pipe 14, and thus the size of the apparatus can be reduced.

図4は、図3に示した第2の粉塵排出手段の変形例を示す図であり、(A)は側断面図で、(B)はファンを示す図である。同図に示すように、高圧空気配管17に加えて、上部排出管16の内部にファン18を設けてもよい。ファン18は、上部排出管16の内壁に固定される支柱19によって支持される。また、ファン18は高圧空気配管17から導入される高圧空気が通過する位置に設置され、高圧空気により回転する。ファン18を設けることにより、フード11内部における負圧の生成が促進される。   FIGS. 4A and 4B are views showing a modification of the second dust discharging means shown in FIG. 3, wherein FIG. 4A is a side sectional view and FIG. 4B is a view showing a fan. As shown in the figure, a fan 18 may be provided inside the upper discharge pipe 16 in addition to the high-pressure air pipe 17. The fan 18 is supported by a support 19 that is fixed to the inner wall of the upper discharge pipe 16. The fan 18 is installed at a position where high-pressure air introduced from the high-pressure air pipe 17 passes, and is rotated by the high-pressure air. By providing the fan 18, the generation of negative pressure inside the hood 11 is promoted.

上記したように本実施形態によれば、フード11でブラスト面41を囲繞し、シール手段21でフード11の内部空間を密閉する構成としているため、ブラスト処理で発生する粉塵が周囲に飛散することを防止できる。
これに加えて本実施形態では、第1の粉塵排出手段にて、主に粒径が大きい又は比重が大きい粉塵を底部排出管14から重力落下させて排出するとともに、第2の粉塵排出手段にて、主にフード11の内部空間に浮遊する粉塵を上部排出管16から排出する構成としているため、粒径分布に幅があるブラスト処理の粉塵をフード外部へ適切に排出することができる。
さらに、第2の粉塵排出手段でフード11の内部空間に浮遊する粉塵が排出されるため、ブラスト面41をのぞき窓36から明瞭に視認することが可能となる。
As described above, according to the present embodiment, the blast surface 41 is surrounded by the hood 11, and the internal space of the hood 11 is sealed by the sealing means 21, so that dust generated by the blasting process is scattered around. Can be prevented.
In addition to this, in the present embodiment, the first dust discharging means mainly discharges the dust having a large particle diameter or a large specific gravity by dropping from the bottom discharge pipe 14 while being discharged to the second dust discharging means. In addition, since dust floating in the internal space of the hood 11 is mainly discharged from the upper discharge pipe 16, blasting dust having a wide particle size distribution can be appropriately discharged to the outside of the hood.
Furthermore, since the dust floating in the internal space of the hood 11 is discharged by the second dust discharging means, it is possible to clearly see the blast surface 41 from the viewing window 36.

また、第2の粉塵排出手段において、負圧生成手段が、上部排出管16の側面に接続されて該上部排出管16に高圧空気を導入する高圧空気配管17を含み、上部排出管16に高圧空気配管17から高圧空気を導入してフード11側から外側へ向かう気流を生成することにより、フード内空気を吸引することができる。このとき、高圧空気配管17を接続するのみでフード11の内部空間を負圧にできるため、装置の小型化及び軽量化が可能となり、さらにはハンドリング性に優れた装置とすることができる。   Further, in the second dust discharge means, the negative pressure generating means includes a high pressure air pipe 17 connected to a side surface of the upper discharge pipe 16 to introduce high pressure air into the upper discharge pipe 16, and the upper discharge pipe 16 has a high pressure. By introducing high-pressure air from the air pipe 17 and generating an air flow from the hood 11 side to the outside, the air in the hood can be sucked. At this time, since the internal space of the hood 11 can be set to a negative pressure only by connecting the high-pressure air pipe 17, the apparatus can be reduced in size and weight, and the apparatus can be excellent in handling properties.

また、図5に示すように、本実施形態に係るブラスト用防塵装置1は移動機構を有していることが好ましい。図5は、本実施形態における移動機構を有するブラスト用防塵装置の背面図である。
移動機構は、フード11をブラスト面41に沿ってスライド移動させるものである。この移動機構は、ブラスト面41に着脱自在に設けられ、上面に走行路が形成されたレール28と、フード11の上部に取り付けられ、レール28上を転動する複数のローラ25とを含む。レール28は、所定間隔で取り付けられた複数の磁石29によってブラスト面41に着脱自在に設けられることが好ましい。磁石29にはマグネットベースが好適に用いられる。マグネットベースは磁力の引加、除去が瞬時にできるため、レール28を簡単に着脱することができる。
さらに、この移動機構はフード11を懸架支持する機能を兼ねており、ローラ25を介してレール28にフード11を懸架し、フード11をブラスト面41に支持する構成となっている。
Moreover, as shown in FIG. 5, it is preferable that the dustproof apparatus 1 for blasting concerning this embodiment has a moving mechanism. FIG. 5 is a rear view of the blast dustproof device having the moving mechanism in the present embodiment.
The moving mechanism slides the hood 11 along the blast surface 41. The moving mechanism includes a rail 28 that is detachably provided on the blast surface 41 and has a traveling path formed on the upper surface, and a plurality of rollers 25 that are attached to the upper portion of the hood 11 and roll on the rail 28. The rail 28 is preferably detachably provided on the blast surface 41 by a plurality of magnets 29 attached at predetermined intervals. A magnet base is preferably used for the magnet 29. Since the magnet base can instantaneously apply and remove magnetic force, the rail 28 can be easily attached and detached.
Further, this moving mechanism also has a function of suspending and supporting the hood 11. The hood 11 is suspended from the rail 28 via the roller 25, and the hood 11 is supported on the blast surface 41.

図6は、図5に示したブラスト用防塵装置の断面図であり、(A)はB−B断面図で、(B)はC−C断面図である。
このブラスト用防塵装置1においては、フード11の開口部12周囲にL型アングル等のフード枠27が設けられており、このフード枠27にローラ25が装着されたローラ軸26が固定されている。このとき、ローラ軸26はブラスト面41に垂直となるようにフード枠27に固定され、ローラ25はブラスト面41に平行な面内で回転するように構成される。一方、レール28は、断面コの字状に形成されており、レール28の凹部にローラ25下部が収容されることにより、フード11がブラスト面41から離れないようにフード11を懸架支持している。そして、噴射ノズル2(図1参照)で研掃材を噴射しながらフード11を水平横方向にスライド移動するようになっている。
6 is a cross-sectional view of the blast dustproof device shown in FIG. 5, (A) is a BB cross-sectional view, and (B) is a CC cross-sectional view.
In this blast dustproof device 1, a hood frame 27 such as an L-shaped angle is provided around the opening 12 of the hood 11, and a roller shaft 26 on which a roller 25 is mounted is fixed to the hood frame 27. . At this time, the roller shaft 26 is fixed to the hood frame 27 so as to be perpendicular to the blast surface 41, and the roller 25 is configured to rotate in a plane parallel to the blast surface 41. On the other hand, the rail 28 is formed in a U-shaped cross section, and the hood 11 is suspended and supported so that the hood 11 is not separated from the blast surface 41 by accommodating the lower portion of the roller 25 in the recess of the rail 28. Yes. The hood 11 is slid horizontally in the horizontal direction while spraying the abrasive with the spray nozzle 2 (see FIG. 1).

このように、ブラスト面41に設けられるレール28とフード11に取り付けられたローラ25とを有することにより、フード11の移動機構を簡単な構成とすることができる。また、レール28がブラスト面41に着脱自在であることにより、ハンドリング性をより向上させることができる。さらに、フード11がローラ25を介してレール28に懸架される構成としたため、フード11を手で押さえて保持する必要がなく作業性が向上する。さらにまた、移動機構がフード11の支持機構を兼ねるため、支持機構を新たに付加する場合に比べて装置の簡素化及び軽量化が可能である。   Thus, by having the rail 28 provided on the blast surface 41 and the roller 25 attached to the hood 11, the moving mechanism of the hood 11 can be made simple. Further, since the rail 28 is detachably attached to the blast surface 41, handling properties can be further improved. Further, since the hood 11 is suspended from the rail 28 via the roller 25, it is not necessary to hold and hold the hood 11 by hand, thereby improving workability. Furthermore, since the moving mechanism also serves as a support mechanism for the hood 11, the apparatus can be simplified and reduced in weight compared to the case where a support mechanism is newly added.

また、図6にはシール手段の具体的な構成例も示している。
シール手段は、ブラスト面41に当接されるゴム部材31と、ゴム部材31とフード11の開口部12周囲との間に介装されるバネ部材32と、ゴム部材31とフード11の開口部12周囲との隙間を封止する伸縮自在なカバー部材33とを含む。
FIG. 6 also shows a specific configuration example of the sealing means.
The sealing means includes a rubber member 31 that contacts the blast surface 41, a spring member 32 interposed between the rubber member 31 and the periphery of the opening 12 of the hood 11, and an opening of the rubber member 31 and the hood 11. 12 and a stretchable cover member 33 that seals the gap with the periphery.

ゴム部材31は、円環状に形成されており、フード11の開口部12周囲に配置される。
バネ部材32は、ブラスト面41に垂直な方向において弾性変形するように配置され、ローラ25をレール28に設置したときに所定長さ縮むように構成されている。また、バネ部材32は、フード11の開口部12周囲に所定間隔で複数設置されている。このバネ部材32には、例えばコイルバネ(スプリング)や板バネ等が用いられる。
カバー部材33は、円筒状に形成され、バネ部材32の弾性変形に追従して伸縮し、常時ゴム部材31とフード11の開口部12周囲との隙間を封止するようになっている。このカバー部材33には、例えばジャバラ状のシート部材が用いられる。
The rubber member 31 is formed in an annular shape and is disposed around the opening 12 of the hood 11.
The spring member 32 is disposed so as to be elastically deformed in a direction perpendicular to the blast surface 41, and is configured to contract a predetermined length when the roller 25 is installed on the rail 28. A plurality of spring members 32 are provided around the opening 12 of the hood 11 at predetermined intervals. As the spring member 32, for example, a coil spring (spring) or a leaf spring is used.
The cover member 33 is formed in a cylindrical shape, expands and contracts following the elastic deformation of the spring member 32, and always seals the gap between the rubber member 31 and the periphery of the opening 12 of the hood 11. For example, a bellows-shaped sheet member is used for the cover member 33.

上記構成を有するシール手段においては、ローラ25がレール28に設置された際に、フード枠27とバネ部材32によりゴム部材31が押圧され、ゴム部材31がブラスト面41に密着する。このとき、カバー部材33はバネ部材32に追従して伸縮し、ゴム部材31とフード枠27との隙間を密閉するため、フード11の内部空間は略気密状態に保たれる。
このように、ゴム部材31をバネ部材32で押圧する構成としたため、ブラスト面41への密着性を高くでき、より一層シール性を向上させることができる。さらに、ゴム部材31とフード11の開口部12周囲との隙間を伸縮自在なカバー部材33で封止する構成としたため、カバー部材33がバネ部材32に追従して確実に隙間を密閉することが可能となる。
In the sealing means having the above configuration, when the roller 25 is installed on the rail 28, the rubber member 31 is pressed by the hood frame 27 and the spring member 32, and the rubber member 31 is in close contact with the blast surface 41. At this time, the cover member 33 expands and contracts following the spring member 32 and seals the gap between the rubber member 31 and the hood frame 27, so that the internal space of the hood 11 is maintained in a substantially airtight state.
Thus, since it was set as the structure which presses the rubber member 31 with the spring member 32, the adhesiveness to the blast surface 41 can be made high and a sealing performance can be improved further. Further, since the gap between the rubber member 31 and the periphery of the opening 12 of the hood 11 is sealed with the extendable cover member 33, the cover member 33 can follow the spring member 32 and reliably seal the gap. It becomes possible.

図7は、本実施形態に係るブラスト用防塵装置の他の構成例を示す図であり、(A)はブラスト面側から見た正面図で、(B)はD−D断面図で、(C)はE−E断面図である。
このブラスト用防塵装置1’は、上記の図6に示した構成と同様に、開口部12’及び挿入口13’を有するフード11’と、ゴム部材31’及びバネ部材32’を有するシール手段と、底部排出管14’を有する第1の粉塵排出手段と、上部排出管16’及び高圧空気配管17’を有する第2の粉塵排出手段とを備えている。なお、同図ではシール手段のカバー部材は省略している。また、同図に示すフード11’は、円形状に形成されている。
FIG. 7 is a view showing another configuration example of the blast dustproof device according to the present embodiment, (A) is a front view seen from the blast surface side, (B) is a DD sectional view, C) is a cross-sectional view taken along line EE.
This blast dustproof device 1 ′ has a hood 11 ′ having an opening 12 ′ and an insertion port 13 ′, and a sealing means having a rubber member 31 ′ and a spring member 32 ′, as in the configuration shown in FIG. And a first dust discharge means having a bottom discharge pipe 14 'and a second dust discharge means having an upper discharge pipe 16' and a high-pressure air pipe 17 '. In the figure, the cover member of the sealing means is omitted. Further, the hood 11 'shown in the figure is formed in a circular shape.

さらにまた、本実施形態に係るブラスト用防塵装置1は、図8に示すのぞき窓構造を有していてもよい。図8は、本実施形態におけるのぞき窓構造を示す図であり、(A)は背面図で、(B)は側断面図である。
こののぞき窓構造は、フード11に設けられた窓枠35にのぞき窓36と保護仕切り板37とを嵌め込んだ構成となっている。保護仕切り板37は、のぞき窓36とフード11の内部空間との間を仕切るように配置されている。また、保護仕切り板37は交換可能に構成されている。さらにまた、保護仕切り板37は透明または半透明であり、その材質は、例えば強化ガラス、プラスチックフィルムを強化ガラスに貼付した形態等使用状況に応じて選択が可能である。
Furthermore, the dust-proof device 1 for blasting according to the present embodiment may have a viewing window structure shown in FIG. FIGS. 8A and 8B are views showing a viewing window structure in the present embodiment, in which FIG. 8A is a rear view and FIG. 8B is a side sectional view.
This peep window structure is configured such that a peep window 36 and a protective partition plate 37 are fitted into a window frame 35 provided in the hood 11. The protective partition plate 37 is disposed so as to partition the view window 36 and the internal space of the hood 11. The protective partition plate 37 is configured to be replaceable. Furthermore, the protective partition plate 37 is transparent or translucent, and the material thereof can be selected according to the use situation such as a form in which tempered glass or a plastic film is attached to the tempered glass.

このように、のぞき窓36とフード11の内部空間との間に保護仕切り板37を介在させる構成とすることにより、粉塵によるのぞき窓36の損傷を防止でき、ブラスト面41を明瞭に視認可能とする。また、保護仕切り板37は交換可能であるため、保護仕切り板37が損傷した場合にもこれを交換することでブラスト面41の視認性を回復することができる。   In this way, by adopting a configuration in which the protective partition plate 37 is interposed between the observation window 36 and the internal space of the hood 11, damage to the observation window 36 due to dust can be prevented, and the blast surface 41 can be clearly seen. To do. Further, since the protective partition plate 37 can be replaced, the visibility of the blast surface 41 can be recovered by replacing the protective partition plate 37 even when the protective partition plate 37 is damaged.

1、1’ ブラスト用防塵装置
2 研掃材噴射ノズル
11、11’ フード
12、12’ 開口部
13、13’ 挿入口
14、14’ 底部排出管
15 粉塵貯留タンク
16、16’ 上部排出管
17、17’ 高圧空気配管
18 ファン
19 支柱
21 シール手段
25 ローラ
27 フード枠
28 レール
29 磁石
31、31’ ゴム部材
32、32’ バネ部材
33 カバー部材
36 のぞき窓
27 保護仕切り板
41 ブラスト面
DESCRIPTION OF SYMBOLS 1, 1 'Dust-proof device for blasting 2 Abrasive material injection nozzle 11, 11' Hood 12, 12 'Opening part 13, 13' Insertion port 14, 14 'Bottom discharge pipe 15 Dust storage tank 16, 16' Upper discharge pipe 17 17 'High-pressure air piping 18 Fan 19 Strut 21 Sealing means 25 Roller 27 Hood frame 28 Rail 29 Magnet 31, 31' Rubber member 32, 32 'Spring member 33 Cover member 36 Peep window 27 Protective partition plate 41 Blast surface

Claims (5)

ブラスト面を囲繞し、研掃材噴射ノズルから噴射される研掃材または該研掃材により削られた研掃屑を含む粉塵の飛散を防止するブラスト用防塵装置において、
前記ブラスト面に対向する面に形成される開口部と、前記研掃材噴射ノズルが挿入される挿入口とを有する筐体状のフードと、
前記フードの開口部周囲と前記ブラスト面との隙間を密閉するシール手段と、
前記フードの底部に接続される底部排出管を有し、該底部排出管より前記粉塵を落下させて排出する第1の粉塵排出手段と、
前記フードの底部より上方に接続される上部排出管と、前記フードの内部空間を負圧にする負圧生成手段とを有し、前記フード内の粉塵を含む空気を負圧により前記上部排出管から排気する第2の粉塵排出手段とを備えることを特徴とするブラスト用防塵装置。
In the dust proofing device for blasting that surrounds the blast surface and prevents the scattering of the dust containing the scouring material sprayed from the scouring material spray nozzle or the scouring scraps cut by the scouring material,
A housing-shaped hood having an opening formed in a surface facing the blast surface, and an insertion port into which the abrasive spray nozzle is inserted;
Sealing means for sealing a gap between the periphery of the opening of the hood and the blast surface;
A first dust discharge means having a bottom discharge pipe connected to the bottom of the hood, and dropping and discharging the dust from the bottom discharge pipe;
An upper discharge pipe connected above the bottom of the hood; and a negative pressure generating means for making the internal space of the hood a negative pressure. A dustproof device for blasting, comprising: a second dust discharging means for exhausting air from the dust.
前記負圧生成手段は、前記上部排出管の側面に接続されて該上部排出管に高圧空気を導入する高圧空気配管を含み、前記高圧空気により前記上部排出管内に前記フード側から外側へ向かう気流を生成して前記フードの内部空間を負圧にすることを特徴とする請求項1に記載のブラスト用防塵装置。   The negative pressure generating means includes a high-pressure air pipe that is connected to a side surface of the upper discharge pipe and introduces high-pressure air into the upper discharge pipe, and an air flow that flows outward from the hood side into the upper discharge pipe by the high-pressure air. The dust-proof device for blasting according to claim 1, wherein a negative pressure is generated in the internal space of the hood. 前記フードが前記ブラスト面に沿ってスライド移動する移動機構を有し、
前記移動機構は、前記ブラスト面に着脱自在に設けられ上面に走行路が形成されたレールと、前記フードの上部に取り付けられ前記レール上を転動するローラとを含み、
前記ローラを介して前記レールに前記フードを懸架し、該フードを前記ブラスト面に支持する構成としたことを特徴とする請求項1または2に記載のブラスト用防塵装置。
The hood has a moving mechanism that slides along the blast surface;
The moving mechanism includes a rail that is detachably provided on the blast surface and has a traveling path formed on an upper surface thereof, and a roller that is attached to an upper portion of the hood and rolls on the rail.
The dust proofing device for blasting according to claim 1 or 2, wherein the hood is suspended from the rail via the roller, and the hood is supported on the blast surface.
前記シール手段は、前記ブラスト面に当接されるゴム部材と、前記ゴム部材と前記フードの開口部周囲との間に介装されるバネ部材と、前記ゴム部材と前記フードの開口部周囲との隙間を封止する伸縮自在なカバー部材とを含むことを特徴とする請求項1乃至3のいずれか一項に記載のブラスト用防塵装置。   The sealing means includes a rubber member that comes into contact with the blast surface, a spring member interposed between the rubber member and the periphery of the opening of the hood, and the rubber member and the periphery of the opening of the hood. A dustproof device for blasting according to any one of claims 1 to 3, further comprising an extendable cover member that seals the gap. 前記フードに設けられるのぞき窓と、前記のぞき窓と前記フードの内部空間との間を仕切る透明または半透明の保護仕切り板とを有し、前記保護仕切り板が交換可能に構成されていることを特徴とする請求項1乃至4のいずれか一項に記載のブラスト用防塵装置。

It has a peep window provided in the hood, a transparent or translucent protective partition plate that partitions between the peep window and the internal space of the hood, and the protective partition plate is configured to be replaceable. The dustproof device for blasting according to any one of claims 1 to 4, wherein the dustproof device is for blasting.

JP2010291343A 2010-12-27 2010-12-27 Dustproof device for abrasive blasting Withdrawn JP2012135852A (en)

Priority Applications (1)

Application Number Priority Date Filing Date Title
JP2010291343A JP2012135852A (en) 2010-12-27 2010-12-27 Dustproof device for abrasive blasting

Applications Claiming Priority (1)

Application Number Priority Date Filing Date Title
JP2010291343A JP2012135852A (en) 2010-12-27 2010-12-27 Dustproof device for abrasive blasting

Publications (1)

Publication Number Publication Date
JP2012135852A true JP2012135852A (en) 2012-07-19

Family

ID=46673738

Family Applications (1)

Application Number Title Priority Date Filing Date
JP2010291343A Withdrawn JP2012135852A (en) 2010-12-27 2010-12-27 Dustproof device for abrasive blasting

Country Status (1)

Country Link
JP (1) JP2012135852A (en)

Cited By (7)

* Cited by examiner, † Cited by third party
Publication number Priority date Publication date Assignee Title
KR101400278B1 (en) * 2012-09-13 2014-05-27 삼성중공업 주식회사 Blast Workhood
CN110497322A (en) * 2019-08-29 2019-11-26 中国石油大学(华东) A device for derusting ship hull segmented welds
CN112454176A (en) * 2020-11-30 2021-03-09 山西海隆石油技术有限公司 Automatic sand blasting transmission purging device for special pipeline for petroleum and using method thereof
CN113856939A (en) * 2021-09-30 2021-12-31 烟台工程职业技术学院(烟台市技师学院) Spray gun structure for automobile maintenance and paint spraying method
CN114248207A (en) * 2020-09-25 2022-03-29 怀化市港翔管桩有限公司 Surface treatment device is used in tubular pile processing for construction
CN117400162A (en) * 2023-11-22 2024-01-16 中国航发贵州黎阳航空动力有限公司 A protective device and method for partial sand blowing and nitriding of parts
JP7526408B1 (en) 2023-11-09 2024-08-01 ヘイセイ工業株式会社 Coating removal device and coating removal method

Cited By (9)

* Cited by examiner, † Cited by third party
Publication number Priority date Publication date Assignee Title
KR101400278B1 (en) * 2012-09-13 2014-05-27 삼성중공업 주식회사 Blast Workhood
CN110497322A (en) * 2019-08-29 2019-11-26 中国石油大学(华东) A device for derusting ship hull segmented welds
CN114248207A (en) * 2020-09-25 2022-03-29 怀化市港翔管桩有限公司 Surface treatment device is used in tubular pile processing for construction
CN112454176A (en) * 2020-11-30 2021-03-09 山西海隆石油技术有限公司 Automatic sand blasting transmission purging device for special pipeline for petroleum and using method thereof
CN113856939A (en) * 2021-09-30 2021-12-31 烟台工程职业技术学院(烟台市技师学院) Spray gun structure for automobile maintenance and paint spraying method
CN113856939B (en) * 2021-09-30 2023-08-04 烟台工程职业技术学院(烟台市技师学院) A spray gun structure and painting method for automobile maintenance
JP7526408B1 (en) 2023-11-09 2024-08-01 ヘイセイ工業株式会社 Coating removal device and coating removal method
JP2025079136A (en) * 2023-11-09 2025-05-21 ヘイセイ工業株式会社 Coating removal device and coating removal method
CN117400162A (en) * 2023-11-22 2024-01-16 中国航发贵州黎阳航空动力有限公司 A protective device and method for partial sand blowing and nitriding of parts

Similar Documents

Publication Publication Date Title
JP2012135852A (en) Dustproof device for abrasive blasting
JP4758497B2 (en) Cleaning device and cleaning method
US4149345A (en) Wall blaster
JP5569529B2 (en) Blasting equipment
CA3028404A1 (en) Surface cleaning and engraving machine using vacuum jet method
CN105458942A (en) Cleaning medium suction unit and dry cleaning apparatus
JP4689765B2 (en) Cleaning medium and cleaning device
JP5953975B2 (en) Cleaning medium splash prevention member, cleaning object holder and dry cleaning device
CN218518436U (en) A kind of sponge abrasive blasting machine
JP4751983B2 (en) Sponge blasting method
USRE48554E1 (en) Air gun system and method
KR20120075900A (en) Apparatus for removing body object matter of a ship
CN102189498A (en) Sand blasting device
JP5250334B2 (en) Thin film solar cell scribing method and apparatus used in the method
KR101400019B1 (en) Blasting device
KR101138148B1 (en) Abrasive projection automatic motion device of air sand blast machine
CN204036276U (en) Shot blasting machine material high efficiente callback device
CN201543622U (en) Paint coating cleaner
KR20140005451U (en) Portable cover for intercepting propagation of dust generation
CN207206206U (en) A kind of rotating disc type numerical-control full-automatic sand-blasting machine
KR101133367B1 (en) Sand blaster device
KR101583249B1 (en) Movable shot blast device
KR20140033742A (en) Apparatus for removing body object matter of a ship
CN210187509U (en) Sand blasting needle nozzle
SG195406A1 (en) Grit blasting apparatus

Legal Events

Date Code Title Description
A300 Withdrawal of application because of no request for examination

Free format text: JAPANESE INTERMEDIATE CODE: A300

Effective date: 20140304