JP2012127458A - Plain bearing structure of shaft member - Google Patents

Plain bearing structure of shaft member Download PDF

Info

Publication number
JP2012127458A
JP2012127458A JP2010281034A JP2010281034A JP2012127458A JP 2012127458 A JP2012127458 A JP 2012127458A JP 2010281034 A JP2010281034 A JP 2010281034A JP 2010281034 A JP2010281034 A JP 2010281034A JP 2012127458 A JP2012127458 A JP 2012127458A
Authority
JP
Japan
Prior art keywords
lubricating oil
bearing
sliding
sliding surfaces
shaft member
Prior art date
Legal status (The legal status is an assumption and is not a legal conclusion. Google has not performed a legal analysis and makes no representation as to the accuracy of the status listed.)
Granted
Application number
JP2010281034A
Other languages
Japanese (ja)
Other versions
JP5466143B2 (en
Inventor
Yuichiro Kimura
雄一郎 木村
Genichi Murakami
元一 村上
Kenichi Harada
健一 原田
Naoto Koyamaishi
直人 小山石
Shinichi Kato
慎一 加藤
Kenji Watanabe
賢治 渡邉
Current Assignee (The listed assignees may be inaccurate. Google has not performed a legal analysis and makes no representation or warranty as to the accuracy of the list.)
Taiho Kogyo Co Ltd
Toyota Motor Corp
Original Assignee
Taiho Kogyo Co Ltd
Toyota Motor Corp
Priority date (The priority date is an assumption and is not a legal conclusion. Google has not performed a legal analysis and makes no representation as to the accuracy of the date listed.)
Filing date
Publication date
Application filed by Taiho Kogyo Co Ltd, Toyota Motor Corp filed Critical Taiho Kogyo Co Ltd
Priority to JP2010281034A priority Critical patent/JP5466143B2/en
Publication of JP2012127458A publication Critical patent/JP2012127458A/en
Application granted granted Critical
Publication of JP5466143B2 publication Critical patent/JP5466143B2/en
Expired - Fee Related legal-status Critical Current
Anticipated expiration legal-status Critical

Links

Images

Classifications

    • FMECHANICAL ENGINEERING; LIGHTING; HEATING; WEAPONS; BLASTING
    • F16ENGINEERING ELEMENTS AND UNITS; GENERAL MEASURES FOR PRODUCING AND MAINTAINING EFFECTIVE FUNCTIONING OF MACHINES OR INSTALLATIONS; THERMAL INSULATION IN GENERAL
    • F16CSHAFTS; FLEXIBLE SHAFTS; ELEMENTS OR CRANKSHAFT MECHANISMS; ROTARY BODIES OTHER THAN GEARING ELEMENTS; BEARINGS
    • F16C33/00Parts of bearings; Special methods for making bearings or parts thereof
    • F16C33/72Sealings
    • F16C33/74Sealings of sliding-contact bearings
    • FMECHANICAL ENGINEERING; LIGHTING; HEATING; WEAPONS; BLASTING
    • F16ENGINEERING ELEMENTS AND UNITS; GENERAL MEASURES FOR PRODUCING AND MAINTAINING EFFECTIVE FUNCTIONING OF MACHINES OR INSTALLATIONS; THERMAL INSULATION IN GENERAL
    • F16CSHAFTS; FLEXIBLE SHAFTS; ELEMENTS OR CRANKSHAFT MECHANISMS; ROTARY BODIES OTHER THAN GEARING ELEMENTS; BEARINGS
    • F16C17/00Sliding-contact bearings for exclusively rotary movement
    • F16C17/02Sliding-contact bearings for exclusively rotary movement for radial load only
    • FMECHANICAL ENGINEERING; LIGHTING; HEATING; WEAPONS; BLASTING
    • F16ENGINEERING ELEMENTS AND UNITS; GENERAL MEASURES FOR PRODUCING AND MAINTAINING EFFECTIVE FUNCTIONING OF MACHINES OR INSTALLATIONS; THERMAL INSULATION IN GENERAL
    • F16CSHAFTS; FLEXIBLE SHAFTS; ELEMENTS OR CRANKSHAFT MECHANISMS; ROTARY BODIES OTHER THAN GEARING ELEMENTS; BEARINGS
    • F16C33/00Parts of bearings; Special methods for making bearings or parts thereof
    • F16C33/02Parts of sliding-contact bearings
    • F16C33/04Brasses; Bushes; Linings
    • F16C33/06Sliding surface mainly made of metal
    • F16C33/10Construction relative to lubrication

Landscapes

  • Engineering & Computer Science (AREA)
  • General Engineering & Computer Science (AREA)
  • Mechanical Engineering (AREA)
  • Sealing Of Bearings (AREA)
  • Sliding-Contact Bearings (AREA)

Abstract

【課題】低温時の摺動抵抗の早期低減が可能で、高温時の潤滑油による冷却作用を阻害することのない軸部材のすべり軸受構造を提供する。
【解決手段】相対的に回転可能な軸部材及び軸受部材12bの摺動面間に潤滑油が供給される軸部材のすべり軸受構造において、軸受部材12bの両側に摺動面間からの潤滑油の流出を制限するシール部材18を備え、該シール部材18は、摺動面間の潤滑油の温度が低温状態(A)から高温状態(C)に上昇するのにともない摺動面間に保持される潤滑油量が減少するように変形する部材で形成されている。
【選択図】図2
A sliding bearing structure of a shaft member that can reduce sliding resistance at a low temperature at an early stage and does not hinder a cooling action by lubricating oil at a high temperature is provided.
In a sliding bearing structure of a shaft member and a shaft member in which lubricating oil is supplied between sliding surfaces of a relatively rotatable shaft member and a bearing member 12b, the lubricating oil from between the sliding surfaces is provided on both sides of the bearing member 12b. The seal member 18 is restricted between the sliding surfaces as the lubricating oil temperature between the sliding surfaces rises from the low temperature state (A) to the high temperature state (C). It is formed of a member that is deformed so as to reduce the amount of lubricating oil.
[Selection] Figure 2

Description

本発明は、軸部材のすべり軸受構造、特に、自動車用の内燃機関などに用いられる軸部材のすべり軸受構造に関する。   The present invention relates to a sliding bearing structure for a shaft member, and more particularly to a sliding bearing structure for a shaft member used in an internal combustion engine for automobiles.

一般に、かかる軸部材のすべり軸受構造では、軸部材及び軸受部材の摺動面間のクリアランスに潤滑油を供給して潤滑油膜を形成し、この潤滑油膜内に生ずる油膜圧力により荷重を支持することで、摩擦損失の低減、摩耗や焼付き防止作用をもたらすようにしている。   Generally, in such a sliding bearing structure of a shaft member, lubricating oil is supplied to the clearance between the sliding surfaces of the shaft member and the bearing member to form a lubricating oil film, and the load is supported by the oil film pressure generated in the lubricating oil film. Thus, the friction loss is reduced, and wear and seizure prevention are brought about.

従来からこのような摺動面間のクリアランスに潤滑油を保持するために、軸受の内周面に周方向に多数の細溝ないしは条痕を並列に形成した技術などが提案されている。   Conventionally, in order to keep the lubricating oil in the clearance between the sliding surfaces, a technique has been proposed in which a large number of fine grooves or striations are formed in parallel in the circumferential direction on the inner peripheral surface of the bearing.

また、特許文献1には、軸及び軸受メタルの間に潤滑油を充満させて、局所的な高い油膜圧力の発生をなくし、軸受メタルの割れや損傷を防止するために、半割円筒状軸受メタルの軸受幅方向の両端に、軸受内部から軸方向に流出する潤滑油の漏れを防止するシール装置を設けると共に、上下の軸受メタルの少なくとも一方に軸受内に潤滑油を導入する給油孔と軸受内の劣化した潤滑油を外部に排出する排油孔を設け、さらに排油孔に排油孔から排出される潤滑油量を調整する絞り装置を設けた舶用大型ディーゼル機関用のすべり軸受が開示されている。   Further, in Patent Document 1, a half cylindrical bearing is used in order to prevent the occurrence of local high oil film pressure by filling the shaft and the bearing metal with lubricating oil to prevent cracking and damage of the bearing metal. Provided with seal devices that prevent leakage of lubricating oil flowing out from the inside of the bearing in the axial direction at both ends in the bearing width direction of the metal, and oil supply holes and bearings for introducing the lubricating oil into the bearing in at least one of the upper and lower bearing metals Disclosed is a plain bearing for large marine diesel engines that has an oil drain hole that discharges deteriorated lubricating oil to the outside, and a throttle device that adjusts the amount of lubricating oil discharged from the oil drain hole. Has been.

特開平9−203412号公報Japanese Patent Laid-Open No. 9-203212

ところで、自動車用の内燃機関などでは、その暖機完了後は、すべり軸受構造でのそれほど大きな摺動抵抗(摩擦損失)は発生しないが、例えば、極低温(−30℃程度)から室温(20〜25℃程度)での低温始動時には非常に大きな摺動抵抗を生じている。これは、潤滑油の粘度が温度に依存し、かかる低温時には粘度が急激に増大するからである。   By the way, in an internal combustion engine for automobiles and the like, after completion of the warm-up, a sliding resistance (friction loss) is not so large in the slide bearing structure, but for example, from an extremely low temperature (about −30 ° C.) to room temperature (20 A very large sliding resistance is generated at the time of low temperature starting at about -25 ° C. This is because the viscosity of the lubricating oil depends on the temperature, and the viscosity rapidly increases at such a low temperature.

そこで、このような低温時の摺動抵抗を下げるために、軸受部の早期の温度上昇を図りたいが、かかる低温時では供給される潤滑油自体の温度も低く温度上昇が遅れること、及びせん断抵抗により発生した熱により潤滑油温度が上昇するにしても、この潤滑油は軸受部から直ぐに流出してしまうことから、軸受部の温度上昇に時間がかかるという問題があった。   Therefore, in order to lower the sliding resistance at such a low temperature, it is desired to increase the temperature of the bearing portion at an early stage. However, at such a low temperature, the temperature of the supplied lubricating oil itself is low and the temperature increase is delayed. Even if the lubricating oil temperature rises due to the heat generated by the resistance, the lubricating oil flows out from the bearing portion immediately, so that there is a problem that it takes time to raise the temperature of the bearing portion.

一方、暖機完了後の定常運転や高速運転での高温時(80〜120℃程度)では、十分な潤滑油量がないと過度の温度上昇を招き、焼き付きなどの不具合を発生させることから、高温時に十分な冷却能力を発揮できるすべり軸受構造が求められている。   On the other hand, at a high temperature (about 80 to 120 ° C.) during steady operation or high-speed operation after the completion of warm-up, if there is not a sufficient amount of lubricating oil, an excessive temperature rise will be caused, and problems such as seizure will occur. There is a need for a plain bearing structure that can exhibit sufficient cooling capacity at high temperatures.

なお、上述の特許文献1に開示されたすべり軸受は、大きな負荷変動が発生する舶用大型ディーゼル機関のクランク軸を支持するためのすべり軸受で、軸及び軸受メタルの間に潤滑油を充満させて、局所的な高い油膜圧力の発生をなくして軸受メタルの割れや損傷を防止するために、軸受内部から軸方向に流出する潤滑油の漏れを防止するシール装置を設けるもので、軸受部の温度の早期上昇を意図するものではない。   The slide bearing disclosed in the above-mentioned Patent Document 1 is a slide bearing for supporting a crankshaft of a large marine diesel engine where a large load fluctuation occurs, and a lubricating oil is filled between the shaft and the bearing metal. In order to eliminate the occurrence of local high oil film pressure and prevent cracking and damage to the bearing metal, a seal device is provided to prevent leakage of lubricating oil flowing out from the bearing in the axial direction. It is not intended for the early rise of.

そこで、本発明は、上記従来の実情に鑑みなされたもので、低温時の摺動抵抗の早期低減が可能で、高温時の潤滑油による冷却作用を阻害することのない軸部材のすべり軸受構造を提供することを目的とする。   Therefore, the present invention has been made in view of the above-described conventional situation, and it is possible to reduce sliding resistance at a low temperature at an early stage, and a sliding bearing structure of a shaft member that does not hinder the cooling action by lubricating oil at a high temperature. The purpose is to provide.

上記の目的を達成するための本発明に係る軸部材のすべり軸受構造の一形態は、相対的に回転可能な軸部材及び軸受部材の摺動面間に潤滑油が供給される軸部材のすべり軸受構造において、前記軸受部材の両側に前記摺動面間からの潤滑油の流出を制限するシール部材を備え、前記シール部材は、前記摺動面間の潤滑油の温度が低温状態から高温状態に上昇するのにともない前記摺動面間に保持される潤滑油量が減少するように変形する部材で形成されていることを特徴とする。   In order to achieve the above object, one aspect of a sliding bearing structure for a shaft member according to the present invention is a sliding of a shaft member that is relatively rotatable and a shaft member that is supplied with lubricating oil between sliding surfaces of the bearing member. In the bearing structure, the seal member is provided on both sides of the bearing member to limit the outflow of the lubricating oil from between the sliding surfaces, and the sealing member has a temperature of the lubricating oil between the sliding surfaces from a low temperature state to a high temperature state. It is formed of a member that is deformed so that the amount of lubricating oil held between the sliding surfaces decreases as it rises.

なお、本明細書において、「低温状態」とは、摺動面間の潤滑油の温度が上述の極低温(−30℃程度)から室温(20〜25℃程度)にある状態、及び「高温状態」とは、同じく摺動面間の潤滑油の温度が上述の暖機完了後の定常運転や高速運転での高温(80〜120℃程度)にある状態を意味する。   In this specification, “low temperature state” means that the temperature of the lubricating oil between the sliding surfaces is from the above-mentioned extremely low temperature (about −30 ° C.) to room temperature (about 20 to 25 ° C.), and “high temperature” The “state” means a state where the temperature of the lubricating oil between the sliding surfaces is at a high temperature (about 80 to 120 ° C.) in the steady operation and the high speed operation after the completion of the warm-up described above.

この一形態の軸部材のすべり軸受構造によれば、シール部材は、摺動面間の潤滑油の温度が低温状態から高温状態に上昇するのにともない摺動面間に保持される潤滑油量が減少するように変形する。したがって、低温時には、軸部材及び軸受部材の摺動面間に供給された潤滑油は、その軸受部の両端から漏れる量が制限されるので、軸受部に保持された潤滑油がせん断されて加熱され、潤滑油延いては軸受部の温度が早期に上昇する。よって、摺動抵抗の早期低減が可能となる。一方、高温時には、シール部材が摺動面間に保持される潤滑油量が減少するように変形するので、潤滑油が軸受部の両端から漏れる量が制限されずに流出が促進される。よって、潤滑油による冷却延いては焼き付き防止作用が奏される。このように、温度に対応して変形するシール部材を採用するという簡単な構成で、低温時の摺動抵抗の早期低減が可能で、高温時の潤滑油による冷却作用を阻害することのない軸部材のすべり軸受構造を得ることができる。   According to the sliding bearing structure of the shaft member according to this aspect, the sealing member has an amount of lubricating oil retained between the sliding surfaces as the temperature of the lubricating oil between the sliding surfaces rises from the low temperature state to the high temperature state. Deforms to decrease. Therefore, at low temperatures, the amount of lubricating oil supplied between the sliding surfaces of the shaft member and the bearing member leaks from both ends of the bearing portion, so the lubricating oil held in the bearing portion is sheared and heated. As a result, the temperature of the lubricating oil and the bearing portion rises early. Therefore, the sliding resistance can be reduced early. On the other hand, when the temperature is high, the seal member is deformed so as to reduce the amount of lubricating oil held between the sliding surfaces. Therefore, the amount of lubricating oil leaking from both ends of the bearing portion is not limited, and the outflow is promoted. Therefore, the cooling by the lubricating oil and the seizing prevention effect are exhibited. In this way, with a simple configuration that employs a seal member that deforms according to the temperature, the sliding resistance at low temperatures can be reduced early, and the shaft that does not hinder the cooling action by lubricating oil at high temperatures A sliding bearing structure of the member can be obtained.

ここで、上記一形態において、前記シール部材は、前記摺動面間の潤滑油の温度が低温状態から高温状態に上昇するのにともないその硬度が低下する材料で形成されていてもよい。   Here, in the above aspect, the seal member may be formed of a material whose hardness decreases as the temperature of the lubricating oil between the sliding surfaces increases from a low temperature state to a high temperature state.

この形態によれば、摺動面間の潤滑油の温度が低温状態にあるときはシール部材の硬度が高く変形しにくいので、軸部材及び軸受部材の摺動面間に供給された潤滑油の、軸受部の両端から漏れる量が制限される。一方、高温状態にあるときはシール部材の硬度が低く変形しやすいので、潤滑油が軸受部の両端から漏れる量が制限されずに流出が促進される。   According to this aspect, when the temperature of the lubricating oil between the sliding surfaces is in a low temperature state, the seal member has a high hardness and is not easily deformed. Therefore, the lubricating oil supplied between the sliding surfaces of the shaft member and the bearing member The amount of leakage from both ends of the bearing portion is limited. On the other hand, since the hardness of the seal member is low and easily deformed when in a high temperature state, the amount of lubricating oil leaking from both ends of the bearing portion is not limited, and the outflow is promoted.

また、上記一形態において、前記シール部材は、前記摺動面間の潤滑油の低温状態から高温状態への所定の温度域において、負の熱膨張率を有する材料で形成されていてもよい。   In the above aspect, the seal member may be formed of a material having a negative coefficient of thermal expansion in a predetermined temperature range from a low temperature state to a high temperature state of the lubricating oil between the sliding surfaces.

この形態によれば、シール部材が負の熱膨張率を有する材料で形成されているので、低温状態においてはシール部材が膨張変形し摺動面間からの潤滑油の流出が制限される。一方、高温状態においてはシール部材が収縮変形し摺動面間からの潤滑油の流出が制限されない。   According to this aspect, since the seal member is formed of a material having a negative coefficient of thermal expansion, the seal member expands and deforms in a low temperature state, and the outflow of lubricating oil from between the sliding surfaces is limited. On the other hand, the seal member contracts and deforms in a high temperature state, and the outflow of lubricating oil from between the sliding surfaces is not limited.

本発明によれば、簡単な構成で、低温時の摺動抵抗の早期低減が可能で、高温時の潤滑油による冷却作用を阻害することがない軸部材のすべり軸受構造を得ることができる。   According to the present invention, it is possible to obtain a sliding bearing structure of a shaft member that can reduce sliding resistance at a low temperature at an early stage with a simple configuration and does not hinder a cooling action by lubricating oil at a high temperature.

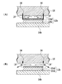
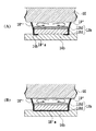
本発明に係る軸部材のすべり軸受構造の実施形態を示す横断面図である。It is a cross-sectional view showing an embodiment of a sliding bearing structure of a shaft member according to the present invention. 図1の軸部材のすべり軸受構造の第1の実施形態の下側半分を示す縦断面図であり、(A)は低温時、(B)は低温から高温に至る途中、(C)は高温時である。It is a longitudinal cross-sectional view which shows the lower half of 1st Embodiment of the sliding bearing structure of the shaft member of FIG. 1, (A) is at low temperature, (B) is on the way from low temperature to high temperature, (C) is high temperature It's time. 本発明に係る軸部材のすべり軸受構造の第1の実施形態に用いられるシール部材を示す斜視図である。It is a perspective view which shows the sealing member used for 1st Embodiment of the sliding bearing structure of the shaft member which concerns on this invention. 本発明に係る軸部材のすべり軸受構造の第2の実施形態に用いられるシール部材と軸部材のより正確な関係を示す(A)斜視図、及び(B)部分断面図である。It is the (A) perspective view and (B) partial sectional view which show the more exact relationship between the seal member used for 2nd Embodiment of the sliding bearing structure of the shaft member which concerns on this invention, and a shaft member. 本発明に係る軸部材のすべり軸受構造の第2の実施形態の下側半分を示す縦断面図であり、(A)は低温時、(B)は高温時である。It is a longitudinal cross-sectional view which shows the lower half of 2nd Embodiment of the sliding bearing structure of the shaft member which concerns on this invention, (A) is at the time of low temperature, (B) is at the time of high temperature. 本発明に係る軸部材のすべり軸受構造におけるシール部材の取付けの第3の実施形態を示す下側半分の縦断面図であり、(A)は左右別体、(B)は左右一体のシール部材である。It is the longitudinal cross-sectional view of the lower half which shows 3rd Embodiment of the attachment of the sealing member in the sliding bearing structure of the shaft member which concerns on this invention, (A) is a right-and-left separate body, (B) is a right-and-left integrated sealing member. It is.

以下、添付の図面を参照しつつ、本発明の実施の形態について詳細に説明する。
まず、本発明をエンジンのクランクシャフトのすべり軸受構造に適用した実施形態において、第1の実施形態につき、図1及び2を参照して説明する。図1及び2において、10は回転する軸部材としてのクランクシャフトのメインジャーナル、12はメインジャーナル10を回転自在に支持するための軸受部材としてのジャーナルベアリングである。ジャーナルベアリング12は、不図示のシリンダブロックに形成された上側ハウジング14a及びこれに締結されるベアリングキャップに形成された下側ハウジング14bからなるハウジング14に収容され、挟まれて固定されている。
Hereinafter, embodiments of the present invention will be described in detail with reference to the accompanying drawings.
First, in an embodiment in which the present invention is applied to a plain bearing structure for a crankshaft of an engine, the first embodiment will be described with reference to FIGS. 1 and 2, 10 is a main journal of a crankshaft as a rotating shaft member, and 12 is a journal bearing as a bearing member for rotatably supporting the main journal 10. The journal bearing 12 is accommodated in a housing 14 including an upper housing 14a formed in a cylinder block (not shown) and a lower housing 14b formed in a bearing cap fastened thereto, and is fixed by being sandwiched.

なお、本実施の形態では、ジャーナルベアリング12は、上側ジャーナルベアリング12a及び下側ジャーナルベアリング12bとで構成されている。そして、上側ジャーナルベアリング12a及び下側ジャーナルベアリング12bは、それぞれ、上側裏金12a1及び下側裏金12b1に上側ライニング12a2及び下側ライニング12b2が、それぞれ、装着されて構成されている(なお、図2には、下側裏金12b1と下側ライニング12b2とで構成される下側ジャーナルベアリング12bのみが示されている)。そして、メインジャーナル10と、上側ジャーナルベアリング12a及び下側ジャーナルベアリング12bで構成されているジャーナルベアリング12とは、それらの全周に亘り所定のクリアランスを有するように設定され、このクリアランスに対し油通路15及び上側ジャーナルベアリング12aに形成され油孔を介して潤滑油が供給される。   In this embodiment, the journal bearing 12 includes an upper journal bearing 12a and a lower journal bearing 12b. The upper journal bearing 12a and the lower journal bearing 12b are configured by attaching an upper lining 12a2 and a lower lining 12b2 to the upper back metal 12a1 and the lower back metal 12b1, respectively (see FIG. 2). (Only the lower journal bearing 12b composed of the lower backing metal 12b1 and the lower lining 12b2 is shown). The main journal 10 and the journal bearing 12 composed of the upper journal bearing 12a and the lower journal bearing 12b are set so as to have a predetermined clearance over their entire circumference, and an oil passage is provided for this clearance. 15 and the upper journal bearing 12a are formed, and lubricating oil is supplied through oil holes.

そこで、本第1の実施形態においては、軸部材としてのメインジャーナル10の外周部であって、ジャーナルベアリング12の両端部に対応する位置に、それぞれ、環状溝16が形成されている(なお、図2にはメインジャーナル10の下半分及び下側ジャーナルベアリング12bのみが示されている)。そして、これらの環状溝16にシール部材18が配置されている。   Therefore, in the first embodiment, the annular grooves 16 are formed in the outer peripheral portion of the main journal 10 as the shaft member at positions corresponding to both end portions of the journal bearing 12 (note that FIG. 2 shows only the lower half of the main journal 10 and the lower journal bearing 12b). A seal member 18 is disposed in the annular grooves 16.

当該シール部材18は、図3に示すように、幅wと厚さtのほぼ矩形断面を有する環状とされ、軸受部への装着に便利なように合口18aが形成されている。そして、シール部材18は、その内径部が環状溝16内に装着されて、低温時において、その外径部の側面がジャーナルベアリング12の両端部に当接するように位置されている。そして、このシール部材18は、メインジャーナル10とジャーナルベアリング12との摺動面間の潤滑油の温度が低温状態から高温状態に上昇するのにともないその硬度が低下する材料で形成されている。なお、このような性質を有する材料としては、フッ素ゴムを挙げることができ、シール部材18がフッ素ゴムで形成される。   As shown in FIG. 3, the seal member 18 has an annular shape having a substantially rectangular cross section with a width w and a thickness t, and an abutment 18a is formed so as to be convenient for mounting on the bearing portion. The seal member 18 is positioned such that the inner diameter portion thereof is mounted in the annular groove 16 and the side surfaces of the outer diameter portion are in contact with both end portions of the journal bearing 12 at a low temperature. The seal member 18 is made of a material whose hardness decreases as the temperature of the lubricating oil between the sliding surfaces of the main journal 10 and the journal bearing 12 increases from a low temperature state to a high temperature state. An example of the material having such properties is fluoro rubber, and the seal member 18 is made of fluoro rubber.

この第1の実施形態の軸部材のすべり軸受構造によれば、シール部材18は、メインジャーナル10とジャーナルベアリング12との摺動面間の潤滑油の温度が低温状態から高温状態に上昇するのにともない、摺動面間に保持される潤滑油量が減少するように変形する。すなわち、摺動面間の潤滑油の温度が低温状態にあるときは、シール部材18の硬度が高く変形しにくいので、潤滑油の油圧がかかってもシール部材18は図2(A)に示すように、その外径部の側面がジャーナルベアリング12の両端部にほぼ当接するように維持される。したがって、メインジャーナル10とジャーナルベアリング12との摺動面間に供給された潤滑油は、軸受部の両端から漏れる量が制限され、メインジャーナル10とジャーナルベアリング12との相対回転によって軸受部に保持された潤滑油がせん断されて加熱され、潤滑油延いては軸受部の温度が早期に上昇する。   According to the sliding bearing structure of the shaft member according to the first embodiment, the temperature of the lubricating oil between the sliding surfaces of the main journal 10 and the journal bearing 12 increases from the low temperature state to the high temperature state. As a result, the amount of lubricating oil retained between the sliding surfaces is reduced. That is, when the temperature of the lubricating oil between the sliding surfaces is in a low temperature state, the seal member 18 has a high hardness and is not easily deformed. Therefore, the seal member 18 is shown in FIG. Thus, the side surface of the outer diameter portion is maintained so as to substantially contact both end portions of the journal bearing 12. Therefore, the amount of the lubricating oil supplied between the sliding surfaces of the main journal 10 and the journal bearing 12 is limited by the amount of leakage from both ends of the bearing portion, and is held in the bearing portion by the relative rotation of the main journal 10 and the journal bearing 12. The applied lubricating oil is sheared and heated, and the temperature of the lubricating oil and, in turn, the bearing portion rises early.

一方、上記低温状態から高温状態に至るにつれ、シール部材の硬度は低くなり変形しやすくなるので、潤滑油が軸受部の両端から漏れる量が制限されなくなる。すなわち、摺動面間の潤滑油の温度が低温状態から高温状態に至る途中にあるときは、シール部材18は図2(B)に示すように、潤滑油の油圧による変形量が中庸であるのに対し、高温状態では、図2(C)に示すように、潤滑油の油圧によるシール部材18の変形量が大きくなる。したがって、シール部材18の外径部の側面とジャーナルベアリング12の両端部との間隙が大きくなり、潤滑油が軸受部の両端から漏れる量が制限されずに流出が促進される。よって、潤滑油による冷却延いては焼き付き防止作用が奏される。   On the other hand, as the temperature from the low temperature state to the high temperature state is reached, the hardness of the seal member decreases and the seal member is easily deformed, so that the amount of lubricating oil leaking from both ends of the bearing portion is not limited. That is, when the temperature of the lubricating oil between the sliding surfaces is on the way from the low temperature state to the high temperature state, the seal member 18 has a moderate amount of deformation due to the oil pressure of the lubricating oil, as shown in FIG. On the other hand, in the high temperature state, as shown in FIG. 2C, the amount of deformation of the seal member 18 due to the oil pressure of the lubricating oil increases. Therefore, the gap between the side surface of the outer diameter portion of the seal member 18 and both end portions of the journal bearing 12 is increased, and the amount of lubricating oil leaking from both ends of the bearing portion is not limited and the outflow is promoted. Therefore, the cooling by the lubricating oil and the seizing prevention effect are exhibited.

次に、本発明に係る軸部材のすべり軸受構造の第2の実施形態を、図4及び図5を参照して説明する。この第2の実施形態が上述の実施形態と異なるのは、シール部材が、前記摺動面間の潤滑油の低温状態から高温状態への所定の温度域において、負の熱膨張率を有する材料で形成されている点のみであるから、同一機能部位については前実施形態で用いたのと同一の符号を用い重複説明を避ける。   Next, a second embodiment of the shaft member slide bearing structure according to the present invention will be described with reference to FIGS. The second embodiment is different from the above-described embodiment in that the seal member has a negative coefficient of thermal expansion in a predetermined temperature range from a low temperature state to a high temperature state of the lubricating oil between the sliding surfaces. Therefore, the same functional parts are denoted by the same reference numerals as those used in the previous embodiment, and redundant explanation is avoided.

この第2の実施形態においては、図4(A),(B)に示すように、幅wと厚さtのほぼ矩形断面を有するシール部材18’がメインジャーナル10の環状溝16に装着される。このとき、環状溝16の深さ及びシール部材18の幅wと厚さtを含む各寸法は、低温時には図5(A)に示すように、熱膨張したシール部材18’の外径部の側面がジャーナルベアリング12の端部に重なって当接し、高温時には図5(B)に示すように、熱収縮したシール部材18’の外径部がメインジャーナル10の外径とほぼ等しくなるように設定されている。   In the second embodiment, as shown in FIGS. 4A and 4B, a seal member 18 ′ having a substantially rectangular cross section having a width w and a thickness t is mounted in the annular groove 16 of the main journal 10. The At this time, the dimensions including the depth of the annular groove 16 and the width w and the thickness t of the seal member 18 are as shown in FIG. 5A at the outer diameter portion of the thermally expanded seal member 18 ′. As shown in FIG. 5 (B), the side surface overlaps with and abuts the end of the journal bearing 12 so that the outer diameter portion of the heat-shrinkable seal member 18 ′ is substantially equal to the outer diameter of the main journal 10. Is set.

なお、上述の負の熱膨張率を有する材料としては、例えば、タングステン酸ジルコニウム(ZrW28)を用いればよい。 For example, zirconium tungstate (ZrW 2 O 8 ) may be used as the material having the above negative thermal expansion coefficient.

このように構成された本実施の形態によれば、今、エンジンが冷機状態にある低温時では、シール部材18’は膨張状態にあり、その外径部の側面が、図5(A)に示すように、ジャーナルベアリング12の端部に重なって当接した状態、換言すると、シール部材18’のメインジャーナル10外径からの突出厚さt´がメインジャーナル10とジャーナルベアリング12とのクリアランスよりも大きい状態にある。この状態では、メインジャーナル10及びジャーナルベアリング12の摺動面間のクリアランスに油通路15を介して供給された潤滑油は、その流出が膨張状態にあるシール部材18’によって妨げられて、ジャーナルベアリング12による軸受部の両端からの潤滑油漏れ量が制限される。したがって、両側のシール部材18’の間の軸受部に保持された潤滑油は、メインジャーナル10の回転に伴いせん断されて熱を発生し、この結果、軸受部の温度が早期に上昇することになる。   According to the present embodiment configured as described above, the seal member 18 'is in an expanded state at a low temperature when the engine is in a cold state, and the side surface of the outer diameter portion is shown in FIG. As shown in the drawing, the state in which the journal bearing 12 is in contact with the end of the journal bearing 12, in other words, the protruding thickness t ′ of the seal member 18 ′ from the outer diameter of the main journal 10 is determined by the clearance between the main journal 10 and the journal bearing 12. Is also in a large state. In this state, the lubricant supplied through the oil passage 15 to the clearance between the sliding surfaces of the main journal 10 and the journal bearing 12 is blocked by the seal member 18 ′ in the expanded state, and the journal bearing 12, the amount of lubricating oil leakage from both ends of the bearing portion is limited. Accordingly, the lubricating oil held in the bearing portion between the seal members 18 ′ on both sides is sheared with the rotation of the main journal 10 to generate heat, and as a result, the temperature of the bearing portion rises early. Become.

一方、エンジンの暖機後の高温時には、シール部材18’が熱収縮状態にあり、図5(B)に示すように、その外径部がメインジャーナル10の外周面に形成された環状溝16内に入り込み、メインジャーナル10の外径と同一となるように変形する。換言すると、突出厚さt´がゼロまたは負となるように収縮変形する。この状態では、油通路15を介して供給された潤滑油は、収縮状態にあるシール部材18’によってはその流出が妨げられず、ジャーナルベアリング12による軸受部の両端からの潤滑油漏れ量が制限されないので、潤滑油による軸受部の冷却作用が奏される。   On the other hand, when the engine is warmed up, the seal member 18 ′ is in a heat-shrinkable state, and as shown in FIG. 5B, the outer circumferential portion of the annular groove 16 formed on the outer peripheral surface of the main journal 10. The inner journal is deformed so as to be the same as the outer diameter of the main journal 10. In other words, it contracts and deforms so that the protruding thickness t ′ becomes zero or negative. In this state, the lubricating oil supplied through the oil passage 15 is not prevented from flowing out by the seal member 18 ′ in the contracted state, and the amount of lubricating oil leakage from both ends of the bearing portion by the journal bearing 12 is limited. As a result, the bearing is cooled by the lubricating oil.

次に、本発明に係る軸部材のすべり軸受構造の第3の実施形態を、図6を参照して説明する。この第3実施形態が上述の第1実施形態と異なるのは、シール部材の取り付け方が異なる点のみであるから、同一機能部位については前実施形態で用いたのと同一の符号を用い重複説明を避ける。   Next, a third embodiment of the sliding bearing structure for a shaft member according to the present invention will be described with reference to FIG. Since the third embodiment is different from the first embodiment described above only in the way the seal member is attached, the same functional parts are denoted by the same reference numerals as those used in the previous embodiment. Avoid.

すなわち、この第3の実施形態では、シリンダブロックに形成された上側ハウジング14a及びこれに締結されるベアリングキャップに形成された下側ハウジング14bからなるハウジング14に、シール部材取付用の環状溝20が形成される。そして、この第3の実施形態においては、外周部に軸方向に延在する取付片部が形成されたシール部材18”が用いられ、このシール部材18”の取付片部18”aがハウジング14の取付用環状溝20に取付けられた後にジャーナルベアリング12が装着されて、シール部材18”が固定される。なお、このシール部材18”は第1の実施形態と同様に、低温状態から高温状態に上昇するのにともないその硬度が低下する材料(フッ素ゴム)で形成されている。ここで、図6(A)は左右別体のシール部材18”、図6(B)は左右一体のシール部材18”の場合を示し、それぞれに対応させて上述のシール部材取付用の環状溝20が形成されている。   That is, in the third embodiment, the annular groove 20 for attaching the seal member is formed in the housing 14 including the upper housing 14a formed in the cylinder block and the lower housing 14b formed in the bearing cap fastened thereto. It is formed. In the third embodiment, a seal member 18 ″ having an attachment piece portion extending in the axial direction on the outer peripheral portion is used, and the attachment piece portion 18 ″ a of the seal member 18 ″ is used as the housing 14. After being mounted in the mounting annular groove 20, the journal bearing 12 is mounted and the seal member 18 "is fixed. As in the first embodiment, the seal member 18 ″ is formed of a material (fluoro rubber) whose hardness decreases as the temperature rises from a low temperature state to a high temperature state. Here, FIG. FIG. 6B shows the case where the left and right separate seal members 18 ″ and FIG. 6B are the left and right integrated seal members 18 ″, respectively, and the above-described annular groove 20 for attaching the seal member is formed. .

この第3の実施形態においては、図6(A)、(B)のいずれの形態でも、軸受部材側にシール部材18”が取付けられた後に軸部材に組み付けることができるので、組み付け性が向上する。そして、低温時にシール部材18”の内径部が軸部材としてのメインジャーナル10の外周部に接触するように配置されるので、シール部材18”の内径部はメインジャーナル10とのクリアランスがほとんどゼロに維持される。よって、潤滑油の粘度が高い低温時には、供給される潤滑油の油圧も高くなるが、シール部材18”は高い硬度で変形が少なく、このようにシール部材18”とメインジャーナル10とのクリアランスが小さく維持されることにより、潤滑油の軸受部からの流出が制限され、軸受部の温度上昇を助けることができる。また、エンジンの停止時には、長い時間、軸受部からの潤滑油の流出を阻止することができるのである。また、高温時にはシール部材18”は硬度が低く変形量が大きくなり流出が促進されること上述の通りである。   In this third embodiment, in any of the forms shown in FIGS. 6A and 6B, the seal member 18 ″ can be attached to the bearing member side and then attached to the shaft member, so that the assemblability is improved. Since the inner diameter portion of the seal member 18 ″ contacts with the outer peripheral portion of the main journal 10 as the shaft member at low temperatures, the inner diameter portion of the seal member 18 ″ has almost no clearance from the main journal 10. Therefore, when the viscosity of the lubricating oil is high and the temperature is low, the oil pressure of the supplied lubricating oil is also high, but the sealing member 18 ″ is high in hardness and less deformed. Since the clearance with the journal 10 is kept small, the outflow of the lubricating oil from the bearing portion is limited, and the temperature of the bearing portion can be increased. When the engine is stopped, the lubricating oil can be prevented from flowing out of the bearing portion for a long time. Further, at high temperatures, the seal member 18 ″ has a low hardness and a large deformation, and the outflow is promoted. Street.

なお、上記説明では、本発明をクランクシャフトのメインジャーナルの軸受部に適用した実施形態につき説明したが、他の部位のすべり軸受構造、例えば、クランクシャフトのピン部、カムシャフトのメインジャーナル軸受部などにも本発明を適用することが可能であることは言うまでもない。   In the above description, the embodiment in which the present invention is applied to the bearing portion of the main journal of the crankshaft has been described. However, the slide bearing structure of other parts, for example, the pin portion of the crankshaft, the main journal bearing portion of the camshaft Needless to say, the present invention can be applied to the above.

10 メインジャーナル(軸部材)
12 ジャーナルベアリング(軸受部材)
12a 上側ジャーナルベアリング
12b 下側ジャーナルベアリング
14 ハウジング
14a 上側ハウジング
14b 下側ハウジング
16 環状溝
18、18’、18” シール部材
20 環状溝
10 Main journal (shaft member)
12 Journal bearing
12a upper journal bearing 12b lower journal bearing 14 housing 14a upper housing 14b lower housing 16 annular groove 18, 18 ', 18 "seal member 20 annular groove

Claims (3)

相対的に回転可能な軸部材及び軸受部材の摺動面間に潤滑油が供給される軸部材のすべり軸受構造において、
前記軸受部材の両側に前記摺動面間からの潤滑油の流出を制限するシール部材を備え、
前記シール部材は、前記摺動面間の潤滑油の温度が低温状態から高温状態に上昇するのにともない前記摺動面間に保持される潤滑油量が減少するように変形する部材で形成されていることを特徴とする軸部材のすべり軸受構造。
In the sliding bearing structure of the shaft member to which lubricating oil is supplied between the sliding surfaces of the shaft member and the bearing member that are relatively rotatable,
A seal member that restricts outflow of lubricating oil from between the sliding surfaces on both sides of the bearing member;
The seal member is formed of a member that is deformed so that the amount of lubricant retained between the sliding surfaces decreases as the temperature of the lubricating oil between the sliding surfaces increases from a low temperature state to a high temperature state. A sliding bearing structure for a shaft member, characterized in that
前記シール部材は、前記摺動面間の潤滑油の温度が低温状態から高温状態に上昇するのにともないその硬度が低下する材料で形成されていることを特徴とする請求項1に記載の軸部材のすべり軸受構造。   2. The shaft according to claim 1, wherein the seal member is made of a material whose hardness decreases as the temperature of the lubricating oil between the sliding surfaces increases from a low temperature state to a high temperature state. Sliding bearing structure of members. 前記シール部材は、前記摺動面間の潤滑油の低温状態から高温状態への所定の温度域において、負の熱膨張率を有する材料で形成されていることを特徴とする請求項1に記載の軸部材のすべり軸受構造。   The said sealing member is formed with the material which has a negative coefficient of thermal expansion in the predetermined temperature range from the low temperature state of the lubricating oil between the said sliding surfaces to a high temperature state. A plain bearing structure of a shaft member.
JP2010281034A 2010-12-16 2010-12-16 Slide bearing structure of shaft member Expired - Fee Related JP5466143B2 (en)

Priority Applications (1)

Application Number Priority Date Filing Date Title
JP2010281034A JP5466143B2 (en) 2010-12-16 2010-12-16 Slide bearing structure of shaft member

Applications Claiming Priority (1)

Application Number Priority Date Filing Date Title
JP2010281034A JP5466143B2 (en) 2010-12-16 2010-12-16 Slide bearing structure of shaft member

Publications (2)

Publication Number Publication Date
JP2012127458A true JP2012127458A (en) 2012-07-05
JP5466143B2 JP5466143B2 (en) 2014-04-09

Family

ID=46644719

Family Applications (1)

Application Number Title Priority Date Filing Date
JP2010281034A Expired - Fee Related JP5466143B2 (en) 2010-12-16 2010-12-16 Slide bearing structure of shaft member

Country Status (1)

Country Link
JP (1) JP5466143B2 (en)

Cited By (3)

* Cited by examiner, † Cited by third party
Publication number Priority date Publication date Assignee Title
JP2019105357A (en) * 2017-12-14 2019-06-27 大豊工業株式会社 Slide bearing
CN110242672A (en) * 2018-03-09 2019-09-17 三菱重工业株式会社 Split sleeve bearing, rotating machinery
US20250027537A1 (en) * 2023-07-17 2025-01-23 General Electric Company Bearings with grooves and methods of producing the same

Citations (13)

* Cited by examiner, † Cited by third party
Publication number Priority date Publication date Assignee Title
JPS6016055U (en) * 1983-07-11 1985-02-02 ヤンマーディーゼル株式会社 Oil supply structure of crankshaft oil seal
JPS633522U (en) * 1986-06-25 1988-01-11
JPH0620924U (en) * 1992-08-20 1994-03-18 日本トムソン株式会社 Linear motion rolling guide unit
JP2001078388A (en) * 1999-09-07 2001-03-23 Nippon Densan Corp Motor
JP2001125374A (en) * 1999-08-19 2001-05-11 Ricoh Co Ltd Bearing seal structure of developing device for image forming apparatus and developing device
JP2003097725A (en) * 2001-09-27 2003-04-03 Nok Corp Sealing device
JP2004092547A (en) * 2002-08-30 2004-03-25 Taiho Kogyo Co Ltd Engine cooling system
JP2006017238A (en) * 2004-07-02 2006-01-19 Koyo Seiko Co Ltd Rolling bearing
JP2007162934A (en) * 2005-11-15 2007-06-28 Ntn Corp Rolling bearing
JP2008309199A (en) * 2007-06-12 2008-12-25 Toyota Motor Corp Bearing structure
JP2009080190A (en) * 2007-09-25 2009-04-16 Ricoh Co Ltd Developing device, image forming apparatus
JP2009210022A (en) * 2008-03-04 2009-09-17 Jtekt Corp Sealing device and rolling bearing device
JP2010265936A (en) * 2009-05-12 2010-11-25 Toyota Motor Corp Hydraulic actuator for shifting

Patent Citations (13)

* Cited by examiner, † Cited by third party
Publication number Priority date Publication date Assignee Title
JPS6016055U (en) * 1983-07-11 1985-02-02 ヤンマーディーゼル株式会社 Oil supply structure of crankshaft oil seal
JPS633522U (en) * 1986-06-25 1988-01-11
JPH0620924U (en) * 1992-08-20 1994-03-18 日本トムソン株式会社 Linear motion rolling guide unit
JP2001125374A (en) * 1999-08-19 2001-05-11 Ricoh Co Ltd Bearing seal structure of developing device for image forming apparatus and developing device
JP2001078388A (en) * 1999-09-07 2001-03-23 Nippon Densan Corp Motor
JP2003097725A (en) * 2001-09-27 2003-04-03 Nok Corp Sealing device
JP2004092547A (en) * 2002-08-30 2004-03-25 Taiho Kogyo Co Ltd Engine cooling system
JP2006017238A (en) * 2004-07-02 2006-01-19 Koyo Seiko Co Ltd Rolling bearing
JP2007162934A (en) * 2005-11-15 2007-06-28 Ntn Corp Rolling bearing
JP2008309199A (en) * 2007-06-12 2008-12-25 Toyota Motor Corp Bearing structure
JP2009080190A (en) * 2007-09-25 2009-04-16 Ricoh Co Ltd Developing device, image forming apparatus
JP2009210022A (en) * 2008-03-04 2009-09-17 Jtekt Corp Sealing device and rolling bearing device
JP2010265936A (en) * 2009-05-12 2010-11-25 Toyota Motor Corp Hydraulic actuator for shifting

Cited By (4)

* Cited by examiner, † Cited by third party
Publication number Priority date Publication date Assignee Title
JP2019105357A (en) * 2017-12-14 2019-06-27 大豊工業株式会社 Slide bearing
CN110242672A (en) * 2018-03-09 2019-09-17 三菱重工业株式会社 Split sleeve bearing, rotating machinery
US20250027537A1 (en) * 2023-07-17 2025-01-23 General Electric Company Bearings with grooves and methods of producing the same
US12429086B2 (en) * 2023-07-17 2025-09-30 General Electric Company Bearings with grooves and methods of producing the same

Also Published As

Publication number Publication date
JP5466143B2 (en) 2014-04-09

Similar Documents

Publication Publication Date Title
JP5895638B2 (en) Plain bearing
JP5343992B2 (en) Bearing structure of internal combustion engine
JP5466143B2 (en) Slide bearing structure of shaft member
JP2009092246A (en) Bearing system
JP5490050B2 (en) Slide bearing structure of shaft member
US9476450B2 (en) Engine bearing block assembly
JP5089572B2 (en) Split type slide bearing and split type slide bearing device for crankshaft of internal combustion engine
JP5496068B2 (en) Slide bearing structure of shaft member
JPH08210343A (en) Connecting rod bearing structure for internal combustion engine
JP2007285456A (en) Bearing structure
US20160223020A1 (en) Bearing shell
JP5564008B2 (en) Slide bearing structure of shaft member
JP5429026B2 (en) Radial slide bearing and rotating shaft bearing structure
JP5310869B2 (en) Oil seal structure
JP6747341B2 (en) Plain bearing structure
JP2007255474A (en) piston ring
JP2018076929A (en) bearing
JP2019105357A (en) Slide bearing
JP5724918B2 (en) Plain bearing
JP2017040356A (en) Crankshaft support device
JP7684942B2 (en) Bearing device
JP7186042B2 (en) chain tensioner
JP3346068B2 (en) Internal combustion engine piston
JP2008014214A (en) Piston ring, piston and engine
Kopeliovich Camshaft bearings

Legal Events

Date Code Title Description
A621 Written request for application examination

Free format text: JAPANESE INTERMEDIATE CODE: A621

Effective date: 20130416

A977 Report on retrieval

Free format text: JAPANESE INTERMEDIATE CODE: A971007

Effective date: 20130902

TRDD Decision of grant or rejection written
A01 Written decision to grant a patent or to grant a registration (utility model)

Free format text: JAPANESE INTERMEDIATE CODE: A01

Effective date: 20140107

A61 First payment of annual fees (during grant procedure)

Free format text: JAPANESE INTERMEDIATE CODE: A61

Effective date: 20140123

R151 Written notification of patent or utility model registration

Ref document number: 5466143

Country of ref document: JP

Free format text: JAPANESE INTERMEDIATE CODE: R151

R250 Receipt of annual fees

Free format text: JAPANESE INTERMEDIATE CODE: R250

R250 Receipt of annual fees

Free format text: JAPANESE INTERMEDIATE CODE: R250

LAPS Cancellation because of no payment of annual fees