JP2012127079A - Auxiliary rafter fixing metal fitting and equipment fixing device - Google Patents

Auxiliary rafter fixing metal fitting and equipment fixing device Download PDF

Info

Publication number
JP2012127079A
JP2012127079A JP2010278001A JP2010278001A JP2012127079A JP 2012127079 A JP2012127079 A JP 2012127079A JP 2010278001 A JP2010278001 A JP 2010278001A JP 2010278001 A JP2010278001 A JP 2010278001A JP 2012127079 A JP2012127079 A JP 2012127079A
Authority
JP
Japan
Prior art keywords
rafter
auxiliary
fastener
roof
mounting plate
Prior art date
Legal status (The legal status is an assumption and is not a legal conclusion. Google has not performed a legal analysis and makes no representation as to the accuracy of the status listed.)
Granted
Application number
JP2010278001A
Other languages
Japanese (ja)
Other versions
JP5430544B2 (en
Inventor
Kazuo Suzuki
一生 鈴木
則幸 ▲高▼須
Noriyuki Takasu
Current Assignee (The listed assignees may be inaccurate. Google has not performed a legal analysis and makes no representation or warranty as to the accuracy of the list.)
Mitsubishi Electric Corp
Original Assignee
Mitsubishi Electric Corp
Priority date (The priority date is an assumption and is not a legal conclusion. Google has not performed a legal analysis and makes no representation as to the accuracy of the date listed.)
Filing date
Publication date
Application filed by Mitsubishi Electric Corp filed Critical Mitsubishi Electric Corp
Priority to JP2010278001A priority Critical patent/JP5430544B2/en
Publication of JP2012127079A publication Critical patent/JP2012127079A/en
Application granted granted Critical
Publication of JP5430544B2 publication Critical patent/JP5430544B2/en
Expired - Fee Related legal-status Critical Current
Anticipated expiration legal-status Critical

Links

Images

Landscapes

  • Roof Covering Using Slabs Or Stiff Sheets (AREA)

Abstract

【課題】建物の屋根上に設置する設備を、建物の構造体に固定し、十分な固定強度を確保するとともに、設備の設置位置の自由度を向上させる汎用性の高い低コストな設備固定装置を得ること。
【解決手段】屋根91の垂木2の側面に第3の取付板部が締結具により取付けられ、垂木2の下面に第1、第2の取付板部10a、10bの一側部11が締結具7により取付けられた補助垂木固定金具1と、前記第1、第2の取付板部10a、10bの他側部12と前記屋根91の野地板4との間に前記垂木2と間隔をあけて平行に配置され前記第1、第2の取付板部10a、10bの他側部12に締結具8により固定された補助垂木3と、前記補助垂木3上の屋根材5上に配置され締結具9により前記屋根材5及び野地板4を介して前記補助垂木3に締結された設備固定金具6と、を備える。
【選択図】図3−1
[PROBLEMS] To fix a facility to be installed on a roof of a building to a building structure, to secure a sufficient fixing strength, and to improve the flexibility of the installation position of the facility. To get.
A third attachment plate portion is attached to a side surface of a rafter 2 of a roof 91 by a fastener, and one side portion 11 of first and second attachment plate portions 10a and 10b is attached to a lower surface of the rafter 2. 7 between the rafter 2 and the auxiliary rafter fixing metal fitting 1 attached by 7, the other side 12 of the first and second attachment plate portions 10 a, 10 b and the base plate 4 of the roof 91. Auxiliary rafters 3 arranged in parallel and fixed to the other side portions 12 of the first and second mounting plate portions 10a, 10b by fasteners 8 and a fastener arranged on the roofing material 5 on the auxiliary rafters 3 9, and an equipment fixing bracket 6 fastened to the auxiliary rafter 3 through the roof material 5 and the field board 4.
[Selection] Figure 3-1

Description

本発明は、太陽電池モジュール、太陽熱温水器、空気調和機の室外機等の設備を建物の屋根上に設置するための設備固定装置及び補助垂木固定金具に関する。   The present invention relates to an equipment fixing device and an auxiliary rafter fixing metal fitting for installing equipment such as a solar cell module, a solar water heater, and an outdoor unit of an air conditioner on the roof of a building.

太陽電池モジュール、太陽熱温水器、空気調和機の室外機等の設備を建物の屋根上に設置する場合、これらの設備を固定する固定部は、設備の重量、設置する地域の風圧、地震などに耐えうる強度を確保する必要がある。これらの設備を固定するには、予め、設備を固定するための固定金具を屋根上に固定し、その固定金具上に設備を固定する方法が一般的である。   When installing equipment such as solar cell modules, solar water heaters, and outdoor units of air conditioners on the roof of a building, the fixed part that fixes these equipment is used for the weight of the equipment, wind pressure in the area where it is installed, and earthquakes. It is necessary to ensure the strength to withstand. In order to fix these facilities, a method of fixing a fixture for fixing the facility on the roof in advance and fixing the facility on the fixture is common.

固定金具は、十分な固定強度を確保するために、屋根の野地板を介して垂木など屋根の構造体に、木ネジ、釘、ボルト・ナット等により固定される。しかしながら、通常、垂木が木材である場合、所定の間隔で垂木が配置されているため、設備の固定位置が制約される、という問題がある。   In order to secure a sufficient fixing strength, the fixing bracket is fixed to a roof structure such as a rafter through a roof base plate with wood screws, nails, bolts / nuts, and the like. However, normally, when the rafters are wood, the rafters are arranged at a predetermined interval, so that there is a problem that the fixed position of the facility is restricted.

また、屋根材が金属である場合、金属屋根材の接合部であるハゼ部が垂木の上に位置していて、固定金具が垂木に取付けられない、という問題がある。空気調和機の室外機等、比較的設置面積が小さい設備の場合、固定金具の個数が少ないため、ある程度、設置位置を調整して設置することが可能であるが、太陽電池モジュールのように、屋根の広い面積に設置するような設備の場合、固定金具の個数が多く、設置位置を調整して設置することは困難である。   Further, when the roofing material is a metal, there is a problem that the goby portion, which is a joint portion of the metal roofing material, is located on the rafter and the fixing bracket cannot be attached to the rafter. In the case of equipment with a relatively small installation area, such as an outdoor unit of an air conditioner, the number of fixing brackets is small, so it is possible to install by adjusting the installation position to some extent, but like a solar cell module, In the case of equipment installed on a large area of the roof, the number of fixing brackets is large, and it is difficult to install by adjusting the installation position.

また、固定金具を垂木に固定せずに、屋根全面に敷設されている野地板に固定すれば設備の固定位置の自由度は高くなるが、野地板の厚さは通常9〜12mm程度のため、十分な強度が確保できない、という問題がある。   In addition, if the fixing bracket is not fixed to the rafters but is fixed to a field plate laid on the entire roof surface, the degree of freedom of the fixing position of the equipment is increased, but the thickness of the field plate is usually about 9 to 12 mm. There is a problem that sufficient strength cannot be secured.

従来、母屋等の屋根下地桟材に固定される固定部材と、その固定部材の垂直片の外側面より外方に突出したボルト受け部材とからなる金具本体と、前記ボルト受け部材の水平部に形成したボルト穴へ挿入されるとともに、その先端を前記屋根下地桟材上の野地板を貫通して屋根上方に突出させられる架台支持ボルトからなり、前記ボルト穴は、前記桟材の幅方向に長い長穴とされている屋根上に設置される架台の支持装置が開示されている(例えば、特許文献1参照)。   Conventionally, a metal fitting body composed of a fixing member fixed to a roof base beam such as a purlin, a bolt receiving member protruding outward from an outer surface of a vertical piece of the fixing member, and a horizontal portion of the bolt receiving member It comprises a support bolt that is inserted into the formed bolt hole and has its tip penetrating the base plate on the roof base frame material and projecting upward from the roof, and the bolt hole extends in the width direction of the beam material. A support device for a pedestal installed on a roof that is a long slot is disclosed (for example, see Patent Document 1).

特開平7−150706号公報JP-A-7-150706

しかしながら、上記特許文献1に記載された金具本体では、設備の固定位置の調整代は、前記長穴の寸法によって決まるため、調整代を大きくするためには、長穴を長くする必要があり、それに伴い金具本体が大型化し、製造コスト及び製造設備が大きくなる。更に、調整できる方向は、長穴の長手方向に限定され、長穴の短手方向の調整はできず、固定位置の調整代は著しく限定されたものであった。   However, in the metal fitting body described in the above-mentioned Patent Document 1, since the adjustment allowance of the fixed position of the equipment is determined by the dimension of the elongated hole, in order to increase the adjustment allowance, it is necessary to lengthen the elongated hole, Along with that, the metal fitting main body becomes larger, and the manufacturing cost and the manufacturing equipment increase. Furthermore, the direction that can be adjusted is limited to the longitudinal direction of the long hole, the lateral direction of the long hole cannot be adjusted, and the adjustment allowance for the fixed position is extremely limited.

本発明は、上記に鑑みてなされたものであって、建物の屋根上に設置する設備を、建物の構造体(垂木)に固定し、十分な固定強度を確保するとともに、設備の設置位置の自由度を向上させる汎用性の高い低コストな設備固定装置を得ることを目的とする。   The present invention has been made in view of the above, and the facility installed on the roof of the building is fixed to the structure of the building (rafter), ensuring sufficient fixing strength, and the installation position of the facility. The purpose is to obtain a versatile and low-cost equipment fixing device that improves the degree of freedom.

上述した課題を解決し、目的を達成するために、本発明は、長手方向に細長い繋ぎ板部と、該繋ぎ板部の長手方向両端部に形成され締結具通し孔が設けられた第1、第2の取付板部と、前記繋ぎ板部の短手方向縁部から直角に屈曲し締結具通し孔が設けられた長手方向に細長い第3の取付板部と、を有することを特徴とする。   In order to solve the above-described problems and achieve the object, the present invention provides a first connecting plate portion that is elongated in the longitudinal direction, and provided with fastener through holes formed at both longitudinal end portions of the connecting plate portion. A second mounting plate portion; and a third mounting plate portion that is bent at a right angle from a short-side edge portion of the connecting plate portion and elongated in a longitudinal direction provided with a fastener through hole. .

本発明によれば、建物の屋根上に設置する設備を、建物の構造体(垂木)に固定し、十分な固定強度を確保するとともに、設備の設置位置の自由度を向上させる汎用性の高い低コストな設備固定装置が得られる、という効果を奏する。   According to the present invention, the equipment to be installed on the roof of the building is fixed to the building structure (rafters), ensuring sufficient fixing strength and improving the flexibility of the installation position of the equipment. There is an effect that a low-cost equipment fixing device can be obtained.

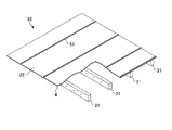
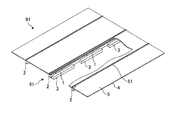
図1は、本発明に係る補助垂木固定金具の実施の形態1を示す斜視図である。FIG. 1 is a perspective view showing Embodiment 1 of an auxiliary rafter fixing bracket according to the present invention. 図2−1は、実施の形態1の補助垂木固定金具が取付けられる屋根の実施の形態1を示す横断面図である。FIG. 2-1 is a cross-sectional view showing the first embodiment of the roof to which the auxiliary rafter fixing bracket of the first embodiment is attached. 図2−2は、実施の形態1の補助垂木固定金具が取付けられる屋根の実施の形態1を示す斜視図である。FIG. 2-2 is a perspective view showing the first embodiment of the roof to which the auxiliary rafter fixing bracket of the first embodiment is attached. 図3−1は、実施の形態1の設備固定装置を示す横断面図である。FIG. 3-1 is a cross-sectional view illustrating the equipment fixing device according to the first embodiment. 図3−2は、実施の形態1の設備固定装置を示す斜視図である。FIG. 3-2 is a perspective view illustrating the equipment fixing device according to the first embodiment. 図4は、長い補助垂木が取付けられた実施の形態1の設備固定装置を示す一部破断斜視図である。FIG. 4 is a partially broken perspective view showing the equipment fixing device of Embodiment 1 to which a long auxiliary rafter is attached. 図5は、短い補助垂木が取付けられた実施の形態1の設備固定装置を示す一部破断斜視図である。FIG. 5 is a partially broken perspective view showing the equipment fixing device of Embodiment 1 to which a short auxiliary rafter is attached. 図6−1は、実施の形態2の設備固定装置を示す一部破断斜視図である。FIG. 6A is a partially broken perspective view showing the equipment fixing device of the second embodiment. 図6−2は、実施の形態2の設備固定装置を示す一部破断斜視図である。FIG. 6-2 is a partially broken perspective view showing the equipment fixing device of the second embodiment. 図7は、実施の形態2の補助垂木固定金具を示す斜視図である。FIG. 7 is a perspective view showing the auxiliary rafter fixing bracket of the second embodiment. 図8−1は、実施の形態1の補助垂木固定金具が取付けられる屋根の実施の形態2を示す縦断面図である。FIG. 8-1 is a longitudinal sectional view showing the second embodiment of the roof to which the auxiliary rafter fixing bracket of the first embodiment is attached. 図8−2は、実施の形態1の補助垂木固定金具が取付けられる屋根の実施の形態2を示す一部破断斜視図である。FIG. 8-2 is a partially broken perspective view showing the second embodiment of the roof to which the auxiliary rafter fixing bracket of the first embodiment is attached. 図9−1は、実施の形態4の設備固定装置を示す縦断面図である。FIG. 9-1 is a longitudinal sectional view showing the equipment fixing device according to the fourth embodiment. 図9−2は、実施の形態4の設備固定装置を示す一部破断斜視図である。FIG. 9-2 is a partially broken perspective view showing the equipment fixing device of the fourth embodiment.

以下に、本発明にかかる補助垂木固定金具及び設備固定装置の実施の形態を図面に基づいて詳細に説明する。なお、この実施の形態によりこの発明が限定されるものではない。   DESCRIPTION OF EMBODIMENTS Embodiments of an auxiliary rafter fixing bracket and an equipment fixing device according to the present invention will be described below in detail with reference to the drawings. Note that the present invention is not limited to the embodiments.

実施の形態1.
図1は、本発明に係る補助垂木固定金具の実施の形態1を示す斜視図であり、図2−1は、実施の形態1の補助垂木固定金具が取付けられる屋根の実施の形態1を示す横断面図であり、図2−2は、実施の形態1の補助垂木固定金具が取付けられる屋根の実施の形態1を示す斜視図であり、図3−1は、実施の形態1の設備固定装置を示す横断面図であり、図3−2は、実施の形態1の設備固定装置を示す斜視図である。
Embodiment 1 FIG.
FIG. 1 is a perspective view showing Embodiment 1 of an auxiliary rafter fixing bracket according to the present invention, and FIG. 2-1 shows Embodiment 1 of a roof to which the auxiliary rafter fixing bracket of Embodiment 1 is attached. FIG. 2-2 is a perspective view showing the first embodiment of the roof to which the auxiliary rafter fixing bracket of the first embodiment is attached, and FIG. 3-1 is the facility fixing of the first embodiment. FIG. 3-2 is a perspective view illustrating the equipment fixing device according to the first embodiment.

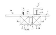
図2−1及び図2−2に示すように、実施の形態1の屋根91は、建物の棟から軒に向かって下り勾配に延設された断面矩形の垂木2と、垂木2の上に一面に敷設された野地板4と、野地板4の上に葺かれた板金製の屋根材5と、を備えている。屋根材5は、野地板4を介して、垂木2に釘52を打込んで固定される。垂木2の材料は、木材又は鉄骨である。   As shown in FIGS. 2-1 and 2-2, the roof 91 according to the first embodiment has a rectangular cross-section rafter 2 extending downward from the building ridge toward the eaves, and the rafter 2. A field board 4 laid on one side and a sheet metal roofing material 5 spread on the field board 4 are provided. The roofing material 5 is fixed by driving nails 52 into the rafters 2 via the field board 4. The material of the rafter 2 is wood or steel frame.

屋根材5は、垂木2に固定されるため、屋根材5同士の接合部であるハゼ部51は、通常、垂木2上に配置される。ハゼ部51が、垂木2上に配置されていると、設備固定金具6(図3−1、図3−2参照)を垂木2上に取付けることができない。   Since the roofing material 5 is fixed to the rafters 2, the goby portion 51 that is a joint between the roofing materials 5 is usually disposed on the rafters 2. If the goby portion 51 is disposed on the rafter 2, the equipment fixing bracket 6 (see FIGS. 3-1 and 3-2) cannot be mounted on the rafter 2.

図1に示すように、実施の形態1の補助垂木固定金具1は、長手方向に細長い繋ぎ板部13aと、繋ぎ板部13aの長手方向両端部に形成された第1、第2の取付板部10a、10bと、繋ぎ板部13aの短手方向縁部から直角に屈曲し長手方向に細長い第3の取付板部13と、第3の取付板部13の長手方向両端部から直角に屈曲し所定の高さ(15mm程度)を有するスペーサ部19と、を有している。   As shown in FIG. 1, the auxiliary rafter fixing bracket 1 according to the first embodiment includes a connecting plate portion 13a elongated in the longitudinal direction, and first and second mounting plates formed at both longitudinal ends of the connecting plate portion 13a. Parts 10a, 10b, a third mounting plate 13 that is bent at right angles from the lateral edge of the connecting plate 13a and elongated in the longitudinal direction, and is bent at right angles from both longitudinal ends of the third mounting plate 13 And a spacer portion 19 having a predetermined height (about 15 mm).

第1、第2の取付板部10a、10bの一側部11には、補助垂木固定金具1を垂木2下面に固定する締結具(木ネジ又は釘)7(図3−1参照)を挿通する長手方向に離間した2つの丸孔14と、締結具としてのボルトを挿通する長手方向に長い長孔16が設けられている。補助垂木固定金具1は、垂木2が木材の場合は、丸孔14を用いて木ネジ又は釘により垂木2に固定され、垂木2が鉄骨の場合は、長穴16を用いてボルト・ナットにより垂木2に固定される。   A fastener (wood screw or nail) 7 (see FIG. 3-1) for fixing the auxiliary rafter fixing bracket 1 to the lower surface of the rafter 2 is inserted into one side portion 11 of the first and second mounting plate portions 10a and 10b. Two round holes 14 that are spaced apart in the longitudinal direction and a long hole 16 that is long in the longitudinal direction through which a bolt as a fastener is inserted are provided. When the rafter 2 is wood, the auxiliary rafter fixing bracket 1 is fixed to the rafter 2 with a wood screw or a nail using a round hole 14, and when the rafter 2 is a steel frame, a long hole 16 is used for bolts and nuts. Fixed to the rafter 2.

また、第1、第2の取付板部10a、10bの他側部12には、補助垂木3(図3−1、図3−2参照)を固定する締結具(木ネジ又は釘)8を挿通する長手方向に離間した2つの丸孔15と、締結具としてのボルトを挿通する長手方向に長い長孔17が設けられている。通常、補助垂木3は、木材が用いられるので、丸孔15を用いて木ネジ又は釘により他側部12に固定される。また、第3の取付板部13には、長手方向に長い長孔18が直列に2つ設けられ、長孔18を用いて、木ネジ又は釘により、垂木2の側面に補助垂木固定金具1を固定する。   Further, a fastener (wood screw or nail) 8 for fixing the auxiliary rafter 3 (see FIGS. 3-1 and 3-2) is provided on the other side 12 of the first and second mounting plate portions 10a and 10b. Two round holes 15 that are spaced apart in the longitudinal direction to be inserted, and a long hole 17 that is long in the longitudinal direction to pass a bolt as a fastener are provided. Usually, since the auxiliary rafter 3 is made of wood, the auxiliary rafter 3 is fixed to the other side portion 12 using a round hole 15 with a wood screw or a nail. The third mounting plate portion 13 is provided with two long holes 18 that are long in the longitudinal direction in series, and the auxiliary rafter fixing bracket 1 is attached to the side surface of the rafter 2 with wood screws or nails using the long holes 18. To fix.

補助垂木固定金具1は、板金製であり、必要な強度が得られるように板厚が選定される。通常、板厚は、1.6mm以上とすることが望ましい。第3の取付板部13と繋ぎ板部13aの屈曲部に、リブなどを設けて強度を高めてもよい。補助垂木固定金具1の第1、第2の取付板部10a、10bの長手方向寸法は、80mm程度であり、補助垂木固定金具1の垂木2への固定、及び、補助垂木3の補助垂木固定金具1への固定に十分な強度を有している。   The auxiliary rafter fixing bracket 1 is made of sheet metal, and the thickness of the auxiliary rafter fixing bracket 1 is selected so as to obtain a required strength. Usually, the plate thickness is desirably 1.6 mm or more. You may provide a rib etc. in the bending part of the 3rd attachment board part 13 and the connection board part 13a, and may raise intensity | strength. The longitudinal dimension of the first and second mounting plate portions 10a and 10b of the auxiliary rafter fixing bracket 1 is about 80 mm, and the auxiliary rafter fixing bracket 1 is fixed to the rafter 2 and the auxiliary rafter 3 is fixed to the auxiliary rafter 3. It has sufficient strength for fixing to the metal fitting 1.

補助垂木3は、その側面がスペーサ部19に接した状態で補助垂木固定金具1へ固定される。スペーサ部19の高さを15mm程度とし、垂木2と補助垂木3との間隔を15mm程度確保する。板金製の屋根材5の形状等により、垂木2と補助垂木3との間隔が15mm以上必要な場合は、スペーサ片19の高さを15mm以上とする。   The auxiliary rafter 3 is fixed to the auxiliary rafter fixing bracket 1 with its side surface in contact with the spacer portion 19. The height of the spacer portion 19 is set to about 15 mm, and the interval between the rafter 2 and the auxiliary rafter 3 is secured about 15 mm. If the interval between the rafters 2 and the auxiliary rafters 3 is 15 mm or more due to the shape of the roofing material 5 made of sheet metal, the height of the spacer piece 19 is 15 mm or more.

図3−1及び図3−2に示すように、実施の形態1の設備固定装置81は、実施の形態1の屋根91の垂木2の側面に第3の取付板部13が締結具7により取付けられ、垂木2の下面に第1、第2の取付板部10a、10bの一側部11が締結具7により取付けられた補助垂木固定金具1と、第1、第2の取付板部10a、10bの他側部12と屋根91の野地板4との間に垂木2と間隔をあけて平行に配置され第1、第2の取付板部10a、10bの他側部12に締結具8により固定された補助垂木3と、補助垂木3上の屋根材5上に配置され締結具(木ネジ又は釘)9により屋根材5及び野地板4を介して補助垂木3に締結された設備固定金具6と、を備えている。補助垂木3は、補助垂木固定金具1に固定され、野地板4に密着している。   As shown in FIGS. 3A and 3B, the facility fixing device 81 according to the first embodiment has the third attachment plate portion 13 on the side surface of the rafter 2 of the roof 91 according to the first embodiment by the fastener 7. Auxiliary rafter fixing bracket 1 which is attached and one side portion 11 of first and second attachment plate portions 10a and 10b is attached to the lower surface of rafter 2 by fastener 7 and first and second attachment plate portions 10a. Fastener 8 is attached to the other side portion 12 of the first and second mounting plate portions 10a and 10b, and is arranged in parallel with the rafter 2 between the other side portion 10b of the base plate 10 and the base plate 4 of the roof 91. Fixed to the auxiliary rafters 3 and the roof rafters 3 on the auxiliary rafters 3 and fastened to the auxiliary rafters 3 by the fasteners (wood screws or nails) 9 via the roofing material 5 and the field plate 4. The metal fitting 6 is provided. The auxiliary rafter 3 is fixed to the auxiliary rafter fixing bracket 1 and is in close contact with the field board 4.

図4は、長い補助垂木が取付けられた実施の形態1の設備固定装置を示す一部破断斜視図であり、図5は、短い補助垂木が取付けられた実施の形態1の設備固定装置を示す一部破断斜視図である。   FIG. 4 is a partially broken perspective view showing the equipment fixing device of the first embodiment to which a long auxiliary rafter is attached, and FIG. 5 shows the equipment fixing device of the first embodiment to which a short auxiliary rafter is attached. It is a partially broken perspective view.

図4に示すように、1本の垂木2に、複数の補助垂木固定金具1を間隔をあけて取付け、長尺の1本の補助垂木3を、複数の補助垂木固定金具1により、垂木2に平行に支持する。また、図5に示すように、1本の垂木2に、複数の補助垂木固定金具1を間隔をあけて取付け、夫々の補助垂木固定金具1により、短尺の補助垂木3を、夫々垂木2に平行に支持するようにしてもよい。   As shown in FIG. 4, a plurality of auxiliary rafter fixing brackets 1 are attached to one rafter 2 at intervals, and one long rafter 3 is attached to a rafter 2 by a plurality of auxiliary rafter fixing brackets 1. Support parallel to Further, as shown in FIG. 5, a plurality of auxiliary rafter fixing brackets 1 are attached to one rafter 2 at intervals, and the short auxiliary rafters 3 are respectively attached to the rafters 2 by the respective auxiliary rafter fixing brackets 1. You may make it support in parallel.

実施の形態2.
図6−1は、実施の形態2の設備固定装置を示す一部破断斜視図であり、図6−2は、実施の形態2の設備固定装置を示す一部破断斜視図である。
Embodiment 2. FIG.
FIG. 6-1 is a partially broken perspective view showing the equipment fixing device of the second embodiment, and FIG. 6-2 is a partially broken perspective view showing the equipment fixing device of the second embodiment.

何らかの障害物があり、補助垂木固定金具1を垂木2の下面に固定できない場合は、図6−1及び図6−2に示すような、実施の形態2の設備固定装置82を用いるとよい。実施の形態2の設備固定装置82は、屋根91の垂木2の側面に第1、第2の取付板部10a、10bが締結具7により取付けられた補助垂木固定金具1と、第3の取付板部13と屋根91の野地板4との間に垂木2と平行に配置され第3の取付板部13に締結具8により固定された補助垂木3と、補助垂木3上の屋根材5上に配置され締結具9(図3−1参照)により屋根材5及び野地板4を介して補助垂木3に締結された設備固定金具6(図3−1参照)と、を備えている。   When there is some obstacle and the auxiliary rafter fixing bracket 1 cannot be fixed to the lower surface of the rafter 2, the equipment fixing device 82 of the second embodiment as shown in FIGS. 6-1 and 6-2 may be used. The equipment fixing device 82 according to the second embodiment includes the auxiliary rafter fixing bracket 1 in which the first and second mounting plate portions 10a and 10b are attached to the side surface of the rafter 2 of the roof 91 by the fastener 7, and the third attachment. Auxiliary rafters 3 arranged in parallel to the rafters 2 between the plate part 13 and the base plate 4 of the roof 91 and fixed to the third mounting plate part 13 by fasteners 8, and the roof material 5 on the auxiliary rafters 3 And an equipment fixing bracket 6 (see FIG. 3-1) fastened to the auxiliary rafter 3 via the roofing material 5 and the field plate 4 by a fastener 9 (see FIG. 3-1).

実施の形態3.
図7は、実施の形態2の補助垂木固定金具を示す斜視図である。屋根91に設置する設備が軽量である場合等、補助垂木固定金具の強度が小さくてもよい場合は、図7に示すように、補助垂木固定金具1を長手方向中央部で半分に切断した形状とし、補助垂木固定金具の使用量を節約してもよい。
Embodiment 3 FIG.
FIG. 7 is a perspective view showing the auxiliary rafter fixing bracket of the second embodiment. When the strength of the auxiliary rafter fixing bracket may be small, such as when the equipment to be installed on the roof 91 is lightweight, the auxiliary rafter fixing bracket 1 is cut in half at the center in the longitudinal direction as shown in FIG. The amount of auxiliary rafter fixing brackets used may be saved.

図7に示すように、実施の形態2の補助垂木固定金具1aは、長手方向に細長い繋ぎ板部13aと、繋ぎ板部13aの長手方向一端部に形成され丸孔14、15、長孔16、17が設けられた第1の取付板部10aと、繋ぎ板部13aの短手方向縁部から直角に屈曲し長孔18が設けられた長手方向に細長い第3の取付板部13と、を有している。   As shown in FIG. 7, the auxiliary rafter fixing bracket 1a of the second embodiment is formed with a connecting plate portion 13a that is elongated in the longitudinal direction, and round holes 14, 15 and an elongated hole 16 that are formed at one end portion in the longitudinal direction of the connecting plate portion 13a. , 17 and the first mounting plate portion 10a, the third mounting plate portion 13 bent at a right angle from the short side edge of the connecting plate portion 13a and elongated in the longitudinal direction provided with the long holes 18, have.

また、図示はしないが、実施の形態2の補助垂木固定金具1aを用いた実施の形態3の設備固定装置は、屋根91の垂木2の側面に第3の取付板部13が締結具7により取付けられ、垂木2の下面に第1の取付板部10aの一側部11が締結具7により取付けられた補助垂木固定金具1aと、第1の取付板部10aの他側部12と屋根91の野地板4との間に垂木2と間隔をあけて平行に配置され第1の取付板部10aの他側部12に締結具8により固定された補助垂木3と、補助垂木3上の屋根材5上に配置され締結具9により屋根材5及び野地板4を介して補助垂木3に締結された設備固定金具6と、を備えている。   Further, although not shown, in the equipment fixing device of the third embodiment using the auxiliary rafter fixing bracket 1a of the second embodiment, the third attachment plate portion 13 is attached to the side surface of the rafter 2 of the roof 91 by the fastener 7. Auxiliary rafter fixing bracket 1a attached to the lower surface of the rafter 2 with one side 11 of the first attachment plate 10a attached by the fastener 7, the other side 12 of the first attachment plate 10a and the roof 91. Auxiliary rafters 3 arranged parallel to the rafters 2 with a space between the rafters 2 and fixed to the other side 12 of the first mounting plate part 10a by fasteners 8 and a roof on the auxiliary rafters 3 And an equipment fixing bracket 6 which is disposed on the material 5 and fastened to the auxiliary rafter 3 via the roof material 5 and the field plate 4 by the fastener 9.

以上説明した実施の形態1〜3の設備固定装置により、板金製の屋根材5の接合部であるハゼ部51が垂木2上に位置する場合、ハゼ部51から離れた場所に、設備固定金具6を取付けることができる。また、設備固定金具6を取付けるときに、ハゼ部51に力が加わることはなく、ハゼ部51の変形による野地板4への雨水の浸入、雨漏りを防止することができる。   When the goby part 51 which is the junction part of the sheet-metal roofing material 5 is located on the rafter 2 by the equipment fixing apparatus of the first to third embodiments described above, the equipment fixing bracket is located away from the goze part 51. 6 can be attached. Moreover, when attaching the equipment fixing bracket 6, no force is applied to the goby portion 51, and it is possible to prevent rainwater from entering the ground plate 4 due to deformation of the gouge portion 51 and rain leakage.

また、図4に示すように、1本の垂木2に補助垂木固定金具1を複数個、間隔をあけて固定し、長い補助垂木3を垂木2に対して平行に通しで固定することができる。この場合、図5に示すように、1本の垂木2に複数個の補助垂木固定金具1を間隔をあけて固定し、夫々の補助垂木固定金具1により、短い補助垂木3を、夫々垂木2に平行に支持するのに比べて、設備固定金具6の固定位置の自由度が高い。   In addition, as shown in FIG. 4, a plurality of auxiliary rafter fixing brackets 1 can be fixed to one rafter 2 at intervals, and a long auxiliary rafter 3 can be fixed in parallel to the rafter 2 by passing through. . In this case, as shown in FIG. 5, a plurality of auxiliary rafter fixing brackets 1 are fixed to one rafter 2 at intervals, and each auxiliary rafter fixing bracket 1 is used to connect a short auxiliary rafter 3 to each rafter 2. The degree of freedom of the fixing position of the equipment fixing bracket 6 is high as compared to the case where the equipment fixing bracket 6 is supported in parallel.

さらに、何らかの障害物があり、補助垂木固定金具1を垂木2の下面に固定できない場合は、図6−1に示すように、補助垂木固定金具1を90°回転させ、丸孔14、丸孔15、長孔16又は長孔17を用いて、垂木2の側面に補助垂木固定金具1の第1、第2の取付板部10a、10bを固定し、第3の取付板部13の長孔18を用いて、補助垂木3を下面から支持することも可能で、補助垂木固定金具1の使用形態は非常に広い。   Further, when there is some obstacle and the auxiliary rafter fixing bracket 1 cannot be fixed to the lower surface of the rafter 2, the auxiliary rafter fixing bracket 1 is rotated by 90 ° as shown in FIG. 15. Using the long hole 16 or the long hole 17, the first and second mounting plate portions 10a and 10b of the auxiliary rafter fixing bracket 1 are fixed to the side surface of the rafter 2, and the long hole of the third mounting plate portion 13 is fixed. 18 can also be used to support the auxiliary rafter 3 from the lower surface, and the usage form of the auxiliary rafter fixing bracket 1 is very wide.

実施の形態4.
図8−1は、実施の形態1の補助垂木固定金具が取付けられる屋根の実施の形態2を示す縦断面図であり、図8−2は、実施の形態1の補助垂木固定金具が取付けられる屋根の実施の形態2を示す一部破断斜視図であり、図9−1は、実施の形態4の設備固定装置を示す縦断面図であり、図9−2は、実施の形態4の設備固定装置を示す一部破断斜視図である。
Embodiment 4 FIG.
FIG. 8-1 is a longitudinal sectional view showing the second embodiment of the roof to which the auxiliary rafter fixing bracket of the first embodiment is attached, and FIG. 8-2 is the attachment of the auxiliary rafter fixing bracket of the first embodiment. It is a partially broken perspective view which shows Embodiment 2 of a roof, FIG. 9-1 is a longitudinal cross-sectional view which shows the installation fixing device of Embodiment 4, FIG. 9-2 is the installation of Embodiment 4 It is a partially broken perspective view which shows a fixing device.

図8−1及び図8−2に示すように、実施の形態2の屋根92は、屋根92の傾斜方向に対して横方向(棟と平行な方向)に延設された断面矩形の横垂木21と、横垂木21の上に一面に敷設された野地板4と、野地板4の上に葺かれた屋根材22と、を備えている。屋根92の構造上、隣合う2本の横垂木21の間は、設備固定金具6を取付けるための十分な強度を有する構造体がないため、設備固定金具6を取付けることができない。   As shown in FIGS. 8A and 8B, the roof 92 according to the second embodiment has a rectangular cross section extending in a lateral direction (a direction parallel to the ridge) with respect to the inclination direction of the roof 92. 21, a field board 4 laid on one side on the horizontal rafters 21, and a roofing material 22 laid on the field board 4. Due to the structure of the roof 92, the equipment fixing bracket 6 cannot be attached because there is no structure having sufficient strength for attaching the equipment fixing bracket 6 between two adjacent horizontal rafters 21.

図9−1及び図9−2に示すように、実施の形態4の設備固定装置84は、屋根92の隣合う2本の横垂木21の対向する側面夫々に、第1、第2の取付板部10a、10bが締結具7により取付けられた対向する2つの補助垂木固定金具1と、夫々の第3の取付板部13と屋根92の野地板4との間に横垂木21と直交するように配置され夫々の第3の取付板部13に締結具8により固定された補助垂木3と、補助垂木3上の屋根材22上に配置され締結具9により屋根材22及び野地板4を介して補助垂木3に締結された設備固定金具6と、を備えている。   As shown in FIGS. 9-1 and 9-2, the equipment fixing device 84 according to the fourth embodiment is provided with first and second attachments on opposite side surfaces of the two adjacent rafters 21 of the roof 92. Between the two auxiliary rafter fixing brackets 1 to which the plate portions 10 a and 10 b are attached by the fasteners 7, and the third attachment plate portion 13 and the base plate 4 of the roof 92 are orthogonal to the horizontal rafter 21. The auxiliary rafters 3 that are arranged in this manner and fixed to the respective third mounting plate portions 13 by the fasteners 8, and the roof material 22 and the field plate 4 are arranged on the roof material 22 on the auxiliary rafters 3 by the fasteners 9. And an equipment fixing bracket 6 fastened to the auxiliary rafter 3.

補助垂木固定金具1を90°回転させ、丸孔14、15、長孔16又は17を利用し、締結具7により、隣合う2本の横垂木21の対向する側面に、夫々補助垂木固定金具1を固定する。締結具7は、横垂木21の材料が木材である場合は、木ネジ又は釘であり、丸孔14又は15を利用して固定し、横垂木21の材料が鉄骨である場合は、ボルト・ナットであり、長孔16又は17を利用して固定する。   The auxiliary rafter fixing bracket 1 is rotated by 90 °, and the round holes 14, 15 and the long holes 16 or 17 are used to fix the auxiliary rafter fixing brackets to the opposite side surfaces of the two adjacent rafters 21 by the fastener 7 respectively. 1 is fixed. The fastener 7 is a wood screw or a nail when the material of the rafter 21 is wood, and is fixed using the round holes 14 or 15, and when the material of the rafter 21 is a steel frame, It is a nut and is fixed using the long hole 16 or 17.

補助垂木3は、2つの補助垂木固定金具1の第3の取付板部13に支持され、長孔18を利用して、締結具8により、横垂木21と直交するように固定される。補助垂木3は、補助垂木固定金具1に固定された状態で、野地板4と密着する。補助垂木3の材料は木材であり、締結具8は、木ネジ又は釘である。設備固定金具6は、屋根材22及び野地板4を介して、補助垂木3に締結具9を用いて固定される。締結具9は、木ネジ又は釘である。   The auxiliary rafter 3 is supported by the third mounting plate 13 of the two auxiliary rafter fixing brackets 1 and is fixed by the fastener 8 so as to be orthogonal to the horizontal rafter 21 using the long hole 18. The auxiliary rafter 3 is in close contact with the field board 4 while being fixed to the auxiliary rafter fixing bracket 1. The material of the auxiliary rafter 3 is wood, and the fastener 8 is a wood screw or a nail. The equipment fixing bracket 6 is fixed to the auxiliary rafter 3 with a fastener 9 through the roof material 22 and the field plate 4. The fastener 9 is a wood screw or a nail.

補助垂木3は、第3の取付板部13の両端に設けられた2つのスペーサ部19の間に配置される。2つのスペーサ部19の間に配置することにより、補助垂木3が第3の取付部13からはみ出して取付けられることがなく、施工における品質が安定する。また、第3の取付部13の長手方向寸法は、200mm程度であり、補助垂木3の幅に対して十分余裕のある寸法となっているため、補助垂木3の取付け位置の自由度が高い。   The auxiliary rafter 3 is disposed between two spacer portions 19 provided at both ends of the third mounting plate portion 13. By arrange | positioning between the two spacer parts 19, the auxiliary rafter 3 does not protrude from the 3rd attaching part 13, and is attached, and the quality in construction is stabilized. In addition, the longitudinal dimension of the third attachment portion 13 is about 200 mm, and has a sufficient margin with respect to the width of the auxiliary rafter 3, so that the degree of freedom of the attachment position of the auxiliary rafter 3 is high.

以上説明したように、実施の形態4の設備固定装置84によれば、従来、設備固定金具6を取付けることができなかった隣合う横垂木21間の屋根材22上に、設備固定金具6を取付けることができる。   As described above, according to the equipment fixing device 84 of the fourth embodiment, the equipment fixing bracket 6 is mounted on the roof material 22 between the adjacent horizontal rafters 21 where the equipment fixing bracket 6 could not be attached conventionally. Can be installed.

また、補助垂木固定金具1の形状を上記の形状とすることにより、垂木2や横垂木21等の屋根の構造体に対して、平行方向、直交方向いずれの方向にも、1種類の補助垂木固定金具1により補助垂木3を支持することができる。補助垂木固定金具1は、汎用性が高く、設備固定金具6の取付け自由度を飛躍的に向上させる。さらに、補助垂木固定金具1、1aは、小型であり、低コストである。   Further, by setting the shape of the auxiliary rafter fixing bracket 1 to the above-mentioned shape, one type of auxiliary rafter is provided in both the parallel direction and the orthogonal direction with respect to the roof structure such as the rafter 2 and the rafter 21. The auxiliary rafter 3 can be supported by the fixing bracket 1. The auxiliary rafter fixing bracket 1 has high versatility and dramatically improves the degree of freedom of mounting the facility fixing bracket 6. Furthermore, the auxiliary rafter fixing brackets 1 and 1a are small in size and low in cost.

以上のように、本発明に係る補助垂木固定金具及び設備固定装置は、太陽電池モジュール、太陽熱温水器、空気調和機の室外機等の設備を建物の屋根上に設置するための装置として有用である。   As described above, the auxiliary rafter fixing bracket and the equipment fixing device according to the present invention are useful as an apparatus for installing equipment such as a solar cell module, a solar water heater, and an outdoor unit of an air conditioner on the roof of a building. is there.

1、1a 補助垂木固定金具
2 垂木
3 補助垂木
4 野地板
5 屋根材
6 設備固定金具
7、8、9 締結具
10a 第1の取付板部
10b 第2の取付板部
11 一側部
12 他側部
13 第3の取付板部
13a 繋ぎ板部
14、15 丸孔
16、17、18 長孔
19 スペーサ部
21 横垂木
22 屋根材
51 ハゼ部
52 釘
81、82、84 設備固定装置
91、92 屋根
DESCRIPTION OF SYMBOLS 1, 1a Auxiliary rafter fixing bracket 2 Rafter 3 Auxiliary rafter 4 Field plate 5 Roof material 6 Equipment fixing bracket 7, 8, 9 Fastening tool 10a First mounting plate portion 10b Second mounting plate portion 11 One side portion 12 Other side Part 13 Third mounting plate part 13a Tie plate part 14, 15 Round hole 16, 17, 18 Long hole 19 Spacer part 21 Rafter 22 Roof material 51 Goby part 52 Nail 81, 82, 84 Equipment fixing device 91, 92 Roof

Claims (10)

長手方向に細長い繋ぎ板部と、
該繋ぎ板部の長手方向両端部に形成され締結具通し孔が設けられた第1、第2の取付板部と、
前記繋ぎ板部の短手方向縁部から直角に屈曲し締結具通し孔が設けられた長手方向に細長い第3の取付板部と、
を有することを特徴とする補助垂木固定金具。
A connecting plate portion elongated in the longitudinal direction;
First and second mounting plate portions formed at both longitudinal ends of the connecting plate portion and provided with fastener through holes;
A third attachment plate portion that is bent at a right angle from the lateral edge of the connecting plate portion and elongated in the longitudinal direction provided with a fastener through hole;
An auxiliary rafter fixing bracket characterized by having.
前記第3の取付板部の長手方向両端部から直角に屈曲し所定の高さを有するスペーサ部をさらに有することを特徴とする請求項1に記載の補助垂木固定金具。   The auxiliary rafter fixing bracket according to claim 1, further comprising a spacer portion bent at a right angle from both longitudinal ends of the third mounting plate portion and having a predetermined height. 前記第1、第2の取付板部に設けられた締結具通し孔は、長手方向に長いボルト締結用の長孔と、木ネジ又は釘締結用の丸孔であり、前記第3の取付板部に設けられた締結具通し孔は、長手方向に長い木ネジ又は釘締結用の長孔であることを特徴とする請求項1又は2に記載の補助垂木固定金具。   The fastener through holes provided in the first and second mounting plate portions are long holes for fastening bolts that are long in the longitudinal direction and round holes for fastening wood screws or nails, and the third mounting plate. 3. The auxiliary rafter fixing bracket according to claim 1, wherein the fastener through-hole provided in the portion is a long screw for fastening a screw or a nail that is long in the longitudinal direction. 屋根の垂木の側面に前記第3の取付板部が締結具により取付けられ、前記垂木の下面に前記第1、第2の取付板部の一側部が締結具により取付けられた請求項1に記載の補助垂木固定金具と、
前記第1、第2の取付板部の他側部と前記屋根の野地板との間に前記垂木と間隔をあけて平行に配置され前記第1、第2の取付板部の他側部に締結具により固定された補助垂木と、
前記補助垂木上の屋根材上に配置され締結具により前記屋根材及び野地板を介して前記補助垂木に締結された設備固定金具と、
を備えることを特徴とする設備固定装置。
The third mounting plate portion is attached to a side surface of a rafter of the roof by a fastener, and one side portion of the first and second attachment plate portions is attached to a lower surface of the rafter by a fastener. Auxiliary rafter fixing bracket as described,
Between the other side part of the first and second mounting plate parts and the roof base plate, the rafter is arranged in parallel with a space between the other side parts of the first and second mounting plate parts. Auxiliary rafters fixed by fasteners;
An equipment fixing bracket disposed on the roof material on the auxiliary rafter and fastened to the auxiliary rafter via the roof material and the field plate by a fastener,
An equipment fixing device comprising:
前記補助垂木は長尺であり、前記垂木に間隔をあけて取付けられた複数の前記補助垂木固定金具により支持されていることを特徴とする請求項4に記載の設備固定装置。   5. The equipment fixing device according to claim 4, wherein the auxiliary rafter is long and is supported by a plurality of auxiliary rafter fixing metal fittings attached to the rafter at intervals. 前記補助垂木は短尺であり、前記垂木に間隔をあけて取付けられた複数の前記補助垂木固定金具に、夫々の前記短尺の補助垂木が支持されていることを特徴とする請求項4に記載の設備固定装置。   The said auxiliary rafter is short length, and each said short rafter auxiliary rafter is supported by the said some auxiliary rafter fixing brackets attached to the said rafter at intervals. Equipment fixing device. 屋根の垂木の側面に前記第1、第2の取付板部が締結具により取付けられた請求項1に記載の補助垂木固定金具と、
前記第3の取付板部と前記屋根の野地板との間に前記垂木と平行に配置され前記第3の取付板部に締結具により固定された補助垂木と、
前記補助垂木上の屋根材上に配置され締結具により前記屋根材及び野地板を介して前記補助垂木に締結された設備固定金具と、
を備えることを特徴とする設備固定装置。
The auxiliary rafter fixing bracket according to claim 1, wherein the first and second mounting plate portions are attached to a side surface of the rafter of the roof by a fastener,
An auxiliary rafter arranged in parallel with the rafter between the third mounting plate and the roof base plate and fixed to the third mounting plate by a fastener;
An equipment fixing bracket disposed on the roof material on the auxiliary rafter and fastened to the auxiliary rafter via the roof material and the field plate by a fastener,
An equipment fixing device comprising:
長手方向に細長い繋ぎ板部と、
該繋ぎ板部の長手方向一端部に形成され締結具通し孔が設けられた第1の取付板部と、
前記繋ぎ板部の短手方向縁部から直角に屈曲し締結具通し孔が設けられた長手方向に細長い第3の取付板部と、
を有することを特徴とする補助垂木固定金具。
A connecting plate portion elongated in the longitudinal direction;
A first mounting plate portion formed at one end in the longitudinal direction of the connecting plate portion and provided with a fastener through hole;
A third attachment plate portion that is bent at a right angle from the lateral edge of the connecting plate portion and elongated in the longitudinal direction provided with a fastener through hole;
An auxiliary rafter fixing bracket characterized by having.
屋根の垂木の側面に前記第3の取付板部が締結具により取付けられ、前記垂木の下面に前記第1の取付板部の一側部が締結具により取付けられた請求項8に記載の補助垂木固定金具と、
前記第1の取付板部の他側部と前記屋根の野地板との間に前記垂木と間隔をあけて平行に配置され前記第1の取付板部の他側部に締結具により固定された補助垂木と、
前記補助垂木上の屋根材上に配置され締結具により前記屋根材及び野地板を介して前記補助垂木に締結された設備固定金具と、
を備えることを特徴とする設備固定装置。
The auxiliary according to claim 8, wherein the third attachment plate portion is attached to a side surface of the rafter of the roof by a fastener, and one side portion of the first attachment plate portion is attached to a lower surface of the rafter by the fastener. Rafter fixing brackets,
Between the other side part of the first mounting plate part and the roof base plate, the rafter is arranged in parallel with a gap, and fixed to the other side part of the first mounting plate part by a fastener. Auxiliary rafters,
An equipment fixing bracket disposed on the roof material on the auxiliary rafter and fastened to the auxiliary rafter via the roof material and the field plate by a fastener,
An equipment fixing device comprising:
屋根の隣合う2本の横垂木の対向する側面夫々に、前記第1、第2の取付板部が締結具により取付けられた請求項1に記載の補助垂木固定金具と、
夫々の前記第3の取付板部と前記屋根の野地板との間に前記横垂木と直交するように配置され夫々の前記第3の取付板部に締結具により固定された補助垂木と、
前記補助垂木上の屋根材上に配置され締結具により前記屋根材及び野地板を介して前記補助垂木に締結された設備固定金具と、
を備えることを特徴とする設備固定装置。
The auxiliary rafter fixing bracket according to claim 1, wherein the first and second mounting plate portions are attached by fasteners to the opposing side surfaces of the two horizontal rafters adjacent to the roof, respectively.
Auxiliary rafters arranged between each of the third mounting plate portions and the roof base plate so as to be orthogonal to the horizontal rafters and fixed to the respective third mounting plate portions by fasteners,
An equipment fixing bracket disposed on the roof material on the auxiliary rafter and fastened to the auxiliary rafter via the roof material and the field plate by a fastener,
An equipment fixing device comprising:
JP2010278001A 2010-12-14 2010-12-14 Auxiliary rafter fixing bracket and equipment fixing device Expired - Fee Related JP5430544B2 (en)

Priority Applications (1)

Application Number Priority Date Filing Date Title
JP2010278001A JP5430544B2 (en) 2010-12-14 2010-12-14 Auxiliary rafter fixing bracket and equipment fixing device

Applications Claiming Priority (1)

Application Number Priority Date Filing Date Title
JP2010278001A JP5430544B2 (en) 2010-12-14 2010-12-14 Auxiliary rafter fixing bracket and equipment fixing device

Publications (2)

Publication Number Publication Date
JP2012127079A true JP2012127079A (en) 2012-07-05
JP5430544B2 JP5430544B2 (en) 2014-03-05

Family

ID=46644412

Family Applications (1)

Application Number Title Priority Date Filing Date
JP2010278001A Expired - Fee Related JP5430544B2 (en) 2010-12-14 2010-12-14 Auxiliary rafter fixing bracket and equipment fixing device

Country Status (1)

Country Link
JP (1) JP5430544B2 (en)

Cited By (2)

* Cited by examiner, † Cited by third party
Publication number Priority date Publication date Assignee Title
JP2016145464A (en) * 2015-02-06 2016-08-12 インリー・グリーンエナジージャパン株式会社 Solar battery installation structure
WO2017138251A1 (en) * 2016-02-09 2017-08-17 パナソニックIpマネジメント株式会社 Affixation fitting and photovoltaic power generation device

Citations (5)

* Cited by examiner, † Cited by third party
Publication number Priority date Publication date Assignee Title
JPS59114366A (en) * 1982-12-20 1984-07-02 松下電工株式会社 Apparatus for mounting object to be provided to roof
JPH09250220A (en) * 1996-03-18 1997-09-22 Yazaki Corp Solar cell module mounting device
JPH10140773A (en) * 1996-11-12 1998-05-26 Akio Taniyama Solar equipment installation support device
JP2004162487A (en) * 2002-11-15 2004-06-10 Kyocera Corp Roof fixing device and fixing structure using the same
JP2010144440A (en) * 2008-12-19 2010-07-01 Panasonic Electric Works Co Ltd Fixing structure of attachment

Patent Citations (5)

* Cited by examiner, † Cited by third party
Publication number Priority date Publication date Assignee Title
JPS59114366A (en) * 1982-12-20 1984-07-02 松下電工株式会社 Apparatus for mounting object to be provided to roof
JPH09250220A (en) * 1996-03-18 1997-09-22 Yazaki Corp Solar cell module mounting device
JPH10140773A (en) * 1996-11-12 1998-05-26 Akio Taniyama Solar equipment installation support device
JP2004162487A (en) * 2002-11-15 2004-06-10 Kyocera Corp Roof fixing device and fixing structure using the same
JP2010144440A (en) * 2008-12-19 2010-07-01 Panasonic Electric Works Co Ltd Fixing structure of attachment

Cited By (3)

* Cited by examiner, † Cited by third party
Publication number Priority date Publication date Assignee Title
JP2016145464A (en) * 2015-02-06 2016-08-12 インリー・グリーンエナジージャパン株式会社 Solar battery installation structure
WO2017138251A1 (en) * 2016-02-09 2017-08-17 パナソニックIpマネジメント株式会社 Affixation fitting and photovoltaic power generation device
JPWO2017138251A1 (en) * 2016-02-09 2018-11-29 パナソニックIpマネジメント株式会社 Fixing bracket and solar power generation device

Also Published As

Publication number Publication date
JP5430544B2 (en) 2014-03-05

Similar Documents

Publication Publication Date Title
CN103875178B (en) The fixture construction of solar module
JP4010665B2 (en) Installation method of solar cell module
US20140060626A1 (en) Interchangeable mounting system for rooftop solar energy installations
KR101903727B1 (en) A roof panel system
GB2466003A (en) Securing A Solar Energy Collection Device As Part Of A Roof
KR200467819Y1 (en) Structure system for support of solar cell module
JP3202583U (en) Support structure for photovoltaic panels
JP7603968B2 (en) Interior and exterior panels
JP2003278333A (en) Mounting bracket for mounting solar panels
JP2007177466A (en) Solar panel installation method and mounting structure
JP5430544B2 (en) Auxiliary rafter fixing bracket and equipment fixing device
JP2013040524A (en) Support fitting
JP2013007192A (en) Fitting structure for solar battery and the like to be mounted on roof
JP5714873B2 (en) Mounting member
JP5683360B2 (en) Mounting structure for installation on the roof
JP6045021B2 (en) Attaching tool for installation on the roof and method of attaching the installation on the roof using the attachment
WO2013124613A2 (en) Roof item attachment apparatus and method
JP5734171B2 (en) Fixture
JP2012140774A (en) Base of mount for solar panel on slate roof
JP2003082824A (en) Mounting device for structure on roof
JP5968115B2 (en) Equipment fixing device
JP6621035B2 (en) Snowfall prevention device
KR102857591B1 (en) Method for Constructing Building-Type Solar Module Support Structures with Enhanced Durability and Constructability
JP2003082823A (en) Fixing method and fixing structure of solar heat collector
JP2002303455A (en) Fixed structure of solar heat collector and solar heat collector

Legal Events

Date Code Title Description
A621 Written request for application examination

Free format text: JAPANESE INTERMEDIATE CODE: A621

Effective date: 20130401

A977 Report on retrieval

Free format text: JAPANESE INTERMEDIATE CODE: A971007

Effective date: 20131025

TRDD Decision of grant or rejection written
A01 Written decision to grant a patent or to grant a registration (utility model)

Free format text: JAPANESE INTERMEDIATE CODE: A01

Effective date: 20131105

A61 First payment of annual fees (during grant procedure)

Free format text: JAPANESE INTERMEDIATE CODE: A61

Effective date: 20131203

R150 Certificate of patent or registration of utility model

Free format text: JAPANESE INTERMEDIATE CODE: R150

Ref document number: 5430544

Country of ref document: JP

Free format text: JAPANESE INTERMEDIATE CODE: R150

R250 Receipt of annual fees

Free format text: JAPANESE INTERMEDIATE CODE: R250

R250 Receipt of annual fees

Free format text: JAPANESE INTERMEDIATE CODE: R250

R250 Receipt of annual fees

Free format text: JAPANESE INTERMEDIATE CODE: R250

R250 Receipt of annual fees

Free format text: JAPANESE INTERMEDIATE CODE: R250

R250 Receipt of annual fees

Free format text: JAPANESE INTERMEDIATE CODE: R250

LAPS Cancellation because of no payment of annual fees