JP2012067358A - Packaging material for pressure/heat sterilization - Google Patents
Packaging material for pressure/heat sterilization Download PDFInfo
- Publication number
- JP2012067358A JP2012067358A JP2010213224A JP2010213224A JP2012067358A JP 2012067358 A JP2012067358 A JP 2012067358A JP 2010213224 A JP2010213224 A JP 2010213224A JP 2010213224 A JP2010213224 A JP 2010213224A JP 2012067358 A JP2012067358 A JP 2012067358A
- Authority
- JP
- Japan
- Prior art keywords
- film
- vapor deposition
- packaging material
- pressure
- plasma
- Prior art date
- Legal status (The legal status is an assumption and is not a legal conclusion. Google has not performed a legal analysis and makes no representation as to the accuracy of the status listed.)
- Granted
Links
Images
Landscapes
- Wrappers (AREA)
- Laminated Bodies (AREA)
- Physical Vapour Deposition (AREA)
Abstract
【課題】材料の蒸発速度とプラズマ密度を自由に設定し、成膜速度に対するガスバリア性を自由に設定出来、酸素バリア性および水蒸気バリア性に優れた、透明、もしくは半透明なガスバリア性フィルムを作成し、それを用いた加熱殺菌用包装材料を提供する。
【解決手段】ガスバリアフィルム(10,11)、接着層(13)、ナイロンフィルム(14)、接着層(15)およびヒートシール性樹脂(16)がこの順で積層された加圧加熱殺菌用包装材料であって、前記ガスバリアフィルムが、プラスチックフィルム(10)上に蒸着手段を用いた蒸着法によりセラミック層(11)を形成させてなり、その際、前記蒸着手段とは別に高密度プラズマを発生させる手段を併せて用いることを特徴とする加圧加熱殺菌用包装材料。
【選択図】図1[PROBLEMS] To create a transparent or translucent gas barrier film that can freely set the evaporation rate and plasma density of the material, can freely set the gas barrier property with respect to the deposition rate, and has excellent oxygen barrier property and water vapor barrier property. And a packaging material for heat sterilization using the same.
A package for pressure and heat sterilization in which a gas barrier film (10, 11), an adhesive layer (13), a nylon film (14), an adhesive layer (15) and a heat sealable resin (16) are laminated in this order. The gas barrier film is formed by forming a ceramic layer (11) on the plastic film (10) by a vapor deposition method using a vapor deposition means, and at this time, a high density plasma is generated separately from the vapor deposition means. A packaging material for heat and pressure sterilization, which is characterized by using a means for causing sterilization.
[Selection] Figure 1
Description
本発明は、高い酸素、水蒸気バリア性を保持した加熱殺菌用包装材料に関するものである。 The present invention relates to a packaging material for heat sterilization having high oxygen and water vapor barrier properties.
食品の包装材料、例えばレトルト食品のパウチ材料としては、基材としてのプラスチックフィルム、酸素及び水蒸気のバリア層としてのアルミ箔及びヒートシールのための熱可塑性樹脂フィルムが順次積層された積層包装材料からなる袋の全面に、装飾効果を高めるために印刷が施されているものが従来より広く用いられている。しかしながら、従来のアルミ箔が積層された材料は電子レンジに使用できない。このため近年、家庭における電子レンジの普及に伴い、常温流通が可能で、包材ごと電子レンジに適用できるバリア性を有したフレキシブルプラスチックフィルムからなる包装用フィルムを用いた食品包材の市場が拡大している。
食品の包装用フィルムに求められる特性としては、
1.防湿,保香,酸化防止等のガスバリア性に優れること、
2.強度,可撓性が充分であること、
3.加熱,加圧殺菌が適用出来ること、
などがある。
従来、上記の特性を満たす材料として、フレキシブルプラスチックフィルムを基材とし、この表面に、酸化アルミニウム、酸化マグネシウム、酸化ケイ素等の金属酸化物を蒸着し、蒸着面に他のフィルムを積層した包装用フィルムが提案されている特開昭58−148759号公報、特開平1−206036号公報、特開平1−267036号公報、特開平2−34330号公報参照)。
Food packaging materials, such as pouch materials for retort foods, are laminated packaging materials in which a plastic film as a base material, an aluminum foil as an oxygen and water vapor barrier layer, and a thermoplastic resin film for heat sealing are sequentially laminated. What has been printed on the entire surface of the bag to enhance the decorative effect has been widely used. However, a material in which a conventional aluminum foil is laminated cannot be used for a microwave oven. Therefore, in recent years, with the widespread use of microwave ovens in the home, the market for food packaging materials using packaging films made of flexible plastic films that have barrier properties that can be applied to microwave ovens is possible. is doing.
The properties required for food packaging films include:
1. Excellent gas barrier properties such as moisture prevention, incense retention, oxidation prevention,
2. Sufficient strength and flexibility;
3. Heat and pressure sterilization can be applied,
and so on.
Conventionally, as a material that satisfies the above characteristics, a flexible plastic film is used as a base material, and metal oxides such as aluminum oxide, magnesium oxide, and silicon oxide are vapor-deposited on this surface, and another film is laminated on the vapor-deposited surface. JP-A-58-148759, JP-A-1-206036, JP-A-1-267036, and JP-A-2-34330 have proposed films.
最近では、酸素、水蒸気バリア膜として光透過性の酸化アルミ蒸着層、または酸化ケイ素蒸着層などの、セラミック層を有する積層包装材料を、レトルト食品用の材料として、また優れた廃棄性と内容物を外から確認できるという特性を生かしてレトルト食品用の材料以外の菓子等の食品や医薬品などの包装材料に用いられている。 Recently, laminated packaging materials with ceramic layers, such as light-transmitting aluminum oxide vapor-deposited layers or silicon oxide vapor-deposited layers as oxygen and water vapor barrier films, have been used as materials for retort foods, and have excellent disposal and contents. It is used for packaging materials such as foods such as confectionery and pharmaceuticals other than materials for retort foods, taking advantage of the fact that it can be confirmed from the outside.
ガスバリア性を有するプラスチックフィルムを実現するために、誘導加熱法、抵抗加熱法、電子ビーム蒸着法、スパッタリング法などの物理成膜法(PVD法)は、大面積化やロール・ツー・ロールへの展開が容易であることから、これらの方式を用いて、高いガスバリア性の発現が期待できるものとして検討され、また実用化されてきた。PVD法は、大きく分けて誘導加熱法、抵抗加熱法、電子ビーム蒸着法などの蒸着法とスパッタリング法に分けられるが、蒸着法は、成膜速度は速いが緻密でガスバリア性の高い膜を得ることが困難な手法であり、一方スパッタリング法は、成膜速度は遅いが緻密でガスバリア性の高い膜を得ることが可能である。このため、一般的に軟包装材料用のガスバリアフィルムは蒸着法を用いる場合が多く、スパッタリング法を用いた大面積成膜は精密な膜厚コントロールを求められる光学膜用途に用いられることが多く、m2当たりの価格は蒸着法に比較して高くなる。しかし、近年では、加熱殺菌用包装材料などに用いられる軟包装材料用のガスバリアフィルムにおいても品質の要求が高く、より高いバリア性が求められてきている。 In order to realize a plastic film having gas barrier properties, physical film formation methods (PVD methods) such as induction heating method, resistance heating method, electron beam evaporation method, sputtering method, etc. Since it is easy to develop, it has been studied and put to practical use as a system that can be expected to exhibit high gas barrier properties using these methods. The PVD method is roughly divided into an evaporation method such as an induction heating method, a resistance heating method, and an electron beam evaporation method, and a sputtering method. The evaporation method has a high film formation speed but a dense film having a high gas barrier property. On the other hand, the sputtering method has a slow film formation rate, but can provide a dense film with high gas barrier properties. For this reason, in general, gas barrier films for flexible packaging materials often use vapor deposition, and large-area film formation using sputtering is often used for optical film applications that require precise film thickness control. The price per m 2 is higher than the vapor deposition method. However, in recent years, there is a high demand for quality even in gas barrier films for soft packaging materials used for packaging materials for heat sterilization, and higher barrier properties have been demanded.
この生産性とガスバリア性が両立しない問題について、生産性は蒸着法とスパッタリング法の中間を、またガスバリア性に関しても蒸着法とスパッタリング法の中間をとる手段として圧力勾配型のプラズマガンを材料蒸発方法として用いた蒸着法が考案されている(特許文献1)。この手法は、プラズマガンより発せられるプラズマを、磁場を用いて収束するなどして、材料へ誘導し、材料を加熱し、蒸発させるとともに、蒸発中の原子、分子がプラズマガンより発せられるプラズマを通過することにより、活性化し、蒸発時より高い運動エネルギーを持って基材に入射することにより、通常の蒸着法より緻密な膜を得ることが可能な方法である。 Regarding the problem of incompatibility between the productivity and the gas barrier property, a pressure gradient type plasma gun is used as a material evaporation method as a means of taking productivity between the vapor deposition method and the sputtering method, and also regarding the gas barrier property between the vapor deposition method and the sputtering method. The vapor deposition method used as the above has been devised (Patent Document 1). In this method, the plasma emitted from the plasma gun is focused to the material by converging it using a magnetic field, etc., and the material is heated and evaporated. At the same time, the atoms and molecules being evaporated are emitted from the plasma gun. It is a method that can be activated by passing, and can enter a substrate with a higher kinetic energy than that at the time of evaporation to obtain a denser film than a normal vapor deposition method.
しかしながら、この手法では材料の蒸発とプラズマによる活性化が同時に行えるため煩雑さは少なく、装置コスト的に有利である反面、材料の蒸発速度とプラズマ密度とが一義的に決定してしまい、材料の蒸発速度と活性化するためのプラズマ密度を自由に決定できないという問題点があった。このため、成膜速度に対するガスバリア性が自由に設定することが困難であるという問題があった。 However, this method is less complicated because the material can be evaporated and activated by plasma at the same time, and it is advantageous in terms of apparatus cost. On the other hand, the material evaporation rate and the plasma density are uniquely determined. There is a problem that the evaporation rate and the plasma density for activation cannot be determined freely. For this reason, there is a problem that it is difficult to freely set the gas barrier property with respect to the film formation rate.
本発明は、上記の問題点に鑑み、材料の蒸発速度とプラズマ密度を自由に設定し、成膜速度に対するガスバリア性を自由に設定出来、酸素バリア性および水蒸気バリア性に優れた、透明、もしくは半透明なガスバリア性フィルムを作成し、それを用いた加熱殺菌用包装材料を提供することを目的とする。 In view of the above problems, the present invention can freely set the evaporation rate and plasma density of the material, can freely set the gas barrier property with respect to the film formation rate, and has excellent oxygen barrier property and water vapor barrier property, or is transparent. An object is to provide a packaging material for heat sterilization using a translucent gas barrier film.
この課題を解決するため、請求項1に記載の発明は、ガスバリアフィルム、接着層、ナイロンフィルム、接着層およびヒートシール性樹脂フィルムがこの順で積層された加圧加熱殺菌用包装材料であって、
前記ガスバリアフィルムが、プラスチックフィルム上に蒸着手段を用いた蒸着法によりセラミック層を形成させてなり、その際、前記蒸着手段とは別に高密度プラズマを発生させる手段を併せて用いることを特徴とする加圧加熱殺菌用包装材料である。
請求項2に記載の発明は、前記高密度プラズマを発生させる手段として、ICPプラズマ、ヘリコン波プラズマ、マイクロ波プラズマ、ホロカソード放電の何れか1つを用いることを特徴とする請求項1に記載の加圧加熱殺菌用包装材料である。
請求項3に記載の発明は、前記セラミック層と前記ナイロンフィルムとの間に、オーバーコート層を形成させてなることを特徴とする請求項1または2に記載の加圧加熱殺菌用包装材料である。
請求項4に記載の発明は、前記蒸着法が、電子ビーム蒸着法、抵抗加熱法または高周波誘導加熱法であることを特徴とする請求項1〜3のいずれかに記載の加圧加熱殺菌用包装材料である。
請求項5に記載の発明は、前記セラミック層が、酸化珪素膜、窒化珪素膜、酸窒化珪素膜、酸化アルミニウム膜、窒化アルミニウム膜、酸窒化アルミニウム膜、酸化マグネシウム膜の何れか1つからなる請求項1〜4のいずれかに記載の加圧加熱殺菌用包装材料である。
In order to solve this problem, the invention described in claim 1 is a packaging material for pressure and heat sterilization in which a gas barrier film, an adhesive layer, a nylon film, an adhesive layer, and a heat-sealable resin film are laminated in this order. ,
The gas barrier film is formed by forming a ceramic layer on a plastic film by a vapor deposition method using a vapor deposition means, and in that case, a means for generating a high-density plasma is used separately from the vapor deposition means. It is a packaging material for pressure heat sterilization.
The invention described in claim 2 is characterized in that any one of ICP plasma, helicon wave plasma, microwave plasma, and holo cathode discharge is used as the means for generating the high density plasma. It is a packaging material for pressure heat sterilization.
The invention according to claim 3 is a packaging material for pressure and heat sterilization according to claim 1 or 2, wherein an overcoat layer is formed between the ceramic layer and the nylon film. is there.
The invention according to claim 4 is characterized in that the vapor deposition method is an electron beam vapor deposition method, a resistance heating method, or a high frequency induction heating method. It is a packaging material.
According to a fifth aspect of the invention, the ceramic layer is made of any one of a silicon oxide film, a silicon nitride film, a silicon oxynitride film, an aluminum oxide film, an aluminum nitride film, an aluminum oxynitride film, and a magnesium oxide film. It is a packaging material for pressurization heating sterilization in any one of Claims 1-4.
本発明の加圧加熱殺菌用包装材料は、ガスバリアフィルム、接着層、ナイロンフィルム、接着層およびヒートシール性樹脂をこの順で積層し、前記ガスバリアフィルムが、プラスチックフィルム上に蒸着手段を用いた蒸着法によりセラミック層を形成してなり、その際、前記蒸着手段とは別に高密度プラズマを発生させる手段を併せて用いることを特徴としているので、材料の蒸発速度とプラズマ密度を自由に設定することができ、成膜速度に対するガスバリア性も自由に設定出来るとともに、酸素バリア性および水蒸気バリア性にも優れている。 The packaging material for heat and pressure sterilization according to the present invention comprises a gas barrier film, an adhesive layer, a nylon film, an adhesive layer and a heat sealable resin laminated in this order, and the gas barrier film is vapor-deposited on the plastic film using vapor deposition means. A ceramic layer is formed by the above method, and in that case, a means for generating a high-density plasma is used in addition to the vapor deposition means, so that the evaporation rate of the material and the plasma density can be freely set. In addition, the gas barrier property with respect to the deposition rate can be set freely, and the oxygen barrier property and the water vapor barrier property are also excellent.
以下、本発明の一実施形態について、図面を参照して説明する。
図1は、本発明の加熱殺菌用包装材料の一実施形態を示した構成図(断面図)である。
プラスチックフィルム基材10の上に、セラミック層11、更にオーバーコート層12が成膜され、このオーバーコート層12側にナイロンフィルム14を、接着層13を介しラミネートし、またナイロンフィルム14に対し、接着層15を介しヒートシール性樹脂フィルム16をラミネートした構成である。
Hereinafter, an embodiment of the present invention will be described with reference to the drawings.
FIG. 1 is a configuration diagram (cross-sectional view) showing an embodiment of a packaging material for heat sterilization according to the present invention.
A
プラスチックフィルム基材10は、特に限定されるものではなく公知のものを使用することができる。例えばポリオレフィン系(ポリエチレン、ポリプロピレン等)、ポリエステル系(ポリエチレンテレフタレート、ポリエチレンナフタレート等)、ポリアミド系(ナイロン−6、ナイロン−66等)、ポリスチレン、エチレンビニルアルコール、ポリ塩化ビニル、ポリイミド、ポリビニルアルコール、ポリカーボネイト、ポリエーテルスルホン、アクリル、セルロース系(トリアセチルセルロース、ジアセチルセルロース等)などが挙げられるが特に限定されない。実際的には、用途や要求物性により適宜選定をすることが望ましく、限定をする例ではないが医療用品、薬品、食品等の包装には、ポリエチレンテレフタレート、ポリプロピレン、ナイロンなどがコスト的に用いやすい。また、基材フィルム厚みは限定するものではないが、用途に応じて、6μmから200μm程度が使用しやすい。
The
また、バリアフィルム作製のためのプラスチックフィルム基材表面には、密着度やバリア度を向上させる樹脂材料をベースとしたアンカーコート層や、プラズマによる基材の表面処理を行ってあるものを用いても良い。 In addition, the surface of the plastic film substrate for barrier film production should be an anchor coat layer based on a resin material that improves adhesion and barrier degree, or a substrate that has been surface treated with plasma. Also good.
セラミック層11としては、酸化珪素膜、窒化珪素膜、酸窒化珪素膜、酸化アルミニウム膜、窒化アルミニウム膜、酸窒化アルミニウム膜、酸化マグネシウム膜が挙げられる。これらを蒸着する際に用いる蒸着材料としては、特に限定されるものではなく公知のものを使用することができる。例えば酸化珪素膜の場合、シリコン(Si)、一酸化珪素(SiO)や二酸化珪素(SiO2)、またはこれらの混合物が挙げられるが、これらに限定されない。また、上記の材料の蒸着時に、酸素などの反応性ガスを併用することにより、酸化珪素膜を得ても良い。
Examples of the
セラミック層11の上に形成するオーバーコート層12としては、R1(M−OR2)(ただしR1、R2は炭素数1〜8の有機基、Mは金属原子)で表される少なくとも一種以上の金属アルコキシドを原料とする組成を含む塗布膜をセラミック層11上に積層することが望ましい。MはSi、Al、Tiなどが望ましく、特にSiが望ましい。また他の水溶性高分子を混合しても差し支えない。
The
ナイロンフィルム14としては、引き裂き方向に延伸した一軸延伸状態のナイロンフィルムでもよく、また芳香族系ポリアミドなどとのポリマーブレンドの2軸延伸状態のナイロンフィルムを用いてもよい。
The
ヒートシール性樹脂フィルム16としては、従来から包装材料のシーラントとして用いられているものと同様の素材から構成することが出来、ポリエチレン、ポリプロピレン、エチレン−酢酸ビニル共重合体、アイオノマー等を使用することが出来る。
The heat-
水蒸気、酸素バリア性を有したプラスチックフィルム基材10とナイロンフィルム14とは接着層13を介し、ラミネーションするが、接着層13の接着剤としてウレタン系の接着剤を用いることが好ましく、またラミネートする方法として、ドライラミネーション法、ノンソルベントラミネーション法、押出しラミネーション法、ニーラムラミネーション法などによりラミネーションすることが好ましい。
The
ヒートシール樹脂フィルム16とナイロンフィルム14とは接着層15を介し、ラミネーションするが、接着層15の接着剤としてウレタン系の接着剤を用いることが好ましく、またラミネートする方法として、ドライラミネーション法、ノンソルベントラミネーション法、押出しラミネーション法、ニーラムラミネーション法などによりラミネーションすることが好ましい。
The heat
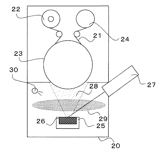
図2は、本発明の加熱殺菌用包装材料における水蒸気、酸素バリア性を保持したガスバリアフィルムを作製する成膜装置の模式図の一例である。真空チャンバー20において、プラスチックフィルム21を、巻き出しローラー22にセットし、巻き出しローラー22よりメインドラム23を通過し、巻取りローラー24に巻き取られる。この際メインドラム23において、セラミック層をプラスチックフィルム21上に形成する。坩堝25に、セラミック層を成膜するための材料26を詰める。また、蒸着手段として、直進電子ビーム銃27が設置されている。また、反応性ガスを導入する手段として、反応性ガス導入パイプ30が成膜室に設置されている。電子ビームにより加熱された材料26は蒸気となりプラスチックフィルムに蒸着されるがこの際の蒸気を蒸着粒子28で示し、蒸着粒子をイオンプレーティングする高密度プラズマをプラズマ29として示してある。
FIG. 2 is an example of a schematic view of a film forming apparatus for producing a gas barrier film retaining water vapor and oxygen barrier properties in the packaging material for heat sterilization of the present invention. In the
図2において、蒸着材料26を過熱する手段として、直進電子ビーム銃27を設置し、電子ビーム蒸着法を示したが、蒸着手段としては、材料を詰めてある坩堝25に対し、抵抗加熱法または高周波誘導加熱法などを用いて加熱し、材料を蒸発させてもよい。電子ビーム蒸着法は、直進電子ビーム銃であっても、偏向電子ビーム銃であってもよいが、高い成膜速度を発現させるためには大電力の投入が可能なピアース式平面陰極形電子銃などが挙げられるが、これに限られるものではない。また抵抗加熱法は、材料を詰めた坩堝を直接抵抗加熱する方式であってもよいし、抵抗加熱部に金属のワイヤーをフィードするタイプの抵抗加熱方式であっても問題ない。いずれの方式も高い成膜速度を発現できる装置の構成になっていることが必要である。
In FIG. 2, a straight
材料を蒸着する際に、プラズマ源よりプラズマを発生させる。高い成膜速度により成膜する場合は、蒸着粒子の数が非常に多いため、高いプラズマ密度を発現できる方式で無い場合、蒸着粒子に比してプラズマ化している粒子数が少なく、膜質を向上させる変化を発現させることが困難である。このため、高いプラズマ密度を発現させる手段として、ICPプラズマ法、ヘリコン波プラズマ法、マイクロ波プラズマ法、ホロカソード放電法の何れかを用いることが最適である。 When depositing the material, a plasma is generated from a plasma source. When depositing at a high deposition rate, the number of vapor deposition particles is very large, so if it is not a method that can express a high plasma density, the number of particles that are converted into plasma is smaller than vapor deposition particles, and the film quality is improved. It is difficult to express changes to be made. For this reason, it is optimal to use any one of the ICP plasma method, the helicon wave plasma method, the microwave plasma method, and the holocathode discharge method as means for developing a high plasma density.
また、本発明の加圧加熱殺菌用包装材料は、水蒸気透過度が1g/m2/day以下であることが好ましい。本発明の加圧加熱殺菌用包装材料は、高密度プラズマを用いてセラミック層を成膜したプラスチックフィルムを用いて構成しているため、水蒸気バリア性に優れている。 The packaging material for heat and pressure sterilization of the present invention preferably has a water vapor permeability of 1 g / m 2 / day or less. Since the packaging material for pressure heat sterilization of this invention is comprised using the plastic film which formed the ceramic layer into a film using the high-density plasma, it is excellent in water vapor | steam barrier property.
さらに、本発明の加圧加熱殺菌用包装材料は、酸素透過度が1cc/m2/day以下であることが好ましい。本発明の加圧加熱殺菌用包装材料は、高密度プラズマを用いてセラミック層を成膜したプラスチックフィルムを用いて構成しているため、水蒸気バリア性に優れている。 Furthermore, the packaging material for heat and pressure sterilization of the present invention preferably has an oxygen permeability of 1 cc / m 2 / day or less. Since the packaging material for pressure heat sterilization of this invention is comprised using the plastic film which formed the ceramic layer into a film using the high-density plasma, it is excellent in water vapor | steam barrier property.
以下に、本発明の具体的な実施例を示す。 Specific examples of the present invention are shown below.
<実施例1>
図2に示す成膜装置を用いて、材料26としてアルミニウム塊を坩堝25に詰め、加熱手段として直進電子ビーム銃27を用い、100nm/secの成膜速度で蒸発させ、ガスパイプ30より酸素ガスを導入し、反応性蒸着により酸化アルミニウム薄膜をプラスチックフィルム21に蒸着成膜する。この際、巻き出しローラー22から巻き取りローラー14に向かって流すプラスチックフィルム21として12μm厚のPETフィルムを用い、物理膜厚20nmを成膜した。この際、電子ビーム蒸着と同時にホロカソードアーク放電を用いてイオンプレーティングを行った。ホロカソード放電源のホロカソードパイプにはアルゴンを70sccm流し、10kWの放電を発生させイオンプレーティングした。セラミック層が形成されたプラスチックフィルムのセラミック層上に、オーバーコート層をマイクログラビア法により形成し、水蒸気、酸素バリア性プラスチックフィルムを作製した。このプラスチックフィルムと厚さ70μmのナイロンフィルムを、ウレタン系接着剤を用いドライラミネーション法によりラミネーションした。また更にナイロンフィルム側にヒートシール樹脂として厚さ100μmのプロピレンフィルムを、ウレタン系接着剤を用いドライラミネーション法によりラミネーションし、加圧加熱殺菌用包装材料を作製した。
<Example 1>
Using the film forming apparatus shown in FIG. 2, an aluminum lump as
<実施例2>
図2に示す成膜装置を用いて、材料26としてアルミニウム塊を坩堝25に詰め、加熱手段として直進電子ビーム銃27を用い、100nm/secの成膜速度で蒸発させ、ガスパイプ30より酸素ガスを導入し、反応性蒸着により酸化アルミニウム薄膜をプラスチックフィルム21に蒸着成膜する。この際、巻き出しローラー22から巻き取りローラー14に向かって流すプラスチックフィルム21として12μm厚のPETフィルムを用い、物理膜厚20nmを成膜した。この際、電子ビーム蒸着と同時にICPプラズマを用いてイオンプレーティングを行った。ICPプラズマを発生させた13.56MHzの電源には10kWの印加を行い、プラズマを発生させイオンプレーティングした。セラミック層が形成されたプラスチックフィルムのセラミック層上に、オーバーコート層をマイクログラビア法により形成し、水蒸気、酸素バリア性プラスチックフィルムを作製した。このプラスチックフィルムと厚さ70μmのナイロンフィルムを、ウレタン系接着剤を用いドライラミネーション法によりラミネーションした。また更にナイロンフィルム側にヒートシール樹脂として厚さ100μmのプロピレンフィルムを、ウレタン系接着剤を用いドライラミネーション法によりラミネーションし、加圧加熱殺菌用包装材料を作製した。
<Example 2>
Using the film forming apparatus shown in FIG. 2, an aluminum lump as
<実施例3>
図2に示す成膜装置を用いて、材料26としてアルミニウム塊を坩堝25に詰め、加熱手段として直進電子ビーム銃27を用い、100nm/secの成膜速度で蒸発させ、ガスパイプ30より酸素ガスを導入し、反応性蒸着により酸化アルミニウム薄膜をプラスチックフィルム21に蒸着成膜する。この際、巻き出しローラー22から巻き取りローラー14に向かって流すプラスチックフィルム21として12μm厚のPETフィルムを用い、物理膜厚20nmを成膜した。この際、電子ビーム蒸着と同時にマイクロ波プラズマを用いてイオンプレーティングを行った。マイクロ波プラズマを発生させるにあたり2.45GHzのマイクロ波電源には6kWの印加を行い、プラズマを発生させた。セラミック層が形成されたプラスチックフィルムのセラミック層上に、オーバーコート層をマイクログラビア法により形成し、水蒸気、酸素バリア性プラスチックフィルムを作製した。このプラスチックフィルムと厚さ70μmのナイロンフィルムを、ウレタン系接着剤を用いドライラミネーション法によりラミネーションした。また更にナイロンフィルム側にヒートシール樹脂として厚さ100μmのプロピレンフィルムを、ウレタン系接着剤を用いドライラミネーション法によりラミネーションし、加圧加熱殺菌用包装材料を作製した。
<Example 3>
Using the film forming apparatus shown in FIG. 2, an aluminum lump as
<比較例1>
図2に示す成膜装置を用いて、材料26としてアルミニウム塊を坩堝25に詰め、加熱手段として直進電子ビーム銃27を用い、100nm/secの成膜速度で蒸発させ、ガスパイプ30より酸素ガスを導入し、反応性蒸着により酸化アルミニウム薄膜をプラスチックフィルム21に蒸着成膜する。この際、巻き出しローラー22から巻き取りローラー14に向かって流すプラスチックフィルム21として12μm厚のPETフィルムを用い、物理膜厚20nmを成膜した。セラミック層が形成されたプラスチックフィルムのセラミック層上に、オーバーコート層をマイクログラビア法により形成し、水蒸気、酸素バリア性プラスチックフィルムを作製した。このプラスチックフィルムと厚さ70μmのナイロンフィルムを、ウレタン系接着剤を用いドライラミネーション法によりラミネーションした。また更にナイロンフィルム側にヒートシール樹脂として厚さ100μmのプロピレンフィルムを、ウレタン系接着剤を用いドライラミネーション法によりラミネーションし、加圧加熱殺菌用包装材料を作製した。
<Comparative Example 1>
Using the film forming apparatus shown in FIG. 2, an aluminum lump as
作成したサンプルについて、水蒸気透過度及び酸素透過度を以下の方法で測定した。 About the created sample, water vapor permeability and oxygen permeability were measured by the following methods.
(評価方法)
水蒸気透過度(WVTR)をMOCON法により測定した。用いた測定器はMOCON PERMATRAN3/33であり、40℃、90%Rhにて測定し、酸素透過度(OTR)はMOCON OX−TRAN2/20により、23℃、0%Rhにて測定した。
(Evaluation methods)
The water vapor transmission rate (WVTR) was measured by the MOCON method. The measuring instrument used was MOCON PERMATRAN 3/33, which was measured at 40 ° C. and 90% Rh, and the oxygen permeability (OTR) was measured at 23 ° C. and 0% Rh by MOCON OX-TRAN 2/20.
表1に実施例1、実施例2、実施例3、比較例1で作成したサンプルの水蒸気透過度と酸素透過度を示す。 Table 1 shows the water vapor permeability and oxygen permeability of the samples prepared in Example 1, Example 2, Example 3, and Comparative Example 1.
表1の結果より、蒸着時に蒸着法とは別に高密度プラズマを用いてセラミック層を形成したプラスチックフィルムを用いて作製した加圧加熱殺菌用包装材料は、高密度プラズマを用いなかったプラスチックフィルムと比較し、高いガスバリア性を有する結果が得られた。 From the results in Table 1, the packaging material for pressure and heat sterilization produced using a plastic film in which a ceramic layer is formed using high-density plasma separately from the vapor deposition method at the time of vapor deposition is a plastic film that does not use high-density plasma. In comparison, results with high gas barrier properties were obtained.
本発明の加圧加熱殺菌用包装材料は、高い透明性と高い酸素及び水蒸気バリア性を有し、例えば食品の包装用フィルムとして最適なものである。 The packaging material for pressure and heat sterilization of the present invention has high transparency and high oxygen and water vapor barrier properties, and is optimal as, for example, a food packaging film.
10・・・プラスチックフィルム
11・・・セラミック層
12・・・オーバーコート層
13・・・接着層
14・・・ナイロンフィルム
15・・・接着層
16・・・ヒートシール性樹脂フィルム
20・・・真空チャンバー
21・・・プラスチックフィルム
22・・・巻き出しローラー
23・・・メインドラム
24・・・巻き取りローラー
25・・・坩堝
26・・・蒸着材料
27・・・直進電子ビーム銃
28・・・蒸着粒子
29・・・プラズマ
30・・・反応性ガス導入パイプ
DESCRIPTION OF
Claims (5)
前記ガスバリアフィルムが、プラスチックフィルム上に蒸着手段を用いた蒸着法によりセラミック層を形成させてなり、その際、前記蒸着手段とは別に高密度プラズマを発生させる手段を併せて用いることを特徴とする加圧加熱殺菌用包装材料。 A gas barrier film, an adhesive layer, a nylon film, an adhesive layer, and a heat-sealable resin film are laminated in this order for pressure and heat sterilization packaging materials,
The gas barrier film is formed by forming a ceramic layer on a plastic film by a vapor deposition method using a vapor deposition means, and in that case, a means for generating a high-density plasma is used separately from the vapor deposition means. Packaging material for pressure and heat sterilization.
Priority Applications (1)
| Application Number | Priority Date | Filing Date | Title |
|---|---|---|---|
| JP2010213224A JP5640603B2 (en) | 2010-09-24 | 2010-09-24 | Packaging material for pressure and heat sterilization |
Applications Claiming Priority (1)
| Application Number | Priority Date | Filing Date | Title |
|---|---|---|---|
| JP2010213224A JP5640603B2 (en) | 2010-09-24 | 2010-09-24 | Packaging material for pressure and heat sterilization |
Publications (2)
| Publication Number | Publication Date |
|---|---|
| JP2012067358A true JP2012067358A (en) | 2012-04-05 |
| JP5640603B2 JP5640603B2 (en) | 2014-12-17 |
Family
ID=46164961
Family Applications (1)
| Application Number | Title | Priority Date | Filing Date |
|---|---|---|---|
| JP2010213224A Active JP5640603B2 (en) | 2010-09-24 | 2010-09-24 | Packaging material for pressure and heat sterilization |
Country Status (1)
| Country | Link |
|---|---|
| JP (1) | JP5640603B2 (en) |
Cited By (3)
| Publication number | Priority date | Publication date | Assignee | Title |
|---|---|---|---|---|
| JP2014065198A (en) * | 2012-09-25 | 2014-04-17 | Toppan Printing Co Ltd | Gas barrier film |
| CN105839879A (en) * | 2016-05-16 | 2016-08-10 | 广州城建职业学院 | Fabric composite ceramic tile and manufacturing process thereof |
| CN105839878A (en) * | 2016-05-16 | 2016-08-10 | 广州城建职业学院 | Veneer composite tile and making process thereof |
Citations (7)
| Publication number | Priority date | Publication date | Assignee | Title |
|---|---|---|---|---|
| JPH10323933A (en) * | 1997-03-21 | 1998-12-08 | Toppan Printing Co Ltd | Aluminum oxide deposited film |
| JP2000008161A (en) * | 1998-06-22 | 2000-01-11 | Mitsubishi Heavy Ind Ltd | Film producing device |
| JP2001315251A (en) * | 2000-05-12 | 2001-11-13 | Dainippon Printing Co Ltd | Barrier film and laminated material using the same |
| JP2007046081A (en) * | 2005-08-08 | 2007-02-22 | Nitto Denko Corp | Method for producing transparent gas barrier film and transparent gas barrier film obtained thereby |
| JP2007290269A (en) * | 2006-04-26 | 2007-11-08 | Dainippon Printing Co Ltd | Packaging materials and packaging containers for nutrients using the same |
| JP2007301878A (en) * | 2006-05-12 | 2007-11-22 | Toppan Printing Co Ltd | Transparent evaporated film and packaging material |
| JP2008202075A (en) * | 2007-02-19 | 2008-09-04 | Toppan Printing Co Ltd | Plasma assist vapor deposition apparatus and plasma assist vapor deposition method |
-
2010
- 2010-09-24 JP JP2010213224A patent/JP5640603B2/en active Active
Patent Citations (7)
| Publication number | Priority date | Publication date | Assignee | Title |
|---|---|---|---|---|
| JPH10323933A (en) * | 1997-03-21 | 1998-12-08 | Toppan Printing Co Ltd | Aluminum oxide deposited film |
| JP2000008161A (en) * | 1998-06-22 | 2000-01-11 | Mitsubishi Heavy Ind Ltd | Film producing device |
| JP2001315251A (en) * | 2000-05-12 | 2001-11-13 | Dainippon Printing Co Ltd | Barrier film and laminated material using the same |
| JP2007046081A (en) * | 2005-08-08 | 2007-02-22 | Nitto Denko Corp | Method for producing transparent gas barrier film and transparent gas barrier film obtained thereby |
| JP2007290269A (en) * | 2006-04-26 | 2007-11-08 | Dainippon Printing Co Ltd | Packaging materials and packaging containers for nutrients using the same |
| JP2007301878A (en) * | 2006-05-12 | 2007-11-22 | Toppan Printing Co Ltd | Transparent evaporated film and packaging material |
| JP2008202075A (en) * | 2007-02-19 | 2008-09-04 | Toppan Printing Co Ltd | Plasma assist vapor deposition apparatus and plasma assist vapor deposition method |
Cited By (3)
| Publication number | Priority date | Publication date | Assignee | Title |
|---|---|---|---|---|
| JP2014065198A (en) * | 2012-09-25 | 2014-04-17 | Toppan Printing Co Ltd | Gas barrier film |
| CN105839879A (en) * | 2016-05-16 | 2016-08-10 | 广州城建职业学院 | Fabric composite ceramic tile and manufacturing process thereof |
| CN105839878A (en) * | 2016-05-16 | 2016-08-10 | 广州城建职业学院 | Veneer composite tile and making process thereof |
Also Published As
| Publication number | Publication date |
|---|---|
| JP5640603B2 (en) | 2014-12-17 |
Similar Documents
| Publication | Publication Date | Title |
|---|---|---|
| JP7192781B2 (en) | LAMINATED FILM, BARRIER LAMINATED FILM, GAS BARRIER PACKAGING MATERIAL AND GAS BARRIER PACKAGE USING THE BARRIER LAMINATED FILM | |
| CN101039801B (en) | Gas-barrier laminated film and manufacturing method thereof | |
| JP6075080B2 (en) | BARRIER FILM FOR PAPER CONTAINER, LAMINATE FOR PAPER CONTAINER AND LIQUID PAPER CONTAINER CONTAINING THE SAME | |
| JP4028124B2 (en) | Transparent barrier film, production method thereof, production apparatus, and laminate and packaging container using the same | |
| JP2021191633A (en) | Barrier film | |
| JP2018183876A (en) | Gas barrier film and heat insulation panel | |
| JP4629363B2 (en) | Barrier film and laminated material using the same | |
| JP2010201628A (en) | Gas-barrier laminated film and method for manufacturing the same | |
| JP5879714B2 (en) | Method for producing packaging material for pressure and heat sterilization | |
| JP5640603B2 (en) | Packaging material for pressure and heat sterilization | |
| JP2008073993A (en) | Gas barrier laminated film | |
| JP4629362B2 (en) | Barrier film and laminated material using the same | |
| JP2006056036A (en) | Gas barrier laminate film and laminate using the same | |
| JP2013199314A (en) | Method for manufacturing packaging material for autoclaving sterilization | |
| JP4857522B2 (en) | Barrier film and laminated material using the same | |
| JP4923837B2 (en) | Boil / retort container lid | |
| JP2008073986A (en) | Gas barrier laminated film | |
| JP2006096046A (en) | Gas barrier film | |
| JP4867906B2 (en) | Transparent barrier film | |
| JP2014065198A (en) | Gas barrier film | |
| JP2008105283A (en) | Linear tearable gas barrier laminate film | |
| JP2015063024A (en) | Gas barrier film | |
| JP6852304B2 (en) | Transparent gas barrier film | |
| JP2008105285A (en) | Gas barrier laminated film | |
| JP5375258B2 (en) | Gas barrier laminate film and laminate using the same |
Legal Events
| Date | Code | Title | Description |
|---|---|---|---|
| A621 | Written request for application examination |
Free format text: JAPANESE INTERMEDIATE CODE: A621 Effective date: 20130823 |
|
| A977 | Report on retrieval |
Free format text: JAPANESE INTERMEDIATE CODE: A971007 Effective date: 20140207 |
|
| A131 | Notification of reasons for refusal |
Free format text: JAPANESE INTERMEDIATE CODE: A131 Effective date: 20140225 |
|
| A521 | Request for written amendment filed |
Free format text: JAPANESE INTERMEDIATE CODE: A523 Effective date: 20140424 |
|
| TRDD | Decision of grant or rejection written | ||
| A01 | Written decision to grant a patent or to grant a registration (utility model) |
Free format text: JAPANESE INTERMEDIATE CODE: A01 Effective date: 20140930 |
|
| A61 | First payment of annual fees (during grant procedure) |
Free format text: JAPANESE INTERMEDIATE CODE: A61 Effective date: 20141013 |
|
| R150 | Certificate of patent or registration of utility model |
Ref document number: 5640603 Country of ref document: JP Free format text: JAPANESE INTERMEDIATE CODE: R150 |
|
| R250 | Receipt of annual fees |
Free format text: JAPANESE INTERMEDIATE CODE: R250 |
|
| R250 | Receipt of annual fees |
Free format text: JAPANESE INTERMEDIATE CODE: R250 |
|
| R250 | Receipt of annual fees |
Free format text: JAPANESE INTERMEDIATE CODE: R250 |
|
| R250 | Receipt of annual fees |
Free format text: JAPANESE INTERMEDIATE CODE: R250 |
|
| R250 | Receipt of annual fees |
Free format text: JAPANESE INTERMEDIATE CODE: R250 |
|
| R250 | Receipt of annual fees |
Free format text: JAPANESE INTERMEDIATE CODE: R250 |
