JP2012064533A - Lamp fitting for vehicle - Google Patents

Lamp fitting for vehicle Download PDF

Info

Publication number
JP2012064533A
JP2012064533A JP2010209820A JP2010209820A JP2012064533A JP 2012064533 A JP2012064533 A JP 2012064533A JP 2010209820 A JP2010209820 A JP 2010209820A JP 2010209820 A JP2010209820 A JP 2010209820A JP 2012064533 A JP2012064533 A JP 2012064533A
Authority
JP
Japan
Prior art keywords
light
guide plate
outer cover
light guide
lamp
Prior art date
Legal status (The legal status is an assumption and is not a legal conclusion. Google has not performed a legal analysis and makes no representation as to the accuracy of the status listed.)
Pending
Application number
JP2010209820A
Other languages
Japanese (ja)
Inventor
Yasuo Teranishi
保夫 寺西
Arata Takeda
新 竹田
Shinji Sato
真司 佐藤
Kenji Nobuhara
賢治 延原
Takayuki Otsubo
高之 大坪
Nobutaka Tezuka
伸孝 手塚
Masafumi Oishi
雅文 大石
Current Assignee (The listed assignees may be inaccurate. Google has not performed a legal analysis and makes no representation or warranty as to the accuracy of the list.)
Koito Manufacturing Co Ltd
Original Assignee
Koito Manufacturing Co Ltd
Priority date (The priority date is an assumption and is not a legal conclusion. Google has not performed a legal analysis and makes no representation as to the accuracy of the date listed.)
Filing date
Publication date
Application filed by Koito Manufacturing Co Ltd filed Critical Koito Manufacturing Co Ltd
Priority to JP2010209820A priority Critical patent/JP2012064533A/en
Publication of JP2012064533A publication Critical patent/JP2012064533A/en
Pending legal-status Critical Current

Links

Images

Classifications

    • FMECHANICAL ENGINEERING; LIGHTING; HEATING; WEAPONS; BLASTING
    • F21LIGHTING
    • F21SNON-PORTABLE LIGHTING DEVICES; SYSTEMS THEREOF; VEHICLE LIGHTING DEVICES SPECIALLY ADAPTED FOR VEHICLE EXTERIORS
    • F21S43/00Signalling devices specially adapted for vehicle exteriors, e.g. brake lamps, direction indicator lights or reversing lights
    • F21S43/20Signalling devices specially adapted for vehicle exteriors, e.g. brake lamps, direction indicator lights or reversing lights characterised by refractors, transparent cover plates, light guides or filters
    • F21S43/235Light guides
    • F21S43/242Light guides characterised by the emission area
    • F21S43/243Light guides characterised by the emission area emitting light from one or more of its extremities
    • FMECHANICAL ENGINEERING; LIGHTING; HEATING; WEAPONS; BLASTING
    • F21LIGHTING
    • F21SNON-PORTABLE LIGHTING DEVICES; SYSTEMS THEREOF; VEHICLE LIGHTING DEVICES SPECIALLY ADAPTED FOR VEHICLE EXTERIORS
    • F21S41/00Illuminating devices specially adapted for vehicle exteriors, e.g. headlamps
    • F21S41/20Illuminating devices specially adapted for vehicle exteriors, e.g. headlamps characterised by refractors, transparent cover plates, light guides or filters
    • F21S41/28Cover glass
    • FMECHANICAL ENGINEERING; LIGHTING; HEATING; WEAPONS; BLASTING
    • F21LIGHTING
    • F21SNON-PORTABLE LIGHTING DEVICES; SYSTEMS THEREOF; VEHICLE LIGHTING DEVICES SPECIALLY ADAPTED FOR VEHICLE EXTERIORS
    • F21S43/00Signalling devices specially adapted for vehicle exteriors, e.g. brake lamps, direction indicator lights or reversing lights
    • F21S43/20Signalling devices specially adapted for vehicle exteriors, e.g. brake lamps, direction indicator lights or reversing lights characterised by refractors, transparent cover plates, light guides or filters
    • F21S43/235Light guides
    • F21S43/236Light guides characterised by the shape of the light guide
    • F21S43/237Light guides characterised by the shape of the light guide rod-shaped

Landscapes

  • Engineering & Computer Science (AREA)
  • General Engineering & Computer Science (AREA)
  • Non-Portable Lighting Devices Or Systems Thereof (AREA)

Abstract

PROBLEM TO BE SOLVED: To incorporate a plane-emission light guide plate without the need of surface processing for emission into an outer cover for a lamp fitting for a vehicle.SOLUTION: The lamp fitting for a vehicle 10 is provided with a lamp body 12, an outer cover 14 arranged so as to cover a front surface of the lamp body 12, and a light source 20 arranged in a lighting chamber 25 zoned by the lamp body and the outer cover, plane-emission light guide plates 16, 18 consisting of transparent resin with light scattering bodies dispersed inside and making light led inside scattered on the surface, and side-surface light sources 27 to 29 arranged so as the light to enter inside the plane-emission light guide plates 16, 18. The plane-emission light guide plates 16, 18 are incorporated into an outer peripheral part of the outer cover 14.

Description

本発明は、車両用灯具に使用されるアウターカバーの構造に関する。   The present invention relates to a structure of an outer cover used for a vehicular lamp.

樹脂材料で形成された導光部材を車両用灯具における配光形成のために使用することが行われている。例えば、特許文献1には、導光部材が係合されたエクステンションの設けられた車両用灯具において、導光部材の端面から入射したLEDの光を、導光部材の前面側に設けられたシリンドリカルステップから、クリアランスランプの配光形成用の拡散光として出射させることが記載されている。   A light guide member formed of a resin material is used for light distribution formation in a vehicular lamp. For example, in Patent Document 1, in a vehicular lamp provided with an extension with which a light guide member is engaged, LED light incident from the end face of the light guide member is converted into a cylindrical shape provided on the front side of the light guide member. From the step, it is described that the light is emitted as diffused light for forming the light distribution of the clearance lamp.

特開2009−146722号公報JP 2009-146722 A

特許文献1に記載の技術のように、従来の導光部材は、その端面から入射した可視光を部材の外部に出射させるための溝やステップなどを表面に形成する必要がある。このような溝やステップは、特にアウターカバーに導光部材を組み込む場合に、表面方向の光を通しにくくなるという問題がある。また、溝やステップが美観を損ない、デザインの自由度が制限されるという問題がある。   Like the technique described in Patent Document 1, a conventional light guide member needs to have grooves, steps, and the like on the surface for emitting visible light incident from the end face to the outside of the member. Such a groove or step has a problem that it is difficult to transmit light in the surface direction particularly when a light guide member is incorporated in the outer cover. In addition, there is a problem that grooves and steps impair aesthetics, and the degree of freedom in design is limited.

本発明はこうした状況に鑑みてなされたものであり、その目的は、出射用の表面加工が不要な導光部材が組み込まれたアウターカバーを用いる車両用灯具を提供することにある。   This invention is made | formed in view of such a condition, The objective is to provide the vehicle lamp using the outer cover in which the light guide member which does not need surface processing for an emission was incorporated.

本発明の一態様による車両用灯具は、ランプボディの前面を覆うように配置されるアウターカバーと、前記ランプボディと前記アウターカバーとで画成された灯室内に配置された第1光源と、光散乱体が内部に分散された透明樹脂からなり内部に導かれた光を表面に散乱させる面発光導光板と、前記面発光導光板の内部に光を入射させるように配置された第2光源と、を備え、前記面発光導光板が前記アウターカバーの少なくとも一部に組み込まれている。   A vehicular lamp according to an aspect of the present invention includes an outer cover disposed so as to cover a front surface of a lamp body, a first light source disposed in a lamp chamber defined by the lamp body and the outer cover, A surface light-emitting light-guiding plate made of a transparent resin having a light-scattering body dispersed therein that scatters light guided to the surface to the surface, and a second light source disposed so that light enters the surface light-emitting light-guiding plate The surface-emitting light guide plate is incorporated in at least a part of the outer cover.

この態様によると、アウターカバーに面発光導光板を組み込みメインビームとは別個の光源を設けて発光させることで、従来の車両用前照灯と外観が大きく変わることなく、複数の機能に対応するランプを一つの灯具に組み込むことが可能になる。   According to this aspect, the surface light guide plate is incorporated in the outer cover, and the light source is provided separately from the main beam so as to emit light, so that the appearance is not significantly different from that of the conventional vehicle headlamp, so that a plurality of functions can be handled. It becomes possible to incorporate the lamp into one lamp.

前記面発光導光板が前記アウターカバーの外周部を構成しており、前記第2光源が前記面発光導光板の端面から光を入射させるように配置されてもよい。   The surface-emitting light guide plate may constitute an outer peripheral portion of the outer cover, and the second light source may be disposed so that light enters from an end surface of the surface-emitting light guide plate.

前記面発光導光板が、前記アウターカバーの略全域にわたり積層配置されてもよい。これによると、面発光導光板を発光させない場合には、アウターカバー背後の第1光源からの光を透過させて通常のメインビームとして機能させるとともに、面発光導光板を発光させる場合には、例えばデイランプまたはクリアランスランプとして使用することができる。   The surface-emitting light guide plate may be laminated over substantially the entire area of the outer cover. According to this, when the surface emitting light guide plate is not caused to emit light, the light from the first light source behind the outer cover is transmitted to function as a normal main beam, and when the surface emitting light guide plate is caused to emit light, for example, Can be used as day lamp or clearance lamp.

前記面発光導光板が、前記アウターカバー上で前記第1光源からの光が透過する領域の少なくとも一部と重なり合うように積層配置されてもよい。   The surface-emitting light guide plate may be laminated so as to overlap at least part of a region through which light from the first light source is transmitted on the outer cover.

前記第1光源から発せられた光が前記アウターカバーを透過する領域と、前記第2光源から発せられた光が前記面発光導光板により発光する領域とが、それぞれ異なる種類の灯具の機能に対応するように構成されてもよい。   The area where the light emitted from the first light source passes through the outer cover and the area where the light emitted from the second light source emits light by the surface-emitting light guide plate correspond to the functions of different types of lamps. It may be configured to.

本発明によれば、出射用の表面加工が不要な面発光導光板を車両用灯具のアウターカバーに組み込むことで、美観を向上させつつ発光範囲を拡大することができる。   According to the present invention, by incorporating a surface light-emitting light guide plate that does not require surface processing for emission into the outer cover of a vehicular lamp, the light emission range can be expanded while improving the aesthetic appearance.

(a)は実施の形態1に係る車両用灯具の概略正面図であり、(b)は概略断面図である。(A) is a schematic front view of the vehicle lamp which concerns on Embodiment 1, (b) is a schematic sectional drawing. (a)は実施の形態2に係るテールランプとストップランプが一体にされた車両用灯具の前面カバーの正面図であり、(b)は前面カバーの部分断面図である。(A) is a front view of the front cover of the vehicle lamp with which the tail lamp and stop lamp which concern on Embodiment 2 were integrated, (b) is a fragmentary sectional view of a front cover. (a)は実施の形態3に係る車両用灯具の正面図であり、(b)はアウターカバーの断面図であり、(c)は夜間時の車両用灯具の様子を示す図である。(A) is a front view of the vehicle lamp which concerns on Embodiment 3, (b) is sectional drawing of an outer cover, (c) is a figure which shows the mode of the vehicle lamp at nighttime. (a)は実施の形態4に係る車両用灯具の概略正面図であり、(b)は概略断面図である。(A) is a schematic front view of the vehicle lamp which concerns on Embodiment 4, (b) is a schematic sectional drawing. 実施の形態5に係る車両用灯具のアウターカバーの正面図である。FIG. 10 is a front view of an outer cover of a vehicular lamp according to a fifth embodiment. 実施の形態6に係る車両用灯具のアウターカバーを示す図である。It is a figure which shows the outer cover of the vehicle lamp which concerns on Embodiment 6. FIG.

実施の形態1.
図1(a)は、本発明の実施の形態1に係る車両用灯具10の概略正面図であり、図1(b)は車両用灯具10の概略断面図である。図1(b)は、車両用灯具10の投射型光源ユニットの光軸を含む鉛直平面によって切断された断面を示している。
Embodiment 1 FIG.
FIG. 1A is a schematic front view of a vehicular lamp 10 according to Embodiment 1 of the present invention, and FIG. 1B is a schematic cross-sectional view of the vehicular lamp 10. FIG. 1B shows a cross section cut by a vertical plane including the optical axis of the projection light source unit of the vehicular lamp 10.

車両用灯具10は、車両前方方向に開口部を有するランプボディ12とこのランプボディ12の開口部を覆うアウターカバー14とで形成される灯室25を有する。灯室25には、ロービーム形成用の投射型光源ユニットと、ハイビーム形成用の反射型光源ユニットが配置される。図1(b)に示すように、投射型光源ユニット21は、光源20、リフレクタを内壁に有するハウジング22、投影レンズ24で構成される。図1(a)の正面図では、透明のアウターカバー14を通して、投射型光源ユニットの投影レンズ24と、反射型光源ユニットの光源26とが透けて見える様子が示されている。光源20および26は、例えば、白熱球、ハロゲンランプ、放電球、LED(Light Emitting Diode)などで構成される。   The vehicular lamp 10 has a lamp chamber 25 formed by a lamp body 12 having an opening in the front direction of the vehicle and an outer cover 14 covering the opening of the lamp body 12. In the lamp chamber 25, a projection light source unit for forming a low beam and a reflective light source unit for forming a high beam are arranged. As shown in FIG. 1B, the projection light source unit 21 includes a light source 20, a housing 22 having a reflector on the inner wall, and a projection lens 24. In the front view of FIG. 1A, the projection lens 24 of the projection light source unit and the light source 26 of the reflection light source unit can be seen through the transparent outer cover 14. The light sources 20 and 26 include, for example, incandescent bulbs, halogen lamps, discharge bulbs, LEDs (Light Emitting Diodes), and the like.

アウターカバー14は、透明樹脂部15と、内部に散乱材が分散された透明樹脂からなる面発光導光板16、18とで構成される。透明樹脂部と面発光導光板とは、押し出し成型等により一体的に形成されることが好ましいが、別々に成型された後に接着されてもよい。   The outer cover 14 includes a transparent resin portion 15 and surface-emitting light guide plates 16 and 18 made of a transparent resin in which a scattering material is dispersed. The transparent resin portion and the surface light-emitting light guide plate are preferably integrally formed by extrusion molding or the like, but may be bonded after being separately molded.

図1(a)に示すように、面発光導光板16は、アウターカバー14の上部外縁に延び、アウターカバー14の右上部および左下部でその端面が露出する。面発光導光板18は、アウターカバー14の下部外縁に延び、アウターカバー14の右下部でその端面が露出する。アウターカバー14の右上部、左下部および右下部には、それぞれ一つまたは複数のLEDからなる側面光源27、28、29が端面と対向するように配置される。なお、側面光源27〜29は、それぞれの面発光導光板の端面に凹部または孔を形成し、この内部にLEDを挿入するようにして設置されてもよい。   As shown in FIG. 1A, the surface light-emitting light guide plate 16 extends to the upper outer edge of the outer cover 14, and the end surface is exposed at the upper right part and the lower left part of the outer cover 14. The surface-emitting light guide plate 18 extends to the lower outer edge of the outer cover 14, and its end surface is exposed at the lower right portion of the outer cover 14. Side light sources 27, 28, and 29 made of one or a plurality of LEDs are disposed on the upper right portion, the lower left portion, and the lower right portion of the outer cover 14 so as to face the end surfaces. In addition, the side light sources 27 to 29 may be installed so as to form a recess or a hole in the end face of each surface emitting light guide plate and insert the LED therein.

面発光導光板は、いわゆる「エッジライト方式」で発光される。すなわち、面発光導光板の端面から導光板内部に入射された光が、内部反射を繰り返しながら導光体内部を伝搬する。面発光導光板の内部に分散された散乱剤が、伝搬した光を散乱して表面に向けて出射させる。この結果、導光板の全面から発光しているように見える。これに対し、面発光導光板は、表面に対して略垂直方向に入射した光は散乱させることなく透過させる。   The surface emitting light guide plate emits light by a so-called “edge light system”. That is, the light incident on the inside of the light guide plate from the end surface of the surface emitting light guide plate propagates inside the light guide while repeating internal reflection. The scattering agent dispersed inside the surface-emitting light guide plate scatters the propagated light and emits it toward the surface. As a result, it appears that light is emitted from the entire surface of the light guide plate. On the other hand, the surface light-emitting light guide plate transmits light incident in a direction substantially perpendicular to the surface without being scattered.

なお、面発光導光板の各面において、最も広い面積を有する対向する二面を本明細書では「表面」と呼び、それ以外の面を「端面」と呼ぶ。また、「板状」とは、車両用灯具のアウターカバーやエクステンション部材のように湾曲しているもの、平坦であるもの、細長い棒状であるものを含む。   In each surface of the surface-emitting light-guiding plate, two opposing surfaces having the widest area are referred to as “surfaces” in this specification, and the other surfaces are referred to as “end surfaces”. In addition, the “plate shape” includes a curved shape such as an outer cover or an extension member of a vehicular lamp, a flat shape, and an elongated rod shape.

上述の面発光導光板は、基材に光散乱剤を分散させた熱可塑性樹脂シートにより構成される。あるいは、面発光導光板は、光散乱剤濃度の低い基材層と、光散乱剤濃度の高い被膜層との積層構造として構成されてもよい。基材の材料は、端面から基材内部に導かれた光が内部反射を繰り返しながら伝搬される光透過性を有する樹脂であり、例えばメタクリル樹脂、ポリカーボネート樹脂、スチレン系樹脂などの熱可塑性樹脂が利用可能である。基材中に分散される光散乱剤は、内部を伝搬する光を散乱させて表面方向に出射させる役割を有する。光散乱剤は、例えばアルミナ等の無機微粒子または有機微粒子で構成されるが、これらに限定されない。光散乱剤の平均粒径は例えば0.5μm程度であるが、樹脂中に均一に分散されている限りその形状は特に限定されない。   The surface-emitting light guide plate described above is composed of a thermoplastic resin sheet in which a light scattering agent is dispersed in a base material. Or a surface emitting light-guide plate may be comprised as a laminated structure of the base material layer with a low light-scattering agent density | concentration, and the coating film layer with a high light-scattering agent density | concentration. The material of the base material is a resin having a light transmission property in which light guided from the end surface to the base material is propagated while repeating internal reflection. For example, a thermoplastic resin such as a methacrylic resin, a polycarbonate resin, or a styrene resin is used. Is available. The light scattering agent dispersed in the substrate has a role of scattering the light propagating through the inside and emitting it in the surface direction. The light scattering agent is composed of, for example, inorganic fine particles such as alumina or organic fine particles, but is not limited thereto. The average particle diameter of the light scattering agent is, for example, about 0.5 μm, but the shape is not particularly limited as long as it is uniformly dispersed in the resin.

内部に入射された光を反射させながら伝搬する導光部材自体は、従来から車両用灯具の一部として使用されている。しかしながら、従来の導光部材では、導光部材内部を伝搬する光を外部に出射させるために、出射領域に細かい溝、ステップ、シボ、ドット印刷等の光拡散用の形状を刻成する必要があった。   The light guide member itself that propagates while reflecting the light incident on the inside has been conventionally used as a part of a vehicular lamp. However, in the conventional light guide member, in order to emit the light propagating through the light guide member to the outside, it is necessary to carve a light diffusion shape such as fine grooves, steps, wrinkles, and dot printing in the emission region. there were.

しかしながら、このような形状は、導光部材の外部からの光も散乱させてしまうので、ロービーム用光源やハイビーム用光源などからの光の光量を低下させてしまう。そのため、従来の車両用灯具では、ロービーム用光源などの光を妨げないように、アウターカバーやエクステンションなどのごく一部の領域にしか導光部材を用いることができなかった。   However, since such a shape also scatters light from the outside of the light guide member, the amount of light from a low beam light source, a high beam light source, or the like is reduced. Therefore, in the conventional vehicle lamp, the light guide member can be used only in a very small area such as the outer cover and the extension so as not to disturb the light from the low beam light source.

本実施形態で使用する面発光導光板は、導光板自体が光を散乱する性質を有しているため、導光板の表面にステップや溝を形成したり反射膜を配置したりする必要がない。そのため、背面の光源からの光を妨げずに透過させることができるので、車両用灯具のアウターカバーの広範囲で使用した場合でも、ロービーム用光源やハイビーム用光源の光量をほとんど低下させない。したがって、面発光導光板の発光に、種々の機能を付与することが可能になる。また、表面が平滑で透明なカバーを使用できるので、車両用灯具のデザインの自由度が向上する。   The surface-emitting light guide plate used in this embodiment has the property that the light guide plate itself scatters light, so there is no need to form steps or grooves on the surface of the light guide plate or to arrange a reflective film. . Therefore, since the light from the light source on the back surface can be transmitted without being disturbed, the light amount of the light source for the low beam or the light source for the high beam is hardly reduced even when used in a wide range of the outer cover of the vehicular lamp. Therefore, various functions can be imparted to the light emission of the surface light-emitting light guide plate. In addition, since the cover having a smooth surface can be used, the degree of freedom in designing the vehicular lamp is improved.

上記のような面発光導光板の例は、特開2006−179454号公報および特開2007−273309号公報に記載されている。   Examples of the surface-emitting light guide plate as described above are described in Japanese Patent Application Laid-Open Nos. 2006-179454 and 2007-273309.

図1(a)において、側面光源27〜29を点灯していない場合、面発光導光板は透明な樹脂である。したがって、面の法線方向の光、つまりアウターカバー14の背後にあるロービーム用光源およびハイビーム用光源からの光は、拡散されることなく透過して車両前方に照射される。   In Fig.1 (a), when the side light sources 27-29 are not lit, a surface emitting light-guide plate is transparent resin. Therefore, the light in the normal direction of the surface, that is, the light from the low beam light source and the high beam light source behind the outer cover 14 is transmitted without being diffused and irradiated to the front of the vehicle.

昼間時には、車両用灯具10は、アウターカバーの上部に位置する面発光導光板16を発光させてデイランプ(DRL:Daytime Running Lamp)またはクリアランスランプとして使用する。このため、側面光源27、28はそれぞれ白色光のLEDを使用する。一方、アウターカバーの下部に位置する面発光導光板18は、ターンシグナルランプとして使用する。このため、側面光源29は橙色光のLEDを使用する。   At daytime, the vehicular lamp 10 causes the surface light-emitting light-guiding plate 16 located above the outer cover to emit light and use it as a day lamp (DRL: Daytime Running Lamp) or a clearance lamp. For this reason, each of the side light sources 27 and 28 uses a white light LED. On the other hand, the surface light-emitting light guide plate 18 located at the lower part of the outer cover is used as a turn signal lamp. For this reason, the side light source 29 uses an orange LED.

夜間時には、車両用灯具10は、面発光導光板16をクリアランスランプとして使用する一方、下部の面発光導光板18をターンシグナルランプとして使用する。   At night, the vehicular lamp 10 uses the surface-emitting light guide plate 16 as a clearance lamp, while using the lower surface-emitting light guide plate 18 as a turn signal lamp.

以上のように、実施の形態1の車両用灯具によれば、アウターカバーに面発光導光板を組み込みメインビームとは別個の光源を設けて発光させることで、従来の車両用前照灯と外観が大きく変わることなく、複数の機能に対応するランプを一つの灯具に組み込むことができる。   As described above, according to the vehicular lamp of the first embodiment, the surface light guide plate is incorporated in the outer cover and the light source is provided separately from the main beam so that the light is emitted. A lamp corresponding to a plurality of functions can be incorporated into one lamp without greatly changing the.

実施の形態2.
図2(a)はテールランプとストップランプが一体にされた車両用灯具の前面カバー30の正面図であり、図2(b)は前面カバー30の部分断面図である。
Embodiment 2. FIG.
FIG. 2A is a front view of the front cover 30 of the vehicular lamp in which the tail lamp and the stop lamp are integrated, and FIG. 2B is a partial cross-sectional view of the front cover 30.

図2(b)に示すように、面発光導光板34は、赤色の透明樹脂32の外縁を一周するように積層形成されている。すなわち、前面カバー30の外縁部では、透明樹脂32の背後に面発光導光板34が配置され、それ以外の部分は透明樹脂32のみになっている。透明樹脂32の背後には、ストップランプ用の第1光源(図示せず)が配置される。   As shown in FIG. 2B, the surface light-emitting light guide plate 34 is formed so as to make a round around the outer edge of the red transparent resin 32. That is, at the outer edge portion of the front cover 30, the surface emitting light guide plate 34 is disposed behind the transparent resin 32, and the other portions are only the transparent resin 32. A first light source (not shown) for a stop lamp is disposed behind the transparent resin 32.

面発光導光板34と透明樹脂32との接点には、表面に対して約45度の傾きの傾斜部34aが形成され、この傾斜部34aと対向する位置に、面発光導光板34用のLED光源38が配置される。傾斜部34aはLED光源からの光を全反射させて面発光導光板34の内部に光を導く役割を有する。このため、傾斜部34aの角度は、LED光源38の位置に応じて、45度以外の角度に設定されてもよい。シール足36は、前面カバー30を筐体にはめ合わせたときに外部とのシールとして機能する部分である。   An inclined portion 34a having an inclination of about 45 degrees with respect to the surface is formed at the contact point between the surface emitting light guide plate 34 and the transparent resin 32, and an LED for the surface emitting light guide plate 34 is provided at a position facing the inclined portion 34a. A light source 38 is arranged. The inclined portion 34a has a role of totally reflecting the light from the LED light source and guiding the light into the surface emitting light guide plate 34. For this reason, the angle of the inclined portion 34 a may be set to an angle other than 45 degrees according to the position of the LED light source 38. The seal foot 36 is a portion that functions as a seal with the outside when the front cover 30 is fitted to the housing.

上記の構成により、第1光源からの光は、赤色の透明樹脂32を透過して透明樹脂32の領域をストップランプとして機能させる一方、第2光源38からの光は、面発光導光板34により散乱されて、面発光導光板34の領域を例えばテールランプとして機能させることができる。なお、これとは逆に、透明樹脂領域をテールランプとして、面発光導光板の領域をストップランプとして機能させてもよい。   With the above configuration, the light from the first light source transmits the red transparent resin 32 and causes the region of the transparent resin 32 to function as a stop lamp, while the light from the second light source 38 is transmitted by the surface emitting light guide plate 34. It is scattered and the area | region of the surface emitting light-guide plate 34 can function as a tail lamp, for example. On the contrary, the transparent resin region may function as a tail lamp and the surface light-emitting light guide plate region may function as a stop lamp.

このように、面発光導光板と透明樹脂とを積層形成し、両者の境界を傾斜させることで、面発光導光板に光を入射させる光源の配置の自由度を高めることができる。   In this way, by forming the surface light-emitting light guide plate and the transparent resin in a laminated manner and inclining the boundary between them, the degree of freedom of the arrangement of the light source that makes the light incident on the surface light-emitting light guide plate can be increased.

実施の形態3.
図3(a)は実施の形態3に係る車両用灯具40の正面図であり、アウターカバー46を通してロービーム用光源ユニットの投影レンズ49とハイビーム用光源ユニットの光源50とが透けて見える様子が示されている。
Embodiment 3 FIG.
FIG. 3A is a front view of the vehicular lamp 40 according to the third embodiment, and shows how the projection lens 49 of the low beam light source unit and the light source 50 of the high beam light source unit can be seen through the outer cover 46. Has been.

図3(b)はアウターカバー46のA−A線における断面図である。図示するように、アウターカバー46では、透明樹脂42と面発光導光板44とが、カバーの外縁部を除くほぼ全域にわたり積層形成されている。面発光導光板44には、例えば端面に対向して配置されたLED光源48によって内部に光が入射される。   FIG. 3B is a cross-sectional view of the outer cover 46 taken along the line AA. As shown in the figure, in the outer cover 46, the transparent resin 42 and the surface light-emitting light guide plate 44 are laminated over almost the entire region except for the outer edge portion of the cover. For example, light is incident on the surface light-emitting light guide plate 44 by an LED light source 48 disposed so as to face the end surface.

車両用灯具40は、夜間時には面発光導光板44を発光させず、カバー背後のロービーム用光源またはハイビーム用光源を点灯する。この場合、面発光導光板44は透明なので、光源からの光をそのまま透過し、通常の樹脂のみのアウターカバーと遜色なく使用することができる。これに対し、昼間時には、面発光導光板44を発光させてデイランプまたはクリアランスランプとして使用する。このとき、車両用灯具40は、図3(c)に示すようにアウターカバー46のほぼ全域から発光しているように観察される。   The vehicular lamp 40 does not cause the surface light-emitting light guide plate 44 to emit light at night, and turns on the low beam light source or the high beam light source behind the cover. In this case, since the surface light-emitting light guide plate 44 is transparent, it can transmit the light from the light source as it is, and can be used in the same manner as an ordinary outer cover made of only resin. In contrast, during the daytime, the surface light-emitting light guide plate 44 emits light and is used as a day lamp or a clearance lamp. At this time, the vehicle lamp 40 is observed to emit light from almost the entire area of the outer cover 46 as shown in FIG.

このように、昼間時に導光板の端面から内部に光を入射させることにより、車両正面から灯室内を見えなくすることができる。このため、昼間時に光源ユニットの構造を隠すためのエクステンション等が不要になるので、車両用灯具の構造および組み立てを簡素化することができる。さらに、デイランプまたはクリアランスランプとしてアウターカバーのほぼ全域が発光するので、カバー全体を発光領域として有効に利用でき、外観も斬新なものとすることができる。   In this way, by allowing light to enter from the end face of the light guide plate during the daytime, it is possible to make the interior of the lamp chamber invisible from the front of the vehicle. This eliminates the need for an extension or the like for hiding the structure of the light source unit during the daytime, thereby simplifying the structure and assembly of the vehicular lamp. Furthermore, since the entire area of the outer cover emits light as a day lamp or a clearance lamp, the entire cover can be used effectively as a light emitting area, and the appearance can be made novel.

面発光導光板の端面に配置するLEDの発光色を複数種類設けておき、ドライバーが発光色を選択できるように構成してもよい。また、昼間時と夜間時とで点灯するLED数を変えることで、面発光導光板に入射させる光の量を調節してもよい。例えば、昼間は全てのLEDを発光させてデイランプとして機能させるとともに灯室内を隠蔽し、夜間はLEDの点灯数を少なくしてアウターカバーの周縁部付近でのみが発光するようにし、クリアランスランプとして機能させてもよい。   A plurality of types of light emission colors of the LEDs arranged on the end face of the surface light-emitting light guide plate may be provided so that the driver can select the light emission color. Moreover, you may adjust the quantity of the light which injects into a surface emitting light-guide plate by changing the number of LED lighted by daytime and nighttime. For example, all the LEDs emit light during the daytime and function as a day lamp, and the lamp chamber is concealed. At night, the number of LED lights is reduced so that only the periphery of the outer cover emits light and functions as a clearance lamp. You may let them.

実施の形態4.
図4(a)は本発明の実施の形態4に係る車両用灯具60の概略正面図であり、図4(b)は車両用灯具60の概略断面図である。図4(b)は、車両用灯具10の投射型光源ユニットの光軸を含む鉛直平面によって切断された断面を示している。
Embodiment 4 FIG.
FIG. 4A is a schematic front view of a vehicle lamp 60 according to Embodiment 4 of the present invention, and FIG. 4B is a schematic cross-sectional view of the vehicle lamp 60. FIG. 4B shows a cross section cut by a vertical plane including the optical axis of the projection light source unit of the vehicular lamp 10.

図3で示した実施の形態3と異なり、実施の形態4に係る車両用灯具60では、アウターカバー66の一部の領域で透明樹脂62と面発光導光板64とが積層形成されている。面発光導光板64の領域は、図4(a)において斜線の付された領域である。この領域は、ロービーム用光源からの光が透過する領域ともオーバーラップしている。面発光導光板64への光は、例えば図2(b)に示したような透明樹脂との境界部の傾斜面に対向配置されたLED光源から供給される。面発光導光板64は、例えばクリアランスランプとしての機能を有する。   Unlike the third embodiment shown in FIG. 3, in the vehicular lamp 60 according to the fourth embodiment, the transparent resin 62 and the surface light-emitting light guide plate 64 are laminated in a partial region of the outer cover 66. The area | region of the surface emitting light-guide plate 64 is an area | region with the oblique line in Fig.4 (a). This region also overlaps with a region through which light from the low beam light source is transmitted. Light to the surface light-emitting light guide plate 64 is supplied from, for example, an LED light source disposed opposite to the inclined surface at the boundary with the transparent resin as shown in FIG. The surface emitting light guide plate 64 has a function as a clearance lamp, for example.

この構成において、車両用灯具60は、ロービーム用光源ユニットを点灯しない昼間時には、面発光導光板64によりLED光源からの光を散乱させて、クリアランスランプまたはデイランプとして機能させる。夜間時には、面発光導光板64の発光に加えて、ロービーム用光源ユニットを点灯する。ロービーム用光源ユニットからの光は透明樹脂62を透過して前方に照射される。このように、通常の前照灯としての機能を損なうことなく、前照灯のアウターカバーに複数の機能を持たせることができる。   In this configuration, the vehicle lamp 60 scatters light from the LED light source by the surface light-emitting light guide plate 64 and functions as a clearance lamp or a day lamp during the daytime when the low beam light source unit is not turned on. At night, in addition to the light emission from the surface light-emitting light guide plate 64, the low-beam light source unit is turned on. Light from the low beam light source unit passes through the transparent resin 62 and is irradiated forward. As described above, the outer cover of the headlamp can have a plurality of functions without impairing the function as a normal headlamp.

実施の形態5.
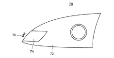
図5は、本発明の実施の形態5に係る車両用灯具のアウターカバー70の正面図である。このアウターカバー70では、透明樹脂72の一部(図5では左端)の領域に、面発光導光板74が積層配置される。そして、面発光導光板74の端面に対向して配置されたLED光源76から光を入射し、面発光導光板74を光らせる。
Embodiment 5 FIG.
FIG. 5 is a front view of the outer cover 70 of the vehicular lamp according to the fifth embodiment of the present invention. In the outer cover 70, the surface light-emitting light guide plate 74 is laminated and disposed in a part of the transparent resin 72 (the left end in FIG. 5). Then, light is incident from the LED light source 76 disposed so as to face the end surface of the surface light-emitting light guide plate 74, and the surface light-emitting light guide plate 74 is illuminated.

従来の車両用前照灯では、光源からの光はリフレクタの前方の限られた範囲にしか届かないため、アウターカバー表面の一部に側方からの視認性を向上させるためのステップを形成して、拡散角を拡大させていた。しかし、車両の前部に形成されるこのステップは、美観を損なうものであった。   In conventional vehicle headlamps, the light from the light source reaches only a limited range in front of the reflector, so a step for improving the visibility from the side is formed on a part of the outer cover surface. The diffusion angle was enlarged. However, this step formed in the front part of the vehicle is detrimental to aesthetics.

これに対し、図5に示すアウターカバーでは、従来ステップが設けられていた領域に面発光導光板74が積層形成されている。LED光源76からの光でこの面発光導光板74を発光させることで、光の側方視認性を高めることができる。したがって、アウターカバーにステップ等を形成する必要がなくなり、車両正面の美観を向上させることができる。   On the other hand, in the outer cover shown in FIG. 5, the surface light-emitting light guide plate 74 is laminated and formed in the region where the conventional steps are provided. By making the surface light-emitting light-guiding plate 74 emit light with the light from the LED light source 76, the lateral visibility of the light can be enhanced. Therefore, it is not necessary to form a step or the like on the outer cover, and the aesthetic appearance of the vehicle front can be improved.

実施の形態6.
図6は、本発明の実施の形態6に係る車両用灯具のアウターカバー80を示す。アウターカバー80は、板状の透明樹脂82の裏面に、帯状に延びる面発光導光板84を配置した構成を有する。透明樹脂と面発光導光板とを一体成型してもよいし、透明樹脂の裏面に面発光導光板を接着して形成してもよい。
Embodiment 6 FIG.
FIG. 6 shows an outer cover 80 of a vehicular lamp according to a sixth embodiment of the present invention. The outer cover 80 has a configuration in which a surface-emitting light guide plate 84 extending in a strip shape is disposed on the back surface of the plate-like transparent resin 82. The transparent resin and the surface light-emitting light guide plate may be integrally formed, or the surface light-emitting light guide plate may be bonded to the back surface of the transparent resin.

アウターカバー80は、例えば前照灯のカバーとして使用される。面発光導光板の端面に配置されたLED86から白色光を入射させて、面発光導光板84をクリアランスランプとして機能させる。LEDの非点灯時にはアウターカバーの全面が透明なので、カバーの背後に配置されるロービーム用光源などからの光をそのまま透過させる。   The outer cover 80 is used, for example, as a headlamp cover. White light is incident from the LED 86 disposed on the end face of the surface light-emitting light guide plate, and the surface light-emitting light guide plate 84 functions as a clearance lamp. Since the entire surface of the outer cover is transparent when the LED is not lit, light from a low beam light source or the like disposed behind the cover is transmitted as it is.

一般に、LEDの光は指向性が強いので、導光部材により導かれた光はある一方向では強く光るが、それ以外の方向から観察するとほとんど光って見えないという問題がある。本発明で使用する面発光導光板では、散乱剤により内部の光を散乱させることで導光板の表面そのものが光って見えるため、いずれの方向からも観察が可能である。したがって、図6のように帯状の面発光導光板を配置してクリアランスランプとして発光させると、端面から入射される少数のLEDからの光が帯状に発光するので、側方などからでも視認性の高いランプを実現することができる。   In general, since the light of an LED has a strong directivity, the light guided by the light guide member shines strongly in one direction, but there is a problem that the light is hardly seen when observed from other directions. In the surface light-emitting light guide plate used in the present invention, the surface itself of the light guide plate appears to shine by scattering the internal light with the scattering agent, so that observation is possible from any direction. Therefore, when a band-shaped surface light-emitting light guide plate is arranged as shown in FIG. 6 and light is emitted as a clearance lamp, light from a small number of LEDs incident from the end surface is emitted in a band shape. A high lamp can be realized.

以上説明したように、本発明によれば、透過性が高く面発光性能を有する面発光導光板をアウターカバーに組み込むことで、アウターカバー背後の光源からの光を前方に透過させるとともに、別の光源からの光で面発光導光板の領域を発光させることができる。この導光板による発光を種々のランプ機能として用いることで、従来にはない斬新なデザインを有する車両用灯具を設計することが可能になる。また、面発光導光板を利用することで溝やステップ等の加工が不要になるため、製造工程が簡素化されるとともに、アウターカバーの美観を向上させることができる。   As described above, according to the present invention, the light from the light source behind the outer cover is transmitted forward by incorporating a surface light-emitting light-guiding plate having high transparency and surface light-emitting performance into the outer cover. The area | region of a surface emitting light-guide plate can be light-emitted with the light from a light source. By using the light emitted by the light guide plate as various lamp functions, it becomes possible to design a vehicular lamp having a novel design that has not been conventionally available. Moreover, since a process such as a groove or a step becomes unnecessary by using the surface emitting light guide plate, the manufacturing process is simplified and the aesthetic appearance of the outer cover can be improved.

上述の実施形態で述べた面発光導光板が組み込まれたアウターカバーは、車両の様々な部位の灯具に適用することができる。この場合、灯具の種類に応じて、面発光導光板の発光に様々な機能を持たせることができる。具体的には、面発光導光板の発光領域をクリアランスランプ、デイランプ、ターンランプ、テールランプストップランプ等として用いることができる。また、面発光導光板には、発光の機能に応じた色が施されることが望ましい。例えば、クリアランスランプであれば無色透明とされ、ストップランプであれば赤色透明とされ、ターンシグナルランプであれば橙色透明とされる。代替的に、発光の機能に応じて光源の発光色を変えるようにしてもよい。   The outer cover in which the surface-emitting light guide plate described in the above embodiment is incorporated can be applied to lamps in various parts of the vehicle. In this case, various functions can be given to light emission of the surface light-emitting light guide plate according to the type of the lamp. Specifically, the light emitting region of the surface light emitting light guide plate can be used as a clearance lamp, a day lamp, a turn lamp, a tail lamp stop lamp, or the like. Further, it is desirable that the surface light-emitting light guide plate is colored according to the function of light emission. For example, the clearance lamp is colorless and transparent, the stop lamp is red and transparent, and the turn signal lamp is orange and transparent. Alternatively, the emission color of the light source may be changed according to the function of light emission.

実施の形態では、面発光導光板の光源としてLEDを使用したが、白熱球、ハロゲンランプ、放電球などの他の光源を利用してもよい。また、面発光導光板の端面に対向して光源を配置する代わりに、面発光導光板の端面に凹部または孔を形成してこの内部に光源を挿入するように設置してもよい。   In the embodiment, the LED is used as the light source of the surface-emitting light guide plate, but other light sources such as an incandescent bulb, a halogen lamp, and a discharge bulb may be used. Further, instead of disposing the light source so as to face the end surface of the surface light-emitting light guide plate, a recess or a hole may be formed in the end surface of the surface light-emitting light guide plate and the light source may be inserted therein.

10 車両用灯具、 14、30、40、60、70、80 アウターカバー、15、32、42、62、72、82 透明樹脂、 16、18、34、44、64、74、84 面発光導光板、 27、28、29 LED、 38、46、86 光源。   DESCRIPTION OF SYMBOLS 10 Vehicle lamps 14, 30, 40, 60, 70, 80 Outer cover, 15, 32, 42, 62, 72, 82 Transparent resin, 16, 18, 34, 44, 64, 74, 84 Surface emitting light guide plate 27, 28, 29 LED, 38, 46, 86 Light source.

Claims (5)

ランプボディの前面を覆うように配置されるアウターカバーと、
前記ランプボディと前記アウターカバーとで画成された灯室内に配置される第1光源と、
光散乱体が内部に分散された透明樹脂からなり内部に導かれた光を表面に散乱させる面発光導光板と、
前記面発光導光板の内部に光を入射させるように配置される第2光源と、
を備え、
前記面発光導光板が前記アウターカバーの少なくとも一部に組み込まれていることを特徴とする車両用灯具。
An outer cover arranged to cover the front of the lamp body;
A first light source disposed in a lamp chamber defined by the lamp body and the outer cover;
A surface-emitting light-guiding plate that is made of a transparent resin in which a light scatterer is dispersed and that scatters the light guided to the inside to the surface;
A second light source arranged to make light incident inside the surface-emitting light guide plate;
With
The vehicular lamp, wherein the surface-emitting light guide plate is incorporated in at least a part of the outer cover.
前記面発光導光板が前記アウターカバーの外周部を構成しており、
前記第2光源が前記面発光導光板の端面から光を入射させるように配置されることを特徴とする請求項1に記載の車両用灯具。
The surface-emitting light guide plate constitutes the outer periphery of the outer cover,
2. The vehicular lamp according to claim 1, wherein the second light source is disposed so that light enters from an end surface of the surface-emitting light guide plate.
前記面発光導光板が、前記アウターカバーの略全域にわたり積層配置されていることを特徴とする請求項1に記載の車両用灯具。   The vehicular lamp according to claim 1, wherein the surface-emitting light guide plate is laminated and disposed over substantially the entire area of the outer cover. 前記面発光導光板が、前記アウターカバー上で前記第1光源からの光が透過する領域の少なくとも一部と重なり合うように積層配置されていることを特徴とする請求項1に記載の車両用灯具。   2. The vehicular lamp according to claim 1, wherein the surface-emitting light-guiding plate is laminated and disposed on the outer cover so as to overlap at least a part of a region through which light from the first light source is transmitted. . 前記第1光源から発せられた光が前記アウターカバーを透過する領域と、前記第2光源から発せられた光が前記面発光導光板により散乱される領域とが、それぞれ異なる種類の灯具の機能に対応するように構成されることを特徴とする請求項1ないし4のいずれかに記載の車両用灯具。   The region where the light emitted from the first light source passes through the outer cover and the region where the light emitted from the second light source is scattered by the surface-emitting light guide plate are different functions of the lamp. The vehicular lamp according to any one of claims 1 to 4, wherein the vehicular lamp is configured to correspond thereto.
JP2010209820A 2010-09-17 2010-09-17 Lamp fitting for vehicle Pending JP2012064533A (en)

Priority Applications (1)

Application Number Priority Date Filing Date Title
JP2010209820A JP2012064533A (en) 2010-09-17 2010-09-17 Lamp fitting for vehicle

Applications Claiming Priority (1)

Application Number Priority Date Filing Date Title
JP2010209820A JP2012064533A (en) 2010-09-17 2010-09-17 Lamp fitting for vehicle

Publications (1)

Publication Number Publication Date
JP2012064533A true JP2012064533A (en) 2012-03-29

Family

ID=46060016

Family Applications (1)

Application Number Title Priority Date Filing Date
JP2010209820A Pending JP2012064533A (en) 2010-09-17 2010-09-17 Lamp fitting for vehicle

Country Status (1)

Country Link
JP (1) JP2012064533A (en)

Cited By (12)

* Cited by examiner, † Cited by third party
Publication number Priority date Publication date Assignee Title
EP2921348A1 (en) * 2014-03-18 2015-09-23 Honda Motor Co., Ltd. Headlight for vehicle
JP2015201392A (en) * 2014-04-09 2015-11-12 市光工業株式会社 Vehicle lighting
KR20160117122A (en) * 2015-03-31 2016-10-10 서울반도체 주식회사 Light device of vehicle
CN106918009A (en) * 2017-03-02 2017-07-04 上海小糸车灯有限公司 A kind of face luminescent system for realizing the uniform lighting of cab signal lamp
EP3361142A1 (en) 2017-02-08 2018-08-15 Valeo Iluminacion Lighting device comprising an active lens and method for producing thereof
WO2019172243A1 (en) * 2018-03-07 2019-09-12 三菱ケミカル株式会社 Transparent resin composition, resin molded body, lamp cover, lamp cover for vehicles, combination lamp cover, and vehicle
WO2021117677A1 (en) * 2019-12-12 2021-06-17 株式会社小糸製作所 Vehicle lamp
JP2021093325A (en) * 2019-12-12 2021-06-17 株式会社小糸製作所 Vehicular lamp
CN114278906A (en) * 2020-10-01 2022-04-05 本田技研工业株式会社 vehicle lamp body
WO2022243028A1 (en) * 2021-05-21 2022-11-24 Bayerische Motoren Werke Aktiengesellschaft Lighting device for a motor vehicle
WO2024008437A1 (en) * 2022-07-07 2024-01-11 Bayerische Motoren Werke Aktiengesellschaft Illumination apparatus for a motor vehicle
JP2025521155A (en) * 2022-05-31 2025-07-08 ヴァレオ ビジョン Light emitting device having a light emitting module with a flexible guide sheet and arranged in front of a lighting module

Citations (7)

* Cited by examiner, † Cited by third party
Publication number Priority date Publication date Assignee Title
JP2001250410A (en) * 2000-03-02 2001-09-14 Nichia Chem Ind Ltd Planar light emitting device
JP2004001710A (en) * 2002-04-11 2004-01-08 Iisamu:Kk Side mirror cover, side mirror body and lamp used for these
JP2006256606A (en) * 2005-03-18 2006-09-28 Schefenacker Vision Systems Germany Gmbh Outdoor rear-view mirror for vehicle, optimally for automobile
JP2007280924A (en) * 2006-03-16 2007-10-25 Ichikoh Ind Ltd Light guide lens and light guide lens manufacturing method
JP2008258037A (en) * 2007-04-05 2008-10-23 Ichikoh Ind Ltd Vehicle headlamp
JP2008293697A (en) * 2007-05-22 2008-12-04 Toyoda Gosei Co Ltd Vehicle lighting
JP2010153271A (en) * 2008-12-26 2010-07-08 Toyoda Gosei Co Ltd Lamp for vehicle

Patent Citations (7)

* Cited by examiner, † Cited by third party
Publication number Priority date Publication date Assignee Title
JP2001250410A (en) * 2000-03-02 2001-09-14 Nichia Chem Ind Ltd Planar light emitting device
JP2004001710A (en) * 2002-04-11 2004-01-08 Iisamu:Kk Side mirror cover, side mirror body and lamp used for these
JP2006256606A (en) * 2005-03-18 2006-09-28 Schefenacker Vision Systems Germany Gmbh Outdoor rear-view mirror for vehicle, optimally for automobile
JP2007280924A (en) * 2006-03-16 2007-10-25 Ichikoh Ind Ltd Light guide lens and light guide lens manufacturing method
JP2008258037A (en) * 2007-04-05 2008-10-23 Ichikoh Ind Ltd Vehicle headlamp
JP2008293697A (en) * 2007-05-22 2008-12-04 Toyoda Gosei Co Ltd Vehicle lighting
JP2010153271A (en) * 2008-12-26 2010-07-08 Toyoda Gosei Co Ltd Lamp for vehicle

Cited By (24)

* Cited by examiner, † Cited by third party
Publication number Priority date Publication date Assignee Title
EP2921348A1 (en) * 2014-03-18 2015-09-23 Honda Motor Co., Ltd. Headlight for vehicle
JP2015201392A (en) * 2014-04-09 2015-11-12 市光工業株式会社 Vehicle lighting
KR20160117122A (en) * 2015-03-31 2016-10-10 서울반도체 주식회사 Light device of vehicle
KR102435848B1 (en) * 2015-03-31 2022-08-24 서울반도체 주식회사 Light device of vehicle
EP3361142A1 (en) 2017-02-08 2018-08-15 Valeo Iluminacion Lighting device comprising an active lens and method for producing thereof
CN106918009A (en) * 2017-03-02 2017-07-04 上海小糸车灯有限公司 A kind of face luminescent system for realizing the uniform lighting of cab signal lamp
CN106918009B (en) * 2017-03-02 2023-12-12 华域视觉科技(上海)有限公司 Surface lighting system for realizing uniform lighting of vehicle-mounted signal lamp
JP2021101011A (en) * 2018-03-07 2021-07-08 三菱ケミカル株式会社 Transparent resin composition, resin molded body, lamp cover, lamp cover for vehicles, combination lamp cover, and vehicle
CN110476009A (en) * 2018-03-07 2019-11-19 三菱化学株式会社 Transparent resin composition, resin-formed body, lampshade, vehicular lamp housing, Combined lamp shade and vehicle
JP2021091910A (en) * 2018-03-07 2021-06-17 三菱ケミカル株式会社 Transparent resin composition, resin molded body, lamp cover, lamp cover for vehicles, combination lamp cover, and vehicle
JP2021091911A (en) * 2018-03-07 2021-06-17 三菱ケミカル株式会社 Transparent resin composition, resin molded body, lamp cover, lamp cover for vehicles, combination lamp cover, and vehicle
WO2019172243A1 (en) * 2018-03-07 2019-09-12 三菱ケミカル株式会社 Transparent resin composition, resin molded body, lamp cover, lamp cover for vehicles, combination lamp cover, and vehicle
JPWO2019172243A1 (en) * 2018-03-07 2020-04-16 三菱ケミカル株式会社 Transparent resin composition, resin molding, lamp cover, vehicle lamp cover, combination lamp cover and vehicle
US11269130B2 (en) 2018-03-07 2022-03-08 Mitsubishi Chemical Corporation Transparent resin composition, resin molded body, lamp cover, lamp cover for vehicles, combination lamp cover, and vehicle
WO2021117677A1 (en) * 2019-12-12 2021-06-17 株式会社小糸製作所 Vehicle lamp
JP7336375B2 (en) 2019-12-12 2023-08-31 株式会社小糸製作所 vehicle lamp
US11815237B2 (en) 2019-12-12 2023-11-14 Koito Manufacturing Co., Ltd. Vehicle lamp having two lamp units with at least one comprising a light guide
JP2021093325A (en) * 2019-12-12 2021-06-17 株式会社小糸製作所 Vehicular lamp
US12222078B2 (en) 2019-12-12 2025-02-11 Koito Manufacturing Co., Ltd. Vehicle lamp having two lamp units with a least one comprising a light guide
CN114278906A (en) * 2020-10-01 2022-04-05 本田技研工业株式会社 vehicle lamp body
JP2022059315A (en) * 2020-10-01 2022-04-13 本田技研工業株式会社 Vehicle lights
WO2022243028A1 (en) * 2021-05-21 2022-11-24 Bayerische Motoren Werke Aktiengesellschaft Lighting device for a motor vehicle
JP2025521155A (en) * 2022-05-31 2025-07-08 ヴァレオ ビジョン Light emitting device having a light emitting module with a flexible guide sheet and arranged in front of a lighting module
WO2024008437A1 (en) * 2022-07-07 2024-01-11 Bayerische Motoren Werke Aktiengesellschaft Illumination apparatus for a motor vehicle

Similar Documents

Publication Publication Date Title
JP2012064533A (en) Lamp fitting for vehicle
CN106338042B (en) Vehicle light body structure
JP2012064535A (en) Lamp fitting for vehicle
KR101684117B1 (en) Mood lamp for vehicle
JP2006236588A (en) Optical llumination device and vehicular lighting fixture
CN110274207B (en) Vehicle lamp
CN102954417B (en) Automotive lamp unit and car light
JP6704263B2 (en) Vehicle lighting
JP2012064534A (en) Vehicle lighting fixture
JP6975587B2 (en) Vehicle lighting
CN109724046B (en) front combination lamp
US7513665B2 (en) Headlamp module and headlamp assembly with internally reflecting translucent member
JP2015008111A (en) Composite lamp unit using linear light guide body, and vehicular lighting device
JP7579709B2 (en) Vehicle lighting fixtures
JP2020087624A (en) Vehicle lighting
JP6221438B2 (en) Vehicle lighting
WO2024034558A1 (en) Vehicle lamp
JP2025133395A (en) Vehicle lighting fixtures
JP7770154B2 (en) Vehicle lighting fixtures
JP6594125B2 (en) Vehicle clearance ramp structure
JP7390249B2 (en) Vehicle lights
CN116518325A (en) Optical system for car lamp and car
JP2014063641A (en) Lighting fixture for vehicle
CN109827144B (en) Optical system for realizing two uniform luminous effects in same functional area of lamp
JP7137381B2 (en) vehicle lamp

Legal Events

Date Code Title Description
A621 Written request for application examination

Free format text: JAPANESE INTERMEDIATE CODE: A621

Effective date: 20130806

A977 Report on retrieval

Free format text: JAPANESE INTERMEDIATE CODE: A971007

Effective date: 20140227

A131 Notification of reasons for refusal

Free format text: JAPANESE INTERMEDIATE CODE: A131

Effective date: 20140304

A521 Request for written amendment filed

Free format text: JAPANESE INTERMEDIATE CODE: A523

Effective date: 20140424

A131 Notification of reasons for refusal

Free format text: JAPANESE INTERMEDIATE CODE: A131

Effective date: 20140603

A02 Decision of refusal

Free format text: JAPANESE INTERMEDIATE CODE: A02

Effective date: 20141021